JP5223410B2 - 乾式ガスホルダの油脂タンクの油脂量モニタリング装置 - Google Patents

乾式ガスホルダの油脂タンクの油脂量モニタリング装置 Download PDF

Info

Publication number
JP5223410B2
JP5223410B2 JP2008080814A JP2008080814A JP5223410B2 JP 5223410 B2 JP5223410 B2 JP 5223410B2 JP 2008080814 A JP2008080814 A JP 2008080814A JP 2008080814 A JP2008080814 A JP 2008080814A JP 5223410 B2 JP5223410 B2 JP 5223410B2
Authority
JP
Japan
Prior art keywords
oil
fat
gas holder
tank
gas
Prior art date
Legal status (The legal status is an assumption and is not a legal conclusion. Google has not performed a legal analysis and makes no representation as to the accuracy of the status listed.)
Active
Application number
JP2008080814A
Other languages
English (en)
Other versions
JP2009236171A (ja
Inventor
勲 森
正治 菅
Current Assignee (The listed assignees may be inaccurate. Google has not performed a legal analysis and makes no representation or warranty as to the accuracy of the list.)
JFE Steel Corp
Original Assignee
JFE Steel Corp
Priority date (The priority date is an assumption and is not a legal conclusion. Google has not performed a legal analysis and makes no representation as to the accuracy of the date listed.)
Filing date
Publication date
Application filed by JFE Steel Corp filed Critical JFE Steel Corp
Priority to JP2008080814A priority Critical patent/JP5223410B2/ja
Publication of JP2009236171A publication Critical patent/JP2009236171A/ja
Application granted granted Critical
Publication of JP5223410B2 publication Critical patent/JP5223410B2/ja
Active legal-status Critical Current
Anticipated expiration legal-status Critical

Links

Images

Landscapes

  • Measurement Of Levels Of Liquids Or Fluent Solid Materials (AREA)

Description

本発明は、製鉄所等で用いられる乾式ガスホルダの油脂タンクに関する
一般に、製鉄所においては、高炉やコークス炉で発生したガスを燃料として有効活用するために、高炉ガス等の可燃性ガスを乾式ガスホルダ等のガス貯蔵設備に貯蔵している。この乾式ガスホルダは、図5に示すように円柱状に形成されたガスホルダ本体1の内部に昇降ピストン2と呼ばれるドーム状の天井が収容されている。
この昇降ピストン2は、貯蔵ガス量に応じて昇降するようになっており、昇降ピストン2の外周部(図5のA部)は、図6の部分拡大図に示すようにガイドローラとシール装置を介してガスホルダ1の側壁4に押圧されている。そして、シール部(図6のB部)は、図7の拡大図に示すように、押付レバーでガスホルダ1の側壁4に押圧されたシールゴムによって内部ガスの漏洩を防止している。
シールゴム部はガスホルダ1の側壁4面上を摺動し易いようにシールゴムの間に油脂が補給されている。この油脂は、図2に示す昇降ピストン2の頂点に設置された油脂タンク3から、昇降ピストン2の外縁部に向けて放射線状に設置された配管によって各シールゴム部に供給されている。
シールゴム部はガスホルダ1の側壁4面上を常に摺動しており、油脂タンク3から供給される油脂が切れると損耗が激しくなりガス漏れの原因となる。従って油脂タンク3には常に油脂が補充されている必要があるので、点検員が昇降ピストン2の上に立ち入って油脂タンク3を点検する必要があった。点検員が毎回昇降ピストン2の上に立ち入ることは、ガス漏れ等の安全上の問題がある。
このような人による点検作業にかえて、特許文献1では、本願とはガスシールのシール方式が異なるが、ピストン2の周方向に沿って液体槽を設けてシールする方式で、ディスプレー式液面計をもちいてシール油の液位の変動を電気信号に変換して把握する方法が開示されている。
特公平6−19275号公報
シールゴム方式によるガスシールでは油脂タンク3の点検に点検員が頻繁に立ち入る必要があり、ガス漏れ等の安全上の問題とデータ入手に手間暇が掛かること、特許文献1に記載された液体シール方式では、ガス漏れ対策上発信器等を防爆仕様としなければならないため、その対策に多大な費用を必要とした。
そこで、発明者等は鋭意検討を重ねた結果、高価な防爆仕様等を必要としない、乾式ガスホルダ1のピストン上にある油タンク3の油脂量をタンク外から安全かつ低コストに監視することができる油脂量モニタリング装置を提供するものである。
第一の発明は、ガスホルダ本体内を貯蔵ガス量に応じて昇降する昇降ピストンを有する乾式ガスホルダにおいて、前記昇降ピストン上に、前記ガスホルダ本体と前記昇降ピストンとの間のシール部に油脂を供給する油脂タンクが設置され、該油脂タンクの油脂量をタンク外の場所でモニタリングできることを特徴とする乾式ガスホルダの油脂量モニタリング装置である。
第二の発明は、前記モニタリング装置は、圧搾空気噴出管と圧搾空気供給管と圧搾空気の圧力変化を検出する圧力センサと検出された圧力を油脂容量に変換する演算装置と演算結果を表示する表示装置とからなることを特徴とする第一の発明に記載の乾式ガスホルダの油脂量モニタリング装置である。
本発明によれば、高価な防爆仕様等を必要としない、乾式ガスホルダ1の昇降ピストン2上にある油脂タンク3の油脂量をタンク外から安全かつ低コストに監視することができる油脂量モニタリング装置が得られる。
図を用いて本発明の一実施形態について説明する。尚、本実施の形態において、対象とする乾式ガスホルダー1は、図5にその外観を示すように、製鉄所において多数使用されている外形が円筒状に形成された乾式ガスホルダー1を例として述べる。勿論、本発明に掛かる油脂量モニタリング装置が設置される乾式ガスホルダー1の外形は円筒状に限定されるものではない。
そして、前記乾式ガスホルダー1の内部には、貯蔵ガス量に応じて昇降する昇降ピストン2がガイドローラとシール装置を介して乾式ガスホルダ1の側壁4に押圧されている。
前記昇降ピストン2の外周部(図5のA部)は、図6の部分拡大図に示すように、ガイドローラとシール装置を介してガスホルダ1の側壁4に押圧されており、そのシール部(図6のB部)は、図7の拡大図に示すように、押付レバーでガスホルダ1の側壁4に押圧されたシールゴムによって内部ガスの漏洩を防止している。
前記シールゴム部はガスホルダ1の側壁4面上を摺動し易いようにシールゴムの間に油脂が補給されており、この油脂は、図2に示す昇降ピストン2の頂点に設置された油脂タンク3から、昇降ピストン2の外縁部に向けて放射線状に設置された配管によって各シールゴム部に供給されている。
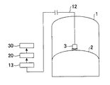
図2は、本発明の一実施形態に係る乾式ガスホルダ1の油脂量を監視するモニタリング装置の概略構成を示す図である。図2に示すように、本発明の一実施形態に係る乾式ガスホルダの油脂量モニタリング装置は、昇降ピストン2のシール部に供給する油脂を貯留した油脂タンク3と油脂タンク3内の油脂の容量を検出するパージ式油脂容量計10とパージ式油脂容量計10により検出されたパージガスの圧力変化を油脂タンクに貯留された油脂容量に演算する演算装置20と演算結果を表示する表示装置30とから構成されている。
パージ式油脂容量計10は、図1に示すように乾式ガスホルダ1の昇降ピストン2のシール部に供給する油脂を貯留した油脂タンク3内に設けられた気泡噴出管11と該気泡噴出管11に圧縮空気や不活性ガスを供給するパージガス供給配管12と、該パージガス供給配管12から前記気泡噴出管11に供給されるパージガスの圧力変化を電気的に検出する圧力センサ13とを備えており、圧力センサ13は、点検員が昇降ピストン2上に立ち入らなくていいように乾式ガスホルダ1の外に設けられている。また、圧力センサ13は乾式ガスホルダ1の外に設けられているので、乾式ガスホルダ1の内部に電気機器を設置する必要がないので電気的ショートによるガス爆発の危険がないので高価な防爆式センサ仕様とする必要もない。
演算装置20は、図4に示すように圧力センサ13で検出されたパージガスの圧力変化は、圧力―油脂容量変換回路により油脂容量に変換される。
そして、この油脂容量レベルは、図3に示すように油脂レベルの時間変化として表示装置30に表示される。図3でA点は油脂がタンクに満杯の状態で、油脂がシール部に徐徐に供給されると共に油脂容量レベルはB点に向かいB点に到達した時点で油脂タンク3に油脂が満杯にされる。この時点で油脂容量レベルはC点を表示し、シール部のゴムの摩耗が大きくなると油脂の消耗が激しくなりmin.点であるD点への到達時間がA〜Bへの到達時間に比較して早くなるので、シール部のゴムの点検を行うこととなる。
またパージガスの圧力から油脂容量レベルを算出する際は圧力センサ13を乾式ガスホルダ1本体の外に設置したので圧力損失が懸念されたが、図4に示すように問題のないレベルの線形性のデータが得られている。
以上、本発明により、乾式ガスホルダ1の内部に電気機器を設置することなく油脂タンク3の油脂容量を検出することができ、検出器も防爆仕様とする必要もないので、安全かつ低コストで油脂タンクの油脂容量をモニタリングできる。
パージ式油脂容量計の構成を示す図である。 油脂量モニタリング装置の全体構成を示す図である。 表示装置に表示される圧力変化を示す図である。 パージガスの圧力変化と油脂容量の関係を示す図である。 乾式ガスホルダの全景を示す図である。 昇降ピストンの外周であるA部の部分拡大図である。 シール部Bの部分拡大図である。
符号の説明
1 乾式ガスホルダ
2 昇降ピストン
3 油脂タンク
4 ガスホルダ測壁
10 パージ式油脂容量計
11 気泡噴出管
12 パージガス供給配管
13 圧力センサ
20 演算装置
30 表示装置

Claims (1)

  1. ガスホルダ本体内を貯蔵ガス量に応じて昇降する昇降ピストンを有する乾式ガスホルダにおいて、前記昇降ピストンの外周部には、シールゴムによって貯蔵ガスの漏洩を防止するシール装置が、前記昇降ピストン上に、前記ガスホルダ本体と前記昇降ピストンとの間のシール部に油脂を供給する油脂タンクが設置され、該油脂タンクは、圧搾空気噴出管と圧搾空気供給管とを備え、前記油脂タンク外で、且つガスホルダ外の場所に、圧搾空気噴出管に供給される圧搾空気の圧力変化を検出する圧力センサと、検出された圧力を油脂量に変換する演算装置と、前記油脂タンクの油脂量の時間変化を表示する表示装置とを備え、前記油脂タンクの油脂量の時間変化をタンク外の場所でモニタリングできることを特徴とする乾式ガスホルダの油脂量モニタリング装置。
JP2008080814A 2008-03-26 2008-03-26 乾式ガスホルダの油脂タンクの油脂量モニタリング装置 Active JP5223410B2 (ja)

Priority Applications (1)

Application Number Priority Date Filing Date Title
JP2008080814A JP5223410B2 (ja) 2008-03-26 2008-03-26 乾式ガスホルダの油脂タンクの油脂量モニタリング装置

Applications Claiming Priority (1)

Application Number Priority Date Filing Date Title
JP2008080814A JP5223410B2 (ja) 2008-03-26 2008-03-26 乾式ガスホルダの油脂タンクの油脂量モニタリング装置

Publications (2)

Publication Number Publication Date
JP2009236171A JP2009236171A (ja) 2009-10-15
JP5223410B2 true JP5223410B2 (ja) 2013-06-26

Family

ID=41250377

Family Applications (1)

Application Number Title Priority Date Filing Date
JP2008080814A Active JP5223410B2 (ja) 2008-03-26 2008-03-26 乾式ガスホルダの油脂タンクの油脂量モニタリング装置

Country Status (1)

Country Link
JP (1) JP5223410B2 (ja)

Cited By (1)

* Cited by examiner, † Cited by third party
Publication number Priority date Publication date Assignee Title
CN103124892B (zh) * 2010-10-01 2015-04-15 松下电器产业株式会社 蓄热装置和使用该蓄热装置的空气调节机

Family Cites Families (4)

* Cited by examiner, † Cited by third party
Publication number Priority date Publication date Assignee Title
JPH0619275Y2 (ja) * 1986-03-19 1994-05-18 アルパイン株式会社 車載用音響機器
JPS62163698U (ja) * 1986-04-08 1987-10-17
JP2005214654A (ja) * 2004-01-27 2005-08-11 Nishimu Electronics Industries Co Ltd ガスホルダーのピストン監視装置
JP2006275262A (ja) * 2005-03-30 2006-10-12 Jfe Steel Kk 乾式ガスホルダ内監視装置

Cited By (1)

* Cited by examiner, † Cited by third party
Publication number Priority date Publication date Assignee Title
CN103124892B (zh) * 2010-10-01 2015-04-15 松下电器产业株式会社 蓄热装置和使用该蓄热装置的空气调节机

Also Published As

Publication number Publication date
JP2009236171A (ja) 2009-10-15

Similar Documents

Publication Publication Date Title
EP2935047B1 (en) Identifying undesired conditions in the function of a floating roof of a tank
JP2008208956A (ja) ガスホルダ、ガスホルダのシールゴム摩耗検知方法及び装置、及びガスホルダの改造方法及び装置
US20210199241A1 (en) Automatic lubrication system for lubricating an object
US20210199242A1 (en) Automatic lubricator for lubricating an object
JP5223410B2 (ja) 乾式ガスホルダの油脂タンクの油脂量モニタリング装置
CN204988661U (zh) 变压器内漏压力检测装置
JP2008175591A (ja) 有水式ガスホルダの傾斜測定装置及び有水式ガスホルダの傾斜測定方法
JP4206498B2 (ja) 液体貯蔵タンクの漏洩検出システム
JP2006058205A (ja) 乾式ガスホルダのピストン傾斜検出装置及び乾式ガスホルダ
US10960508B2 (en) Machine element
JP5098287B2 (ja) 乾式ガスホルダーのシール材摩耗量検出方法およびシール材摩耗量検出装置
US12241592B2 (en) Arrangement for a cryogenic system
JP2005248977A (ja) ガスホルダのシール状況診断装置
JP2006275262A (ja) 乾式ガスホルダ内監視装置
JP3749908B2 (ja) 液体貯蔵タンクの漏洩検査方法
KR20050116935A (ko) 엘엔지 저장탱크의 통합제어 안전관리 시스템
CN107747982A (zh) 一种发动机机油耗测量装置
WO2018112598A1 (en) A system and method for monitoring the status of an electric submersible pump
JP2006017583A (ja) 液体貯蔵タンクの漏洩検査装置
JP4117569B2 (ja) 地下タンクの漏洩検知装置
JP4257396B2 (ja) 地下タンクの漏洩試験装置
JP5736918B2 (ja) 燃料タンク構造
JP6243150B2 (ja) コンサベータの遮蔽体劣化診断方法
JP7001106B2 (ja) ガイドローラーの監視装置およびガスホルダーの監視システム並びにガイドローラーの監視方法およびガスホルダーの監視方法
JP3100913U (ja) 液体貯蔵タンクの漏洩検出装置

Legal Events

Date Code Title Description
A621 Written request for application examination

Free format text: JAPANESE INTERMEDIATE CODE: A621

Effective date: 20110128

RD03 Notification of appointment of power of attorney

Free format text: JAPANESE INTERMEDIATE CODE: A7423

Effective date: 20120321

RD04 Notification of resignation of power of attorney

Free format text: JAPANESE INTERMEDIATE CODE: A7424

Effective date: 20120327

A977 Report on retrieval

Free format text: JAPANESE INTERMEDIATE CODE: A971007

Effective date: 20120912

A131 Notification of reasons for refusal

Free format text: JAPANESE INTERMEDIATE CODE: A131

Effective date: 20120925

A521 Request for written amendment filed

Free format text: JAPANESE INTERMEDIATE CODE: A523

Effective date: 20121120

TRDD Decision of grant or rejection written
A01 Written decision to grant a patent or to grant a registration (utility model)

Free format text: JAPANESE INTERMEDIATE CODE: A01

Effective date: 20130212

A61 First payment of annual fees (during grant procedure)

Free format text: JAPANESE INTERMEDIATE CODE: A61

Effective date: 20130225

R150 Certificate of patent or registration of utility model

Ref document number: 5223410

Country of ref document: JP

Free format text: JAPANESE INTERMEDIATE CODE: R150

Free format text: JAPANESE INTERMEDIATE CODE: R150

FPAY Renewal fee payment (event date is renewal date of database)

Free format text: PAYMENT UNTIL: 20160322

Year of fee payment: 3

R250 Receipt of annual fees

Free format text: JAPANESE INTERMEDIATE CODE: R250

R250 Receipt of annual fees

Free format text: JAPANESE INTERMEDIATE CODE: R250

R250 Receipt of annual fees

Free format text: JAPANESE INTERMEDIATE CODE: R250

R250 Receipt of annual fees

Free format text: JAPANESE INTERMEDIATE CODE: R250

R250 Receipt of annual fees

Free format text: JAPANESE INTERMEDIATE CODE: R250