JP5114574B2 - マルチモード・モバイル・ユニットのための無線ベアラおよびmipセッション連続性を維持するためのベスト・エフォート・ハンドオフの方法 - Google Patents

マルチモード・モバイル・ユニットのための無線ベアラおよびmipセッション連続性を維持するためのベスト・エフォート・ハンドオフの方法 Download PDF

Info

Publication number
JP5114574B2
JP5114574B2 JP2010535982A JP2010535982A JP5114574B2 JP 5114574 B2 JP5114574 B2 JP 5114574B2 JP 2010535982 A JP2010535982 A JP 2010535982A JP 2010535982 A JP2010535982 A JP 2010535982A JP 5114574 B2 JP5114574 B2 JP 5114574B2
Authority
JP
Japan
Prior art keywords
wireless communication
communication link
radio access
mobile unit
home agent
Prior art date
Legal status (The legal status is an assumption and is not a legal conclusion. Google has not performed a legal analysis and makes no representation as to the accuracy of the status listed.)
Expired - Fee Related
Application number
JP2010535982A
Other languages
English (en)
Other versions
JP2011505747A (ja
Inventor
グリンシュパン,エドワード
リュ,チュン−ジン
ジュ,リリー,エイチ.
Original Assignee
アルカテル−ルーセント ユーエスエー インコーポレーテッド
Priority date (The priority date is an assumption and is not a legal conclusion. Google has not performed a legal analysis and makes no representation as to the accuracy of the date listed.)
Filing date
Publication date
Application filed by アルカテル−ルーセント ユーエスエー インコーポレーテッド filed Critical アルカテル−ルーセント ユーエスエー インコーポレーテッド
Publication of JP2011505747A publication Critical patent/JP2011505747A/ja
Application granted granted Critical
Publication of JP5114574B2 publication Critical patent/JP5114574B2/ja
Expired - Fee Related legal-status Critical Current
Anticipated expiration legal-status Critical

Links

Images

Classifications

    • HELECTRICITY
    • H04ELECTRIC COMMUNICATION TECHNIQUE
    • H04WWIRELESS COMMUNICATION NETWORKS
    • H04W60/00Affiliation to network, e.g. registration; Terminating affiliation with the network, e.g. de-registration
    • H04W60/06De-registration or detaching
    • HELECTRICITY
    • H04ELECTRIC COMMUNICATION TECHNIQUE
    • H04WWIRELESS COMMUNICATION NETWORKS
    • H04W36/00Hand-off or reselection arrangements
    • H04W36/0005Control or signalling for completing the hand-off
    • H04W36/0055Transmission or use of information for re-establishing the radio link
    • H04W36/0066Transmission or use of information for re-establishing the radio link of control information between different types of networks in order to establish a new radio link in the target network

Landscapes

  • Engineering & Computer Science (AREA)
  • Computer Networks & Wireless Communication (AREA)
  • Signal Processing (AREA)
  • Mobile Radio Communication Systems (AREA)

Description

関連出願の相互参照
本出願は、2007年11月20日に出願した米国特許出願第11/943,085号に関する。
本発明は、一般に通信システムに関し、より具体的には無線通信システムに関する。
従来の無線通信システムは、無線アクセス・ネットワーク、またはアクセス・ポイント、基地局、基地局ルータなど、他の無線エンティティを使用して無線接続を提供する。例えば、モバイル・ユニットは、ネットワークに通信可能に結合された無線アクセス・ネットワークとエア・インターフェースを介して無線通信リンクを確立することができる。モバイル・ユニットは、この無線通信リンクを使用して、別のモバイル・ユニットと通信セッションを確立することなど、ネットワークによって提供されるサービスにアクセスすることができる。これら2つのモバイル・ユニット間の通信セッションを使用して伝送される情報は、アナログ情報でもデジタル情報でもよく、これらのモバイル・ユニット間の通信経路は、回線交換アーキテクチャまたはパケット交換アーキテクチャを使用して形成されることが可能である。回線交換アーキテクチャでは、2つのモバイル・ユニット間に専用の通信経路が形成され、2つのモバイル・ユニットによってのみ使用されることが可能である。それとは対照的に、パケット交換アーキテクチャは、情報を、共通のパケット・ネットワーク・インフラストラクチャを使用して2つのモバイル・ユニット間の多数の経路に沿って伝送されることが可能であるパケットに分割して、これらのパケットをモバイル・ユニットとそれらのネットワーク・ピアとの間で転送する。したがって、パケット交換ネットワーク・インフラストラクチャを通る経路のいくつかまたはすべては、他のモバイル・ユニット、あるいはネットワーク・サーバまたは固定加入者など、パケット交換ネットワークに結合された他のエンティティによって共用されることが可能である。
ボイス・オーバ・インターネット・プロトコル(VoIP)は、オーディオ信号(音声信号など)を、パケット交換ネットワークを介しての伝送のためのパケットを形成するために使用されることが可能であるデジタル・フォーマットにエンコードするための方式である。VoIPパケットは、通常、宛先VoIPセッション・ピア(例えば、モバイル・ユニット)における連続するパケット間の大きな遅延は、ソース・ピアによって生成されたオーディオ信号の品質を低下させる可能性があるので、非耐遅延性情報と呼ばれる。したがって、VoIPアプリケーションは、通常、選択されたクオリティ・オブ・サービス(QoS)レベルでVoIPパケットを提供することを強いられる。例えば、モバイル・ユニットに実装されたVoIPアプリケーションは、ネットワークを介して伝送されるパケットのために最低レベルの遅延、待ち時間などを維持することを必要とされる可能性がある。いくつかの場合、顧客は、いくつかのアプリケーションのためにより高いQoSレベルの全体的により高いQoSレベルを取得するためにより多くの料金を払うこともある。
多数の無線アクセス技術がパケット・データ・アプリケーションをサポートするために使用されることが可能である。いくつかの例示的無線アクセス技術には、1X−EVDO、UMTSおよびWIMAXなど、第2世代(2G)技術、第3世代(3G)技術および第4世代(4G)技術がある。これらの無線アクセス技術は、第3世代パートナーシップ・プロジェクト(3GPP、3GPP2)およびWiMAXフォーラム・ネットワーク・ワーキング・グループ(NWG)によって設定された規格および/またはプロトコルなどの規格および/またはプロトコルに準拠して動作する。すでにデプロイされている技術のそれぞれ異なる信号強度および現存するカバレッジ・エリアを利用するために、機器販売業者は、複数の無線アクセス技術を使用して通信することができるデュアル・モード(またはマルチ・モード)モバイル・ユニットを開発し、デプロイしている。例えば、デュアル・モード・モバイル・ユニットは、2つの異なる無線アクセス技術に準拠して動作する2つの独立したIP接続の手段を実装することができる。同時に、サービス・プロバイダは、無線接続を提供するために複数の無線アクセス技術を使用することが多くなってきている。例えば、いくつかのサービス・プロバイダは、それぞれ異なるアクセス技術を用いたオーバレイ・メッシュおよび/またはオーバラッピング・カバレッジ・エリアを含む異種のネットワークをデプロイしてきた。オーバレイ・メッシュおよびオーバラッピング・カバレッジ・エリアは、従来の技術から、より新しい技術への進化の一部分として、あるいはデプロイメント・コストおよび/または運用コストを削減すること、全体の通信スペクトル特性を改善することなど、他の理由で使用されることが可能である。
マルチ・モード・モバイル・ユニットが異種のネットワークをローミングするとき、個々のモバイル・ユニットは、異なる無線アクセス技術を利用する(および対応する技術規格に基づいて動作する)無線アクセス・ネットワーク間で頻繁にハンドオフすることができる。例えば、モバイル・ユニットは、EV−DO無線アクセス・ネットワークを介してEV−DO無線通信リンクを使用してネットワーク・エントリを行うことができ、MIPv4セッションがVOIP通話のための3GPP2規格に基づいて確立される。次いで、モバイル・ユニットは、EV−DO無線通信リンクの信号品質が劣化したと判定することができ、MIPv4セッションを確立するためにIEEE802.16e規格オーバ・ジ・エアおよびWiMAXフォーラムNWG規格を使用してWiMAX無線アクセス・ネットワークにハンドオフすることを選択することができる。モバイル・ユニットが、劣化しているEV−DO無線通信リンクから、より強いWIMAXリンクにハンドオフされるとき、従来のベスト・エフォート・ハンドオフ・プロトコルは、VoIPセッションのシームレスな接続を維持しようと試みる。
従来のハンド・オフ・プロトコルは、モバイル・ユニットが新規のリンクを介してMIPv4登録メッセージを送信し、劣化しているリンクを介して明確なMIPv4登録解除メッセージ(ライフタイム0を有する登録要求)を送信することを必要とする。古い技術の無線アクセス・ネットワークがMIP登録解除メッセージを受信した後は、劣化している無線通信リンクは切断されてよく、無線アクセス・ネットワークは、このリンクをサポートするために使用された無線通信資源を解放することができる。この手法は、いくつかの欠点を有する。例えば、ソース無線アクセス・ネットワークへの無線通信リンクの劣化は、ネットワークが登録解除メッセージを受信するのを妨げる可能性があり、これは、ネットワークに不必要な無線通信資源の割当てを維持させる可能性がある。他の例では、劣化しているリンクを介して登録解除メッセージをソース無線アクセス・ネットワークに伝送し、より強いリンクを介して登録メッセージをターゲット無線アクセス・ネットワークに伝送することは、例えば、登録メッセージがターゲット無線アクセス・ネットワークにおいて受信される前に、登録解除メッセージがソース無線アクセス・ネットワークにおいて受信されると、競合状態を引き起こす可能性がある。技術内ハンドオフとは対照的に、技術間ハンドオフの場合は、(通常、それぞれ異なるネットワーキング・アーキテクチャ規格に基づいて動作している)ソース無線アクセス・ネットワークとターゲット無線アクセス・ネットワークとの間に、前述の競合状態を解決するのに役立つであろう調整がない。
本発明は、前述の問題のうちの1つまたは複数の影響に対処することを対象とする。下記は、本発明のいくつかの態様の基本的理解を提供するために、本発明の簡略化された概要を提示する。この概要は、本発明の網羅的な概観ではない。この概要は、本発明の重要なまたは不可欠な要素を確認することを意図するものでもなく、本発明の範囲を概説することを意図するものでもない。この概要の唯一の目的は、後述のより詳細な説明の序章としていくつかの概念を簡略化した形で提示することである。
本発明の一実施形態では、複数の無線アクセス技術に準拠してネットワークと通信することができるモバイル・ユニットにおいて実施されるベスト・エフォート・ハンドオフのための方法が提供される。本方法は、第1の無線アクセス技術に準拠して確立された第1の無線通信リンクから第2の無線アクセス技術に準拠して確立された第2の無線通信リンクへのモバイル・ユニットのハンドオフを行うステップを含む。本方法はまた、ハンドオフを行うステップに応答して第1の無線通信リンクの登録解除を要求する登録解除メッセージを、モバイル・ユニットから第2の無線通信リンクを介して伝送するステップを含む。
本発明の他の実施形態では、複数の無線アクセス技術に準拠して少なくとも1つのモバイル・ユニット・ネットワークとの複数の無線通信リンクをサポートすることができるホーム・エージェントにおいて実施されるベスト・エフォート・ハンドオフのための方法が提供される。本方法は、第1の無線アクセス技術に準拠して確立された第1の無線通信リンクから第2の無線アクセス技術に準拠して確立された第2の無線通信リンクへのモバイル・ユニットのハンドオフを行うステップを含む。本方法はまた、ハンドオフを行うステップに応答して第1の無線通信リンクの登録解除を要求する登録解除メッセージを、モバイル・ユニットから第2の無線通信リンクを介して受信するステップを含む。本方法は、第1の無線通信リンクの登録解除を要求するメッセージを送信するステップをさらに含む。
本発明は、同様の参照数字は同様の要素を識別する添付の図面に関連して行われる以下の説明を参照することによって理解され得る。
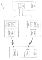
本発明による、無線通信システムの第1の例示的実施形態を例示する概念図である。 本発明による、無線通信システムの第2の例示的実施形態を例示する概念図である。 本発明による、それぞれ異なる無線アクセス技術に準拠して動作するモデムとの同時通話セッションを確立するための方法の一例示的実施形態を例示する概念図である。 本発明による、通話セッションを登録解除するための方法の一例示的実施形態を例示する概念図である。
本発明は、様々な変更形態および代替形態が可能であるが、本発明の特定の実施形態が図面に例として示されており、本明細書で詳細に説明されている。しかし、特定の実施形態の本明細書における説明は、本発明を開示された特定の形態に限定することを意図するものではなく、それとは逆に、その意図は、添付の特許請求の範囲によって定義されている本発明の範囲に入るすべての変更形態、同等形態、および代替形態を含むことであることを理解されたい。
本発明の例示的実施形態が以下に記載されている。明確を期すために、本明細書には実際の実施の特徴がすべて記載されているわけではない。もちろん、いかなるそのような実際の実施形態の開発においても、実施形態ごとに異なるであろうシステム関連およびビジネス関連の制約に従うことなど、開発者の特定の目的を達成するために、多数の実施形態固有の決定が行われるべきであることが理解されるであろう。さらに、そのような開発努力は、複雑で時間がかかる可能性があるが、それにもかかわらず、本開示の利益を受ける当業者にとっては決まりきった仕事であろうことが理解されるであろう。
本発明の一部分およびそれに対応する詳細な説明は、コンピュータメモリの中のデータビットに対する演算のソフトウェア、またはアルゴリズムおよび記号表現によって提示される。これらの説明および表現は、当業者が他の当業者にその仕事の本質をそれによって効果的に伝達するものである。アルゴリズムは、この用語が本明細書で使用される場合は、およびこの用語が一般的に使用される場合は、所望の結果につながる首尾一貫した一連のステップであると考えられる。これらのステップは、物理量の物理的操作を必要とするステップである。通常、必ずしもではないが、これらの量は、記憶、転送、結合、比較、およびそうでなければ操作されることができる光信号、電気信号、または磁気信号の形を取る。これらの信号をビット、値、要素、記号、文字、用語、数字などと呼ぶことは、主に共通の使用のために、ときどき都合がよいと判明している。
しかし、これらの用語および類似の用語はすべて、適切な物理量に関連付けられているべきであり、これらの量に貼り付けられた都合のいいラベルにすぎないことに留意されたい。別途明記されていない限り、または議論から明らかなように、「処理する」、「計算する」、「算出する」、「判定する」、または「表示する」などの用語は、コンピュータ・システムのレジスタおよびメモリの中の物理量、電子量として表されたデータを操作し、コンピュータ・システムのメモリまたはレジスタあるいは他のそのような情報記憶装置、伝送装置または表示装置の中の物理量として同様に表される他のデータに変換するコンピュータ・システムまたは類似の電子計算装置の動作および処理を表す。
本発明のソフトウェア実施態様は、通常、何らかの形態のプログラム記憶媒体上でエンコードされるか、または何らかのタイプの伝送媒体を介して実施されることにも留意されたい。プログラム記憶媒体は、磁気(例えば、フレキシブル・ディスクまたはハード・ドライブ)または光(例えば、コンパクト・ディスク読出し専用メモリ、すなわち「CD−ROM」)でもよく、読出し専用またはランダム・アクセスでもよい。同様に、伝送媒体は、対より線、同軸ケーブル、光ファイバ、または当技術分野に知られている他の何らかの適切な伝送媒体でもよい。本発明は、いかなる所与の実施形態のこれらの態様によっても限定されない。
次に、本発明は、添付の図を参照しながら説明される。これらの図面には、様々な構造体、システム、および装置が、説明のためだけに、かつ当業者にはよく知られている詳細によって本発明を分かりにくくしないように、概略的に示されている。それにもかかわらず、添付の図面は、本発明の例示的実施例を記述し説明するために含まれている。本明細書で使用される語および句は、当業者によるそれらの語および句の理解と矛盾しない意味を有すると理解され解釈されるべきである。用語または句の特別の定義、すなわち当業者によって理解されているような普通の慣習的な意味とは異なる定義は、本明細書における用語または句の一貫した使用によって含意されないものとする。用語または句が特別の意味、すなわち当業者によって理解されている以外の意味を有することが意図される場合は、そのような特別の定義は、用語または句の特別の定義を直接かつ明白に提供する明確なやり方で本明細書に明記される。
図1は、無線通信システム100の第1の例示的実施形態を概念的に例示する。例示されている実施形態では、無線通信システム100は、モバイル・インターネット・プロトコル(MIP)およびIPに基づくパケット交換通信をサポートするために使用されることが可能であるネットワーク105を含む。ネットワーク105の一部分は、ユニバーサル移動電気通信サービス(UMTS)、進化データ最適化(EV−DO)、WIMAXなど、第3世代パートナーシップ・プロジェクト(3GPP、3GPP2)によって定義された規格および/またはプロトコルを含めて、様々な規格および/またはプロトコルに準拠して動作することができる。しかし、本発明はこれらの例示的規格および/またはプロトコルに限定されないことを本開示の利益を受ける当業者は理解するはずである。代替実施形態では、無線通信システム100および/またはネットワーク105の一部分は、いかなる規格および/またはプロトコルに準拠してでも動作することができる。
1つまたは複数のモバイル・ユニット110は、ネットワーク105との無線通信を確立することができる。例示されている実施形態では、モバイル・ユニット110は、2つのそれぞれ異なる無線アクセス技術に準拠して無線通信リンクを形成することができるデュアル・モード装置である。例えば、モバイル・ユニット110は、EV−DO無線アクセス技術またはWIMAX無線アクセス技術のどちらかを使用して動作可能とすることができる。しかし、本発明はこれら2つの無線アクセス技術に準拠して動作するモバイル・ユニット110に限定されないことを本開示の利益を受ける当業者は理解するはずである。代替実施形態では、モバイル・ユニット110は、無線アクセス技術の他の組合せに準拠して動作することができるデュアル・モード装置でよい。さらに、いくつかの実施形態では、モバイル・ユニット110は、3つ以上のそれぞれ異なる無線アクセス技術に準拠して動作することができるマルチ・モード装置でもよい。
動作中、モバイル・ユニット110は、EV−DOなど、第1の無線アクセス技術に準拠して動作する無線アクセス・ネットワーク120(1)との無線通信リンク115(1)を形成することができる。例示されている実施形態では、モバイル・ユニット110は、第1の無線アクセス技術に準拠してアプリケーション層においてクライアント125をインスタンス化することができる。本明細書で使用される場合は、用語「層」は、無線通信のために定義された階層型アーキテクチャのそれぞれ別のレベルを指す。層は、その上の層にサービスを提供し、その下の層からサービスを受ける関連機能の集まりである。1つの例示的な層の定義は、(上から下に)アプリケーション層、プレゼンテーション層、セッション層、トランスポート層、ネットワーク層、データ・リンク層、および物理層を定義する解放型システム相互接続(OSI)基本参照モデルである。VoIPアプリケーションなど、モバイル・ユニット110内のアプリケーション130は、クライアント125を使用して、無線通信リンク115(1)を介して通信することができる。例えば、モバイル・ユニット110は、無線通信リンク115(1)を介してMIPセッションを確立し、このMIPセッションを使用して、無線アクセス・ネットワーク120(1)、外部エージェント137(1)、ホーム・エージェント140、およびネットワーク105を介してモバイル・ユニット135との通話を確立することができる。しかし、この通話は、モバイル・ユニット135において終了されないことがあり、代替として、いかなるタイプの通信装置によって終了されてもよいことを本開示の利益を受ける当業者は理解するはずである。
モバイル・ユニット110内のコントローラ145は、無線通信リンク115(1)に関連するチャネル状態をモニタすることができる。コントローラ145が、無線通信リンク115(1)のチャネル状態が劣化したと判定した場合は、コントローラ145は別の無線アクセス技術へのハンドオーバを開始することができる。例えば、コントローラ145は、別の無線アクセス技術へのハンドオーバが望ましいおよび/または必要な点までチャネル状態が劣化した場合を判定するために、パイロット信号強度、信号対雑音比、信号対雑音干渉比、ビット誤り率などのパラメータを適切な閾値と比較することができる。ハンドオフはまた、予め設定されたアプリケーション・ベースのポリシ・プリファレンスに基づいてトリガされることが可能である。例えば、WiMAXからEVDOへのハンドオーバは、ターゲット技術信号強度が、ソース技術信号強度に関係なく、ある一定の閾値より大きくなるとすぐトリガされることが可能である。さらに、ハンドオフは、予め設定されたユーザ・プリファレンスに基づいてトリガされることが可能である。例えば、WiMAXアクセスの方が安い場合は、コントローラ145は、その信号強度が適切になるとすぐWiMAXにスイッチすることを選択することができる。いくつかの場合には、サービス・プロバイダ・ネットワーク・ポリシは、ユーザ・ポリシをオーバーライドすることができる。
コントローラ145がハンドオーバを開始することを決定した場合、コントローラ145は、モバイル・ユニット110に、技術間ハンドオーバに備えて、第2の無線アクセス技術に準拠して第2の無線通信リンク115(2)を確立させることができる。例えば、その場合、クライアント125は、第2の無線通信リンク115(2)を介して、無線アクセス・ネットワーク120(2)、外部エージェント137(2)、およびホーム・エージェント140を介して通信することができる。例えば、モバイル・ユニット110がそれぞれ異なる無線アクセス技術間でスイッチする場合、シームレスなモビリティ、IP/MIPセッション連続性を提供し、QoSを維持するために。提案された機構は、モバイル・ユニット・ベンダが、オンチップ・デバイス・ドライバにしっかり結合されているMIPクライアントを実装する場合、ならびに、それぞれ異なる技術規格が(例えば、無線アクセス・ネットワークにおいてPMIPクライアントを使用して)MIPクライアントを使用しないことを選択する場合、特に有用であり得る。
ハンドオフは、アプリケーション130によって使用されるIPセッションへの同時バインディングを用いて行われる。この場合、MIPクライアント125は、同時バインディングを用いて第2の技術リンク115(2)を介して第1のMIP登録メッセージを送信する。第1のMIP登録メッセージの受信は、ホーム・エージェント140に、バインディングを追加させ、両方のRAN120(1〜2)を介してモバイル・ユニット110へのバイキャスティング・ダウンリンク・トラフィックを開始させる。アプリケーション130において受信された情報を重複することを回避するために、コントローラ145は、アプリケーション130に、同時バインディングが使用されている間に第1または第2のどちらかの無線通信リンク115を介して受信されたいかなるパケットをも無視または除去するよう指令することができる。次いで、コントローラ145は、通話を第1の無線通信リンク115(1)から第2の無線通信リンク115(2)にハンドオフすることができる。例えば、クライアント125は、第2の無線通信リンク115(2)を介してホーム・エージェント140に(同時バインディングを用いずに)第2のMIP登録を送信することができる。第2のMIP登録メッセージは、古いバインディングの除去、および古いアクセス技術を介しての第1の無線通信リンク115(1)の登録解除をトリガする。したがって、ホーム・エージェント140は、第1の無線通信リンク115(1)を介して登録解除メッセージを受信する必要なしに第1の無線通信リンク115(1)を取り消すことができるが、このことは、第1の無線通信リンク115(1)の品質が劣化した可能性があり、それによって登録解除メッセージが首尾よく受信される確率が下がる可能性があるので、重要であり得る。通話が第2の無線通信リンク115(2)にハンドオフされた後は、コントローラ145は、アプリケーション130に、第1の無線通信リンク115(1)を介して受信されたいかなるパケットをも無視または除去するよう指令することができる。
図2は、無線通信システム200の第2の例示的実施形態を概念的に例示する。例示されている実施形態では、無線通信システム200は、クライアントMIPv4ベースのモデルのリファレンス・アーキテクチャに準拠して実施される。無線通信システム200の動作は、本明細書では、クライアントMIPv4ベースのモデルのリファレンス・アーキテクチャのコンテキストで説明される。しかし、第2の例示的実施形態は、例示を意図するものであり、本発明をこの特定のリファレンス・アーキテクチャおよびプロトコルに限定することを意図するものではないことを本開示の利益を受ける当業者は理解するはずである。代替実施形態では、他の機能エンティティを含む他のリファレンス・アーキテクチャが無線通信システム200を説明および/または実施するために使用されてもよい。
無線通信システム200は、少なくとも2つの別個のアクセス技術依存無線アクセス・ネットワーク(RAN)205を含む。例示されている実施形態では、無線アクセス・ネットワーク205は、ポリシ実施点(PEP)および外部エージェント(FA)を含むアクセス・サービング・ネットワーク・ゲートウェイ(ASN−GW)に結合されたWIMAX RAN205(1)を含む。無線アクセス・ネットワーク205はまた、PEPおよび外部エージェント(FA)を含むパケット・データ・サービング・ノード(PDSN)に結合されたEVDO RAN205(1)を含む。ASN−GW内の外部エージェントおよびPDSN内の外部エージェントは、パケット・コア・ネットワーク215に配置されたホーム・エージェント210と通信することができる。一実施形態では、ホーム・エージェント210は、IPマルチメディア・サブシステム(IMS)ネットワーク(図2には示されていない)と通信することができる。
モバイル・ユニット(またはユーザ機器)220は、それぞれ異なる無線アクセス技術に準拠して動作する複数のモデムをサポートすることができるデュアル・トランシーバ・モバイル・ユニット220である。例示されている実施形態では、モバイル・ユニット220は、対応するRAN205とのIP接続を確立するために使用されることが可能な2つのモデム225を実装することができる。第1のモデム225(1)は、WIMAX無線アクセス技術に準拠して動作し、第2のモデム225(2)は、EVDO無線アクセス技術に準拠して動作する。WIMAXアクセス技術およびEVDOアクセス技術は、例として使用され、本発明を限定することを意図するものではないことを当業者は理解するはずである。代替実施形態では、本明細書に記載の方式は、他の無線アクセス技術からのパケット・データ(BEまたはQoS)のインターワーキングをサポートするために使用されてもよい。例えば、モバイル・ユニット220は、WiMAX、EVDO、GSM、WiFiなど、それぞれ異なるアクセス技術に準拠して動作する2つ以上のモデム225を有することができる。
モバイル・ユニット220上の2つの独立したモデム225は、それらのそれぞれの無線アクセス技術に準拠して、独立した通話セッションを確立することができる。例えば、WiMAX接続を介してモデム225(1)と別のモバイル・ユニット(図2には示されていない)との間でVoIP通話が確立されることが可能である。他の例では、EVDO接続を介してモデム225(2)と別のモバイル・ユニット(図2には示されていない)との間でVoIP通話が確立されることが可能である。WIMAX接続を介しての無線状態の変化を検出することによりモバイル・ユニット220内の接続管理がトリガされる。EVDOリンクへのハンドオフに備えて、モバイル・ユニット220内の接続管理機能は、WIMAX接続を介しての無線状態が劣化した場合、モデム225(2)を使用してEVDOリンクの確立を開始することができる。
ハンドオフは、WiMAX通話に関連する前に確立されたIPセッションへの同時バインディングを用いて行われる。一実施形態では、第1のMIP登録メッセージが同時バインディングを用いてEVDOリンクを介して送信される。第1のMIP登録メッセージの受信は、ホーム・エージェント210に、バインディングを追加させ、両方のRAN205(1〜2)を介してのモバイル・ユニット220へのバイキャスティング・ダウンリンク・トラフィックを開始させる。受信された情報を重複するのを回避するために、モバイル・ユニット220は、同時バインディングが使用されている間にWiMAXリンクまたはEVDOリンクのどちらかを介して受信されたいかなるパケットをも無視または除去することができる。
第2のモデム225(2)への通話のハンドオフに続いて、モバイル・ユニット220は、第1のモデム225(1)によってサポートされている無線通信リンクを登録解除し、この無線通信リンクをサポートするために使用されている無線通信資源を割当て解除するようにとの要求を送信する。第1のモデム225(2)を使用して確立された第1の無線通信リンクの品質が劣化した可能性があり、これは、登録解除メッセージがWiMAXモデム225(1)によって伝送された場合、登録解除メッセージがWiMAX無線アクセス・ネットワーク205(1)において首尾よく受信される確率を下げる可能性があるので、モバイル・ユニット220は、EV−DOモデム225(2)を使用してEV−DO無線アクセス・ネットワーク205(2)に登録解除メッセージを送信することができる。次いで、登録解除メッセージは、PDSNを介してホーム・エージェント210に伝送されることが可能であり、ホーム・エージェント210はWiMAXアクセス技術の外部エージェントとのバインディングを登録解除する。次いで、ホーム・エージェント210は、WiMAX無線アクセス・ネットワーク205(1)に登録取消しを開始する。WiMAX無線アクセス・ネットワーク205(1)は、登録取消しメッセージを受信するとすぐ、第1の無線通信リンクを登録解除し、関連する無線通信資源を割当て解除することができる。例えば、WiMAX無線アクセス・ネットワーク205(1)は、会議回線への対応するIMSセッションおよび接続を解放することができる。一実施形態では、会議回線が解放されることが可能であり、会議通話の代わりに双方向通話が確立されることが可能である。WiMAXリンクを介しての対応するMIPセッションが解放されることが可能であり、WiMAXリンクは任意選択で終了されることが可能である。その場合、VoIPセッションはEVDOリンクを介して継続する。
図3および4は、パケット・ベースの無線通信システム内のマルチモード・ユーザ機器のためのセッション連続性をサポートするベスト・エフォート・ハンドオフの方法の一例示的実施形態の一部分300、400を例示する。例示されている実施形態では、パケット・ベースの無線通信システムは、少なくとも1つのモバイル・ユニットまたはユーザ機器(UE)への無線接続を提供する。ユーザ機器は、チャネル状態をモニタし、複数の無線アクセス技術に準拠して動作する1つまたは複数のクライアント間のハンドオフを管理するように構成された、インテリジェント接続マネージャと呼ばれることもあるマネージャ・エンティティを含む。例示されている実施形態では、ユーザ機器は、2つの無線アクセス技術(WIMAXおよびEVDO)をサポートし、したがって、ユーザ機器は、各無線アクセス技術のためのIP接続確立の独立した手段に関連するデュアル・アクセス技術無線を使用してエア・インターフェースを介して通信する少なくとも1つのクライアントをサポートすることができる。例えば、モバイル・ユニットは、EV−DO規格および/またはプロトコルに準拠して動作するモデム、およびWiMAX規格および/またはプロトコルに準拠して動作するモデムを含むことができる。例示されている実施形態では、アクセス認証のために共通のネットワーク・アクセス識別子(NAI)が使用される。
無線通信システムはまた、対応する規格に合致するアクセス技術特有のRANを含む。例示されている実施形態では、無線アクセス技術はWiMAXおよびEV−DOであり、したがって、これらのRANは、それぞれ、アクセス・サービング・ネットワーク・ゲートウェイ(ASN−GW)およびパケット・データ・サービング・ノード(PDSN)を含む。一実施形態では、RANは、MIPv4クライアント・ベースのユーザ機器をサポートする。しかし、本発明はこれらの特定の無線アクセス技術に限定されないことを当業者は理解するはずである。単一のホーム・エージェントが両方の無線アクセス技術のために使用される。さらに、3つ以上の無線アクセス技術をサポートするマルチモード・ユーザ機器では、単一のホーム・エージェントがユーザ機器へのIP接続のための連続性を提供するために使用される。
例示されている実施形態では、無線通信システムは、認証、認可およびアカウンティング(AAA)サーバ、およびホーム加入者サービス(HSS)を含む。AAA/HSSエンティティは、クライアントを認証し、無線通信資源の使用を認可し、ビリング・レコードを保持するなどのアカウンティング機能を実行するために使用されることが可能である。AAA/HSSを実施および/または実行するための方式は当技術分野では知られており、明確を期すために、本明細書では、本発明に関係があるAAA/HSSを実施および/または実行する態様だけがさらに議論される。しかし、図3および4に示されている特定の機能エンティティは例示を意図するものであり、本発明を限定することを意図するものではないことを本開示の利益を受ける当業者は理解するはずである。代替実施形態では、無線通信システムは、本明細書に記載されているのと同じ機能を実行するかまたは他の機能を実行する、より多くのまたはより少ない機能エンティティを含んでよい。
図3は、方法300の一例示的実施形態、またはそれぞれ異なる無線アクセス技術に準拠して動作するモデムとの同時通話セッションを確立するステップを概念的に例示する。例示されている実施形態では、無線通信装置はパワー・アップし、EV−DOエア・インターフェースに入ることを選択する。したがって、クライアントは、(305において)、EV−DOモデムにメッセージまたは信号を送信して、モデムにエア・インターフェースを介してEV−DO RANへの通信を開始するよう指令する。EV−DOモデムおよびEV−DO RANは、矢印310によって示されているように、セッション構成プロトコルを使用してEV−DO UATIセッションを確立するためにエア・インターフェース・メッセージを交換する。端末認証は、無線通信システムにおいて任意選択で実施されることが可能である。端末認証が起動された場合、EV−DO RANは、矢印315によって示されているように、モバイル・ユニットの国際モバイル加入者識別子(IMSI)に基づいて端末認証を実行するためにAAAと通信する。次いで、モバイル・ユニットは、矢印320によって示されているように、ユーザ・アクセス認証メッセージを交換することにより認証されることが可能である。
次いで、クライアントはEV−DO RANとのIP接続を確立する。例示されている実施形態では、クライアントは、矢印325によって示されているように、ポイント・ツー・ポイント・プロトコル(PPP)セッションを確立するために、リンク制御プロトコル(LCP)メッセージおよびインターネット・プロトコル制御プロトコル(IPCP)メッセージを交換することによりベスト・エフォート接続を確立する。PPP交渉は、矢印330によって示されているように、PDSNをトリガしてEV−DOエア・インターフェースおよびEV DOモデム・カードを介してMIP FA広告を送信させ、このカードはメッセージをMS MIPクライアントに送付する。一実施形態では、ホーム・エージェントおよびAAAは、矢印335によって示されているように、セキュアな通信のために使用され得るMN−HAキーを確認するためにメッセージを交換する。この点において、モバイル・ユニット内のクライアントは、(340において)、ホーム・エージェントを介して、クオリティ・オブ・サービス(QoS)接続を介してボイス・オーバ・インターネット・プロトコル(VoIP)通話などの通話を確立することができる。EV−DOモデムへの単一のホーム・エージェント・バインディングが通話接続のために使用される。
モバイル・ユニットは、例えば、EV−DOエア・インターフェースを介しての無線通信リンクがWiMAXエア・インターフェースを介して利用可能な無線通信リンクに比較して劣化していると判定するステップに応答して、EV−DO無線アクセス技術からWiMAX無線アクセス技術にハンドオフすることを決定することができる。例示されている実施形態では、矢印345によって示されているように、モバイル・ユニット内のインテリジェント接続マネージャが信号強度測定値に基づいてWiMAX技術にハンドオフすることを決定し、ハンドオフ・トリガをWiMAXモデムに送信する。次いで、WiMAXモデムおよびWiMAX RANが交渉し、通信セッションをセットアップすることができる。例示されている実施形態では、WiMAX RAN接続セットアップは、矢印350によって示されているように、初期レンジング、装置認証、ユーザ認証、機能交換、ならびに1次管理接続および基本管理接続の確立によって行われる。一実施形態では、クライアントは認証されることが可能である。例えば、WiMAX接続セットアップ中に、矢印355によって示されているように、拡張認証プロトコル(EAP)認証がAAAサーバを用いて行われる。モバイル・ユニットのNAIがEAP認証のために使用されることが可能である。
次いで、クライアントは、矢印360、365、370によって示されているように、ホーム・エージェントを介してIP接続を確立することができる。例示されている実施形態では、矢印360によって示されているように、WiMAX RANが、前に確立されたEV−DO通信セッションとの同時バインディングを可能にするモバイルIP接続(MIP)を確立する。WiMAX RANはまた、(365において)、ホーム・エージェントとのMIPセッションをセットアップし、認証が使用されている場合、(370において)、次に続くセキュアな通信における使用のためにAAAサーバとMN−HAキーを交渉する。(375において)VoIPのためのベスト・エフォート・モードでのWiMAX RAN接続のためにサービス・フローがセットアップされ、(380において)WiMAX RANは、AAAサーバによってサービス・フローに関連するアカウンティングがセットアップされるべきであることを示すメッセージまたは信号を送信する。この点において、(385において)、EV−DOアクセス技術およびWiMAXアクセス技術への同時バインディングを使用して、ホーム・エージェントを介して、VoIPペイロードなどのペイロードを搬送するために使用されることが可能であるベスト・エフォート接続が確立される。例示されている実施形態では、ホーム・エージェントは、WiMAX WACならびにEV−DO RAN内のPDSNにデータ・パケットを送信する。
図4は、通信セッションを登録解除するための方法400の一例示的実施形態を概念的に例示する。モバイル・ユニットは、WiMAX接続にハンドオフすることを決定し、矢印405、410によって示されているように、WiMAX RANを介して、EV−DO接続の登録解除を要求するメッセージまたは信号をホーム・エージェントに送信する。例示されている実施形態では、クライアントがEV−DOモデムおよびWiMAXモデムの両方から同時にデータを受信している期間の後に、インテリジェント・モビリティ接続マネージャが、WiMAXにスイッチし、EV−DOエア・インターフェースを放棄することを決定する。クライアントは、(405において)、クライアントが同時バインディングを停止することを望むことを示す情報を含むMIP再登録要求(Re−RRQ)をホーム・エージェントに送信する。ホーム・エージェントは、(410において)MIP登録応答(RRP)メッセージによってMIP Re−RRQを確認応答する。クライアントからMIP Re−RRQを受信するとすぐ、ホーム・エージェントおよびEV−DO PDSNは、(415において)前のMIPセッション(すなわち、DO MIPセッション)を取り消すためにMIPメッセージを交換する。例えば、RFC3344は、ホーム・エージェントが同時バインディングを停止するためにMIP再登録を受信するとすぐ前のMIPセッションを取り消すことができることを規定している。
EV−DOセッションを取り消した結果として、EV−DO PDSNは、例えば、3GPP2規格(IS−835D)に規定されているように、EV−DO MIPセッション、PPPセッション、および他のいかなる現存する無線周波数接続をも取り除くことができる。PDSNは、(420において)、EV−DOセッションに関連するアカウンティング・プロセスを停止するようにとの要求をAAAサーバに送信する。次いで、AAAサーバは、EV−DOセッションに関連するデフォルト・ベスト・エフォート・フローおよびQoSベアラ・フローの両方上でアカウンティングを停止することができる。一実施形態では、EVDOリンクは、ハンドオーバの終りに明確にシャット・ダウンされてよい。しかし、EVDOエア・インターフェース上の信号強度が弱くて信頼できない可能性があるハンドオーバ状態を考慮して、EV−DO資源をクリーン・アップする(例えば、解放および/または割当て解除する)ために、モバイル・ユニットにオーバ・ジ・エア・メッセージを送信することを回避することが好ましいこともある。この場合は、クライアント側におけるPPPセッションは、直ちにタイム・アウトしてもよく、それともクライアントによって切断されてもよい。この時点で、クライアントはWiMAXシステム上で単一のバインディングを有し、(425において)WiMAXモデム、WiMAX RAN、およびホーム・エージェントを介してVoIPペイロードなどのペイロードを搬送するためにベスト・エフォート接続を利用する。
通話が完了した場合、クライアントはアイドル・モードに移行することができる。例示されている実施形態では、クライアントは、(430において)、アイドル・モードに移行することを決定した場合、WiMAX接続を切断することによりアイドル・モードへの移行を開始する。WiMAXモデムから受信された切断するようにとの要求に応答して、WiMAX RANは、アカウンティング停止メッセージ、例えば、WiMAXサービス・フローに関連したアカウンティングがAAAサーバによって切断または停止されるべきであることを示すメッセージまたは信号を、AAAサーバに送信することができる。
本発明は本明細書における教示の利益を受ける当業者には明らかな、様々な、しかし同等のやり方で変更され実施されてもよいので、上記で開示された特定の実施形態は例示だけである。さらに、添付の特許請求の範囲に記載されている以外は、本明細書に示された構成または設計の詳細に対するいかなる限定も意図されていない。したがって、上記で開示された特定の実施形態は、改変または変更されてもよく、そのような変形形態はすべて本発明の範囲内にあるとみなされることは明らかである。したがって、本明細書で求められる保護は、添付の特許請求の範囲に記載されている通りである。

Claims (10)

  1. 複数の無線アクセス技術に準拠してネットワークと通信することができるモバイル・ユニットにおいて実施される方法であって、
    該モバイル・ユニットと該複数の無線アクセス技術をサポートするホーム・エージェントとの間で第1の無線通信リンクと第2の無線通信リンクとを同時に形成するステップを含み、該第1の無線通信リンクは、第1の無線アクセス技術に準拠して確立され、該第2の無線通信リンクは、該第1の無線アクセス技術とは異なる第2の無線アクセス技術に準拠して確立され、認証サーバに対する該モバイル・ユニットのアクセス認証は、該第1の無線アクセス技術と該第2の無線アクセス技術のための共通のネットワーク・アクセス識別子(NAI)を使用して該第1の無線通信リンクと該第2の無線通信リンクについて行われ、
    登録解除メッセージを該第2の無線通信リンクを介して該ホーム・エージェントに伝送するステップを含み該登録解除メッセージは、該ホーム・エージェントによる該第1の無線通信リンクの登録解除をもたらす方法。
  2. 請求項1に記載の方法において、
    該モバイル・ユニットのハンドオフを行うステップは、該第2の無線通信リンク又は該第1の無線通信リンクの少なくとも1つに関連する少なくとも1つのチャネル状態の少なくとも1つの測定値に基づいて該モバイル・ユニットの該ハンドオフを行うステップを備え、該モバイル・ユニットの該ハンドオフを行うステップは、該少なくとも1つの測定値に基づいて該第1の無線通信リンクが該第2の無線通信リンクに比較して劣化しているという判定に応答して該ハンドオフを行うステップを備える方法。
  3. 請求項1に記載の方法において、
    該第2の無線通信リンクを介して該登録解除メッセージを伝送するステップは、ホーム・エージェントが該第1の無線通信リンクの登録解除及び該関連する無線通信資源の解放を要求することができるように、該第2の無線通信リンクに関連する該ホーム・エージェントに対するアクセス認証のための該共通のネットワーク・アクセス識別子(NAI)を使用してモバイル・インターネット・プロトコル(MIP)登録解除メッセージを伝送するステップを備える方法。
  4. 請求項1に記載の方法において、
    該第1の無線通信リンクを使用して該モバイル・ユニット内の第1のモデムからの通話を確立するステップを備え、該ハンドオフを行うステップは、該第2の無線通信リンクを使用して該モバイル・ユニット内の第2のモデムとの通信を確立するステップを備え、さらに、
    該第1の無線通信リンク及び該第2の無線通信リンクの同時バインディングを確立するステップを備え、該ハンドオフを行うステップは、該同時バインディングを使用して情報をバイキャストするステップを備える方法。
  5. 複数の無線アクセス技術に準拠して少なくとも1つのモバイル・ユニット・ネットワークとの複数の無線通信リンクをサポートすることができるホーム・エージェントにおいて実施される方法であって、
    第1の無線アクセス技術に準拠して確立された第1の無線通信リンクから、該第1の無線アクセス技術とは異なる第2の無線アクセス技術に準拠して確立された第2の無線通信リンクへの該モバイル・ユニットのハンドオフを該ホーム・エージェントで行うステップと、
    登録解除メッセージを該ホーム・エージェントで受信するステップを含み該登録解除メッセージは、該第1の無線アクセス技術と該第2の無線アクセス技術のための共通のネットワーク・アクセス識別子(NAI)を使用して該第2の無線通信リンクを介して該モバイル・ユニットから該ホーム・エージェントに送信され、該登録解除メッセージは、該ハンドオフを行うステップに応答して、該第1の無線通信リンクの登録解除をもたらし、
    該第1の無線通信リンクの登録解除を要求するメッセージを該ホーム・エージェントから送信するステップと、を備える方法。
  6. 請求項5に記載の方法において、
    該モバイル・ユニットの該ハンドオフを行うステップは、少なくとも1つのチャネル状態の少なくとも1つの測定値に基づいて該第1の無線通信リンクが該第2の無線通信リンクと比較して劣化しているという判定に応答して該ハンドオフを行うステップを備える方法。
  7. 請求項6に記載の方法において、
    該モバイル・ユニット、該ホーム・エージェント、該第1の無線通信リンク、及び該第1の無線アクセス技術に準拠して動作する第1の無線アクセス・ネットワークに関連する第1のインターネット・プロトコル・セッションを確立するステップを備え、該ハンドオフを行うステップは、該第1の無線アクセス技術と該第2の無線アクセス技術のための共通のネットワーク・アクセス識別子(NAI)を使用して該第1のIPセッションへの該第1の無線通信リンク及び該第2の無線通信リンクの同時バインディングを該ホーム・エージェントにおいて確立するステップを備える方法。
  8. 請求項7に記載の方法において、
    該登録解除要求を受信するステップは、該第2の無線アクセス・ネットワークを介して該登録解除要求を受信するステップを備える方法。
  9. 請求項8に記載の方法において、
    該第1の無線通信リンクの登録解除を要求する該メッセージを送信するステップは、該第1の無線アクセス・ネットワークに該メッセージを送信するステップを備える方法。
  10. 請求項9に記載の方法において、
    該第1の無線通信リンクに関連する該無線通信資源を解放するようにとの要求を該第1の無線アクセス・ネットワークに伝送するステップを備える方法。
JP2010535982A 2007-11-30 2008-11-24 マルチモード・モバイル・ユニットのための無線ベアラおよびmipセッション連続性を維持するためのベスト・エフォート・ハンドオフの方法 Expired - Fee Related JP5114574B2 (ja)

Applications Claiming Priority (3)

Application Number Priority Date Filing Date Title
US11/948,248 2007-11-30
US11/948,248 US20090141683A1 (en) 2007-11-30 2007-11-30 Method of best effort handoff to maintain radio bearer and mip session continuity for multi-mode mobile units
PCT/US2008/013057 WO2009073101A1 (en) 2007-11-30 2008-11-24 Method of best effort handoff to maintain radio bearer and mip session continuity for multi-mode mobile units

Publications (2)

Publication Number Publication Date
JP2011505747A JP2011505747A (ja) 2011-02-24
JP5114574B2 true JP5114574B2 (ja) 2013-01-09

Family

ID=40409783

Family Applications (1)

Application Number Title Priority Date Filing Date
JP2010535982A Expired - Fee Related JP5114574B2 (ja) 2007-11-30 2008-11-24 マルチモード・モバイル・ユニットのための無線ベアラおよびmipセッション連続性を維持するためのベスト・エフォート・ハンドオフの方法

Country Status (6)

Country Link
US (1) US20090141683A1 (ja)
EP (1) EP2232930B1 (ja)
JP (1) JP5114574B2 (ja)
KR (1) KR101207856B1 (ja)
CN (1) CN101878669B (ja)
WO (1) WO2009073101A1 (ja)

Families Citing this family (39)

* Cited by examiner, † Cited by third party
Publication number Priority date Publication date Assignee Title
CN101911606B (zh) * 2007-12-29 2012-08-08 中兴通讯股份有限公司 客户端设备
US9445312B2 (en) * 2007-12-31 2016-09-13 United States Cellular Corporation Enhanced configuration and handoff scheme for Femto systems
US7920523B2 (en) * 2008-01-07 2011-04-05 Alcatel-Lucent Usa Inc. Method of supporting quality-of-service application session continuity during inter-technology handover using a common packet data function
US8369353B1 (en) * 2008-01-16 2013-02-05 Sprint Communications Company L.P. Dynamic heterogeneous backhaul
JP5136090B2 (ja) * 2008-01-30 2013-02-06 富士通株式会社 無線通信システムにおけるハンドオーバ方法、移動端末、及び無線通信システム
CN101577634B (zh) * 2008-05-07 2012-01-25 华为技术有限公司 多主机系统的退网方法、网络侧管理装置及网络系统
US8107438B1 (en) * 2008-06-18 2012-01-31 Sprint Spectrum L.P. Method for initiating handoff of a wireless access terminal based on the reverse activity bit
US8254930B1 (en) 2009-02-18 2012-08-28 Sprint Spectrum L.P. Method and system for changing a media session codec before handoff in a wireless network
US9374306B1 (en) 2009-03-04 2016-06-21 Sprint Spectrum L.P. Using packet-transport metrics for setting DRCLocks
US9467938B1 (en) 2009-04-29 2016-10-11 Sprint Spectrum L.P. Using DRCLocks for conducting call admission control
US8310929B1 (en) 2009-06-04 2012-11-13 Sprint Spectrum L.P. Method and system for controlling data rates based on backhaul capacity
US8245088B1 (en) 2009-06-30 2012-08-14 Sprint Spectrum L.P. Implementing quality of service (QoS) by using hybrid ARQ (HARQ) response for triggering the EV-DO reverse activity bit (RAB)
US8204000B1 (en) 2009-07-23 2012-06-19 Sprint Spectrum L.P. Achieving quality of service (QoS) by using the reverse activity bit (RAB) in creation of neighbor lists for selected access terminals
US9807819B1 (en) * 2009-09-04 2017-10-31 Sprint Communications Company L.P. Cross-technology session continuity
WO2011043526A1 (en) * 2009-10-06 2011-04-14 Lg Electronics Inc. Method and system for media anchoring and bi-casting media data
WO2011043527A1 (en) * 2009-10-06 2011-04-14 Lg Electronics Inc. Method and system for media anchoring and bi-casting media data
US8320272B2 (en) * 2010-02-12 2012-11-27 Alcatel Lucent Method and apparatus for controlling access technology selection
US8571520B1 (en) 2010-03-09 2013-10-29 Sprint Communications Company L.P. Notifying a wireless communication system about previously registered wireless communication systems
US8363564B1 (en) 2010-03-25 2013-01-29 Sprint Spectrum L.P. EVDO coverage modification based on backhaul capacity
CN102215459B (zh) * 2010-04-01 2015-06-10 中兴通讯股份有限公司 维持多媒体消息服务连续性的方法及移动终端
US8515434B1 (en) 2010-04-08 2013-08-20 Sprint Spectrum L.P. Methods and devices for limiting access to femtocell radio access networks
US8774128B2 (en) 2010-04-19 2014-07-08 Qualcomm Incorporated Method and apparatus for detachment from a wireless communication network
EP2413632A1 (en) 2010-07-28 2012-02-01 France Telecom Method of and apparatus for providing a flow of data to a mobile communication device
JP5588817B2 (ja) * 2010-10-14 2014-09-10 日本無線株式会社 WiMAXローミング通信システム
WO2012121524A2 (ko) * 2011-03-04 2012-09-13 엘지전자 주식회사 다중 무선접속기술을 지원하는 무선 접속 시스템에서 데이터를 송수신하기 위한 방법 및 장치
US20120230293A1 (en) * 2011-03-08 2012-09-13 Edward Grinshpun Method of performing an inter-technology handoff in a loosely coupled architecture
CN103067994A (zh) * 2011-10-19 2013-04-24 中国电信股份有限公司 使无线终端在两种无线网络之间切换的方法与系统
US9717554B2 (en) 2012-03-26 2017-08-01 Biosense Webster (Israel) Ltd. Catheter with composite construction
US10639099B2 (en) 2012-05-25 2020-05-05 Biosense Webster (Israel), Ltd. Catheter having a distal section with spring sections for biased deflection
US9591617B2 (en) * 2013-03-11 2017-03-07 Intel Deutschland Gmbh Communication controller and method for transmitting data
US9084288B2 (en) * 2013-03-14 2015-07-14 Qualcomm Incorporated Dual-SIM wireless communications device and method for mitigating receiver desense in dual-active operation
GB2512356B (en) * 2013-03-27 2015-09-30 Broadcom Corp Methods and apparatuses enabling selection between cellular and non-cellular radio connections
GB2516886A (en) * 2013-08-02 2015-02-11 Nec Corp Communications system
US9578588B2 (en) * 2014-03-27 2017-02-21 Intel IP Corporation Apparatus, method and system of tethering between a mobile device and a network
EP3241383B1 (en) * 2014-12-30 2019-02-20 British Telecommunications public limited company Cellular handover
WO2018146068A1 (en) 2017-02-07 2018-08-16 Ipcom Gmbh & Co. Kg Interworking function using untrusted network
US11471650B2 (en) 2019-09-20 2022-10-18 Biosense Webster (Israel) Ltd. Mechanism for manipulating a puller wire
CN111278076A (zh) * 2020-01-20 2020-06-12 锐迪科微电子科技(上海)有限公司 Ev-do连接状态的响应方法、系统、设备和介质
CN116056183A (zh) * 2021-10-28 2023-05-02 惠州Tcl移动通信有限公司 切换方法及电子设备

Family Cites Families (9)

* Cited by examiner, † Cited by third party
Publication number Priority date Publication date Assignee Title
JP3529621B2 (ja) * 1997-05-12 2004-05-24 株式会社東芝 ルータ装置、データグラム転送方法及び通信システム
ATE469522T1 (de) * 2000-10-18 2010-06-15 Ericsson Telefon Ab L M Nahtlose weiterreichung bei mobile ip
US6985479B2 (en) * 2002-03-04 2006-01-10 Qualcomm Incorporated Method and apparatus for processing internet protocol transmissions
CN1324924C (zh) * 2004-05-17 2007-07-04 北京航空航天大学 移动ip中移动节点实现切换的方法
KR101113860B1 (ko) * 2005-02-18 2012-03-02 엘지전자 주식회사 멀티모드 이동단말의 핸드오버 수행 후 링크 해제 방법 및그 이동단말
US20060209758A1 (en) * 2005-03-16 2006-09-21 Gemtek Systems, Inc. Methods and systems for roaming in 802.11 wireless networks
US7711369B2 (en) * 2005-08-22 2010-05-04 Toshiba America Research, Inc. Seamless mobility for a multiple interface device in a co-located wireless environment
US8160613B2 (en) * 2005-12-19 2012-04-17 Rockstar Bidco, LP Method and system for handover in cellular wireless using route programming and training processes
JP4977665B2 (ja) * 2007-10-26 2012-07-18 株式会社日立製作所 通信システム及びゲートウェイ装置

Also Published As

Publication number Publication date
WO2009073101A1 (en) 2009-06-11
JP2011505747A (ja) 2011-02-24
KR101207856B1 (ko) 2012-12-04
KR20100085146A (ko) 2010-07-28
US20090141683A1 (en) 2009-06-04
CN101878669B (zh) 2015-08-19
EP2232930A1 (en) 2010-09-29
CN101878669A (zh) 2010-11-03
EP2232930B1 (en) 2019-02-27

Similar Documents

Publication Publication Date Title
JP5114574B2 (ja) マルチモード・モバイル・ユニットのための無線ベアラおよびmipセッション連続性を維持するためのベスト・エフォート・ハンドオフの方法
US7920523B2 (en) Method of supporting quality-of-service application session continuity during inter-technology handover using a common packet data function
JP5089777B2 (ja) マルチモードクライアントのセッション連続性をサポートするための電話会議の方法
JP4251500B2 (ja) Wlanからセルラネットワークへのインタテクノロジ・ハンドオフを実行する方法および装置
US8780856B2 (en) Inter-system handoffs in multi-access environments
JP2006506930A5 (ja)
JP5791739B2 (ja) 疎結合アーキテクチャにおける技術間ハンドオフを実行する方法
CN101523953A (zh) 多路接入环境中的系统间切换
US8125954B2 (en) System for FA relocation with context transfer in wireless networks
CN100593929C (zh) 一种无线分组网络中的移动切换方法
CN1726727A (zh) 用于执行从wlan到蜂窝网的技术间切换的方法和设备
CA2583182C (en) Reducing handoff latency for a mobile station
Menezes et al. An Efficient Handover Scheme Based on Fast Mobile IPv6
Li et al. Seamless IP multimedia service continuity support in inter-worked UMTS and WLAN
HK1086148A (en) Method and apparatus for performing inter-technology handoff from wlan to cellular network

Legal Events

Date Code Title Description
A977 Report on retrieval

Free format text: JAPANESE INTERMEDIATE CODE: A971007

Effective date: 20120131

A131 Notification of reasons for refusal

Free format text: JAPANESE INTERMEDIATE CODE: A131

Effective date: 20120227

A601 Written request for extension of time

Free format text: JAPANESE INTERMEDIATE CODE: A601

Effective date: 20120525

A602 Written permission of extension of time

Free format text: JAPANESE INTERMEDIATE CODE: A602

Effective date: 20120601

RD04 Notification of resignation of power of attorney

Free format text: JAPANESE INTERMEDIATE CODE: A7424

Effective date: 20120710

A521 Request for written amendment filed

Free format text: JAPANESE INTERMEDIATE CODE: A523

Effective date: 20120827

TRDD Decision of grant or rejection written
A01 Written decision to grant a patent or to grant a registration (utility model)

Free format text: JAPANESE INTERMEDIATE CODE: A01

Effective date: 20120918

A01 Written decision to grant a patent or to grant a registration (utility model)

Free format text: JAPANESE INTERMEDIATE CODE: A01

A61 First payment of annual fees (during grant procedure)

Free format text: JAPANESE INTERMEDIATE CODE: A61

Effective date: 20121015

FPAY Renewal fee payment (event date is renewal date of database)

Free format text: PAYMENT UNTIL: 20151019

Year of fee payment: 3

R150 Certificate of patent or registration of utility model

Ref document number: 5114574

Country of ref document: JP

Free format text: JAPANESE INTERMEDIATE CODE: R150

R250 Receipt of annual fees

Free format text: JAPANESE INTERMEDIATE CODE: R250

R250 Receipt of annual fees

Free format text: JAPANESE INTERMEDIATE CODE: R250

R250 Receipt of annual fees

Free format text: JAPANESE INTERMEDIATE CODE: R250

R250 Receipt of annual fees

Free format text: JAPANESE INTERMEDIATE CODE: R250

R250 Receipt of annual fees

Free format text: JAPANESE INTERMEDIATE CODE: R250

R250 Receipt of annual fees

Free format text: JAPANESE INTERMEDIATE CODE: R250

R250 Receipt of annual fees

Free format text: JAPANESE INTERMEDIATE CODE: R250

R250 Receipt of annual fees

Free format text: JAPANESE INTERMEDIATE CODE: R250

R250 Receipt of annual fees

Free format text: JAPANESE INTERMEDIATE CODE: R250

LAPS Cancellation because of no payment of annual fees