JP5111972B2 - 液晶表示装置 - Google Patents

液晶表示装置 Download PDF

Info

Publication number
JP5111972B2
JP5111972B2 JP2007205351A JP2007205351A JP5111972B2 JP 5111972 B2 JP5111972 B2 JP 5111972B2 JP 2007205351 A JP2007205351 A JP 2007205351A JP 2007205351 A JP2007205351 A JP 2007205351A JP 5111972 B2 JP5111972 B2 JP 5111972B2
Authority
JP
Japan
Prior art keywords
liquid crystal
crystal display
display device
display panel
frame
Prior art date
Legal status (The legal status is an assumption and is not a legal conclusion. Google has not performed a legal analysis and makes no representation as to the accuracy of the status listed.)
Expired - Fee Related
Application number
JP2007205351A
Other languages
English (en)
Other versions
JP2009042362A (ja
Inventor
修史 長岡
和好 田中
晶夫 手塚
享之 太田
Current Assignee (The listed assignees may be inaccurate. Google has not performed a legal analysis and makes no representation or warranty as to the accuracy of the list.)
Panasonic Liquid Crystal Display Co Ltd
Original Assignee
Panasonic Liquid Crystal Display Co Ltd
Priority date (The priority date is an assumption and is not a legal conclusion. Google has not performed a legal analysis and makes no representation as to the accuracy of the date listed.)
Filing date
Publication date
Application filed by Panasonic Liquid Crystal Display Co Ltd filed Critical Panasonic Liquid Crystal Display Co Ltd
Priority to JP2007205351A priority Critical patent/JP5111972B2/ja
Priority to US12/222,151 priority patent/US8184229B2/en
Priority to CNA2008101313506A priority patent/CN101364006A/zh
Publication of JP2009042362A publication Critical patent/JP2009042362A/ja
Application granted granted Critical
Publication of JP5111972B2 publication Critical patent/JP5111972B2/ja
Expired - Fee Related legal-status Critical Current
Anticipated expiration legal-status Critical

Links

Images

Classifications

    • GPHYSICS
    • G02OPTICS
    • G02FOPTICAL DEVICES OR ARRANGEMENTS FOR THE CONTROL OF LIGHT BY MODIFICATION OF THE OPTICAL PROPERTIES OF THE MEDIA OF THE ELEMENTS INVOLVED THEREIN; NON-LINEAR OPTICS; FREQUENCY-CHANGING OF LIGHT; OPTICAL LOGIC ELEMENTS; OPTICAL ANALOGUE/DIGITAL CONVERTERS
    • G02F1/00Devices or arrangements for the control of the intensity, colour, phase, polarisation or direction of light arriving from an independent light source, e.g. switching, gating or modulating; Non-linear optics
    • G02F1/01Devices or arrangements for the control of the intensity, colour, phase, polarisation or direction of light arriving from an independent light source, e.g. switching, gating or modulating; Non-linear optics for the control of the intensity, phase, polarisation or colour 
    • G02F1/13Devices or arrangements for the control of the intensity, colour, phase, polarisation or direction of light arriving from an independent light source, e.g. switching, gating or modulating; Non-linear optics for the control of the intensity, phase, polarisation or colour  based on liquid crystals, e.g. single liquid crystal display cells
    • G02F1/133Constructional arrangements; Operation of liquid crystal cells; Circuit arrangements
    • G02F1/1333Constructional arrangements; Manufacturing methods
    • G02F1/1335Structural association of cells with optical devices, e.g. polarisers or reflectors
    • G02F1/1336Illuminating devices
    • G02F1/133602Direct backlight
    • G02F1/133604Direct backlight with lamps
    • GPHYSICS
    • G02OPTICS
    • G02FOPTICAL DEVICES OR ARRANGEMENTS FOR THE CONTROL OF LIGHT BY MODIFICATION OF THE OPTICAL PROPERTIES OF THE MEDIA OF THE ELEMENTS INVOLVED THEREIN; NON-LINEAR OPTICS; FREQUENCY-CHANGING OF LIGHT; OPTICAL LOGIC ELEMENTS; OPTICAL ANALOGUE/DIGITAL CONVERTERS
    • G02F1/00Devices or arrangements for the control of the intensity, colour, phase, polarisation or direction of light arriving from an independent light source, e.g. switching, gating or modulating; Non-linear optics
    • G02F1/01Devices or arrangements for the control of the intensity, colour, phase, polarisation or direction of light arriving from an independent light source, e.g. switching, gating or modulating; Non-linear optics for the control of the intensity, phase, polarisation or colour 
    • G02F1/13Devices or arrangements for the control of the intensity, colour, phase, polarisation or direction of light arriving from an independent light source, e.g. switching, gating or modulating; Non-linear optics for the control of the intensity, phase, polarisation or colour  based on liquid crystals, e.g. single liquid crystal display cells
    • G02F1/133Constructional arrangements; Operation of liquid crystal cells; Circuit arrangements
    • G02F1/1333Constructional arrangements; Manufacturing methods
    • G02F1/1335Structural association of cells with optical devices, e.g. polarisers or reflectors
    • G02F1/1336Illuminating devices
    • G02F1/133628Illuminating devices with cooling means

Landscapes

  • Physics & Mathematics (AREA)
  • Nonlinear Science (AREA)
  • Mathematical Physics (AREA)
  • Chemical & Material Sciences (AREA)
  • Crystallography & Structural Chemistry (AREA)
  • General Physics & Mathematics (AREA)
  • Optics & Photonics (AREA)
  • Liquid Crystal (AREA)
  • Devices For Indicating Variable Information By Combining Individual Elements (AREA)
  • Arrangement Of Elements, Cooling, Sealing, Or The Like Of Lighting Devices (AREA)
  • Planar Illumination Modules (AREA)

Description

本発明は液晶表示装置に係り、いわゆる直下型のバックライトを備える液晶表示装置に関する。
液晶表示装置は、その液晶表示パネルの大型化の傾向にともない、バックライトとして面状光源の均一化が図れるいわゆる直下型のものが使用されてきている。
該バックライトは、前記液晶表示パネルと対向する平面内に並設される複数のたとえば蛍光管からなる棒状光源と、これら棒状光源を支持するフレームとを有し、このフレームの前記棒状光源を支持する面に配置された反射シートを備えて構成されている。
この場合において、前記棒状光源から発生する熱が液晶表示装置内に蓄積されないように該液晶表示装置の外方に放熱させることが必要となる。
たとえば、液晶表示装置内には液晶表示パネルの各画素を駆動させるための半導体装置が組み込まれ、該半導体装置が熱によって特性が劣化してしまうのを回避させるためである。
このため、前記フレームの液晶表示パネルと反対側の面に放熱フィンを有する放熱手段を配置させたものが知られている。このような構成を有する液晶表示装置としては、たとえば下記特許文献1に開示がなされている。
特開2005−84270号公報
しかし、上述した液晶表示装置は、蛍光管から発生する熱をフレームを介して放熱手段に放熱させる構成からなるものである。
このことは、前記フレームにおいて、そのフレームとしての機能を重視した場合、その材料の選定に制限が付され、たとえば熱伝導率の良好でない材料で構成せざるを得ないということがある。
このことから、放熱手段を構成する材料は、その熱の伝導経路において全て熱伝導率の優れた材料で構成し、前記フレームを介在させることなく熱を放散させることが望ましくなる。
本発明の目的は、さらに、充分な放熱の効率化を図ることのできる液晶表示装置を提供することにある。
本願において開示される発明のうち、代表的なものの概要を簡単に説明すれば、以下のとおりである。
(1)本発明による液晶表示装置は、たとえば、少なくとも、液晶表示パネルと、この液晶表示パネルの背面に配置されるバックライトとを有し、
前記バックライトは、前記液晶表示パネルと対向する平面内に並設される複数の棒状光源と、これら棒状光源を支持するフレームと、このフレームの前記棒状光源を支持する面に配置される放熱板を備え、
前記放熱板の液晶表示パネル側の面に反射シートを配置し、
前記放熱板は、前記フレームに形成するスリットを通して該フレームの前記液晶表示パネルと反対側の面へ突出する放熱フィンを前記放熱板の面上に複数散在して形成するとともに、
前記液晶表示パネルを水平面に対して立てて用いるときに、前記放熱板の面上における前記放熱フィンの占有面積を、該放熱板の上方に相当する部分において大きく、該放熱板の下方に相当する部分において小さくなるようにすることを特徴とする。
(2)本発明による液晶表示装置は、たとえば、(1)の構成を前提とし、前記放熱フィンは、前記放熱板に対して平面的に観た場合、水平方向に延在された形状をなすことを特徴とする。
(3)本発明による液晶表示装置は、たとえば、(1)の構成を前提とし、前記放熱フィンは、前記放熱板に対して平面的に観た場合、垂直方向に延在された形状をなすことを特徴とする。
(4)本発明による液晶表示装置は、たとえば、(1)、(2)、又は(3)の構成を前提とし、前記フレーム、アルミニゥムあるいは鉄で構成されていることを特徴とする。
なお、本発明は以上の構成に限定されず、本発明の技術思想を逸脱しない範囲で種々の変更が可能である。
このように構成した液晶表示装置は、さらに、放熱の効率化を図ることができるようになる。
以下、本発明による液晶表示装置の実施例を図面を用いて説明をする。
図2(a)は、本発明による液晶表示装置の一実施例を示す概略構成図である。
まず、観察者側から、液晶表示パネルPNL、光学シートOS、およびバックライトBLが順次配置されている。
液晶表示パネルPNLは、一対の平行配置されたたとえばガラスからなる基板SUB1、SUB2を外囲器とし、これら各基板SUB1、SUB2の間に液晶が介在されて構成されている。
前記基板SUB1、SUB2の液晶側の面には、マトリックス状に配置された画素(図示せず)が前記液晶を一構成要素として形成され、これら各画素毎に当該液晶の光透過率を制御できるようになっている。
そして、これら各画素が形成された領域を液晶表示領域AR(図中点線枠で囲まれた領域)とし、後述のバックライトBLからの光を該液晶表示領域ARの全域にわたって照射し、各画素を透過する光を通して観察者に映像を認識させるようになっている。
なお、観察者側に対して後方に配置された基板SUB1は基板SUB2よりも面積が大きく形成され、前記基板SUB2から露出された周辺には、各画素を独立に駆動させるための回路からなる半導体装置SCDが搭載されている。
そして、液晶表示パネルPNLの背面には、たとえば、拡散シート、プリズムシート、あるいはこれらの積層体からなる光学シートOSを介してバックライトBLが配置されている。光学シートOSは、バックライトBLからの光を拡散あるいは集光させたりして液晶表示パネルPNL側へ導くようになっている。
バックライトBLは、いわゆる直下型と称されるもので、液晶表示パネルPNLと平行な平面内に、図中x方向に長手方向を一致させ図中y方向に並設される複数のたとえば蛍光管からなる棒状光源CLを支持する下フレームDFを備える。
この下フレームDFはたとえばアルミニゥムあるいは鉄から構成された箱体状をなし、それらの側壁面は底面に対して鈍角の広がりを有して傾斜配置されている。このような材料からなる下フレームDFは、その表面においてたとえば錆止め等の処理がなされ、このことも原因して、後述の放熱板(図1において符号EHBで示す)よりも熱伝導率が小さくなっている。この下フレームDFはかならずしも上述した材料に限定されることはなくたとえば樹脂等であってもよい。
また、前記下フレームDFの液晶表示パネルPNL側であって前記棒状光源CLの背部に反射シートRSが配置され、これによって前記棒状光源CLからの光を前記反射シートRSによって反射させて液晶表示パネルPNL側へ指向させるようになっている。
なお、本発明による液晶表示装置は、図2(b)に示すように、水平面に対して立てて用いられるようになっており、その際における該液晶表示装置の液晶表示パネルPNL、光学シートOS、およびバックライトBLの上下方向は、図2に示す液晶表示パネルPNL、光学シートOS、およびバックライトBLの上下方向に対応している。
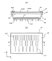
図1(a)は、上述した液晶表示パネルPNL、光学シートOS、およびバックライトBLを、上フレームUF、中フレームMFを用いることによってモジュール化させた断面図で、図2のI(a)−I(a)線に相当する箇所の断面図となっている。
図1(a)において、前記下フレームDFの底面(液晶表示パネルPNL側の面)に、前記棒状光源CLの支持箇所を回避させて、放熱板EHBが配置されている。この放熱板EHBの熱伝導率はたとえば前記下フレームBSの熱伝導率よりも大きな材料で構成されている。また、この放熱板EHBは、後に詳述するが、前記下フレームBSに形成されたスリット(図1(b)において符号SLで示す)を通して該下フレームBSの前記液晶表示パネルPNLと反対側の面へ突出する放熱フィンEHFが形成されている。
なお、前記放熱板EHBの前記液晶表示パネルPNL側の表面には、前記棒状光源CLの下フレームBSとの支持箇所を回避させて、前記反射シートRSが配置されている。
液晶表示パネルPNLは中フレームMFに載置され、光学シートOSは中フレームMFと下フレームDFとの間に挟持されている。そして、液晶表示パネルPNLの前記液晶表示領域ARに対向する部分に開口OHが形成された上フレームUFが中フレームMFを被うとともに下フレームDFに係止されて取り付けられている。
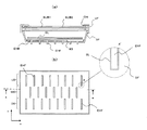
図1(b)は、前記下フレームDFを液晶表示パネルPNLとは反対側の面から観た図である。なお、前記図1(a)は、図1(b)のa−a線に相当する箇所における断面図を示したものである。
下フレームDF面に配置される各放熱フィンEHFは、たとえば図中点線丸枠Aの拡大図A’に示すように、該下フレームDFに形成されたスリットSLを通して突出されている。そして、これら各放熱フィンEHFは前記下フレームDFの前記液晶表示パネルPNL側の面に配置されている前記放熱板EHBと一体化されていることは上述した通りである。
ここで、図1(b)に示す下フレームDFの上部は、液晶表示装置を水平面に対して立てて用いた場合において、その上部に相当する部分となっている。
この場合、前記下フレームDFは、前記上部から下部にかけて、たとえば3つに区分けされた水平面と平行な各領域UD、MD、DDにおいて、それぞれ垂直方向(図中y方向)に延在された放熱フィンEHFが水平方向(図中x方向)に並設されて形成されている。前記各領域におけるそれぞれの放熱フィンは等間隔に配置されている。そして、真中の領域における各放熱フィンはその上下の各領域における各放熱フィンと半ピッチずれて配置されている。下フレームDF面において各放熱フィンをほぼ均一に散在せしめて配置させるためである。
図3(a)ないし(d)は、それぞれ、前記放熱板EHBおよび放熱フィンEHFの構成の各実施例を示した断面図である。
図3(a)は、平板状をなして形成される放熱板EHBにコ字状に形成されたスリットを形成し、該スリットによって形成される該放熱板EHBの舌片部を該放熱板EHBに対して垂直に起立させるようにして屈曲させ、該舌片部を放熱フィンEHFとして構成したものである。この場合、前記各スリットはその並設方向に沿って同様の形状をなし、このため、各舌片部の起立方向(図中矢印p方向)は同じとなっている。なお、放熱板EHBには起立前の舌辺部の箇所に孔THが形成されるようになる。
図3(b)は、平板状をなして形成される放熱板EHBにエ字状に形成されたスリットを形成し、該スリットによって形成される該放熱板EHBの対向する一対の舌片部のそれぞれを該放熱板EHBに対し観音開き(図中矢印p、q方向)によって垂直に起立させるようにして屈曲させ、該各舌片部を放熱フィンEHFとして構成したものである。なお、放熱板EHBには起立前の各舌辺部の箇所に孔THが形成されるようになる。
図3(c)は、放熱板EHBと放熱フィンEHFとが一体成形によって形成されたものとして構成されたものである。図3(a)、(b)に示すように、放熱板EHBに各舌片部の起立によって形成される孔THがなく、該放熱板EHBにおいて熱の伝導の効率化が図れるという効果を奏する。
図3(d)は、図3(c)の場合と同様に、放熱板EHBと放熱フィンEHFとが一体成形によって形成され、該放熱板EHBのたとえば放熱フィンEHF側の面に凹陥部DNTが形成されている。この凹陥部DNTの形成によって、放熱板EHBの表面積を大きくでき、熱放散の効率化を図るようにしている。
なお、放熱板EHBと放熱フィンEHFは、図3(a)ないし(d)に示したように、それらは同一の材料で構成したものであるが、それらは別個の材料であってもよい。
放熱板EHBと放熱フィンEHFの各材料を、その熱伝導率が下フレームDFの材料の熱伝導率よりも大きくなるように選定することによって、さらなる熱放散効果を奏するようにできるからである。
このように構成された液晶表示装置は、下フレームDFの底面において、各棒状光源CLと対向して放熱板EHBが配置され、該棒状光源CLからの熱の大部分を前記放熱板EHFへ伝導させ易くなっている。
また、この放熱板EHFは、放熱フィンEHFが一体に取り付けられ、該放熱フィンEHFは下フレームDFに形成されたスリットSLを通して該下フレームDFの液晶表示パネルPNLとは反対側の面に突出されている。このため、前記放熱板EHFに伝導された熱は前記下フレームDFを介することなく直接に放熱フィンEHFへ導かれるようになる。
このため、前記放熱板EHBと放熱フィンEHFは、前記下フレームDFと関係なく熱伝導率の良好な材料を選定して構成でき、熱放散の高効率化を図ることができるようになる。
図4(a)、(b)は、本発明による液晶表示装置の他の実施例を示した構成図で、図1(a)、(b)に対応した図となっている。
図1(a)、(b)の場合と比較して異なる構成は、下フレームDF面に対する放熱フィンEHFの配置状態の相異にある。
すなわち、液晶表示装置を水平面に対して立てて用いた場合において、その上部から下部にかけて、たとえば3つに区分けされた水平面と平行な各領域の放熱フィンは、上部の領域において密に配置され、下部の領域に行くに従い順次粗となるように配置されている。
液晶表示装置の下部から上部に行くに従い高熱になることを鑑み、それに応じて放熱フィンEHFの数を増加させ、熱放散の効率化を図るようにしたものである。
図5(a)は、本発明による液晶表示装置の他の実施例を示した構成図で、図1(b)に対応した図となっている。
図1(b)の場合と比較して異なる構成は、放熱フィンEHFの延在方向の相異にある。
すなわち、液晶表示装置を水平面に対して立てて用いた場合において、各放熱フィンEHFは、下フレームDFの左端から右端にかけて、水平方向(図中x方向)に延在し、垂直方向(図中y方向)に複数並設されて配置されている。
そして、この実施例の場合、下フレームDFの上部から下部にかけて、たとえば3つに区分けされた水平面と平行な各領域UD、MD、DDの放熱フィンEHFは、上部の領域において密に配置され、下部の領域に行くに従い順次粗となるように配置されている。図5(a)の場合において、放熱フィンEHFは、それぞれ、下フレームの上部の領域UDにおいて4本、中央部の領域MDにおいて3本、下部の領域DDにおいて2本配置されている。
また、図5(b)は、本発明による液晶表示装置の他の実施例を示した構成図で、図5(a)に対応した図となっている。
図5(a)の場合と比較して異なる構成は、水平方向へ延在する各放熱フィンは、該方向へ複数(図では2個)に分割された状態で配置されていることにある。
上述した実施例では、液晶表示装置を水平面に対して立てて用いた場合において、各放熱フィンEHFは、上部から下部にかけて密から粗になるような構成としたものがある。この場合、各放熱フィンEHFは、上部から下部にかけて本数を変化させることなく同数とし、その面積を上部から下部にかけて大から小になるように構成するようにしてもよい。同様の効果が得られるからである。
要は、平面的に観た場合、下フレームDFに対する放熱フィンEHFの占有面積を、上部から下部にかけて大から小になるように構成するようにすることによって、同様の効果を奏することができる。
また、上述した実施例では、下フレームDFの液晶表示パネルPNL側に配置される放熱板EHBは、該下フレームDHのほぼ全域に及ぶ一枚の板で構成したものであるが、これに限定されることはなく、2つ、あるいはそれ以上の複数に分割されたものを配置させるようにしてもよい。
上述した各実施例はそれぞれ単独に、あるいは組み合わせて用いても良い。それぞれの実施例での効果を単独であるいは相乗して奏することができるからである。
本発明による液晶表示装置の一実施例を示す要部構成図である。 本発明による液晶表示装置の一実施例の全体を示す構成図である。 本発明による液晶表示装置に備えられる放熱板と放熱フィンの一実施例を示す構成図である。 本発明による液晶表示装置の他の実施例を示す要部構成図である。 本発明による液晶表示装置の他の実施例を示す要部構成図である。
符号の説明
PNL……液晶表示パネル、SUB1、SUB2……基板、AR……液晶表示領域、SCD……半導体装置、CL……棒状光源、RS……反射シート、OS……光学シート、BL……バックライト、UF……上フレーム、MF……中フレーム、DF……下フレーム、SL……スリット、EHB……放熱板、EHF……放熱フィン、TH……孔、DNT……凹陥部。

Claims (4)

  1. 少なくとも、液晶表示パネルと、この液晶表示パネルの背面に配置されるバックライトとを有し、
    前記バックライトは、前記液晶表示パネルと対向する平面内に並設される複数の棒状光源と、これら棒状光源を支持するフレームと、このフレームの前記棒状光源を支持する面に配置される放熱板を備え、
    前記放熱板の液晶表示パネル側の面に反射シートを配置し、
    前記放熱板は、前記フレームに形成するスリットを通して該フレームの前記液晶表示パネルと反対側の面へ突出する放熱フィンを前記放熱板の面上に複数散在して形成するとともに、
    前記液晶表示パネルを水平面に対して立てて用いるときに、前記放熱板の面上における前記放熱フィンの占有面積を、該放熱板の上方に相当する部分において大きく、該放熱板の下方に相当する部分において小さくなるようにする
    ことを特徴とする液晶表示装置。
  2. 前記放熱フィンは、
    前記放熱板に対して平面的に観た場合、水平方向に延在された形状をなす
    ことを特徴とする請求項1に記載の液晶表示装置。
  3. 前記放熱フィンは、
    前記放熱板に対して平面的に観た場合、垂直方向に延在された形状をなす
    ことを特徴とする請求項1に記載の液晶表示装置。
  4. 前記フレームは、
    アルミニゥムあるいは鉄で構成されている
    ことを特徴とする請求項1,2又は3に記載の液晶表示装置。
JP2007205351A 2007-08-07 2007-08-07 液晶表示装置 Expired - Fee Related JP5111972B2 (ja)

Priority Applications (3)

Application Number Priority Date Filing Date Title
JP2007205351A JP5111972B2 (ja) 2007-08-07 2007-08-07 液晶表示装置
US12/222,151 US8184229B2 (en) 2007-08-07 2008-08-04 Liquid crystal display device
CNA2008101313506A CN101364006A (zh) 2007-08-07 2008-08-06 液晶显示装置

Applications Claiming Priority (1)

Application Number Priority Date Filing Date Title
JP2007205351A JP5111972B2 (ja) 2007-08-07 2007-08-07 液晶表示装置

Publications (2)

Publication Number Publication Date
JP2009042362A JP2009042362A (ja) 2009-02-26
JP5111972B2 true JP5111972B2 (ja) 2013-01-09

Family

ID=40346141

Family Applications (1)

Application Number Title Priority Date Filing Date
JP2007205351A Expired - Fee Related JP5111972B2 (ja) 2007-08-07 2007-08-07 液晶表示装置

Country Status (3)

Country Link
US (1) US8184229B2 (ja)
JP (1) JP5111972B2 (ja)
CN (1) CN101364006A (ja)

Families Citing this family (17)

* Cited by examiner, † Cited by third party
Publication number Priority date Publication date Assignee Title
US20120300131A1 (en) * 2010-02-17 2012-11-29 Sharp Kabushiki Kaisha Display device and television receiver
KR101729776B1 (ko) * 2010-07-02 2017-05-04 엘지디스플레이 주식회사 백라이트 유닛 및 이를 구비한 액정표시장치
KR101679077B1 (ko) 2010-07-02 2016-11-24 엘지디스플레이 주식회사 백라이트 유닛 및 이를 구비한 액정표시장치
CN102889501A (zh) * 2011-07-20 2013-01-23 冠捷投资有限公司 侧光式背光模块及液晶显示幕
CN102563454B (zh) * 2011-10-12 2014-05-14 深圳市华星光电技术有限公司 Led背光模组及液晶显示装置
KR101195746B1 (ko) 2012-04-18 2012-11-01 주식회사 파인테크닉스 엘이디 조명장치의 히트씽크용 방열핀
JP5803811B2 (ja) * 2012-05-29 2015-11-04 豊田合成株式会社 車両用前照灯
CN104423093A (zh) * 2013-08-30 2015-03-18 鸿富锦精密工业(深圳)有限公司 显示装置
US9774064B2 (en) * 2015-11-30 2017-09-26 Lg Chem, Ltd. Battery pack
CN105785625A (zh) * 2016-05-23 2016-07-20 业成光电(深圳)有限公司 显示装置以及装置
CN107613733A (zh) * 2017-09-30 2018-01-19 长沙准光里电子科技有限公司 一种通信处理装置
US10401681B1 (en) * 2018-11-27 2019-09-03 Panasonic Liquid Crystal Display Co., Ltd. Heat sink for electronic display device
WO2020170717A1 (ja) * 2019-02-19 2020-08-27 ソニー株式会社 光源装置および投射型表示装置
EP3961607A4 (en) * 2019-04-24 2022-05-25 Panasonic Intellectual Property Management Co., Ltd. IMAGE DISPLAY DEVICE
JP7147722B2 (ja) * 2019-09-17 2022-10-05 株式会社デンソー 表示装置
CN114994986A (zh) * 2022-08-01 2022-09-02 惠科股份有限公司 背光模组和显示装置
CN116129741B (zh) * 2022-11-29 2024-09-03 厦门天马显示科技有限公司 显示装置

Family Cites Families (11)

* Cited by examiner, † Cited by third party
Publication number Priority date Publication date Assignee Title
JPH0287277U (ja) * 1988-12-26 1990-07-10
JPH07335015A (ja) 1994-06-10 1995-12-22 Hitachi Ltd 表示装置
JPH1096920A (ja) 1996-09-20 1998-04-14 Pfu Ltd 液晶表示装置
TWI240117B (en) * 2003-05-15 2005-09-21 Au Optronics Corp Back light unit
JP2005084270A (ja) * 2003-09-08 2005-03-31 Sharp Corp 薄型表示装置
JP4590283B2 (ja) * 2004-05-21 2010-12-01 シャープ株式会社 バックライトユニット及びそれを備えた液晶表示装置
JP4706206B2 (ja) * 2004-08-18 2011-06-22 ソニー株式会社 放熱装置及び表示装置
JP2006106272A (ja) * 2004-10-04 2006-04-20 Sony Corp 表示装置
KR20060070176A (ko) * 2004-12-20 2006-06-23 삼성전자주식회사 냉각장치와 이를 포함하는 액정표시장치
TWI326787B (en) * 2006-02-09 2010-07-01 Au Optronics Corp Backlight module and liquid crystal display device incorporating the same
CN100517018C (zh) 2006-03-10 2009-07-22 友达光电股份有限公司 背光模块

Also Published As

Publication number Publication date
CN101364006A (zh) 2009-02-11
JP2009042362A (ja) 2009-02-26
US20090040417A1 (en) 2009-02-12
US8184229B2 (en) 2012-05-22

Similar Documents

Publication Publication Date Title
JP5111972B2 (ja) 液晶表示装置
JP5107737B2 (ja) 液晶表示装置
US20160291397A1 (en) Display device
WO2013166747A1 (zh) 背光模组
WO2012063666A1 (ja) 液晶表示装置
JP2009180804A5 (ja)
JP6279736B2 (ja) 表示装置
JP2013218125A (ja) 液晶表示装置
US7210842B2 (en) Flat display and backlight module thereof
CN105299526A (zh) 具有固定座的背光模组及其显示装置
JP2007317778A (ja) バックライトユニット
KR20060047679A (ko) 발광 장치 및 액정 표시 장치
CN104100880A (zh) 背光单元及包括该背光单元的液晶显示装置
JP2009229900A (ja) 薄型ディスプレイ用のヒートシンク
JP2017037832A (ja) 発光装置および画像表示装置
JP2009175523A (ja) 薄型液晶tv用のヒートシンク
WO2020073424A1 (zh) 散热结构、采用该散热结构的背光模组及显示装置
JP5905640B2 (ja) バックライトユニット
JP5259234B2 (ja) 液晶表示装置
JP5255334B2 (ja) ヒートパイプの固定方法およびヒートパイプ保持構造体
JP2008282615A (ja) 照明装置
JP5041435B2 (ja) ヒートシンク
TWI485486B (zh) 背光模組組件及使用其之顯示裝置
JP2009230992A (ja) 薄型ディスプレイ用のヒートシンク
CN104603680A (zh) 背光单元

Legal Events

Date Code Title Description
A621 Written request for application examination

Free format text: JAPANESE INTERMEDIATE CODE: A621

Effective date: 20100705

A711 Notification of change in applicant

Free format text: JAPANESE INTERMEDIATE CODE: A711

Effective date: 20110328

RD03 Notification of appointment of power of attorney

Free format text: JAPANESE INTERMEDIATE CODE: A7423

Effective date: 20110328

A131 Notification of reasons for refusal

Free format text: JAPANESE INTERMEDIATE CODE: A131

Effective date: 20120313

A977 Report on retrieval

Free format text: JAPANESE INTERMEDIATE CODE: A971007

Effective date: 20120314

A521 Written amendment

Free format text: JAPANESE INTERMEDIATE CODE: A523

Effective date: 20120508

TRDD Decision of grant or rejection written
A01 Written decision to grant a patent or to grant a registration (utility model)

Free format text: JAPANESE INTERMEDIATE CODE: A01

Effective date: 20121002

A01 Written decision to grant a patent or to grant a registration (utility model)

Free format text: JAPANESE INTERMEDIATE CODE: A01

A61 First payment of annual fees (during grant procedure)

Free format text: JAPANESE INTERMEDIATE CODE: A61

Effective date: 20121010

FPAY Renewal fee payment (event date is renewal date of database)

Free format text: PAYMENT UNTIL: 20151019

Year of fee payment: 3

R150 Certificate of patent or registration of utility model

Ref document number: 5111972

Country of ref document: JP

Free format text: JAPANESE INTERMEDIATE CODE: R150

Free format text: JAPANESE INTERMEDIATE CODE: R150

R250 Receipt of annual fees

Free format text: JAPANESE INTERMEDIATE CODE: R250

R250 Receipt of annual fees

Free format text: JAPANESE INTERMEDIATE CODE: R250

R250 Receipt of annual fees

Free format text: JAPANESE INTERMEDIATE CODE: R250

R250 Receipt of annual fees

Free format text: JAPANESE INTERMEDIATE CODE: R250

LAPS Cancellation because of no payment of annual fees