JP5077832B2 - 植生マット - Google Patents

植生マット Download PDF

Info

Publication number
JP5077832B2
JP5077832B2 JP2009028987A JP2009028987A JP5077832B2 JP 5077832 B2 JP5077832 B2 JP 5077832B2 JP 2009028987 A JP2009028987 A JP 2009028987A JP 2009028987 A JP2009028987 A JP 2009028987A JP 5077832 B2 JP5077832 B2 JP 5077832B2
Authority
JP
Japan
Prior art keywords
paper
plastic film
vegetation
cellulose
seeds
Prior art date
Legal status (The legal status is an assumption and is not a legal conclusion. Google has not performed a legal analysis and makes no representation as to the accuracy of the status listed.)
Expired - Fee Related
Application number
JP2009028987A
Other languages
English (en)
Other versions
JP2010183856A (ja
Inventor
修一 横木
Original Assignee
横木造園株式会社
Priority date (The priority date is an assumption and is not a legal conclusion. Google has not performed a legal analysis and makes no representation as to the accuracy of the date listed.)
Filing date
Publication date
Application filed by 横木造園株式会社 filed Critical 横木造園株式会社
Priority to JP2009028987A priority Critical patent/JP5077832B2/ja
Publication of JP2010183856A publication Critical patent/JP2010183856A/ja
Application granted granted Critical
Publication of JP5077832B2 publication Critical patent/JP5077832B2/ja
Expired - Fee Related legal-status Critical Current
Anticipated expiration legal-status Critical

Links

Images

Landscapes

  • Cultivation Of Plants (AREA)
  • Pretreatment Of Seeds And Plants (AREA)
  • Cultivation Receptacles Or Flower-Pots, Or Pots For Seedlings (AREA)

Description

本発明は、野芝の植生マットに関するものである。
従来、この種のものとして紙で形成したベース部上に、少なくとも発芽前の野芝の種子を重ね、その上に保水又は及び保湿部材を介在して有孔なプラスチックフィルムを重ね、全体を一体化してなり、前記プラスチックフィルムはポリエチレン製であって、種子が風雨で飛ばされたり地面の傾斜によって流出するようなことはなく、所望箇所に比較的容易に発芽させて植生させることができ、種子はプラスチックフィルムに覆われるので保護されて養生できると共に、外気温に直接影響を受けずに済むことができるものが知られている(例えば特許文献1)。
特開2007−56号公報
従来技術においては、種子とプラスチックフィルムの間に介在する保水又は及び保湿部材は紙によって形成されていたので、保水又は及び保湿部材性に限界があった。また、プラスチックフィルムが万一は存した場合には、種子が風雨で飛ばされてしまうというおそれがあった。
解決しようとする問題点は、紙で形成したベース部上に、少なくとも発芽前の野芝の種子を重ね、その上面にプラスチックフィルムを重ねて、全体を一体化してなる植生マットにおいて、保水又は及び保湿部材性を向上でき、さらにプラスチックフィルムが万一破損しても種子が風雨で飛ばされにくいようにする点である。
前記目的を達成するために、請求項1の発明は、紙からなるベース部上に、発芽前の野芝の種子と肥料と保水又は及び保湿剤とを混合した植生部層を重ね、その上にセルロースからなる不織布を介して有孔なプラスチックフィルムを重ねて、全体を糸で縫合して一体化してなること植生マットであって、前記植生部層と前記有孔プラスチックフィルムとの間に保水又は及び保湿部材として第2の紙を介在し、前記植生部層上に前記第2の紙を重ね、この第2の紙の上に前記不織布を重ね、前記プラスチックフィルムは、ポリエチレン製であり、前記セルロースからなる不織布は、実綿から綿花を取り去った種子の根元に生えている短い繊維であるコットンリンターを原料として長繊維状に吐出しながら成形するセルロース100%のスパンボンド法によるノーバインダーであり、孔を上下方向に貫通して形成しているネット形状に形成されていることを特徴とする植生マットる。
請求項1の発明によれば、セルロースからなる不織布によって保水又は及び保湿部材性を向上でき、さらに万一プラスチックフィルムが万一破損しても種子を保護できる。
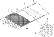
本発明の実施例1を示す一部を拡大した斜視図である。 同設置時の一部を拡大した断面図である。 同設置後の一部を拡大した断面図である。
本発明における好適な実施の形態について、添付図面を参照して説明する。尚、以下に説明する実施の形態は、特許請求の範囲に記載された本発明の内容を限定するものではない。また、以下に説明される構成の全てが、本発明の必須要件であるとは限らない。
図1〜図3は実施例1を示しており、植生マット1は紙製のベース部2と、このベース部2に載置する植生部層3と、この植生部層3に載置する有孔なプラスチックフィルム4を積層し、全体を糸5で縫合したもので、全体の大きさは幅0.9〜1×長さ1〜10m程度の大きさに形成したものである。そして、植生部層3とプラスチックフィルム4との間には保水又は及び保湿部材としての第2の紙2Aと、セルロースからなる不織布6が介在している。
前記紙製のベース部2は、例えば透ける程度の密度を備えた紙であり、このベース部2上の植生部層3には発芽前の野芝の種子7を、肥料8、さらには保水又は及び保湿剤9と共に混合し、この植生部層3をベース部2に積層している。前記プラスチックフィルム4はポリエチレン製であって、厚みが20〜40μm程度、好ましくは30μm±4.8μmであって、5〜30mm程度、好ましくは16〜20mm程度の間隔Lをおいて、幅(直径)Wが0.5〜2mm程度、好ましくは1〜1.3mmの孔10を上下方向に貫通して形成している。さらに、前記保水又は及び保湿部材としての第2の紙2Aは透ける程度の密度を備えている。そして、種子7は上下に重ならないで、均等に並べると少なくとも種子7の長さ(例えば5mm)以上の間隔を保つことができるように配置されている。
また、前記セルロースからなる不織布6は、実綿から綿花を取り去った種子の根元に生えている短い繊維であるコットンリンターを原料として長繊維状に吐出しながら成形するセルロース100%のスパンボンド法によるノーバインダーであり、孔6Aを上下方向に貫通して形成しているネット形状に形成されている。
次に製造方法について説明する。まず種子7を予め例えば硝酸液のような酸性液に浸漬して種子の表面にあるろう質の被膜を除去する。そして、所定の大きさに切断した紙製のベース部2の上に、被膜を除去した種子7、肥料8、保水又は及び保湿剤9の混合物をほぼ均一に積み重ねる。さらにこの混合物に第2の紙2Aを重ね、さらにこの第2の紙2A、さらには不織布6を重ねて、プラスチックフィルム4を重ねた後、これらベース部2、第2の紙、不織布6、そしてプラスチックフィルム4により種子7などを挟んだ状態で縫合して一体的となるようにする。このように一体化されたシート状の植生マット1は、幅Xが1m程度で長さYが10m程度となって巻き取られて保管される。
次に前記構成についてその作用を説明する。図2に示すように法面及び平面などの地面11に植生マット1を敷き、そして植生マット1の上方から杭12を打ち込んで風により飛ばされないように固定する。このように設置された植生マット1においては、例えば積算温度が300〜400℃になると発芽を行い、根はベース部2を介して地面11に根付き、一方芽は第2の紙2Aや不織布6を通ってプラスチックフィルム4の下面に至る。このような発芽の際に、孔10から第2の紙2Aや不織布6の僅かな隙間を通って種子に空気が矢印Aのように供給される。一方、水分は人工的な散水や自然雨によって供給される。この水分供給は孔10から第2の紙2Aや不織布6の僅かな隙間を通って矢印Aと同様に供給される。その水分は太陽熱によって蒸発したとしても、その一部は矢印Aと逆方向に第2の紙2Aや不織布6の僅かな隙間、孔10を通って大気に放出されるが、地表から奪われるほとんどの水分Mを第2の紙2Aに吸収されたりしてプラスチックフィルム4の内側に保存し、水不足対策をなす。このようにほとんどの水分Mは、プラスチックフィルム4の内側に溜まって大気に放出されない。この結果プラスチックフィルム4の下方、すなわち種子7の周囲においては適度な湿度、さらには温度が保たれて発芽後に寄与し、種子の育成を良好に行うことができる。
このように野芝が発芽して根付きした後には、図3に示すようにベース部2や第2の紙2Aは自然に溶けて地面11と一体化して自然に戻る。このような地面11側とプラスチックフィルム4との間に野芝の茎、葉が育成される。この際においても、日中太陽光で地表から奪われる水分をプラスチックフィルム4の内側に水滴として水分Mが保存され、水不足対策をなす。そして、例えば野芝の葉が例えば4〜6枚程度になった段階でプラスチックフィルム4を杭12と共に取り除いて芝をあらわしてさらに育成するものである。
以上のように前記実施例では、紙からなるベース部2上に、発芽前の野芝の種子7と肥料8と保水又は及び保湿剤9とを混合した植生部層3を重ね、その上にセルロースからなる不織布6を介して有孔なプラスチックフィルム4を重ねて、全体を糸5で縫合して一体化してなること植生マット1であって、植生部層3と有孔プラスチックフィルム4との間に保水又は及び保湿部材として第2の紙2Aを介在し、植生部層3上に第2の紙2Aを重ね、この第2の紙2Aの上に不織布6を重ね、プラスチックフィルム4は、ポリエチレン製であり、セルロースからなる不織布6は、実綿から綿花を取り去った種子の根元に生えている短い繊維であるコットンリンターを原料として長繊維状に吐出しながら成形するセルロース100%のスパンボンド法によるノーバインダーであり、孔6Aを上下方向に貫通して形成しているネット形状に形成されていることで次の効果を奏する。
セルロースからなる不織布6はバクテリアにより分解され、土に還元されるので自然に分解して残留物を残すことはない。
また、前記糊や樹脂を使用していない不織布6にあっては、自重の約15倍程度の吸水性、保水性を発揮でき、乾燥を防ぐことができる。
また、不織布6を利用することで昼間の強い太陽光線をやわらげ、一方夜間は保温の役目を果たすことができる。
また、不織布6にあっては比較的強度が弱く、このため野芝の茎や葉が伸びて不織布6と当たってしまっても茎や葉が不織布6を貫通することも可能であり、芝の生長を損なうことはない。
さらに、不織布6では伸縮性が比較的大きいので工事の際に伸ばしなら張設して施工するともできる。
以上のように本発明に係る野芝の植生マットは、各種学校のグランドの芝生化、芝生緑地、ゴルフ場、或いは個人宅の庭園などの種々の用途に適用できる。
1 植生マット
2 ベース部
2A 第2の紙
3 植生部層
4 プラスチックフィルム
6 不織布
6A 孔
7 種子
9 保水又は及び保湿剤

Claims (1)

  1. 紙からなるベース部上に、発芽前の野芝の種子と肥料と保水又は及び保湿剤とを混合した植生部層を重ね、その上にセルロースからなる不織布を介して有孔なプラスチックフィルムを重ねて、全体を糸で縫合して一体化してなること植生マットであって、
    前記植生部層と前記有孔プラスチックフィルムとの間に保水又は及び保湿部材として第2の紙を介在し、前記植生部層上に前記第2の紙を重ね、この第2の紙の上に前記不織布を重ね、
    前記プラスチックフィルムは、ポリエチレン製であり、
    前記セルロースからなる不織布は、実綿から綿花を取り去った種子の根元に生えている短い繊維であるコットンリンターを原料として長繊維状に吐出しながら成形するセルロース100%のスパンボンド法によるノーバインダーであり、孔を上下方向に貫通して形成しているネット形状に形成されていることを特徴とする植生マット。
JP2009028987A 2009-02-10 2009-02-10 植生マット Expired - Fee Related JP5077832B2 (ja)

Priority Applications (1)

Application Number Priority Date Filing Date Title
JP2009028987A JP5077832B2 (ja) 2009-02-10 2009-02-10 植生マット

Applications Claiming Priority (1)

Application Number Priority Date Filing Date Title
JP2009028987A JP5077832B2 (ja) 2009-02-10 2009-02-10 植生マット

Publications (2)

Publication Number Publication Date
JP2010183856A JP2010183856A (ja) 2010-08-26
JP5077832B2 true JP5077832B2 (ja) 2012-11-21

Family

ID=42764899

Family Applications (1)

Application Number Title Priority Date Filing Date
JP2009028987A Expired - Fee Related JP5077832B2 (ja) 2009-02-10 2009-02-10 植生マット

Country Status (1)

Country Link
JP (1) JP5077832B2 (ja)

Cited By (1)

* Cited by examiner, † Cited by third party
Publication number Priority date Publication date Assignee Title
CN104838917A (zh) * 2015-06-10 2015-08-19 黑龙江笃信农业高科有限公司 一次性营养育秧肥盘

Family Cites Families (5)

* Cited by examiner, † Cited by third party
Publication number Priority date Publication date Assignee Title
JP2002125451A (ja) * 2000-10-24 2002-05-08 Dokoo:Kk 植生マットを用いた緑化工法
JP2002272256A (ja) * 2001-03-16 2002-09-24 Dokoo:Kk 傾斜基盤上に植生マットを用いた緑化システムおよびその製造方法
JP2003199427A (ja) * 2002-01-09 2003-07-15 Tadashi Inoue 無機系抗菌剤を含有した植生マットあるいは植生ユニット
JP2004225408A (ja) * 2003-01-23 2004-08-12 Suzuran Dyeing & Finishing Co Ltd 緑化方法及びそれに用いる植生マット
JP2007000056A (ja) * 2005-06-22 2007-01-11 Yokoki Zoen Kk 野芝の植生マット及びその製造方法

Cited By (1)

* Cited by examiner, † Cited by third party
Publication number Priority date Publication date Assignee Title
CN104838917A (zh) * 2015-06-10 2015-08-19 黑龙江笃信农业高科有限公司 一次性营养育秧肥盘

Also Published As

Publication number Publication date
JP2010183856A (ja) 2010-08-26

Similar Documents

Publication Publication Date Title
US7650715B2 (en) Plant sheet and manufacturing method for plant sheet
CN205040304U (zh) 一种骨架加筋可调控植物纤维毯
KR101263091B1 (ko) 식생매트
US20210400865A1 (en) A seedmat for growing plants
CN102753009B (zh) 用于绿化人工或自然表面的具有较低和/或较高的植物的植被元件以及用于制造该植被元件的方法
CN107135802A (zh) 一种混凝土坡面绿化方法以及混凝土坡面绿化种植毯
KR20200042230A (ko) 비탈면 녹화 구조
JP6750343B2 (ja) 緑化用マット
JP6750332B2 (ja) 緑化用マットの製造方法
KR100896037B1 (ko) 식생 매트 및 그 제조 방법
DE102020114294A1 (de) Saatpaket
JP5310649B2 (ja) 植生マットの製造方法
JP5077832B2 (ja) 植生マット
JP6205547B2 (ja) 草コモ緑化シート、及び施工方法
KR200469648Y1 (ko) 사면 녹화용 네트
JP2006304609A (ja) 蘚苔類植物担持体
KR102503940B1 (ko) 부직포 화분
JP2018064474A (ja) 遮水シートを用いた人工池の水難事故防止緑化
JP4546865B2 (ja) 周辺植生導入型エロージョン防止材および周辺植生導入型エロージョン防止工法
JPH08308390A (ja) 植生マットによる緑化方法及び植生マット
CN207040411U (zh) 一种混凝土坡面绿化种植毯
JP2007000056A (ja) 野芝の植生マット及びその製造方法
US12359390B1 (en) Eco-friendly netting and soil erosion control method using the same
AU2012203383A1 (en) A horticultural mat
KR101352043B1 (ko) 식생매트 및 그 제조방법

Legal Events

Date Code Title Description
A621 Written request for application examination

Free format text: JAPANESE INTERMEDIATE CODE: A621

Effective date: 20100908

A977 Report on retrieval

Free format text: JAPANESE INTERMEDIATE CODE: A971007

Effective date: 20120215

A131 Notification of reasons for refusal

Free format text: JAPANESE INTERMEDIATE CODE: A131

Effective date: 20120312

A521 Written amendment

Free format text: JAPANESE INTERMEDIATE CODE: A523

Effective date: 20120509

TRDD Decision of grant or rejection written
A01 Written decision to grant a patent or to grant a registration (utility model)

Free format text: JAPANESE INTERMEDIATE CODE: A01

Effective date: 20120806

A01 Written decision to grant a patent or to grant a registration (utility model)

Free format text: JAPANESE INTERMEDIATE CODE: A01

FPAY Renewal fee payment (event date is renewal date of database)

Free format text: PAYMENT UNTIL: 20150907

Year of fee payment: 3

R150 Certificate of patent or registration of utility model

Free format text: JAPANESE INTERMEDIATE CODE: R150

A61 First payment of annual fees (during grant procedure)

Free format text: JAPANESE INTERMEDIATE CODE: A61

Effective date: 20120819

R250 Receipt of annual fees

Free format text: JAPANESE INTERMEDIATE CODE: R250

R250 Receipt of annual fees

Free format text: JAPANESE INTERMEDIATE CODE: R250

R250 Receipt of annual fees

Free format text: JAPANESE INTERMEDIATE CODE: R250

LAPS Cancellation because of no payment of annual fees