JP5073743B2 - 微粉炭注入ランス - Google Patents

微粉炭注入ランス Download PDF

Info

Publication number
JP5073743B2
JP5073743B2 JP2009518854A JP2009518854A JP5073743B2 JP 5073743 B2 JP5073743 B2 JP 5073743B2 JP 2009518854 A JP2009518854 A JP 2009518854A JP 2009518854 A JP2009518854 A JP 2009518854A JP 5073743 B2 JP5073743 B2 JP 5073743B2
Authority
JP
Japan
Prior art keywords
pulverized coal
lance
injection lance
coal injection
inner pipe
Prior art date
Legal status (The legal status is an assumption and is not a legal conclusion. Google has not performed a legal analysis and makes no representation as to the accuracy of the status listed.)
Active
Application number
JP2009518854A
Other languages
English (en)
Other versions
JP2009542913A (ja
Inventor
クレマー,イヴァン
ジョデール、ポール
スタマタキ、ジョルジュ
Current Assignee (The listed assignees may be inaccurate. Google has not performed a legal analysis and makes no representation or warranty as to the accuracy of the list.)
Paul Wurth SA
Original Assignee
Paul Wurth SA
Priority date (The priority date is an assumption and is not a legal conclusion. Google has not performed a legal analysis and makes no representation as to the accuracy of the date listed.)
Filing date
Publication date
Application filed by Paul Wurth SA filed Critical Paul Wurth SA
Publication of JP2009542913A publication Critical patent/JP2009542913A/ja
Application granted granted Critical
Publication of JP5073743B2 publication Critical patent/JP5073743B2/ja
Active legal-status Critical Current
Anticipated expiration legal-status Critical

Links

Images

Classifications

    • CCHEMISTRY; METALLURGY
    • C21METALLURGY OF IRON
    • C21BMANUFACTURE OF IRON OR STEEL
    • C21B7/00Blast furnaces
    • C21B7/16Tuyéres
    • CCHEMISTRY; METALLURGY
    • C21METALLURGY OF IRON
    • C21BMANUFACTURE OF IRON OR STEEL
    • C21B5/00Making pig-iron in the blast furnace
    • C21B5/001Injecting additional fuel or reducing agents
    • C21B5/003Injection of pulverulent coal
    • CCHEMISTRY; METALLURGY
    • C21METALLURGY OF IRON
    • C21BMANUFACTURE OF IRON OR STEEL
    • C21B5/00Making pig-iron in the blast furnace
    • CCHEMISTRY; METALLURGY
    • C21METALLURGY OF IRON
    • C21BMANUFACTURE OF IRON OR STEEL
    • C21B7/00Blast furnaces
    • C21B7/16Tuyéres
    • C21B7/163Blowpipe assembly
    • FMECHANICAL ENGINEERING; LIGHTING; HEATING; WEAPONS; BLASTING
    • F23COMBUSTION APPARATUS; COMBUSTION PROCESSES
    • F23DBURNERS
    • F23D1/00Burners for combustion of pulverulent fuel
    • FMECHANICAL ENGINEERING; LIGHTING; HEATING; WEAPONS; BLASTING
    • F23COMBUSTION APPARATUS; COMBUSTION PROCESSES
    • F23LSUPPLYING AIR OR NON-COMBUSTIBLE LIQUIDS OR GASES TO COMBUSTION APPARATUS IN GENERAL ; VALVES OR DAMPERS SPECIALLY ADAPTED FOR CONTROLLING AIR SUPPLY OR DRAUGHT IN COMBUSTION APPARATUS; INDUCING DRAUGHT IN COMBUSTION APPARATUS; TOPS FOR CHIMNEYS OR VENTILATING SHAFTS; TERMINALS FOR FLUES
    • F23L7/00Supplying non-combustible liquids or gases, other than air, to the fire, e.g. oxygen, steam
    • F23L7/007Supplying oxygen or oxygen-enriched air
    • FMECHANICAL ENGINEERING; LIGHTING; HEATING; WEAPONS; BLASTING
    • F27FURNACES; KILNS; OVENS; RETORTS
    • F27DDETAILS OR ACCESSORIES OF FURNACES, KILNS, OVENS OR RETORTS, IN SO FAR AS THEY ARE OF KINDS OCCURRING IN MORE THAN ONE KIND OF FURNACE
    • F27D1/00Casings; Linings; Walls; Roofs
    • F27D1/18Door frames; Doors, lids or removable covers
    • CCHEMISTRY; METALLURGY
    • C21METALLURGY OF IRON
    • C21CPROCESSING OF PIG-IRON, e.g. REFINING, MANUFACTURE OF WROUGHT-IRON OR STEEL; TREATMENT IN MOLTEN STATE OF FERROUS ALLOYS
    • C21C5/00Manufacture of carbon-steel, e.g. plain mild steel, medium carbon steel or cast steel or stainless steel
    • C21C5/52Manufacture of steel in electric furnaces
    • C21C5/5211Manufacture of steel in electric furnaces in an alternating current [AC] electric arc furnace
    • C21C5/5217Manufacture of steel in electric furnaces in an alternating current [AC] electric arc furnace equipped with burners or devices for injecting gas, i.e. oxygen, or pulverulent materials into the furnace
    • YGENERAL TAGGING OF NEW TECHNOLOGICAL DEVELOPMENTS; GENERAL TAGGING OF CROSS-SECTIONAL TECHNOLOGIES SPANNING OVER SEVERAL SECTIONS OF THE IPC; TECHNICAL SUBJECTS COVERED BY FORMER USPC CROSS-REFERENCE ART COLLECTIONS [XRACs] AND DIGESTS
    • Y02TECHNOLOGIES OR APPLICATIONS FOR MITIGATION OR ADAPTATION AGAINST CLIMATE CHANGE
    • Y02EREDUCTION OF GREENHOUSE GAS [GHG] EMISSIONS, RELATED TO ENERGY GENERATION, TRANSMISSION OR DISTRIBUTION
    • Y02E20/00Combustion technologies with mitigation potential
    • Y02E20/32Direct CO2 mitigation
    • YGENERAL TAGGING OF NEW TECHNOLOGICAL DEVELOPMENTS; GENERAL TAGGING OF CROSS-SECTIONAL TECHNOLOGIES SPANNING OVER SEVERAL SECTIONS OF THE IPC; TECHNICAL SUBJECTS COVERED BY FORMER USPC CROSS-REFERENCE ART COLLECTIONS [XRACs] AND DIGESTS
    • Y02TECHNOLOGIES OR APPLICATIONS FOR MITIGATION OR ADAPTATION AGAINST CLIMATE CHANGE
    • Y02EREDUCTION OF GREENHOUSE GAS [GHG] EMISSIONS, RELATED TO ENERGY GENERATION, TRANSMISSION OR DISTRIBUTION
    • Y02E20/00Combustion technologies with mitigation potential
    • Y02E20/34Indirect CO2mitigation, i.e. by acting on non CO2directly related matters of the process, e.g. pre-heating or heat recovery
    • YGENERAL TAGGING OF NEW TECHNOLOGICAL DEVELOPMENTS; GENERAL TAGGING OF CROSS-SECTIONAL TECHNOLOGIES SPANNING OVER SEVERAL SECTIONS OF THE IPC; TECHNICAL SUBJECTS COVERED BY FORMER USPC CROSS-REFERENCE ART COLLECTIONS [XRACs] AND DIGESTS
    • Y02TECHNOLOGIES OR APPLICATIONS FOR MITIGATION OR ADAPTATION AGAINST CLIMATE CHANGE
    • Y02PCLIMATE CHANGE MITIGATION TECHNOLOGIES IN THE PRODUCTION OR PROCESSING OF GOODS
    • Y02P10/00Technologies related to metal processing
    • Y02P10/20Recycling
    • YGENERAL TAGGING OF NEW TECHNOLOGICAL DEVELOPMENTS; GENERAL TAGGING OF CROSS-SECTIONAL TECHNOLOGIES SPANNING OVER SEVERAL SECTIONS OF THE IPC; TECHNICAL SUBJECTS COVERED BY FORMER USPC CROSS-REFERENCE ART COLLECTIONS [XRACs] AND DIGESTS
    • Y02TECHNOLOGIES OR APPLICATIONS FOR MITIGATION OR ADAPTATION AGAINST CLIMATE CHANGE
    • Y02PCLIMATE CHANGE MITIGATION TECHNOLOGIES IN THE PRODUCTION OR PROCESSING OF GOODS
    • Y02P10/00Technologies related to metal processing
    • Y02P10/32Technologies related to metal processing using renewable energy sources

Landscapes

  • Engineering & Computer Science (AREA)
  • Chemical & Material Sciences (AREA)
  • General Engineering & Computer Science (AREA)
  • Materials Engineering (AREA)
  • Metallurgy (AREA)
  • Organic Chemistry (AREA)
  • Mechanical Engineering (AREA)
  • Manufacturing & Machinery (AREA)
  • Combustion & Propulsion (AREA)
  • Blast Furnaces (AREA)
  • Furnace Charging Or Discharging (AREA)
  • Manufacture Of Iron (AREA)
  • Nozzles (AREA)
  • Treatment Of Steel In Its Molten State (AREA)
  • Carbon And Carbon Compounds (AREA)
  • Injection Moulding Of Plastics Or The Like (AREA)
  • Solid Fuels And Fuel-Associated Substances (AREA)

Description

本発明は微粉炭注入ランス、より詳細には溶鉱炉の羽口中へ微粉炭を送り込むための注入ランスに関する。
微粉炭注入ランスは一般的にはコークスの代用である微粉炭を溶鉱炉へ注入するために用いられる。微粉炭はランスを通して圧搾空気を用いて搬送され、ランス先端において燃焼される。微粉炭の燃焼はランス先端への酸素の供給によって促進される。
所謂オキシコール技術では、微粉炭を搬送するための内側パイプと該内側パイプを取り囲む酸素搬入用の外側パイプを有する注入ランスが用いられる。ランス先端において微粉炭と酸素が接触して微粉炭の燃焼が促進される。
EP1060272には、微粉炭の燃焼を促進させ、ランス先端へ送り込まれる酸素に渦流を与えるために共軸パイプ間へ渦流発生器を配置することによって炎を持続させることが可能なことが記載されている。しかしながら、渦流の効果はランスの構造に極めて依存する。螺旋角が深過ぎると酸素は微粉炭から離れて燃焼効率が低下する。他方螺旋角が浅過ぎると燃焼効率の向上は僅かとなる。
EP1060272においては、流体流抵抗を減じ、かつランス先端における微粉炭の酸素との混合を良くするために、ランス先端付近の内側パイプ外面壁へ窪みを複数設けることも提案されている。
上記システムは、一定条件における燃焼効率の改善に適しているが、このような効果は保証されておらず、炎が持続されない危険も含んでいる。結果、炎を得るために再度点火しなければならない可能性がある。さらに、渦流を与えるか、あるいは多数の窪みを設けることによるランスの改良にはかなりのコストを要する。
EP0447908には燃焼性ガスを搬送するための外側パイプと微粉炭を搬送するための内側パイプから成る微粉炭注入ランスが開示されている。この内側パイプによって、微粉炭を燃焼性ガスから分離する分離壁が形成されている。EP0447908に従って、内側パイプは外側パイプよりも短く形成されるため、微粉炭注入ランス内部の前端付近に混合領域が形成される。これはランス内部に混合領域を得るためには特に簡単で安価な方法である。このようにランス内部に混合領域を形成することにより、炎の燃焼を改善させることが可能である。微粉炭と燃焼性ガスはこの混合領域において全く自由に混合可能である。
本発明は改善された微粉炭注入ランスを提供することを目的とする。この目的は請求項1項記載の微粉炭注入ランスによって達成される。
この目的を達成するため、本発明によって、ランス後端部からランス前端部へ微粉炭を送り込むための微粉炭注入ランスが提供される。このランスは燃焼性ガスを搬入するための外側パイプと、該外側パイプ内に共軸配置された微粉炭を搬送するための内側パイプから構成され、この内側パイプによって微粉炭を燃焼性ガスから分離する分離壁が形成される。この分離壁はランスの前端近くの部分において少なくとも部分的に中断され、そこで微粉炭注入ランス内に混合領域が形成されている。本発明の重要な観点によれば、前記外側パイプと内側パイプの長さはほぼ同一に形成され、内側パイプには少なくとも1個の側方開口部がランス前端付近に設けられ、これによって微粉炭と燃焼性ガスが微粉炭注入ランス内の前端部において接触できるようになっている。
ランス先端を通過した後に微粉炭が燃焼性ガスと混じり合う先行技術におけるランスとは対照的に、ランス内の分離壁が中断されていることによって、微粉炭と燃焼性ガスの混合をランス内で開始させることが可能とされている。これによって炎の点火が容易とされ、また炎の安定性及び燃焼効率が向上する。実際、ランス内で混合が行われると、その前端付近での炎の燃焼が持続され、ランス外側における流体流等の外的影響によって消えにくくなる。ランス内で微粉炭と燃焼性ガスを混合することにより、炎の点火も容易化され、炎の自己発火性も良好となる。
実質的に同一の長さをもつ外側パイプと内側パイプを備え、かつ内側パイプには少なくとも1個の側部開口部がランスの前端近くに設けられる配置とすることにより、ランス内における微粉炭と燃焼性ガスの混合調節能を向上させることが可能となる。微粉炭と燃焼性ガスの部分的混合を行うことにより温度調節を向上させることができるため、ランス鼻部における焼けを防止することが可能となる。更には、内側パイプは、混合領域及びその上流側において実質的に一定の径を有する。
前記側方開口部は複数のスリットから構成可能である。連続状の4つの縦形スリットを例えば内側パイプの前端周囲へ等間隔を空けて配置可能である。これらのスリットは内側パイプの前端へ延びていても良い。これらスリットの幅は0.5〜10mmとすることが可能である。これらスリットの数及びサイズは所望されるランス内混合程度に適合するように選定される。
前記に代えて、側方開口部を複数のボアホールによって構成することも可能である。このようなボアホールは例えば直径が1〜10mmとされ、また好ましくはジグザグ状に配置される。ボアホールの数、サイズ及びレイアウトは、所望されるランス内部における混合程度に従って適合化される。
前記外側パイプ及び/または内側パイプの形状は好ましくは円筒形とされる。
前記混合領域の長さは5〜100mmの範囲内とすることが可能である。この混合領域の長さは内側チューブの直径にほぼ一致する長さとしてもよい。
本発明の微粉炭注入ランスにおいて用いる燃焼性ガスは好ましくは酸素である。
発明を実施するための手段
以下において添付図面を参照しながらいくつかの非限定的実施態様について説明し、もって本発明についてさらに明らかにする。添付図面においては、同一あるいは類似の要素に対して同一符号が用いられていることに注意されたい。
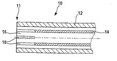
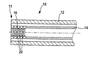
図1、2及び3は、それぞれランス10の後端部(図示せず)から前端部11へ微粉炭を送り込むための微粉炭注入ランス10の前部を示した図である。かかるランスは燃焼性ガスを搬送するための外側パイプ12と微粉炭を搬送するための内側パイプ14から構成される。内側パイプ14は外側パイプ12内部に共軸配置され、またこの内側パイプ14によって微粉炭を燃焼性ガスから分離するための分離壁が形成される。本発明によれば、前記分離壁はランス10の前記前端部11付近の領域において少なくとも部分的に中断されており、それによってランス10内部に混合領域16が形成されている。
前記分離壁の中断によって混合領域16が形成されることにより、ランス10内での微粉炭と燃焼性ガスの混合が可能となり、これによって炎の安定性を高め、かつ炎の点火が容易となることが見出されている。このような炎は、燃え続けている限り、少なくともランス10の混合領域16においてはランス外部の条件によって大きな影響を受けない。
図1に示すような従来技術による微粉炭注入ランスにおいては本発明と異なり、内側パイプ14は外側パイプ12よりも短いため、混合領域16において分離壁は完全に中断されている。従って、この混合領域16において微粉炭と燃焼性ガスは自由に混合可能である。
図2に示された本発明の第一の実施態様によれば、内側パイプ14と外側パイプ12の長さはほぼ同一とされ、分離壁は内側パイプ14中に配置された4つの連続状スリット18によって中断される。スリット18が存在することにより、混合領域16内における微粉炭と燃焼性ガスの混合が可能となる。図示した実施態様でのスリット18は互いに、また内側パイプ12に対して平行であり、またこれらスリットは混合領域16の全長に亘って延びている。しかしながら、これらスリット18を内側パイプ12の軸に対して一定角度で配置し、あるいは混合領域16の一部の長さだけに亘ってスリットを延ばすことも可能なことに注意すべきである。実際、混合領域16における混合程度をスリット18の本数、方位、あるいはサイズを適切に選定して変更することが可能である。
図3に示す本発明の第二の実施態様によれば、内側パイプ14と外側パイプ12の長さはほぼ同一とされ、分離壁は内側パイプ14中に配置された複数のボアホール20によって中断される。ボアホール20の存在により、混合領域16内における微粉炭と燃焼性ガスの混合が可能とされる。図示された実施態様中のボアホール20はジグザグ状に配置され、及び混合領域16の全長に亘って延びている。しかしながら、これらボアホール20を別のレイアウトで配置可能なこと、あるいは混合領域16の一部の長さだけに亘ってスリットを延ばすことも可能なことに注意すべきである。実際、混合領域16における混合程度をボアホール20の個数、方位、あるいはサイズを適切に選定して変更することが可能である。
従来技術に従った微粉炭注入ランスの前部断面図である。 本発明の第一の実施態様に従った従来型微粉炭注入ランスの前部断面図である。 本発明の第二の実施態様に従った微粉炭注入ランスの前部断面図である。

Claims (10)

  1. 燃焼性ガスを搬送するための円筒状外側パイプ(12)、及び
    前記外側パイプ(12)内に共軸配置されて微粉炭を搬送するために用いられる円筒状内側パイプ(14)であって、この円筒状内側パイプによって前記微粉炭を前記燃焼性ガスから分離する分離壁が形成される該内側パイプから構成される、溶鉱炉の羽口へ微粉炭を送り込むための微粉炭注入ランス(10)であって、
    前記分離壁は前記ランス(10)の前端部(11)付近の領域において少なくとも部分的に中断されて、前記微粉炭注入ランス(10)内部に混合領域(16)が形成されており、それによって微粉炭と燃焼ガスが前記前端部(11)付近の微粉炭注入ランス(10)内で接触することが可能であり、
    前記外側パイプ(12)と前記内側パイプ(14)の長さはほぼ同一とされ、前記内側パイプ(14)に前記微粉炭注入ランス(10)内の前記前端部(11)付近において微粉炭と燃焼性ガスが接触することを可能とする少なくとも1個の側方開口部(18、20)が設けられることを特徴とする前記微粉炭注入ランス(10)。
  2. 前記少なくとも1個の側方開口部(18、20)が複数のスリット(18)から成ることを特徴とする請求項1項記載の微粉炭注入ランス(10)。
  3. 内側パイプ(14)に前端部(11)が設けられ、及び前記スリット(18)が前記内側パイプ(14)の前記前端部(22)まで延びていることを特徴とする請求項2項記載の微粉炭注入ランス(10)。
  4. 前記スリット(18)の幅が0.5〜10mmの範囲内であることを特徴とする請求項2項または3項記載の微粉炭注入ランス(10)。
  5. 前記少なくとも1個の側方開口部(18、20)が複数のボアホール(20)から成ることを特徴とする請求項1項記載の微粉炭注入ランス(10)。
  6. 前記ボアホール(20)の直径が1〜10mmの範囲内であることを特徴とする請求項5項記載の微粉炭注入ランス(10)。
  7. 前記ボアホール(20)がジグザグ状に配置されることを特徴とする請求項5項または6項記載の微粉炭注入ランス(10)。
  8. 前記混合領域(16)の長さが5〜100mmの範囲内であることを特徴とする請求項1〜7のいずれかに記載の微粉炭注入ランス(10)。
  9. 前記混合領域(16)の長さが前記内側パイプ(14)の直径にほぼ相当することを特徴とする請求項1〜8のいずれかに記載の微粉炭注入ランス(10)。
  10. 前記燃焼性ガスが酸素であることを特徴とする請求項1〜9のいずれかに記載の微粉炭注入ランス(10)。
JP2009518854A 2006-07-12 2007-07-05 微粉炭注入ランス Active JP5073743B2 (ja)

Applications Claiming Priority (3)

Application Number Priority Date Filing Date Title
LU91264 2006-07-12
LU91264A LU91264B1 (en) 2006-07-12 2006-07-12 Pulverized coal injection lance
PCT/EP2007/056795 WO2008006764A1 (en) 2006-07-12 2007-07-05 Pulverized coal injection lance

Publications (2)

Publication Number Publication Date
JP2009542913A JP2009542913A (ja) 2009-12-03
JP5073743B2 true JP5073743B2 (ja) 2012-11-14

Family

ID=37714472

Family Applications (1)

Application Number Title Priority Date Filing Date
JP2009518854A Active JP5073743B2 (ja) 2006-07-12 2007-07-05 微粉炭注入ランス

Country Status (17)

Country Link
US (1) US8080200B2 (ja)
EP (1) EP2038433B1 (ja)
JP (1) JP5073743B2 (ja)
KR (1) KR101374562B1 (ja)
CN (1) CN101490282B (ja)
AT (1) ATE449196T1 (ja)
AU (1) AU2007274343B2 (ja)
BR (1) BRPI0714130B1 (ja)
CA (1) CA2655298C (ja)
DE (2) DE212007000007U1 (ja)
EA (1) EA014345B1 (ja)
ES (1) ES2334724T3 (ja)
LU (1) LU91264B1 (ja)
PL (1) PL2038433T3 (ja)
TW (1) TWI426132B (ja)
UA (1) UA92539C2 (ja)
WO (1) WO2008006764A1 (ja)

Families Citing this family (14)

* Cited by examiner, † Cited by third party
Publication number Priority date Publication date Assignee Title
CN102230166A (zh) * 2011-07-06 2011-11-02 刘军林 一种mocvd设备的双层进气喷头装置
US8919670B2 (en) * 2011-12-09 2014-12-30 United States Steel Corporation Injection lance with variable swirl
EP2796566B2 (en) 2011-12-21 2025-07-23 JFE Steel Corporation Blast furnace operation method
CN102758035B (zh) * 2012-07-04 2014-03-05 山东轻工业学院 一种废旧塑料热解气预混煤粉喷吹用喷枪及喷吹方法
CN103575092A (zh) * 2012-08-08 2014-02-12 代忠 一种钛铁分离电弧炉炉盖
CN103712227B (zh) * 2013-12-13 2016-08-17 山西蓝天环保设备有限公司 高浓度煤粉混合注入装置及提高燃烧效率的方法
US10226778B2 (en) * 2014-06-30 2019-03-12 Carbonxt, Inc. Systems, lances, nozzles, and methods for powder injection resulting in reduced agglomeration
DE102014216336A1 (de) 2014-08-18 2016-02-18 Küttner Holding GmbH & Co. KG Verfahren zum Einblasen von Ersatzreduktionsmitteln in einen Hochofen
FI127166B (fi) * 2015-09-15 2017-12-29 Outotec Finland Oy Menetelmä ja järjestely uuniprosessin ominaisuuksien säätämiseksi ja injektointiyksikkö
FI127179B (fi) * 2015-09-15 2017-12-29 Outotec Finland Oy Menetelmä ja järjestely uuniprosessin ominaisuuksien seuraamiseksi ja prosessiseurantayksikkö
US10870899B2 (en) * 2016-11-03 2020-12-22 Berry Metal Company Fluid assisted particle injector
DE102018113774A1 (de) * 2018-06-08 2019-12-12 Aktien-Gesellschaft der Dillinger Hüttenwerke Vorrichtung und Verfahren zum Einbringen eines Ersatzreduktionsmittels in einen Hochofen
EP3586949A1 (fr) * 2018-06-26 2020-01-01 L'air Liquide, Societe Anonyme Pour L'etude Et L'exploitation Des Procedes Georges Claude Enrichissement en oxygène et combustion d'un combustible en forme de particules solides entraînées par un gaz porteur
LU507599B1 (en) 2024-06-27 2025-12-29 Wurth Paul Sa Injection lance for pulverized coal and other granular material

Family Cites Families (13)

* Cited by examiner, † Cited by third party
Publication number Priority date Publication date Assignee Title
US2560074A (en) * 1948-12-21 1951-07-10 Lummus Co Method and apparatus for burning fuel
US3758090A (en) * 1971-03-26 1973-09-11 Nippon Kokan Kk Combustion apparatus for blast furnaces
JP2761885B2 (ja) * 1988-04-21 1998-06-04 日本鋼管株式会社 微粉炭バーナ
DE4008963C1 (ja) * 1990-03-20 1991-11-14 Hoesch Stahl Ag, 4600 Dortmund, De
SE500956C2 (sv) * 1991-01-17 1994-10-10 Ssab Tunnplaat Ab Blästerställning med kolinjektionslans
JPH059522A (ja) * 1991-06-28 1993-01-19 Kawasaki Steel Corp 高炉用微粉炭の吹込ランス
LU88065A1 (fr) * 1992-02-05 1993-08-17 Paul Wurth S.A. Bruleur pour un four a cuve
JPH06100912A (ja) * 1992-09-22 1994-04-12 Kawasaki Steel Corp 高炉用粉体燃料吹込みランス
JPH08157916A (ja) * 1994-12-01 1996-06-18 Nkk Corp 高炉への微粉炭吹き込み方法および微粉炭吹き込み用ラ ンス
JPH08260010A (ja) * 1995-03-24 1996-10-08 Nippon Steel Corp 高炉における微粉炭多量吹込み操業方法
DE69913664T2 (de) 1998-08-13 2004-09-30 Pohang Iron & Steel Co. Ltd., Pohang City Kohlenstaubeinspritzvorrichtung
JP4341131B2 (ja) 2000-01-19 2009-10-07 Jfeスチール株式会社 微粉炭吹込みバーナー
CN2694116Y (zh) * 2004-02-13 2005-04-20 攀枝花钢铁有限责任公司钢铁研究院 焦炉煤气氧枪加热喷头

Also Published As

Publication number Publication date
PL2038433T3 (pl) 2010-05-31
CA2655298C (en) 2014-02-04
AU2007274343B2 (en) 2010-08-05
KR101374562B1 (ko) 2014-03-13
ES2334724T3 (es) 2010-03-15
DE212007000007U1 (de) 2008-09-04
WO2008006764A1 (en) 2008-01-17
EA200900092A1 (ru) 2009-06-30
AU2007274343A1 (en) 2008-01-17
CA2655298A1 (en) 2008-01-17
BRPI0714130B1 (pt) 2015-07-28
EP2038433B1 (en) 2009-11-18
EA014345B1 (ru) 2010-10-29
BRPI0714130A2 (pt) 2012-12-25
EP2038433A1 (en) 2009-03-25
KR20090029755A (ko) 2009-03-23
TW200808978A (en) 2008-02-16
US8080200B2 (en) 2011-12-20
DE602007003363D1 (de) 2009-12-31
JP2009542913A (ja) 2009-12-03
UA92539C2 (ru) 2010-11-10
TWI426132B (zh) 2014-02-11
LU91264B1 (en) 2008-01-14
US20100001443A1 (en) 2010-01-07
CN101490282A (zh) 2009-07-22
CN101490282B (zh) 2012-12-12
ATE449196T1 (de) 2009-12-15

Similar Documents

Publication Publication Date Title
JP5073743B2 (ja) 微粉炭注入ランス
JP6011073B2 (ja) バーナ
CN108603659A (zh) 低nox燃烧器装置和方法
JP5939020B2 (ja) セメント製造用ロータリーキルン
EP2218965A1 (en) Low NOx burner
EP4150256B1 (en) Plug-resistant burner tip and method
JP3877440B2 (ja) 加熱炉用バーナ設備
JP5565039B2 (ja) セメント製造用ロータリーキルンを用いた焼成方法
JP6260555B2 (ja) 還元材吹き込み装置
KR20120082647A (ko) 저녹스형 버너
KR20110076634A (ko) 저열량 가스 연료의 공기연소버너
WO2016139913A1 (ja) 高炉操業方法
JP4772881B2 (ja) バーナ装置および二段燃焼式バーナ装置
JP2013250025A (ja) 直進炎型ガスバーナ
KR100983390B1 (ko) 저열량가스 연료의 순산소 연소버너
KR20030005779A (ko) 고로내 미분의 고체연료 취입장치
EP4348113B1 (en) Burner, apparatus and method for the firing of ceramic articles
JP2008249280A (ja) ガスバーナ
CN105754623B (zh) 一种烟气回收利用低NOx生物质炭化炉
JP6245192B2 (ja) 高炉及び高炉操業方法
JP2014047390A (ja) 高炉用微粉炭吹き込み装置および高炉内への微粉炭吹き込み方法

Legal Events

Date Code Title Description
A621 Written request for application examination

Free format text: JAPANESE INTERMEDIATE CODE: A621

Effective date: 20100107

A521 Request for written amendment filed

Free format text: JAPANESE INTERMEDIATE CODE: A523

Effective date: 20100119

RD04 Notification of resignation of power of attorney

Free format text: JAPANESE INTERMEDIATE CODE: A7424

Effective date: 20100218

A131 Notification of reasons for refusal

Free format text: JAPANESE INTERMEDIATE CODE: A131

Effective date: 20120627

A521 Request for written amendment filed

Free format text: JAPANESE INTERMEDIATE CODE: A523

Effective date: 20120713

TRDD Decision of grant or rejection written
A01 Written decision to grant a patent or to grant a registration (utility model)

Free format text: JAPANESE INTERMEDIATE CODE: A01

Effective date: 20120808

A01 Written decision to grant a patent or to grant a registration (utility model)

Free format text: JAPANESE INTERMEDIATE CODE: A01

A61 First payment of annual fees (during grant procedure)

Free format text: JAPANESE INTERMEDIATE CODE: A61

Effective date: 20120822

R150 Certificate of patent or registration of utility model

Ref document number: 5073743

Country of ref document: JP

Free format text: JAPANESE INTERMEDIATE CODE: R150

Free format text: JAPANESE INTERMEDIATE CODE: R150

FPAY Renewal fee payment (event date is renewal date of database)

Free format text: PAYMENT UNTIL: 20150831

Year of fee payment: 3

R250 Receipt of annual fees

Free format text: JAPANESE INTERMEDIATE CODE: R250

R250 Receipt of annual fees

Free format text: JAPANESE INTERMEDIATE CODE: R250

R250 Receipt of annual fees

Free format text: JAPANESE INTERMEDIATE CODE: R250

R250 Receipt of annual fees

Free format text: JAPANESE INTERMEDIATE CODE: R250

R250 Receipt of annual fees

Free format text: JAPANESE INTERMEDIATE CODE: R250

R250 Receipt of annual fees

Free format text: JAPANESE INTERMEDIATE CODE: R250

R250 Receipt of annual fees

Free format text: JAPANESE INTERMEDIATE CODE: R250

R250 Receipt of annual fees

Free format text: JAPANESE INTERMEDIATE CODE: R250

R250 Receipt of annual fees

Free format text: JAPANESE INTERMEDIATE CODE: R250

R250 Receipt of annual fees

Free format text: JAPANESE INTERMEDIATE CODE: R250

R250 Receipt of annual fees

Free format text: JAPANESE INTERMEDIATE CODE: R250