JP5034026B2 - 光ファイバジャイロ - Google Patents

光ファイバジャイロ Download PDF

Info

Publication number
JP5034026B2
JP5034026B2 JP2007209339A JP2007209339A JP5034026B2 JP 5034026 B2 JP5034026 B2 JP 5034026B2 JP 2007209339 A JP2007209339 A JP 2007209339A JP 2007209339 A JP2007209339 A JP 2007209339A JP 5034026 B2 JP5034026 B2 JP 5034026B2
Authority
JP
Japan
Prior art keywords
laser beam
phase
optical fiber
optical
coupler
Prior art date
Legal status (The legal status is an assumption and is not a legal conclusion. Google has not performed a legal analysis and makes no representation as to the accuracy of the status listed.)
Expired - Fee Related
Application number
JP2007209339A
Other languages
English (en)
Other versions
JP2009042153A (ja
Inventor
惠三 稲垣
貴之 山本
卓久 原山
Current Assignee (The listed assignees may be inaccurate. Google has not performed a legal analysis and makes no representation or warranty as to the accuracy of the list.)
ATR Advanced Telecommunications Research Institute International
Original Assignee
ATR Advanced Telecommunications Research Institute International
Priority date (The priority date is an assumption and is not a legal conclusion. Google has not performed a legal analysis and makes no representation as to the accuracy of the date listed.)
Filing date
Publication date
Application filed by ATR Advanced Telecommunications Research Institute International filed Critical ATR Advanced Telecommunications Research Institute International
Priority to JP2007209339A priority Critical patent/JP5034026B2/ja
Publication of JP2009042153A publication Critical patent/JP2009042153A/ja
Application granted granted Critical
Publication of JP5034026B2 publication Critical patent/JP5034026B2/ja
Expired - Fee Related legal-status Critical Current
Anticipated expiration legal-status Critical

Links

Images

Landscapes

  • Gyroscopes (AREA)

Description

本発明は、光ファイバジャイロに関する。
回転する物体の回転角速度を検出するためのジャイロの中でも、光ジャイロは精度が高いという特徴を有する。従来の光ジャイロの一例では、多角環状の光路を互いに逆方向に進む2つのレーザ光の周波数差を用いて角速度の検出が行われる。このような光ジャイロとして、希ガスレーザを用いた光ジャイロが提案されている(たとえば特許文献1参照)。これらの光ジャイロでは、同じ経路を互いに逆方向に周回するレーザ光を取り出して干渉縞を形成させる。しかし、希ガスレーザを用いた光ジャイロは、駆動に高電圧が必要で消費電力が大きいという課題、および、装置が大きく熱に弱いという課題を有していた。
このような課題を解決するジャイロとして、光ファイバと半導体レーザとを用いた光ファイバジャイロが提案されている(たとえば特許文献2参照)。光ファイバジャイロでは、リング状の光ファイバを互いに逆方向に進行する2つのレーザ光のビート周波数から回転角速度を求める。
特開平11−351881号公報 特開平7−146150号公報
しかし、従来の光ファイバジャイロでは、回転の方向を識別することが難しかった。
このような状況において、本発明の目的の1つは、簡単な構成で回転角速度と回転方向とを求めることができる光ファイバジャイロを提供することである。
上記目的を達成するために、本発明の光ファイバジャイロは、環状に配置された光ファイバと、前記光ファイバの両端に結合され、前記光ファイバ内を互いに逆方向に進行するレーザ光L1およびL2を発生させるレーザ光励起手段と、前記光ファイバから、前記レーザ光L1の一部および前記レーザ光L2の一部を引き出す結合手段と、引き出された前記レーザ光L1をレーザ光L11とレーザ光L12とに分岐する第1の分岐器と、引き出された前記レーザ光L2をレーザ光L21とレーザ光L22とに分岐する第2の分岐器と、前記レーザ光L11と前記レーザ光L21とを結合する第1の結合器と、前記レーザ光L12と前記レーザ光L22とを結合する第2の結合器と、結合された前記レーザ光L11と前記レーザ光L21とを検波する第1の光検出器と、結合された前記レーザ光L12と前記レーザ光L22とを検波する第2の光検出器とを備え、前記第1の光検出器で検出される第1の信号の位相と、前記第2の光検出器で検出される第2の信号の位相との差が、10°〜170°または−10°〜−170°の範囲にある。
本発明の光ファイバジャイロによれば、回転角速度と回転方向とを、簡単な構成で求めることができる。
以下、本発明の実施形態について説明する。なお、本発明は、以下の実施形態に限定されない。以下の説明では、特定の数値や特定の材料を例示する場合があるが、本発明の効果が得られる限り、他の数値や他の材料を適用してもよい。
[光ファイバジャイロ]
本発明の光ファイバジャイロは、光ファイバ、レーザ光励起手段、結合手段、第1および第2の分岐器、第1および第2の結合器、ならびに、第1および第2の光検出器を備える。
光ファイバは、環状に配置されている。環状に配置された光ファイバは、円環状に配置された光ファイバであってもよいし、コイル状に巻かれた光ファイバであってもよい。
レーザ光励起手段は、環状の光ファイバの両端に結合されている。レーザ光励起手段は、光ファイバ内を互いに逆方向に進行するレーザ光L1およびL2を発生させる。レーザ光励起手段には、半導体光増幅器(SOA)として知られている素子を用いることができる。半導体光増幅器には、たとえば、直線状のキャビティーを有する半導体レーザ素子と同じ構造を有する素子を用いることができる。半導体光増幅器の好ましい一例は、多重量子井戸構造を有する活性層を備える。
結合手段は、環状に配置された光ファイバから、レーザ光L1の一部およびレーザ光L2の一部を引き出す。結合手段は、1つの結合器で構成されてもよいし、2つの結合器で構成されてもよい。
第1の分岐器は、引き出されたレーザ光L1をレーザ光L11とレーザ光L12とに分岐する。第2の分岐器は、引き出されたレーザ光L2をレーザ光L21とレーザ光L22とに分岐する。第1の結合器は、レーザ光L11とレーザ光L21とを結合する。第2の結合器は、レーザ光L12と前記レーザ光L22とを結合する。
第1の光検出器は、結合されたレーザ光L11とレーザ光L21とを検波(2乗検波)する。レーザ光L11の発振周波数とレーザ光L21の発振周波数とが異なる場合、第1の光検出器では、ビート信号が検出される。第1の光検出器には、フォトダイオードなどの受光素子を用いることができる。
第2の光検出器は、結合されたレーザ光L12とレーザ光L22とを検波(2乗検波)する。レーザ光L12の発振周波数とレーザ光L22の発振周波数とが異なる場合、第2の光検出器では、ビート信号が検出される。第2の光検出器には、フォトダイオードなどの受光素子を用いることができる。
レーザ光L11の発振周波数とレーザ光L12の発振周波数とは同じであり、レーザ光L21の発振周波数とレーザ光L22の発振周波数とは同じである。そのため、第1の光検出器で観測されるビート周波数と、第2の光検出器で観測されるビート周波数とは、実質的に同じである。ただし、第1の光検出器で観測される信号の位相と、第2光検出器で観測される信号の位相とは、任意にずらすことが可能である。
本発明の光ファイバジャイロでは、第1の光検出器で検出される第1の信号の位相と、第2の光検出器で検出される第2の信号の位相とのずれが、0°および180°ではない。具体的には、第1の信号の位相と第2の信号の位相との差は、10°〜170°または−10°〜−170°の範囲にある。すなわち、第1の光検出器で検出される第1のビート信号の位相と第2の光検出器で検出される第2のビート信号の位相との差が10°〜170°または−10°〜−170°の範囲になるように、本発明の光ファイバジャイロは設計されている。
第1の光検出器で検出される第1の信号の位相と、第2の光検出器で検出される第2の信号の位相との差は、45°〜135°または−45°〜−135°の範囲にあることが好ましく、80°〜100°または−80°〜−100°の範囲にあることがより好ましい。第1の信号の位相と第2の信号の位相との差が90°または−90°に近いほど、測定精度を向上できる。
本発明の光ファイバジャイロは、第1の分岐器と第1の結合器との間の光路、第1の分岐器と第2の結合器との間の光路、第2の分岐器と第1の結合器との間の光路、および第2の分岐器と第2の結合器との間の光路から選ばれる少なくとも1つの光路に、第1の信号の位相と第2の信号の位相との差を制御するための位相制御手段を備えてもよい。位相制御手段には、たとえば、可変位相器を用いることができる。
本発明の光ファイバジャイロは、第1の信号の位相と第2の信号の位相との差を制御するために屈折率が変化させられた領域を、第1の分岐器と第1の結合器との間の光路、第1の分岐器と第2の結合器との間の光路、第2の分岐器と第1の結合器との間の光路、および第2の分岐器と第2の結合器との間の光路から選ばれる少なくとも1つの光路に備えてもよい。
本発明の光ファイバジャイロでは、第1の分岐器と第1の結合器との間の光路、第1の分岐器と第2の結合器との間の光路、第2の分岐器と第1の結合器との間の光路、および第2の分岐器と第2の結合器との間の光路が光導波路で形成されていてもよい。この場合、4つの光導波路の光路長は、第1の信号の位相と第2の信号の位相との差が所定の値となるように調整されていてもよい。4つの光導波路の光路長を制御する方法の一例については後述する。
[光ファイバジャイロの一例]
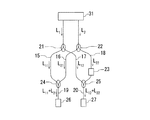
本発明の光ファイバジャイロの一例の構成を、図1に模式的に示す。図1の光ファイバジャイロは、環状の光ファイバ11と、光ファイバ11の両端に結合された半導体光増幅器12と、結合器13と、光ファイバ14〜20と、分岐器21および22と、可変位相器23と、結合器24および25と、フォトダイオード26および27とを備える。
環状の光ファイバ11および半導体光増幅器12は、リング共振器30を構成する。なお、光ファイバ11は、コイル状に巻かれていてもよい。半導体光増幅器12は、リング共振器30内を時計回りに伝搬するレーザ光L1と、反時計回りに伝搬するレーザ光L2とを発生させる。それらのレーザ光の一部は、結合器13を介して光ファイバ14に伝搬する。
光ファイバ14に伝搬したレーザ光L1は、分岐器21によってレーザ光L11とレーザ光L12とに分岐される。光ファイバ14に伝搬したレーザ光L2は、分岐器22によってレーザ光L21とレーザ光L22とに分岐される。レーザ光L11、L12、L21およびL22は、それぞれ、光ファイバ15、17、16および18内を伝搬する。レーザ光L11およびL21は、結合器24で結合されて光ファイバ19内を伝搬し、フォトダイオード26で検波される。レーザ光L12およびL22は、結合器25で結合されて光ファイバ20内を伝搬し、フォトダイオード27で検波される。
フォトダイオード26の出力電流i1を基準としたときのフォトダイオード27の出力電流i2は、以下の式(1)で表される。
2=I0cos(kΔP+2πΔft+φ)・・・(1)
式(1)中、I0は、振幅を表す。kは、波数を表す。ΔPは、光路長の差を表す。結合器13〜分岐器21〜フォトダイオード26までの光路長をP11とし、結合器13〜分岐器21〜フォトダイオード27までの光路長をP12とし、結合器13〜分岐器22〜フォトダイオード26までの光路長をP21とし、結合器13〜分岐器22〜フォトダイオード27までの光路長をP22としたときに、ΔP=(P12−P22)−(P11−P21)で表される。Δfは、レーザ光L1とレーザ光L2との周波数差であり、符号を含む。tは、時間を表す。φは固定の初期位相差である。[kΔP+φ]は、フォトダイオード26で検出される信号の位相と、フォトダイオード27で検出される信号の位相との差を示している。
kΔP+φ=90°であるときには、式(1)は以下の式で表される。
2=−I0sin(2πΔft)
また、kΔP+φ=−90°であるときには、式(1)は以下の式で表される。
2=I0sin(2πΔft)
このとき、Δfの符号に応じて、i1を基準とするi2の符号が変化する。そのため、[kΔP+φ]=±90°の場合、フォトダイオード26の出力とフォトダイオード27の出力とを検波することによって、Δfの符号が正であるか負であるかを判断できる。そのΔfの符号から、回転方向を判断できる。
なお、[kΔP+φ]は、±90°であることが好ましいが、±90°以外であっても、0°および180°でなければ、回転方向を判断することが可能である。[kΔP+φ]の値は、可変位相器23によって光路長P22を変化させることによって制御できる。
2つのフォトダイオードで検出される信号の位相差を制御することによってΔfの符号を判断できるかどうかを、実験によって確認した。まず、図2に示す実験装置を作製した。この装置では、リング共振器30の代わりに、コントローラ31からレーザ光L1およびL2を伝搬させる。コントローラ31は、レーザ光L1およびL2の発信周波数差を変化させることができる。
可変位相器23の制御電圧を変化させたときの、i1を基準としたi2の位相特性を図3に示す。ここで、レーザ光L1およびL2の発信周波数差Δfを、±20MHzとした。A点では、Δfが+20MHzの時のi2の位相は、i1の位相に比べて約−90°であった。また、A点では、Δfが−20MHzの時のi2の位相は、i1の位相に比べて約+90°であった。B点では、Δfが+20MHzの時のi2の位相は、i1の位相に比べて約+90°であった。また、B点では、Δfが−20MHzの時のi2の位相は、i1の位相に比べて約−90°であった。このように、A点およびB点では、Δfが+20MHzの時の位相とΔfが−20MHzの時の位相との差は、最大の180°となった。一方、C点では、両者の位相差は0°であった。
次に、A点、B点およびC点の制御電圧を印加した状態で、発信周波数差Δfを変化させ、i1を基準としたi2の位相特性を測定した。測定結果を、図4に示す。A点およびB点の制御電圧を印加した状態では、Δfの符号に応じて、i1を基準としたi2の位相の符号が変化した。一方、C点では、i1を基準としたi2の位相の符号の変化を検出することは困難であった。このように、光路長P22を適切な値とすることによって、発信周波数差Δfの符号を検出することができた。Δfの符号は、回転方向に応じて変化する。したがって、本発明によれば、回転角速度とともに回転方向を求めることが可能である。
なお、回転角速度は、フォトダイオード26およびフォトダイオード27の少なくとも一方の信号のビート周波数から求めることができる。一方、回転方向は、フォトダイオード26およびフォトダイオード27の両方の信号を比較することによって求められる。フォトダイオード26および27は信号処理装置(図示せず)に接続されており、フォトダイオード26および27の出力信号は、信号処理装置で処理される。信号処理装置は、演算処理装置とメモリとを備え、入力された信号に基づいて、光ファイバジャイロの回転角速度および回転方向を求める。
上記一例では、光路長P22を変化させることによって、フォトダイオード26の信号の位相とフォトダイオード27の信号の位相との差を制御する例について説明した。しかし、本発明は、フォトダイオード26で検出される信号の位相と、フォトダイオード27で検出される第2の信号の位相との差が、所定の角度となる限り、P11、P12、P21およびP22から選ばれるいずれの光路長を制御してもよい。
また、上記一例では、可変位相器を用いて位相差を制御する例について説明したが、他の方法によって位相を制御してもよい。たとえば、光路の一部の屈折率を変化させることによって信号の位相差を制御してもよい。光路の一部の屈折率を変化させる方法としては、たとえば、光や電子線を当てると屈折率が変化する材料を用いて導波路の一部または全部を形成し、そのうちの一部の屈折率を変化させる方法が挙げられる。たとえば、光導波路をGeドープ石英系ガラスで作製し、その一部にレーザ光を照射することによってその部分の屈折率を増加させることができる(たとえば特開2000−249859号公報参照)。また、ガラスに電子線を照射することによって、ガラスの屈折率を増加させることも可能である。屈折率が変化する材料は、無機材料であってもよいし、有機材料であってもよい。屈折率が変化する材料としては、たとえば、Ge・BドープSiO2や、B23や、カルコゲナイド系材料が挙げられる。
なお、電気光学制御を用いる場合などで偏波依存性がある場合には、偏波保持ファイバ(PMF)などを用いて光路を形成すればよい。一方、電気光学制御を用いる場合でもプラーナ電極を用いたもののように偏波依存性がない場合には、シングルモードファイバ(SMF)などを用いて光路を形成すればよい。
また、上記一例では、第1および第2の分岐器から第1および第2の結合器までの光路に光ファイバを用いる場合について説明したが、光ファイバの代わりに光導波路を用いてもよい。そのような場合の光路の一例を、図5(a)に模式的に示す。
図5(a)の光導波路は、たとえば、立方体状の石英ガラス51中に形成される。光導波路52には、レーザ光L1が入力される。光導波路53には、レーザ光L2が入力される。光導波路52は光導波路54および55に分岐され、光導波路53は光導波路56および57に分岐される。4つの光導波路54〜57は、石英ガラス51の一面51aで反射されるように形成されている。光導波路54と光導波路56とは光導波路58に結合され、光導波路55と光導波路57とは光導波路59に結合される。光導波路58および59を伝搬するレーザ光は、それぞれ、フォトダイオードに入力される。4つの光導波路54〜57のそれぞれの光路長は、石英ガラス51の一面51aを研磨することによって調整できる。たとえば、図5(b)に示すように、一面51aの全体を斜めに研磨してもよい。光導波路の幅はたとえば10μm程度であり、研磨する深さはたとえば1μm未満であるため、一面51aを研磨しても、光導波路の機能を維持することが可能である。
以上、本発明の実施形態について例を挙げて説明したが、本発明は上記実施形態に限定されず、本発明の技術的思想に基づいて他の実施形態に適用できる。
本発明の光ファイバジャイロは、物体の回転の検出が必要な様々な機器に適用できる。代表的な例としては、姿勢制御装置やナビゲーション装置、手ぶれ補正装置に利用できる。
本発明の光ファイバジャイロの一例の構成を模式的に示す図である。 実験で用いた装置の構成を模式的に示す図である。 実験結果を示すグラフの一例である。 実験結果を示すグラフの他の一例である。 本発明の光ファイバジャイロの他の一例の一部の構成を模式的に示す図である。
符号の説明
10 光ファイバジャイロ
11、14、15、16、17、18、19、20 光ファイバ
12 半導体光増幅器
13、24、25 結合器
21、22 分岐器
26、27 フォトダイオード
52〜59 光導波路
1、L2、L11、L12、L21、L22 レーザ光

Claims (4)

  1. 環状に配置された光ファイバと、
    前記光ファイバの両端に結合され、前記光ファイバ内を互いに逆方向に進行するレーザ光L1およびL2を発生させるレーザ光励起手段と、
    前記光ファイバから、前記レーザ光L1の一部および前記レーザ光L2の一部を引き出す結合手段と、
    引き出された前記レーザ光L1をレーザ光L11とレーザ光L12とに分岐する第1の分岐器と、
    引き出された前記レーザ光L2をレーザ光L21とレーザ光L22とに分岐する第2の分岐器と、
    前記レーザ光L11と前記レーザ光L21とを結合する第1の結合器と、
    前記レーザ光L12と前記レーザ光L22とを結合する第2の結合器と、
    結合された前記レーザ光L11と前記レーザ光L21とを検波する第1の光検出器と、
    結合された前記レーザ光L12と前記レーザ光L22とを検波する第2の光検出器とを備え、
    前記第1の光検出器で検出される第1の信号の位相と、前記第2の光検出器で検出される第2の信号の位相との差が、10°〜170°または−10°〜−170°の範囲にある光ファイバジャイロ。
  2. 前記第1の信号の位相と前記第2の信号の位相との差が、45°〜135°または−45°〜−135°の範囲にある請求項1に記載の光ファイバジャイロ。
  3. 前記第1の分岐器と前記第1の結合器との間の光路、前記第1の分岐器と前記第2の結合器との間の光路、前記第2の分岐器と前記第1の結合器との間の光路、および前記第2の分岐器と前記第2の結合器との間の光路から選ばれる少なくとも1つの光路に、可変位相器を備える請求項1または2に記載の光ファイバジャイロ。
  4. 前記第1の信号の位相と前記第2の信号の位相との差を制御するために屈折率が変化させられた領域を、前記第1の分岐器と前記第1の結合器との間の光路、前記第1の分岐器と前記第2の結合器との間の光路、前記第2の分岐器と前記第1の結合器との間の光路、および前記第2の分岐器と前記第2の結合器との間の光路から選ばれる少なくとも1つの光路に備える請求項1または2に記載の光ファイバジャイロ。
JP2007209339A 2007-08-10 2007-08-10 光ファイバジャイロ Expired - Fee Related JP5034026B2 (ja)

Priority Applications (1)

Application Number Priority Date Filing Date Title
JP2007209339A JP5034026B2 (ja) 2007-08-10 2007-08-10 光ファイバジャイロ

Applications Claiming Priority (1)

Application Number Priority Date Filing Date Title
JP2007209339A JP5034026B2 (ja) 2007-08-10 2007-08-10 光ファイバジャイロ

Publications (2)

Publication Number Publication Date
JP2009042153A JP2009042153A (ja) 2009-02-26
JP5034026B2 true JP5034026B2 (ja) 2012-09-26

Family

ID=40443031

Family Applications (1)

Application Number Title Priority Date Filing Date
JP2007209339A Expired - Fee Related JP5034026B2 (ja) 2007-08-10 2007-08-10 光ファイバジャイロ

Country Status (1)

Country Link
JP (1) JP5034026B2 (ja)

Families Citing this family (2)

* Cited by examiner, † Cited by third party
Publication number Priority date Publication date Assignee Title
JP5275886B2 (ja) * 2009-04-20 2013-08-28 ミネベア株式会社 半導体リングレーザジャイロ
DE102016200503A1 (de) * 2016-01-16 2017-07-20 Robert Bosch Gmbh Vorrichtung und Verfahren zum Erzeugen von Licht mittels eines Leuchtstoffs

Family Cites Families (7)

* Cited by examiner, † Cited by third party
Publication number Priority date Publication date Assignee Title
US4662751A (en) * 1985-09-24 1987-05-05 The United States Of America As Represented By The Administrator Of The National Aeronautics And Space Administration Closed loop fiber optic rotation sensor
JPS6329211A (ja) * 1986-07-23 1988-02-06 Mitsubishi Electric Corp 光フアイバ回転センサ
JPH02147908A (ja) * 1988-11-30 1990-06-06 Oki Electric Ind Co Ltd 光ファイバジャイロ
US5116132A (en) * 1990-01-12 1992-05-26 Litton Systems, Inc. Ring laser gyroscope output optics detection system
US5189487A (en) * 1991-11-21 1993-02-23 Litton Systems, Inc. Multioscillator ring laser gyroscope local oscillator-based output optics detection system
JPH07146150A (ja) * 1993-11-24 1995-06-06 Hitachi Ltd 光ファイバリングレーザジャイロ
US6650682B1 (en) * 1999-04-30 2003-11-18 University Of New Mexico Bi-directional short pulse ring laser

Also Published As

Publication number Publication date
JP2009042153A (ja) 2009-02-26

Similar Documents

Publication Publication Date Title
JP2722005B2 (ja) 偏波回転リング経路を有する受動リング共振器ジヤイロ
Dell’Olio et al. Miniaturization of interferometric optical gyroscopes: a review
Bergh et al. An overview of fiber-optic gyroscopes
US8744222B2 (en) Practical silicon photonic multi-function integrated-optic chip for fiber sensor applications
Mahmoud et al. Novel on chip rotation detection based on the acousto-optic effect in surface acoustic wave gyroscopes
WO2017221028A1 (en) Nonreciprocal light propagation systems and methods
JP3692474B2 (ja) 光ファイバジャイロ
JPS61230024A (ja) フアイバ光学回転センサ
US12332057B2 (en) Chip-integrated optical rotation rate sensor
CN112710294B (zh) 一种低光学噪声的双环并联谐振式陀螺系统及方法
JP2779704B2 (ja) スペクトル変化系誤差の制御
Li et al. Test and analysis of the optical Kerr-effect in resonant micro-optic gyros
JP2007139780A (ja) 自由空間共振器を備える光ジャイロおよび慣性回転速度を感知する方法
JP2526143B2 (ja) 光ファイバ回転検出システム
Li et al. Excess relative intensity noise suppression in depolarized interferometric fiber optic gyroscopes
Vannahme et al. Integrated optical Ti: LiNbO3 ring resonator for rotation rate sensing
CN116086425B (zh) 一种基于特殊镜像环结构的干涉式光纤陀螺
JP5034026B2 (ja) 光ファイバジャイロ
Ning et al. Waveguide-type optical passive ring resonator gyro using frequency modulation spectroscopy technique
US7924427B2 (en) Photonic crystal based rotation sensor
JP2017015576A (ja) サニャック干渉型光電流センサ及びその信号処理方法
JP2011242173A (ja) 光ファイバジャイロの偏波安定化方法及びその装置
EP3792595B1 (en) Resonator fiber optic gyroscope with integrated photonics interface
Shen et al. Multi-function integrated optic chip for miniaturized resonant fiber optic gyroscope
Guo et al. A large-size SiO2 waveguide resonator used in integration optical gyroscope

Legal Events

Date Code Title Description
A621 Written request for application examination

Free format text: JAPANESE INTERMEDIATE CODE: A621

Effective date: 20100701

TRDD Decision of grant or rejection written
A977 Report on retrieval

Free format text: JAPANESE INTERMEDIATE CODE: A971007

Effective date: 20120425

A01 Written decision to grant a patent or to grant a registration (utility model)

Free format text: JAPANESE INTERMEDIATE CODE: A01

Effective date: 20120501

A01 Written decision to grant a patent or to grant a registration (utility model)

Free format text: JAPANESE INTERMEDIATE CODE: A01

A61 First payment of annual fees (during grant procedure)

Free format text: JAPANESE INTERMEDIATE CODE: A61

Effective date: 20120530

FPAY Renewal fee payment (event date is renewal date of database)

Free format text: PAYMENT UNTIL: 20150713

Year of fee payment: 3

R150 Certificate of patent or registration of utility model

Ref document number: 5034026

Country of ref document: JP

Free format text: JAPANESE INTERMEDIATE CODE: R150

Free format text: JAPANESE INTERMEDIATE CODE: R150

R250 Receipt of annual fees

Free format text: JAPANESE INTERMEDIATE CODE: R250

R250 Receipt of annual fees

Free format text: JAPANESE INTERMEDIATE CODE: R250

R250 Receipt of annual fees

Free format text: JAPANESE INTERMEDIATE CODE: R250

R250 Receipt of annual fees

Free format text: JAPANESE INTERMEDIATE CODE: R250

R250 Receipt of annual fees

Free format text: JAPANESE INTERMEDIATE CODE: R250

LAPS Cancellation because of no payment of annual fees