JP4993003B2 - 照明光学装置の調整方法、および露光方法 - Google Patents

照明光学装置の調整方法、および露光方法 Download PDF

Info

Publication number
JP4993003B2
JP4993003B2 JP2010155578A JP2010155578A JP4993003B2 JP 4993003 B2 JP4993003 B2 JP 4993003B2 JP 2010155578 A JP2010155578 A JP 2010155578A JP 2010155578 A JP2010155578 A JP 2010155578A JP 4993003 B2 JP4993003 B2 JP 4993003B2
Authority
JP
Japan
Prior art keywords
distribution
adjustment
transmittance
irradiated surface
reflectance
Prior art date
Legal status (The legal status is an assumption and is not a legal conclusion. Google has not performed a legal analysis and makes no representation as to the accuracy of the status listed.)
Expired - Fee Related
Application number
JP2010155578A
Other languages
English (en)
Other versions
JP2010232688A (ja
Inventor
裕久 田中
幸二 重松
Current Assignee (The listed assignees may be inaccurate. Google has not performed a legal analysis and makes no representation or warranty as to the accuracy of the list.)
Nikon Corp
Original Assignee
Nikon Corp
Priority date (The priority date is an assumption and is not a legal conclusion. Google has not performed a legal analysis and makes no representation as to the accuracy of the date listed.)
Filing date
Publication date
Application filed by Nikon Corp filed Critical Nikon Corp
Priority to JP2010155578A priority Critical patent/JP4993003B2/ja
Publication of JP2010232688A publication Critical patent/JP2010232688A/ja
Application granted granted Critical
Publication of JP4993003B2 publication Critical patent/JP4993003B2/ja
Anticipated expiration legal-status Critical
Expired - Fee Related legal-status Critical Current

Links

Images

Landscapes

  • Optical Elements Other Than Lenses (AREA)
  • Exposure And Positioning Against Photoresist Photosensitive Materials (AREA)
  • Exposure Of Semiconductors, Excluding Electron Or Ion Beam Exposure (AREA)

Description

本発明は、照明光学装置の調整方法、露光装置、および露光方法に関し、特に半導体素子、撮像素子、液晶表示素子、薄膜磁気ヘッド等のマイクロデバイスをリソグラフィー工程で製造するための露光装置に好適な照明光学装置の調整方法に関するものである。
この種の典型的な露光装置においては、光源から射出された光束が、オプティカルインテグレータとしてのフライアイレンズ(またはマイクロレンズアレイ)を介して、多数の光源からなる実質的な面光源としての二次光源を形成する。二次光源からの光束は、フライアイレンズの後側焦点面の近傍に配置された開口絞りを介して制限された後、コンデンサーレンズに入射する。
コンデンサーレンズにより集光された光束は、所定のパターンが形成されたマスクを重畳的に照明する。マスクのパターンを透過した光は、投影光学系を介してウェハ上に結像する。こうして、感光性基板としてのウェハ上には、マスクパターンが投影露光(転写)される。なお、マスクに形成されたパターンは高集積化されており、この微細パターンをウェハ上に正確に転写するにはウェハ上において均一な照度分布を得ることが不可欠である。
また、フライアイレンズの後側焦点面に円形状の二次光源を形成し、その大きさを変化させて照明のコヒーレンシィσ(σ値=開口絞り径/投影光学系の瞳径、あるいはσ値=照明光学系の射出側開口数/投影光学系の入射側開口数)を変化させる技術が注目されている。また、フライアイレンズの後側焦点面に輪帯状や4極状の二次光源を形成し、投影光学系の焦点深度や解像力を向上させる技術が注目されている。
この場合、マスクの微細パターンをウェハ上に忠実に転写するには、フライアイレンズの後側焦点面に形成される二次光源の光強度分布すなわち照明瞳面に形成される所定の輝度分布を有する瞳輝度分布を所望の形状に調整するだけでなく、最終的な被照射面としてのウェハ上の各点に関する瞳輝度分布をそれぞれほぼ均一に調整する必要がある。ウェハ上の各点での瞳輝度分布の均一性にばらつきがあると、ウェハ上の位置毎にパターンの線幅がばらついて、マスクの微細パターンを露光領域の全体に亘って所望の線幅でウェハ上に忠実に転写することができない。
本発明は、前述の課題に鑑みてなされたものであり、被照射面での照度分布をほぼ均一に維持または調整しつつ、被照射面上の各点での瞳輝度分布をそれぞれほぼ均一に調整することのできる照明光学装置の調整方法を提供することを目的とする。また、本発明は、被照射面での照度分布をほぼ均一に維持可能または調整可能で且つ被照射面上の各点での瞳輝度分布をほぼ均一に調整可能な照明光学装置の調整方法を利用して、マスクの微細パターンを露光領域の全体に亘って所望の線幅で感光性基板上に忠実に転写することのできる露光装置および露光方法を提供することを目的とする。
前記課題を解決するために、本発明の第1形態では、光源からの光束に基づいて照明瞳面に所定の輝度分布を有する瞳輝度分布を形成し、該瞳輝度分布からの光束で被照射面を照明する照明光学装置の調整方法において、
前記被照射面上の複数点に関する瞳輝度分布を得る瞳輝度分布獲得工程と、
前記複数点に関する瞳輝度分布をそれぞれ独立に調整するために、前記照明光学装置の光路中の複数の位置での所要の透過率分布または反射率分布を決定する分布決定工程と、
前記所要の透過率分布または反射率分布を有する複数の調整膜をそれぞれ形成して前記複数の位置に配置する調整工程とを含むことを特徴とする調整方法を提供する。
本発明の第2形態では、第1形態の調整方法により調整された照明光学装置を備え、前記照明光学装置で照明されたマスクのパターンを感光性基板上に露光することを特徴とする露光装置を提供する。
本発明の第3形態では、第1形態の調整方法により調整された照明光学装置を用いてマスクを照明する照明工程と、前記マスクのパターンを感光性基板上に露光する露光工程とを含むことを特徴とする露光方法を提供する。
本発明の照明光学装置の調整方法では、たとえば所定の透過率分布を有する複数の調整膜の作用により、被照射面での照度分布をほぼ均一に維持または調整しつつ、被照射面上の各点での瞳輝度分布をそれぞれほぼ均一に調整することができる。
また、本発明の露光装置および露光方法では、被照射面での照度分布をほぼ均一に維持可能または調整可能で且つ被照射面上の各点での瞳輝度分布をほぼ均一に調整可能な照明光学装置の調整方法を利用しているので、マスクの微細パターンを露光領域の全体に亘って所望の線幅で感光性基板上に忠実に転写することができ、ひいては高精度で良好なデバイスを製造することができる。
本発明の実施形態にかかる露光装置の全体構成を概略的に示す図である。 本実施形態における一対の補正フィルターの構成および作用を模式的に示す図である。 一対の補正フィルターに付与される透過率分布の一例を模式的に示す図である。 一対の補正フィルターに付与される透過率分布の別の例を模式的に示す図である。 入射角度に応じて透過率の異なる透過率分布を有する一対の補正フィルターを用いる変形例を概略的に示す図である。 入射位置に応じて透過率の異なる透過率分布を有する3つの補正フィルターを用いる変形例を概略的に示す図である。 図6の変形例において各補正フィルターを通過する軸上光束および軸外光束の断面をそれぞれ示す図である。 本実施形態にかかる照明光学装置の調整方法の各工程を概略的に示すフローチャートである。 被照射面上の複数点に関する瞳輝度分布を測定するための装置の構成を概略的に示す図である。 被照射面における照度分布を測定するための装置の構成を概略的に示す図である。 本実施形態の変形例にかかる調整方法の各工程を概略的に示すフローチャートである。 投影光学系の像面座標と瞳座標との関係を説明する図である。 マイクロデバイスとしての半導体デバイスを得る際の手法のフローチャートである。 マイクロデバイスとしての液晶表示素子を得る際の手法のフローチャートである。
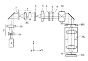
本発明の実施形態を、添付図面に基づいて説明する。図1は、本発明の実施形態にかかる露光装置の全体構成を概略的に示す図である。図1において、感光性基板であるウェハWの法線方向に沿ってZ軸を、ウェハWの面内において図1の紙面に平行な方向にY軸を、ウェハWの面内において図1の紙面に垂直な方向にX軸をそれぞれ設定している。なお、図1では、照明光学装置が通常の円形照明を行うように設定されている。
図1を参照すると、本実施形態の露光装置は、露光光(照明光)を供給するための光源1を備えている。光源1として、たとえば248nmの波長の光を供給するKrFエキシマレーザ光源や193nmの波長の光を供給するArFエキシマレーザ光源などを用いることができる。光源1から+Z方向に沿って射出されたほぼ平行な光束は、X方向に沿って細長く延びた矩形状の断面を有し、一対のレンズ2aおよび2bからなるビームエキスパンダー2に入射する。
各レンズ2aおよび2bは、図1の紙面内(YZ平面内)において負の屈折力および正の屈折力をそれぞれ有する。したがって、ビームエキスパンダー2に入射した光束は、図1の紙面内において拡大され、所定の矩形状の断面を有する光束に整形される。整形光学系としてのビームエキスパンダー2を介したほぼ平行な光束は、光路折り曲げミラーで+Y方向に偏向された後、円形照明用の回折光学素子3を介して、ズームレンズ4に入射する。ズームレンズ4の後側焦点面の近傍には、マイクロフライアイレンズ5の入射面が位置決めされている。
一般に、回折光学素子は、基板に露光光(照明光)の波長程度のピッチを有する段差を形成することによって構成され、入射ビームを所望の角度に回折する作用を有する。具体的には、回折光学素子3は、光軸AXに沿って入射した矩形状の平行光束を、円形状の断面を有する発散光束に変換する。回折光学素子3は、照明光路に対して挿脱自在に構成され、且つ輪帯照明用の回折光学素子や4極照明用の回折光学素子と切り換え可能に構成されている。
マイクロフライアイレンズ5は、縦横に且つ稠密に配列された多数の微小レンズ(光学要素)からなる光学部材である。一般に、マイクロフライアイレンズは、たとえば平行平面ガラス板にMEMS技術(リソグラフィー+エッチング等)を応用して多数の微小光学面を同時形成することによって構成される。こうして、回折光学素子3を介した光束は、ズームレンズ4を介して、波面分割型のオプティカルインテグレータとしてのマイクロフライアイレンズ5の入射面に、たとえば光軸AXを中心とする円形状の照野を形成する。
ここで、形成される円形状の照野の大きさ(すなわちその直径)は、ズームレンズ4の焦点距離に依存して変化する。マイクロフライアイレンズ5に入射した光束は多数の微小レンズにより二次元的に分割され、光束が入射した各微小レンズの後側焦点面には光源がそれぞれ形成される。こうして、マイクロフライアイレンズ5の後側焦点面には、マイクロフライアイレンズ5への入射光束によって形成される円形状の照野とほぼ同じ光強度分布を有する円形状の実質的な面光源(以下、「二次光源」という)が形成される。
マイクロフライアイレンズ5の後側焦点面に形成された円形状の二次光源からの光束は、コンデンサー光学系6の集光作用を受けた後、マスクM(ひいてはウェハW)と光学的に共役な面に配置されたマスクブラインド7を重畳的に照明する。こうして、マスクブラインド7には、マイクロフライアイレンズ5を構成する各微小レンズの形状と相似な矩形状の照野が形成される。なお、マスクブラインド7の前側(光源側)には第1補正フィルター8が配置され、マスクブラインド7の後側(マスク側)には第2補正フィルター9が配置されている。第1補正フィルター8および第2補正フィルター9の構成および作用については後述する。
マスクブラインド7の矩形状の開口部(光透過部)を介した光束は、結像光学系10の集光作用を受け、光路折り曲げミラーで−Z方向に偏向された後、所定のパターンが形成されたマスクMを重畳的に照明する。このように、結像光学系10は、マスクブラインド7の矩形状の開口部の像を、マスクステージMSにより支持されたマスクM上に形成することになる。すなわち、マスクブラインド7は、マスクM(ひいてはウェハW)上に形成される照明領域を規定するための視野絞りを構成している。
マスクMのパターンを透過した光束は、投影光学系PLを介して、感光性基板であるウェハW上にマスクパターンの像を形成する。すなわち、ウェハステージWSにより支持されたウェハW上には、マスクM上での矩形状の照明領域に対応するように矩形状の領域にパターン像が形成される。こうして、投影光学系PLの光軸AXと直交する平面(XY平面)内においてウェハWを二次元的に駆動制御しながら一括露光またはスキャン露光を行うことにより、ウェハWの各露光領域にはマスクMのパターンが逐次露光される。
なお、回折光学素子3に代えて輪帯照明用の回折光学素子を照明光路中に設定することによって輪帯照明を行うことができる。輪帯照明用の回折光学素子は、光軸AXに沿って入射した矩形状の平行光束を、輪帯状の断面を有する発散光束に変換する。したがって、輪帯照明用の回折光学素子を介した光束は、マイクロフライアイレンズ5の入射面に、たとえば光軸AXを中心とした輪帯状の照野を形成する。その結果、マイクロフライアイレンズ5の後側焦点面にも、その入射面に形成された輪帯状の照野とほぼ同じ光強度分布を有する輪帯状の二次光源が形成される。
また、回折光学素子3に代えて4極照明用(一般には、2極、8極などを含む複数極照明用)の回折光学素子を照明光路中に設定することによって4極照明(一般には複数極照明)を行うことができる。4極照明用の回折光学素子は、光軸AXに沿って入射した矩形状の平行光束を、4極状の断面を有する発散光束に変換する。したがって、4極照明用の回折光学素子を介した光束は、マイクロフライアイレンズ5の入射面に、たとえば光軸AXを中心とした4極状の照野を形成する。その結果、マイクロフライアイレンズ5の後側焦点面にも、その入射面に形成された4極状の照野とほぼ同じ光強度分布を有する4極状の二次光源が形成される。
図2は、本実施形態における一対の補正フィルターの構成および作用を模式的に示す図である。本実施形態では、図2に示すように、マスクブラインド7の前側(光源側)に第1補正フィルター8が配置され、マスクブラインド7の後側(マスク側)に第2補正フィルター9が配置されている。第1補正フィルター8および第2補正フィルター9はともに平行平面板の形態を有し、入射位置に応じて透過率の異なる透過率分布を有する。すなわち、たとえば第1補正フィルター8のマスクブラインド7側の光学面および第2補正フィルター9のマスクブラインド7側の光学面には、クロムや酸化クロム等からなる遮光性ドットの濃密パターンが調整膜として形成されている。
具体的に、第1補正フィルター8は、図3(a)に示すように、たとえばY方向に沿って有効領域の中心において透過率が最も低く且つ中心からの距離の二次関数にしたがって透過率が周辺に向かって単調に増大するような二次の凹状パターンの透過率分布を有する。一方、第2補正フィルター9は、図3(b)に示すように、たとえばY方向に沿って有効領域の中心において透過率が最も高く且つ中心からの距離の二次関数にしたがって透過率が周辺に向かって単調に減少するような二次の凸状パターンの透過率分布を有する。
そして、第1補正フィルター8では有効領域の周辺における透過率の最大値と中心における透過率の最小値との差が例えば4%に設定され、第2補正フィルター9では有効領域の周辺における透過率の最小値と中心における透過率の最大値との差が例えば4%に設定されている。すなわち、第1補正フィルター8は二次の4%凹状パターンの透過率分布を有し、第2補正フィルター9は二次の4%凸状パターンの透過率分布を有する。その結果、第1補正フィルター8と第2補正フィルター9とは相補的な透過率分布を有することになる。
また、本実施形態では、第1補正フィルター8(厳密にはその調整膜であるマスク側の光学面)とマスクブラインド7との距離と、第2補正フィルター9(厳密にはその調整膜である光源側の光学面)とマスクブラインド7との距離とが互いに等しくなるように設定されている。ここで、被照射面としてのマスクM(または最終的な被照射面としてのウェハW)上において光軸AXと交わる中心点P1に達する光線、中心点P1から+Y方向に所定距離だけ離れた点P2に達する光線、および中心点P1から−Y方向に同じ所定距離だけ離れた点P3に達する光線に着目する。
そして、第1補正フィルター8および第2補正フィルター9が介在しない状態では、図2において第1補正フィルター8よりも上側に斜線部で示すように、中心点P1に関する瞳輝度分布、点P2に関する瞳輝度分布、および点P3に関する瞳輝度分布がともに均一であるものとする。なお、被照射面上のある点に関する瞳輝度分布が均一であるということは、当該点に達する光線が照明瞳面(たとえばマイクロフライアイレンズ5の後側焦点面)に形成する光強度分布が均一であることに他ならない。
ここで、二次の4%凹状パターンの透過率分布を有する第1補正フィルター8だけが介在すると、第1補正フィルター8の作用により、図2において第1補正フィルター8とマスクブラインド7との間およびマスクブラインド7と第2補正フィルター9との間に斜線部で示すように、中心点P1に関する瞳輝度分布が均一なパターンから凹状パターンに変化し、点P2に関する瞳輝度分布が均一なパターンから傾斜パターンに変化し、点P3に関する瞳輝度分布が均一なパターンから点P2の傾斜パターンとは傾斜方向が逆の傾斜パターンに変化する。
さらに、第1補正フィルター8に加えて二次の4%凸状パターンの透過率分布を有する第2補正フィルター9も介在すると、第2補正フィルター9の作用により、図2において第2補正フィルター9と結像光学系10(または結像光学系10+投影光学系PL)との間および結像光学系10(または結像光学系10+投影光学系PL)とマスクM(またはウェハW)との間に斜線部で示すように、中心点P1に関する瞳輝度分布が凹状パターンから均一なパターンに戻り、点P2および点P3に関する瞳輝度分布の傾斜パターンの傾斜の度合いがさらに助長された傾斜パターンに変化する。
換言すれば、第1補正フィルター8と第2補正フィルター9との協働作用により、中心点P1(およびP1と同じY座標を有する点)に関する均一な瞳輝度分布が変化することなく、点P2(およびP2と同じY座標を有する点)に関する均一な瞳輝度分布が線形的な傾斜パターンに変化し、点P3(およびP3と同じY座標を有する点)に関する均一な瞳輝度分布が点P2の傾斜パターンとは傾斜方向が逆で傾斜の度合いが等しい線形的な傾斜パターンに変化する。なお、点P2および点P3に関する瞳輝度分布の線形的な傾斜調整の度合いは、点P2および点P3の中心点P1からのY方向に沿った距離に依存する。
すなわち、中心点P1からY方向に沿って離れるほど、その点に関する瞳輝度分布の線形的な傾斜調整の度合いは大きくなる。また、図2を参照すると明らかであるが、被照射面上の各点に達する光線が第1補正フィルター8および第2補正フィルター9をそれぞれ通過する領域(以下、「パーシャル領域」という)の大きさは、第1補正フィルター8および第2補正フィルター9がマスクブラインド7から離れるほど大きくなり、各点に関する瞳輝度分布の線形的な傾斜調整の度合いも大きくなる。もちろん、第1補正フィルター8および第2補正フィルター9の透過率分布の変化の度合い(上述の例では4%)をさらに大きく設定すると、各点に関する瞳輝度分布の線形的な傾斜調整の度合いも大きくなる。
また、上述したように、本実施形態では、第1補正フィルター8と第2補正フィルター9とが相補的な透過率分布を有し、第1補正フィルター8と第2補正フィルター9とがマスクブラインド7を挟んで等しい距離に設定されているので、被照射面上の各点に関するパーシャル領域の位置および大きさは第1補正フィルター8と第2補正フィルター9とでほぼ一致する。その結果、第1補正フィルター8と第2補正フィルター9との協働作用により、被照射面上の各点に関する瞳輝度分布は点毎にそれぞれ調整されるが、被照射面上の照度分布は実質的に変化することなくほぼ均一に維持される。
以上のように、本実施形態では、第1補正フィルター8と第2補正フィルター9とが、被照射面(M,W)上の各点に関する瞳輝度分布をそれぞれ独立的に調整するための調整手段を構成している。その結果、本実施形態の露光装置では、被照射面(M,W)での照度分布をほぼ均一に維持しつつ、被照射面上の各点での瞳輝度分布をそれぞれほぼ均一に調整することができるので、マスクMの微細パターンを露光領域の全体に亘って所望の線幅でウェハW上に忠実に転写することができる。
なお、上述の説明では、第1補正フィルター8と第2補正フィルター9とがマスクブラインド7を挟んで等しい距離に設定されているが、最終的な被照射面であるウェハWと光学的に共役な共役面を挟んで等しい距離に、具体的には例えばマスクMを挟んで等しい距離に設定しても上述の実施形態と同様の効果が得られる。また、上述の説明では、第1補正フィルター8が二次の凹状パターンの透過率分布を有し且つ第2補正フィルター9が二次の凸状パターンの透過率分布を有するが、第1補正フィルター8が二次の凸状パターンの透過率分布を有し且つ第2補正フィルター9が二次の凹状パターンの透過率分布を有する場合も上述の実施形態と同様の効果が得られる。
また、上述の説明では、第1補正フィルター8および第2補正フィルター9が二次のパターンの透過率分布を有するが、これに限定されることなく、第1補正フィルター8および第2補正フィルター9に付与する透過率分布のパターンについては様々な変形例が可能である。具体的に、たとえば第1補正フィルター8が、図4(a)に示すように、たとえば有効領域の中心からのY方向に沿った距離の四次関数にしたがって中心から周辺に向かって透過率が一旦増大した後に減少するような四次のM字状パターンの透過率分布を有する変形例も可能である。
この変形例では、第2補正フィルター9は、図4(b)に示すように、有効領域の中心からのY方向に沿った距離の四次関数にしたがって中心から周辺に向かって透過率が一旦減少した後に増大するような四次のW字状パターンの透過率分布を有することになる。この場合、第1補正フィルター8の透過率分布と第2補正フィルター9の透過率分布とを相補的に設定すれば、上述の実施形態と同様の効果が得られる。ただし、第1補正フィルター8および第2補正フィルター9が四次のパターンの透過率分布を有するため、線形的な傾斜調整ではなく三次関数的な傾斜調整効果が得られる。なお、第1補正フィルター8および第2補正フィルター9のパターンの透過率分布は四次以上であってもよい。
また、上述の説明では、第1補正フィルター8および第2補正フィルター9にY方向に沿った一次元の透過率分布を付与しているが、一次元の透過率分布の変化方向については様々な変形例が可能である。また、第1補正フィルター8および第2補正フィルター9に二次元的な透過率分布を付与することもできる。また、第1補正フィルター8および第2補正フィルター9に付与すべき透過率分布を他の適当な関数にしたがって規定することもできる。一例として、たとえば後述するツェルニケ多項式を用いて第1補正フィルター8および第2補正フィルター9の透過率分布を規定することにより、被照射面上の各点に関する瞳輝度分布を多様な形態にしたがって点毎にそれぞれ調整することが可能になる。
ところで、上述の実施形態において、クロムドットのような遮光性ドットの濃密パターンを用いて第1補正フィルター8および第2補正フィルター9に透過率分布を付与する場合、各ドットのウェハWへの転写および各ドットにおける回折の影響を評価して、各ドットの大きさや、第1補正フィルター8および第2補正フィルター9とマスクブラインド7との距離などを設定する必要がある。また、上述の説明では、遮光性ドットの濃密パターンを用いて第1補正フィルター8および第2補正フィルター9に透過率分布を付与しているが、これに限定されることなく、調整膜としての薄膜の厚みを制御することにより連続的に変化する透過率分布を付与することもできる。
なお、上述の実施形態では、第1補正フィルター8の透過率分布と第2補正フィルター9の透過率分布とが相補的に設定されているが、これに限定されることなく、第1補正フィルター8の透過率分布に対して相補的な透過率分布とは実質的に異なる透過率分布を第2補正フィルター9に付与する変形例も可能である。この変形例では、第1補正フィルター8の透過率分布に対して相補的な透過率分布と第2補正フィルター9の透過率分布との差に応じて被照射面上の照度分布が調整されることになり、被照射面上の照度分布をほぼ均一に調整しつつ、被照射面上の各点での瞳輝度分布をそれぞれほぼ均一に調整することができる。
同様に、被照射面上の照度分布を積極的に調整する変形例として、マスクブラインド7を挟んで第1補正フィルター8と第2補正フィルター9とを互いに異なる距離に設定することもできる。この場合、マスクブラインド7と第1補正フィルター8との距離とマスクブラインド7と第2補正フィルター9との距離との差に応じて被照射面における照度分布を調整することができ、ひいては被照射面上の照度分布をほぼ均一に調整しつつ、被照射面上の各点での瞳輝度分布をそれぞれほぼ均一に調整することができる。
また、上述の実施形態では、第1補正フィルター8および第2補正フィルター9が入射位置に応じて透過率の異なる透過率分布を有するが、これに限定されることなく、入射角度に応じて透過率の異なる透過率分布を一対の補正フィルターに付与する変形例も可能である。この変形例では、たとえば図5に示すように、一方の補正フィルター8aが結像光学系10の瞳面10a(照明瞳面と光学的に共役な共役面)よりも光源側に配置され、他方の補正フィルター9aが結像光学系10の瞳面10aよりもマスク側に配置されることになる。
この場合も、上述の実施形態および上述の変形例と同様の効果が得られる。すなわち、一対の補正フィルター8aおよび9aの透過率分布を相補的に設定し且つ結像光学系10の瞳面10aを挟んで一対の補正フィルター8aおよび9aを等距離に設定することにより、被照射面での照度分布をほぼ均一に維持しつつ、被照射面上の各点での瞳輝度分布をそれぞれほぼ均一に調整することができる。また、一対の補正フィルター8aおよび9aの透過率分布を実質的に相補的でない関係に設定するか、あるいは結像光学系10の瞳面10aを挟んで一対の補正フィルター8aおよび9aを互いに異なる距離に設定することにより、被照射面での照度分布をほぼ均一に調整しつつ、被照射面上の各点での瞳輝度分布をそれぞれほぼ均一に調整することができる。また、入射位置に応じて透過率の異なる透過率分布を有する補正フィルターと、入射角度に応じて透過率の異なる透過率分布を有する補正フィルターとを組み合わせて用いることや、入射位置に応じて透過率の異なる透過率分布を有する補正フィルター対(8,9)と、入射角度に応じて透過率の異なる透過率分布を有する補正フィルター対(8a,9a)とを組み合わせて用いることもできる。
また、上述の説明では、一対の補正フィルター(8,9;8a,9a)に透過率分布を付与しているが、これに限定されることなく、入射位置に応じて反射率の異なる反射率分布を有する第1調整膜と第2調整膜とを用いることにより、あるいは入射角度に応じて反射率の異なる反射率分布を有する第1調整膜と第2調整膜とを用いることにより、上述の実施形態および上述の変形例と同様の効果が得られる。なお、入射位置または入射角度に応じて透過率分布を有する調整膜(補正フィルター)と、入射位置または入射角度に応じて反射率分布を有する調整膜とを組み合わせて用いてもよい。
また、上述の説明では、一対の補正フィルター(8,9;8a,9a)を用いることにより、換言すれば一対の調整膜を用いることにより、被照射面上の照度分布をほぼ均一に維持または調整しつつ被照射面上の各点での瞳輝度分布をそれぞれほぼ均一に調整している。しかしながら、これに限定されることなく、一般的には所定の透過率分布または反射率分布を有する複数の調整膜からなる調整手段を用いて、本発明の効果を得ることができる。すなわち、調整手段を構成する調整膜の数および配置について様々な変形例が可能である。
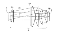
具体的に、たとえば図6に示すように、入射位置に応じて透過率の異なる透過率分布を有する3つの補正フィルター11a〜11cを用いる変形例も可能である。図6の変形例では、マイクロフライアイレンズ5とマスクブラインド7との間のコンデンサー光学系6の光路中に第1補正フィルター11aおよび第2補正フィルター11bが光源側から順に配置され、コンデンサー光学系6とマスクブラインド7との間の光路中に第3補正フィルター11cが配置されている。
この場合、図7に示すように、軸上光束(マスクブラインド7と光軸AXとの交点に達する光束)が補正フィルター11a〜11cをそれぞれ通過する領域すなわち軸上パーシャル領域11aa,11ba,11caが補正フィルター11a〜11c毎に異なっている。同様に、軸外光束(光軸AXから離れたマスクブラインド7上の点に達する光束)が補正フィルター11a〜11cをそれぞれ通過する領域すなわち軸外パーシャル領域11ab,11bb,11cbも補正フィルター11a〜11c毎に異なっている。
この変形例では、各補正フィルター11a〜11cの透過率分布、各補正フィルター11a〜11cにおける軸上パーシャル領域および軸外パーシャル領域の位置および大きさなどを適宜設定することにより、被照射面での照度分布をほぼ均一に調整しつつ、被照射面上の各点での瞳輝度分布をそれぞれほぼ均一に調整することができる。さらに一般的には、入射位置または入射角度に応じて透過率(または反射率)が変化する所定の透過率分布(または反射率分布)を有する複数の調整膜からなる調整手段を用いて、各調整膜の透過率分布(または反射率分布)、各調整膜における軸上パーシャル領域および軸外パーシャル領域の位置および大きさなどを適宜設定することにより、本発明の効果を得ることができる。
また、上述の説明では、平行平面板の形態を有する補正フィルターの光学平面上に所定の透過率分布(または反射率分布)を有する調整膜を形成しているが、これに限定されることなく、レンズや反射鏡の表面上に、すなわち凸状のレンズ面、凹状のレンズ面、凸状の反射面、凹状の反射面などの上に調整膜を形成することもできる。ただし、一般に、平面状の光学面を有する光学部材の光学平面上に調整膜を形成する方が製造容易であることはいうまでもない。
以下、光源1から投影光学系PLまでを被照射面としてのウェハWを照明する照明光学装置と考え、この照明光学装置(1〜PL)の調整方法について説明する。なお、本実施形態では、調整方法の説明を簡素化するために、所定の透過率分布を有する複数(2つまたはそれ以上)の補正フィルターを用いて、被照射面(ウェハWが設定される面)での照度分布をほぼ均一に調整しつつ、被照射面上の各点での瞳輝度分布をそれぞれほぼ均一に調整するものとする。
図8は、本実施形態にかかる照明光学装置の調整方法の各工程を概略的に示すフローチャートである。図8に示すように、本実施形態にかかる照明光学装置(1〜PL)の調整方法では、被照射面上の複数点に関する瞳輝度分布および被照射面における照度分布を得る(S11)。具体的に、分布獲得工程S11では、照明光学装置(1〜PL)の設計データに基づいて、被照射面上の複数点に関する瞳輝度分布および被照射面における照度分布を算出する。
ここで、照明光学装置(1〜PL)の設計データとして、たとえばマイクロフライアイレンズ5の直後からウェハWの直前までの光学系(6〜PL)のデータ、すなわち各光学面の曲率半径、各光学面の軸上間隔、各光学部材を形成する光学材料の屈折率および種類、使用光の波長、各光学部材の透過率、反射防止膜や反射膜の入射角度特性などのデータを用いる。なお、設計データに基づいて被照射面上の複数点に関する瞳輝度分布を算出する方法については、たとえば国際公開WO02/031570号パンフレットを参照することができる。また、設計データに基づいて被照射面における照度分布を算出する方法については良く知られおり、たとえば特開平3−216658号公報を参照することができる。
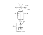
あるいは、分布獲得工程S11において、実際に製造された装置毎に被照射面上の複数点に関する瞳輝度分布および被照射面における照度分布を測定してもよい。具体的に、被照射面上の複数点に関する瞳輝度分布は、たとえば図9に示す分布計測装置20を用いて測定することができる。なお、分布計測装置20を用いる瞳輝度分布の測定は、ウェハWを光路から退避させた状態で行われる。分布計測装置20は、ピンホール部材20aと、集光レンズ20bと、たとえば二次元CCDのような光検出器20cとを有する。
ここで、ピンホール部材20aは、投影光学系PLの結像面位置(すなわち露光に際してウェハWの被露光面が位置決めされるべき高さ位置)に配置されている。そして、ピンホール部材20aは集光レンズ20bの前側焦点位置に配置され、光検出器20cは集光レンズ20bの後側焦点位置に配置されている。したがって、光検出器20cの検出面は、投影光学系PLの開口絞りASの位置と光学的に共役な位置に配置されている。分布計測装置20では、投影光学系PLを通過した光が、ピンホール部材20aのピンホールを通過し、集光レンズ20bの集光作用を受けた後、光検出器20cの検出面に達する。
こうして、光検出器20cの検出面には、開口絞りASの位置における光強度分布に対応する光強度分布が形成される。すなわち、分布計測装置20では、ピンホール部材20aのピンホールに達する光束が開口絞りASの位置(マイクロフライアイレンズ5の後側焦点面と光学的に共役な位置)に形成する光強度分布、すなわち被照射面上のピンホール点に関する瞳輝度分布が計測される。その結果、投影光学系PLの光軸AXと直交する面に沿ってウェハステージWSを二次元的に移動させてピンホール部材20aのピンホールの位置を二次元的に移動させつつ計測を繰り返すことにより、被照射面上の所望の複数点に関する瞳輝度分布を計測することができる。
また、被照射面における照度分布は、たとえば図10に示す照度測定装置25を用いて測定することができる。照度測定装置25を用いる照度分布の測定も、ウェハWを光路から退避させた状態で行われる。照度測定装置25は、投影光学系PLの結像面(すなわち被照射面)における照度分布を計測するための光検出器として、たとえばフォトダイオード25aを備えている。フォトダイオード25aの出力は信号処理部25bに接続されている。
照度測定装置25では、投影光学系PLの光軸AXと直交する面に沿ったウェハステージWSの二次元的な移動により、フォトダイオード25aを介して投影光学系PLの結像面上の各位置における照度分布データを順次計測する。なお、複数のフォトダイオード25aを二次元的に配置し、ウェハステージWSを移動させることなく、投影光学系PLの結像面における照度分布データを一括的に計測する構成を採用することもできる。また、複数のフォトダイオード25aをライン状に配置し、ウェハステージWSを一次元的に移動させることにより、投影光学系PLの結像面における照度分布データを走査計測する構成を採用することもできる。
次いで、本実施形態の調整方法では、設計データに基づく算出あるいは装置20および25を用いた測定により得られた被照射面上の複数点に関する瞳輝度分布および被照射面における照度分布がそれぞれ所望の程度にほぼ均一であるか否かを判定する(S12)。判定工程S12において、瞳輝度分布および照度分布のうちの少なくとも一方が所望の程度にほぼ均一でないと判定された場合(図中NOの場合)、補正フィルターの設計工程S13へ進む。一方、判定工程S12において、瞳輝度分布および照度分布の双方が所望の程度にほぼ均一であると判定された場合(図中YESの場合)、補正フィルターのドット濃密パターンの決定工程S15へ進む。
設計工程S13では、瞳輝度分布および照度分布の双方が所望の程度にほぼ均一になるように、被照射面上の複数点に関する瞳輝度分布をそれぞれ独立的に調整し且つ必要に応じて被照射面における照度分布を調整するために複数の調整膜にそれぞれ付与すべき所要の透過率分布を決定(算出)する。具体的には、算出または測定された瞳輝度分布および照度分布の情報を参照して使用する補正フィルターの数および位置を予め想定し、被照射面での照度分布をほぼ均一に維持または調整しつつ被照射面上の各点での瞳輝度分布をそれぞれほぼ均一に調整するために各補正フィルターに付与すべき透過率分布を求める。
次いで、設計工程S13で決定した透過率分布を付与した複数の補正フィルターをそれぞれ想定位置に配置した状態すなわち補正フィルターの搭載状態で、被照射面上の複数点に関する瞳輝度分布および被照射面における照度分布を算出する(S14)。具体的に、分布算出工程S14では、上述の設計データ情報に加えて各補正フィルターの透過率分布および位置に関する情報を参照して、瞳輝度分布および照度分布を算出する。
次いで、分布算出工程S14で算出された被照射面上の複数点に関する瞳輝度分布および被照射面における照度分布がそれぞれ所望の程度にほぼ均一であるか否かを判定する(S12)。判定工程S12において、瞳輝度分布および照度分布のうちの少なくとも一方が所望の程度にほぼ均一でないと判定された場合(図中NOの場合)、再び補正フィルターの設計工程S13へ進むことになる。一方、判定工程S12において、瞳輝度分布および照度分布の双方が所望の程度にほぼ均一であると判定された場合(図中YESの場合)、補正フィルターのドット濃密パターンの決定工程S15へ進む。
たとえば試行錯誤的に設計工程S13と分布算出工程S14とを繰り返して進んだパターン決定工程S15では、設計工程S13で算出された所要の透過率分布(各補正フィルターに付与すべき透過率分布)を実現するのに必要な遮光性ドットの濃密パターンを決定する。最後に、パターン決定工程S15で決定されたドット濃密パターンを有する複数の補正フィルターを製造し、製造された各補正フィルターを光学系中の所定の位置にそれぞれ組み込む(S16)。以上のように、パターン決定工程S15および製造搭載工程S16は、所要の透過率分布を有する複数の調整膜をそれぞれ形成して配置する調整工程を構成している。こうして、本実施形態の調整方法は終了する。
次に、本実施形態の変形例として、各補正フィルターに付与すべき所要の透過率分布を試行錯誤的ではなく簡易に且つ正確に求めることのできる調整方法を説明する。図11は、本実施形態の変形例にかかる調整方法の各工程を概略的に示すフローチャートである。図11に示す変形例の調整方法では、図8に示す調整方法と同様に、被照射面上の複数点に関する瞳輝度分布および被照射面における照度分布を得る(S21)。具体的に、分布獲得工程S21では、照明光学装置(1〜PL)の設計データに基づいて、被照射面上の複数点に関する瞳輝度分布および被照射面における照度分布を算出する。あるいは、上述の装置20および25を用いて、実際に製造された装置毎に被照射面上の複数点に関する瞳輝度分布および被照射面における照度分布を測定する。
次いで、図8に示す調整方法と同様に、設計データに基づく算出あるいは装置20および25を用いた測定により得られた被照射面上の複数点に関する瞳輝度分布および被照射面における照度分布がそれぞれ所望の程度にほぼ均一であるか否かを判定する(S22)。判定工程S22において、瞳輝度分布および照度分布のうちの少なくとも一方が所望の程度にほぼ均一でないと判定された場合(図中NOの場合)、瞳輝度分布の近似工程S23へ進む。一方、判定工程S22において、瞳輝度分布および照度分布の双方が所望の程度にほぼ均一であると判定された場合(図中YESの場合)、補正フィルターのドット濃密パターンの決定工程S27へ進む。
瞳輝度分布の近似工程S23では、分布獲得工程S21で得られた被照射面上の各点に関する瞳輝度分布を照明瞳面における瞳座標の関数としての所定の多項式で近似する。具体的には、たとえば座標系として照明瞳面における瞳極座標(ρ,θ)を用いるツェルニケの円筒関数Zi(ρ,θ)を含むツェルニケ多項式で、投影光学系PLの像面(被照射面)上の各点に関する瞳輝度分布をそれぞれフィッティング(近似)する。ここで、投影光学系PLの像面座標と瞳座標との関係、すなわち像面直交座標(y,z)と瞳直交座標(ξ,η)と像面極座標(h,α)と瞳極座標(ρ,θ)との関係は、図12に概略的に示す通りである。ここで、hおよびρは規格化半怪であり、αおよびθは極座標の動径角である。
瞳輝度分布I(ρ,θ)は、投影光学系PLの像面上の各点について、ツェルニケの円筒関数Zi(ρ,θ)を用いて、次の式(1)に示すように展開される。
I(ρ,θ)=ΣCi・Zi(ρ,θ)
=C1・Z1(ρ,θ)+C2・Z2(ρ,θ)
・・・+Cn・Zn(ρ,θ) (1)
ここで、Ciは、ツェルニケ多項式の各項の係数である。以下、ツェルニケ多項式の各項の関数系Zi(ρ,θ)のうち、第1項〜第36項にかかる関数Z1〜Z36を、次の表(1)に示す。
表(1)
Z1: 1
Z2: ρcosθ
Z3: ρsinθ
Z4: 2ρ2−1
Z5: ρ2cos2θ
Z6: ρ2sin2θ
Z7: (3ρ2−2)ρcosθ
Z8: (3ρ2−2)ρsinθ
Z9: 6ρ4−6ρ2+1
Z10: ρ3cos3θ
Z11: ρ3sin3θ
Z12: (4ρ2−3)ρ2cos2θ
Z13: (4ρ2−3)ρ2sin2θ
Z14: (10ρ4−12ρ2+3)ρcosθ
Z15: (10ρ4−12ρ2+3)ρsinθ
Z16: 20ρ6−30ρ4+12ρ2−1
Z17: ρ4cos4θ
Z18: ρ4sin4θ
Z19: (5ρ2−4)ρ3cos3θ
Z20: (5ρ2−4)ρ3sin3θ
Z21: (15ρ4−20ρ2+6)ρ2cos2θ
Z22: (15ρ4−20ρ2+6)ρ2sin2θ
Z23: (35ρ6−60ρ4+30ρ2−4)ρcosθ
Z24: (35ρ6−60ρ4+30ρ2−4)ρsinθ
Z25: 70ρ8−140ρ6+90ρ4−20ρ2+1
Z26: ρ5cos5θ
Z27: ρ5sin5θ
Z28: (6ρ2−5)ρ4cos4θ
Z29: (6ρ2−5)ρ4sin4θ
Z30: (21ρ4−30ρ2+10)ρ3cos3θ
Z31: (21ρ4−30ρ2+10)ρ3sin3θ
Z32: (56ρ6−104ρ4+60ρ2−10)ρ2cos2θ
Z33: (56ρ6−104ρ4+60ρ2−10)ρ2sin2θ
Z34: (126ρ8−280ρ6+210ρ4−60ρ2+5)ρcosθ
Z35: (126ρ8−280ρ6+210ρ4−60ρ2+5)ρsinθ
Z36: 252ρ10−630ρ8+560ρ6−210ρ4+30ρ2−1
したがって、近似工程S23では、被照射面(投影光学系PLの像面)上の複数点について得られた瞳輝度分布をツェルニケ多項式でフィッティングし、各項のツェルニケ係数Ciを各点について算出する。なお、瞳輝度分布(瞳透過率分布)のツェルニケ多項式によるフィッティング手法については、前述の国際公開WO02/031570号パンフレットや特開2004−126010号公報を参照することができる。
次いで、本変形例の調整方法では、近似工程S23で得られたツェルニケ多項式における各項の係数Ciに基づいて、各点に関する瞳輝度分布を像面極座標(h,α)および瞳極座標(ρ,θ)の関数としての瞳輝度分布多項式により評価する(S24)。具体的に、評価工程S24では、各点に関する瞳輝度分布を像面極座標(h,α)および瞳極座標(ρ,θ)の関数として表す瞳輝度分布多項式を設定する。なお、瞳輝度分布多項式の設定については、特開2003−257812号公報や特願2004−149698号明細書および図面を参照することができる。
上述の公報などでは、投影光学系の波面収差を像面極座標(h,α)および瞳極座標(ρ,θ)の関数として表す収差多項式を設定しているが、同様の手法により瞳輝度分布多項式を設定することができることは明らかである。こうして、評価工程S24では、近似工程(S23)で得られたツェルニケ多項式における各項のツェルニケ係数Ciに基づいて、瞳輝度分布多項式における各項の係数を決定し、ひいては各点に関する瞳輝度分布を瞳輝度分布多項式により表して評価する。
具体的には、上述の公報などに開示されているように、たとえば特定項のツェルニケ関数Ziに着目し、対応するツェルニケ係数Ciの像面内分布(各点における係数Ciの分布)に基づいて、瞳輝度分布多項式における特定項の係数を例えば最小二乗法を用いて決定する。さらに、他の特定項のツェルニケ関数Ziに着目し、対応するツェルニケ係数Ciの像面内分布に基づいて、瞳輝度分布多項式における他の項の係数を例えば最小二乗法を用いて順次決定する。
こうして、評価工程S24では、瞳輝度分布の瞳内分布および像面内分布を同時に表現する瞳輝度分布多項式が最終的に得られる。このように、瞳輝度分布の瞳内分布および像面内分布を同時に表現する瞳輝度分布多項式を用いることにより、瞳輝度分布を解析的に分解することが可能になり、コンピュータを使って試行錯誤的に数値最適化を行う手法に比して、光学調整解を迅速に且つ正確に算出することが可能になる。つまり、瞳輝度分布多項式により瞳輝度分布状況の特徴を把握し易くなるので、光学調整の見通しが立て易くなる。
次いで、補正フィルターの設計工程S25では、瞳輝度分布および照度分布の双方が所望の程度にほぼ均一になるように、被照射面上の複数点に関する瞳輝度分布をそれぞれ独立的に調整し且つ必要に応じて被照射面における照度分布を調整するために複数の調整膜にそれぞれ付与すべき所要の透過率分布を決定(算出)する。具体的には、まず必要に応じて、分布獲得工程S21で得られた被照射面における照度分布を像面極座標(h,α)の関数としてのツェルニケ多項式により近似しておく。
また、各補正フィルターに付与すべき透過率分布を、たとえば調整膜としての光学面における極座標を用いたツェルニケ多項式により表現する。そして、各補正フィルターの透過率分布を表すツェルニケ多項式の各項の係数と被照射面上の各点に関する瞳輝度分布の変化との関係を表す第1テーブルT21、および各補正フィルターの透過率分布を表すツェルニケ多項式の各項の係数と被照射面における照度分布の変化との関係を表す第2テーブルT22を準備する。
こうして、設計工程S25では、評価工程S24で得られた瞳輝度分布に関する評価結果(具体的には瞳輝度分布の瞳内分布および像面内分布を同時に表現する瞳輝度分布多項式)、必要に応じてツェルニケ多項式により近似された照度分布情報、第1テーブルT21における各補正フィルターの透過率分布と瞳輝度分布の変化との相関関係、および第2テーブルT22における各補正フィルターの透過率分布と照度分布の変化との相関関係を参照した線形結合による最適化手法に基づいて、被照射面での照度分布をほぼ均一に維持または調整しつつ被照射面上の各点での瞳輝度分布をそれぞれほぼ均一に調整するために各補正フィルターに付与すべき透過率分布を求める。
次いで、設計工程S25で決定した透過率分布を付与した複数の補正フィルターをそれぞれ想定位置に配置した状態すなわち補正フィルターの搭載状態で、被照射面上の複数点に関する瞳輝度分布および被照射面における照度分布を算出する(S26)。さらに、分布算出工程S26で算出された被照射面上の複数点に関する瞳輝度分布および被照射面における照度分布がそれぞれ所望の程度にほぼ均一であるか否かを判定する(S22)。線形結合による最適化手法を用いて所要の透過率分布が試行錯誤的ではなく簡易に且つ正確に求められているので、判定工程S22において瞳輝度分布および照度分布の双方が所望の程度にほぼ均一であると判定され、補正フィルターのドット濃密パターンの決定工程S27へ進むことになる。
パターン決定工程S27では、設計工程S25で算出された所要の透過率分布(各補正フィルターに付与すべき透過率分布)を実現するのに必要な遮光性ドットの濃密パターンを決定する。最後に、パターン決定工程S27で決定されたドット濃密パターンを有する複数の補正フィルターを製造し、製造された各補正フィルターを光学系中の所定の位置にそれぞれ組み込む(S28)。こうして、変形例の調整方法は終了する。
上述の実施形態にかかる露光装置では、照明光学装置によってマスク(レチクル)を照明し(照明工程)、投影光学系を用いてマスクに形成された転写用のパターンを感光性基板に露光する(露光工程)ことにより、マイクロデバイス(半導体素子、撮像素子、液晶表示素子、薄膜磁気ヘッド等)を製造することができる。以下、上述の実施形態の露光装置を用いて感光性基板としてのウェハ等に所定の回路パターンを形成することによって、マイクロデバイスとしての半導体デバイスを得る際の手法の一例につき図13のフローチャートを参照して説明する。
先ず、図13のステップ301において、1ロットのウェハ上に金属膜が蒸着される。次のステップ302において、その1ロットのウェハ上の金属膜上にフォトレジストが塗布される。その後、ステップ303において、上述の実施形態の露光装置を用いて、マスク上のパターンの像がその投影光学系を介して、その1ロットのウェハ上の各ショット領域に順次露光転写される。その後、ステップ304において、その1ロットのウェハ上のフォトレジストの現像が行われた後、ステップ305において、その1ロットのウェハ上でレジストパターンをマスクとしてエッチングを行うことによって、マスク上のパターンに対応する回路パターンが、各ウェハ上の各ショット領域に形成される。その後、更に上のレイヤの回路パターンの形成等を行うことによって、半導体素子等のデバイスが製造される。上述の半導体デバイス製造方法によれば、極めて微細な回路パターンを有する半導体デバイスをスループット良く得ることができる。
また、上述の実施形態の露光装置では、プレート(ガラス基板)上に所定のパターン(回路パターン、電極パターン等)を形成することによって、マイクロデバイスとしての液晶表示素子を得ることもできる。以下、図14のフローチャートを参照して、このときの手法の一例につき説明する。図14において、パターン形成工程401では、上述の実施形態の露光装置を用いてマスクのパターンを感光性基板(レジストが塗布されたガラス基板等)に転写露光する、所謂光リソグラフィー工程が実行される。この光リソグラフィー工程によって、感光性基板上には多数の電極等を含む所定パターンが形成される。その後、露光された基板は、現像工程、エッチング工程、レジスト剥離工程等の各工程を経ることによって、基板上に所定のパターンが形成され、次のカラーフィルター形成工程402へ移行する。
次に、カラーフィルター形成工程402では、R(Red)、G(Green)、B(Blue)に対応した3つのドットの組がマトリックス状に多数配列されたり、またはR、G、Bの3本のストライプのフィルターの組を複数水平走査線方向に配列したカラーフィルターを形成する。そして、カラーフィルター形成工程402の後に、セル組み立て工程403が実行される。セル組み立て工程403では、パターン形成工程401にて得られた所定パターンを有する基板、およびカラーフィルター形成工程402にて得られたカラーフィルター等を用いて液晶パネル(液晶セル)を組み立てる。
セル組み立て工程403では、例えば、パターン形成工程401にて得られた所定パターンを有する基板とカラーフィルター形成工程402にて得られたカラーフィルターとの間に液晶を注入して、液晶パネル(液晶セル)を製造する。その後、モジュール組み立て工程404にて、組み立てられた液晶パネル(液晶セル)の表示動作を行わせる電気回路、バックライト等の各部品を取り付けて液晶表示素子として完成させる。上述の液晶表示素子の製造方法によれば、極めて微細な回路パターンを有する液晶表示素子をスループット良く得ることができる。
なお、上述の実施形態では、露光光としてKrFエキシマレーザ光(波長:248nm)やArFエキシマレーザ光(波長:193nm)を用いているが、これに限定されることなく、他の適当なレーザ光源、たとえば波長157nmのレーザ光を供給するF2レーザ光源などに対して本発明を適用することもできる。さらに、上述の実施形態では、照明光学装置を備えた露光装置を例にとって本発明を説明したが、マスクやウェハ以外の被照射面を照明するための一般的な照明光学装置に本発明を適用することができることは明らかである。
また、上述の実施形態において、投影光学系と感光性基板との間の光路中を1.1よりも大きな屈折率を有する媒体(典型的には液体)で満たす手法、所謂液浸法を適用しても良い。この場合、投影光学系と感光性基板との間の光路中に液体を満たす手法としては、国際公開番号WO99/49504号公報に開示されているような局所的に液体を満たす手法や、特開平6−124873号公報に開示されているような露光対象の基板を保持したステージを液槽の中で移動させる手法や、特開平10−303114号公報に開示されているようなステージ上に所定深さの液体槽を形成し、その中に基板を保持する手法などを採用することができる。
なお、液体としては、露光光に対する透過性があってできるだけ屈折率が高く、投影光学系や基板表面に塗布されているフォトレジストに対して安定なものを用いることが好ましく、たとえばKrFエキシマレーザ光やArFエキシマレーザ光を露光光とする場合には、液体として純水、脱イオン水を用いることができる。また、露光光としてF2レーザ光を用いる場合は、液体としてはF2レーザ光を透過可能な例えばフッ素系オイルや過フッ化ポリエーテル(PFPE)等のフッ素系の液体を用いればよい。
1 光源
3 回折光学素子
4 ズームレンズ
5 マイクロフライアイレンズ(フライアイレンズ)
6 コンデンサー光学系
7 マスクブラインド
8,8a,9,9a 補正フィルター
10 結像光学系
20 分布計測装置
25 照度測定装置
M マスク
MS マスクステージ
PL 投影光学系
W ウェハ
WS ウェハステージ

Claims (30)

  1. 光源からの光束に基づいて照明瞳面に所定の輝度分布を有する瞳輝度分布を形成し、該瞳輝度分布からの光束で被照射面を照明する照明光学装置の調整方法において、
    前記被照射面上における第1の点に達する第1光束に関する瞳輝度分布を得る第1瞳輝度分布獲得工程と、
    前記被照射面上における前記第1の点とは異なる第2の点に達する第2光束に関する瞳輝度分布を得る第2瞳輝度分布獲得工程と、
    前記第1および第2の点に関する瞳輝度分布をそれぞれ独立に調整するために、前記照明光学装置の光路中の複数の位置での所要の透過率分布または反射率分布を決定する分布決定工程と、
    前記所要の透過率分布または反射率分布を有する複数の調整膜をそれぞれ形成して前記複数の位置に配置する調整工程とを含むことを特徴とする調整方法。
  2. 前記被照射面における照度分布を得る照度分布獲得工程をさらに含み、
    前記分布決定工程では、前記照度分布を調整するために、前記照明光学装置の光路中の前記第1及び第2の位置での所要の透過率分布または反射率分布を算出することを特徴とする請求項1に記載の調整方法。
  3. 前記照度分布獲得工程では、前記照明光学装置の設計データに基づいて前記被照射面における照度分布を算出することを特徴とする請求項2に記載の調整方法。
  4. 前記照度分布獲得工程では、前記被照射面における照度分布を測定することを特徴とする請求項2に記載の調整方法。
  5. 前記瞳分布獲得工程では、前記照明光学装置の設計データに基づいて前記被照射面上の前記第1及び第2の点に関する瞳輝度分布を算出することを特徴とする請求項1乃至4のいずれか1項に記載の調整方法。
  6. 前記瞳分布獲得工程では、前記被照射面上の前記第1及び第2の点に関する瞳輝度分布を測定することを特徴とする請求項1乃至4のいずれか1項に記載の調整方法。
  7. 光源からの光束に基づいて照明瞳面に所定の輝度分布を有する瞳輝度分布を形成し、該瞳輝度分布からの光束で被照射面を照明する照明光学装置の調整方法において、
    前記被照射面上における第1の点に達する第1光束に関する瞳輝度分布を得る第1瞳輝度分布獲得工程と、
    前記被照射面上における前記第1の点とは異なる第2の点に達する第2光束に関する瞳輝度分布を得る第2瞳輝度分布獲得工程と、
    前記第1および第2の点に関する瞳輝度分布をそれぞれ独立に調整するために、前記照明光学装置の光路中の複数の位置での所要の透過率分布または反射率分布を決定する分布決定工程と、
    前記所要の透過率分布または反射率分布を有する複数の調整膜をそれぞれ形成して前記複数の位置に配置する調整工程とを含み、
    前記調整工程では、前記複数の調整膜の間の距離を決定することを特徴とする調整方法。
  8. 前記被照射面における照度分布を得る照度分布獲得工程をさらに含み、
    前記分布決定工程では、前記照度分布を調整するために、前記照明光学装置の光路中の前記第1及び第2の位置での所要の透過率分布または反射率分布を算出することを特徴とする請求項7に記載の調整方法。
  9. 前記照度分布獲得工程では、前記照明光学装置の設計データに基づいて前記被照射面における照度分布を算出することを特徴とする請求項8に記載の調整方法。
  10. 前記照度分布獲得工程では、前記被照射面における照度分布を測定することを特徴とする請求項8に記載の調整方法。
  11. 前記瞳分布獲得工程では、前記照明光学装置の設計データに基づいて前記被照射面上の前記第1及び第2の点に関する瞳輝度分布を算出することを特徴とする請求項7乃至10のいずれか1項に記載の調整方法。
  12. 前記瞳分布獲得工程では、前記被照射面上の前記第1及び第2の点に関する瞳輝度分布を測定することを特徴とする請求項7乃至10のいずれか1項に記載の調整方法。
  13. 前記調整工程は、入射位置に応じて透過率または反射率の異なる第1透過率分布または第1反射率分布を有する第1調整膜を準備する工程と、前記第1透過率分布または前記第1反射率分布に対してほぼ相補的な第2透過率分布または第2反射率分布を有する第2調整膜を準備する工程とを特徴とする請求項7乃至12のいずれか1項に記載の調整方法。
  14. 前記調整工程では、前記第1調整膜を前記被照射面と光学的に共役な共役面よりも光源側に配置し、前記第2調整膜を前記共役面よりも被照射面側に配置することを特徴とする請求項13に記載の調整方法。
  15. 前記調整工程では、前記第1調整膜と前記共役面との距離を、前記策2調整膜と前記共役面との距離とほぼ等しく設定することを特徴とする請求項14に記載の調整方法。
  16. 前記調整工程では、前記第1調整膜と前記共役面との第1距離を、前記第2調整膜と前記共役面との第2距離と実質的に異なるように設定することを特徴とする請求項14に記載の調整方法。
  17. 前記調整工程では、入射位置に応じて透過率または反射率の異なる第1透過率分布または第1反射率分布を有する第1調整膜を準備する工程と、前記第1透過率分布または前記第1反射率分布に対して相補的な透過率分布または反射率分布とは実質的に異なる第2透過率分布または第2反射率分布を有する第2調整膜を準備する工程とを有することを特徴とする請求項7乃至12のいずれか1項に記載の調整方法。
  18. 前記調整工程では、前記第1調整膜を前記被照射面と光学的に共役な共役面よりも光源側に配置し、前記第2調整膜を前記共役面よりも被照射面側に配置することを特徴とする請求項17に記載の調整方法。
  19. 前記調整工程は、前記相補的な透過率分布または反射率分布と前記第2透過率分布または前記第2反射率分布との差に応じて前記被照射面における照度分布を調整することを特徴とする請求項17または18に記載の調整方法。
  20. 前記調整工程では、入射角度に応じて透過率または反射率の異なる第1透過率分布または第1反射率分布を有する第1調整膜を準備する工程と、前記第1透過率分布または前記第1反射率分布に対してほぼ相補的な第2透過率分布または第2反射率分布を有する第2調整膜を準備する工程とを有することを特徴とする請求項7乃至12のいずれか1項に記載の調整方法。
  21. 前記調整工程では、前記第1調整膜を前記照明瞳面と光学的に共役な共役面よりも光源側に配置し、前記第2調整膜を前記共役面よりも被照射面側に配置することを特徴とする請求項20に記載の調整方法。
  22. 前記第1調整膜と前記共役面との距離は、前記第2調整膜と前記共役面との距離とほぼ等しいことを特徴とする請求項21に記載の調整方法。
  23. 前記第1調整膜と前記共役面との第1距離は、前記第2調整膜と前記共役面との第2距離と実質的に異なることを特徴とする請求項21に記載の調整方法
  24. 前記調整工程では、入射角度に応じて透過率または反射率の異なる第1透過率分布または第1反射率分布を有する第1調整膜を準備する工程と、前記第1透過率分布または前記第1反射率分布に対して相補的な透過率分布または反射率分布とは実質的に異なる第2透過率分布または第2反射率分布を有する第2調整膜を準備する工程とを有することを特徴とする請求項7乃至12のいずれか1項に記載の調整方法
  25. 前記調整工程では、前記第1調整膜を前記照明瞳面と光学的に共役な共役面よりも光源側に配置し、前記第2調整膜を前記共役面よりも被照射面側に配置することを特徴とする請求項24に記載の調整方法
  26. 前記調整工程は、前記相補的な透過率分布または反射率分布と前記第2透過率分布または前記第2反射率分布との差に応じて前記被照射面における照度分布を調整することを特徴とする請求項24または25に記載の調整方法
  27. 前記複数の位置は、前記照明光学装置の光軸方向で異なる位置であることを特徴とする請求項1乃至26のいずれか1項に記載の調整方法
  28. 請求項1乃至27のいずれか1項に記載の調整方法により調整された照明光学装置を用いてマスクを照明する照明工程と、前記マスクのパターンを感光性基板上に露光する露光工程とを含むことを特徴とする露光方法。
  29. 前記露光工程は、前記マスクのパターン像を前記感光性基板上に形成する投影工程をさらに備え、
    前記被照射面は前記パターン像が形成される面であることを特徴とする請求項28に記載の露光方法。
  30. 前記マスクのパターン面は前記被照射面上に位置することを特徴とする請求項29に記載の露光方法。
JP2010155578A 2010-07-08 2010-07-08 照明光学装置の調整方法、および露光方法 Expired - Fee Related JP4993003B2 (ja)

Priority Applications (1)

Application Number Priority Date Filing Date Title
JP2010155578A JP4993003B2 (ja) 2010-07-08 2010-07-08 照明光学装置の調整方法、および露光方法

Applications Claiming Priority (1)

Application Number Priority Date Filing Date Title
JP2010155578A JP4993003B2 (ja) 2010-07-08 2010-07-08 照明光学装置の調整方法、および露光方法

Related Parent Applications (1)

Application Number Title Priority Date Filing Date
JP2004236913A Division JP4599936B2 (ja) 2004-08-17 2004-08-17 照明光学装置、照明光学装置の調整方法、露光装置、および露光方法

Related Child Applications (1)

Application Number Title Priority Date Filing Date
JP2011130751A Division JP2011187989A (ja) 2011-06-11 2011-06-11 照明光学装置、照明光学装置の調整方法、露光装置、および露光方法

Publications (2)

Publication Number Publication Date
JP2010232688A JP2010232688A (ja) 2010-10-14
JP4993003B2 true JP4993003B2 (ja) 2012-08-08

Family

ID=43048151

Family Applications (1)

Application Number Title Priority Date Filing Date
JP2010155578A Expired - Fee Related JP4993003B2 (ja) 2010-07-08 2010-07-08 照明光学装置の調整方法、および露光方法

Country Status (1)

Country Link
JP (1) JP4993003B2 (ja)

Families Citing this family (1)

* Cited by examiner, † Cited by third party
Publication number Priority date Publication date Assignee Title
CN111610197B (zh) * 2020-06-01 2023-09-12 上海御微半导体技术有限公司 一种缺陷检测装置及缺陷检测方法

Family Cites Families (4)

* Cited by examiner, † Cited by third party
Publication number Priority date Publication date Assignee Title
JP3232473B2 (ja) * 1996-01-10 2001-11-26 キヤノン株式会社 投影露光装置及びそれを用いたデバイスの製造方法
JP2002100561A (ja) * 2000-07-19 2002-04-05 Nikon Corp 露光方法及び装置、並びにデバイス製造方法
WO2003023832A1 (en) * 2001-09-07 2003-03-20 Nikon Corporation Exposure method and system, and device production method
JP4923370B2 (ja) * 2001-09-18 2012-04-25 株式会社ニコン 照明光学系、露光装置、及びマイクロデバイスの製造方法

Also Published As

Publication number Publication date
JP2010232688A (ja) 2010-10-14

Similar Documents

Publication Publication Date Title
JP4599936B2 (ja) 照明光学装置、照明光学装置の調整方法、露光装置、および露光方法
US8520291B2 (en) Illumination optical system, exposure apparatus, and device manufacturing method
JP5428250B2 (ja) 照明光学系、露光装置、光学素子およびその製造方法、並びにデバイス製造方法
JP4207478B2 (ja) オプティカルインテグレータ、照明光学装置、露光装置および露光方法
JP4366948B2 (ja) 照明光学装置、露光装置および露光方法
JP5473350B2 (ja) 照明光学系、露光装置及びデバイスの製造方法
JP2004198748A (ja) オプティカルインテグレータ、照明光学装置、露光装置および露光方法
JP4599632B2 (ja) 照度分布の評価方法、光学部材の製造方法、照度測定装置、露光装置および露光方法
JP4993003B2 (ja) 照明光学装置の調整方法、および露光方法
JP2011187989A (ja) 照明光学装置、照明光学装置の調整方法、露光装置、および露光方法
JP2006245085A (ja) 投影光学系、投影光学系の調整方法、露光装置、および露光方法
US7242457B2 (en) Exposure apparatus and exposure method, and device manufacturing method using the same
JP2004311742A (ja) 光学系の調整方法、照明光学装置、露光装置、および露光方法
JP2002208549A (ja) 露光装置の調整方法およびマイクロデバイスの製造方法
JP2005322855A (ja) 光強度分布の評価方法、調整方法、照明光学装置、露光装置、および露光方法
HK1106064B (en) Lighting optical device, regulation method for lighting optical device, exposure system, and exposure method
JP2007287885A (ja) 照明光学装置、露光装置、およびデバイス製造方法
JP2007132981A (ja) 対物光学系、収差測定装置、および露光装置
HK1105245A (en) Lighting optical device, regulation method for lighting optical device, exposure system, and exposure method
HK1143210B (en) Illumination optical system, exposure apparatus, optical element and manufacturing method thereof, and device manufacturing method

Legal Events

Date Code Title Description
A621 Written request for application examination

Free format text: JAPANESE INTERMEDIATE CODE: A621

Effective date: 20100709

A131 Notification of reasons for refusal

Free format text: JAPANESE INTERMEDIATE CODE: A131

Effective date: 20111110

A521 Written amendment

Free format text: JAPANESE INTERMEDIATE CODE: A523

Effective date: 20111228

TRDD Decision of grant or rejection written
A01 Written decision to grant a patent or to grant a registration (utility model)

Free format text: JAPANESE INTERMEDIATE CODE: A01

Effective date: 20120410

A01 Written decision to grant a patent or to grant a registration (utility model)

Free format text: JAPANESE INTERMEDIATE CODE: A01

A61 First payment of annual fees (during grant procedure)

Free format text: JAPANESE INTERMEDIATE CODE: A61

Effective date: 20120423

FPAY Renewal fee payment (event date is renewal date of database)

Free format text: PAYMENT UNTIL: 20150518

Year of fee payment: 3

R150 Certificate of patent or registration of utility model

Free format text: JAPANESE INTERMEDIATE CODE: R150

Ref document number: 4993003

Country of ref document: JP

Free format text: JAPANESE INTERMEDIATE CODE: R150

FPAY Renewal fee payment (event date is renewal date of database)

Free format text: PAYMENT UNTIL: 20150518

Year of fee payment: 3

R250 Receipt of annual fees

Free format text: JAPANESE INTERMEDIATE CODE: R250

R250 Receipt of annual fees

Free format text: JAPANESE INTERMEDIATE CODE: R250

R250 Receipt of annual fees

Free format text: JAPANESE INTERMEDIATE CODE: R250

R250 Receipt of annual fees

Free format text: JAPANESE INTERMEDIATE CODE: R250

R250 Receipt of annual fees

Free format text: JAPANESE INTERMEDIATE CODE: R250

R250 Receipt of annual fees

Free format text: JAPANESE INTERMEDIATE CODE: R250

LAPS Cancellation because of no payment of annual fees