JP4984809B2 - 電子部品パッケージ - Google Patents

電子部品パッケージ Download PDF

Info

Publication number
JP4984809B2
JP4984809B2 JP2006278721A JP2006278721A JP4984809B2 JP 4984809 B2 JP4984809 B2 JP 4984809B2 JP 2006278721 A JP2006278721 A JP 2006278721A JP 2006278721 A JP2006278721 A JP 2006278721A JP 4984809 B2 JP4984809 B2 JP 4984809B2
Authority
JP
Japan
Prior art keywords
electrode
component
electronic component
cover
substrate
Prior art date
Legal status (The legal status is an assumption and is not a legal conclusion. Google has not performed a legal analysis and makes no representation as to the accuracy of the status listed.)
Active
Application number
JP2006278721A
Other languages
English (en)
Other versions
JP2007195145A (ja
Inventor
敦 鷹野
光弘 古川
Current Assignee (The listed assignees may be inaccurate. Google has not performed a legal analysis and makes no representation or warranty as to the accuracy of the list.)
Panasonic Corp
Panasonic Holdings Corp
Original Assignee
Panasonic Corp
Matsushita Electric Industrial Co Ltd
Priority date (The priority date is an assumption and is not a legal conclusion. Google has not performed a legal analysis and makes no representation as to the accuracy of the date listed.)
Filing date
Publication date
Application filed by Panasonic Corp, Matsushita Electric Industrial Co Ltd filed Critical Panasonic Corp
Priority to JP2006278721A priority Critical patent/JP4984809B2/ja
Publication of JP2007195145A publication Critical patent/JP2007195145A/ja
Application granted granted Critical
Publication of JP4984809B2 publication Critical patent/JP4984809B2/ja
Active legal-status Critical Current
Anticipated expiration legal-status Critical

Links

Images

Landscapes

  • Surface Acoustic Wave Elements And Circuit Networks Thereof (AREA)

Description

本発明は電子部品パッケージに関するものである。
従来の電子部品パッケージの一例である、表面弾性波(以下SAWという。)装置のパッケージは、図12に示すように、部品基板101と、この部品基板101の下面に形成したIDT電極102と、IDT電極102と対向する部分にキャビティ103を有する部品カバー104と、この部品カバー104と実装基板105とを接合する外部電極106とを有する。なお、この出願の発明に関連する先行技術文献情報としては、例えば特許文献1および2が知られている。
特開2003−110391号公報 特開2001−244785号公報
しかしながら、前記従来の電子部品パッケージでは、圧力衝撃に耐え切れないという問題があった。
それは、部品カバー104には、この部品カバー104と複数のIDT(Interdigital Transducer)電極102とが接触しないように、一つの空間としてキャビティ103が設けられており、このキャビティ103がある部分は部品カバー104が非常に薄くなっているため、このSAW装置を実装基板105上に実装してモールド樹脂で被覆する場合、部品カバー104と実装基板105との間に入り込んだモールド樹脂の圧力が非常に大きいことに起因し、部品カバー104が損傷してしまうのであった。
そこで本発明は、電子部品パッケージの外圧に対する強度を上げ、損傷を防止することを目的としたものである。
そしてこの目的を達成するために、本発明は、表面に実装電極を有する実装基板と、前記実装電極を介して前記実装基板上に実装された電子部品と、この電子部品を前記実装基板上において被覆したモールド樹脂とを備え、前記電子部品は、部品基板と、この部品基板の下面に配置された素子と、前記部品基板の下面側を覆い前記素子部にキャビティを形成する部品カバーとを有し、前記部品カバーの下面における前記キャビティの下方部に、電気信号を伝達する回路電極に電気的に直接接続されていないダミー電極を設け、このダミー電極と前記実装電極とを前記モールド樹脂とは異なる部材により接合したものである。
上記構成によれば、部品カバーに凹部が設けられて厚みが薄くなっていても、キャビティの下方にはグランド電極またはダミー電極があり、実装基板と部品カバーとの間の支柱となるため、外力に対する強度が増す。また、部品カバーと実装基板の間の空間が小さくなるため、モールド樹脂が入り込みにくくなり、モールド樹脂を充填する時の下から印加される圧力を抑制することができる。
したがって、電子部品パッケージの損傷を防止することができる。
以下本発明を実施するための最良の形態について、図面を参照しながら説明する。この一実施の形態では、電子部品パッケージについて、電子部品としてアンテナ共用器用弾性波装置(以下SAWデュプレクサ3という。)を例に挙げて説明する。
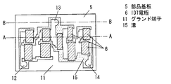
図1はSAWデュプレクサ3や他の電子部品3a〜3cを実装基板1上に配置し、モールド樹脂4で被覆した電子部品パッケージの斜視図である。SAWデュプレクサ3は図2(a)、(b)に示すごとく、この実装基板1上に配置された外部電極(特に図示せず)に対応する電極2およびグランド電極9を介して実装基板1上に実装され、モールド樹脂4で被覆されている。
またSAWデュプレクサ3は、部品基板5と、この部品基板5の下面に配置されている複数のフィルタ素子としてのIDT電極6と、部品基板5の下面側を覆い、かつIDT電極6と向かい合う部分に凹部7を有する部品カバー8とを備えている。
以下に図1から図7を用いてこの一実施の形態における電子部品パッケージの製造方法を説明する。
はじめに、図3に示すように、部品基板5の下面に、IDT電極6等を形成する。部品基板5はLiTaO3あるいはLiNbO3、またIDT電極6はアルミ等の金属材料からそれぞれ形成する。そして、これにより、図8のSAWデュプレクサ3の回路図に示したグランド端子11、受信端子12、アンテナ端子13、送信端子14が形成される。なお、IDT電極6の両端部には、短絡電極を平行に配置した反射器を配置するのが一般的であるが、簡略化した。
一方、IDT電極6を酸化や湿気による腐食から守るため、部品基板5の下面側にはシリコン製の部品カバー8を設ける。図4は部品カバー8を下から見た図である。部品カバー8には、IDT電極6と向かい合う部分に凹部7を形成する。この凹部7によって、部品カバー8とIDT電極6との間に図2に示すキャビティ10を設けることができ、IDT電極6が部品カバー8と接触するのを回避することができる。なお、本一実施の形態では、従来例のように全てのIDT電極6を一つのキャビティ10に収めるのではなく、一つ或いは隣接する二つのIDT電極6毎にキャビティ10を設けたことによって、部品カバー8が薄くなる部分の面積を小さくすることができ、その結果として外圧に対する強度を上げることができた。なお、この外圧に対する強度はキャビティ10を小さくするほど向上するため、各IDT電極6に設けてもよい。また、この部品カバー8には、電極2およびグランド電極9と部品基板5とを接続するための貫通孔16を形成する。この貫通孔16および凹部7はドライエッチング加工で形成することができる。
次に、以下に示すように部品基板5に部品カバー8を接着する。接着する工程は、図3、図4、図5で示し、接着後の図2(b)におけるA−A断面は図2(a)、図7におけるB−B断面は図6に示す。
まず、図3で示す部品基板5の下面(IDT電極6が実装されている面)側に感光性樹脂を塗布し、次に図5で示すようなマスク17をのせる。図5のマスク17の黒い部分はIDT電極6と貫通孔16に相当する部分であり、穴が開いているため、マスク17上から露光し洗浄すると、マスク17上の黒い部分だけ感光性樹脂が硬化して残り、白い部分には残らない。次に、マスク17を外して部品基板5の下面全体にSiO2を塗布し、感光性樹脂を溶解除去することにより、感光性樹脂のない部分、すなわちIDT電極6と貫通孔16以外の部分にのみSiO2が残る。この残ったSiO2を介して、部品基板5と図4で示す部品カバー8とを常温で直接原子間結合すれば、図6に示すようなSAWデュプレクサ3を形成することができる。なお、一実施の形態では部品カバー8を接着する工程は真空で行ったが、部品カバー8と部品基板5とは接着剤を用いて接着することもでき、その場合は窒素雰囲気あるいは酸素雰囲気で行うことができる。なお、酸素雰囲気で行う場合でも、本実施の形態1におけるキャビティ10は非常に小さな空間であるため、キャビティ10内の酸素量も微量であり、この程度の酸素量であればIDT電極6表面に薄い金属酸化皮膜が形成されるだけで、むしろ酸化しにくくなるという効果がある。
上記のように部品基板5に部品カバー8を接着した後、SAWデュプレクサ3を実装基板1上に実装する。この実装工程を、図2および図7を用いて以下に説明する。
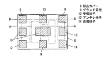
図7で示すように、部品カバー8の下面には実装基板1の外部電極に対応する電極2としての受信端子12、アンテナ端子13と送信端子14、およびグランド電極9とダミー電極18とを、図2で示すように実装基板1と接合する。なお、実装基板1の上面にはカバー8の下面に設けられた外部の電極2がハンダで接合される外部電極(特に図示せず)が設けられている。ここで、ダミー電極18は、有効な回路信号を伝達する回路電極に直接電気的に接続されていないため、回路電極として機能しない電極をいう。このダミー電極18は図7で示すように、凹部7の下方に相当する部分にも形成する。ダミー電極18は複数設けてもよい。
最後に、モールド樹脂4でSAWデュプレクサ3を被覆する工程を、図1および図2を用いて説明する。
まず、SAWデュプレクサ3を含む複数の電子部品3a〜3cを実装した複合型電子部品を金型に入れ、次にこの金型に加熱したモールド樹脂4を注入し、その後冷却して成形する。本実施の形態1では、モールド樹脂4にはフィラーを分散させたエポキシ樹脂を用い、モールド樹脂4の注入条件は樹脂温度を175℃、注入圧力を50〜100atmとした。
このモールド樹脂4を充填する時、SAWデュプレクサ3には非常に大きな圧力が印加されるが、ダミー電極18が実装基板1と部品カバー8の間の支柱となる為、その圧力を分散することができる。又ダミー電極18があると、部品カバー8と実装基板1の間の空間が小さくなり、モールド樹脂4が入り込みにくくなるため、モールド樹脂4を充填する時の下から印加される圧力を低減することができる。従って、本一実施の形態のSAWデュプレクサ3を電子部品として搭載した電子部品パッケージでは、外圧に対する強度が増し、部品カバー8の厚みが凹部7によって薄くなったとしても外圧による損傷を防ぐことができるのである。
なお、本一実施の形態では、凹部7の下方に相当する部分にはダミー電極18を設けたが、この部分にはダミー電極18の代わりにグランド電極9を設けてもよい。また、ダミー電極18を用いる場合、このダミー電極18は複数個用いてもよい。また、図7におけるダミー電極18を取り除き、三つのグランド電極9を一つにまとめ、図9で示すように、部品カバー8の下面には電極2(受信端子12、アンテナ端子13、送信端子14)の信号端子電極以外の略全面にグランド大電極19を設けている。
この構造にすれば、グランド大電極19と実装基板1との接触面積が広いため、効果的に外圧を分散させ、SAWデュプレクサ3の損傷を防ぐことができる。またグランド大電極19があることによって、部品カバー8と実装基板1との間へのモールド樹脂4の入り込み量が減り、部品カバー8の下から印加される圧力を抑制することができる。
さらに、このようなグランド大電極19を用いれば、従来のグランド電極の場合と比較して、SAWデュプレクサ3を覆う面積が大きくなるため、そのシールド効果によってSAWデュプレクサ3の特性を向上させることができる。
さらに、図10で示すように凹部7が複数個形成されていることを前提とし、部品カバー8の凹部7と凹部7の間にキャビティ空間がつながる連通路20を設けることにより、凹部7と凹部7は完全に閉鎖されることなく、連通路20の部分で一部連結された構造となる。したがって、一部の凹部7に印加された外部からの応力にともなう凹部7の内部圧力上昇分を、連通路20を通じて他の凹部7に分散させることができ、結果として電子部品パッケージの外圧に対する強度を著しく向上させる効果を有する。
なお、連通路20は図10で示すように、部品カバー8をドライエッチング加工することによっても形成できるが、図3で示すように、部品基板5の下面に溝15を設けるだけで形成することもできる。
また、上述した実施形態においてはキャビティ10を形成する手段として、図2に示すように部品カバー8に設けた凹部7によって、部品カバー8とIDT電極6との間にキャビティ10を設けた構成を例に挙げて説明したが、部品カバー8に凹部7を設ける代わりに、図11に示すように素子(IDT電極6)の外周に接着部21を設け、この接着部21を介して部品基板5と部品カバー8を接続することによりキャビティ10が形成でき、この構造においても先に述べた一実施の形態と同様に、部品カバー8の下面におけるキャビティ10に対向する部分にグランド電極9または電流を通さないダミー電極19の少なくとも一方を設け実装基板1の外部電極と接続することで、部品カバー8と実装基板1の間の空間が小さくなり、モールド樹脂4が入り込みにくくなるため、モールド樹脂4を充填する時の下から印加される圧力を低減することが出来るというように、他の構成も含め上述した一実施の形態と同様の効果を得ることが出来る。
なお、本一実施の形態では電子部品としてSAWデュプレクサ3を挙げたが、その他SAWフィルタやMEMS(microelectro mechanical systems)圧力センサなど、部品基板5と部品カバー8との間に空間を保持したい電子部品に応用が可能である。
本発明にかかる電子部品パッケージは、電子部品パッケージの外圧に対する強度を向上させ、電子部品の損傷を防止することができるため、高圧条件でのトランスファモールド加工工程などに大いに利用できるものである。
複数の電子部品が実装された電子部品パッケージの斜視図 (a)本発明の一実施の形態における電子部品パッケージの断面図、(b)本発明の電子部品パッケージの部品カバーと電極の下面図 同電子部品パッケージにおける部品基板の下面図 同電子部品パッケージにおける部品カバーの下面図 同電子部品パッケージにおけるマスクの上面図 同電子部品パッケージにおける電子部品の断面図 同電子部品パッケージにおける部品カバーと電極の下面図 実施の形態1におけるSAWデュプレクサの回路図 他の電子部品パッケージにおける部品カバーと電極の下面図 さらに他の実施の形態における部品カバーの下面図 さらにまた他の実施の形態における電子部品パッケージの断面図 従来の電子部品パッケージの断面図
符号の説明
1 実装基板
2 電極
3 SAWデュプレクサ(電子部品)
3a〜3c 電子部品
4 モールド樹脂
5 部品基板
6 IDT電極(素子)
7 凹部
8 部品カバー
9 グランド電極
10 キャビティ
11 グランド端子
12 受信端子(電極2)
13 アンテナ端子(電極2)
14 送信端子(電極2)
18 ダミー電極
20 連通路
21 接着部

Claims (2)

  1. 表面に実装電極を有する実装基板と、前記実装電極を介して前記実装基板上に実装された電子部品と、この電子部品を前記実装基板上において被覆したモールド樹脂とを備え、前記電子部品は、部品基板と、この部品基板の下面に配置された素子と、前記部品基板の下面側を覆い前記素子部にキャビティを形成する部品カバーとを有し、前記部品カバーの下面における前記キャビティの下方部に、電気信号を伝達する回路電極に電気的に直接接続されていないダミー電極を設け、このダミー電極と前記実装電極とを前記モールド樹脂とは異なる部材により接合した電子部品パッケージ。
  2. 前記電子部品の下面に前記ダミー電極を複数設け、前記ダミー電極のそれぞれを前記モールド樹脂とは異なる部材により前記実装電極と接合した請求項1に記載の電子部品パッケージ。
JP2006278721A 2005-11-02 2006-10-12 電子部品パッケージ Active JP4984809B2 (ja)

Priority Applications (1)

Application Number Priority Date Filing Date Title
JP2006278721A JP4984809B2 (ja) 2005-11-02 2006-10-12 電子部品パッケージ

Applications Claiming Priority (5)

Application Number Priority Date Filing Date Title
JP2005319057 2005-11-02
JP2005319057 2005-11-02
JP2005364598 2005-12-19
JP2005364598 2005-12-19
JP2006278721A JP4984809B2 (ja) 2005-11-02 2006-10-12 電子部品パッケージ

Publications (2)

Publication Number Publication Date
JP2007195145A JP2007195145A (ja) 2007-08-02
JP4984809B2 true JP4984809B2 (ja) 2012-07-25

Family

ID=38450440

Family Applications (1)

Application Number Title Priority Date Filing Date
JP2006278721A Active JP4984809B2 (ja) 2005-11-02 2006-10-12 電子部品パッケージ

Country Status (1)

Country Link
JP (1) JP4984809B2 (ja)

Families Citing this family (7)

* Cited by examiner, † Cited by third party
Publication number Priority date Publication date Assignee Title
WO2009057699A1 (ja) * 2007-10-30 2009-05-07 Kyocera Corporation 弾性波装置
JP5537096B2 (ja) * 2009-08-28 2014-07-02 京セラ株式会社 弾性波装置および回路基板
CN103493370B (zh) 2011-04-22 2016-11-23 株式会社村田制作所 双工器及具备该双工器的电路模块
JP6347091B2 (ja) 2013-03-11 2018-06-27 セイコーエプソン株式会社 センサーユニット、電子機器および運動体
JP6398168B2 (ja) 2013-10-08 2018-10-03 セイコーエプソン株式会社 実装基板、センサーユニット、電子機器および移動体
JP2014112921A (ja) * 2014-02-03 2014-06-19 Kyocera Corp 弾性波装置および回路基板
JP6806776B2 (ja) * 2016-07-26 2021-01-06 京セラ株式会社 弾性波デバイスおよび通信装置

Family Cites Families (6)

* Cited by examiner, † Cited by third party
Publication number Priority date Publication date Assignee Title
JPS6020538A (ja) * 1983-07-15 1985-02-01 Hitachi Ltd 半導体装置
JPH0349309A (ja) * 1989-07-17 1991-03-04 Murata Mfg Co Ltd 電子部品およびその製造方法
JPH10270975A (ja) * 1996-03-08 1998-10-09 Matsushita Electric Ind Co Ltd 電子部品とその製造方法
JP4377500B2 (ja) * 1999-12-24 2009-12-02 京セラ株式会社 弾性表面波装置及び弾性表面波装置の製造方法
JP2003037473A (ja) * 2001-07-24 2003-02-07 Toshiba Corp 弾性表面波装置及びその製造方法
JP2005033689A (ja) * 2003-07-11 2005-02-03 Toyo Commun Equip Co Ltd 弾性表面波装置及びその製造方法

Also Published As

Publication number Publication date
JP2007195145A (ja) 2007-08-02

Similar Documents

Publication Publication Date Title
CN1795610B (zh) 压电电子元件,其制造工序,和通信装置
JP6242597B2 (ja) 弾性波デバイス及びその製造方法
CN101965683B (zh) 表面声波装置
US11277114B2 (en) Elastic wave device and manufacturing method therefor
EP0939485A1 (en) Chip device and method for producing the same
JP2000114918A (ja) 表面弾性波装置及びその製造方法
JP2008060382A (ja) 電子部品及びその製造方法
WO2018216486A1 (ja) 電子部品およびそれを備えるモジュール
CN101091312B (zh) 电子部件组件
JP4984809B2 (ja) 電子部品パッケージ
JP4811232B2 (ja) 電子部品パッケージ
JPH0818390A (ja) 弾性表面波装置
JP4779581B2 (ja) 電子部品パッケージ
JP4084188B2 (ja) 弾性表面波装置
JP2006120981A (ja) 電子部品及びその製造方法
JP4760357B2 (ja) 電子部品パッケージ
JP5234778B2 (ja) 弾性波デバイス及びその製造方法
US8217551B2 (en) Surface acoustic wave package with air hole that prevents thermal expansion
KR102414843B1 (ko) 음향파 디바이스 및 그 제조방법
WO2021100506A1 (ja) 電子部品
WO2016042972A1 (ja) 電子部品及び樹脂モールド型電子部品装置
CN101091313B (zh) 电子部件封装结构
JP4779579B2 (ja) 電子部品パッケージ
JP4839868B2 (ja) 電子部品パッケージ
US7652214B2 (en) Electronic component package

Legal Events

Date Code Title Description
A621 Written request for application examination

Free format text: JAPANESE INTERMEDIATE CODE: A621

Effective date: 20080806

RD01 Notification of change of attorney

Free format text: JAPANESE INTERMEDIATE CODE: A7421

Effective date: 20091127

A977 Report on retrieval

Free format text: JAPANESE INTERMEDIATE CODE: A971007

Effective date: 20110422

A131 Notification of reasons for refusal

Free format text: JAPANESE INTERMEDIATE CODE: A131

Effective date: 20110510

A521 Request for written amendment filed

Free format text: JAPANESE INTERMEDIATE CODE: A523

Effective date: 20110706

A131 Notification of reasons for refusal

Free format text: JAPANESE INTERMEDIATE CODE: A131

Effective date: 20120117

A521 Request for written amendment filed

Free format text: JAPANESE INTERMEDIATE CODE: A523

Effective date: 20120315

TRDD Decision of grant or rejection written
A01 Written decision to grant a patent or to grant a registration (utility model)

Free format text: JAPANESE INTERMEDIATE CODE: A01

Effective date: 20120403

A01 Written decision to grant a patent or to grant a registration (utility model)

Free format text: JAPANESE INTERMEDIATE CODE: A01

A61 First payment of annual fees (during grant procedure)

Free format text: JAPANESE INTERMEDIATE CODE: A61

Effective date: 20120416

R151 Written notification of patent or utility model registration

Ref document number: 4984809

Country of ref document: JP

Free format text: JAPANESE INTERMEDIATE CODE: R151

FPAY Renewal fee payment (event date is renewal date of database)

Free format text: PAYMENT UNTIL: 20150511

Year of fee payment: 3

S111 Request for change of ownership or part of ownership

Free format text: JAPANESE INTERMEDIATE CODE: R313111

R350 Written notification of registration of transfer

Free format text: JAPANESE INTERMEDIATE CODE: R350

R250 Receipt of annual fees

Free format text: JAPANESE INTERMEDIATE CODE: R250

RD02 Notification of acceptance of power of attorney

Free format text: JAPANESE INTERMEDIATE CODE: R3D02

R250 Receipt of annual fees

Free format text: JAPANESE INTERMEDIATE CODE: R250

S533 Written request for registration of change of name

Free format text: JAPANESE INTERMEDIATE CODE: R313533

R350 Written notification of registration of transfer

Free format text: JAPANESE INTERMEDIATE CODE: R350

R250 Receipt of annual fees

Free format text: JAPANESE INTERMEDIATE CODE: R250

R250 Receipt of annual fees

Free format text: JAPANESE INTERMEDIATE CODE: R250

R250 Receipt of annual fees

Free format text: JAPANESE INTERMEDIATE CODE: R250

R250 Receipt of annual fees

Free format text: JAPANESE INTERMEDIATE CODE: R250

R250 Receipt of annual fees

Free format text: JAPANESE INTERMEDIATE CODE: R250

R250 Receipt of annual fees

Free format text: JAPANESE INTERMEDIATE CODE: R250

R250 Receipt of annual fees

Free format text: JAPANESE INTERMEDIATE CODE: R250

R250 Receipt of annual fees

Free format text: JAPANESE INTERMEDIATE CODE: R250

R250 Receipt of annual fees

Free format text: JAPANESE INTERMEDIATE CODE: R250