JP4938510B2 - 引込式チャック装置 - Google Patents

引込式チャック装置 Download PDF

Info

Publication number
JP4938510B2
JP4938510B2 JP2007060242A JP2007060242A JP4938510B2 JP 4938510 B2 JP4938510 B2 JP 4938510B2 JP 2007060242 A JP2007060242 A JP 2007060242A JP 2007060242 A JP2007060242 A JP 2007060242A JP 4938510 B2 JP4938510 B2 JP 4938510B2
Authority
JP
Japan
Prior art keywords
air passage
chuck body
workpiece
base portion
opening
Prior art date
Legal status (The legal status is an assumption and is not a legal conclusion. Google has not performed a legal analysis and makes no representation as to the accuracy of the status listed.)
Active
Application number
JP2007060242A
Other languages
English (en)
Other versions
JP2008221365A (ja
Inventor
顕 上野
Current Assignee (The listed assignees may be inaccurate. Google has not performed a legal analysis and makes no representation or warranty as to the accuracy of the list.)
Teikoku Chuck Co Ltd
Original Assignee
Teikoku Chuck Co Ltd
Priority date (The priority date is an assumption and is not a legal conclusion. Google has not performed a legal analysis and makes no representation as to the accuracy of the date listed.)
Filing date
Publication date
Application filed by Teikoku Chuck Co Ltd filed Critical Teikoku Chuck Co Ltd
Priority to JP2007060242A priority Critical patent/JP4938510B2/ja
Publication of JP2008221365A publication Critical patent/JP2008221365A/ja
Application granted granted Critical
Publication of JP4938510B2 publication Critical patent/JP4938510B2/ja
Active legal-status Critical Current
Anticipated expiration legal-status Critical

Links

Images

Landscapes

  • Gripping On Spindles (AREA)

Description

この発明は、ワークの把持状態の良否を判定するエア検知機能を備えた引込式チャック装置に関するものである。
一般に引込式チャック装置は、ワークを引込みながらチャック本体と同心に把持するものであり、例えば、ドローバの進退等によってチャック本体の前部に設けた把持爪(ジョウ)を径方向へ動かして、その把持爪によりワークの外周又は内周を掴むものや、あるいは、コレットチャックを用いてワークの適宜の箇所を掴むものがある。
その構成の一例を、本発明の実施形態の説明図である図1に基づいて説明すると、チャック本体1の中心軸6周りに、複数の把持爪3が放射状に設けられている。そのチャック本体1の中心軸6に沿って、前記中心軸6と同心のドローバ(図示せず)が軸方向進退可能に設けられている。
チャック本体1には、後方から前方に向かって徐々に外径側に広がる傾斜孔11が前記把持爪3と同数形成されており、その各傾斜孔11内に軸状のマスタージョウ5がぴったりと嵌っている。前記各把持爪3は、そのマスタージョウ5の前端に設けられており、その把持爪3を備えたマスタージョウ5は、前記傾斜孔11の長さ方向に沿って摺動可能となっている。
前記ドローバには、ドローバ接続用部材(ドローバボルト)8を介してアクチュエータ4が接続されている。そのアクチュエータ4の外径部に設けたフランジ部4aが、前記マスタージョウ5の内径部に設けた係合溝5aに係合し、そのマスタージョウ5とアクチュエータ4とが軸方向相対移動不能に結合されている。
チャック本体1に対してドローバが軸方向に後退すると、アクチュエータ4を介してマスタージョウ5が後方へ引かれる。マスタージョウ5が後方へ引かれると、前記把持爪3が径方向内側に動いて、その把持爪3でワークwの外周部を掴み、そのワークwを前記中心軸6と同心に把持する。そのとき、そのワークwの後面は、前記チャック本体1に設けた載荷台20の前端面25に密着し、その密着により、ワークwの後面が基準面として機能して、ワークwが正しい位置、正しい把持姿勢に維持される。なお、図1では、載荷台20は、チャック本体1の中心軸6の周囲に複数、放射状に設けられている。
また、前記各載荷台20に、それぞれ前記前端面25のワークwとの当接部分に開口部31を有するエア通路30が設けられている。前記エア通路30は、チャック本体1側へ伸びて、そのチャック本体1内のエア通路30、又は、そのチャック本体1外に引き出された前記エア通路30に、気体供給手段、気圧検知手段が接続されている。
この気体供給手段は、前記エア通路30内へ所定の圧力で気体を供給することができ、また、気圧検知手段は、前記エア通路30内の気圧を検知することができる。
ワークwを把持した際に、ワークwの後面が載荷台20の前端面25に完全に密着していれば、エア通路30はの開口部31はワークwの後面によって気密に閉じられる。
このため、気圧検知手段は、エア通路30内が予め設定された所定の気圧に至っていることを検知して、その検知により、ワークwの把持状態が正常であると判断できる。
また、ワークwを把持した際に、ワークwの後面が載荷台20の前端面25に完全に密着していなければ、そのワークwの位置、把持姿勢は正しい状態にない。このとき、エア通路30の開口部31は、ワークwの後面によって完全に閉じられた状態にはならないので、エア通路30内の気体の一部がエア通路30の外部に漏れる。
このため、気圧検知手段は、予め設定された所定の気圧に至っていないことを検知して、その検知により、ワークwの把持状態が正常でないと判断できる(例えば、特許文献1参照)。
特開2002−103109号公報
上記のように、ワークwの把持状態の良否を判定するエア検知機能を備えた引込み式チャック装置によれば、そのエア検知機能を発揮するために、載荷台20に設けられたエア通路30の開口部31は、常に、把持状態のワークwの後面によって閉じられる位置にある必要がある。
しかし、載荷台20に当接し得るワークwの後面(把持の際のワークwの基準面)は、その径方向位置が、ワークwの種別、例えば、形状、大きさ等によって各々異なるものである。
例えば、チャック本体1の中心軸6に比較的近い部分に、前記載荷台20への当接部分(ワークwの基準面)を有するワークwもあれば、中心軸6から比較的遠い部分に、前記載荷台20への当接部分を有するワークwもある。
このため、同一の引込み式チャック装置によって、異なる種別のワークwを把持しようとすると、ワークwの種別が変わるたびに、その都度、エア通路30の開口部31の位置が異なる載荷台20に取替えなければならないという問題がある。載荷台20の取替えは、エア通路30の気密性を維持しエア漏れが生じないようにしなければならないため面倒であり、このような面倒な作業は、チャック装置へのワークの装着にかかる作業効率を低下させるので好ましくない。
そこで、この発明は、種別の異なるワークにも対応できるエア検知機能とすることを課題とする。
上記の課題を解決するために、この発明は、載荷台をチャック本体の中心軸と平行な回転中心周りに回転可能とし、エア通路の開口部をその載荷台の回転中心から偏心させ、その載荷台の任意の回転方位において、常にエア検知機能が発揮できるようにしたものである。
エア通路の開口部は載荷台の回転中心から偏心しているので、その開口部は、載荷台の回転により、チャック本体に対しその径方向位置を変化させることができる。
このため、その載荷台の任意の回転方位において常にエア検知機能が発揮できれば、種別の異なるワークにも対応することができる。
この発明は、載荷台をチャック本体の中心軸と平行な回転中心周りに回転可能とし、エア通路の開口部をその載荷台の回転中心から外径側へ偏心させ、その載荷台の任意の回転方位において、常にエア通路が機能するようにしたので、種別の異なるワークにも対応できるエア検知機能とすることができる。
具体的実施形態として、チャック本体の中心軸と同心にワークwを把持するとともに、その把持状態で、前記チャック本体に設けた載荷台の前面に前記ワークの後面が密着するようになっており、前記載荷台に、前記ワークとの当接面に開口部を有するエア通路を設けて、前記エア通路に、そのエア通路内へ気体を供給する気体供給手段とそのエア通路内の気圧を検知する気圧検知手段とを接続し、その気圧検知手段によって検知した気圧に基づいて前記ワークの把持状態の良否を判定する引込式チャック装置において、前記載荷台は、前記チャック本体の中心軸に平行な回転中心周りに回転自在であり、前記エア通路の開口部は、前記載荷台の回転中心から偏心して設けられ、その載荷台の回転範囲における任意の回転方位において、常に前記エア通路が開口部に気密に連通する構成を採用した。
このようにすれば、載荷台が回転し得る範囲の任意の回転方位において、常に前記エア通路が開口部に気密に連通して、前記エア通路に接続した気体供給手段、気圧検知手段によるエア検知機能を発揮することができる。
なお、前記エア通路が載荷台からチャック本体側に通じている場合は、前記気体供給手段及び気圧検知手段は、通常、そのチャック本体側のエア通路に接続されるが、前記気体供給手段及び気圧検知手段を載荷台に設けて、その載荷台内で前記エア通路に接続する態様も考えられる。
上記の構成において、前記エア通路が前記チャック本体側に通じており、前記気体供給手段及び気体検知手段が、前記チャック本体側のエア通路に接続されている場合において、前記載荷台は、チャック本体に不動に固定されるベース部とそのベース部に対し前記回転中心周り回転自在に支持される前面部とを有し、前記エア通路は、前記ベース部に設けられ且つ前記チャック本体側に通じるベース部通路と、前記前面部に設けられ且つ前記開口部に通じる前面部通路とが、前記ベース部と前記前面部との接触面間に形成された連通空間を介して、前記載荷台の回転範囲における任意の回転方位において常に気密に連通する構成を採用し得る。
エア通路が載荷台からチャック本体側に通じている場合、載荷台の回転範囲における任意の回転方位において、そのエア通路が、常に、チャック本体側から載荷台の開口部に至るまで気密に連通するようにする構成としては、例えば、載荷台に設けたエア通路とチャック本体側に設けたエア通路とを可撓性を有する管で連通させて、載荷台を回転させた際にその管が変形することにより、両エア通路を連通させるようにする手段も考えられるが、上記のように、両接触面間の連通空間を介して両エア通路を連通させれば、装置の構成を簡素化し得る。また、載荷台の回転を許容し得る範囲、すなわち、エア検知機能を有効とし得る範囲を広く設定しやすい。
また、前記連通空間を、前記回転中心周り全周に連続する環状空間とすれば、エア検知機能を発揮できる載荷台の方位に制限がなくなる。このため、載荷台は、360度の任意の回転方位においてエア検知機能を有効とすることができ、エア通路の開口部を、より広範囲に位置設定を行うことができる。
なお、チャック本体側のエア通路とは、チャック本体内のエア通路、及びチャック本体内のエア通路に連通しチャック本体外に引き出されたエア通路を指すものである。
一実施例を図1乃至図5に基づいて説明する。この実施例は、チャック本体1、そのチャック本体1に設けられ、軸方向進退可能なドローバ(図示せず)にドローバボルト8を介して接続されるアクチュエータ4、そのアクチュエータ4に係合するマスタージョウ5そのマスタージョウ5の前端に取り付けられる把持爪3等の構成は、従来例と同様であるので説明を省略し、以下、チャック本体1に取り付けられる載荷台20と、エア通路30によるエア検知機能を中心に説明する。
図1(a)(b)に示すように、チャック本体1は、バックプレート13、アダプタープレート12、ハウジング7等から構成されている。そのチャック本体1の前面に、前記把持爪3が周方向に3箇所等分方位に設けられている。図中の符号2は、マスタージョウ5の前端に把持爪3を固定するトップジョウである。マスタージョウ5が嵌められる傾斜孔11は、前記ハウジング7に設けられて、そのハウジング7後面とアダプタプレート12前面との間に形成された空間に、マスタージョウ5の後端部が臨んでいる。
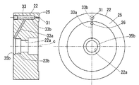
その周方向に隣り合う把持爪3,3の間に、それぞれ載荷台20が合計3箇所設けられている。前記載荷台20は、チャック本体1に不動に固定されるベース部21とそのベース部21に対し前記回転中心c周り回転自在に支持される前面部22とを有している。
ベース部21には、前後方向に貫通するボルト穴21cが形成されており、そのボルト穴21cに固定ボルト23が挿通されて、その固定ボルト23がハウジング7の前面のねじ孔にねじ込まれることにより、ベース部21がチャック本体1に不動に固定される。
また、前面部22には、その中央部に前後方向に貫通するボルト穴22aが形成されており、そのボルト穴22aに固定ボルト24が挿通されて、その固定ボルト24がベース部21の前面のねじ孔21aにねじ込まれることにより、そのベース部21に不動に固定される。
前面部22は、その後部に断面円形の凹部22bが形成されており、その凹部22bに、前記ベース部21の前部に形成した断面円形の突部21bが、シールaを介して嵌るようになっている。ベース部21の前面のねじ孔21aは、その突部21bに形成されており、その突部21bの中心軸とねじ孔21aの中心軸とは一致しているので、ベース部21に対し前面部22は、その中心軸(回転中心)c周りに回転自在である。
また、前面部22は、その前面の外周部全周が中央部より盛り上がるように形成されており、その盛り上がった外周部が、把持爪3によって把持された状態にあるワークwの後面に当接するフラットな前端面25となっている。
そのベース部21と前面部22とからなる載荷台20に、前記前端面25のワークwとの当接部分に開口部31を有するエア通路30が設けられている。
エア通路30は、図1(a)に示すように、ドローバ側からドローバボルト8、アクチュエータ4の各軸心に沿って設けた中空部を通ってハウジング7内に設けたハウジング通路34に通じている。なお、アクチュエータ4の中空部の前面は、キャップ9により閉じられている。
そのハウジング通路34はハウジング7前面に開口し、そのハウジング7前面の開口部34aは、ハウジング通路34の他の部分よりもやや大径となっている。
前記ベース部21に設けられるエア通路30は、そのベース部21を前後方向に貫通するベース部通路32で構成されている。
ベース部21は、その後部に前記大径の開口部34aにシールaを介して嵌る突部27が設けられており、前記ベース部通路32は、前記チャック本体1側のハウジング通路34に通じるよう、その突部27に開口している。また、ベース部通路32は、その前部の前記前面部22との接触面に開口している。
前記前面部22に設けられるエア通路30は、その前面部22を前後方向に貫通する前面部通路33で構成されている。
前記前面部通路33は、前面部22の後部に設けた前記凹部22bの縁に開口している。また、前面部通路33は、その凹部22bの縁の開口部から径方向外側へ延びて(符号33a参照)、その後、前面部22の外周部において軸方向前方へ延びている(符号33b参照)。そして、ワークwとの接触面である前記前端面25に開口部31を有している。
前面部22の前記凹部22bの縁(凹部22bの内側面と前面部22後面との成す稜線部)には、その全周に亘って面取り部35bが形成されている。前面部通路33は、その面取り部35bに開口している。なお、面取り部35bは、溝状に形成してもよい。また、前記ベース部21の前記突部21b周囲には、その突部21bの裾の部分全周に亘って溝35aが形成されている。ベース部通路32は、その溝35aに開口している。
面取り部35bと溝35aとは、前記回転中心c周りの真円形であり、ベース部21に前面部22が固定されることにより、その面取り部35bと溝35aとが向かい合って、前記回転中心c周りに、その全周に亘って連続する環状空間(連通空間)35を形成する。
この環状空間35を介して、前記ベース部通路32と前面部通路33とが、前記前面部22の任意の回転方位において常に気密に連通する。
チャック本体1側へ伸びているエア通路30は、ドローバからその先へ延びて、気体供給手段、気圧検知手段(いずれも図示せず)が接続されている。
気体供給手段は、前記エア通路30内へ所定の圧力で気体を供給することができ、また、気圧検知手段は、前記エア通路30内の気圧を検知することができる。その気圧検知手段としては、周知の手段を採用し得るが、例えば、気圧を数値でもって検知する圧力計、圧力センサー等であってもよいし、一定の気圧に達しているか否かに基づいて、オン/オフ信号を発する圧力スイッチ等であってもよい。この点は、従来例も同様である。
ワークwの種別に合わせてエア通路30の開口部31の位置を調整する際には、固定ボルト24を緩めた後、前面部22を手で掴んで、ベース部21に対して回転中心c周りに回転させる。開口部31が、ワークwの後面に当接し得る位置に来たら、その位置で前面部22の回転を止める。開口部31のやや内径側に目印26が設けられているので、開口部31の位置が把握しやすいようになっている。開口部31の位置が決まったら、固定ボルト24を締付けて前面部22が動かないように固定する。位置合わせが必要なすべての載荷台20に対してこの作業を行い、種別の異なるワークwのチャッキングに対応する。
この実施例では、載荷台20及び把持爪3は、それぞれチャック本体1の中心軸6の周囲に3箇所、周方向に沿って交互に放射状に設けられているが、載荷台20及び把持爪3の数、及び配置は任意に設定できる。
また、この発明は、ワークwの内径面を把持するタイプの引込み式チャック装置においても適用可能である。さらに、把持爪3を径方向に移動させる手段としては、ドローバによらない構成、例えば、シリンダ等を用いた構成であってもよい。
さらに、ワークwをチャック本体1の中心軸6と同心に把持する手段として、例えば、図10に示すように、ワークwの内径面や外径面、あるいはワークwの端面に形成した基準部を把握するコレットチャック14を用いたものであってもよい。
また、載荷台20の構成は、例えば、図6に示すように、ワークwに当接する前端面25のフラットな盛り上がり部が、前記開口部31周囲のみに設けられている構成も採用し得る。また、ベース部21を介在させることなく、前面部22を直接ハウジング7に固定する態様も考えられる。
さらに、いずれの態様においても、前記ベース部通路32と前面部通路33とを連通させる前記環状空間35は、載荷台20の回転中心cの周囲に設けられていればよい。
例えば、図7(a)に示すように、載荷台20の回転中心cから半径rだけ離れた位置に溝幅dの環状の溝35a,35bを形成し、その溝35a,35b同士を連通させて環状空間35を形成してもよい。
すなわち、その環状空間35の径方向位置、幅、平面形状は、図7(b)に示すように、載荷台20の回転中心c周りの360度の回転範囲内において、常に、前記ベース部通路32と前面部通路33とを連通させるものであれば、任意の径方向位置、幅、平面形状に設定できる。
また、例えば、前記連通空間35を、図8(a)(b)に示すように、前面側からの平面視C字状を成す溝35a,35bによって形成することもできる。
このC字状の溝35a,35bを設ける方位はそれぞれ自由に設定し得るが、そのC字状の溝35a,35b同士が連通して前記連通空間35を形成し得る載荷台20の回転範囲内において、エア検知機能を使用できる。
また、例えば、図9(a)(b)に示すように、連通空間35を、前面側からの平面視円形、あるいは平面視矩形とした構成も採用可能である。
すなわち、溝35a,35bとが連通することにより形成される連通空間35の平面形状は、エア検知機能を有効とすることが求められる載荷台20の回転範囲内において、常に、前記ベース部通路32と前面部通路33とを連通させるものであれば、任意に設定できるものである。
また、連通空間35は、ベース部21、前面部22のいずれかの側にのみ溝や凹部を設けてその溝や凹部により空間を形成することもできる(図9参照)。
一実施例を示し、(a)は断面図、(b)は側面図 載荷台の断面図 載荷台の分解斜視図 載荷台を構成する前面部の詳細図 載荷台を構成するベース部の詳細図 他の実施例の前面部の斜視図 他の実施例の載荷台の分解斜視図 他の実施例の載荷台の分解斜視図 他の実施例の載荷台の分解斜視図 他の実施例の断面図
符号の説明
1 チャック本体
2 トップジョウ
3 把持爪(ジョウ)
4 アクチュエータ
5 マスタージョウ
6 チャック本体の中心軸
7 ハウジング
10 引込み式チャック装置
11 傾斜孔
12 アダプタープレート
13 バックプレート
20 載荷台
21 ベース部
22 前面部
25 前端面
30,32,33,34 エア通路
31 開口部
35 連通空間(環状空間)
c 回転中心
w ワーク

Claims (2)

  1. チャック本体の中心軸と同心にワークを把持するとともに、その把持状態で、前記チャック本体に設けた載荷台20の前端面25に前記ワークの後面が密着するようになっており、前記載荷台20に、前記前端面25のワークとの当接部分に開口部31を有するエア通路30を設けて、前記エア通路30に、そのエア通路30内へ気体を供給する気体供給手段とそのエア通路30内の気圧を検知する気圧検知手段とを接続し、その気圧検知手段によって検知した気圧に基づいて前記ワークの把持状態の良否を判定する引込式チャック装置において、
    前記載荷台20は、前記チャック本体の中心軸に平行な回転中心周りに回転自在であり、前記エア通路30の開口部31は、前記載荷台20の回転中心から偏心して設けられ、その載荷台20の回転範囲における任意の回転方位において、常に前記エア通路30が開口部31に気密に連通するようになっており、
    前記エア通路30は前記チャック本体側に通じており、前記気体供給手段及び気検知手段は、前記チャック本体側のエア通路30に接続されており、前記載荷台20は、チャック本体に不動に固定されるベース部21とそのベース部21設けた断面円形の突部(21b)に嵌る凹部(22b)を有する前面部(22)とを有し、前記前面部(22)は、前記凹部(22b)が前記突部(21b)に嵌ることにより前記突部(21b)の軸心を前記回転中心(c)としてその回転中心周り回転自在に前記ベース部(21)に支持され、前記エア通路30は、前記ベース部21に設けられ且つ前記チャック本体側に通じるベース部通路32と、前記前面部22に設けられ且つ前記開口部31に通じる前面部通路33とが、前記ベース部21と前記前面部22との接触面間のうち、前記ベース部(21)の前記突部(21b)の裾の部分と、前記前面部(22)の前記凹部(22b)の内側面とその前面部(22)の後面との成す稜線部とに面した部分に形成された連通空間35を介して、前記載荷台20の回転範囲における任意の回転方位において常に気密に連通することを特徴とす引込み式チャック装置。
  2. 前記連通空間35は、前記回転中心周り全周に連続する環状空間であることを特徴とする請求項に記載の引込式チャック装置。
JP2007060242A 2007-03-09 2007-03-09 引込式チャック装置 Active JP4938510B2 (ja)

Priority Applications (1)

Application Number Priority Date Filing Date Title
JP2007060242A JP4938510B2 (ja) 2007-03-09 2007-03-09 引込式チャック装置

Applications Claiming Priority (1)

Application Number Priority Date Filing Date Title
JP2007060242A JP4938510B2 (ja) 2007-03-09 2007-03-09 引込式チャック装置

Publications (2)

Publication Number Publication Date
JP2008221365A JP2008221365A (ja) 2008-09-25
JP4938510B2 true JP4938510B2 (ja) 2012-05-23

Family

ID=39840554

Family Applications (1)

Application Number Title Priority Date Filing Date
JP2007060242A Active JP4938510B2 (ja) 2007-03-09 2007-03-09 引込式チャック装置

Country Status (1)

Country Link
JP (1) JP4938510B2 (ja)

Families Citing this family (7)

* Cited by examiner, † Cited by third party
Publication number Priority date Publication date Assignee Title
JP5769495B2 (ja) * 2011-05-23 2015-08-26 帝国チャック株式会社 チャック装置のストッパ取付構造
CN103949901B (zh) * 2014-04-24 2016-04-27 西安双特智能传动有限公司 一种精车卡盘定位车削夹具及其定位车削方法
CN107639468B (zh) * 2017-11-01 2024-03-08 重庆机床(集团)有限责任公司 车床气密检测装置
JP7308528B2 (ja) * 2020-02-07 2023-07-14 帝国チャック株式会社 チャック装置
CN114131427A (zh) * 2021-11-26 2022-03-04 珠海格力智能装备技术研究院有限公司 一种工件到位检测机构
CN118635827B (zh) * 2024-08-14 2025-05-27 大同齿轮传动(昆山)股份有限公司 一种伺服电机轴加工方法
CN118989919B (zh) * 2024-09-26 2025-06-27 兴化市丽云机械铸造有限公司 一种水泵生产设备

Family Cites Families (3)

* Cited by examiner, † Cited by third party
Publication number Priority date Publication date Assignee Title
US4867785A (en) * 1988-05-09 1989-09-19 Ovonic Synthetic Materials Company, Inc. Method of forming alloy particulates having controlled submicron crystallite size distributions
JPH06262409A (ja) * 1993-03-08 1994-09-20 Howa Mach Ltd チャックの加工物受止装置
JP4510549B2 (ja) * 2004-08-24 2010-07-28 中央精機株式会社 ワーククランプ装置

Also Published As

Publication number Publication date
JP2008221365A (ja) 2008-09-25

Similar Documents

Publication Publication Date Title
JP4938510B2 (ja) 引込式チャック装置
JP3634190B2 (ja) クランプ装置
US8585027B2 (en) Clamp device
CN102015202B (zh) 夹紧装置
JP4892668B2 (ja) クランプ装置
JP5750053B2 (ja) クランプ装置
TW201420263A (zh) 流體壓汽缸及迴旋式夾持裝置
JP3699193B2 (ja) 4爪チャック
JP6604531B2 (ja) 雄型部材及び工具交換装置
JP2001105375A (ja) 位置検出機構付き複合型エアチャック
JP5001315B2 (ja) 流体圧シリンダ
JP5160162B2 (ja) 工作機械におけるワークの有無検出装置
JP2008144922A (ja) シール材の圧入装置
JP2012143868A (ja) クランプ装置
JP2017159383A (ja) クランプ装置
JP5497932B2 (ja) クランプ装置
JP5336825B2 (ja) クランプ装置
JP2556618Y2 (ja) コレットチャックのチャック状況検出装置
US20160279729A1 (en) Wire lock for rotary welding torch
CN213765011U (zh) 一种换刀刀位检测机构以及直线驱动机构
JP3991397B2 (ja) チャック
WO2010140554A1 (ja) クランプ装置
US11478901B2 (en) Pneumatic fixture clamp
JP5384861B2 (ja) スピンドル装置
JP2605038Y2 (ja) ワークのチャッキング装置

Legal Events

Date Code Title Description
A621 Written request for application examination

Free format text: JAPANESE INTERMEDIATE CODE: A621

Effective date: 20091218

A131 Notification of reasons for refusal

Free format text: JAPANESE INTERMEDIATE CODE: A131

Effective date: 20111129

A977 Report on retrieval

Free format text: JAPANESE INTERMEDIATE CODE: A971007

Effective date: 20111130

A521 Request for written amendment filed

Free format text: JAPANESE INTERMEDIATE CODE: A523

Effective date: 20120126

TRDD Decision of grant or rejection written
A01 Written decision to grant a patent or to grant a registration (utility model)

Free format text: JAPANESE INTERMEDIATE CODE: A01

Effective date: 20120214

A01 Written decision to grant a patent or to grant a registration (utility model)

Free format text: JAPANESE INTERMEDIATE CODE: A01

A61 First payment of annual fees (during grant procedure)

Free format text: JAPANESE INTERMEDIATE CODE: A61

Effective date: 20120223

FPAY Renewal fee payment (event date is renewal date of database)

Free format text: PAYMENT UNTIL: 20150302

Year of fee payment: 3

R150 Certificate of patent or registration of utility model

Free format text: JAPANESE INTERMEDIATE CODE: R150

Ref document number: 4938510

Country of ref document: JP

R250 Receipt of annual fees

Free format text: JAPANESE INTERMEDIATE CODE: R250

R250 Receipt of annual fees

Free format text: JAPANESE INTERMEDIATE CODE: R250

R250 Receipt of annual fees

Free format text: JAPANESE INTERMEDIATE CODE: R250

R250 Receipt of annual fees

Free format text: JAPANESE INTERMEDIATE CODE: R250

R250 Receipt of annual fees

Free format text: JAPANESE INTERMEDIATE CODE: R250

R250 Receipt of annual fees

Free format text: JAPANESE INTERMEDIATE CODE: R250

R250 Receipt of annual fees

Free format text: JAPANESE INTERMEDIATE CODE: R250

R250 Receipt of annual fees

Free format text: JAPANESE INTERMEDIATE CODE: R250

R250 Receipt of annual fees

Free format text: JAPANESE INTERMEDIATE CODE: R250

R250 Receipt of annual fees

Free format text: JAPANESE INTERMEDIATE CODE: R250

R250 Receipt of annual fees

Free format text: JAPANESE INTERMEDIATE CODE: R250

R250 Receipt of annual fees

Free format text: JAPANESE INTERMEDIATE CODE: R250