JP4927476B2 - 防振ブッシュ及びその製造方法 - Google Patents

防振ブッシュ及びその製造方法 Download PDF

Info

Publication number
JP4927476B2
JP4927476B2 JP2006224114A JP2006224114A JP4927476B2 JP 4927476 B2 JP4927476 B2 JP 4927476B2 JP 2006224114 A JP2006224114 A JP 2006224114A JP 2006224114 A JP2006224114 A JP 2006224114A JP 4927476 B2 JP4927476 B2 JP 4927476B2
Authority
JP
Japan
Prior art keywords
cylinder
cylindrical
elastic body
vibration
axis direction
Prior art date
Legal status (The legal status is an assumption and is not a legal conclusion. Google has not performed a legal analysis and makes no representation as to the accuracy of the status listed.)
Expired - Fee Related
Application number
JP2006224114A
Other languages
English (en)
Other versions
JP2008045710A (ja
Inventor
伸彦 杉原
Current Assignee (The listed assignees may be inaccurate. Google has not performed a legal analysis and makes no representation or warranty as to the accuracy of the list.)
Kurashiki Kako Co Ltd
Original Assignee
Kurashiki Kako Co Ltd
Priority date (The priority date is an assumption and is not a legal conclusion. Google has not performed a legal analysis and makes no representation as to the accuracy of the date listed.)
Filing date
Publication date
Application filed by Kurashiki Kako Co Ltd filed Critical Kurashiki Kako Co Ltd
Priority to JP2006224114A priority Critical patent/JP4927476B2/ja
Publication of JP2008045710A publication Critical patent/JP2008045710A/ja
Application granted granted Critical
Publication of JP4927476B2 publication Critical patent/JP4927476B2/ja
Expired - Fee Related legal-status Critical Current
Anticipated expiration legal-status Critical

Links

Images

Landscapes

  • Vibration Prevention Devices (AREA)
  • Springs (AREA)

Description

本発明は、防振ブッシュ及びその製造方法に関するものである。
従来より、特許文献1に示すように、自動車のサスペンションブッシュ等に利用される防振ブッシュが知られている。このブッシュは、内筒体と、その内筒体の周囲にこれと同軸に設けられた外筒体と、内筒体と外筒体との間に設けられた弾性体と、その弾性体に内筒体及び外筒体と同軸に埋設された中間筒体とを備えている。これらの筒体は、それぞれ円筒状に形成されている。
特開平7−253132号公報
ところで、車両サスペンション用ブッシュにおいては、操縦安定性を向上させるために、軸直剛性を高めたいという要求がある一方、乗り心地を向上させるために、ねじり剛性及びこじり剛性を低くしたいという要求がある。
ここで、特許文献1のものでは、中間筒体がない場合と比較して、軸直剛性が高くなっているが、この剛性をさらに高めることが求められている。
また、一般に、内筒体と中間筒体との間の弾性体の量が少ないほど、ねじり剛性が低くなるが、特許文献1のものにおいては、内筒体と中間筒体との間の弾性体の量が比較的多くなっていて、ねじり剛性が高くなっている。
さらに、普通、内筒体と中間筒体の筒軸方向両端部との距離が長いほど、防振ブッシュへのこじり外力の入力時において中間筒体の筒軸方向一端部が弾性体を介して内筒体に当たりにくくなり、こじり剛性が低くなるが、特許文献1のものでは、内筒体と中間筒体の筒軸方向両端部との距離が比較的短くなっていて、こじり剛性が高くなっている。
本発明は、かかる点に鑑みてなされたものであり、その目的とするところは、防振ブッシュにおいて、軸直剛性を高くしながら、ねじり剛性及びこじり剛性を低くすることにある。
第1の発明は、内筒体と、該内筒体の周囲にこれと同軸に設けられた外筒体と、該内筒体と該外筒体との間に設けられた弾性体と、該弾性体に上記内筒体及び上記外筒体と同軸に埋設された金属製中間筒体とを備えた防振ブッシュであって、上記中間筒体の筒軸方向両端部が、それぞれ円筒状に形成されて円筒部を構成し、上記中間筒体の筒軸方向中央部が、径が筒軸方向両端側から中央側に行くに従って徐々に小さくなる鼓状に形成されて厚みが上記円筒部の厚みと同じ大きさの鼓状筒部を構成していることを特徴とするものである。
これにより、中間筒体の筒軸方向両端部が、それぞれ円筒状に形成されて円筒部を構成し、中間筒体の筒軸方向中央部が、径が筒軸方向両端側から中央側に行くに従って徐々に小さくなる鼓状に形成されて鼓状筒部を構成しているので、防振ブッシュに軸直外力が入力されたときには、外筒体が弾性体を介して中間筒体の両円筒部に当たる。このため、中間筒体の位置によっては、従来の場合と比較して、軸直剛性を高くすることができる。なお、「外筒体が弾性体を介して中間筒体の両円筒部に当たる」とは、外筒体が両円筒部に直接当たらないが、外筒体が両円筒部に近接して接触しそうになることをいう(以下、同じ)。
また、中間筒体の筒軸方向両端部がそれぞれ円筒部を構成し、中間筒体の筒軸方向中央部が鼓状筒部を構成しているので、中間筒体の位置によっては、従来の場合と比較して、内筒体と中間筒体との間の弾性体の量が少なくなる。このため、従来の場合と比較して、ねじり剛性を低くすることができる。
さらに、中間筒体の筒軸方向両端部がそれぞれ円筒部を構成し、中間筒体の筒軸方向中央部が鼓状筒部を構成しているので、中間筒体の位置によっては、従来の場合と比較して、内筒体と中間筒体の筒軸方向両端部との距離が長くなり、防振ブッシュにこじり外力が入力されたときには、中間筒体の筒軸方向一端部が弾性体を介して内筒体に当たりにくくなる。このため、従来の場合と比較して、こじり剛性を低くすることができる。
以上から、軸直剛性を高くしながら、ねじり剛性及びこじり剛性を低くすることができる。
第2の発明は、上記第1の発明において、上記各円筒部の径が、互いに同じ大きさであることを特徴とするものである。
これにより、中間筒体の各円筒部の径を互いに同じ大きさにしているので、防振ブッシュに軸直外力が入力されたときには、外筒体が弾性体を介して中間筒体の両円筒部にバランス良く当たる。このため、軸直剛性をバランス良く高くすることができる。
第3の発明は、上記第1又は2の発明において、上記各円筒部は、上記外筒体寄りに位置していることを特徴とするものである。
これにより、中間筒体の各円筒部を外筒体寄りに位置させているので、防振ブッシュに軸直外力が入力されたときには、外筒体が弾性体を介して中間筒体の両円筒部に確実に当たる。このため、従来の場合と比較して、軸直剛性を確実に高くすることができる。
また、中間筒体の各円筒部を外筒体寄りに位置させているので、従来の場合と比較して、内筒体と中間筒体の筒軸方向両端部との距離が確実に長くなり、防振ブッシュにこじり外力が入力されたときには、中間筒体の筒軸方向一端部が弾性体を介して内筒体に確実に当たりにくくなる。このため、従来の場合と比較して、こじり剛性を確実に低くすることができる。
第4の発明は、上記第1〜第3のいずれか1つの発明において、上記鼓状筒部の筒軸方向中央部が、上記内筒体寄りに位置していることを特徴とするものである。
これにより、中間筒体の鼓状筒部の筒軸方向中央部を内筒体寄りに位置させているので、従来の場合と比較して、内筒体と中間筒体との間の弾性体の量が確実に少なくなる。このため、従来の場合と比較して、ねじり剛性を確実に低くすることができる。
第5の発明は、上記第1〜第4のいずれか1つの発明において、上記弾性体の筒軸方向両端面には、筒周方向に延びる環状の切れ目又は環状の溝部が上記各円筒部の筒径方向内側に位置するようにそれぞれ形成されていることを特徴とするものである。
これにより、弾性体の筒軸方向両端面に、筒周方向に延びる環状の切れ目又は環状の溝部を中間筒体の各円筒部の筒径方向内側に位置するようにそれぞれ形成しているので、こじり剛性をさらに低くすることができる。
第6の発明は、上記第5の発明において、上記弾性体の筒軸方向両端面には、上記内筒体、上記外筒体、上記弾性体及び上記中間筒体を一体に成形して形成された成形体を筒軸方向全域に亘って筒径方向内側に絞る前の状態において、筒周方向に延びる環状の溝部が上記各円筒部の筒径方向内側に位置するようにそれぞれ形成されていることを特徴とするものである。
これにより、弾性体の筒軸方向両端面に、内筒体、外筒体、弾性体及び中間筒体を一体に成形して形成された成形体を筒軸方向全域に亘って筒径方向内側に絞る前の状態において、筒周方向に延びる環状の溝部を中間筒体の各円筒部の筒径方向内側に位置するようにそれぞれ形成しているので、その成形体を筒軸方向全域に亘って筒径方向内側に絞ると、弾性体の筒軸方向両端面に、筒周方向に延びる環状の溝部が中間筒体の各円筒部の筒径方向内側に位置するようにそれぞれ形成される。
ところで、内筒体、外筒体、弾性体及び中間筒体を一体に成形して成形体を形成した後、この成形体を筒軸方向全域に亘って筒径方向内側に絞ると、弾性体が筒径方向内側に変形してその筒径方向両端部が盛り上がり、この盛上がりによってこじり剛性が高くなる。
ここで、本発明によれば、弾性体の筒軸方向両端面に、内筒体、外筒体、弾性体及び中間筒体を一体に成形して形成された成形体を筒軸方向全域に亘って筒径方向内側に絞る前の状態において、筒周方向に延びる環状の溝部を中間筒体の各円筒部の筒径方向内側に位置するようにそれぞれ形成しているので、その成形体を筒軸方向全域に亘って筒径方向内側に絞っても、弾性体の筒径方向両端部が盛り上がりにくい。このため、こじり剛性を確実に低くすることができる。
第7の発明は、上記第1〜第6のいずれか1つの発明において、上記弾性体の筒軸方向両端面には、筒周方向に延びる環状の切れ目又は環状の溝部が上記各円筒部の筒径方向外側に位置するようにそれぞれ形成されていることを特徴とするものである。
これにより、弾性体の筒軸方向両端面に、筒周方向に延びる環状の切れ目又は環状の溝部を中間筒体の各円筒部の筒径方向外側に位置するようにそれぞれ形成しているので、こじり剛性をさらに低くすることができる。
第8の発明は、上記第7の発明において、上記弾性体の筒軸方向両端面には、上記内筒体、上記外筒体、上記弾性体及び上記中間筒体を一体に成形して形成された成形体を筒軸方向全域に亘って筒径方向内側に絞る前の状態において、筒周方向に延びる環状の溝部が上記各円筒部の筒径方向外側に位置するようにそれぞれ形成されていることを特徴とするものである。
これにより、弾性体の筒軸方向両端面に、内筒体、外筒体、弾性体及び中間筒体を一体に成形して形成された成形体を筒軸方向全域に亘って筒径方向内側に絞る前の状態において、筒周方向に延びる環状の溝部を中間筒体の各円筒部の筒径方向外側に位置するようにそれぞれ形成しているので、その成形体を筒軸方向全域に亘って筒径方向内側に絞ると、弾性体の筒軸方向両端面に、筒周方向に延びる環状の切れ目又は環状の溝部が中間筒体の各円筒部の筒径方向外側に位置するようにそれぞれ形成される。
ところで、内筒体、外筒体、弾性体及び中間筒体を一体に成形して成形体を形成した後、この成形体を筒軸方向全域に亘って筒径方向内側に絞ると、弾性体が筒径方向内側に変形してその筒径方向両端部が盛り上がり、この盛上がりによってこじり剛性が高くなる。
ここで、本発明によれば、弾性体の筒軸方向両端面に、内筒体、外筒体、弾性体及び中間筒体を一体に成形して形成された成形体を筒軸方向全域に亘って筒径方向内側に絞る前の状態において、筒周方向に延びる環状の溝部を中間筒体の各円筒部の筒径方向外側に位置するようにそれぞれ形成しているので、その成形体を筒軸方向全域に亘って筒径方向内側に絞っても、弾性体の筒径方向両端部が盛り上がりにくい。このため、こじり剛性を確実に低くすることができる。
第9の発明は、上記第1の発明の製造方法であって、上記内筒体、上記外筒体、上記弾性体及び上記中間筒体を一体に成形して成形体を形成する工程と、上記成形体の筒軸方向中央部のみ筒径方向内側に絞る工程とを備えたことを特徴とするものである。
ところで、内筒体、外筒体、弾性体及び中間筒体を一体に成形して成形体を形成した後、この成形体を筒軸方向全域に亘って筒径方向内側に絞ると、弾性体が筒径方向内側に変形してその筒径方向両端部が盛り上がり、この盛上がりによってこじり剛性が高くなる。
ここで、本発明によれば、内筒体、外筒体、弾性体及び中間筒体を一体に成形して成形体を形成した後、この成形体の筒軸方向中央部のみ筒径方向内側に絞るので、弾性体の筒径方向両端部が盛り上がることを抑制することができる。このため、こじり剛性を確実に低くすることができる。
本発明によれば、中間筒体の筒軸方向両端部が、それぞれ円筒状に形成されて円筒部を構成し、中間筒体の筒軸方向中央部が、径が筒軸方向両端側から中央側に行くに従って徐々に小さくなる鼓状に形成されて鼓状筒部を構成しているので、軸直剛性を高くしながら、ねじり剛性及びこじり剛性を低くすることができる。
以下、本発明の実施形態を図面に基づいて詳細に説明する。
(実施形態1)
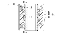
図1は、本発明の実施形態に係る防振ブッシュ1の断面図であり、この防振ブッシュ1は、自動車のサスペンションブッシュとして用いられるものである。防振ブッシュ1は、円筒状の金属製内筒体11と、この内筒体11の周囲にこれと同軸に設けられた円筒状の金属製外筒体12と、内筒体11と外筒体12との間に設けられて内筒体11と外筒体12とを互いに連結するゴム弾性体13と、このゴム弾性体13に内筒体11及び外筒体12と同軸に埋設された金属製中間筒体14とを備えている。つまり、内筒体11、中間筒体14及び外筒体12は、それぞれ同心状に配設されており、ゴム弾性体13は、内筒体11と中間筒体14との間及び中間筒体14と外筒体12との間にそれぞれ配設されている。内筒体11は、自動車の車体(図示せず)に連結される一方、外筒体12は、サスペンションアーム(図示せず)に連結される金属製ブラケット(図示せず)の取付孔に嵌装されるようになっている。内筒体11及び外筒体12と中間筒体14とは、非接触の状態になっている。
外筒体12の筒軸方向長さが中間筒体14の筒軸方向長さよりも長くなっている。中間筒体14は、削り出し加工で製作されたものである。中間筒体14の筒軸方向両端部が、それぞれ円筒状に形成されて円筒部14aを構成している。この各円筒部14aの径が、互いに同じ大きさになっている。各円筒部14aは、外筒体12寄りに位置している。中間筒体14の筒軸方向中央部(すなわち、中間筒体14における両円筒部14aの間の中間部)が、鼓状に形成されて鼓状筒部14bを構成している。つまり、この鼓状筒部14bは、径が筒軸方向両端側から中央側に行くに従って徐々に小さくなっていて、筒周方向断面視で曲線状に形成されている。言い換えると、鼓状筒部14bは、筒周方向断面視で筒径方向内側に湾曲するR形状に形成されている。鼓状筒部14bの筒軸方向中央部が、内筒体11寄りに位置している。鼓状筒部14bの厚みが円筒部14aの厚みと同じ大きさになっている。
ゴム弾性体13の筒軸方向両端面には、筒周方向に延びる環状の内側溝部13aが中間筒体14の各円筒部14aの筒径方向内側に位置するように、筒周方向に延びる環状の切れ目(スリット)13bが中間筒体14の各円筒部14aの筒径方向外側に位置するようにそれぞれ形成されている。これらの内側溝部13a及び切れ目13bはそれぞれ中間筒体14の各円筒部14aと対向している。内側溝部13a及び切れ目13bの底部の位置が、筒軸方向に関して、中間筒体14の円筒部14aの筒軸方向内側端部と略同じ位置になっている。また、ゴム弾性体13の筒軸方向両端面には、内筒体11、外筒体12、ゴム弾性体13及び中間筒体14を一体にモールド成形して形成された第1成形体15を筒軸方向全域に亘って筒径方向内側に絞る前の状態において、筒周方向に延びる環状の内側及び外側溝部13c,13dが中間筒体14の各円筒部14aの筒径方向内側及び外側に位置するようにそれぞれ形成されている(図2参照)。その第1成形体15を絞ると、内側及び外側溝部13c,13dはそれぞれ内側溝部13a及び切れ目13bになるようになっている。
以下、図1及び図2を参照しながら、防振ブッシュ1の製造方法について説明する。
まず、内筒体11、外筒体12、ゴム弾性体13及び中間筒体14を金型(図示せず)を用いて一体にモールド成形して第1成形体15を形成する(図2参照)。そして、この第1成形体15を筒軸方向全域に亘って筒径方向内側に絞って防振ブッシュ1を形成する(図1参照)。このように絞るのは、外筒体12を上記ブラケットの取付孔に嵌装するためである。
−効果−
以上により、本実施形態によれば、中間筒体14の筒軸方向両端部が、それぞれ円筒状に形成されて円筒部14aを構成し、中間筒体14の筒軸方向中央部が、鼓状に形成されて鼓状筒部14bを構成しているので、防振ブッシュ1に軸直外力が入力されたときには、外筒体12がゴム弾性体13を介して中間筒体14の両円筒部14aに当たる。このため、中間筒体14の位置によっては、従来の場合と比較して、軸直剛性を高くすることができる。
また、中間筒体14の筒軸方向両端部がそれぞれ円筒部14aを構成し、中間筒体14の筒軸方向中央部が鼓状筒部14bを構成しているので、中間筒体14の位置によっては、従来の場合と比較して、内筒体11と中間筒体14との間のゴム弾性体13の量が少なくなる。このため、従来の場合と比較して、ねじり剛性を低くすることができる。
さらに、中間筒体14の筒軸方向両端部がそれぞれ円筒部14aを構成し、中間筒体14の筒軸方向中央部が鼓状筒部14bを構成しているので、中間筒体14の位置によっては、従来の場合と比較して、内筒体11と中間筒体14の筒軸方向両端部との距離が長くなり、防振ブッシュ1にこじり外力が入力されたときには、中間筒体14の筒軸方向一端部がゴム弾性体13を介して内筒体11に当たりにくくなる。このため、従来の場合と比較して、こじり剛性を低くすることができる。
以上から、軸直剛性を高くしながら、ねじり剛性及びこじり剛性を低くすることができる。
また、中間筒体14の各円筒部14aの径を互いに同じ大きさにしているので、防振ブッシュ1に軸直外力が入力されたときには、外筒体12がゴム弾性体13を介して中間筒体14の両円筒部14aにバランス良く当たる。このため、軸直剛性をバランス良く高くすることができる。
また、中間筒体14の各円筒部14aを外筒体12寄りに位置させているので、防振ブッシュ1に軸直外力が入力されたときには、外筒体12がゴム弾性体13を介して中間筒体14の両円筒部14aに確実に当たる。このため、従来の場合と比較して、軸直剛性を確実に高くすることができる。
また、中間筒体14の各円筒部14aを外筒体12寄りに位置させているので、従来の場合と比較して、内筒体11と中間筒体14の筒軸方向両端部との距離が確実に長くなり、防振ブッシュ1にこじり外力が入力されたときには、中間筒体14の筒軸方向一端部がゴム弾性体13を介して内筒体11に確実に当たりにくくなる。このため、従来の場合と比較して、こじり剛性を確実に低くすることができる。
また、中間筒体14の鼓状筒部14bの筒軸方向中央部を内筒体11寄りに位置させているので、従来の場合と比較して、内筒体11と中間筒体14との間のゴム弾性体13の量が確実に少なくなる。このため、従来の場合と比較して、ねじり剛性を確実に低くすることができる。
また、ゴム弾性体13の筒軸方向両端面に、筒周方向に延びる環状の内側溝部13aを中間筒体14の各円筒部14aの筒径方向内側に位置するようにそれぞれ形成しているので、こじり剛性をさらに低くすることができる。
また、ゴム弾性体13の筒軸方向両端面に、内筒体11、外筒体12、ゴム弾性体13及び中間筒体14を一体に成形して形成された第1成形体15を筒軸方向全域に亘って筒径方向内側に絞る前の状態において、筒周方向に延びる環状の内側溝部13cを中間筒体14の各円筒部14aの筒径方向内側に位置するようにそれぞれ形成しているので、その第1成形体15を筒軸方向全域に亘って筒径方向内側に絞ると、ゴム弾性体13の筒軸方向両端面に、筒周方向に延びる環状の内側溝部13aが中間筒体14の各円筒部14aの筒径方向内側に位置するようにそれぞれ形成される。
ところで、内筒体11、外筒体12、ゴム弾性体13及び中間筒体14を一体に成形して第1成形体15を形成した後、この第1成形体15を筒軸方向全域に亘って筒径方向内側に絞ると、ゴム弾性体13が筒径方向内側に変形してその筒径方向両端部が盛り上がり、この盛上がりによってこじり剛性が高くなる。
ここで、本実施形態によれば、ゴム弾性体13の筒軸方向両端面に、内筒体11、外筒体12、ゴム弾性体13及び中間筒体14を一体に成形して形成された第1成形体15を筒軸方向全域に亘って筒径方向内側に絞る前の状態において、筒周方向に延びる環状の内側溝部13cを中間筒体14の各円筒部14aの筒径方向内側に位置するようにそれぞれ形成しているので、その第1成形体15を筒軸方向全域に亘って筒径方向内側に絞っても、ゴム弾性体13の筒径方向両端部が盛り上がりにくい。このため、こじり剛性を確実に低くすることができる。
また、ゴム弾性体13の筒軸方向両端面に、筒周方向に延びる環状の切れ目13bを中間筒体14の各円筒部14aの筒径方向外側に位置するようにそれぞれ形成しているので、こじり剛性をさらに低くすることができる。
また、ゴム弾性体13の筒軸方向両端面に、内筒体11、外筒体12、ゴム弾性体13及び中間筒体14を一体に成形して形成された第1成形体15を筒軸方向全域に亘って筒径方向内側に絞る前の状態において、筒周方向に延びる環状の外側溝部13dを中間筒体14の各円筒部14aの筒径方向外側に位置するようにそれぞれ形成しているので、その第1成形体15を筒軸方向全域に亘って筒径方向内側に絞ると、ゴム弾性体13の筒軸方向両端面に、筒周方向に延びる環状の切れ目13bが中間筒体14の各円筒部14aの筒径方向外側に位置するようにそれぞれ形成される。
ところで、内筒体11、外筒体12、ゴム弾性体13及び中間筒体14を一体に成形して第1成形体15を形成した後、この第1成形体15を筒軸方向全域に亘って筒径方向内側に絞ると、ゴム弾性体13が筒径方向内側に変形してその筒径方向両端部が盛り上がり、この盛上がりによってこじり剛性が高くなる。
ここで、本実施形態によれば、ゴム弾性体13の筒軸方向両端面に、内筒体11、外筒体12、ゴム弾性体13及び中間筒体14を一体に成形して形成された第1成形体15を筒軸方向全域に亘って筒径方向内側に絞る前の状態において、筒周方向に延びる環状の外側溝部13dを中間筒体14の各円筒部14aの筒径方向外側に位置するようにそれぞれ形成しているので、その第1成形体15を筒軸方向全域に亘って筒径方向内側に絞っても、ゴム弾性体13の筒径方向両端部が盛り上がりにくい。このため、こじり剛性を確実に低くすることができる。
なお、本実施形態では、内側溝部13aを形成しているが、形成しなくても良い。
また、本実施形態では、切れ目13bを形成しているが、形成しなくても良い。
(実施形態2)
本実施形態は、ゴム弾性体13の筒軸方向両端面に、第1成形体15を筒軸方向全域に亘って筒径方向内側に絞る前の状態において、環状の外側溝部13dをそれぞれ形成している点で実施形態1と同じものであるが(図2参照)、図3に示すように、ゴム弾性体13の筒軸方向両端面に、絞った後の状態において、筒周方向に延びる環状の外側溝部13bが中間筒体14の各円筒部14aの筒径方向外側に位置するようにそれぞれ形成されている点で実施形態1と異なるものである。
−効果−
以上により、本実施形態によれば、ゴム弾性体13の筒軸方向両端面に、筒周方向に延びる環状の外側溝部13bを中間筒体14の各円筒部14aの筒径方向外側に位置するようにそれぞれ形成しているので、こじり剛性をさらに低くすることができる。
また、ゴム弾性体13の筒軸方向両端面に、内筒体11、外筒体12、ゴム弾性体13及び中間筒体14を一体に成形して形成された第1成形体15を筒軸方向全域に亘って筒径方向内側に絞る前の状態において、筒周方向に延びる環状の外側溝部13dを中間筒体14の各円筒部14aの筒径方向外側に位置するようにそれぞれ形成しているので、その第1成形体15を筒軸方向全域に亘って筒径方向内側に絞ると、ゴム弾性体13の筒軸方向両端面に、筒周方向に延びる環状の外側溝部13bが中間筒体14の各円筒部14aの筒径方向外側に位置するようにそれぞれ形成される。
なお、本実施形態では、外側溝部13bを形成しているが、形成しなくても良い。
(実施形態3)
本実施形態は、防振ブッシュ1の製造方法が実施形態1と異なるものである。
図4に示すように、ゴム弾性体13の筒軸方向両端面には、図1(又は図3)に示すような環状の切れ目(又は外側溝部)13bが形成されていない。
ゴム弾性体13の外周面における中間筒体14の鼓状筒部14bに対応する部分には、内筒体11、ゴム弾性体13及び中間筒体14を一体に成形して形成された第2成形体16を外筒体12に圧入する前の状態において、環状の突条部13eとこの突条部13eの筒軸方向両側にそれぞれ配設された2つの環状の外周溝部13fとが形成されている(図5参照)。突条部13eの外径が外筒体12の内径よりも大きくなっている。
以下、図4及び図5を参照しながら、防振ブッシュ1の製造方法について説明する。
まず、内筒体11、ゴム弾性体13及び中間筒体14を金型を用いて一体にモールド成形して第2成形体16を形成する(図5参照)。そして、この第2成形体16の外周面に接着剤を塗る。それから、第2成形体16を外筒体12に圧入して防振ブッシュ1を形成する(図4参照)。このように第2成形体16を外筒体12に圧入すると、突条部13eが潰れて両外周溝部13fが埋まるようになっている。
なお、本実施形態では、切れ目(又は外側溝部)13bを形成していないが、形成しても良い。
(実施形態4)
本実施形態は、防振ブッシュ1の製造方法が実施形態1と異なるものである。
図6に示すように、外筒体12の筒軸方向長さが中間筒体14の筒軸方向長さよりも短くなっている。ゴム弾性体13の筒軸方向両端面には、図1(又は図3)に示すような環状の切れ目(又は外側溝部)13bが形成されていない。
以下、防振ブッシュ1の製造方法について説明する。
内筒体11、外筒体12、ゴム弾性体13及び中間筒体14を金型を用いて一体にモールド成形して防振ブッシュ1を形成する(図6参照)。なお、モールド成形後絞らなくても、外筒体12を上記ブラケットの取付孔に嵌装することができるようになっている。
なお、本実施形態では、切れ目(又は外側溝部)13bを形成していないが、形成しても良い。
(実施形態5)
本実施形態は、防振ブッシュ1の製造方法が実施形態1と異なるものである。
図7に示すように、外筒体12の筒軸方向長さが中間筒体14の筒軸方向長さと同じ大きさになっている。ゴム弾性体13の筒軸方向両端面には、図1(又は図3)に示すような環状の切れ目(又は外側溝部)13bが形成されていない。
以下、図7及び図8を参照しながら、防振ブッシュ1の製造方法について説明する。
まず、内筒体11、外筒体12、ゴム弾性体13及び中間筒体14を金型を用いて一体にモールド成形して第1成形体15を形成する(図8参照)。そして、この第1成形体15の筒軸方向中央部のみ筒径方向内側に絞って防振ブッシュ1を形成する(図7参照)。なお、筒軸方向両端部を絞らなくても、外筒体12を上記ブラケットの取付孔に嵌装することができるようになっている。
−効果−
ところで、内筒体11、外筒体12、ゴム弾性体13及び中間筒体14を一体に成形して第1成形体15を形成した後、この第1成形体15を筒軸方向全域に亘って筒径方向内側に絞ると、ゴム弾性体13が筒径方向内側に変形してその筒径方向両端部が盛り上がり、この盛上がりによってこじり剛性が高くなる。
ここで、本実施形態によれば、内筒体11、外筒体12、ゴム弾性体13及び中間筒体14を一体に成形して第1成形体15を形成した後、この第1成形体15の筒軸方向中央部のみ筒径方向内側に絞るので、ゴム弾性体13の筒径方向両端部が盛り上がることを抑制することができる。このため、こじり剛性を確実に低くすることができる。
なお、本実施形態では、切れ目(又は外側溝部)13bを形成していないが、形成しても良い。
(その他の実施形態)
上記各実施形態において、図9に示すように、中間筒体14に厚み方向に貫通する複数の貫通孔14dを形成しても良い。このように貫通孔14dを形成すると、モールド成形時にラバーが回りやすくなる。
また、上記各実施形態では、中間筒体14を削り出し加工で製作したもので構成しているが、これに限らず、いわゆる巻きタイプのもので構成しても良い。
また、上記各実施形態では、外筒体12の筒軸方向長さを中間筒体14の筒軸方向長さと同じ大きさにしたり、これよりも長くしたり、これよりも短くしたりしているが、いずれであっても良い。
また、上記各実施形態では、ゴム弾性体13の筒軸方向両端面に内側溝部13aをそれぞれ形成しているが、環状の切れ目(スリット)をそれぞれ形成しても良い。
また、上記各実施形態では、第1成形体15を絞ったり、第2成形体16を圧入したりすることで、内側溝部13cや外側溝部13dをそれぞれ内側溝部13aや切れ目(又は外側溝部)13bにしているが、絞った後や圧入した後に内側溝部13aや切れ目(又は外側溝部)13bを形成しても良い。
また、上記各実施形態では、内側溝部13a及び切れ目(又は外側溝部)13bの底部の位置を、筒軸方向に関して、中間筒体14の円筒部14aの筒軸方向内側端部と略同じ位置にしているが、これよりも筒軸方向外側の位置にしても良い。
また、上記各実施形態では、防振ブッシュ1を自動車のサスペンションブッシュとして用いているが、軸直剛性を高くしながら、ねじり剛性及びこじり剛性を低くしたいという要求がある限り、如何なるブッシュとして用いても良い。
本発明は、実施形態に限定されず、その精神又は主要な特徴から逸脱することなく他の色々な形で実施することができる。
このように、上述の実施形態はあらゆる点で単なる例示に過ぎず、限定的に解釈してはならない。本発明の範囲は請求の範囲によって示すものであって、明細書本文には何ら拘束されない。さらに、請求の範囲の均等範囲に属する変形や変更は、全て本発明の範囲内のものである。
以上説明したように、本発明に係る防振ブッシュは、軸直剛性を高くしながら、ねじり剛性及びこじり剛性を低くするための用途等に適用できる。
本発明の実施形態に係る防振ブッシュの断面図である。 第1成形体の断面図である。 防振ブッシュの断面図である。 防振ブッシュの断面図である。 第2成形体の断面図である。 防振ブッシュの断面図である。 防振ブッシュの断面図である。 第1成形体の断面図である。 中間筒体の正面図である。
1 防振ブッシュ
11 内筒体
12 外筒体
13 ゴム弾性体
13a 内側溝部
13b 切れ目(外側溝部)
13e 突条部
13f 外周溝部
14 中間筒体
14a 円筒部
14b 鼓状筒部
15 第1成形体
16 第2成形体

Claims (9)

  1. 内筒体と、該内筒体の周囲にこれと同軸に設けられた外筒体と、該内筒体と該外筒体との間に設けられた弾性体と、該弾性体に上記内筒体及び上記外筒体と同軸に埋設された金属製中間筒体とを備えた防振ブッシュであって、
    上記中間筒体の筒軸方向両端部が、それぞれ円筒状に形成されて円筒部を構成し、
    上記中間筒体の筒軸方向中央部が、径が筒軸方向両端側から中央側に行くに従って徐々に小さくなる鼓状に形成されて厚みが上記円筒部の厚みと同じ大きさの鼓状筒部を構成していることを特徴とする防振ブッシュ。
  2. 請求項1記載の防振ブッシュにおいて、
    上記各円筒部の径が、互いに同じ大きさであることを特徴とする防振ブッシュ。
  3. 請求項1又は2記載の防振ブッシュにおいて、
    上記各円筒部は、上記外筒体寄りに位置していることを特徴とする防振ブッシュ。
  4. 請求項1〜3のいずれか1つに記載の防振ブッシュにおいて、
    上記鼓状筒部の筒軸方向中央部が、上記内筒体寄りに位置していることを特徴とする防振ブッシュ。
  5. 請求項1〜4のいずれか1つに記載の防振ブッシュにおいて、
    上記弾性体の筒軸方向両端面には、筒周方向に延びる環状の切れ目又は環状の溝部が上記各円筒部の筒径方向内側に位置するようにそれぞれ形成されていることを特徴とする防振ブッシュ。
  6. 請求項5記載の防振ブッシュにおいて、
    上記弾性体の筒軸方向両端面には、上記内筒体、上記外筒体、上記弾性体及び上記中間筒体を一体に成形して形成された成形体を筒軸方向全域に亘って筒径方向内側に絞る前の状態において、筒周方向に延びる環状の溝部が上記各円筒部の筒径方向内側に位置するようにそれぞれ形成されていることを特徴とする防振ブッシュ。
  7. 請求項1〜6のいずれか1つに記載の防振ブッシュにおいて、
    上記弾性体の筒軸方向両端面には、筒周方向に延びる環状の切れ目又は環状の溝部が上記各円筒部の筒径方向外側に位置するようにそれぞれ形成されていることを特徴とする防振ブッシュ。
  8. 請求項7記載の防振ブッシュにおいて、
    上記弾性体の筒軸方向両端面には、上記内筒体、上記外筒体、上記弾性体及び上記中間筒体を一体に成形して形成された成形体を筒軸方向全域に亘って筒径方向内側に絞る前の状態において、筒周方向に延びる環状の溝部が上記各円筒部の筒径方向外側に位置するようにそれぞれ形成されていることを特徴とする防振ブッシュ。
  9. 請求項1記載の防振ブッシュの製造方法であって、
    上記内筒体、上記外筒体、上記弾性体及び上記中間筒体を一体に成形して成形体を形成する工程と、
    上記成形体の筒軸方向中央部のみ筒径方向内側に絞る工程とを備えたことを特徴とする防振ブッシュの製造方法。
JP2006224114A 2006-08-21 2006-08-21 防振ブッシュ及びその製造方法 Expired - Fee Related JP4927476B2 (ja)

Priority Applications (1)

Application Number Priority Date Filing Date Title
JP2006224114A JP4927476B2 (ja) 2006-08-21 2006-08-21 防振ブッシュ及びその製造方法

Applications Claiming Priority (1)

Application Number Priority Date Filing Date Title
JP2006224114A JP4927476B2 (ja) 2006-08-21 2006-08-21 防振ブッシュ及びその製造方法

Publications (2)

Publication Number Publication Date
JP2008045710A JP2008045710A (ja) 2008-02-28
JP4927476B2 true JP4927476B2 (ja) 2012-05-09

Family

ID=39179637

Family Applications (1)

Application Number Title Priority Date Filing Date
JP2006224114A Expired - Fee Related JP4927476B2 (ja) 2006-08-21 2006-08-21 防振ブッシュ及びその製造方法

Country Status (1)

Country Link
JP (1) JP4927476B2 (ja)

Families Citing this family (3)

* Cited by examiner, † Cited by third party
Publication number Priority date Publication date Assignee Title
JP5290933B2 (ja) * 2009-10-28 2013-09-18 倉敷化工株式会社 防振ブッシュの製造方法及び中間筒絞り加工装置
JP6088286B2 (ja) 2013-02-25 2017-03-01 株式会社ブリヂストン 防振装置
DE102014003324B4 (de) * 2014-03-08 2015-11-26 Audi Ag Gummi-Metall-Hülsenlager

Family Cites Families (5)

* Cited by examiner, † Cited by third party
Publication number Priority date Publication date Assignee Title
JPS60194640A (ja) * 1984-03-16 1985-10-03 Hitachi Ltd せり機
JPS63164634A (ja) * 1986-12-26 1988-07-08 Toshiba Corp 無線送受信回路
JPS6438340A (en) * 1987-07-31 1989-02-08 Toshiba Corp Picture forming device
JP2759208B2 (ja) * 1988-08-03 1998-05-28 株式会社日立製作所 シエル鋳型造型用金型
JPH09100861A (ja) * 1995-10-05 1997-04-15 Toyoda Gosei Co Ltd サスペンションブッシュ

Also Published As

Publication number Publication date
JP2008045710A (ja) 2008-02-28

Similar Documents

Publication Publication Date Title
US10451133B2 (en) Tubular vibration-damping device
JP2017067157A (ja) ブラケット付き筒形防振装置
JP6773803B2 (ja) ダイナミックダンパ
JP5137751B2 (ja) 防振装置
JP4927476B2 (ja) 防振ブッシュ及びその製造方法
JP4716387B2 (ja) 防振ブッシュ
JP4395760B2 (ja) 防振ブッシュ
JP2012127441A (ja) 防振ブッシュ、及び該防振ブッシュを備えたトルクロッド
JP6088286B2 (ja) 防振装置
JPH0529560Y2 (ja)
JP2009008118A (ja) ラバーブッシュ
JP4833908B2 (ja) 防振ブッシュ
JP4533763B2 (ja) 防振装置及びその組み付け方法
JP4699294B2 (ja) 防振装置
JP4358874B2 (ja) 防振ブッシュ
JP4511422B2 (ja) ブッシュ組立体
JP7165091B2 (ja) 防振ブッシュ
JP7044469B2 (ja) 防振装置
JP2009073366A (ja) スタビライザブッシュ付きスタビライザバー及びその製造方法
JP4937063B2 (ja) スタビライザブッシュ付きスタビライザバー
KR102677071B1 (ko) 특성비 확장형 차량용 고무 부싱
JP2008163986A (ja) 防振ブッシュ
CN205273079U (zh) Ctba用纵臂衬套及适用该衬套的车辆用ctba
JP4833112B2 (ja) 車両サスペンション用アッパーサポート
JP4303297B2 (ja) 防振ブッシュ

Legal Events

Date Code Title Description
A621 Written request for application examination

Free format text: JAPANESE INTERMEDIATE CODE: A621

Effective date: 20090612

A977 Report on retrieval

Free format text: JAPANESE INTERMEDIATE CODE: A971007

Effective date: 20100804

A131 Notification of reasons for refusal

Free format text: JAPANESE INTERMEDIATE CODE: A131

Effective date: 20100817

A521 Written amendment

Free format text: JAPANESE INTERMEDIATE CODE: A523

Effective date: 20100916

A02 Decision of refusal

Free format text: JAPANESE INTERMEDIATE CODE: A02

Effective date: 20101207

A521 Written amendment

Free format text: JAPANESE INTERMEDIATE CODE: A523

Effective date: 20110201

A911 Transfer of reconsideration by examiner before appeal (zenchi)

Free format text: JAPANESE INTERMEDIATE CODE: A911

Effective date: 20110208

A912 Removal of reconsideration by examiner before appeal (zenchi)

Free format text: JAPANESE INTERMEDIATE CODE: A912

Effective date: 20110415

A01 Written decision to grant a patent or to grant a registration (utility model)

Free format text: JAPANESE INTERMEDIATE CODE: A01

A61 First payment of annual fees (during grant procedure)

Free format text: JAPANESE INTERMEDIATE CODE: A61

Effective date: 20120209

FPAY Renewal fee payment (prs date is renewal date of database)

Free format text: PAYMENT UNTIL: 20150217

Year of fee payment: 3

R150 Certificate of patent (=grant) or registration of utility model

Free format text: JAPANESE INTERMEDIATE CODE: R150

LAPS Cancellation because of no payment of annual fees