JP4903988B2 - 自然サーモキャリアの熱作動で対流する放熱システム - Google Patents

自然サーモキャリアの熱作動で対流する放熱システム Download PDF

Info

Publication number
JP4903988B2
JP4903988B2 JP2004100005A JP2004100005A JP4903988B2 JP 4903988 B2 JP4903988 B2 JP 4903988B2 JP 2004100005 A JP2004100005 A JP 2004100005A JP 2004100005 A JP2004100005 A JP 2004100005A JP 4903988 B2 JP4903988 B2 JP 4903988B2
Authority
JP
Japan
Prior art keywords
heat
fluid
pipe
active
natural
Prior art date
Legal status (The legal status is an assumption and is not a legal conclusion. Google has not performed a legal analysis and makes no representation as to the accuracy of the status listed.)
Expired - Fee Related
Application number
JP2004100005A
Other languages
English (en)
Other versions
JP2005283014A (ja
Inventor
泰和 楊
Current Assignee (The listed assignees may be inaccurate. Google has not performed a legal analysis and makes no representation or warranty as to the accuracy of the list.)
Individual
Original Assignee
Individual
Priority date (The priority date is an assumption and is not a legal conclusion. Google has not performed a legal analysis and makes no representation as to the accuracy of the date listed.)
Filing date
Publication date
Application filed by Individual filed Critical Individual
Priority to JP2004100005A priority Critical patent/JP4903988B2/ja
Publication of JP2005283014A publication Critical patent/JP2005283014A/ja
Application granted granted Critical
Publication of JP4903988B2 publication Critical patent/JP4903988B2/ja
Anticipated expiration legal-status Critical
Expired - Fee Related legal-status Critical Current

Links

Images

Classifications

    • YGENERAL TAGGING OF NEW TECHNOLOGICAL DEVELOPMENTS; GENERAL TAGGING OF CROSS-SECTIONAL TECHNOLOGIES SPANNING OVER SEVERAL SECTIONS OF THE IPC; TECHNICAL SUBJECTS COVERED BY FORMER USPC CROSS-REFERENCE ART COLLECTIONS [XRACs] AND DIGESTS
    • Y02TECHNOLOGIES OR APPLICATIONS FOR MITIGATION OR ADAPTATION AGAINST CLIMATE CHANGE
    • Y02EREDUCTION OF GREENHOUSE GAS [GHG] EMISSIONS, RELATED TO ENERGY GENERATION, TRANSMISSION OR DISTRIBUTION
    • Y02E10/00Energy generation through renewable energy sources
    • Y02E10/10Geothermal energy

Landscapes

  • Buildings Adapted To Withstand Abnormal External Influences (AREA)
  • Steam Or Hot-Water Central Heating Systems (AREA)

Description

本発明は、自然サーモキャリアの熱作動で対流する放熱システムに関するものである。即ち、自然サーモキャリアを使って、より低い温度の流体を加温し、流体の寒い時下がり、暑い時上がる特性を利用して、放熱を受ける温度差体に開放型又は封鎖型の機能を行なうのである。
従来、異なる空間の流体に加温又は放熱を行なう場合、通常、熱ポンプで交換を実施し、作動の補助として、流体ポンプを設けることが必要なので、そのシステムに動力源が必要であるし、その設置コストがより高いし、運転する時は、エネルギーを使うことが必要なので、その運転コストもより高いのである。
本発明の目的は、自然サーモキャリアの熱作動で対流する放熱システムに関するものである。それは、熱貯蔵がより安定する地層、地表、池、湖、川、砂漠、氷山又は海洋などの固体又は液体のサーモキャリアに能動熱作動器を設けて、能動熱作動器の両端にそれぞれ流体の配管を設けることで、それぞれ温度差体及び放熱を受ける温度差体に流れる。それによって、熱作動で対流する装置のようなものを構成する。この熱作動で対流する装置を通して、温度差体より進入口配管から能動熱作動器108に入るより低い温度の流体が加温されるので、流体の寒い時下がり、暑い時上がる特性を利用して、対流機能を生じさせる。又、出口配管から放熱を受ける温度差体に流れることで開放型の放熱システムが構成され、又は、配管を通して能動放熱器201に流してから、再び配管を通して能動熱作動器108に流れて戻ることで、封鎖型の放熱システムが構成されるのである。
本発明は、主に、より安定する地層、地表、池、湖、川、砂漠、氷山又は海洋などの固体又は液体のサーモキャリアに能動熱作動器及び流体の配管を設けることで、熱作動の対流装置のようなものを構成する。この熱作動で対流する装置を通して、能動熱作動器に入るより低い温度の流体が加温されるので、流体の寒い時下がり、暑い時上がる特性を利用して、放熱を受ける温度差体に流れる。
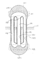
図1は、本発明の実施例による自然サーモキャリアの対流放熱システムの開放型を呈する放熱システムの立体構造の斜視図である。図2は、図1の断面図である。図1及び図2で示される熱作動で対流する装置100の中の配管の進入口111をより低い場所に選んで設けることで、より低い温度の熱交換流体104が下に流す配管の進入口111に入りやすくなるが、配管の排出口112をより高い場所に選んで設けることで、能動熱作動器108で加温される熱交換流体104を上の配管の排出口112に排出しやすくなる。それによって、開放型の放熱システムが構成されるのである。その構造の特徴は、下記のものを含む。
自然サーモキャリア101は、熱貯蔵がより安定する地層、地表、池、湖、川、砂漠、氷山又は海洋などの固体又は液体のサーモキャリアである。
温度差体102は、より低い温度の気体、固体又は液体に関するものであり、それを常態で熱交換流体104と接触させることで、相互に均等な熱伝導を行なえるものである。
放熱を受ける温度差体103は、気体、固体又は液体で構成される特定の機能空間又は構造であり、それによって、システムの運転中、直接又は間接で能動熱作動器で加温される熱交換流体で釈放されるエネルギーの気体、固体又は液体を受ける。それは、屋根、路面、温室、水池、加温又は凍結防止の構造体で構成されるものである。
熱交換流体104は、熱貯蔵及び熱伝導の性質が良い気体又は液体で構成するものを含む。又、それを常態で温度差体102と接触させることで、相互に均等な熱伝導を行なえるものである。
熱作動で対流する装置100は、少なくとも1個のより低い熱交換流体が下に流れる流体の配管106に流れていくことを提供することで、自然サーモキャリアの中に設けられる少なくとも1個の能動熱作動器108の底部と繋がるもの、及び少なくとも1個の加温した後の熱交換流体104が上に流れる流体の配管107を提供することで、能動熱作動器108の上方流体の出口と繋がるもので構成されるものである。
流体の配管106及び流体の配管107は、丸形又はその他幾何形状を呈するパイプ形状の構造物又は建築の構造体で構成され、又は、自然サーモキャリアの中の通路で構成され、下に流れる流体の配管106とその接触する自然サーモキャリア101との間に良い断熱構造109を備えるべきであり、又は、直接良い断熱材料で配管を構成する。その中で、少なくとも1個の下に流れる流体の配管106は、より低い温度の熱交換流体104が下に流れる流体の配管106の進入口111を経由してから、熱作動で対流する装置100の能動熱作動器108のより低い部分に入ることを提供する。又、少なくとも1個の上に流れる流体の配管107が、熱作動で対流する装置100の能動熱作動器108の上端から放熱を受ける温度差体103に流すことで、熱交換流体104が上に流れる流体の配管の排出口112を経由して、放熱を受ける温度差体103に排出されるものである。
能動熱作動器108は、熱作動で対流する装置100のより低い所に設けられ、配管と同一のサイズで一体として伸びて作ることができる。又は、流体の配管106及び流体の配管107と異なるサイズの構造で作ることもできる。その材料は、流体の配管106及び流体の配管107と同一の材料を使うか、その他良い熱伝導特性がある異なる材料で構成することができる。又、自然サーモキャリア101と良い熱伝導状態の構造形態を維持する。又は、直接自然サーモキャリア101の内部に流体を流通させる空間を利用して、直接能動熱作動器の機能を構成することで、前述の良い熱伝導特性の材料で作られる能動熱作動器108の代わりとして使われる。能動熱作動器のケースは、更に必要によって熱伝導フィンを増設することもできる。
図3は、図1の自然サーモキャリアの対流放熱システムの更に封鎖流路を呈する封鎖型の放熱システムの立体構造の斜視図である。図4は、図3の断面図である。図3及び図4の熱作動で対流する装置100の中の能動熱作動器108に配置される流体の配管107の排出口112と流体の配管106の進入口111との間には、そのトップ端に能動放熱器201、流体の配管221及び流体の配管222を設けることで、封鎖配管構造を構成することができる。流体の配管107の排出口112を上がる流体の配管221と接続して、能動放熱器201のより高い位置に流すことで、能動熱作動器108からの加温された熱交換流体104を能動放熱器201に導入してから、能動放熱器201の周りの放熱を受ける温度差体103にエネルギーを放熱するもの、及び能動放熱器201のより低い位置に配置される流体の配管222が能動熱作動器108の配管の進入口111に流れることで、能動放熱器201からの熱交換流体104を能動熱作動器108に導入するもので、封鎖型の熱作動及び放熱の循環システムが構成されるのである。図3及び図4で示される封鎖型の熱作動及び放熱の循環システムは、図1及び図2で記載された自然サーモキャリア101、放熱を受ける温度差体103、熱交換流体104、熱作動で対流する装置100、流体の配管106及び流体の配管107を備えて、より低い温度の熱交換流体104を流すことを提供する他、又、流体の配管106の進入口111を経由して、能動熱作動器108の底部に入る。又、能動熱作動器108で加熱する熱交換流体104を能動熱作動器108の上部の上に流れる流体の配管107の排出口112より排出する。上述の構成ユニット他、その特徴は、下記のものを含むのである。
流体の配管221及び流体の配管222は、1セット又は1セット以上の断熱構造109で、又は、良い断熱材質がある丸形又はその他幾何形状を呈するパイプ形状の構造物又は建築の構造体で構成される流体の配管221であり、その下端は流体の配管107の上に流れる配管の排出口112と繋がって、その上端は能動放熱器201の上端の進入口211と繋がることで、下から上に比較的高い温度の熱交換流体104を流すもので、及び少なくとも1セット又は1セット以上の断熱構造109、又は、良い断熱材質がある材料で構成される流体の配管222を通して、放熱して温度を下げた熱交換流体104を下に流させて、その下端が流体の配管106の進入口111に繋がって、その上端が能動放熱器201の下端の出口212に繋がることで、∩形状の放熱対流装置200を構成してから、能動熱作動器108、流体の配管106及び流体の配管107の熱作動で対流する装置100と共同で封鎖の放熱循環システムである。
能動放熱器201は、1セット又は1セット以上の従来の良い放熱材料及び一体又はマルチタイプの構造形態で構成され、更に、必要によって熱伝導フィン202を設けることで、又は、直接放熱機能がある流体の配管で構成される能動放熱器のである。
放熱を受ける温度差体103は、気体、固体又は液体で構成される特定の機能空間又は構造であり、それによって、システムの運転中、直接又は間接で能動熱作動器で加温される熱交換流体で釈放されるエネルギーの気体、固体又は液体を受けるものである。それは、屋根、路面、温室、水池、加温又は凍結防止の構造体で構成されるものである。
図5は、本発明の能動熱作動器の内部に熱伝導フィン又は逆流防止め板が増設される開放型放熱システム構造例の斜視図である。図6は、図5の断面図である。図5及び図6の主要な特徴は、前述の図1及び図2で記載された自然サーモキャリアの熱作動で対流する放熱システムが開放式の立体構造を呈する。その中で、熱作動で対流する装置100の底部の能動熱作動器108の外部に、必要によって自然サーモキャリアとの熱伝導効果を増進できる熱伝導フィン1001を増設することで、自然サーモキャリアとの熱伝導効果を増進する。又、能動熱作動器108の内部に更に上に傾いて交差する熱伝導及び逆流を防止する止め板1002を設けることで、熱伝導効果を増加し、加温された後の熱交換流体104が逆方向に流れて戻ることを防止することができるのである。
図7は、本発明の能動熱作動器の内部に熱伝導フィン又は逆流防止め板が増設される封鎖型放熱システム体構造例の斜視図である。図8は、図7の断面図である。図7及び図8の主要な特徴は、前述の図3及び図4で記載された自然サーモキャリアの熱作動で対流する放熱システムが封鎖型の立体構造を呈する。その中で、熱作動で対流する装置100の底部の能動熱作動器108及び相対的に高い場所に設けられる∩形状の放熱対流装置200の能動放熱器201は、必要によって自然サーモキャリアとの熱伝導効果を増進できる熱伝導フィン1001を増設することで、自然サーモキャリアとの熱伝導効果を増進する。又、能動熱作動器108及び能動放熱器201の内部に更に上に傾いて交差する熱伝導及び逆流を防止する止め板を設けることで、熱伝導効果を増加し、加温された後の熱交換流体104が逆方向に流れて戻ることを防止することができるのである。
この自然サーモキャリアの熱作動で対流する放熱システムについて、能動熱作動器108及び能動放熱器201は、必要によって直線パイプ形状、曲線パイプ形状、螺旋パイプ形状、ウェーブパイプ形状又はその他2次元(2D)又は3次元(3D)の曲がる形状が上に向かって傾いて昇るパイプ形状の流体の配管の構造形態で構成され、その外部に必要によって熱伝導フィン1001を増設して、その内部に必要によって熱伝導及び逆流を防止する止め板を設けることができる。
図9は、本発明の能動熱作動器が螺旋パイプ形状を呈する開放型放熱システム構造例の斜視図である。図10は、図9の断面図である。図9及び図10の中で、能動熱作動器108は、1セット又は1セット以上の丸形又はその他幾何形状の螺旋を呈するパイプ形状の構造で能動熱作動器108を構成することで、流体の配管とマッチングして開放型の放熱システムが構成され、能動熱作動器108の外部に必要によって熱伝導フィン1001を増設して、その内部に必要によって上に傾いて交差する熱伝導及び逆流を防止する止め板を設けることができる。
図11は、本発明の能動熱作動器又は能動放熱器が螺旋パイプ形状を呈する封鎖型放熱システム構造例の斜視図である。図12は、図11の断面図である。図11及び図12の中で、能動熱作動器108及び能動放熱器201は、1セット又は1セット以上の丸形又はその他幾何形状の螺旋を呈するパイプ形状の構造で能動熱作動器108及び能動放熱器201を構成することで、流体の配管とマッチングして封鎖型の放熱システムが構成され、能動熱作動器108及び能動放熱器201の外部に必要によって熱伝導フィン1001を増設して、その内部に必要によって上に傾いて交差する熱伝導及び逆流を防止する止め板を設けることができる。
図13は、本発明の能動熱作動器が曲がるパイプ形状を呈する開放型放熱システム構造例の斜視図である。図14は、図13の断面図である。図13及び図14の中で、能動熱作動器108は、1セット又は1セット以上の丸形又はその他幾何形状の曲がるタイプを呈するパイプ形状の構造で能動熱作動器108を構成することで、流体の配管とマッチングして開放型の放熱システムが構成され、能動熱作動器108の外部に必要によって熱伝導フィン1001を増設して、その内部に必要によって上に傾いて交差する熱伝導及び逆流を防止する止め板を設けることができる。
図15は、本発明の能動熱作動器又は能動放熱器が曲がるパイプ形状を呈する封鎖型放熱システム構造例の斜視図である。図16は、図15の断面図である。図15及び図16の中で、能動熱作動器108及び能動放熱器201は、1セット又は1セット以上の丸形又はその他幾何形状の曲がるタイプを呈するパイプ形状の構造で能動熱作動器108及び能動放熱器201を構成することで、流体の配管とマッチングして封鎖型の放熱システムが構成され、能動熱作動器108及び能動放熱器201の外部に必要によって熱伝導フィン1001を増設して、その内部に必要によって上に傾いて交差する熱伝導及び逆流を防止する止め板を設けることができる。
図17は、本発明の能動熱作動器のガイドフロー横断面がより大きいサイズの導管形状を呈する開放型放熱システム構造例の斜視図である。図18は、図17の断面図である。図17及び図18の中で、能動熱作動器108は、1セット又は1セット以上の丸形又はその他幾何形状のガイドフロー横断面がより大きいサイズの導管形状を呈するパイプ形状の構造で能動熱作動器108を構成することで、流体の配管とマッチングして開放型の放熱システムが構成され、能動熱作動器108の外部に必要によって熱伝導フィン1001を増設して、その内部に必要によって上に傾いて交差する熱伝導及び逆流を防止する止め板を設けることができる。
図19は、本発明の能動熱作動器又は能動放熱器のガイドフロー横断面がより大きいサイズの導管形状を呈する封鎖型放熱システム構造例の斜視図である。図20は、図19の断面図である。図19及び図20の中で、能動熱作動器108及び能動放熱器201は、1セット又は1セット以上の丸形又はその他幾何形状のガイドフロー横断面がより大きいサイズの導管形状を呈するパイプ形状の構造で能動熱作動器108及び能動放熱器201を構成することで、流体の配管とマッチングして封鎖型の放熱システムが構成され、能動熱作動器108及び能動放熱器201の外部に必要によって熱伝導フィン1001を増設して、その内部に必要によって上に傾いて交差する熱伝導及び逆流を防止する止め板を設けることができる。
図21は、本発明の能動熱作動器の複数のパイプが分流することを呈する開放型放熱システム構造例の斜視図である。図22は、図21の断面図である。図21及び図22の中で、能動熱作動器108は、1セット又は1セット以上の丸形又はその他幾何形状の複数のパイプが分流することを呈するパイプ形状の構造で能動熱作動器108を構成することで、流体の配管とマッチングして開放型の放熱システムが構成され、能動熱作動器108の外部に必要によって熱伝導フィン1001を増設して、その内部に必要によって上に傾いて交差する熱伝導及び逆流を防止する止め板を設けることができる。
図23は、本発明の能動熱作動器又は能動放熱器の複数のパイプが分流することを呈する封鎖型放熱システム構造例の斜視図である。図24は、図23の断面図である。図23及び図24の中で、能動熱作動器108及び能動放熱器201は、1セット又は1セット以上の丸形又はその他幾何形状の複数のパイプが分流することを呈するパイプ形状の構造で能動熱作動器108及び能動放熱器201を構成することで、流体の配管とマッチングして封鎖型の放熱システムが構成され、能動熱作動器108及び能動放熱器201の外部に必要によって熱伝導フィン1001を増設して、その内部に必要によって上に傾いて交差する熱伝導及び逆流を防止する止め板を設けることができる。
上述の自然サーモキャリアの熱作動で対流する放熱システムに関するものである。その開放型の熱作動及び放熱する循環システム構造は、更に図25及び図26に示す通り、丸形又はその他幾何形状の異なる穴直径があるパイプ構造で相互に嵌めて構成される。又、両者の間に断熱構造を設けるか、直接断熱材料で構成し、異なる穴直径があるパイプ形状の構造を嵌めることで、多重パイプ構造の開放式流体の配管構造が構成される。それは、少なくとも1セットのパイプ直径がより小さい配管をパイプ直径がより大きいパイプの中に嵌めて設けて、パイプ直径がより小さい配管の内部パイプのトップ部の封鎖端面1307の底部から、パイプ直径がより大きい外部パイプ壁にガイドフローパイプ1309を貫通して設けることで、より低い温度の流体を導入して、能動熱作動器108まで下げる。パイプ直径がより大きい配管を通して、より高い温度の流体を上昇して排出させる。2種の異なるパイプ直径がある配管の底部が共同で自然サーモキャリアの中の能動熱作動器108と繋がることで、開放型の放熱システムが構成される。又、能動熱作動器の外部に必要によって熱伝導フィン1001を増設して、その内部に逆流を防止する止め板1002を設けることができる。その中で、自然サーモキャリア101に設置される能動熱作動器108は、より大きい穴直径がある外部パイプ1301及び外部パイプ1301の底部の封鎖端面1302で構成され、又、必要によって熱伝導フィン1001を増設することで、自然サーモキャリアとの熱伝導効果を増進する。その内部に1セット又は1セット以上の穴直径がより小さい内部パイプ1303が設けられ、その内部パイプ1303の底部1304と外部パイプの底部の内部空間の間にガイドフローの隙間1305を設けることで、より低い温度の熱交換流体104が内部パイプ1303に入って、加熱された後、外部パイプ1301を通して上に流動することで、開放型の放熱システムが構成されるのである。
図25で示されるのは、能動熱作動器108又は熱交換流体が異なる穴直径があるパイプ構造を嵌めることで構成される開放型の放熱システムの構造例の斜視図である。図26は、図25の断面図である。上述の図25及び図26で示される異なる穴直径があるパイプ構造を嵌めることで構成される開放型の流体の配管構造は、更に、図27及び図28のように封鎖型のシステムを構成することができる。
図27は、本発明の能動熱作動器108又は能動放熱器201が異なる穴直径を呈するパイプ構造で嵌めて構成する封鎖型放熱システム構造例の斜視図である。図28は、図27の断面図である。図27及び図28の中で、その主要な構造は、更に丸形又はその他幾何形状の異なる穴直径があるパイプ構造で相互に嵌めさせる断熱効果がある多重パイプ構造で構成される。それは、少なくとも1セットのパイプ直径がより小さい配管をパイプ直径がより大きいパイプの中に嵌めて設けて、パイプ直径がより小さい配管により低い温度の流体を下げてから導入する。及び、パイプ直径がより大きい流路を通して、相対的により高い温度の流体を上昇して排出させる。2種の異なるパイプ直径がある配管の底部が、共同で自然サーモキャリア101に設けられる能動熱作動器108と繋がる。又、そのトップ部が、共同でその上に設けられる能動放熱器201と繋がる。又、放熱を受ける温度差体103に放熱を行なう能動放熱器201は、より大きい穴直径がある外部パイプ1301及び外部パイプ1301のトップ部の封鎖端面1306で形成され、その内部に1セット又は1セット以上の穴直径がより小さい内部パイプ1303を設けることで、内部パイプ1303のトップ部の端面1310との間にガイドフローホールの経路1308を設けて、より高い温度の熱交換流体104が内部パイプ1303に沿って上に流動する。又、放熱して温度を下げた後、その外部パイプ1301に沿って下げてから、内部パイプ1303を通して上に上昇することで、封鎖型の放熱システムが構成されるのである。又、能動熱作動器108及び能動放熱器201は、必要によって、その外部に熱伝導フィン1001を増設して、その内部に熱伝導及び逆流を防止する止め板を設けることができる。
上述の自然サーモキャリアの熱作動で対流する放熱システムの封鎖型の熱作動及び放熱する循環システム構造は、更に図29及び図30の示す通り、丸型又はその他幾何形状のパイプ構造をループ形状パイプに貫通して設けることで構成される。又、両者の間に断熱構造を設けるか、直接断熱材料で構成するので、断熱の効果がある。
図29は、本発明の能動熱作動器108を、より小さい穴直径のパイプ形状構造の配管をループ形状のパイプに貫通して設けることで構成される配管の内穴と結び付けることで構成される開放型放熱システム構造例の斜視図である。図30は、図29の断面図である。図29及び図30の中で、その主要な構成は、丸形又はその他幾何形状を呈するパイプ構造体の配管がループ形状パイプ構造体を呈する配管との間で断熱効果があり、それを貫通して結び付けることで構成されるのである。それは、少なくとも1セットのパイプ直径がより小さい配管332をループ形状のパイプで構成される配管333の内穴に貫通して設けて、両者の間は直接接触又は選定された隙間があっても良く、パイプ直径がより小さい配管332がより低い温度の温度差体102からより低い温度の流体を導入して下げてから、能動熱作動器108に導入する。又、ループ形状のパイプで構成される配管333は、能動熱作動器108によって加熱するより高い温度の流体を放熱受ける温度差体103を自然サーモキャリア101に導入する。又、2種の配管の底部が共同で自然サーモキャリア101の中の能動熱作動器108と繋がることで、開放型の放熱システムが構成される。又、能動熱作動器108は、必要によってその外部に熱伝導フィン1001を増設して、その内部に逆流を防止する止め板を設けることができる。
上述の図29及び図30で示される開放型放熱システムは、更に図31及び図32に示す通りに構成される封鎖型放熱システムを使っても良いのである。
図31は、本発明の能動熱作動器108及び能動放熱器201の間に、より小さい穴直径のパイプ形状構造の配管を、ループ形状のパイプに貫通して設けることで構成される配管の内穴が、共同で構成する封鎖型放熱システム構造例の斜視図である。図32は、図31の断面図である。図31及び図32の中で、その主要な構成は、丸形又はその他幾何形状を呈するパイプ構造体の配管がループ形状パイプ構造体を呈する配管との間に断熱効果があり、それを貫通して結び付ることで構成されるのである。それは、少なくとも1セットのパイプ直径がより小さい配管332をループ形状のパイプで構成される配管333の内穴に貫通して設けて、両者の間は直接接触、選定された隙間又は選定された充填物があっても良い。又、2種の配管106とその接触する自然サーモキャリア101との間に良い断熱構造109を備えるべきであり、又は、直接良い断熱材料で配管を構成する。パイプ直径がより小さい配管332が、より低い温度の流体を導入して下げてから、能動熱作動器108に導入する。又、ループ形状のパイプで構成される配管333に能動熱作動器108によって加熱するより高い温度の流体を上昇させて、能動放熱器201に導入する。又、2種の配管の底部が共同で自然サーモキャリア101の中の能動熱作動器108と繋がり、2種の配管のトップ部が共同でその上に設けられる能動放熱器201と繋がる。又、放熱を受ける温度差体103の放熱を提供する能動放熱器201は、ループ形状のパイプで構成される配管333のトップ部の封鎖端面334で拡大して形成され、能動放熱器201の下側は、1セット又は1セット以上の穴直径がより小さい配管332のトップのガイドフローホール335と繋がることで、熱交換流体104が能動放熱器201で放熱して温度を下げてから、配管332に沿って下げてから温度を下げた後、その外部パイプ1301に沿って下げてから、能動熱作動器108に流れて戻ることで、封鎖型の放熱システムが構成されるのである。又、能動熱作動器108及び能動放熱器201は、必要によってその外部に熱伝導フィン1001を増設して、その内部に熱伝導及び逆流を防止する止め板を設けることができる。
この自然サーモキャリアの熱作動で対流する放熱システムは、更に交差する丸型又はその他幾何形状のパイプ構造で構成される開封型又は封鎖型の放熱システムを呈することもできる。図33は、本発明の能動熱作動器の複数セットのパイプ形状の構造を交差して設けることで構成される開放型放熱システム構造例の斜視図である。図34は、図33の断面図である。図33及び図34で示される自然サーモキャリアの熱作動で対流する放熱システムは、更に丸形又はその他幾何形状を呈するパイプ形状の同一サイズ又は異なるサイズの複数セットのパイプ形状の構造を交差して設けることで構成される開放型流体の配管構造を使っても良いのである。それは、少なくとも1セットの導入口がより低い流体の配管によって、より低い温度の流体を下げてから導入することを提供し、又、少なくとも1セットの排出口がより高い流体の配管によって、相対的により高い温度の流体を上昇してから排出することを提供する。又、2種の配管106とその接触する自然サーモキャリア101との間に良い断熱構造109を備えるか、直接良い断熱材料で配管を構成する。2種の配管の底部が共同で自然サーモキャリアの中の能動熱作動器108と繋がることで、開放型の自然サーモキャリアの熱作動で対流する放熱システムが構成される。又、能動熱作動器108の外部に必要によって熱伝導フィン1001を増設して、その内部に逆流を防止する止め板を設けることができる。
上述の図33及び図34で示される複数セットのパイプ形状の構造は、更に封鎖型の流体配管構造を構成することもできる。
図35は、本発明の能動熱作動器又は能動放熱器の複数セットのパイプ形状の構造を交差して設けることで構成される封鎖型放熱システム構造例の斜視図である。図36は、図35の断面図である。図35及び図36では、能動熱作動器と能動放熱器を複数セットのパイプ形状の構造と結び付けてから、交差して設けることで構成される封鎖型放熱システムを使っても良いのである。その主要な構造は、丸形又はその他幾何形状を呈するパイプ形状の同一サイズ又は異なるサイズの配管、能動熱作動器108及び能動放熱器201で構成される。それは、少なくとも1セットの導入口がより低い流体の配管によって、温度差体102より低い温度の流体を下げてから能動熱作動器108に導入する。又、少なくとも1セットの排出口がより高い流体の配管によって、能動熱作動器108で加熱するより高い温度の流体を上昇してから、能動放熱器201に導入することで、放熱を受ける温度差体103に放熱を行なう。又、2種の配管106とその接触する自然サーモキャリア101との間に良い断熱構造109を備えるか、直接良い断熱材料で配管を構成する。2種の配管の底部が共同で自然サーモキャリア101の中の能動熱作動器108と繋がることで、及びそのトップ部が共同でその上に設けられる能動放熱器201と繋がることで、封鎖型の自然サーモキャリアの熱作動で対流する放熱システムが構成される。又、能動熱作動器の外部に必要によって熱伝導フィン1001を増設して、その内部に逆流を防止する止め板を設けることができる。
前述の各種の能動熱作動器108又は能動放熱器201は、必要によって構造形態を選べ、同一幾何形状の構造で構成するか、又は、異なる幾何形状の構造形態と混合で構成しても良いのである。
本発明のシステムを応用する場合、管理及び制御を行なうため、必要によって下記のような装置を選んで設けることができる。
流量計は、交換流体の流量を累積で計算できる。この装置は、必要によって設けることができる。
ろ過装置2001は、長い時間が経つために塞がることを防止でき、清潔の機能もあるろ過装置である。それを流体の吸入口又は出口に取り付けて、ろ過ネット及び有害流体のろ過装置で構成されるものである。
保護キャップの構造2002は、配管の排出口又は進入口の端に設けられるので、熱交換流体の流動性を比較的妨害しない保護キャップの構造である。それを配管に垂直又は上に伸びて設置する場合、雨水又は異物が落ちることを防止することができる。
流量の調節バルブは、人工又は機械で交換流量又は放熱量を制御するものである。
湿度の調整装置又は湿度の処理構造は、湿度の検知装置、排出ポンプセット、又は、配管に予め設けられる排出穴の湿度又は溜まる水の処理構造で構成されるものである。この装置は、その流体が気体である場合に選んで設けることができる。
制御ユニットは、機電又は固体電子電気回路及び関連するソフトで構成され、その機能は必要によって流体流量の制御、バルブの制御、流体温度の監視制御、流体ポンプの制御及び安全保護制御の機能を選ぶことができる。又、入力側又はそれぞれの出力側に有害流体の検知装置を設けることで、有害流体の存在がすでに監視値を超える場合、アラームを出して、気流を切断し、又は、その他制御対応策の処理を行なえる。上述によって、温度、交換気流の流量及び湿度などを調整及び制御できる機能が構成される。
実際に応用する場合、本発明の自然サーモキャリアの熱作動で対流する放熱システムについて、熱交換流体は気体又は液体を含むのである。又、温度差体102及び放熱を受ける温度差体103は、下記のものを含む。
(1)固定の建築がある空調空間であり、例えば、ビル、温室又は公共活動の建物。
(2)空調の必要な空間であり、その空間は流体式の温度差体が動いている建物の中にあることが必要であり、例えば、船、浮かぶ作業台又は水上建築など。
(3)気体又は液体を受ける露天空間であり、例えば、池、谷、盆地又は砂漠などの開放空間。
(4)気体又は液体を受ける密封の容器であり、例えば、気体又は液体を貯蔵する容器。
(5)それぞれの製造プロセス又は、処理プロセスを行なう設備である。
(6)受動的に氷が張ることを防止、又は、自発的に氷を除去する機械又は家電設備である。
(7)受動的に氷が張ることを防止、又は、自発的に氷を除去する開放的な路面、空港の滑走路又は水面の航路である。
(8)港、湖又は川の水道の表層及び温度差の深層である。
(9)特定の地質であり、例えば、砂漠及びその周辺の環境など。
この自然サーモキャリアの熱作動で対流する放熱システムは、下記のような補助システムを拡大又は増設することができる。その含むものは、下記の通りである。
1.場所の需要又は経済的な利益のため、熱交換流体の排出口に流体を動かせるターボを増設することで、回転の機能の出力を生じさせて、発電機又はその他の負荷を駆動するものである。
2.機能の増強及び効果のサポートを必要とする場合、熱作動で対流する装置の進入口、排出口又は流路の中に、必要によって補助の流体ポンプを増設することができる。それは、自然環境の流動エネルギーを使う熱作動型、太陽エネルギー発電の熱作動型又は別に補助電力を増設する流体ポンプで駆動するものを含むのである。
3.機能の増強及び効果のサポートを必要とする場合、熱作動で対流する装置の中に必要によって流体の加熱装置を増設することができる。
4.下に流れる流体の配管106及び上に流れる流体の配管107の内部は、手すり及び梯子として上下に配列する横の長方形を呈する構造を使っても良いのである。
5.下に流れる流体の配管106及び上に流れる流体の配管107は、傾く構造を呈し、人が歩ける階段を設けている構造を使っても良いのである。
6.上に流れる流体の配管107の出口及び下に流れる流体の配管106の入口は、必要によって保護ネット又は保護カバーを増設することができる。
本発明の実施例による自然サーモキャリアの熱作動で対流する放熱システムの開放型を呈する放熱システムの立体構造の斜視図である。 図1の断面図である。 図1の自然サーモキャリアの熱作動で対流する放熱システムの封鎖流路を呈する封鎖型の放熱システムの立体構造の斜視図である。 図3の断面図である。 本発明による自然サーモキャリアの熱作動で対流する放熱システムの能動熱作動器の内部に熱伝導フィン又は逆流防止め板が増設される開放型放熱システム構造例の斜視図である。 図5の断面図である。 本発明による自然サーモキャリアの熱作動で対流する放熱システムの能動熱作動器の内部に熱伝導フィン又は逆流防止め板が増設される封鎖型放熱システム体構造例の斜視図である。 図7の断面図である。 本発明の一実施例による自然サーモキャリアの熱作動で対流する放熱システムの能動熱作動器が螺旋パイプ形状を呈する開放型放熱システム構造の斜視図である。 図9の断面図である。 本発明による自然サーモキャリアの熱作動で対流する放熱システムの能動熱作動器又は能動放熱器が螺旋パイプ形状を呈する封鎖型放熱システム構造例の斜視図である。 図11の断面図である。 本発明による自然サーモキャリアの熱作動で対流する放熱システムの能動熱作動器が曲がるパイプ形状を呈する開放型放熱システム構造例の斜視図である。 図13の断面図である。 本発明による自然サーモキャリアの熱作動で対流する放熱システムの能動熱作動器又は能動放熱器が曲がるパイプ形状を呈する封鎖型放熱システム構造例の斜視図である。 図15の断面図である。 本発明による自然サーモキャリアの熱作動で対流する放熱システムの能動熱作動器のガイドフロー横断面がより大きいサイズの導管形状を呈する開放型放熱システム構造例の斜視図である。 図17の断面図である。 本発明による自然サーモキャリアの熱作動で対流する放熱システムの能動熱作動器又は能動放熱器のガイドフロー横断面がより大きいサイズの導管形状を呈する封鎖型放熱システム構造例の斜視図である。 図19の断面図である。 本発明による自然サーモキャリアの熱作動で対流する放熱システムの能動熱作動器の複数のパイプが分流することを呈する開放型放熱システム構造例の斜視図である。 図21の断面図である。 本発明による自然サーモキャリアの熱作動で対流する放熱システムの能動熱作動器又は能動放熱器の複数のパイプが分流することを呈する封鎖型放熱システム構造例の斜視図である。 図23の断面図である。 本発明による自然サーモキャリアの熱作動で対流する放熱システムの能動熱作動器又は熱交換流体が異なる穴直径を呈するパイプ構造を嵌めて構成される開封型放熱システム構造例の斜視図である。 図25の断面図である。 本発明による自然サーモキャリアの熱作動で対流する放熱システムの能動熱作動器又は能動放熱器が異なる穴直径を呈するパイプ構造を嵌めて構成する封鎖型放熱システム構造例の斜視図である。 図27の断面図である。 本発明による自然サーモキャリアの熱作動で対流する放熱システムの能動熱作動器がより小さい穴直径のパイプ形状構造の配管をループ形状のパイプに貫通して設けることで構成される配管の内穴と結び付けることで構成される開放型放熱システム構造例の斜視図である。 図29の断面図である。 本発明による自然サーモキャリアの熱作動で対流する放熱システムの能動熱作動器及び能動放熱器の間に、より小さい穴直径のパイプ形状構造の配管を、ループ形状のパイプに貫通して設けることで構成される配管の内穴が、共同で構成する封鎖型放熱システム構造例の斜視図である。 図31の断面図である。 本発明による自然サーモキャリアの熱作動で対流する放熱システムの能動熱作動器の複数セットのパイプ形状の構造を交差して設けることで構成される開放型放熱システム構造例の斜視図である。 図33の断面図である。 本発明による自然サーモキャリアの熱作動で対流する放熱システムの能動熱作動器又は能動放熱器が複数セットのパイプ形状の構造を交差して設けることで構成される封鎖型放熱システム構造例の斜視図である。 図35の断面図である。
符号の説明
100 熱作動で対流する装置、101 自然サーモキャリア、102 温度差体、103 放熱を受ける温度差体、104 熱交換流体、106 下に流れる流体の配管、107 上に流れる流体の配管、108 能動熱作動器、109 断熱構造、111 配管の進入口、112 配管の排出口、200 ∩形状の放熱対流装置、201 能動放熱器、202 熱伝導フィン、212 下端の出口、221 上がる流体の配管、222 下げる流体の配管、332 パイプ直径がより小さい配管、333 ループ形状のパイプで構成される配管、334 ループ形状のパイプで構成される配管のトップ部の封鎖端面、335 穴直径がより小さい配管のトップ部のガイドフローホール、1001 熱伝導フィン、1002 止め板、1301 外部パイプ、1302 外部パイプの底部の封鎖端面、1303 内部パイプ、1304 内部パイプの底部、1305 ガイドフローの隙間、1306 外部パイプのトップ部の封鎖端面、1307 内部パイプのトップ部の封鎖端面、1308 ガイドフローホールの経路、1309 ガイドフローパイプ、1310 内部パイプのトップ部、2001 ろ過装置、2002 保護キャップの構造

Claims (7)

  1. 自然サーモキャリアの熱作動で対流する放熱システムであって、
    熱貯蔵がより安定する地層、地表、池、湖、川、砂漠、氷山又は海洋などの固体又は液体のサーモキャリアに能動熱作動器を設けて、能動熱作動器の両端にそれぞれ流体の配管を設けることで、それぞれ温度差体及び放熱を受ける温度差体に流れ、熱作動で対流する装置を構成し、熱作動で対流する装置を通して、温度差体より進入口配管から能動熱作動器(108)に入るより低い温度の流体が加温されるので、流体の寒い時下がり、暑い時上がる特性を利用して、対流機能を生じさせ、又、出口配管から放熱を受ける温度差体に流れることで、開放型の放熱システムが構成され、或いは、配管を通して能動放熱器(201)に流してから、再び配管を通して能動熱作動器(108)に流れて戻ることで、封鎖型の放熱システムが構成され、
    その構造の特徴は下記のものを含み、
    自然サーモキャリア(101)は、熱貯蔵がより安定する地層、地表、池、湖、川、砂漠、氷山又は海洋などの固体又は液体のサーモキャリアであり、
    温度差体(102)は、より低い温度の気体、固体又は液体に関するものであり、それを常態で熱交換流体(104)と接触させることで、相互に均等な熱伝導を行なえるものであり、
    放熱を受ける温度差体(103)は、気体、固体又は液体で構成される特定の機能空間又は構造であり、それによって、システムの運転中、直接又は間接で能動熱作動器で加温される熱交換流体で釈放されるサーモエネルギーの気体、固体又は液体を受けるものであり、それは屋根、路面、温室、水池、加温又は凍結防止の構造体で構成されるものであり、
    熱交換流体(104)は、熱貯蔵及び熱伝導の性質を有する気体又は液体で構成するものを含み、又、それを常態で温度差体(102)と接触させることで、相互に均等な熱伝導を行なえるものであり、
    熱作動で対流する装置(100)は、少なくとも1個のより低い熱交換流体が下に流れる流体の配管(106)に流れていくことを提供することで、自然サーモキャリアの中に設けられる少なくとも1個の能動熱作動器(108)の底部と繋がるもの、及び少なくとも1個の加温した後の熱交換流体(104)が上に流れる流体の配管(107)を提供することで、能動熱作動器(108)の上方流体の出口と繋がるもので構成されるものであり、
    流体の配管(106)及び流体の配管(107)は、丸形又はその他幾何形状を呈するパイプ形状の構造物又は建築の構造体で構成され、又は、自然サーモキャリアの中の通路で構成され、下に流れる流体の配管(106)とその接触する自然サーモキャリア(101)との間に熱構造(109)を備え、或いは、直接熱材料で配管を構成し、その中で、少なくとも1個の下に流れる流体の配管(106)は、より低い温度の熱交換流体(104)が下に流れる流体の配管(106)の進入口(111)を経由してから、熱作動で対流する装置(100)の能動熱作動器(108)のより低い部分に入ることを提供し、又、少なくとも1個の上に流れる流体の配管(107)が、熱作動で対流する装置(100)の能動熱作動器(108)の上端から放熱を受ける温度差体(103)に流すことで、熱交換流体(104)を上に流れる流体の配管の排出口(112)を経由して、放熱を受ける温度差体(103)に排出するものであり、
    能動熱作動器(108)は、熱作動で対流する装置(100)のより低い所に設けられ、その材料は、伝導特性がある材料であり、又、自然サーモキャリア(101)と伝導状態の構造形態を維持し、又は、直接自然サーモキャリア(101)の内部に流体を流通させる空間を利用して、直接能動熱作動器の機能を構成することで、前述の伝導特性の材料で作られる能動熱作動器(108)の代わりとして使われ、能動熱作動器のケースは更に熱伝導フィンを増設し、
    更に丸形又はその他幾何形状のパイプ構造をループ形状パイプに貫通して設けることで構成され、又、両者の間に断熱構造を設けるか、直接断熱材料で構成、その構成は、丸形又はその他幾何形状を呈するパイプ構造体の配管がループ形状パイプ構造体を呈する配管との間断熱効果があり、それを貫通して結び付けることで構成され、
    それは、少なくとも1セットのパイプ直径がより小さい配管(332)をループ形状のパイプで構成される配管(333)の内穴に貫通して設けて、両者直接接触し又は両者の間に選定された隙間が形成され、パイプ直径がより小さい配管(332)がより低い温度の温度差体(102)からより低い温度の流体を導入して下げてから、能動熱作動器(108)に導入し、
    又、ループ形状のパイプで構成される配管(333)に、能動熱作動器(108)によって加熱するより高い温度の流体を放熱受ける温度差体(103)を自然サーモキャリア(101)に導入し、
    又、2種の配管の底部が共同で自然サーモキャリア(101)の中の能動熱作動器(108)と繋がることで、開放型の放熱システムが構成され、
    又、能動熱作動器(108)がその外部に熱伝導フィン(1001)を増設して、その内部に逆流を防止する止め板を設置することを特徴とする自然サーモキャリアの熱作動で対流する放熱システム。
  2. 自然サーモキャリアの熱作動で対流する放熱システムであって、
    熱貯蔵がより安定する地層、地表、池、湖、川、砂漠、氷山又は海洋などの固体又は液体のサーモキャリアに能動熱作動器を設けて、能動熱作動器の両端にそれぞれ流体の配管を設けることで、それぞれ温度差体及び放熱を受ける温度差体に流れ、熱作動で対流する装置を構成し、熱作動で対流する装置を通して、温度差体より進入口配管から能動熱作動器(108)に入るより低い温度の流体が加温されるので、流体の寒い時下がり、暑い時上がる特性を利用して、対流機能を生じさせ、又、出口配管から放熱を受ける温度差体に流れることで、開放型の放熱システムが構成され、或いは、配管を通して能動放熱器(201)に流してから、再び配管を通して能動熱作動器(108)に流れて戻ることで、封鎖型の放熱システムが構成され、
    その構造の特徴は下記のものを含み、
    自然サーモキャリア(101)は、熱貯蔵がより安定する地層、地表、池、湖、川、砂漠、氷山又は海洋などの固体又は液体のサーモキャリアであり、
    温度差体(102)は、より低い温度の気体、固体又は液体に関するものであり、それを常態で熱交換流体(104)と接触させることで、相互に均等な熱伝導を行なえるものであり、
    放熱を受ける温度差体(103)は、気体、固体又は液体で構成される特定の機能空間又は構造であり、それによって、システムの運転中、直接又は間接で能動熱作動器で加温される熱交換流体で釈放されるサーモエネルギーの気体、固体又は液体を受けるものであり、それは屋根、路面、温室、水池、加温又は凍結防止の構造体で構成されるものであり、
    熱交換流体(104)は、熱貯蔵及び熱伝導の性質を有する気体又は液体で構成するものを含み、又、それを常態で温度差体(102)と接触させることで、相互に均等な熱伝導を行なえるものであり、
    熱作動で対流する装置(100)は、少なくとも1個のより低い熱交換流体が下に流れる流体の配管(106)に流れていくことを提供することで、自然サーモキャリアの中に設けられる少なくとも1個の能動熱作動器(108)の底部と繋がるもの、及び少なくとも1個の加温した後の熱交換流体(104)が上に流れる流体の配管(107)を提供することで、能動熱作動器(108)の上方流体の出口と繋がるもので構成されるものであり、
    流体の配管(106)及び流体の配管(107)は、丸形又はその他幾何形状を呈するパイプ形状の構造物又は建築の構造体で構成され、又は、自然サーモキャリアの中の通路で構成され、下に流れる流体の配管(106)とその接触する自然サーモキャリア(101)との間に熱構造(109)を備え、或いは、直接熱材料で配管を構成し、その中で、少なくとも1個の下に流れる流体の配管(106)は、より低い温度の熱交換流体(104)が下に流れる流体の配管(106)の進入口(111)を経由してから、熱作動で対流する装置(100)の能動熱作動器(108)のより低い部分に入ることを提供し、又、少なくとも1個の上に流れる流体の配管(107)が、熱作動で対流する装置(100)の能動熱作動器(108)の上端から放熱を受ける温度差体(103)に流すことで、熱交換流体(104)を上に流れる流体の配管の排出口(112)を経由して、放熱を受ける温度差体(103)に排出するものであり、
    能動熱作動器(108)は、熱作動で対流する装置(100)のより低い所に設けられ、その材料は、伝導特性がある材料であり、又、自然サーモキャリア(101)と伝導状態の構造形態を維持し、又は、直接自然サーモキャリア(101)の内部に流体を流通させる空間を利用して、直接能動熱作動器の機能を構成することで、前述の伝導特性の材料で作られる能動熱作動器(108)の代わりとして使われ、能動熱作動器のケースは更に熱伝導フィンを増設し、
    更に能動熱作動器(108)及び能動放熱器(201)の間に、より小さい穴直径のパイプ構造の配管をループ形状パイプに貫通して設けることで構成され、その構成は、丸形又はその他幾何形状を呈するパイプ構造体の配管がループ形状パイプ構造体を呈する配管との間に断熱効果があり、それを貫通して結び付けることで構成され、
    それは、少なくとも1セットのパイプ直径がより小さい配管(332)をループ形状のパイプで構成される配管(333)の内穴に貫通して設けて、両者直接接触し又は両者の間に選定された隙間を有又は前記隙間に選定された充填物があり、
    又、2種の配管(106)とその接触する自然サーモキャリア(101)との間に熱構造(109)を備え、或いは、直接熱材料で配管を構成し、パイプ直径がより小さい配管(332)が、より低い温度の流体を導入して下げてから、能動熱作動器(108)に導入し、
    又、ループ形状のパイプで構成される配管(333)に、能動熱作動器(108)によって加熱するより高い温度の流体を上昇させて、能動放熱器(201)に導入し、
    又、2種の配管の底部が共同で自然サーモキャリア(101)の中の能動熱作動器(108)と繋がり、2種の配管のトップ部が共同でその上に設けられる能動放熱器(201)と繋がり、
    又、放熱を受ける温度差体(103)の放熱を提供する能動放熱器(201)はループ形状のパイプで構成される配管(333)のトップ部の封鎖端面(334)で拡大して形成され、能動放熱器(201)の下側は、セット以上の穴直径がより小さい配管(332)のトップのガイドフローホール(335)と繋がることで、熱交換流体(104)が能動放熱器(201)で放熱して温度を下げてから、配管(332)に沿って下げてから温度を下げた後、その外部パイプ(1301)に沿って下げてから、能動熱作動器(108)に流れて戻ることで、封鎖型の放熱システムが構成され、
    又、能動熱作動器(108)及び能動放熱器(201)は、その外部に熱伝導フィン(1001)を増設して、その内部に熱伝導及び逆流を防止する止め板を設置することを特徴とする自然サーモキャリアの熱作動で対流する放熱システム。
  3. 自然サーモキャリアの熱作動で対流する放熱システムであって、
    熱貯蔵がより安定する地層、地表、池、湖、川、砂漠、氷山又は海洋などの固体又は液体のサーモキャリアに能動熱作動器を設けて、能動熱作動器の両端にそれぞれ流体の配管を設けることで、それぞれ温度差体及び放熱を受ける温度差体に流れ、熱作動で対流する装置を構成し、熱作動で対流する装置を通して、温度差体より進入口配管から能動熱作動器(108)に入るより低い温度の流体が加温されるので、流体の寒い時下がり、暑い時上がる特性を利用して、対流機能を生じさせ、又、出口配管から放熱を受ける温度差体に流れることで、開放型の放熱システムが構成され、或いは、配管を通して能動放熱器(201)に流してから、再び配管を通して能動熱作動器(108)に流れて戻ることで、封鎖型の放熱システムが構成され、
    その構造の特徴は下記のものを含み、
    自然サーモキャリア(101)は、熱貯蔵がより安定する地層、地表、池、湖、川、砂漠、氷山又は海洋などの固体又は液体のサーモキャリアであり、
    温度差体(102)は、より低い温度の気体、固体又は液体に関するものであり、それを常態で熱交換流体(104)と接触させることで、相互に均等な熱伝導を行なえるものであり、
    放熱を受ける温度差体(103)は、気体、固体又は液体で構成される特定の機能空間又は構造であり、それによって、システムの運転中、直接又は間接で能動熱作動器で加温される熱交換流体で釈放されるサーモエネルギーの気体、固体又は液体を受けるものであり、それは屋根、路面、温室、水池、加温又は凍結防止の構造体で構成されるものであり、
    熱交換流体(104)は、熱貯蔵及び熱伝導の性質を有する気体又は液体で構成するものを含み、又、それを常態で温度差体(102)と接触させることで、相互に均等な熱伝導を行なえるものであり、
    熱作動で対流する装置(100)は、少なくとも1個のより低い熱交換流体が下に流れる流体の配管(106)に流れていくことを提供することで、自然サーモキャリアの中に設けられる少なくとも1個の能動熱作動器(108)の底部と繋がるもの、及び少なくとも1個の加温した後の熱交換流体(104)が上に流れる流体の配管(107)を提供することで、能動熱作動器(108)の上方流体の出口と繋がるもので構成されるものであり、
    流体の配管(106)及び流体の配管(107)は、丸形又はその他幾何形状を呈するパイプ形状の構造物又は建築の構造体で構成され、又は、自然サーモキャリアの中の通路で構成され、下に流れる流体の配管(106)とその接触する自然サーモキャリア(101)との間に熱構造(109)を備え、或いは、直接熱材料で配管を構成し、その中で、少なくとも1個の下に流れる流体の配管(106)は、より低い温度の熱交換流体(104)が下に流れる流体の配管(106)の進入口(111)を経由してから、熱作動で対流する装置(100)の能動熱作動器(108)のより低い部分に入ることを提供し、又、少なくとも1個の上に流れる流体の配管(107)が、熱作動で対流する装置(100)の能動熱作動器(108)の上端から放熱を受ける温度差体(103)に流すことで、熱交換流体(104)を上に流れる流体の配管の排出口(112)を経由して、放熱を受ける温度差体(103)に排出するものであり、
    能動熱作動器(108)は、熱作動で対流する装置(100)のより低い所に設けられ、その材料は、伝導特性がある材料であり、又、自然サーモキャリア(101)と伝導状態の構造形態を維持し、又は、直接自然サーモキャリア(101)の内部に流体を流通させる空間を利用して、直接能動熱作動器の機能を構成することで、前述の伝導特性の材料で作られる能動熱作動器(108)の代わりとして使われ、能動熱作動器のケースは更に熱伝導フィンを増設し、
    更に丸形又はその他幾何形状を呈するパイプ形状の同一サイズ又は異なるサイズの複数セットのパイプ形状の構造を交差して設けることで構成される開放型流体の配管構造を使い、
    それは、少なくとも1セットの導入口が、より低い流体の配管によって、より低い温度の流体を下げてから導入することを提供し、
    又、少なくとも1セットの排出口が、より高い流体の配管によって、相対的により高い温度の流体を上昇してから排出することを提供し、
    又、2種の配管(106)とその接触する自然サーモキャリア(101)との間に熱構造(109)を備えるか、直接熱材料で配管を構成し、2種の配管の底部が共同で自然サーモキャリアの中の能動熱作動器(108)と繋がることで、開放型の自然サーモキャリアの熱作動で対流する放熱システムが構成され、
    又、能動熱作動器(108)の外部に熱伝導フィン(1001)を増設して、その内部に逆流を防止する止め板(1002)を設置することを特徴とする自然サーモキャリアの熱作動で対流する放熱システム。
  4. 自然サーモキャリアの熱作動で対流する放熱システムであって、
    熱貯蔵がより安定する地層、地表、池、湖、川、砂漠、氷山又は海洋などの固体又は液体のサーモキャリアに能動熱作動器を設けて、能動熱作動器の両端にそれぞれ流体の配管を設けることで、それぞれ温度差体及び放熱を受ける温度差体に流れ、熱作動で対流する装置を構成し、熱作動で対流する装置を通して、温度差体より進入口配管から能動熱作動器(108)に入るより低い温度の流体が加温されるので、流体の寒い時下がり、暑い時上がる特性を利用して、対流機能を生じさせ、又、出口配管から放熱を受ける温度差体に流れることで、開放型の放熱システムが構成され、或いは、配管を通して能動放熱器(201)に流してから、再び配管を通して能動熱作動器(108)に流れて戻ることで、封鎖型の放熱システムが構成され、
    その構造の特徴は下記のものを含み、
    自然サーモキャリア(101)は、熱貯蔵がより安定する地層、地表、池、湖、川、砂漠、氷山又は海洋などの固体又は液体のサーモキャリアであり、
    温度差体(102)は、より低い温度の気体、固体又は液体に関するものであり、それを常態で熱交換流体(104)と接触させることで、相互に均等な熱伝導を行なえるものであり、
    放熱を受ける温度差体(103)は、気体、固体又は液体で構成される特定の機能空間又は構造であり、それによって、システムの運転中、直接又は間接で能動熱作動器で加温される熱交換流体で釈放されるサーモエネルギーの気体、固体又は液体を受けるものであり、それは屋根、路面、温室、水池、加温又は凍結防止の構造体で構成されるものであり、
    熱交換流体(104)は、熱貯蔵及び熱伝導の性質を有する気体又は液体で構成するものを含み、又、それを常態で温度差体(102)と接触させることで、相互に均等な熱伝導を行なえるものであり、
    熱作動で対流する装置(100)は、少なくとも1個のより低い熱交換流体が下に流れる流体の配管(106)に流れていくことを提供することで、自然サーモキャリアの中に設けられる少なくとも1個の能動熱作動器(108)の底部と繋がるもの、及び少なくとも1個の加温した後の熱交換流体(104)が上に流れる流体の配管(107)を提供することで、能動熱作動器(108)の上方流体の出口と繋がるもので構成されるものであり、
    流体の配管(106)及び流体の配管(107)は、丸形又はその他幾何形状を呈するパイプ形状の構造物又は建築の構造体で構成され、又は、自然サーモキャリアの中の通路で構成され、下に流れる流体の配管(106)とその接触する自然サーモキャリア(101)との間に熱構造(109)を備え、或いは、直接熱材料で配管を構成し、その中で、少なくとも1個の下に流れる流体の配管(106)は、より低い温度の熱交換流体(104)が下に流れる流体の配管(106)の進入口(111)を経由してから、熱作動で対流する装置(100)の能動熱作動器(108)のより低い部分に入ることを提供し、又、少なくとも1個の上に流れる流体の配管(107)が、熱作動で対流する装置(100)の能動熱作動器(108)の上端から放熱を受ける温度差体(103)に流すことで、熱交換流体(104)を上に流れる流体の配管の排出口(112)を経由して、放熱を受ける温度差体(103)に排出するものであり、
    能動熱作動器(108)は、熱作動で対流する装置(100)のより低い所に設けられ、その材料は、伝導特性がある材料であり、又、自然サーモキャリア(101)と伝導状態の構造形態を維持し、又は、直接自然サーモキャリア(101)の内部に流体を流通させる空間を利用して、直接能動熱作動器の機能を構成することで、前述の伝導特性の材料で作られる能動熱作動器(108)の代わりとして使われ、能動熱作動器のケースは更に熱伝導フィンを増設し、
    能動熱作動器と能動放熱器を複数セットのパイプ形状の構造と結び付けてから、交差して設けることで構成される封鎖型放熱システムを使い、その構造は、丸形又はその他幾何形状を呈するパイプ形状の同一サイズ又は異なるサイズの配管、能動熱作動器(108)及び能動放熱器(201)で構成され、
    それは、少なくとも1セットの導入口が、より低い流体の配管によって、温度差体(102)より低い温度の流体を下げてから能動熱作動器(108)に導入し、
    又、少なくとも1セットの排出口が、より高い流体の配管によって、能動熱作動器(108)で加熱するより高い温度の流体を上昇してから能動放熱器(201)に導入することで、放熱を受ける温度差体(103)に放熱を行い、
    又、2種の配管(106)とその接触する自然サーモキャリア(101)との間に熱構造(109)を備えるか、直接熱材料で配管を構成し、2種の配管の底部が共同で自然サーモキャリア(101)の中の能動熱作動器(108)と繋がることで、及びそのトップ部が共同でその上に設けられる能動放熱器(201)と繋がることで、封鎖型の自然サーモキャリアの熱作動で対流する放熱システムが構成され、
    又、能動熱作動器(108)の外部に熱伝導フィン(1001)を増設して、その内部に逆流を防止する止め板を設置することを特徴とする自然サーモキャリアの熱作動で対流する放熱システム。
  5. 自然サーモキャリアの熱作動で対流する放熱システムであって、
    熱貯蔵がより安定する地層、地表、池、湖、川、砂漠、氷山又は海洋などの固体又は液体のサーモキャリアに能動熱作動器を設けて、能動熱作動器の両端にそれぞれ流体の配管を設けることで、それぞれ温度差体及び放熱を受ける温度差体に流れ、熱作動で対流する装置を構成し、熱作動で対流する装置を通して、温度差体より進入口配管から能動熱作動器(108)に入るより低い温度の流体が加温されるので、流体の寒い時下がり、暑い時上がる特性を利用して、対流機能を生じさせ、又、出口配管から放熱を受ける温度差体に流れることで、開放型の放熱システムが構成され、或いは、配管を通して能動放熱器(201)に流してから、再び配管を通して能動熱作動器(108)に流れて戻ることで、封鎖型の放熱システムが構成され、
    その構造の特徴は下記のものを含み、
    自然サーモキャリア(101)は、熱貯蔵がより安定する地層、地表、池、湖、川、砂漠、氷山又は海洋などの固体又は液体のサーモキャリアであり、
    温度差体(102)は、より低い温度の気体、固体又は液体に関するものであり、それを常態で熱交換流体(104)と接触させることで、相互に均等な熱伝導を行なえるものであり、
    放熱を受ける温度差体(103)は、気体、固体又は液体で構成される特定の機能空間又は構造であり、それによって、システムの運転中、直接又は間接で能動熱作動器で加温される熱交換流体で釈放されるサーモエネルギーの気体、固体又は液体を受けるものであり、それは屋根、路面、温室、水池、加温又は凍結防止の構造体で構成されるものであり、
    熱交換流体(104)は、熱貯蔵及び熱伝導の性質を有する気体又は液体で構成するものを含み、又、それを常態で温度差体(102)と接触させることで、相互に均等な熱伝導を行なえるものであり、
    熱作動で対流する装置(100)は、少なくとも1個のより低い熱交換流体が下に流れる流体の配管(106)に流れていくことを提供することで、自然サーモキャリアの中に設けられる少なくとも1個の能動熱作動器(108)の底部と繋がるもの、及び少なくとも1個の加温した後の熱交換流体(104)が上に流れる流体の配管(107)を提供することで、能動熱作動器(108)の上方流体の出口と繋がるもので構成されるものであり、
    流体の配管(106)及び流体の配管(107)は、丸形又はその他幾何形状を呈するパイプ形状の構造物又は建築の構造体で構成され、又は、自然サーモキャリアの中の通路で構成され、下に流れる流体の配管(106)とその接触する自然サーモキャリア(101)との間に熱構造(109)を備え、或いは、直接熱材料で配管を構成し、その中で、少なくとも1個の下に流れる流体の配管(106)は、より低い温度の熱交換流体(104)が下に流れる流体の配管(106)の進入口(111)を経由してから、熱作動で対流する装置(100)の能動熱作動器(108)のより低い部分に入ることを提供し、又、少なくとも1個の上に流れる流体の配管(107)が、熱作動で対流する装置(100)の能動熱作動器(108)の上端から放熱を受ける温度差体(103)に流すことで、熱交換流体(104)を上に流れる流体の配管の排出口(112)を経由して、放熱を受ける温度差体(103)に排出するものであり、
    能動熱作動器(108)は、熱作動で対流する装置(100)のより低い所に設けられ、その材料は、伝導特性がある材料であり、又、自然サーモキャリア(101)と伝導状態の構造形態を維持し、又は、直接自然サーモキャリア(101)の内部に流体を流通させる空間を利用して、直接能動熱作動器の機能を構成することで、前述の伝導特性の材料で作られる能動熱作動器(108)の代わりとして使われ、能動熱作動器のケースは更に熱伝導フィンを増設し、
    下に流れる流体の配管(106)及び上に流れる流体の配管(107)の内部に、手すり及び梯子として上下で配列する横の長方形を呈する構造を使うことを特徴とする自然サーモキャリアの熱作動で対流する放熱システム。
  6. 自然サーモキャリアの熱作動で対流する放熱システムであって、
    熱貯蔵がより安定する地層、地表、池、湖、川、砂漠、氷山又は海洋などの固体又は液体のサーモキャリアに能動熱作動器を設けて、能動熱作動器の両端にそれぞれ流体の配管を設けることで、それぞれ温度差体及び放熱を受ける温度差体に流れ、熱作動で対流する装置を構成し、熱作動で対流する装置を通して、温度差体より進入口配管から能動熱作動器(108)に入るより低い温度の流体が加温されるので、流体の寒い時下がり、暑い時上がる特性を利用して、対流機能を生じさせ、又、出口配管から放熱を受ける温度差体に流れることで、開放型の放熱システムが構成され、或いは、配管を通して能動放熱器(201)に流してから、再び配管を通して能動熱作動器(108)に流れて戻ることで、封鎖型の放熱システムが構成され、
    その構造の特徴は下記のものを含み、
    自然サーモキャリア(101)は、熱貯蔵がより安定する地層、地表、池、湖、川、砂漠、氷山又は海洋などの固体又は液体のサーモキャリアであり、
    温度差体(102)は、より低い温度の気体、固体又は液体に関するものであり、それを常態で熱交換流体(104)と接触させることで、相互に均等な熱伝導を行なえるものであり、
    放熱を受ける温度差体(103)は、気体、固体又は液体で構成される特定の機能空間又は構造であり、それによって、システムの運転中、直接又は間接で能動熱作動器で加温される熱交換流体で釈放されるサーモエネルギーの気体、固体又は液体を受けるものであり、それは屋根、路面、温室、水池、加温又は凍結防止の構造体で構成されるものであり、
    熱交換流体(104)は、熱貯蔵及び熱伝導の性質を有する気体又は液体で構成するものを含み、又、それを常態で温度差体(102)と接触させることで、相互に均等な熱伝導を行なえるものであり、
    熱作動で対流する装置(100)は、少なくとも1個のより低い熱交換流体が下に流れる流体の配管(106)に流れていくことを提供することで、自然サーモキャリアの中に設けられる少なくとも1個の能動熱作動器(108)の底部と繋がるもの、及び少なくとも1個の加温した後の熱交換流体(104)が上に流れる流体の配管(107)を提供することで、能動熱作動器(108)の上方流体の出口と繋がるもので構成されるものであり、
    流体の配管(106)及び流体の配管(107)は、丸形又はその他幾何形状を呈するパイプ形状の構造物又は建築の構造体で構成され、又は、自然サーモキャリアの中の通路で構成され、下に流れる流体の配管(106)とその接触する自然サーモキャリア(101)との間に熱構造(109)を備え、或いは、直接熱材料で配管を構成し、その中で、少なくとも1個の下に流れる流体の配管(106)は、より低い温度の熱交換流体(104)が下に流れる流体の配管(106)の進入口(111)を経由してから、熱作動で対流する装置(100)の能動熱作動器(108)のより低い部分に入ることを提供し、又、少なくとも1個の上に流れる流体の配管(107)が、熱作動で対流する装置(100)の能動熱作動器(108)の上端から放熱を受ける温度差体(103)に流すことで、熱交換流体(104)を上に流れる流体の配管の排出口(112)を経由して、放熱を受ける温度差体(103)に排出するものであり、
    能動熱作動器(108)は、熱作動で対流する装置(100)のより低い所に設けられ、その材料は、伝導特性がある材料であり、又、自然サーモキャリア(101)と伝導状態の構造形態を維持し、又は、直接自然サーモキャリア(101)の内部に流体を流通させる空間を利用して、直接能動熱作動器の機能を構成することで、前述の伝導特性の材料で作られる能動熱作動器(108)の代わりとして使われ、能動熱作動器のケースは更に熱伝導フィンを増設し、
    下に流れる流体の配管(106)及び上に流れる流体の配管(107)は、傾く構造を呈し、人が歩ける階段を設けている構造を使うことを特徴とする自然サーモキャリアの熱作動で対流する放熱システム。
  7. 自然サーモキャリアの熱作動で対流する放熱システムであって、
    熱貯蔵がより安定する地層、地表、池、湖、川、砂漠、氷山又は海洋などの固体又は液体のサーモキャリアに能動熱作動器を設けて、能動熱作動器の両端にそれぞれ流体の配管を設けることで、それぞれ温度差体及び放熱を受ける温度差体に流れ、熱作動で対流する装置を構成し、熱作動で対流する装置を通して、温度差体より進入口配管から能動熱作動器(108)に入るより低い温度の流体が加温されるので、流体の寒い時下がり、暑い時上がる特性を利用して、対流機能を生じさせ、又、出口配管から放熱を受ける温度差体に流れることで、開放型の放熱システムが構成され、或いは、配管を通して能動放熱器(201)に流してから、再び配管を通して能動熱作動器(108)に流れて戻ることで、封鎖型の放熱システムが構成され、
    その構造の特徴は下記のものを含み、
    自然サーモキャリア(101)は、熱貯蔵がより安定する地層、地表、池、湖、川、砂漠、氷山又は海洋などの固体又は液体のサーモキャリアであり、
    温度差体(102)は、より低い温度の気体、固体又は液体に関するものであり、それを常態で熱交換流体(104)と接触させることで、相互に均等な熱伝導を行なえるものであり、
    放熱を受ける温度差体(103)は、気体、固体又は液体で構成される特定の機能空間又は構造であり、それによって、システムの運転中、直接又は間接で能動熱作動器で加温される熱交換流体で釈放されるサーモエネルギーの気体、固体又は液体を受けるものであり、それは屋根、路面、温室、水池、加温又は凍結防止の構造体で構成されるものであり、
    熱交換流体(104)は、熱貯蔵及び熱伝導の性質を有する気体又は液体で構成するものを含み、又、それを常態で温度差体(102)と接触させることで、相互に均等な熱伝導を行なえるものであり、
    熱作動で対流する装置(100)は、少なくとも1個のより低い熱交換流体が下に流れる流体の配管(106)に流れていくことを提供することで、自然サーモキャリアの中に設けられる少なくとも1個の能動熱作動器(108)の底部と繋がるもの、及び少なくとも1個の加温した後の熱交換流体(104)が上に流れる流体の配管(107)を提供することで、能動熱作動器(108)の上方流体の出口と繋がるもので構成されるものであり、
    流体の配管(106)及び流体の配管(107)は、丸形又はその他幾何形状を呈するパイプ形状の構造物又は建築の構造体で構成され、又は、自然サーモキャリアの中の通路で構成され、下に流れる流体の配管(106)とその接触する自然サーモキャリア(101)との間に熱構造(109)を備え、或いは、直接熱材料で配管を構成し、その中で、少なくとも1個の下に流れる流体の配管(106)は、より低い温度の熱交換流体(104)が下に流れる流体の配管(106)の進入口(111)を経由してから、熱作動で対流する装置(100)の能動熱作動器(108)のより低い部分に入ることを提供し、又、少なくとも1個の上に流れる流体の配管(107)が、熱作動で対流する装置(100)の能動熱作動器(108)の上端から放熱を受ける温度差体(103)に流すことで、熱交換流体(104)を上に流れる流体の配管の排出口(112)を経由して、放熱を受ける温度差体(103)に排出するものであり、
    能動熱作動器(108)は、熱作動で対流する装置(100)のより低い所に設けられ、その材料は、伝導特性がある材料であり、又、自然サーモキャリア(101)と伝導状態の構造形態を維持し、又は、直接自然サーモキャリア(101)の内部に流体を流通させる空間を利用して、直接能動熱作動器の機能を構成することで、前述の伝導特性の材料で作られる能動熱作動器(108)の代わりとして使われ、能動熱作動器のケースは更に熱伝導フィンを増設し、
    上に流れる流体の配管(107)の出口及び下に流れる流体の配管(106)の入口は、保護ネット又は保護カバーを増設することを特徴とする自然サーモキャリアの熱作動で対流する放熱システム。
JP2004100005A 2004-03-30 2004-03-30 自然サーモキャリアの熱作動で対流する放熱システム Expired - Fee Related JP4903988B2 (ja)

Priority Applications (1)

Application Number Priority Date Filing Date Title
JP2004100005A JP4903988B2 (ja) 2004-03-30 2004-03-30 自然サーモキャリアの熱作動で対流する放熱システム

Applications Claiming Priority (1)

Application Number Priority Date Filing Date Title
JP2004100005A JP4903988B2 (ja) 2004-03-30 2004-03-30 自然サーモキャリアの熱作動で対流する放熱システム

Related Child Applications (1)

Application Number Title Priority Date Filing Date
JP2011246306A Division JP2012026723A (ja) 2011-11-10 2011-11-10 自然サーモキャリアの熱作動で対流する放熱システム

Publications (2)

Publication Number Publication Date
JP2005283014A JP2005283014A (ja) 2005-10-13
JP4903988B2 true JP4903988B2 (ja) 2012-03-28

Family

ID=35181604

Family Applications (1)

Application Number Title Priority Date Filing Date
JP2004100005A Expired - Fee Related JP4903988B2 (ja) 2004-03-30 2004-03-30 自然サーモキャリアの熱作動で対流する放熱システム

Country Status (1)

Country Link
JP (1) JP4903988B2 (ja)

Families Citing this family (14)

* Cited by examiner, † Cited by third party
Publication number Priority date Publication date Assignee Title
JP2008096004A (ja) * 2006-10-10 2008-04-24 Showa Tansan Co Ltd 熱循環処理装置
CA2771608C (en) * 2011-03-22 2018-11-20 Tai-Her Yang Pipe member equipped with heat insulation core pipeline and u-shaped annularly-distributed pipeline
US9291372B2 (en) * 2011-07-25 2016-03-22 Tai-Her Yang Closed-loop temperature equalization device having a heat releasing device and multiple flowpaths
US9200850B2 (en) * 2011-07-25 2015-12-01 Tai-Her Yang Closed-loop temperature equalization device having a heat releasing system structured by multiple flowpaths
CN202915560U (zh) * 2011-07-25 2013-05-01 杨泰和 闭路型均温装置
US20130025820A1 (en) * 2011-07-25 2013-01-31 Tai-Her Yang Close-loop temperature equalization device having single-flowpathheat releasing device
US20130042997A1 (en) * 2011-08-15 2013-02-21 Tai-Her Yang Open-loopnatural thermal energy releasing system wtih partialreflux
KR20140024153A (ko) * 2012-08-20 2014-02-28 양태허 폐쇄 루프형 등온장치
CN104487794B (zh) * 2012-09-05 2017-03-08 松下知识产权经营株式会社 冷却装置、装载有该冷却装置的电动汽车和电子设备
KR101645664B1 (ko) * 2014-12-11 2016-08-04 충남대학교산학협력단 서모 사이펀을 이용한 도로결빙 방지장치
CN107003060B (zh) * 2015-10-21 2019-09-17 Lg 电子株式会社 除霜装置和具有该除霜装置的冰箱
CN110385156B (zh) * 2018-04-16 2023-07-14 中石化石油工程技术服务有限公司 便携式地质化学分析操作台
KR102192758B1 (ko) * 2019-02-15 2020-12-21 양태허 자연 난방 에너지체에 삽입 설치되는 직립식 유체 열교환기
JP6544784B1 (ja) * 2019-03-28 2019-07-17 株式会社タクマ 冷却装置

Family Cites Families (3)

* Cited by examiner, † Cited by third party
Publication number Priority date Publication date Assignee Title
JPS5997492A (ja) * 1982-11-29 1984-06-05 Agency Of Ind Science & Technol 伝熱装置
FR2578638B1 (fr) * 1985-03-08 1989-08-18 Inst Francais Du Petrole Procede de transfert de chaleur d'un fluide chaud a un fluide froid utilisant un fluide mixte comme agent caloporteur
JP2886110B2 (ja) * 1995-04-19 1999-04-26 株式会社フジクラ ヒートパイプ式融雪装置

Also Published As

Publication number Publication date
JP2005283014A (ja) 2005-10-13

Similar Documents

Publication Publication Date Title
TWI303305B (en) Natural thermo-carrier heat release sytem
JP4903988B2 (ja) 自然サーモキャリアの熱作動で対流する放熱システム
JP6417080B2 (ja) 閉路式均熱装置
JP4642579B2 (ja) 地熱採熱システム
JP2012026723A (ja) 自然サーモキャリアの熱作動で対流する放熱システム
CN202757336U (zh) 部分回流的开路型自然温能释温系统
US9551535B2 (en) Apparatus and method for cooling selected portions of swimming pool water
JP2008309382A (ja) 地下水及び地中熱利用ヒートポンプ
CN206389664U (zh) 一种管带式微循环散热器及微循环换热系统
US9200850B2 (en) Closed-loop temperature equalization device having a heat releasing system structured by multiple flowpaths
USH2231H1 (en) Tubular heating-pipe solar water-heating-system with integral tank
EP2052189A1 (en) Cooling / heating panel
CN102809216A (zh) 热泵水暖装置
JP2007010275A (ja) 地熱利用ヒートポンプ式空調装置
US9366046B1 (en) Apparatus and method for cooling swimming pool water
US9291372B2 (en) Closed-loop temperature equalization device having a heat releasing device and multiple flowpaths
JP6674335B2 (ja) 地中熱利用ヒートパイプ式空調装置およびその構成用ユニットならびに空調方法
JP5237962B2 (ja) ヒート・ポンプ組立体
EP2163828A2 (en) Appartus and method for transferrign energy
JP5028638B1 (ja) 地熱利用構造および地熱熱交換器埋設構造
AU2003204209B2 (en) Underfloor climate control apparatus-improvements/modifications
CN101046312B (zh) 温度控制系统
JP4460254B2 (ja) 断熱基礎建物における床下恒温収納システム
KR20190089800A (ko) 폐쇄 루프형 등온장치
KR101559738B1 (ko) 지열을 이용한 난방시스템

Legal Events

Date Code Title Description
A621 Written request for application examination

Free format text: JAPANESE INTERMEDIATE CODE: A621

Effective date: 20070329

A131 Notification of reasons for refusal

Free format text: JAPANESE INTERMEDIATE CODE: A131

Effective date: 20090610

A601 Written request for extension of time

Free format text: JAPANESE INTERMEDIATE CODE: A601

Effective date: 20090910

A602 Written permission of extension of time

Free format text: JAPANESE INTERMEDIATE CODE: A602

Effective date: 20090915

A521 Written amendment

Free format text: JAPANESE INTERMEDIATE CODE: A523

Effective date: 20090918

A02 Decision of refusal

Free format text: JAPANESE INTERMEDIATE CODE: A02

Effective date: 20100112

A521 Written amendment

Free format text: JAPANESE INTERMEDIATE CODE: A523

Effective date: 20100512

A521 Written amendment

Free format text: JAPANESE INTERMEDIATE CODE: A523

Effective date: 20100527

A911 Transfer of reconsideration by examiner before appeal (zenchi)

Free format text: JAPANESE INTERMEDIATE CODE: A911

Effective date: 20100601

A912 Removal of reconsideration by examiner before appeal (zenchi)

Free format text: JAPANESE INTERMEDIATE CODE: A912

Effective date: 20100716

A521 Written amendment

Free format text: JAPANESE INTERMEDIATE CODE: A523

Effective date: 20111110

A601 Written request for extension of time

Free format text: JAPANESE INTERMEDIATE CODE: A601

Effective date: 20111205

A01 Written decision to grant a patent or to grant a registration (utility model)

Free format text: JAPANESE INTERMEDIATE CODE: A01

A602 Written permission of extension of time

Free format text: JAPANESE INTERMEDIATE CODE: A602

Effective date: 20111214

A61 First payment of annual fees (during grant procedure)

Free format text: JAPANESE INTERMEDIATE CODE: A61

Effective date: 20120106

R150 Certificate of patent or registration of utility model

Free format text: JAPANESE INTERMEDIATE CODE: R150

Ref document number: 4903988

Country of ref document: JP

Free format text: JAPANESE INTERMEDIATE CODE: R150

FPAY Renewal fee payment (event date is renewal date of database)

Free format text: PAYMENT UNTIL: 20150113

Year of fee payment: 3

R250 Receipt of annual fees

Free format text: JAPANESE INTERMEDIATE CODE: R250

R250 Receipt of annual fees

Free format text: JAPANESE INTERMEDIATE CODE: R250

R250 Receipt of annual fees

Free format text: JAPANESE INTERMEDIATE CODE: R250

R250 Receipt of annual fees

Free format text: JAPANESE INTERMEDIATE CODE: R250

R250 Receipt of annual fees

Free format text: JAPANESE INTERMEDIATE CODE: R250

LAPS Cancellation because of no payment of annual fees