JP4900935B2 - 光学定数算出方法及び基板処理システム - Google Patents

光学定数算出方法及び基板処理システム Download PDF

Info

Publication number
JP4900935B2
JP4900935B2 JP2006305845A JP2006305845A JP4900935B2 JP 4900935 B2 JP4900935 B2 JP 4900935B2 JP 2006305845 A JP2006305845 A JP 2006305845A JP 2006305845 A JP2006305845 A JP 2006305845A JP 4900935 B2 JP4900935 B2 JP 4900935B2
Authority
JP
Japan
Prior art keywords
film
reflectance
calculated
optical constant
organic insulating
Prior art date
Legal status (The legal status is an assumption and is not a legal conclusion. Google has not performed a legal analysis and makes no representation as to the accuracy of the status listed.)
Expired - Fee Related
Application number
JP2006305845A
Other languages
English (en)
Other versions
JP2008122206A (ja
Inventor
俊彦 菊池
Current Assignee (The listed assignees may be inaccurate. Google has not performed a legal analysis and makes no representation or warranty as to the accuracy of the list.)
Tokyo Electron Ltd
Original Assignee
Tokyo Electron Ltd
Priority date (The priority date is an assumption and is not a legal conclusion. Google has not performed a legal analysis and makes no representation as to the accuracy of the date listed.)
Filing date
Publication date
Application filed by Tokyo Electron Ltd filed Critical Tokyo Electron Ltd
Priority to JP2006305845A priority Critical patent/JP4900935B2/ja
Priority to CNB2007101675432A priority patent/CN100543955C/zh
Priority to US11/932,274 priority patent/US7663760B2/en
Priority to KR20070113718A priority patent/KR100939123B1/ko
Priority to TW96142476A priority patent/TW200836281A/zh
Publication of JP2008122206A publication Critical patent/JP2008122206A/ja
Application granted granted Critical
Publication of JP4900935B2 publication Critical patent/JP4900935B2/ja
Expired - Fee Related legal-status Critical Current
Anticipated expiration legal-status Critical

Links

Images

Classifications

    • GPHYSICS
    • G01MEASURING; TESTING
    • G01NINVESTIGATING OR ANALYSING MATERIALS BY DETERMINING THEIR CHEMICAL OR PHYSICAL PROPERTIES
    • G01N21/00Investigating or analysing materials by the use of optical means, i.e. using sub-millimetre waves, infrared, visible or ultraviolet light
    • G01N21/84Systems specially adapted for particular applications
    • G01N21/8422Investigating thin films, e.g. matrix isolation method
    • H10P74/00
    • GPHYSICS
    • G01MEASURING; TESTING
    • G01NINVESTIGATING OR ANALYSING MATERIALS BY DETERMINING THEIR CHEMICAL OR PHYSICAL PROPERTIES
    • G01N21/00Investigating or analysing materials by the use of optical means, i.e. using sub-millimetre waves, infrared, visible or ultraviolet light
    • G01N21/17Systems in which incident light is modified in accordance with the properties of the material investigated
    • G01N21/55Specular reflectivity
    • GPHYSICS
    • G01MEASURING; TESTING
    • G01NINVESTIGATING OR ANALYSING MATERIALS BY DETERMINING THEIR CHEMICAL OR PHYSICAL PROPERTIES
    • G01N21/00Investigating or analysing materials by the use of optical means, i.e. using sub-millimetre waves, infrared, visible or ultraviolet light
    • G01N21/17Systems in which incident light is modified in accordance with the properties of the material investigated
    • G01N21/55Specular reflectivity
    • G01N2021/555Measuring total reflection power, i.e. scattering and specular
    • GPHYSICS
    • G01MEASURING; TESTING
    • G01NINVESTIGATING OR ANALYSING MATERIALS BY DETERMINING THEIR CHEMICAL OR PHYSICAL PROPERTIES
    • G01N21/00Investigating or analysing materials by the use of optical means, i.e. using sub-millimetre waves, infrared, visible or ultraviolet light
    • G01N21/84Systems specially adapted for particular applications
    • G01N21/8422Investigating thin films, e.g. matrix isolation method
    • G01N2021/8427Coatings

Landscapes

  • Physics & Mathematics (AREA)
  • General Health & Medical Sciences (AREA)
  • Immunology (AREA)
  • Chemical & Material Sciences (AREA)
  • Analytical Chemistry (AREA)
  • Biochemistry (AREA)
  • Health & Medical Sciences (AREA)
  • General Physics & Mathematics (AREA)
  • Life Sciences & Earth Sciences (AREA)
  • Pathology (AREA)
  • Mathematical Physics (AREA)
  • Testing Or Measuring Of Semiconductors Or The Like (AREA)
  • Investigating Or Analysing Materials By Optical Means (AREA)
  • Drying Of Semiconductors (AREA)
  • Exposure Of Semiconductors, Excluding Electron Or Ion Beam Exposure (AREA)

Description

本発明は、光学定数算出方法及び基板処理システムに関し、特に、基板上に積層された複数の膜の光学定数算出方法に関する。
半導体デバイスの小型化が進む中、ウエハの表面における回路パターンをより微細に形成する必要が生じてきている。このような微細な回路パターンを形成するためには、半導体デバイスの製造過程において、複数の膜が積層されたウエハの表面構造、例えば、エッチング処理を施した後の各膜によって構成されるウエハの表面構造を正確に特定する必要がある。
従来、エッチング処理を施した後のウエハの表面構造を特定するため、劈開したウエハの断面を走査型電子顕微鏡(SEM:Scanning Electron Microscope)によって観察して撮影するという方法が行われていたが、この方法では、観察対象であるウエハの断面を形成するため、ウエハ自体を切断(破壊)しなければならないという欠点があった。
そこで、非破壊でエッチング処理を施した後のウエハの表面構造を特定するため、レジストパターンの評価等に用いられていた反射率測定法(Reflectmetry)やエリプソメトリ法(Ellipsometry)等のスキャトロメトリ法(Scatterometry)をウエハの表面構造の特定に適用する方法が開発されている。(例えば、特許文献1参照)。
特に、スキャトロメトリ法としての反射率測定法では、ウエハの表面構造における光学定数であるn値(屈折率)及びk値(減衰定数)を用いて、ウエハの表面構造を非破壊で特定する。具体的には、事前にウエハの表面に積層された各膜、例えば、窒化膜、有機絶縁膜(Low−k膜)、酸化膜、反射防止膜(BRAC膜)及びレジスト膜の光学定数(n値及びk値)を算出する。次いで、算出された各膜の光学定数を用いてウエハの表面構造、例えば、溝形状を光学的に表したモデルを異なる溝形状毎に作成して記憶する。そして、表面構造特定対象としてのウエハの表面の反射率を測定し、該反射率に対応する溝形状のモデルを選び出すことにより、ウエハの表面構造(溝形状)を特定する(例えば、特許文献2参照。)
したがって、スキャトロメトリ法では、算出された各膜の光学定数が不正確である場合、ウエハの表面構造を正確に特定することができない。そのため、各膜の光学定数を正確に算出することが非常に重要である。
従来の光学定数の算出方法では、ウエハ表面への各膜の積層時において、各膜が成膜される度に成膜された膜の反射率等を測定して当該膜の光学定数を算出している。成膜された膜の光学定数を算出する際には成膜された膜の下地膜の光学定数を用いるが、この下地膜の光学定数は、各膜の積層時、具体的には、下地膜が成膜された時に算出されるのが常であった。
特開2002−260994号公報 特開2005−33187号公報
しかしながら、ウエハ表面への各膜の積層時において、或る膜を成膜する際の加熱処理等によって既に光学定数が算出された下地膜の密度が変化することがある。通常、密度が変化すると光学定数が変化するため、下地膜の真の光学定数が成膜された膜の光学定数の算出に使用される下地膜の光学定数と異なることになる。したがって、既に算出された下地膜の光学定数を用いて算出される、成膜された膜の光学定数は不正確となる。
また、下地膜がエッチングされると、下地膜が変質してさらに光学定数が変化することがある。ここで、エッチングされた下地膜を含むウエハの表面構造を反射率測定法で特定する場合、下地膜の真の光学定数が反射率測定法で使用される下地膜の光学定数とは異なることになる。したがって、既に算出された下地膜の光学定数を用いて特定されるウエハの表面構造は不正確になる。
本発明の目的は、下地膜について正確な光学定数を算出することができ、もって基板の表面構造を正確に特定することができる光学定数算出方法及び基板処理システムを提供することにある。
上記目的を達成するために、請求項1記載の光学定数算出方法は、複数の膜が積層され、該複数の膜のうち少なくとも1つの下地膜は積層時において光学定数が変化する基板における各膜の光学定数算出方法であって、前記複数の膜が積層された後において、前記各膜が除去されて該各膜の下地膜が露出したときに、該露出した下地膜の光学定数を算出することを特徴とする。
請求項2記載の光学定数算出方法は、請求項1記載の光学定数算出方法において、前記複数の膜は、順に積層された窒化膜、有機絶縁膜、酸化膜、反射防止膜及びフォトレジスト膜であり、該フォトレジスト膜は開口部を有し、該開口部は前記反射防止膜の一部を露出させ、それぞれ単膜として前記基板上に形成された窒化膜及び酸化膜の光学定数を事前に算出し、前記複数の膜が積層された後に、前記フォトレジスト膜の第1の反射率及び前記露出する反射防止膜の一部の第2の反射率を測定し、前記露出する反射防止膜の一部及び前記酸化膜をプラズマで除去した後に、前記有機絶縁膜の第3の反射率を測定し、前記フォトレジスト膜及び前記反射防止膜を除去した後に、前記酸化膜の第4の反射率を測定し、前記第4の反射率、並びに前記算出された窒化膜及び酸化膜の光学定数に基づいて、前記有機絶縁膜の光学定数を算出し、前記第3の反射率、並びに前記算出された窒化膜及び有機絶縁膜の光学定数に基づいて、前記有機絶縁膜の光学定数を算出し、前記第2の反射率、並びに前記算出された窒化膜、酸化膜及び有機絶縁膜の光学定数に基づいて、前記反射防止膜の光学定数を算出し、前記第1の反射率、並びに前記算出された窒化膜、酸化膜、有機絶縁膜及び反射防止膜の光学定数に基づいて、フォトレジスト膜の光学定数を算出することを特徴とする。
請求項3記載の光学定数算出方法は、請求項1又は2記載の光学定数算出方法において、前記光学定数は屈折率及び減衰数であることを特徴とする。
上記目的を達成するために、請求項4記載の基板処理システムは、複数の膜が積層され、該複数の膜のうち少なくとも1つの下地膜は積層時において光学定数が変化する基板を処理する基板処理システムにおいて、前記複数の膜が積層された後において、前記各膜が除去されて該各膜の下地膜が露出したときに、該露出した下地膜の光学定数を算出することを特徴とする。
請求項5記載の基板処理システムは、請求項4記載の基板処理システムにおいて、前記基板の表面における前記各膜をプラズマエッチングによって除去するプラズマ処理装置と、前記基板の表面に光を投射したときの前記各膜からの反射光を観測する反射光測定装置とを備え、前記複数の膜は、順に積層された窒化膜、有機絶縁膜、酸化膜、反射防止膜及びフォトレジスト膜であり、該フォトレジスト膜は開口部を有し、該開口部は前記反射防止膜の一部を露出させ、それぞれ単膜として前記基板上に形成された窒化膜及び酸化膜の光学定数を事前に算出し、前記複数の膜が積層された後に、前記フォトレジスト膜の第1の反射率及び前記露出する反射防止膜の一部の第2の反射率を測定し、前記露出する反射防止膜の一部及び前記酸化膜をプラズマで除去した後に、前記有機絶縁膜の第3の反射率を測定し、前記フォトレジスト膜及び前記反射防止膜を除去した後に、前記酸化膜の第4の反射率を測定し、前記第4の反射率、並びに前記算出された窒化膜及び酸化膜の光学定数に基づいて、前記有機絶縁膜の光学定数を算出し、前記第3の反射率、並びに前記算出された窒化膜及び有機絶縁膜の光学定数に基づいて、前記有機絶縁膜の光学定数を算出し、前記第2の反射率、並びに前記算出された窒化膜、酸化膜及び有機絶縁膜の光学定数に基づいて、前記反射防止膜の光学定数を算出し、前記第1の反射率、並びに前記算出された窒化膜、酸化膜、有機絶縁膜及び反射防止膜の光学定数に基づいて、フォトレジスト膜の光学定数を算出することを特徴とする。
請求項6記載の基板処理システムは、請求項4又は5記載の基板処理システムにおいて、前記光学定数は屈折率及び減衰数であることを特徴とする。
請求項1記載の光学定数算出方法及び請求項4記載の基板処理システムによれば、複数の膜が積層された後において、各膜が除去されて該各膜の下地膜が露出したときに、該露出した下地膜の光学定数が算出される。これにより、積層時において光学定数が変化する下地膜について、光学定数が変化した後に該下地膜の光学定数を算出することができる。すなわち、下地膜について正確な光学定数を算出することができ、もって基板の表面構造を正確に特定することができる。
請求項2記載の光学定数算出方法及び請求項5記載の基板処理システムによれば、窒化膜及び酸化膜の光学定数が事前に算出され、複数の膜が積層された後に第1の反射率及び第2の反射率が測定され、露出する反射防止膜の一部及び酸化膜がプラズマで除去された後に第3の反射率が測定され、フォトレジスト膜及び反射防止膜がプラズマで除去された後に第4の反射率が測定され、第4の反射率、並びに算出された窒化膜及び酸化膜の光学定数に基づいて、有機絶縁膜の光学定数が算出され、第3の反射率、並びに算出された窒化膜及び有機絶縁膜の光学定数に基づいて、有機絶縁膜の光学定数が算出され、第2の反射率、並びに算出された窒化膜、酸化膜及び有機絶縁膜の光学定数に基づいて、反射防止膜の光学定数が算出され、第1の反射率、並びに算出された窒化膜、酸化膜、有機絶縁膜及び反射防止膜の光学定数に基づいて、フォトレジスト膜の光学定数が算出される。有機絶縁膜は積層時に熱処理等によって変質するが、複数の膜が積層された後に有機絶縁膜の光学定数が算出されるため、熱処理等によって変質した有機絶縁膜の光学定数を算出することができる。また、有機絶縁膜は露出する反射防止膜の一部及び酸化膜がプラズマによって除去されるときにプラズマによっても変質するが、露出する反射防止膜の一部及び酸化膜がプラズマで除去された後に測定された第3の反射率等に基づいて、有機絶縁膜の光学定数が算出されるため、プラズマによって変質した有機絶縁膜の光学定数も算出することができる。すなわち、熱処理やプラズマによって変質した有機絶縁膜について正確な光学定数を算出することができ、もって基板の表面構造をより正確に特定することができる。
以下、本発明の実施の形態について図面を参照しながら説明する。
まず、本発明の実施の形態に係る基板処理システムについて説明する。
図1は、本実施の形態に係る基板処理システムの構成を概略的に示す平面図である。
図1において、基板処理システム10は、プロセスモジュール11(プラズマ処理装置)と、ローダーモジュール12と、プロセスモジュール11及びローダーモジュール12の間に配され、且つそれぞれに接続するロードロックモジュール13と、システムコントローラ14とを備える。
プロセスモジュール11は減圧処理室を有し、該減圧処理室内に半導体ウエハ(以下、単に「ウエハ」という。)Wを収容し、該ウエハWにエッチング処理を施す。
ローダーモジュール12は筐体状構造物であり、両端にそれぞれオリエンタ15及びメトロロジ16(反射光測定装置)を有し、さらにロードロックモジュール13が接続された側面とは反対の側面に複数のロードポート17を有する。各ロードポート17には複数のウエハWを収容するウエハカセットがセットされる。ローダーモジュール12内には移動自在な搬送アーム機構18が配され、該搬送アーム機構18はウエハカセットからウエハWを取り出し、オリエンタ15、ロードロックモジュール13及びメトロロジ16の間においてウエハWを搬送する。オリエンタ15は搬入されたウエハWの位置を調整し、メトロロジ16は搬入されたウエハWの表面からの反射光を観測する。メトロロジ16の構成、機能については後述する。
ロードロックモジュール13は搬送室であり、搬送室内には搬送アーム機構19が配され、該搬送アーム機構19はプロセスモジュール11及びローダーモジュール12の間においてウエハWを搬送する。
図2は、図1におけるメトロロジの構成を概略的に示す図である。
図2において、メトロロジ16は、光源20と、ハーフミラー21と、集光レンズ22と、分光器23と、検出器(ディテクタ)24とを備える。光源20、ハーフミラー21及び集光レンズ22はウエハWに対向するように直線上に配される。また、ハーフミラー21、分光器23及び検出器24も直線上に配される。
メトロロジ16は、ウエハWの表面からの反射光を観測する。具体的には、光源20から照射された白色光がハーフミラー21を透過して集光レンズ22によって集光されてウエハWに入射する。該入射した白色光はウエハWの表面において反射する。ウエハWの表面からの反射光はハーフミラー21によって進路が変更されて分光器23を介して検出器24に入射する。検出器24は、入射された反射光を受光し、該反射光を電気信号に変換してシステムコントローラ14に送信する。
図1に戻り、システムコントローラ14は、基板処理システム10の各構成要素の動作を制御する。また、システムコントローラ14は、スキャトロメトリ法である反射率測定法によってウエハWの表面構造を特定する。反射率測定法とは、ウエハWに白色光を照射し、ウエハWに入射する入射光の強度とウエハWから反射される反射光の強度との比(反射率)からウエハWの表面構造、例えば、溝(トレンチ)のCD(Critical Dimension)値を特定する形状特定方法である。
図3は、表面構造が特定されるウエハの構成を概略的に示す断面図である。
図3において、ウエハWはシリコン基材30を有し、該シリコン基材30上には、下から順に、窒化珪素膜31、有機絶縁膜32、酸化膜33、反射防止膜34及びフォトレジスト膜35が積層されている。フォトレジスト膜35は開口部36を有し、該開口部36は反射防止膜34の一部を露出させる。
このウエハWにはプロセスモジュール11においてエッチング処理が施され、反射防止膜34やフォトレジスト膜35が除去されると共に、有機絶縁膜32に後述のトレンチ37が形成される。
また、システムコントローラ14は、反射率測定法によってウエハWの表面構造を特定する前に、ウエハWの各膜の光学定数(n値及びk値)を算出する。具体的には、メトロロジ16から送信された各膜からの反射光の電気信号に基づいて反射率を算出し、該算出された反射率に基づいて窒化珪素膜31、有機絶縁膜32、酸化膜33、反射防止膜34及びフォトレジスト膜35の光学定数(n値及びk値)を算出する。
そして、システムコントローラ14は、算出された各膜の光学定数を用いてウエハの表面構造、例えば、トレンチを光学的に表したモデルを異なるCD値のトレンチ毎に作成して記憶する。さらに、システムコントローラ14は、表面構造特定対象としてのウエハWの表面の反射率を算出(測定)し、該反射率に対応するトレンチのモデルを選び出すことにより、トレンチのCD値を特定する。また、システムコントローラ14は特定されたトレンチのCD値に基づいてプロセスモジュール11におけるエッチング処理のレシピを修正する。
なお、上述した各膜の光学定数の算出やトレンチの形状の特定は、システムコントローラ14ではなく、メトロロジ16が備える制御部(図示しない)が行ってもよい。また、システムコントローラ14が特定するウエハWの表面構造は、トレンチのCD値だけでなく、トレンチの深さや傾き、若しくは各膜の膜厚さであってもよい。
一般に、光学定数を決定するためのパラメータは多岐に亘るので、光学定数を算出する際には多くのパラメータを固定する必要がある。そのため、光学測定の算出は1つの膜毎に行われる。
従来、各膜の反射率は、ウエハ表面への各膜の積層時において当該膜が成膜される度に測定されていた。そして、成膜された膜の光学定数は当該膜の反射率及び成膜された膜の下地膜の光学定数に基づいて算出されていた。例えば、酸化膜33の光学定数は、酸化膜33の反射率、有機絶縁膜32及び窒化珪素膜31の光学定数に基づいて算出されていた。なお、有機絶縁膜32の光学定数は、有機絶縁膜32が成膜された時に算出されていた。
しかしながら、有機絶縁膜32は、その上に酸化膜33が成膜される際の加熱処理や、酸化膜33又は有機絶縁膜32に施されるプラズマによるエッチング処理によって密度が変化する。密度が変化すると有機絶縁膜32の光学定数は変化する。したがって、有機絶縁膜32については、有機絶縁膜32が成膜された時の光学定数と、酸化膜33の加熱処理や酸化膜33又は有機絶縁膜32のエッチング処理後における光学定数とが異なる。
従来は、トレンチ37を光学的に表したモデルは有機絶縁膜32が成膜された時の光学定数を用いて作成される一方、表面構造特定対象としてのウエハWにおけるトレンチのCD値を特定する際には、酸化膜33の加熱処理や酸化膜33又は有機絶縁膜32のエッチング処理によって有機絶縁膜32が変質している。すなわち、モデルの作成に用いられる有機絶縁膜32の光学定数と、トレンチのCD値の特定時における有機絶縁膜32の真の光学定数とは異なるため、トレンチのCD値の特定時において計測された反射率に対応するトレンチのモデルを選び出しても、トレンチのCD値を正確に求めることができない。
本実施の形態に係る光学定数算出方法では、これに対応して、システムコントローラ14は、ウエハWの各膜をエッチング処理によって除去する際に各膜の光学定数を算出する。具体的には、事前処理として、シリコン基材30上に窒化珪素膜31が単膜として成膜されたウエハW’及びシリコン基材30上に酸化膜33が単膜として成膜されたウエハW”を準備し、システムコントローラ14は、ウエハW’における窒化珪素膜31の反射率を算出し、該反射率から窒化珪素膜31の光学定数を算出し(図4(A))、ウエハW”における酸化膜33の反射率を算出し、該反射率から酸化膜33の光学定数を算出する(図4(B))。
さらに、システムコントローラ14は、各膜が積層されたウエハWにおける、フォトレジスト膜35の反射率(第1の反射率)及び開口部36によって露出された反射防止膜34の一部の反射率(第2の反射率)を算出(測定)し(図4(C))、露出された反射防止膜34の一部及びその下方の酸化膜33をプラズマによるエッチング処理によって除去した後、露出した有機絶縁膜32の反射率(第3の反射率)を算出(測定)する(図4(D))。このとき、露出した有機絶縁膜32はプラズマによって変質している(図中網掛けで示す)。
次いで、システムコントローラ14は、フォトレジスト膜35及び反射防止膜34をアッシング処理によって除去した後、酸化膜33の反射率(第4の反射率)を算出(測定)する(図4(E))。
なお、プラズマによって変質した有機絶縁膜32の反射率は、フォトレジスト膜35及び反射防止膜34をアッシング処理によって除去した後(図4(E))に算出(測定)してもよく、若しくは、有機絶縁膜32にプラズマによるエッチング処理によってトレンチ37を形成した後(図4(F))に算出してもよい。
次いで、酸化膜33の下方には有機絶縁膜32及び窒化珪素膜31が存在すること(図4(E))から、システムコントローラ14は、酸化膜33の反射率、並びに窒化珪素膜31及び酸化膜33の光学定数に基づいて、有機絶縁膜32の光学定数を算出する。ここで、光学定数が算出される有機絶縁膜32は酸化膜33で覆われているので、プラズマによって変質していない。但し、各膜の積層時における酸化膜33の加熱処理によって変質している。したがって、ここでは、加熱処理によって変質した有機絶縁膜32の光学定数が算出される。
また、プラズマによって変質した有機絶縁膜32の下方には加熱処理によって変質した有機絶縁膜32及び窒化珪素膜31が存在すること(図4(E))から、システムコントローラ14は、プラズマによって変質した有機絶縁膜32の反射率、並びに窒化珪素膜31及び加熱処理によって変質した有機絶縁膜32の光学定数に基づいて、プラズマによって変質した有機絶縁膜32の光学定数を算出する。
さらに、反射防止膜34の下方には、酸化膜33、加熱処理によって変質した有機絶縁膜32及び窒化珪素膜31が存在すること(図4(C))から、システムコントローラ14は、反射防止膜34の一部の反射率、並びに窒化珪素膜31、酸化膜33及び加熱処理によって変質した有機絶縁膜32の光学定数に基づいて、反射防止膜34の光学定数を算出する。
また、フォトレジスト膜35の下方には、反射防止膜34、酸化膜33、加熱処理によって変質した有機絶縁膜32及び窒化珪素膜31が存在すること(図4(C))から、システムコントローラ14は、フォトレジスト膜35の反射率、並びに窒化珪素膜31、酸化膜33、加熱処理によって変質した有機絶縁膜32及び反射防止膜34の光学定数に基づいて、フォトレジスト膜35の光学定数を算出する。
上述した本実施の形態に係る光学定数算出方法によれば、各膜が積層されたウエハWからフォトレジスト膜35及び反射防止膜34が除去された後に測定される酸化膜33の反射率、並びに窒化珪素膜31及び酸化膜33の光学定数に基づいて、加熱処理によって変質した有機絶縁膜32の光学定数が算出され、露出された反射防止膜34の一部及びその下方の酸化膜33がプラズマによるエッチング処理によって除去された後に測定される有機絶縁膜32の反射率、並びに窒化珪素膜31及び加熱処理によって変質した有機絶縁膜32の光学定数に基づいて、プラズマによって変質した有機絶縁膜32の光学定数が算出される。すなわち、有機絶縁膜32は積層時に酸化膜33の加熱処理によって変質するが、各膜が積層された後に有機絶縁膜32の光学定数が算出されるため、加熱処理によって変質した有機絶縁膜32の光学定数を算出することができる。また、有機絶縁膜32は露出された反射防止膜34の一部及びその下方の酸化膜33がプラズマによるエッチング処理によって除去されるときにプラズマによっても変質するが、露出する反射防止膜34の一部及び酸化膜33がプラズマで除去された後に測定された有機絶縁膜32の反射率等に基づいて、有機絶縁膜32の光学定数が算出されるため、プラズマによって変質した有機絶縁膜32の光学定数を算出することができる。すなわち、加熱処理やプラズマによって変質した有機絶縁膜32についても正確な光学定数を算出することができる。
上述した光学定数算出方法では、加熱処理によって変質した有機絶縁膜32等に基づいて、反射防止膜34の光学定数及びフォトレジスト膜35の光学定数が算出されるので、反射防止膜34やフォトレジスト膜35について正確な光学定数を算出することができる。
また、上述した光学定数算出方法では、各膜の反射率に基づいて光学定数が算出されるため、ウエハWを切断する必要がなく、コストを削減することができる。
図5は、図1におけるシステムコントローラが実行するウエハの表面構造特定処理のフローチャートである。
図5において、まず、ウエハW’における窒化珪素膜31の反射率から窒化珪素膜31の光学定数を算出し、且つウエハW”における酸化膜33の反射率から酸化膜33の光学定数を事前に算出する(ステップS51)。
次いで、各膜が積層された光学定数算出用のウエハWにおいて、フォトレジスト膜35の反射率、露出された反射防止膜34の一部の反射率、露出された反射防止膜34の一部及びその下方の酸化膜33のエッチング処理による除去後に露出した有機絶縁膜32の反射率、フォトレジスト膜35及び反射防止膜34のアッシング処理による除去後の酸化膜33の反射率を測定する(ステップS52)。
次いで、酸化膜33の反射率、並びに窒化珪素膜31及び酸化膜33の光学定数に基づいて、有機絶縁膜32の光学定数を算出する(ステップS53)。このとき、加熱処理によって変質した有機絶縁膜32について正確な光学定数を算出することができる。
次いで、プラズマによって変質した有機絶縁膜32の反射率、並びに窒化珪素膜31及び加熱処理によって変質した有機絶縁膜32の光学定数に基づいて、プラズマによって変質した有機絶縁膜32の光学定数を算出する(ステップS54)。これにより、プラズマによって変質した有機絶縁膜32について正確な光学定数を算出することができる。
次いで、反射防止膜34の一部の反射率、並びに窒化珪素膜31、酸化膜33及び加熱処理によって変質した有機絶縁膜32の光学定数に基づいて、反射防止膜34の光学定数を算出し(ステップS55)、フォトレジスト膜35の反射率、並びに窒化珪素膜31、酸化膜33、加熱処理によって変質した有機絶縁膜32及び反射防止膜34の光学定数に基づいて、フォトレジスト膜35の光学定数を算出する(ステップS56)。これにより、反射防止膜34やフォトレジスト膜35について正確な光学定数を算出することができる。
次いで、算出された各膜の光学定数を用いてトレンチを光学的に表したモデルを異なるCD値のトレンチ毎に作成して記憶する(ステップS57)。
次いで、表面構造特定対象としてのウエハWの表面反射率を測定し(ステップS58)、該反射率に対応するトレンチのモデルを選び出すことにより、トレンチのCD値を特定する(ステップS59)。
図5の処理によれば、各膜の正確な光学定数を用いてトレンチを光学的に表したモデルを作成し、該作成されたモデルを選び出すことによってトレンチのCD値を特定するため、正確なCD値を特定することができる。
複数のウエハWのそれぞれについてトレンチのCD値を特定する場合には、最初のウエハWについて図5の処理における全てのステップを行い、以後のウエハWについては図5の処理におけるステップS58及びS59を行えばよい。なお、ウエハWの枚数に余裕がある場合には、各膜の光学定数算出用のウエハWを準備し、該ウエハWについて図5の処理におけるステップS51〜S57を行ってもよい。
上述した基板処理システム10では、メトロロジ16がハーフミラー21を有する構成であったが、メトロロジ16の構成はこれに限られない。
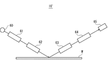
図6は、図1におけるメトロロジの変形例の構成を概略的に示す図である。
図6において、メトロロジ16’は、光源60と、偏光子61と、補償板62と、検出子63と、分光器64と、検出器65とを備える。光源60、偏光子61及び補償板62はウエハWの表面に対する所定の迎角の直線上に配される。また、検出子63、分光器64及び検出器65は、直線上且つウエハWに対する垂直軸に関して光源60、偏光子61及び補償板62と対称に配される。
メトロロジ16’も、ウエハWの表面からの反射光を観測する。具体的には、光源60から照射された白色光が偏光子61、補償板62を透過してウエハWに入射する。該入射した白色光はウエハWの表面において反射する。ウエハWの表面からの反射光は検出子63、分光器64を介して検出器65に入射する。検出器65は、入射された反射光を受光し、該反射光を電気信号に変換してシステムコントローラ14に送信する。
上述した基板処理システム10では、メトロロジ16がローダーモジュール12に接続されるが、メトロロジ16とローダーモジュール12とを分離して、メトロロジ16を基板処理システム10とは別の場所に配してもよい。
また、上述した図5の表面構造特定処理では、スキャトロメトリ法として反射率測定法が用いられたが、スキャトロメトリ法としてはウエハWに白色光を照射することにより得られた反射光の位相、強度等から表面構造を特定できるものであればよく、例えば、エリプソメトリ法を用いてもよい。
また、上述した本実施の形態に係る光学定数算出方法はウエハWだけでなく、積層後に変質する膜を有するウエハであれば、適用することができ、この場合にも、変質する膜の正確な光学定数を算出することができる。
また、本発明の目的は、上述した実施の形態の機能を実現するソフトウェアのプログラムコードを記録した記憶媒体を、コンピュータや外部サーバに供給し、コンピュータ等のCPUが記憶媒体に格納されたプログラムコードを読み出して実行することによっても達成される。
この場合、記憶媒体から読み出されたプログラムコード自体が上述した実施の形態の機能を実現することになり、プログラムコード及びそのプログラムコードを記憶した記憶媒体は本発明を構成することになる。
また、プログラムコードを供給するための記憶媒体としては、例えば、RAM、NV−RAM、フロッピー(登録商標)ディスク、ハードディスク、光磁気ディスク、CD−ROM、CD−R、CD−RW、DVD(DVD−ROM、DVD−RAM、DVD−RW、DVD+RW)等の光ディスク、磁気テープ、不揮発性のメモリカード、他のROM等の上記プログラムコードを記憶できるものであればよい。或いは、上記プログラムコードは、インターネット、商用ネットワーク、若しくはローカルエリアネットワーク等に接続される不図示の他のコンピュータやデータベース等からダウンロードすることによりコンピュータ等に供給されてもよい。
また、コンピュータ等が読み出したプログラムコードを実行することにより、上記実施の形態の機能が実現されるだけでなく、そのプログラムコードの指示に基づき、CPU上で稼動しているOS(オペレーティングシステム)等が実際の処理の一部又は全部を行い、その処理によって上述した実施の形態の機能が実現される場合も含まれる。
更に、記憶媒体から読み出されたプログラムコードが、コンピュータ等に挿入された機能拡張ボードやコンピュータ等に接続された機能拡張ユニットに備わるメモリに書き込まれた後、そのプログラムコードの指示に基づき、その機能拡張ボードや機能拡張ユニットに備わるCPU等が実際の処理の一部又は全部を行い、その処理によって上述した実施の形態の機能が実現される場合も含まれる。
上記プログラムコードの形態は、オブジェクトコード、インタプリタにより実行されるプログラムコード、OSに供給されるスクリプトデータ等の形態から成ってもよい。
次に、本発明の実施例を具体的に説明する。
実施例
まず、ステップS51を実行して窒化珪素膜31及び酸化膜33の光学定数を算出し、ウエハWの積層時において、有機絶縁膜32が成膜されたときに、有機絶縁膜32の反射率を測定し、該有機絶縁膜32の反射率及び窒化珪素膜31の光学定数に基づいて、成膜時の有機絶縁膜32の光学定数を各波長について算出した。そして、算出されたn値(屈折率)及びk値(減衰定数)をそれぞれ図7及び図8のグラフに示した(図中の「i」に対応する。)。
また、ステップS53を実行して加熱処理によって変質した有機絶縁膜32の光学定数を各波長について算出した。そして、算出されたn値及びk値をそれぞれ図7及び図8のグラフに示した(図中の「ii」に対応する。)。
さらに、ステップS54を実行してプラズマによって変質した有機絶縁膜32の光学定数を各波長について算出した。そして、算出されたn値及びk値をそれぞれ図7及び図8のグラフに示した(図中の「iii」に対応する。)。
図7及び図8のグラフより、有機絶縁膜32の光学定数は加熱処理やプラズマ処理によって変化することが確認された。
そして、ステップS55を実行して反射防止膜34の光学定数を各波長について算出し、算出されたn値を図9のグラフに示した(図中の「i」に対応する。)。また、ステップS56を実行してフォトレジスト膜35の光学定数を各波長について算出し、算出されたn値を図10のグラフに示した(図中の「i」に対応する。)。
次いで、ステップS57及びS58を実行し、さらに、表面構造特定対象としての複数のウエハWについてS58及びS59を実行し、トレンチのCD値を特定した。また、これらの反射率測定法によってCD値が特定された複数のウエハWについて、SEMによってトレンチのCD値(CD−SEM値)を測定した。そして、反射率測定法によるCD値及びCD−SEM値を図11のグラフに「●」でプロットすることにより、反射率測定法によるCD値及びCD−SEM値の関係を示した。
比較例
ウエハWの積層時において、各膜が成膜されたときに、窒化珪素膜31の反射率、有機絶縁膜32の反射率、酸化膜33の反射率、反射防止膜34の反射率及びフォトレジスト膜35の反射率を測定し、これらの反射率を用いて成膜時の各膜の光学定数を各波長について算出した。このとき、算出された反射防止膜34のn値を図9のグラフに示し(図中の「ii」に対応する。)、また、算出されたフォトレジスト膜35のn値を図10のグラフに示した(図中の「ii」に対応する。)。
図9及び図10のグラフより、実施例と比較例のn値及びk値が異なることが分かった。これは、実施例では加熱処理によって変質した有機絶縁膜32の光学定数に基づいて反射防止膜34やフォトレジスト膜35の光学定数が算出される一方、比較例では成膜時の有機絶縁膜32の光学定数に基づいて反射防止膜34やフォトレジスト膜35の光学定数が算出されたためであると考えられた。
次いで、成膜時の各膜の光学定数を用いてトレンチを光学的に表したモデルを異なるCD値のトレンチ毎に作成して記憶し、さらに、表面構造特定対象としての複数のウエハWの表面反射率を測定し、該反射率に対応するトレンチのモデルを選び出す(反射率測定法)ことにより、各ウエハWにおけるトレンチのCD値を特定した。また、これらの反射率測定法によってCD値が特定された複数のウエハWについて、SEMによってトレンチのCD値(CD−SEM値)を測定した。そして、反射率測定法によるCD値及びCD−SEM値を図11のグラフに「◆」でプロットすることにより、反射率測定法によるCD値及びCD−SEM値の関係を示した。
図11のグラフにおいて、実施例のCD値及びCD−SEM値の回帰直線の標準誤差は1.65nmであり、比較例のCD値及びCD−SEM値の回帰直線の標準誤差は6.79nmであった。これにより、実施例のCD値が真のCD値に近いことが分かった。すなわち、本発明の光学定数算出方法によって各膜について正確な光学定数を算出することができ、さらに、正確なCD値を特定することができることが分かった。
本発明の実施の形態に係る基板処理システムの構成を概略的に示す平面図である。 図1におけるメトロロジの構成を概略的に示す図である。 表面構造が特定されるウエハの構成を概略的に示す断面図である。 本発明の実施の形態に係る光学定数算出方法を説明するための工程図である。 図1におけるシステムコントローラが実行するウエハの表面構造特定処理のフローチャートである。 図1におけるメトロロジの変形例の構成を概略的に示す図である。 各波長について算出された有機絶縁膜のn値を示すグラフである。 各波長について算出された有機絶縁膜のk値を示すグラフである。 各波長について算出された反射防止膜のn値を示すグラフである。 各波長について算出されたフォトレジスト膜のn値を示すグラフである。 反射率測定法によるCD値及びCD−SEM値の関係を示すグラフである。
符号の説明
W ウエハ
10 基板処理システム
11 プロセスモジュール
14 システムコントローラ
16 メトロロジ
30 シリコン基材
31 窒化珪素膜
32 有機絶縁膜
33 酸化膜
34 反射防止膜
35 フォトレジスト膜
36 開口部

Claims (6)

  1. 複数の膜が積層され、該複数の膜のうち少なくとも1つの下地膜は積層時において光学定数が変化する基板における各膜の光学定数算出方法であって、
    前記複数の膜が積層された後において、前記各膜が除去されて該各膜の下地膜が露出したときに、該露出した下地膜の光学定数を算出することを特徴とする光学定数算出方法。
  2. 前記複数の膜は、順に積層された窒化膜、有機絶縁膜、酸化膜、反射防止膜及びフォトレジスト膜であり、該フォトレジスト膜は開口部を有し、該開口部は前記反射防止膜の一部を露出させ、
    それぞれ単膜として前記基板上に形成された窒化膜及び酸化膜の光学定数を事前に算出し、
    前記複数の膜が積層された後に、前記フォトレジスト膜の第1の反射率及び前記露出する反射防止膜の一部の第2の反射率を測定し、
    前記露出する反射防止膜の一部及び前記酸化膜をプラズマで除去した後に、前記有機絶縁膜の第3の反射率を測定し、
    前記フォトレジスト膜及び前記反射防止膜を除去した後に、前記酸化膜の第4の反射率を測定し、
    前記第4の反射率、並びに前記算出された窒化膜及び酸化膜の光学定数に基づいて、前記有機絶縁膜の光学定数を算出し、
    前記第3の反射率、並びに前記算出された窒化膜及び有機絶縁膜の光学定数に基づいて、前記有機絶縁膜の光学定数を算出し、
    前記第2の反射率、並びに前記算出された窒化膜、酸化膜及び有機絶縁膜の光学定数に基づいて、前記反射防止膜の光学定数を算出し、
    前記第1の反射率、並びに前記算出された窒化膜、酸化膜、有機絶縁膜及び反射防止膜の光学定数に基づいて、フォトレジスト膜の光学定数を算出することを特徴とする請求項1記載の光学定数算出方法。
  3. 前記光学定数は屈折率及び減衰数であることを特徴とする請求項1又は2記載の光学定数算出方法。
  4. 複数の膜が積層され、該複数の膜のうち少なくとも1つの下地膜は積層時において光学定数が変化する基板を処理する基板処理システムにおいて、
    前記複数の膜が積層された後において、前記各膜が除去されて該各膜の下地膜が露出したときに、該露出した下地膜の光学定数を算出することを特徴とする基板処理システム。
  5. 前記基板の表面における前記各膜をプラズマエッチングによって除去するプラズマ処理装置と、前記基板の表面に光を投射したときの前記各膜からの反射光を観測する反射光測定装置とを備え、
    前記複数の膜は、順に積層された窒化膜、有機絶縁膜、酸化膜、反射防止膜及びフォトレジスト膜であり、該フォトレジスト膜は開口部を有し、該開口部は前記反射防止膜の一部を露出させ、
    それぞれ単膜として前記基板上に形成された窒化膜及び酸化膜の光学定数を事前に算出し、
    前記複数の膜が積層された後に、前記フォトレジスト膜の第1の反射率及び前記露出する反射防止膜の一部の第2の反射率を測定し、
    前記露出する反射防止膜の一部及び前記酸化膜をプラズマで除去した後に、前記有機絶縁膜の第3の反射率を測定し、
    前記フォトレジスト膜及び前記反射防止膜を除去した後に、前記酸化膜の第4の反射率を測定し、
    前記第4の反射率、並びに前記算出された窒化膜及び酸化膜の光学定数に基づいて、前記有機絶縁膜の光学定数を算出し、
    前記第3の反射率、並びに前記算出された窒化膜及び有機絶縁膜の光学定数に基づいて、前記有機絶縁膜の光学定数を算出し、
    前記第2の反射率、並びに前記算出された窒化膜、酸化膜及び有機絶縁膜の光学定数に基づいて、前記反射防止膜の光学定数を算出し、
    前記第1の反射率、並びに前記算出された窒化膜、酸化膜、有機絶縁膜及び反射防止膜の光学定数に基づいて、フォトレジスト膜の光学定数を算出することを特徴とする請求項4記載の基板処理システム。
  6. 前記光学定数は屈折率及び減衰数であることを特徴とする請求項4又は5記載の基板処理システム。
JP2006305845A 2006-11-10 2006-11-10 光学定数算出方法及び基板処理システム Expired - Fee Related JP4900935B2 (ja)

Priority Applications (5)

Application Number Priority Date Filing Date Title
JP2006305845A JP4900935B2 (ja) 2006-11-10 2006-11-10 光学定数算出方法及び基板処理システム
CNB2007101675432A CN100543955C (zh) 2006-11-10 2007-10-26 光学常数计算方法和基板处理系统
US11/932,274 US7663760B2 (en) 2006-11-10 2007-10-31 Method for calculating optical constants and substrate processing system
KR20070113718A KR100939123B1 (ko) 2006-11-10 2007-11-08 광학 정수 산출 방법 및 기판 처리 장치
TW96142476A TW200836281A (en) 2006-11-10 2007-11-09 Optical constant calculation method and substrate treatment system

Applications Claiming Priority (1)

Application Number Priority Date Filing Date Title
JP2006305845A JP4900935B2 (ja) 2006-11-10 2006-11-10 光学定数算出方法及び基板処理システム

Publications (2)

Publication Number Publication Date
JP2008122206A JP2008122206A (ja) 2008-05-29
JP4900935B2 true JP4900935B2 (ja) 2012-03-21

Family

ID=39405223

Family Applications (1)

Application Number Title Priority Date Filing Date
JP2006305845A Expired - Fee Related JP4900935B2 (ja) 2006-11-10 2006-11-10 光学定数算出方法及び基板処理システム

Country Status (5)

Country Link
US (1) US7663760B2 (ja)
JP (1) JP4900935B2 (ja)
KR (1) KR100939123B1 (ja)
CN (1) CN100543955C (ja)
TW (1) TW200836281A (ja)

Families Citing this family (3)

* Cited by examiner, † Cited by third party
Publication number Priority date Publication date Assignee Title
JP2010050276A (ja) * 2008-08-21 2010-03-04 Tokyo Electron Ltd 基板処理装置及び光学定数算出方法並びにその方法を実行するプログラムを記憶した記録媒体
CN105097427A (zh) * 2014-04-23 2015-11-25 中芯国际集成电路制造(上海)有限公司 一种监控晶片键合前金属中间层预清洗工艺的方法
CN113281266B (zh) * 2020-02-19 2023-06-30 神华(北京)光伏科技研发有限公司 膜层物质的光谱联用分析方法及其应用

Family Cites Families (7)

* Cited by examiner, † Cited by third party
Publication number Priority date Publication date Assignee Title
JPH0674894A (ja) * 1992-08-25 1994-03-18 Shimadzu Corp エリプソメータを用いた薄膜の解析方法
JPH08327539A (ja) * 1995-05-31 1996-12-13 Sony Corp 吸収性無機反射防止膜の膜質判定方法並びに膜質判定装置及び成膜判定装置
JP2000012441A (ja) * 1998-06-24 2000-01-14 Matsushita Electron Corp 半導体装置のパターン形成方法
JP2002214074A (ja) * 2001-01-19 2002-07-31 Asahi Optical Co Ltd 屈折率分布測定方法
JP2002260994A (ja) * 2001-03-05 2002-09-13 Tokyo Electron Ltd 基板処理装置
IL145699A (en) * 2001-09-30 2006-12-10 Nova Measuring Instr Ltd Method of thin film characterization
JP4694150B2 (ja) * 2003-06-20 2011-06-08 東京エレクトロン株式会社 処理方法及び処理システム

Also Published As

Publication number Publication date
CN100543955C (zh) 2009-09-23
JP2008122206A (ja) 2008-05-29
US7663760B2 (en) 2010-02-16
KR20080042718A (ko) 2008-05-15
CN101179042A (zh) 2008-05-14
TW200836281A (en) 2008-09-01
US20080297801A1 (en) 2008-12-04
KR100939123B1 (ko) 2010-01-27

Similar Documents

Publication Publication Date Title
JP4938219B2 (ja) 光学分光システムを使用するパラメトリック・プロフィーリング
US6940592B2 (en) Calibration as well as measurement on the same workpiece during fabrication
US9559019B2 (en) Metrology through use of feed forward feed sideways and measurement cell re-use
JP5027753B2 (ja) 基板処理制御方法及び記憶媒体
CN106796900B (zh) 验证计量目标及其设计
JP2006226994A (ja) 特性シグナチャのマッチングによる光波散乱計測方法
US20030000922A1 (en) Using scatterometry to develop real time etch image
TW202041973A (zh) 用於度量衡之方法及裝置
US7099010B2 (en) Two-dimensional structure for determining an overlay accuracy by means of scatterometry
JP2008171911A (ja) ラフネス評価方法及びシステム
JP2006058294A (ja) 基板に形成されたパターンの検査方法、及びこれを行うための検査装置
CN100543955C (zh) 光学常数计算方法和基板处理系统
US7123414B2 (en) Method for producing library
JP4480482B2 (ja) プラズマエッチング処理装置の制御方法およびトリミング量制御システム
TWI626514B (zh) 度量衡方法及微影方法、微影單元及電腦程式
TW202107217A (zh) 度量衡中不可校正之誤差
JP4834706B2 (ja) 構造検査方法
KR20230004687A (ko) 트렌치의 광학 측정을 위한 타깃
TW202040280A (zh) 用於估計基板形狀之方法及裝置
TW202534814A (zh) 用於深、大間距半導體結構之基於反射測量之方法和系統
KR100576442B1 (ko) 반도체의 오버레이 마크 이미지 개선방법

Legal Events

Date Code Title Description
A621 Written request for application examination

Free format text: JAPANESE INTERMEDIATE CODE: A621

Effective date: 20090907

A977 Report on retrieval

Free format text: JAPANESE INTERMEDIATE CODE: A971007

Effective date: 20110803

A131 Notification of reasons for refusal

Free format text: JAPANESE INTERMEDIATE CODE: A131

Effective date: 20110809

A521 Request for written amendment filed

Free format text: JAPANESE INTERMEDIATE CODE: A523

Effective date: 20110907

TRDD Decision of grant or rejection written
A01 Written decision to grant a patent or to grant a registration (utility model)

Free format text: JAPANESE INTERMEDIATE CODE: A01

Effective date: 20111222

A01 Written decision to grant a patent or to grant a registration (utility model)

Free format text: JAPANESE INTERMEDIATE CODE: A01

A61 First payment of annual fees (during grant procedure)

Free format text: JAPANESE INTERMEDIATE CODE: A61

Effective date: 20111226

R150 Certificate of patent or registration of utility model

Ref document number: 4900935

Country of ref document: JP

Free format text: JAPANESE INTERMEDIATE CODE: R150

Free format text: JAPANESE INTERMEDIATE CODE: R150

FPAY Renewal fee payment (event date is renewal date of database)

Free format text: PAYMENT UNTIL: 20150113

Year of fee payment: 3

R250 Receipt of annual fees

Free format text: JAPANESE INTERMEDIATE CODE: R250

R250 Receipt of annual fees

Free format text: JAPANESE INTERMEDIATE CODE: R250

R250 Receipt of annual fees

Free format text: JAPANESE INTERMEDIATE CODE: R250

R250 Receipt of annual fees

Free format text: JAPANESE INTERMEDIATE CODE: R250

R250 Receipt of annual fees

Free format text: JAPANESE INTERMEDIATE CODE: R250

LAPS Cancellation because of no payment of annual fees