JP4898705B2 - 周辺の支持薄膜を含むデータ記録装置及び当該装置の製造方法 - Google Patents

周辺の支持薄膜を含むデータ記録装置及び当該装置の製造方法 Download PDF

Info

Publication number
JP4898705B2
JP4898705B2 JP2007550812A JP2007550812A JP4898705B2 JP 4898705 B2 JP4898705 B2 JP 4898705B2 JP 2007550812 A JP2007550812 A JP 2007550812A JP 2007550812 A JP2007550812 A JP 2007550812A JP 4898705 B2 JP4898705 B2 JP 4898705B2
Authority
JP
Japan
Prior art keywords
thin film
substrate
flexible
microdots
fixed
Prior art date
Legal status (The legal status is an assumption and is not a legal conclusion. Google has not performed a legal analysis and makes no representation as to the accuracy of the status listed.)
Expired - Fee Related
Application number
JP2007550812A
Other languages
English (en)
Other versions
JP2008527606A (ja
Inventor
セルジュ、ジドン
Current Assignee (The listed assignees may be inaccurate. Google has not performed a legal analysis and makes no representation or warranty as to the accuracy of the list.)
Commissariat a lEnergie Atomique et aux Energies Alternatives CEA
Original Assignee
Commissariat a lEnergie Atomique et aux Energies Alternatives CEA
Priority date (The priority date is an assumption and is not a legal conclusion. Google has not performed a legal analysis and makes no representation as to the accuracy of the date listed.)
Filing date
Publication date
Application filed by Commissariat a lEnergie Atomique et aux Energies Alternatives CEA filed Critical Commissariat a lEnergie Atomique et aux Energies Alternatives CEA
Publication of JP2008527606A publication Critical patent/JP2008527606A/ja
Application granted granted Critical
Publication of JP4898705B2 publication Critical patent/JP4898705B2/ja
Anticipated expiration legal-status Critical
Expired - Fee Related legal-status Critical Current

Links

Images

Classifications

    • GPHYSICS
    • G11INFORMATION STORAGE
    • G11BINFORMATION STORAGE BASED ON RELATIVE MOVEMENT BETWEEN RECORD CARRIER AND TRANSDUCER
    • G11B9/00Recording or reproducing using a method not covered by one of the main groups G11B3/00 - G11B7/00; Record carriers therefor
    • G11B9/12Recording or reproducing using a method not covered by one of the main groups G11B3/00 - G11B7/00; Record carriers therefor using near-field interactions; Record carriers therefor
    • G11B9/14Recording or reproducing using a method not covered by one of the main groups G11B3/00 - G11B7/00; Record carriers therefor using near-field interactions; Record carriers therefor using microscopic probe means, i.e. recording or reproducing by means directly associated with the tip of a microscopic electrical probe as used in Scanning Tunneling Microscopy [STM] or Atomic Force Microscopy [AFM] for inducing physical or electrical perturbations in a recording medium; Record carriers or media specially adapted for such transducing of information
    • G11B9/1418Disposition or mounting of heads or record carriers
    • BPERFORMING OPERATIONS; TRANSPORTING
    • B82NANOTECHNOLOGY
    • B82YSPECIFIC USES OR APPLICATIONS OF NANOSTRUCTURES; MEASUREMENT OR ANALYSIS OF NANOSTRUCTURES; MANUFACTURE OR TREATMENT OF NANOSTRUCTURES
    • B82Y10/00Nanotechnology for information processing, storage or transmission, e.g. quantum computing or single electron logic

Landscapes

  • Engineering & Computer Science (AREA)
  • Chemical & Material Sciences (AREA)
  • Nanotechnology (AREA)
  • Physics & Mathematics (AREA)
  • Mathematical Physics (AREA)
  • Theoretical Computer Science (AREA)
  • Crystallography & Structural Chemistry (AREA)
  • Micromachines (AREA)

Description

本発明は、記憶媒体に面して設けられたナノメータ規模のマイクロドットの2次元アレイと、その平面の感応領域の移動を可能にする外部フレーム上に記憶媒体の感応領域を固定する可撓性固定手段と、を含むデータ記録装置に関する。
本発明は、そのような装置の製造方法にも関する。
データ記録分野では、極めて大きな記憶容量が、ナノメータサイズの頂点を有するマイクロドットのアレイを改良することによって近年達成されてきた。電気機械であり得るアクチュエータは、記憶媒体を構成する媒体の面に対してマイクロドット全体のアレイの完全に統制される相対的な移動を可能にする。
頂点効果(tip effect)を伴うそのようなデータ記録装置では、全てのマイクロドットと記憶媒体の感応領域(記録領域)の完全なコンタクトが保証されなければならない。各マイクロドットの位置を個別に制御することは、システムの複雑性から予想不可能である。しかしながら、マイクロドットは、マイクロエレクトロニクスの技術から導き出される技術によって集合的な方法で製造され、製造に起因してマイクロドットの高さのばらつきが常に残る。このばらつきは極めて小さく、典型的には約100nmであるが、格子のマイクロドットの最も長いものは、他のものよりも記憶媒体を圧迫する。
この問題を克服するために、各マイクロドットは、近視野の顕微鏡を操作するのに用いられるマイクロドットアレイと同じように、カンチレバーの一端が張り出すことで支持される。そのとき、カンチレバーの可撓性は、押圧の応力を吸収可能にする。
文献「“Filling the Memory Access Gap: A Case for On−Chip Magnetic Storage”、Steven W. Schlosser著、Technical Report CMU−CS−99−174, School of Computer Science, Carnegie Mellon University、1999年11月出版」は、可撓性固定部によってマイクロドットを支持する基板に対するフレーム全体に接続される記憶媒体を伴うカンチレバーとマイクロドットのアレイの連携について説明する。記憶媒体の感応領域は、その結果、2つの垂直方向に動作するアクチュエータによってそれぞれ自身の平面に移動される。例えば、記憶媒体の移動は、各方向に約100μmであっても良い。数nN単位の接触力を制御するのと同時に、ミリメータ規模の素子(記憶媒体及びマイクロドットアレイ)は、ナノメータ精度で整列されなければならない。しかしながら、接面の平面性及び並列性は、それぞれ50nm以下及び1μラジアン以下の許容値を暗示する。上記文献では、カンチレバー及び高価な動的整列プロセスを用いることによって、このことが可能になる。さらに、この文献に示される関節でつながった平行四辺形型の複雑な可撓性固定部は、多数の技術的ステップを必要とするので、高価である。そのような構造は、表現の程度で影響が与えられる高い機械的応力に起因するほど強くなくても良い。
他の解決手段は、補償されるマイクロドットの高さ方向のばらつきを可能にする可撓性薄膜を含む記憶媒体の利用に基づいて出願人によって提案されてきた。そのとき、マイクロドットは、カンチレバーなしに、集積もされるアドレッシング回路及び制御回路内の1つのベース基板上に直接的に形成される。マイクロドットのアドレッシング回路及び制御回路のこの完全に統制された製造は、装置のコストを低減することを可能にする。
このように、文献WO−A−2004/032132は、各リセスが少なくとも1つのマイクロドットに関連付けられるような複数のリセスを形成するフレームによって支持される可撓性薄膜を含む記憶媒体について説明する。占有率を低減するエッジ効果を取り除くために、記憶媒体は、瓦状に重なったフレームを伴う二重薄膜を含んでも良い。
文献WO−A−2005/013270では、記憶媒体は、例えば、ポリマーの可撓性層によって形成され、マイクロドットの高さ方向のばらつきを吸収する変形可能な記憶層を含む。
このアプローチは、マイクロドットの局部的な高さ方向のばらつきを吸収するには効果的であるが、接触力を克服するのと同時に、全てのマイクロドットを記憶媒体に接触させることを常に保証することはできない。このタイプの問題は、装置を組み立てる間又は熱的ドリフトに起因する変形の後に、マイクロドットを支持する基板の前面が部分的にくぼんでいる場合に特に生じる。
本発明の目的は、これらの欠点を示さないデータ記録装置、とりわけ、マイクロドットと記憶媒体の間の良好なコンタクトを保証できるより安価な装置を提供することである。
本発明によれば、この目的は、添付の特許請求の範囲に記載の装置、とりわけ、可撓性固定手段がその周辺で感応領域を広げ、その平面に対して垂直な感応領域の移動を可能にする可撓性固定薄膜によって形成されるという事実によって達成される。
記憶媒体の感応領域は、好ましくは、可撓性固定薄膜によってその周辺に広がる可撓性薄膜を含む。
本発明は、そのようなデータ記録装置の製造方法、とりわけ、可撓性薄膜を含み、可撓性薄膜及び固定薄膜が1つの部分に同時に形成される記憶媒体の感応領域の製造方法に関する。
その他の利点及び特徴は、非限定的な例示のみを目的として与えられた以下の本発明の特定の実施例の記述及び添付の図面からより明らかになるであろう。
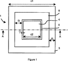
データ記録装置は、マイクロドット2のアレイと共に記憶媒体1を慣習的に含む。上記文献では、記憶媒体1の感応領域は、その平面内で感応領域が移動できるように外部フレーム3上に可撓的に固定される。
図1〜3及び5では、文献WO−A−2004/032132のように、記憶媒体の感応領域は、内部フレーム5によって輪郭が描かれ、少なくとも1つのセルを形成する可撓性薄膜4を含む。明確化のために、図1及び2は、内部フレーム5によってその周辺で輪郭が描かれた単一セルを示す。実際には、セルはいくつでも良く、各セルは、好ましくは、正方形、長方形又は六角形形状を有し、薄膜は、瓦状に重なった二重薄膜でも良い。
図1〜5に図示されるように、記憶媒体の感応領域は、感応領域を広げる可撓性固定薄膜6、とりわけ、可撓性薄膜4によって外部フレーム3上に可撓的にその周辺に固定される。記憶媒体(マイクロドットを伴うコンタクトになるように設けられた)の前面の可撓性薄膜4、場合によっては固定薄膜6(図3)も覆う記憶層9が記憶媒体を完成させる。図1〜3及び5では、薄膜4は、単に内部フレーム5によって輪郭が描かれ、マイクロドット2は、基板8上に直接的に形成される。図4では、一方、薄膜4は、記憶媒体の背面上の支持領域10によって覆われる。後者の場合には、感応領域は、例えば、カンチレバー11を形成する基板8上への各マイクロドットの可撓性支持素子を固定することを必要とする半剛体である。媒体を構成する記憶層9とその読み出し回路の間の最小限のスペーサを保証するためには、基板8上にスペーシングパッド12を形成することが望ましい。
薄膜4及び6は、任意の適切な方法によって1つの部分に同時に形成されても良い。従って、記憶媒体の背面を構成するシリコンウェハ上のスピンコーティングによって、遠心力によって広がるプラスチック材料を堆積することができる。用いられるプラスチック材料は、好ましくは、ポリマー、とりわけ、CYCLOTENETMのようなベンゾシクロブテン(BCB)樹脂である。
薄膜4及び6を形成するプラスチック材料、場合によっては記憶層9の堆積の後に、外部フレーム3及び内部フレーム5又は支持領域10が従来の方法(フォトリソグラフィ、ドライエッチング又はケミカルエッチング…)で得られる。例えば、フレーム3及び5は、シリコンウェハ内において、薄膜4及び6を形成する層を貫いて記憶媒体の背面から異方性ケミカルエッチングすることによって得られる。これらのステップ(薄膜の生成、記憶層の生成及びフレームの生成)の順番は、用いられる材料に関するプロセス制約に依存して必要に応じて反転されても良い。
プラスチック材料の層上に形成される記憶層9は、任意の型式、とりわけ、文献FR−A−2856184に記載される型式であっても良い。
図2〜4に示されるように、感応領域がマイクロドット2に圧迫されることを保証し且つ内部フレーム5又は支持領域10と連動して処理するアクチュエータ7(1つのアクチュエータ7は図2〜4に示される)の動作に起因するそれ自身の平面内の感応領域の可撓的移動を可能にするための移動の自由度を後者に与えるのと同時に、固定薄膜6は、このように可撓性薄膜4を含む記憶媒体の感応領域のための支持構造としての役割を果たす外薄膜の一種を構成する。周辺の固定薄膜6の寸法は、その剛性を確定する。その厚さは、好ましくは、約数μであり、その幅は約数mmである。
固定薄膜6は、その可撓性を増加させるように軽量化されても良い。特定の場合によっては、エッチングステップにおいて、穿孔した又は可撓性ストライプが形成され、例えば図5のように湾曲した固定薄膜6を得るようにこの薄膜の面を縮小する。固定薄膜6のエッチングは、任意の従来の方法、とりわけ、マスクを用いた局部的なプラズマエッチング又はステンシルによって行われても良い。
上記文献では、カンチレバーの有無によらず、平面基板の前面上にマイクロドット2が形成される。しかしながら、基板の前面の変形は、とりわけ、装置を組み立てる間又は熱的ドリフトに起因して発生する傾向がある。そのような基板の前面をくぼませ又は鞍状にする変形は、記憶媒体1の感応領域といくつかのマイクロドット2の間のコンタクトの欠如を導く可能性がある。
図2〜7に示されるように、この問題は、凸状の前面8aを有するマイクロドット2の支持基板8を用いることによって解決される。そのとき、全てのマイクロドット2の自由端は、実際には、記憶媒体1の感応領域に接触した状態になり、その可撓性は、少なくともマイクロドットの高さの変化の大部分を吸収するのに十分である。基板8の前面8aのキャンバーは、極めて小さいままであるが、装置を組み立てる間又は熱的ドリフトに起因して反対方向に発生する傾向がある変形を考慮するのに十分である。実際には、凸状の面の曲線半径は、1m〜5mの間に含まれても良い。好ましくは、約10nm〜100μmのキャンバーに対応して約2mである。
そのような基板8の前面のキャンバーは、とりわけ、マイクロドットの形成前の前面8aの化学的機械研磨(CMP)によって得られる。この場合には、図2〜4及び6に図示されるように、基板8の背面8bは、ほぼ平坦のままである。
前面8aのキャンバーは、基板8上の機械的応力を適用することによっても得られる。この機械的応力は、例えば、前面8a上に圧縮的に圧迫される薄い層(図示されていない)の堆積又は背面8b上に伸張的に圧迫される薄い層(図示されていない)の堆積によって達成される。いずれの場合にも、そのような機械的に圧縮的又は伸張的に圧迫される薄い層を適用することは、図7に示されるように、基板8の前面8a及び背面8bのほぼ平行な変形を引き起こす。特定の実施例では、薄い層は、圧迫されるシリコン窒化薄膜の層又はいかなる不利な効果もなく1GPaの応力を支持することができる数百nmの厚さを有する圧迫されるシリコンの層である。
圧迫される層は、とりわけ、イオンビームスパッタリング(IBS)堆積によって得られる。原型基板と呼ばれる別の基板によって予め圧迫され、任意の適切な移動技術、例えば、原型基板の接着及び薄型化によって上反りされる基板8に対して移動されても良い。基板8の厚さは、キャンバリングステップを促すように有利に選択されても良い。例えば、基板8は、例えば約100μmに低減される厚さを有しても良い。
記憶媒体の感応領域が十分な可撓性であるときには、マイクロドット2は、アドレッシング回路及び制御回路が集積されても良好なベース基板8上に、カンチレバーなしに直接形成されても良い。
上記に示されるように、薄膜4を含む記憶媒体1の感応領域の可撓性は、マイクロドット2と感応領域の間のコンタクトを確保し、マイクロドットの高さの変化のほとんどを吸収するために、凸状の面の基板と協同する。マイクロドット2を支持する前面8aが凸状である基板8と図1〜5に係る記憶媒体の組み合わせは、全てのマイクロドット間の組立力の良好な再分配を保証する。実際には、組み立てが行われるときには、その平面内の感応領域の移動の自由度を失わない間に、外部フレーム3は、基板8に安全に取り付けられても良い。外部基板3は、とりわけ、ボンディング、熱溶融又は壁の間の接着を達成するための任意の他の方法のような従来の方法によって、基板8に固定されても良い。そのとき、組立力は、記憶媒体、とりわけ、マイクロドット2のアレイ上に可撓性薄膜4を含むその感応領域を圧迫する。各マイクロドット2によって加えられる基本的な力は約0.1nN〜10nNであっても良い。曲線半径の関数が選択される。例えば、そのとき、組立力は、1mNより大きくても良い。
データ記録装置は、一般的には、記憶媒体1の感応領域及び感応領域のほぼ水平な面内のマイクロドット2の相対的な移動を可能にする手段(とりわけ、アクチュエータ7)を含む。マイクロドットを感応領域に接触させるためのマイクロドットの支持基板8に対してほぼ垂直(すなわち、縦横)方向への移動手段を含んでも良い。
例えば、図1に示された異なる素子の各寸法は以下の通りである。
−記憶媒体1の寸法c1は約15mm
−薄膜4の寸法c2は約9.5mm
−内部フレーム5の幅l1は約0.25mm
−外部フレーム3の幅l2は約0.5mm
−固定薄膜6の幅l3は約2mm
本発明に係る装置の記憶媒体の詳細な実施例を図示する上面図である。 本発明に係る装置を関連付けられたアクチュエータと共に図示するA−Aに沿った断面図である。 図2に係る装置の代替的な実施例を図示する断面図である。 図2に係る装置の代替的な実施例を図示する断面図である。 図1に係る記憶媒体の代替的な実施例を図示する上面図である。 本発明に係る凸状の面上にマイクロドットが形成されるデータ記録装置の代替的な実施例を図示する断面図である。 本発明に係る凸状の面上にマイクロドットが形成されるデータ記録装置の代替的な実施例を図示する断面図である。

Claims (11)

  1. 基板(8)と、
    前記基板(8)上に配置されるナノメータ規模のマイクロドット(2)の2次元アレイと、
    前記マイクロドット(2)に面する記憶層(9)と、
    前記記憶層(9)を覆う可撓性薄膜(4)と、
    前記可撓性薄膜(4)外部フレーム(3)上へ固定し、且つ、前記基板(8)に沿った面で前記可撓性薄膜(4)の移動を可能にする可撓性固定手段を備え、
    前記可撓性固定手段は、前記可撓性薄膜(4)の周辺に広がる固定薄膜(6)によって形成され、且つ、前記基板(8)に対して垂直に前記可撓性薄膜(4)の移動を可能にすること特徴とするデータ記録装置。
  2. 前記可撓性薄膜(4)及び前記固定薄膜(6)は、プラスチック材料から作られることを特徴とする請求項に記載の装置。
  3. 前記プラスチック材料は、ベンゾシクロブテンベース樹脂であることを特徴とする請求項に記載の装置。
  4. 前記マイクロドット(2)は、前記基板(8)の凸状の前面(8a)に直接形成されることを特徴とする請求項1乃至の何れか1項に記載の装置。
  5. 前記凸状の前面(8a)は、1m〜5mに含まれる曲線半径を有する請求項に記載の装置。
  6. 前記マイクロドット(2)をアドレッシングし、且つ、制御する電気的手段(5)、前記基板(8)に集積されることを特徴とする請求項4又は5に記載の装置。
  7. 前記可撓性薄膜(4)及び前記固定薄膜(6)は、同時に形成されることを特徴とする請求項1乃至の何れか1項に記載の装置の製造方法。
  8. 前記可撓性薄膜(4)及び前記固定薄膜(6)は、シリコンウェハ上のプラスチック材料のスピンコーティングによって形成されることを特徴とする請求項7に記載の方法。
  9. 前記固定薄膜(6)表面の一部を除去するエッチングステップを含むことを特徴とする請求項に記載の方法。
  10. 前記外部フレーム(3)と、前記固定薄膜(6)の輪郭を描く内部フレーム(5)と、を形成するシリコンウェハのエッチングステップを含むことを特徴とする請求項8又は9に記載の方法。
  11. 前記外部フレーム(3)と、前記可撓性薄膜(4)の支持領域(10)と、を形成するシリコンウェハのエッチングステップを含むことを特徴とする請求項8又は9に記載の方法。
JP2007550812A 2005-01-17 2005-12-22 周辺の支持薄膜を含むデータ記録装置及び当該装置の製造方法 Expired - Fee Related JP4898705B2 (ja)

Applications Claiming Priority (3)

Application Number Priority Date Filing Date Title
FR0500471A FR2880979B1 (fr) 2005-01-17 2005-01-17 Dispositif d'enregistrement de donnees comportant une membrane peripherique de support et procede de fabrication
FR0500471 2005-01-17
PCT/FR2005/003261 WO2006075066A1 (fr) 2005-01-17 2005-12-22 Dispositif d'enregistrement de donnees comportant une membrane peripherique de support et procede de fabrication

Publications (2)

Publication Number Publication Date
JP2008527606A JP2008527606A (ja) 2008-07-24
JP4898705B2 true JP4898705B2 (ja) 2012-03-21

Family

ID=34954845

Family Applications (1)

Application Number Title Priority Date Filing Date
JP2007550812A Expired - Fee Related JP4898705B2 (ja) 2005-01-17 2005-12-22 周辺の支持薄膜を含むデータ記録装置及び当該装置の製造方法

Country Status (5)

Country Link
US (1) US7898931B2 (ja)
EP (1) EP1839304A1 (ja)
JP (1) JP4898705B2 (ja)
FR (1) FR2880979B1 (ja)
WO (1) WO2006075066A1 (ja)

Families Citing this family (1)

* Cited by examiner, † Cited by third party
Publication number Priority date Publication date Assignee Title
US9221678B2 (en) * 2008-10-06 2015-12-29 University Of Florida Research Foundation, Inc. Active fixturing for micro/mesoscale, machine tool systems

Citations (2)

* Cited by examiner, † Cited by third party
Publication number Priority date Publication date Assignee Title
JPH1040597A (ja) * 1996-07-25 1998-02-13 Tdk Corp メモリー装置
JP2000152596A (ja) * 1998-10-30 2000-05-30 Internatl Business Mach Corp <Ibm> 少なくとも2つの自由度を有する磁気走査または位置決めシステム

Family Cites Families (10)

* Cited by examiner, † Cited by third party
Publication number Priority date Publication date Assignee Title
US5216631A (en) * 1990-11-02 1993-06-01 Sliwa Jr John W Microvibratory memory device
FR2757992B1 (fr) * 1996-12-26 1999-01-29 Commissariat Energie Atomique Support d'enregistrement d'informations, dispositif de lecture de ce support et procedes de mise en oeuvre de ce dispositif
EP1168334B1 (en) * 2000-06-26 2006-03-08 Samsung Electronics Co. Ltd. Electromagnetic X-Y stage driver for nano data storage system and method for fabricating coils of the same
JP2002092946A (ja) * 2000-09-20 2002-03-29 Toshiba Corp 光ディスク基板およびその製造方法
US6522566B2 (en) * 2000-12-01 2003-02-18 Hewlett-Packard Company System modules with atomic resolution storage memory
US7018572B2 (en) * 2001-06-11 2006-03-28 General Electric Company Method for producing data storage media
FR2845513B1 (fr) 2002-10-03 2006-08-11 Commissariat Energie Atomique Dispositif d'enregistrement de donnees comportant un support de memoire en forme de membrane
FR2856184B1 (fr) 2003-06-13 2008-04-11 Commissariat Energie Atomique Dispositif d'enregistrement de donnees comportant des micro-pointes et un support d'enregistrement
JP2005004921A (ja) * 2003-06-13 2005-01-06 Alps Electric Co Ltd 高精度位置決め装置
WO2005013270A1 (fr) 2003-07-03 2005-02-10 Commissariat A L'energie Atomique Procede d’enregistrement de donnees et dispositif de mise en oeuvre comportant un support de memoire deformable

Patent Citations (2)

* Cited by examiner, † Cited by third party
Publication number Priority date Publication date Assignee Title
JPH1040597A (ja) * 1996-07-25 1998-02-13 Tdk Corp メモリー装置
JP2000152596A (ja) * 1998-10-30 2000-05-30 Internatl Business Mach Corp <Ibm> 少なくとも2つの自由度を有する磁気走査または位置決めシステム

Also Published As

Publication number Publication date
JP2008527606A (ja) 2008-07-24
FR2880979B1 (fr) 2007-03-16
EP1839304A1 (fr) 2007-10-03
FR2880979A1 (fr) 2006-07-21
US20080095021A1 (en) 2008-04-24
WO2006075066A1 (fr) 2006-07-20
US7898931B2 (en) 2011-03-01

Similar Documents

Publication Publication Date Title
TW519702B (en) Planarization process for semiconductor substrates
US7570416B2 (en) Method and apparatus for a reflective spatial light modulator with a flexible pedestal
US7245358B2 (en) Substrate support system
JP2013538446A (ja) 湾曲圧電膜を有するデバイスの形成
EP0784847B1 (en) A memory device
JP2001060618A (ja) 基板吸着保持方法、基板吸着保持装置および該基板吸着保持装置を用いた露光装置ならびにデバイスの製造方法
US7101272B2 (en) Carrier head for thermal drift compensation
CN105934711A (zh) 用于改进的覆盖纠正的低接触式压印光刻术模板卡盘系统
JP3935976B2 (ja) 半導体層構造および大容量メモリ装置の記録媒体
CN101923215A (zh) 用于形成复合基底结构的方法
JP4898705B2 (ja) 周辺の支持薄膜を含むデータ記録装置及び当該装置の製造方法
US20130001719A1 (en) Interaction structure for a storage medium
KR101587780B1 (ko) 화학 기계적 연마 장치용 캐리어 헤드의 멤브레인
JP4494337B2 (ja) ダイヤフラム型支持体を有するデータ記録装置
JP2008527605A (ja) 凸状表面を成す自由端を有するマイクロドットを備えたデータ記録装置及び当該装置の製造方法
JP2007516544A (ja) データ記録方法及びこの方法を実施する、変形可能なメモリ支持体を有する装置
JP2006502523A5 (ja)
JP5044384B2 (ja) 光学素子および光学機能素子
JP4294399B2 (ja) 熱電変換デバイスの製造方法
JP2013049112A (ja) ポリシングパッド及びその製造方法
TW202318492A (zh) 使用多方向性致動膜調整晶圓形狀的方法
JP3699950B2 (ja) ウエハ研磨装置
Sreenivasan et al. Substrate support system

Legal Events

Date Code Title Description
A621 Written request for application examination

Free format text: JAPANESE INTERMEDIATE CODE: A621

Effective date: 20081201

A977 Report on retrieval

Free format text: JAPANESE INTERMEDIATE CODE: A971007

Effective date: 20101007

A131 Notification of reasons for refusal

Free format text: JAPANESE INTERMEDIATE CODE: A131

Effective date: 20101015

A521 Request for written amendment filed

Free format text: JAPANESE INTERMEDIATE CODE: A523

Effective date: 20110114

A131 Notification of reasons for refusal

Free format text: JAPANESE INTERMEDIATE CODE: A131

Effective date: 20110527

A521 Request for written amendment filed

Free format text: JAPANESE INTERMEDIATE CODE: A523

Effective date: 20110823

TRDD Decision of grant or rejection written
A01 Written decision to grant a patent or to grant a registration (utility model)

Free format text: JAPANESE INTERMEDIATE CODE: A01

Effective date: 20111129

A01 Written decision to grant a patent or to grant a registration (utility model)

Free format text: JAPANESE INTERMEDIATE CODE: A01

A61 First payment of annual fees (during grant procedure)

Free format text: JAPANESE INTERMEDIATE CODE: A61

Effective date: 20111226

R150 Certificate of patent or registration of utility model

Free format text: JAPANESE INTERMEDIATE CODE: R150

FPAY Renewal fee payment (event date is renewal date of database)

Free format text: PAYMENT UNTIL: 20150106

Year of fee payment: 3

LAPS Cancellation because of no payment of annual fees