JP4859986B2 - 地紋パターン画像生成装置、透かしデータ埋め込み装置及び透かしデータ検出装置 - Google Patents

地紋パターン画像生成装置、透かしデータ埋め込み装置及び透かしデータ検出装置 Download PDF

Info

Publication number
JP4859986B2
JP4859986B2 JP2009548906A JP2009548906A JP4859986B2 JP 4859986 B2 JP4859986 B2 JP 4859986B2 JP 2009548906 A JP2009548906 A JP 2009548906A JP 2009548906 A JP2009548906 A JP 2009548906A JP 4859986 B2 JP4859986 B2 JP 4859986B2
Authority
JP
Japan
Prior art keywords
pattern image
watermark data
encoded bit
forgery
copy
Prior art date
Legal status (The legal status is an assumption and is not a legal conclusion. Google has not performed a legal analysis and makes no representation as to the accuracy of the status listed.)
Expired - Fee Related
Application number
JP2009548906A
Other languages
English (en)
Other versions
JPWO2009087977A1 (ja
Inventor
豊和 菅井
麗 新名
浩 伊藤
光義 鈴木
Current Assignee (The listed assignees may be inaccurate. Google has not performed a legal analysis and makes no representation or warranty as to the accuracy of the list.)
Mitsubishi Electric Corp
Original Assignee
Mitsubishi Electric Corp
Priority date (The priority date is an assumption and is not a legal conclusion. Google has not performed a legal analysis and makes no representation as to the accuracy of the date listed.)
Filing date
Publication date
Application filed by Mitsubishi Electric Corp filed Critical Mitsubishi Electric Corp
Priority to JP2009548906A priority Critical patent/JP4859986B2/ja
Publication of JPWO2009087977A1 publication Critical patent/JPWO2009087977A1/ja
Application granted granted Critical
Publication of JP4859986B2 publication Critical patent/JP4859986B2/ja
Expired - Fee Related legal-status Critical Current
Anticipated expiration legal-status Critical

Links

Images

Classifications

    • GPHYSICS
    • G06COMPUTING OR CALCULATING; COUNTING
    • G06TIMAGE DATA PROCESSING OR GENERATION, IN GENERAL
    • G06T1/00General purpose image data processing
    • G06T1/0021Image watermarking
    • GPHYSICS
    • G06COMPUTING OR CALCULATING; COUNTING
    • G06TIMAGE DATA PROCESSING OR GENERATION, IN GENERAL
    • G06T2201/00General purpose image data processing
    • G06T2201/005Image watermarking
    • G06T2201/0051Embedding of the watermark in the spatial domain
    • GPHYSICS
    • G06COMPUTING OR CALCULATING; COUNTING
    • G06TIMAGE DATA PROCESSING OR GENERATION, IN GENERAL
    • G06T2201/00General purpose image data processing
    • G06T2201/005Image watermarking
    • G06T2201/0061Embedding of the watermark in each block of the image, e.g. segmented watermarking

Landscapes

  • Physics & Mathematics (AREA)
  • General Physics & Mathematics (AREA)
  • Engineering & Computer Science (AREA)
  • Theoretical Computer Science (AREA)
  • Image Processing (AREA)
  • Editing Of Facsimile Originals (AREA)

Description

この発明は、透かし画像データである地紋パターン画像を生成する地紋パターン画像生成装置と、地紋パターン画像を透かし埋め込み対象の画像に重畳する透かしデータ埋め込み装置と、透かしデータ埋め込み装置により地紋パターン画像が重畳されている画像から透かしデータを検出する透かしデータ検出装置とに関するものである。
例えば、以下の特許文献1に開示されている従来の透かしデータ埋め込み装置では、透かしデータのデータ長に応じてブロックの個数を設定し、その透かしデータをブロックの個数分に分割するようにしている。
そして、透かしデータ埋め込み装置では、分割後の各透かしデータを所定の規則にしたがって画像上の各ブロックに配置して、繰り返し埋め込むようにしている。
これにより、画像の部分切り取り等により、画像の一部が欠損しても、透かしデータの検出を正常に行うことができる。
ただし、従来の透かしデータ埋め込み装置では、透かしデータの全体容量に対して、繰り返し埋め込む回数が増えれば増えるほど、それに反比例して透かしとして埋め込めるデータ量が減少する。
即ち、透かしデータのデータ量として、繰り返し埋め込む回数分の1しか確保することができない。
このため、例えば、部分切り取りの面積が小さい場合に対応しようとして、繰り返し数を増やすほど、埋め込み効率が著しく悪くなる。
特許文献1の図9の例では、全60ブロックの埋め込み領域に対して、11ブロック分のデータが最低5回繰り返し埋め込まれているため、繰り返しを行わない場合(60ブロック分のデータが埋込可能)と比べて、埋め込み効率が5分の1以下に減少している。
また、単一のブロックに注目すると、埋め込み領域内での配置が均一ではなく、繰り返し数に見合う部分切り取りの耐性が保証されていない。
特許文献1の図9の例では、埋め込み領域の右上部における横3ブロック×縦5ブロックが切り出される場合、切り出し領域内には0ブロック目の情報が一切含まれていない。
これは、15ブロック分切り出しても復元できない情報が存在することを示している。
即ち、各ブロックが5回以上繰り返し埋め込まれているにもかかわらず、全埋め込み領域に対して、縦1/2、横1/2の任意の領域を切り出した場合の検出能力が保証されていないことになり、繰り返し回数に対して部分切り取り耐性が低いことを示している(縦1/2、横1/2の切り取り耐性は4回繰り返しで実現できることが望ましい)。
さらに、従来の透かしデータ埋め込み装置では、確実に検出される必要がある重要度の高いデータと、部分切り取りの大きさ如何では、検出に失敗してもやむを得ない重要度の低いデータとを同時に埋め込もうとする場合でも、各ブロックに対する繰り返し数がほぼ均等になるため、ブロック間で部分切り取り耐性に格差を設けることができない。
このため、重要度の高いデータと重要度の低いデータとを区別して埋め込むことができない。
特開2007−049440号公報(段落番号[0059]から[0086]、図8,9)
従来の透かしデータ埋め込み装置は以上のように構成されているので、画像の部分切り取り等により、画像の一部が欠損しても、透かしデータの検出を正常に行うことができる。しかし、透かしデータのデータ量として、繰り返し埋め込む回数分の1しか確保することができず、埋め込み効率が著しく悪くなることがある課題があった。
また、繰り返し数に見合う部分切り取りの耐性が保証されておらず、部分切り取り耐性が低い課題があった。
さらに、重要度の高いデータと重要度の低いデータとを区別して埋め込むことができないなどの課題があった。
この発明は上記のような課題を解決するためになされたもので、透かし画像データである地紋パターン画像を生成する地紋パターン画像生成装置と、地紋パターン画像を透かし埋め込み対象の画像に重畳する透かしデータ埋め込み装置と、透かしデータ埋め込み装置により地紋パターン画像が重畳されている画像から透かしデータを検出する透かしデータ検出装置を得ることを目的とする。
この発明に係る地紋パターン画像生成装置は、ビット列で表現されている第1透かしデータを符号化して符号化ビット列を生成する複数の第1符号化部と、前記第1符号化部により生成された符号化ビット列を構成する各ビットの値に対応するブロックパターンを順番に配置して複数の部分地紋パターン画像を生成する複数の第1分割地紋パターン画像生成部と、前記複数の第1分割地紋パターン画像生成部により生成された第1分割地紋パターン画像を連結して第1部分地紋パターン画像を生成する第1地紋パターン画像連結部と、
ビット列で表現されている第2透かしデータを符号化して符号化ビット列を生成する複数の第2符号化部と、前記第2符号化部により生成された符号化ビット列を構成する各ビットの値に対応するブロックパターンを順番に配置して複数の部分地紋パターン画像を生成する複数の第2分割地紋パターン画像生成部と、前記複数の第2分割地紋パターン画像生成部により生成された第2分割地紋パターン画像を連結して第2部分地紋パターン画像を生成する第2地紋パターン画像連結部と
前記第1地紋パターン画像連結部と前記第2地紋パターン画像連結部により生成された部分地紋パターン画像を合成して、透かし画像データである地紋パターン画像を生成する地紋パターン画像合成部とを備えたものである。
この発明に係る透かしデータ埋め込み装置は、請求項1または請求項2記載の地紋パターン画像生成装置と、前記地紋パターン画像生成装置の地紋パターン画像合成部により生成された地紋パターン画像を透かし埋め込み対象の画像に重畳する画像重畳手段とを備えたものである。
この発明に係る透かしデータ検出装置は、請求項1記載の透かしデータ埋め込み装置により地紋パターン画像が重畳されている画像から第1、第2地紋パターン画像を抽出する地紋パターン画像分離部と、前記第1、第2地紋パターン画像をそれぞれ複数の部分地紋パターン画像に分割する第1、第2地紋パターン画像分割部と、
前記第1地紋パターン画像分割部により分割された分割地紋パターン画像を構成する各ブロックパターンに対応するビット値を順番に配置して符号化ビット列を生成する複数の第1符号化ビット列変換部と、前記複数の第1符号化ビット列変換部により生成された符号化ビット列から透かしデータを抽出する第1透かしデータ抽出部と、
前記第2地紋パターン画像分割部により分割された分割地紋パターン画像を構成する各ブロックパターンに対応するビット値を順番に配置して符号化ビット列を生成する複数の第2符号化ビット列変換部と、前記複数の第2符号化ビット列変換部により生成された符号化ビット列から透かしデータを抽出する第2透かしデータ抽出部とを備えたものである。
この発明の地紋パターン画像生成装置によれば、繰り返し埋め込み数に見合う部分切り取り耐性を保証することができる効果がある。
この発明の透かしデータ埋め込み装置によれば、透かしデータの埋め込み効率を高めることができるとともに、重要度の高いデータと重要度の低いデータとを区別して埋め込むことができる効果がある。
この発明の透かしデータ検出装置によれば、紙面のある一部分のみが切り取られた文書の場合でも、分割地紋パターン画像と同じ面積が確保されていれば、それに対応する透かしデータの復元が可能になる。また、分割の仕方の異なる複数の透かしデータを重畳して地紋パターンに含めることができるため、紙面の切り取り面積に応じた段階的な検出が可能となるという効果がある。
この発明の実施の形態1による透かしデータ埋め込み装置を示す構成図である。 この発明の実施の形態1による透かしデータ埋め込み装置の処理内容を示す説明図である。 符号化ビット列から分割地紋パターン画像を生成する方法の一例を示す説明図である。 部分地紋パターン画像を合成して地紋パターン画像を生成する方法の一例を示す説明図である。 地紋パターン画像を透かし埋め込み対象の画像に重畳させる様子を示す説明図である。 この発明の実施の形態1による他の透かしデータ埋め込み装置を示す構成図である。 この発明の実施の形態1による他の透かしデータ埋め込み装置を示す構成図である。 この発明の実施の形態1による透かしデータ埋め込み装置における透かしデータ量の増大効果を示す説明図である。 この発明の実施の形態2による透かしデータ検出装置を示す構成図である。 この発明の実施の形態2による透かしデータ検出装置の処理内容を示す説明図である。 分割地紋パターン画像から符号化ビット列を生成する方法の一例を示す説明図である。 符号化ビット列の誤り訂正後データの平均化により透かしデータを生成する処理を示す説明図である。 符号化ビット列の平均化を行ったビット列を誤り訂正して透かしデータを生成する処理を示す説明図である。 この発明の実施の形態2による他の透かしデータ検出装置を示す構成図である。 この発明の実施の形態2による他の透かしデータ検出装置を示す構成図である。 この発明の実施の形態3による透かしデータ検出装置を示す構成図である。 分割地紋パターン画像から符号化ビット列を生成する方法の一例を示す説明図である。 分割地紋パターン画像から符号化ビット列を生成する方法の一例を示す説明図である。 傾斜配分による平均化を実施して、透かしデータを生成する際の処理を示す説明図である。 符号化ビット列A2の誤り訂正に失敗しているケースを示す説明図である。 誤り訂正に失敗した符号化ビット列については重みを弱くした上で、傾斜配分による平均化を実施している例を示す説明図である。 この発明の実施の形態7による透かしデータ検出装置の処理内容を示す説明図である。
以下、この発明をより詳細に説明するために、この発明を実施するための最良の形態について、添付の図面に従って説明する。
実施の形態1.
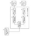
図1はこの発明の実施の形態1による透かしデータ埋め込み装置を示す構成図であり、図において、地紋パターン画像生成装置1は複数の透かしデータA,Bを入力して、透かし画像データである地紋パターン画像G(図2を参照)を生成する装置である。
透かしデータメモリ11はビット列で表現されている透かしデータAを格納しているメモリである。
透かしデータメモリ12はビット列で表現されている透かしデータBを格納しているメモリである。
符号化処理部13は4個の符号化部13a,13b,13c,13dから構成されており(図1では、簡略化のため、符号化部13b,13cの記載が省略されている)、符号化部13a,13b,13c,13dは透かしデータメモリ11に格納されている透かしデータAを符号化して符号化ビット列を生成する処理を実施する。
符号化処理部14は16個の符号化部14a,14b,14c,14d,14e,14f,14g,14h,14i,14j,14k,14l,14m,14n,14o,14pから構成されており(図1では、簡略化のため、符号化部14b〜14oの記載が省略されている)、符号化部14a〜14pは透かしデータメモリ12に格納されている透かしデータBを符号化して符号化ビット列を生成する処理を実施する。
なお、符号化処理部13,14は符号化手段を構成している。
分割地紋パターン画像生成処理部15は4個の分割地紋パターン画像生成部15a,15b,15c,15dから構成されており(図1では、簡略化のため、分割地紋パターン画像生成部15b,15cの記載が省略されている)、分割地紋パターン画像生成部15a,15b,15c,15dは符号化部13a,13b,13c,13dにより生成された符号化ビット列を構成する各ビットの値に対応するブロックパターンを順番に配置して分割地紋パターン画像を生成する処理を実施する。
分割地紋パターン画像生成処理部16は16個の分割地紋パターン画像生成部16a,16b,16c,16d,16e,16f,16g,16h,16i,16j,16k,16l,16m,16n,16o,16pから構成されており(図1では、簡略化のため、分割地紋パターン画像生成部16b〜16oの記載が省略されている)、分割地紋パターン画像生成部16a〜16pは符号化部14a〜14pにより生成された符号化ビット列を構成する各ビットの値に対応するブロックパターンを順番に配置して分割地紋パターン画像を生成する処理を実施する。
地紋パターン画像連結部17は分割地紋パターン画像生成部15a〜15dにより生成された分割地紋パターン画像を連結して、部分地紋パターン画像を生成する処理を実施する。
地紋パターン画像連結部18は分割地紋パターン画像生成部16a〜16pにより生成された分割地紋パターン画像を連結して、部分地紋パターン画像を生成する処理を実施する。
なお、符号化部13,14は第1、第2符号化部を、分割地紋パターン画像生成部15,16は第1、第2分割地紋パターン画像生成部を、地紋パターン画像連結部17,18は第1、第2地紋パターン画像連結部を構成している。そして、分割地紋パターン画像生成処理部15,16及び地紋パターン画像連結部17,18から部分地紋パターン画像生成手段が構成されている。
地紋パターン画像合成部19は地紋パターン画像連結部17,18により生成された部分地紋パターン画像を合成して、透かし画像データである地紋パターン画像を生成する処理を実施する。地紋パターン画像合成部19は地紋パターン画像合成手段を構成している。
なお、分割地紋パターン画像生成処理部15,16、地紋パターン画像連結部17,18及び地紋パターン画像合成部19から地紋パターン画像生成手段が構成されている。
地紋パターン画像メモリ20は地紋パターン画像合成部19により生成された地紋パターン画像を格納するメモリである。
画像重畳部21は地紋パターン画像メモリ20に格納されている地紋パターン画像を、埋め込み対象画像メモリ25に格納されている透かし埋め込み対象の画像に重畳する処理を実施する。なお、画像重畳部21は画像重畳手段を構成している。
埋め込み対象画像メモリ25は透かし埋め込み対象の画像を格納しているメモリである。
図2はこの発明の実施の形態1による透かしデータ埋め込み装置の処理内容を示す説明図である。
また、図3は符号化ビット列から分割地紋パターン画像を生成する方法の一例を示す説明図である。
また、図4は部分地紋パターン画像を合成して地紋パターン画像を生成する方法の一例を示す説明図である。
さらに、図5は地紋パターン画像を透かし埋め込み対象の画像に重畳させる様子を示す説明図である。
次に動作について説明する。
符号化処理部13の符号化部13a〜13dは、図2に示すように、透かしデータメモリ11からビット列で表現されている透かしデータAを読み込み、その透かしデータAを符号化して符号化ビット列A1,A2,A3,A4を生成する。
また、符号化処理部14の符号化部14a〜14pは、図2に示すように、透かしデータメモリ12からビット列で表現されている透かしデータBを読み込み、その透かしデータBを符号化して符号化ビット列B1,B2,・・・,B16を生成する。
なお、符号化部13a〜13d,14a〜14pにより生成される符号化ビット列は、例えば、BCH符号,Reed−Solomon符号等の冗長符号化処理、あるいは、DES,AES等を用いた暗号化処理により生成される符号化ビット列であり、対応する復号処理を行うことにより、元の透かしデータA,Bが復元可能な符号化ビット列であるものとする。
分割地紋パターン画像生成処理部15の分割地紋パターン画像生成部15a〜15dは、符号化部13a〜13dが符号化ビット列A1,A2,A3,A4を生成すると、その符号化ビット列A1,A2,A3,A4を構成する各ビットの値に対応するブロックパターンを順番に配置して分割地紋パターン画像C1,C2,C3,C4を生成する。
また、分割地紋パターン画像生成処理部16の分割地紋パターン画像生成部16a〜16pは、符号化部14a〜14pが符号化ビット列B1,B2,・・・,B16を生成すると、その符号化ビット列B1,B2,・・・,B16を構成する各ビットの値に対応するブロックパターンを順番に配置して分割地紋パターン画像D1,D2,・・・,D16を生成する。
分割地紋パターン画像生成部15a〜15d,16a〜16pにおける分割地紋パターン画像の生成方法としては、例えば、図3に示すようなものがある。
まず、符号化ビット列を構成する各ビットの値に対応するブロックパターンとして、ビット0に対応するブロックパターン0(18×18ピクセルで構成されるブロックパターン)と、ビット1に対応するブロックパターン1(18×18ピクセルで構成されるブロックパターン)とを設定する。
次に、符号化ビット列の各ビットの0/1値に対して、対応するブロックパターンを左上から順番に並べていき、ブロックパターンの集合体としての画像を形成する。この画像を分割地紋パターン画像とする。
地紋パターン画像連結部17は、分割地紋パターン画像生成部15a〜15dが分割地紋パターン画像C1,C2,C3,C4を生成すると、その分割地紋パターン画像C1,C2,C3,C4を連結して、部分地紋パターン画像Eを生成する。
例えば、図2に示すように、分割地紋パターン画像C1,C2,C3,C4を順番に縦横に並べて配置することにより連結する。
また、地紋パターン画像連結部18は、分割地紋パターン画像生成部16a〜16pが分割地紋パターン画像D1,D2,・・・,D16を生成すると、その分割地紋パターン画像D1,D2,・・・,D16を連結して、部分地紋パターン画像Fを生成する。
例えば、図2に示すように、分割地紋パターン画像D1,D2,・・・,D16を順番に縦横に並べて配置することにより連結する。
地紋パターン画像合成部19は、地紋パターン画像連結部17,18が部分地紋パターン画像E,Fを生成すると、その部分地紋パターン画像E,Fを合成して、透かし画像データである地紋パターン画像Gを生成し、その地紋パターン画像Gを地紋パターン画像メモリ20に格納する。
具体的には、次のようにして、地紋パターン画像Gを生成する。
まず、地紋パターン画像合成部19は、図4に示すように、部分地紋パターン画像E,Fを等ピクセル間隔で縦横にブロック分割する。
次に、地紋パターン画像合成部19は、部分地紋パターン画像Eにおける分割領域画像と部分地紋パターン画像Fにおける分割領域画像を交互に取得して、その分割領域画像を配置する。
即ち、地紋パターン画像合成部19は、画像の左上を基準として、部分地紋パターン画像Eにおける(横1番目、縦1番目)の分割領域画像を取得し、その分割領域画像を地紋パターン画像Gの(横1番目、縦1番目)の領域に配置する。
次に、部分地紋パターン画像Fにおける(横1番目、縦1番目)の分割領域画像を取得して、その分割領域画像を地紋パターン画像Gの(横2番目、縦1番目)の領域に配置する。
次に、部分地紋パターン画像Eにおける(横2番目、縦1番目)の分割領域画像を取得して、その分割領域画像を地紋パターン画像Gの(横3番目、縦1番目)の領域に配置する。
次に、部分地紋パターン画像Fにおける(横2番目、縦1番目)の分割領域画像を取得して、その分割領域画像を地紋パターン画像Gの(横4番目、縦1番目)の領域に配置する。
以降、部分地紋パターン画像Eと部分地紋パターン画像Fから分割領域画像を交互に取得して、取得した分割領域画像を順番に配置することにより、地紋パターン画像Gを生成する。
これにより、生成される地紋パターン画像Gは、部分地紋パターン画像Eと部分地紋パターン画像Fが約半々の割合で混合させた画像になる。
図4の例では、地紋パターン画像Gのサイズが、縦横とも、部分地紋パターン画像E,Fの2倍のサイズとなる。
なお、地紋パターン画像の生成方法は、これに限るものではないが、最終的に地紋パターン画像から各々の部分地紋パターン画像が分離可能な方法である必要がある。
画像重畳部21は、地紋パターン画像合成部19が地紋パターン画像Gを地紋パターン画像メモリ20に格納すると、地紋パターン画像メモリ20から地紋パターン画像Gを取得するとともに、埋め込み対象画像メモリ25から透かし埋め込み対象の画像を取得し、図5に示すように、その地紋パターン画像Gを透かし埋め込み対象の画像に重畳して、透かし埋め込み画像Hを生成する。
なお、透かし埋め込み対象の画像は、例えば、印刷文書のイメージデータ等に代表される画像データが該当する。
これにより、印刷される画像データの背景に対して、背景地紋の形で、透かしデータを埋め込むことができる。
以上で明らかなように、この実施の形態1によれば、符号化部13a〜13d,14a〜14pにより生成された符号化ビット列を構成する各ビットの値に対応するブロックパターンを順番に配置して部分地紋パターン画像E,Fを生成して、その部分地紋パターン画像E,Fを合成して透かし画像データである地紋パターン画像Gを生成し、その地紋パターン画像Gを透かし埋め込み対象の画像に重畳するように構成したので、透かしデータの埋め込み効率を高めることができるとともに、繰り返し数に見合う部分切り取り耐性を保証することができる効果を奏する。また、重要度の高いデータと重要度の低いデータとを区別して埋め込むことができる効果を奏する。
即ち、符号化部13a〜13d,14a〜14pにより生成された符号化ビット列から生成された分割地紋パターン画像C1〜C4,D1〜D16を連結して部分地紋画像パターン画像E,Fを生成し、さらに、その部分地紋パターン画像E,Fを合成して、地紋パターン画像Gを生成するように構成したので、例えば、紙面のある一部分のみが切り取られた文書の場合でも、分割地紋パターン画像と同じ面積を確保することができていれば、それに対応する透かしデータの復元が可能になるため、文書の部分切り取りに強い透かし埋め込み方式となる。
また、複数の部分地紋パターン画像E,Fを合成して、地紋パターン画像Gを生成するので、例えば、図2に示すように、分割の仕方が異なる複数の透かしデータA,Bを重畳して地紋パターンに含めることができるようになる。このため、紙面の切り取り面積に応じて段階的に検出することが可能な透かしデータ構成にすることができる。
図2の例では、4分の1面積の切り取りであれば、透かしデータA,Bの両方の復元が可能であり、16分の1面積の切り取りであれば、最低限、透かしデータBの復元が可能である。
透かしデータを復元可能とする部分切り取り面積の小ささは、部分地紋パターン画像の枚数の多さに比例する。また、一つの部分地紋パターン画像における分割地紋パターン画像の枚数と、埋め込みが可能となる透かしデータのビット数とがトレードオフの関係にある。このため、対応する部分切り取り面積を小さくすればするほど、埋め込める透かしデータのビット数が少なくなる。
しかし、この実施の形態1のようにすれば、部分切り取りの面積に応じた段階的な検出が可能となる。図2の例では、「切り取りの面積が小さくなると、検出ができなくなるが、データビット数を大きく取れる透かしデータA」と、「切り取りの面積が小さくても検出することができるが、データビット数を小さくしか確保できない透かしデータB」が共存できることになる。
このようにすると、従来の方法のように、埋め込みデータのビット数が単純にデータの繰り返し数に反比例するのではなく、さらに、埋め込み容量を増やすことができる。
ここで、図8はこの発明の実施の形態1による透かしデータ埋め込み装置における透かしデータ量の増大効果を示す説明図である。
図において、51は単純な繰り返し方法で、同一のデータを16回繰り返し埋め込んでいるものを示している。
52は複数の部分地紋パターンを用いた実施の形態1の方法で繰り返し埋め込んでいるものを示している。
521は16回繰り返し埋め込んだ部分地紋パターンに対応する透かしデータを示し、522は4回繰り返し埋め込んだ部分地紋パターンに対応する透かしデータを示し、523は繰り返しなしで埋め込んだ部分地紋パターンに対応する透かしデータを示している。
透かしデータ521は、透かしデータ51と同じ16回の繰り返し埋め込みであるが、他に522,523のデータも埋め込む必要があるため、繰り返し分1回当りの透かしデータ量が少なくなる。
例えば、透かしデータ521は、透かしデータ51と比べて、3分の2の透かしデータ量であるとする。しかし、522において、別の透かしデータとして、繰り返し1回分当り、透かしデータ51と比べて、3分の2の透かしデータ量を持つデータが埋め込まれ、さらに、523において、透かしデータ51と比べて、3分の2の透かしデータ量を持つデータが繰り返しなしで埋め込まれるため、結局、トータルでの透かし埋め込み量は、透かしデータ51と比べて、(2/3+2/3+2/3)=2倍となる。
よって、従来の埋め込み方法と比べて、透かし埋め込み量が増大しており、埋め込み効率が向上していることが分かる。
ただし、51及び521に対応する透かしデータは、1/16面積の切り取り紙面からの復元が可能であるのに対し、522に対応する透かしデータは、1/4面積の切り取り紙面からの復元が可能であるのに止まり、523に至っては、紙面の切り取りには対応せず、紙面全面が残っている場合に限り検出できる透かしデータとなっている。
また、透かしデータA,Bは、部分地紋パターン画像の内部にそれぞれ4回、16回の繰り返しで埋め込まれていることになるが、透かしデータAは、任意の縦1/2、横1/2領域の切り取りがなされた領域からでも検出が可能となっている。透かしデータBは、任意の縦1/4、横1/4領域の切り取りがなされた領域からでも検出が可能となっている。
つまり、透かしデータA,Bにおいて、繰り返し回数に見合うだけの部分切り取り耐性が保証されているといえる。
さらに、透かしデータAは重要度の低いデータ、透かしデータBは重要度の高いデータとすることにより、透かしデータAは縦1/2、横1/2領域の部分切り取り耐性、透かしデータBは縦1/4、横1/4領域の部分切り取り耐性が確保されており、複数の透かしデータの重要度によって異なる部分切り取り耐性を確保できる埋め込み方式となっている。
この実施の形態1では、一つの透かしデータAに対して、複数の符号化部13a〜13dを用意して、複数の符号化ビット列A1〜A4を生成(一つの透かしデータBに対して、複数の符号化部14a〜14pを用意して、複数の符号化ビット列B1〜B16を生成)するものについて示したが、一つの透かしデータAに対して、1つの符号化部を用意して、1つの符号化ビット列を生成(一つの透かしデータBに対して、1つの符号化部を用意して、1つの符号化ビット列を生成)するようにしてもよい。
この場合、一つの符号化ビット列を複数の分割地紋パターン生成部に渡して、複数の異なる分割地紋パターン画像を生成するようにしてもよいし、また、一つの符号化ビット列を一つの分割地紋パターン生成部に渡して、一つの分割地紋パターン画像のみを生成するようにしてもよい。
さらに、一つの分割地紋パターン画像のみを生成する場合、同じ分割地紋パターンを複数連結して一つの部分地紋パターンを生成してもよいし、一つの分割地紋パターン画像をそのまま部分地紋パターン画像として利用するようにしてもよい。
また、この実施の形態1では、分割地紋パターン画像生成処理部15,16が複数の分割地紋パターン画像を生成して、地紋パターン画像連結部17,18が複数の分割地紋パターン画像を連結して部分地紋パターン画像を生成するものについて示したが、図6に示すように、分割地紋パターン画像生成処理部15及び地紋パターン画像連結部17の処理機能を有する部分地紋パターン画像生成部22と、分割地紋パターン画像生成処理部16及び地紋パターン画像連結部18の処理機能を有する部分地紋パターン画像生成部23とで構成して、部分地紋パターン画像生成部22,23が複数の符号化ビット列から部分地紋パターン画像を生成するようにしてもよい。
また、図7に示すように、図6の部分地紋パターン画像生成部22,23及び地紋パターン画像合成部19の処理機能を有する地紋パターン画像生成部24で構成して、地紋パターン画像生成部24が複数の符号化ビット列から地紋パターン画像を生成するようにしてもよい。
実施の形態2.
図9はこの発明の実施の形態2による透かしデータ検出装置を示す構成図であり、図において、透かし埋め込み画像メモリ31は図1の透かしデータ埋め込み装置により地紋パターン画像Gが重畳されている透かし埋め込み画像Hを格納しているメモリである。
地紋パターン画像分離部32は透かし埋め込み画像メモリ31から透かし埋め込み画像Hを取得し、その透かし埋め込み画像Hから地紋パターン画像Gを抽出し、その地紋パターン画像Gを複数の部分地紋パターン画像E,Fに分離する処理を実施する。なお、地紋パターン画像分離部32は地紋パターン画像分離手段を構成している。
地紋パターン画像分割部33は地紋パターン画像分離部32により分離された部分地紋パターン画像Eを複数の分割地紋パターン画像C1,C2,C3,C4に分割する処理を実施する。
地紋パターン画像分割部34は地紋パターン画像分離部32により分離された部分地紋パターン画像Fを複数の分割地紋パターン画像D1,D2,・・・,D16に分割する処理を実施する。
符号化ビット列変換処理部35は4個の符号化ビット列変換部35a,35b,35c,35dから構成されており(図9では、簡略化のため、符号化ビット列変換部35b,35cの記載が省略されている)、符号化ビット列変換部35a,35b,35c,35dは地紋パターン画像分割部33により分割された分割地紋パターン画像C1,C2,C3,C4を構成する各ブロックパターンに対応するビット値を順番に配置して符号化ビット列A1,A2,A3,A4を生成する処理を実施する。
符号化ビット列変換処理部36は16個の符号化ビット列変換部36a,36b,36c,36d,36e,36f,36g,36h,36i,36j,36k,36l,36m,36n,36o,36pから構成されており(図9では、簡略化のため、符号化ビット列変換部36b〜36oの記載が省略されている)、符号化ビット列変換部36a〜36pは地紋パターン画像分割部34により分割された分割地紋パターン画像D1,D2,・・・,D16を構成する各ブロックパターンに対応するビット値を順番に配置して符号化ビット列B1,B2,・・・,B16を生成する処理を実施する。
なお、地紋パターン画像分割部33,34及び符号化ビット列変換部35a〜35d,36a〜36pから符号化ビット列生成手段が構成されている。
透かしデータ抽出部37は符号化ビット列変換部35a〜35dにより生成された符号化ビット列A1,A2,A3,A4から透かしデータAを抽出する処理を実施する。
透かしデータ抽出部38は符号化ビット列変換部36a〜36pにより生成された符号化ビット列B1,B2,・・・,B16から透かしデータBを抽出する処理を実施する。
なお、透かしデータ抽出部37,38は透かしデータ抽出手段を構成している。
透かしデータメモリ39は透かしデータ抽出部37により抽出された透かしデータAを格納するメモリである。
透かしデータメモリ40は透かしデータ抽出部38により抽出された透かしデータBを格納するメモリである。
なお、地紋パターン画像分離部33,34は第1、第2地紋パターン画像分離部を、符号化ビット列変換部は第1、第2符号化ビット列変換部を、透かしデータ抽出部37,38は第1、第2透かしデータ抽出部を構成している。
図10はこの発明の実施の形態2による透かしデータ検出装置の処理内容を示す説明図である。
また、図11は分割地紋パターン画像から符号化ビット列を生成する方法の一例を示す説明図である。
また、図12は符号化ビット列の誤り訂正後データの平均化により透かしデータを生成する処理を示す説明図である。
さらに、図13は符号化ビット列の平均化を行ったビット列を誤り訂正して透かしデータを生成する処理を示す説明図である。
次に動作について説明する。
透かし埋め込み画像メモリ31には、図1の透かしデータ埋め込み装置により地紋パターン画像Gが重畳されている透かし埋め込み画像Hが格納されているものとする。
透かし埋め込み画像Hは、図1の透かしデータ埋め込み装置により生成された画像データであればよいが、次のような画像データでもよい。
例えば、図1の透かしデータ埋め込み装置が、プリンタ等を用いて、当該画像データにしたがって透かし埋め込み画像Hを紙面に印刷したのち、スキャナ等の画像読み取り機器が、紙面に印刷されている透かし埋め込み画像Hを読み取り、その画像読み取り機器の読み取り結果である電子的な画像データであってもよい。
地紋パターン画像分離部32は、透かし埋め込み画像メモリ31から透かし埋め込み画像Hを取得し、その透かし埋め込み画像Hから地紋パターン画像Gを抽出し、その地紋パターン画像Gを複数の部分地紋パターン画像E,Fに分離する。
地紋パターン画像Gの抽出処理は、図1の画像重畳部21における画像重畳処理と逆の処理を行うものであり、部分地紋パターン画像E,Fの分離処理は、図1の地紋パターン画像合成部19における合成処理と逆の処理を行うものである。
ここでは、地紋パターン画像分離部32が透かし埋め込み画像Hから地紋パターン画像Gを抽出し、その地紋パターン画像Gを複数の部分地紋パターン画像E,Fに分離するものについて示したが、透かし埋め込み画像Hから直接部分地紋パターン画像E,Fを抽出するようにしてもよい。
なお、透かし埋め込み画像メモリ31に格納されている透かし埋め込み画像Hが、例えば、スキャナ等の画像読み取り機器から出力された画像データである場合、その画像データには、スキャンによるノイズの要素や、地紋パターン画像以外の画像データの要素が重畳されていることがある。このため、それらの要素が地紋パターン画像に干渉することによって、地紋パターン画像分離部32により抽出された地紋パターン画像Gが、図1の透かしデータ埋め込み装置により生成された地紋パターン画像Gと必ずしも一致しないことがある。
地紋パターン画像分割部33は、地紋パターン画像分離部32が地紋パターン画像Gから部分地紋パターン画像Eを分離すると、図10に示すように、画像の座標領域を基準にして、その部分地紋パターン画像Eを4分割することにより、複数の分割地紋パターン画像C1,C2,C3,C4を生成する。
また、地紋パターン画像分割部34は、地紋パターン画像分離部32が地紋パターン画像Gから部分地紋パターン画像Fを分離すると、図10に示すように、画像の座標領域を基準にして、その部分地紋パターン画像Fを16分割することにより、複数の分割地紋パターン画像D1,D2,・・・,D16を生成する。
符号化ビット列変換処理部35の符号化ビット列変換部35a〜35dは、地紋パターン画像分割部33が分割地紋パターン画像C1,C2,C3,C4を生成すると、その分割地紋パターン画像C1,C2,C3,C4を構成する各ブロックパターンに対応するビット値を順番に配置して符号化ビット列A1,A2,A3,A4を生成する。
また、符号化ビット列変換処理部36の符号化ビット列変換部36a〜36pは、地紋パターン画像分割部34が分割地紋パターン画像D1,D2,・・・,D16を生成すると、その分割地紋パターン画像D1,D2,・・・,D16を構成する各ブロックパターンに対応するビット値を順番に配置して符号化ビット列B1,B2,・・・,B16を生成する。
符号化ビット列変換部35a〜35d,36a〜36pにおける符号化ビット列の生成方法としては、例えば、図11に示すようなものがある。
まず、分割地紋パターン画像を構成する画素のビット値に対応するブロックパターンとして、ビット0に対応するブロックパターン0(18×18ピクセルで構成されるブロックパターン)と、ビット1に対応するブロックパターン1(18×18ピクセルで構成されるブロックパターン)とを設定する。
次に、分割地紋パターン画像の左上から順番にブロックパターンを抽出して、その抽出ブロックパターンとブロックパターン0の画像相関を計算するとともに、その抽出ブロックパターンとブロックパターン1の画像相関を計算する。
そして、抽出ブロックパターンとブロックパターン0の画像相関結果と、抽出ブロックパターンとブロックパターン1の画像相関結果とを比較して、画像相関が大きい方のブロックパターンに対応するビット値を抽出する。
図11の例では、部分地紋パターン画像Gにおける(横1番目、縦1番目)のブロックパターンはビット0に変換され、(横2番目、縦1番目)のブロックパターンはビット1に変換され、(横3番目、縦1番目)のブロックパターンはビット0に変換されている。
透かしデータ抽出部37は、符号化ビット列変換部35a〜35dが符号化ビット列A1,A2,A3,A4を生成すると、その符号化ビット列A1,A2,A3,A4から透かしデータAを抽出し、その透かしデータAを透かしデータメモリ39に格納する。
また、透かしデータ抽出部38は、符号化ビット列変換部36a〜36pが符号化ビット列B1,B2,・・・,B16を生成すると、その符号化ビット列B1,B2,・・・,B16から透かしデータBを抽出し、その透かしデータBを透かしデータメモリ40に格納する。
なお、透かしデータ抽出部37,38における透かしデータA,Bの抽出方法としては、図1の符号化処理部13,14において、符号化ビット列の生成に用いられた符号化処理(例えば、BCH符号,Reed−Solomon符号などを用いた冗長符号化や、DES,AESなどを用いた暗号化処理)に対応する復号処理が行われ、元の透かしデータA,Bが復元される。
ここでは、透かしデータ抽出部37,38が復号処理を実施して、元の透かしデータA,Bを復元するものについて示したが、次のようにして、透かしデータA,Bを生成するようにしてもよい。
以下、透かしデータ抽出部37が、符号化ビット列A1,A2,A3,A4の誤り訂正を実施し、誤り訂正後のデータを平均化して、透かしデータAを生成する例を説明する。
図12は符号化ビット列の誤り訂正後データの平均化により透かしデータを生成する処理を示す説明図である。
透かしデータ抽出部37は、符号化ビット列変換部35a〜35dが符号化ビット列A1,A2,A3,A4を生成すると、その符号化ビット列A1,A2,A3,A4の誤り訂正を実施する。
A1’,A2’,A3’,A4’は、透かしデータ抽出部37による符号化ビット列A1,A2,A3,A4の誤り訂正後データである。
次に、透かしデータ抽出部37は、誤り訂正後データA1’,A2’,A3’,A4’におけるビット毎の値の平均化を行う。
即ち、ビット毎の平均値を、小数点以下四捨五入することで、透かしデータAを構成するビットの値を決定する。
例えば、誤り訂正後データA1’,A2’,A3’,A4’の1ビット目は、(0+1+0+0)÷4=0.25を四捨五入すると“0”になるので、透かしデータAの1ビット目は“0”に決定する。
また、2ビット目は、(1+1+1+0)÷4=0.75を四捨五入すると“1”になるので、透かしデータAの2ビット目は“1”に決定する。
以下、同様にして、透かしデータAの各ビットの値を決定する。
ここでは、透かしデータ抽出部37が符号化ビット列A1,A2,A3,A4の誤り訂正を実施し、誤り訂正後データA1’,A2’,A3’,A4’におけるビット毎の値を平均化して、透かしデータAを生成するものを示したが、図13に示すように、透かしデータ抽出部37が、先に、符号化ビット列A1,A2,A3,A4におけるビット毎の値の平均化を実施し、平均化後の符号化ビット列A”の誤り訂正を実施するようにしてもよい。
この場合、平均化後の符号化ビット列A”の誤り訂正結果が透かしデータAになる。
以上で明らかなように、この実施の形態2によれば、透かし埋め込み画像Hから地紋パターン画像Gを抽出して、その地紋パターン画像Gを複数の部分地紋パターン画像E,Fに分離し、さらに、その部分地紋パターン画像E,Fを複数の分割地紋パターン画像C1〜C4,D1〜D16に分割して、その分割地紋パターン画像C1〜C4,D1〜D16から符号化ビット列A1〜A4,B1〜B16を生成し、その符号化ビット列A1〜A4,B1〜B16から透かしデータA,Bを抽出するように構成したので、例えば、紙面のある一部分のみが切り取られた文書の場合でも、分割地紋パターン画像C1〜C4,D1〜D16と同じ面積が確保されていれば、それに対応する透かしデータの復元が可能になり、文書の部分切り取りに強い透かし検出方式が得られる効果を奏する。
また、複数の部分地紋画像パターンE,Fを合成して、地紋パターン画像Gを構成することにより、例えば、図2に示すように、分割の仕方の異なる複数の透かしデータを重畳して地紋パターンに含めることができるため、紙面の切り取り面積に応じた段階的な検出が可能となる。
図10の例では、4分の1面積の切り取りであれば、分割地紋パターン画像C1〜C4のいずれかのデータ、及び分割地紋パターン画像D1〜D16のいずれかのデータより、透かしデータA,Bの両方の復元が可能である。
また、16分の1面積の切り取りであっても、分割地紋パターン画像D1〜D16のいずれかのデータより、最低限、透かしデータBのみの復元が可能である。
また、この実施の形態2では、地紋パターン画像分割部33,34が分割地紋パターン画像C1〜C4,D1〜D16を生成して、符号化ビット列変換処理部35,36が符号化ビット列A1〜A4,B1〜B16を生成するものについて示したが、図14に示すように、地紋パターン画像分割部33及び符号化ビット列変換処理部35の処理機能を有する符号化ビット列変換処理部41と、地紋パターン画像分割部34及び符号化ビット列変換処理部36の処理機能を有する符号化ビット列変換処理部42とで構成して、符号化ビット列変換処理部41,42が部分分割地紋パターン画像E,Fから符号化ビット列A1〜A4,B1〜B16を生成するようにしてもよい。
また、図15に示すように、図14の地紋パターン画像分離部32及び符号化ビット列変換処理部41,42の処理機能を有する符号化ビット列変換処理部43で構成して、符号化ビット列変換処理部43が透かし埋め込み画像Hから符号化ビット列A1〜A4,B1〜B16を生成するようにしてもよい。
実施の形態3.
図16はこの発明の実施の形態3による透かしデータ検出装置を示す構成図であり、図において、図9と同一符号は同一または相当部分を示すので説明を省略する。
透かしデータ検証部44は透かしデータ抽出部37により抽出された透かしデータAの正当性を検証する処理を実施する。
透かしデータ検証部45は透かしデータ抽出部38により抽出された透かしデータBの正当性を検証する処理を実施する。
なお、透かしデータ検証部44,45は透かしデータ検証手段を構成している。
上記実施の形態2と同様にして、透かしデータ抽出部37,38が透かしデータA,Bを抽出するが、透かしデータA,Bは、必ずしも正当性が保証されていない。
その理由は、例えば、透かしデータ抽出部37,38が符号化ビット列の誤り訂正処理を実施しても、その誤り訂正の訂正能力を超えるビット誤りが発生している場合、正常に誤りが訂正されるとは限らないからである。
そこで、この実施の形態3では、透かしデータ検証部44,45が透かしデータ抽出部37,38により抽出された透かしデータA,Bの正当性を検証するようにしている。
透かしデータ検証部44,45は、例えば、次のような方法で、透かしデータA,Bの正当性を検証する。
透かしデータ検証部44,45は、透かしデータ抽出部37,38が透かしデータA,Bを抽出すると、図1の符号化処理部13,14と同様の方法で、その透かしデータA,Bを符号化して、符号化ビット列A1〜A4,B1〜B16を生成する。
このとき、透かしデータ検証部44,45により生成された符号化ビット列A1〜A4,B1〜B16は、透かしデータA,Bが正当なものであれば、原理的に、透かしデータ抽出部37,38に入力される符号化ビット列A1〜A4,B1〜B16と一致する。一方、透かしデータA,Bにビット誤りが含まれているなど、正当なものでなければ、透かしデータ抽出部37,38に入力される符号化ビット列A1〜A4,B1〜B16と一致しない。
透かしデータ検証部44,45は、符号化ビット列A1〜A4,B1〜B16を生成すると、その符号化ビット列A1〜A4,B1〜B16を透かしデータ抽出部37,38に入力される符号化ビット列A1〜A4,B1〜B16と比較して、一致していれば、透かしデータA,Bの正当性を認定して、その透かしデータA,Bを透かしデータメモリ39,40に格納する。
一方、一致しなければ、透かしデータA,Bの正当性を否認して、その透かしデータA,Bを破棄する。
以上で明らかなように、この実施の形態3によれば、透かしデータ検証部44,45が透かしデータ抽出部37,38により抽出された透かしデータA,Bの正当性を検証するように構成したので、ビット誤りがない正しい透かしデータA,Bが得られた場合に限り、その透かしデータA,Bを出力することができる効果を奏する。
実施の形態4.
上記実施の形態2では、透かしデータ抽出部37,38が符号化ビット列変換部35a〜35d,36a〜36pにより生成された符号化ビット列同士を補完することにより透かしデータA,Bを抽出、即ち、符号化ビット列変換部35a〜35dにより生成された符号化ビット列A1〜A4を平均化することにより透かしデータAを抽出し、符号化ビット列変換部36a〜36pにより生成された符号化ビット列B1〜B16を平均化することにより透かしデータBを抽出するものについて示したが、この実施の形態3では、複数の符号化ビット列を平均化する際、ある符号化ビット列変換部により生成された符号化ビット列の中に不特定なビット値が含まれている場合、不特定なビット値を平均化に算入しないようにする。
図17は分割地紋パターン画像から符号化ビット列を生成する方法の一例を示す説明図である。ただし、図17では、ノイズ等の影響で、左上から3番目のブロックパターンの画像が不鮮明である例を示している。
即ち、左上から3番目のブロックパターンとして、ビット0に対応するブロックパターン0が埋め込まれているが、ブロックパターンの画像が不鮮明であるために、ビット0に対応するブロックパターン0との相関値が低くなり、「ビット0に対応するブロックパターン0が埋め込まれている」と断定し難いケースを示している。
この実施の形態4では、このようなケースに対処するため、次のような処理を行う。
符号化ビット列変換部35a〜35d,36a〜36pは、上記実施の形態2と同様に、分割地紋パターン画像の左上から順番にブロックパターンを抽出して、その抽出ブロックパターンとブロックパターン0の画像相関を計算するとともに、その抽出ブロックパターンとブロックパターン1の画像相関を計算する。
次に、符号化ビット列変換部35a〜35d,36a〜36pは、予め設定されている閾値とブロックパターン0,1の画像相関値を比較し、いずれかの画像相関値が閾値以上であれば、以降、上記実施の形態2と同様にして、当該ブロックパターンのビット値を決定する。
一方、いずれの画像相関値も閾値より低ければ、当該ブロックパターンのビット値を「不定」ビットとして、符号化ビット列を生成する。
図17の例では、3ビット目が「不定」ビットであり、図中、「?」で表記されている。
透かしデータ抽出部37,38は、符号化ビット列変換部35a〜35d,36a〜36pが符号化ビット列A1〜A4,B1〜B16を生成すると、上記実施の形態2と同様に、符号化ビット列A1〜A4,B1〜B16(または、誤り訂正後データA1’〜A4’,誤り訂正後データB1’〜B16’)におけるビット毎の値の平均化を実施して、透かしデータA,Bを構成するビットの値を決定するが、「不定」ビットについては、ビット毎の値の平均化に算入しないようにする。
図17の例では、ある符号化ビット列の3ビット目が「不定」ビットであるため、3ビット目のビット値を決定する際、ある符号化ビット列の3ビット目を平均化に算入しないようにする。
以上で明らかなように、この実施の形態4によれば、ある符号化ビット列変換部により生成された符号化ビット列の中に不特定なビット値が含まれている場合、不特定なビット値を平均化に算入しないように構成したので、ノイズ等の影響を排除して、透かしデータの検出精度を高めることができる効果を奏する。
実施の形態5.
上記実施の形態2では、透かしデータ抽出部37,38が符号化ビット列変換部35a〜35d,36a〜36pにより生成された符号化ビット列A1〜A4,B1〜B16を平均化することにより透かしデータA,Bを抽出するものについて示したが、符号化ビット列変換部35a〜35d,36a〜36pから符号化ビット列A1〜A4,B1〜B16の確度が出力される場合、その確度に応じた重みを符号化ビット列A1〜A4,B1〜B16に付ける傾斜配分による平均化を実施することにより透かしデータA,Bを抽出するようにしてもよい。
具体的には、以下の通りである。
図18は分割地紋パターン画像から符号化ビット列を生成する方法の一例を示す説明図である。
符号化ビット列変換部35a〜35d,36a〜36pは、上記実施の形態2と同様にして、符号化ビット列A1〜A4,B1〜B16を生成すると、その符号化ビット列A1〜A4,B1〜B16を透かしデータ抽出部37,38に出力するとともに、その符号化ビット列A1〜A4,B1〜B16の確度として、その符号化ビット列A1〜A4,B1〜B16のビット毎に、ブロックパターン0,1の画像相関値を透かしデータ抽出部37,38に出力する。
透かしデータ抽出部37,38は、符号化ビット列A1〜A4,B1〜B16(または、誤り訂正後データA1’〜A4’,B1’〜B16’)におけるビット毎の値の平均化を実施する際、ブロックパターン0,1の画像相関値を用いて、傾斜配分による平均化を実施する。
例えば、符号化ビット列A1〜A4から透かしデータAを抽出する場合、図19に示すように、符号化ビット列A1〜A4を構成するビットの「0相関値」に“−1”、「1相関値」に“+1”を乗算して、それらの乗算結果を積算する。
即ち、例えば、符号化ビット列A1〜A4の1ビット目のビット値を決定する場合において、符号化ビット列A1〜A4の1ビット目における「0相関値」、「1相関値」が下記の場合、下記のような計算を実施する。
「0相関値」 「1相関値」
・符号化ビット列A1の1ビット目 → 0.95 0.03
・符号化ビット列A2の1ビット目 → 0.02 0.97
・符号化ビット列A3の1ビット目 → 0.70 0.28
・符号化ビット列A4の1ビット目 → 0.66 0.33
0.95×(−1)+0.03×(+1)
+0.02×(−1)+0.97×(+1)
+0.70×(−1)+0.28×(+1)
+0.66×(−1)+0.33×(+1)
=−0.72
透かしデータ抽出部37,38は、上記の計算結果が「−1」に近くなればなるほど、ビット0である可能性が高く、「+1」に近くなればなるほど、ビット1である可能性が高いので、上記の計算結果が「+1」より「−1」に近ければ、当該ビットが“0”であると決定し、上記の計算結果が「−1」より「+1」に近ければ、当該ビットが“1”であると決定する。
なお、「0相関値」に“0”でなく“−1”を乗算している理由は、“0”を乗算してしまうと「0相関値」の影響が全て零として、カウントされてしまうからである。
透かしデータ抽出部37,38は、上記のようにして、符号化ビット列のビット値を決定すると、その符号化ビット列に対する誤り訂正処理を実施して、透かしデータA,Bを生成する。
以上で明らかなように、この実施の形態5によれば、符号化ビット列変換部35a〜35d,36a〜36pから符号化ビット列A1〜A4,B1〜B16の確度が出力される場合、その確度に応じた重みを符号化ビット列A1〜A4,B1〜B16に付ける傾斜配分による平均化を実施して、透かしデータA,Bを抽出するように構成したので、更に透かしデータの検出精度を高めることができる効果を奏する。
実施の形態6.
上記実施の形態5では、符号化ビット列変換部35a〜35d,36a〜36pから符号化ビット列A1〜A4,B1〜B16の確度が出力される場合、その確度に応じた重みを符号化ビット列A1〜A4,B1〜B16に付ける傾斜配分による平均化を実施するものについて示したが、透かしデータ抽出部37,38が符号化ビット列A1〜A4,B1〜B16の誤り訂正を実施し、その結果、誤り訂正に失敗した符号化ビット列については重みを弱くした上で、傾斜配分による平均化を実施するようにしてもよい。
図20は符号化ビット列A2の誤り訂正に失敗しているケースを示す説明図である。
例えば、透かしデータ抽出部37が符号化ビット列A1〜A4から透かしデータAを抽出する場合、上記実施の形態2と同様にして、符号化ビット列A1〜A4の誤り訂正を実施する。
このとき、符号化ビット列A2の誤り訂正に失敗すると、図20に示すように、符号化ビット列A2の誤り訂正後データA2’が得られないので、符号化ビット列A1,A3,A4の誤り訂正後データA1’,A3’,A4’におけるビット毎の値の平均化を行うことで、透かしデータAを構成するビットの値を決定する。
ここでは、誤り訂正に成功している符号化ビット列A1,A3,A4の誤り訂正後データA1’,A3’,A4’を用いて、透かしデータAを構成するビットの値を決定するものについて示したが、図21に示すように、誤り訂正に失敗した符号化ビット列A2については重みを弱くした上で、傾斜配分による平均化を実施するようにしてもよい。
即ち、誤り訂正に成功している符号化ビット列A1,A3,A4の重み付けを“1”、誤り訂正に失敗している符号化ビット列A2の重み付けを半分の“0.5”に下げて、符号化ビット列の平均化を実施し、平均化後の符号化ビット列A’’’の誤り訂正結果を透かしデータAとするようにしてもよい。
A’’’=(A1×1+A2×0.5+A3×1+A4×1)/4
以上で明らかなように、この実施の形態6によれば、透かしデータ抽出部37,38が符号化ビット列A1〜A4,B1〜B16の誤り訂正を実施し、その結果、誤り訂正に失敗した符号化ビット列については重みを弱くした上で、傾斜配分による平均化を実施するように構成したので、更に透かしデータの検出精度を高めることができる効果を奏する。
実施の形態7.
上記実施の形態2〜6では、符号化ビット列変換処理部35,36が地紋パターン画像分割部33,34により生成された分割地紋パターン画像C1〜C4,D1〜D16から符号化ビット列A1〜A4,B1〜B16を生成するものについて示したが、符号化ビット列変換処理部35,36が地紋パターン画像分割部33,34により生成された分割地紋パターン画像C1〜C4,D1〜D16同士の補完によって符号化ビット列を生成するようにしてもよい。
即ち、符号化ビット列変換処理部35は、地紋パターン画像分割部33が分割地紋パターン画像C1〜C4を生成すると、図22に示すように、分割地紋パターン画像C1〜C4を全て重ね合わせて、画素毎の平均を取った平均化画像を作成する。
また、符号化ビット列変換処理部36は、地紋パターン画像分割部34が分割地紋パターン画像D1〜D16を生成すると、分割地紋パターン画像D1〜D16を全て重ね合わせて、画素毎の平均を取った平均化画像を作成する。
符号化ビット列変換処理部35,36は、上記のようにして、平均化画像を作成すると、例えば、図11や図12に示すような処理を実施して、符号化ビット列を生成する。
以上で明らかなように、この実施の形態7によれば、地紋パターン画像分割部33,34により生成された分割地紋パターン画像C1〜C4,D1〜D16同士の補完によって符号化ビット列を生成するように構成したので、分割地紋パターン画像C1〜C4,D1〜D16に混入しているノイズの影響が互いに薄め合うようになり、その結果、透かしデータの検出精度を高めることができる効果を奏する。
以上のように、この発明に係る透かしデータ埋め込み装置は、透かしデータの埋め込み効率を高め、繰り返し数に見合う部分切り取り耐性を保証するため、複数の符号化手段により生成された符号化ビット列を構成する各ビットの値に対応するブロックパターンを順番に配置して複数の部分地紋パターンを生成し、それを合成して透かし画像データである地紋パターン画像を生成する地紋パターン画像生成手段を設け、生成された地紋パターン画像を透かし埋め込み対象の画像に重畳する画像重畳手段を設けるように構成したので、重要度の高いデータと重要度の低いデータとを区別してデータを埋め込むデータ埋め込み装置に適している。

Claims (11)

  1. ビット列で表現されている第1透かしデータを符号化して符号化ビット列を生成する複数の第1符号化部と、前記第1符号化部により生成された符号化ビット列を構成する各ビットの値に対応するブロックパターンを順番に配置して複数の部分地紋パターン画像を生成する複数の第1分割地紋パターン画像生成部と、前記複数の第1分割地紋パターン画像生成部により生成された第1分割地紋パターン画像を連結して第1部分地紋パターン画像を生成する第1地紋パターン画像連結部と、
    ビット列で表現されている第2透かしデータを符号化して符号化ビット列を生成する複数の第2符号化部と、前記第2符号化部により生成された符号化ビット列を構成する各ビットの値に対応するブロックパターンを順番に配置して複数の部分地紋パターン画像を生成する複数の第2分割地紋パターン画像生成部と、前記複数の第2分割地紋パターン画像生成部により生成された第2分割地紋パターン画像を連結して第2部分地紋パターン画像を生成する第2地紋パターン画像連結部と
    前記第1地紋パターン画像連結部と前記第2地紋パターン画像連結部により生成された部分地紋パターン画像を合成して、透かし画像データである地紋パターン画像を生成する地紋パターン画像合成部とを備えた地紋パターン画像生成装置。
  2. 第1地紋パターン画像連結部は、複数の第1分割地紋パターン画像生成部により生成された分割地紋パターン画像を順番に縦横に並べて配置して連結し、第2地紋パターン画像連結部は、複数の第2分割地紋パターン画像生成部により生成された分割地紋パターン画像を順番に縦横に並べて配置して連結することを特徴とする請求項1記載の地紋パターン画像生成装置。
  3. 請求項1または請求項2記載の地紋パターン画像生成装置と、前記地紋パターン画像生成装置の地紋パターン画像合成部により生成された地紋パターン画像を透かし埋め込み対象の画像に重畳する画像重畳手段とを備えた透かしデータ埋め込み装置。
  4. 請求項3記載の透かしデータ埋め込み装置により地紋パターン画像が重畳されている画像から第1、第2地紋パターン画像を抽出する地紋パターン画像分離部と、前記第1、第2地紋パターン画像をそれぞれ複数の部分地紋パターン画像に分割する第1、第2地紋パターン画像分割部と、
    前記第1地紋パターン画像分割部により分割された分割地紋パターン画像を構成する各ブロックパターンに対応するビット値を順番に配置して符号化ビット列を生成する複数の第1符号化ビット列変換部と、前記複数の第1符号化ビット列変換部により生成された符号化ビット列から透かしデータを抽出する第1透かしデータ抽出部と、
    前記第2地紋パターン画像分割部により分割された分割地紋パターン画像を構成する各ブロックパターンに対応するビット値を順番に配置して符号化ビット列を生成する複数の第2符号化ビット列変換部と、前記複数の第2符号化ビット列変換部により生成された符号化ビット列から透かしデータを抽出する第2透かしデータ抽出部とを備えた透かしデータ検出装置。
  5. 第1、第2透かしデータ抽出により抽出された透かしデータの正当性を検証する第1、第2透かしデータ検証を設けたことを特徴とする請求項4記載の透かしデータ検出装置。
  6. 第1、第2透かしデータ抽出は、複数の第1、第2符号化ビット列変換部により生成された符号化ビット列同士の補完によって透かしデータを抽出することを特徴とする請求項4記載の透かしデータ検出装置。
  7. 第1、第2透かしデータ抽出は、複数の第1、第2符号化ビット列変換部により生成された符号化ビット列同士の補完が、複数の符号化ビット列の平均化であることを特徴とする請求項6記載の透かしデータ検出装置。
  8. 第1、第2透かしデータ抽出は、ある符号化ビット列変換部により生成された符号化ビット列の中に不特定なビット値が含まれている場合、前記不特定なビット値を平均化に算入しないことを特徴とする請求項7記載の透かしデータ検出装置。
  9. 第1、第2透かしデータ抽出は、複数の第1、第2符号化ビット列変換部から符号化ビット列の確度が出力される場合、前記確度に応じた重みを前記符号化ビット列に付ける傾斜配分による平均化を実施することを特徴とする請求項7記載の透かしデータ検出装置。
  10. 第1、第2透かしデータ抽出は、複数の第1、第2符号化ビット列変換部により生成された符号化ビット列の誤り訂正を実施し、誤り訂正が失敗した符号化ビット列についての重み付けを弱くする傾斜配分による平均化を実施することを特徴とする請求項7記載の透かしデータ検出装置。
  11. 第1、第2地紋パターン画像分割部及び第1、第2符号化ビット列変換部は、部分地紋パターン画像を複数の分割地紋パターン画像に分割し、複数の分割地紋パターン画像同士の補完によって符号化ビット列を生成することを特徴とする請求項4記載の透かしデータ検出装置。
JP2009548906A 2008-01-10 2009-01-09 地紋パターン画像生成装置、透かしデータ埋め込み装置及び透かしデータ検出装置 Expired - Fee Related JP4859986B2 (ja)

Priority Applications (1)

Application Number Priority Date Filing Date Title
JP2009548906A JP4859986B2 (ja) 2008-01-10 2009-01-09 地紋パターン画像生成装置、透かしデータ埋め込み装置及び透かしデータ検出装置

Applications Claiming Priority (4)

Application Number Priority Date Filing Date Title
JP2008003167 2008-01-10
JP2008003167 2008-01-10
JP2009548906A JP4859986B2 (ja) 2008-01-10 2009-01-09 地紋パターン画像生成装置、透かしデータ埋め込み装置及び透かしデータ検出装置
PCT/JP2009/000076 WO2009087977A1 (ja) 2008-01-10 2009-01-09 地紋パターン画像生成装置、透かしデータ埋め込み装置及び透かしデータ検出装置

Publications (2)

Publication Number Publication Date
JPWO2009087977A1 JPWO2009087977A1 (ja) 2011-05-26
JP4859986B2 true JP4859986B2 (ja) 2012-01-25

Family

ID=40853091

Family Applications (1)

Application Number Title Priority Date Filing Date
JP2009548906A Expired - Fee Related JP4859986B2 (ja) 2008-01-10 2009-01-09 地紋パターン画像生成装置、透かしデータ埋め込み装置及び透かしデータ検出装置

Country Status (2)

Country Link
JP (1) JP4859986B2 (ja)
WO (1) WO2009087977A1 (ja)

Citations (2)

* Cited by examiner, † Cited by third party
Publication number Priority date Publication date Assignee Title
JP2003209678A (ja) * 2002-01-10 2003-07-25 Canon Inc 情報処理装置及びその制御方法
JP2007166333A (ja) * 2005-12-14 2007-06-28 Fuji Xerox Co Ltd 画像処理装置及び画像処理方法

Patent Citations (2)

* Cited by examiner, † Cited by third party
Publication number Priority date Publication date Assignee Title
JP2003209678A (ja) * 2002-01-10 2003-07-25 Canon Inc 情報処理装置及びその制御方法
JP2007166333A (ja) * 2005-12-14 2007-06-28 Fuji Xerox Co Ltd 画像処理装置及び画像処理方法

Also Published As

Publication number Publication date
WO2009087977A1 (ja) 2009-07-16
JPWO2009087977A1 (ja) 2011-05-26

Similar Documents

Publication Publication Date Title
US20030223584A1 (en) Layered security in digital watermarking
US20110176706A1 (en) Watermark payload encryption for media including multiple watermarks
EP1833237B1 (en) Retrieval of information embedded in an image
JP4922205B2 (ja) 画像処理方法および画像処理装置
JPWO2004095828A1 (ja) 透かし情報埋め込み装置及び方法、透かし情報検出装置及び方法、透かし入り文書
CN100354890C (zh) 嵌入多重水印
Ganesh Watermark decoding technique using machine learning for intellectual property protection
JP4859986B2 (ja) 地紋パターン画像生成装置、透かしデータ埋め込み装置及び透かしデータ検出装置
JP2007506128A (ja) マルチメディア信号に透かしを入れる装置及び方法
JP4169267B2 (ja) 画像改ざん検知装置およびその保存データの復元方法
JP3999778B2 (ja) 画像処理方法および画像処理装置
Tefas et al. Multi-bit image watermarking robust to geometric distortions
CN100534033C (zh) 一种抗模拟域攻击的文本数字水印方法
JP2006222788A (ja) 画像検証装置,画像埋め込み装置,画像検出装置,画像埋め込み方法,画像検出方法,コンピュータプログラム,および印刷物製造方法
JP3478781B2 (ja) 画像処理装置、画像処理方法、及び記憶媒体
JP2011049690A (ja) 二次元コード生成装置、画像形成システム、二次元コード読み取り装置、コンピュータプログラム及び媒体
JP2008536380A (ja) 量子化・透かし入れの方法
JP3643509B2 (ja) 電子透かし埋め込み方法と装置及び電子透かし検出方法と装置
JP4836052B2 (ja) 画像処理装置、画像処理システムおよび画像処理プログラム
JP4337745B2 (ja) 画像処理装置及び方法
JP4613807B2 (ja) 文書処理装置および文書処理方法
JP2006157831A (ja) 改ざん検出装置,透かし入り画像出力装置,透かし入り画像入力装置,透かし入り画像出力方法,および透かし入り画像入力方法
JP4942633B2 (ja) 電子透かしシステム
JP4018691B2 (ja) 電子透かし埋め込み方法と装置及び電子透かし抽出/判定方法と装置
Khen et al. A word based self-embedding scheme for document watermark

Legal Events

Date Code Title Description
A131 Notification of reasons for refusal

Free format text: JAPANESE INTERMEDIATE CODE: A131

Effective date: 20110719

A521 Request for written amendment filed

Free format text: JAPANESE INTERMEDIATE CODE: A523

Effective date: 20110831

TRDD Decision of grant or rejection written
A01 Written decision to grant a patent or to grant a registration (utility model)

Free format text: JAPANESE INTERMEDIATE CODE: A01

Effective date: 20111004

A01 Written decision to grant a patent or to grant a registration (utility model)

Free format text: JAPANESE INTERMEDIATE CODE: A01

A61 First payment of annual fees (during grant procedure)

Free format text: JAPANESE INTERMEDIATE CODE: A61

Effective date: 20111101

R150 Certificate of patent or registration of utility model

Free format text: JAPANESE INTERMEDIATE CODE: R150

FPAY Renewal fee payment (event date is renewal date of database)

Free format text: PAYMENT UNTIL: 20141111

Year of fee payment: 3

LAPS Cancellation because of no payment of annual fees