JP4831229B2 - 電線差込み部の防水装置及び防水ソケット並びにこれを用いた照明器具 - Google Patents

電線差込み部の防水装置及び防水ソケット並びにこれを用いた照明器具 Download PDF

Info

Publication number
JP4831229B2
JP4831229B2 JP2009277523A JP2009277523A JP4831229B2 JP 4831229 B2 JP4831229 B2 JP 4831229B2 JP 2009277523 A JP2009277523 A JP 2009277523A JP 2009277523 A JP2009277523 A JP 2009277523A JP 4831229 B2 JP4831229 B2 JP 4831229B2
Authority
JP
Japan
Prior art keywords
packing
waterproof
wire
electric wire
peripheral surface
Prior art date
Legal status (The legal status is an assumption and is not a legal conclusion. Google has not performed a legal analysis and makes no representation as to the accuracy of the status listed.)
Expired - Lifetime
Application number
JP2009277523A
Other languages
English (en)
Other versions
JP2010056096A (ja
Inventor
智 渡邉
Current Assignee (The listed assignees may be inaccurate. Google has not performed a legal analysis and makes no representation or warranty as to the accuracy of the list.)
Toshiba Lighting and Technology Corp
Original Assignee
Toshiba Lighting and Technology Corp
Priority date (The priority date is an assumption and is not a legal conclusion. Google has not performed a legal analysis and makes no representation as to the accuracy of the date listed.)
Filing date
Publication date
Application filed by Toshiba Lighting and Technology Corp filed Critical Toshiba Lighting and Technology Corp
Priority to JP2009277523A priority Critical patent/JP4831229B2/ja
Publication of JP2010056096A publication Critical patent/JP2010056096A/ja
Application granted granted Critical
Publication of JP4831229B2 publication Critical patent/JP4831229B2/ja
Anticipated expiration legal-status Critical
Expired - Lifetime legal-status Critical Current

Links

Images

Landscapes

  • Connecting Device With Holders (AREA)

Description

本発明は、例えば防水ソケットにおいてそのソケット本体に電線が差込まれる部分の防水を図る電線差込み部の防水装置に関するとともに、この防水装置を備える防水ソケット並びにこのソケットを備える防水型照明器具に関する。
防水型照明器具の防水ソケットでは、そのソケット本体に差込まれる電線差込部での防水をする必要があり、そのための構造が知られている(例えば、特許文献1参照)。
この公報には、外周面に一つの環状の凸条を有したゴム製防水パッキンのスリーブを、ソケット本体の貫通孔(パッキン装着孔)に圧入することにより、前記凸条を貫通孔の内周面に密接させてこの貫通孔とスリーブとの間の防水を図るとともに、前記スリーブを貫通するスリーブ貫通孔(電線通し穴)の径を縮めて、このスリーブ貫通孔に通された電線との間の防水を図る構造が記載されている。前記スリーブ貫通孔はその内面に凹凸がない真っ直ぐな孔で形成されていて、その縮径に伴ってスリーブ貫通孔の内周面全体をこの貫通孔に貫通された電線の絶縁被覆に密接させるようになっている。
しかし、前記のようにスリーブ貫通孔の内周面と電線の絶縁被覆とを面接触させて、これらスリーブ貫通孔と電線との間の防水を図る電線差込み部の防水装置によれば、電線がその軸線と交差する方向に引張られた状態になると、引張り側と反対側においてスリーブ貫通孔の内周面と電線の絶縁被覆との間に楔状の隙間が形成され、そこから毛細管現象により浸水する恐れがある。しかも、スリーブ貫通孔に電線を通す際に、スリーブ貫通孔の内周面に電線の絶縁被覆が競り易く抵抗が大きいので、通線作業しずらい。
特開平8−315939号公報
本発明が解決しようとする課題は、防水性能を向上できるとともに、電線を通し易い電線差込み部の防水装置及び防水ソケット並びにこれを用いた照明器具を得ることにある。
前記課題を解決するために、請求項1に係る発明の電線差込み部の防水装置は、パッキン装着孔を有する被装着体と、電線が通される一対の電線通し穴、前記電線通し穴を塞ぐ閉じ部、外周面から一体に突設して前記パッキン装着孔の内周面に密接する複数の環状の外向き凸条、及び前記電線通し穴の内周面から一体に突設して前記電線の外周面に密接する複数の環状の内向き凸条を有してなり、前記パッキン装着孔に嵌合されるゴム状弾性体製の防水パッキンと、を具備し、防水パッキンには、閉じ部の外周でパッキン挿入方向に垂直に平面部が形成され、被装着体には、パッキン装着孔の一端に前記平面部に当接する平坦部が形成されていることを特徴とする。
この発明及び以下の各発明において、防水パッキンをなすゴム状弾性体にはゴム又はエラストマ等の材料を使用でき、又、外向き凸条及び内向き凸条の数は二以上であれば任意の数に設定できるとともに、各凸条の配設間隔は揃っていても、揃っていなくてもよい。又、防水パッキンの電線通し穴の数は一つ以上であればよいとともに、この電線通し穴は、予め貫通して設けられていても、又、閉じ部があってそこを突き破って電線が通るものであってもよく、又、電線には絶縁電線を用いるとよい。又、この発明の電線差込み部の防水装置は、防水ソケット以外にも防水を必要とする電気部品において電線が挿入される部分の全てに適用できる。
請求項1の発明においては、防水パッキンの閉じ部の外周であって、パッキン装着孔へのパッキン挿入方向に垂直に形成された平面部が、パッキン装着孔の一端に形成された平坦部と当接している状態で、一対の電線が閉じ部を突き破り通線できるので、一対の電線の挿入作業が容易になる。また、電線が閉じ部を突き破る際、閉じ部の外周に形成された平面部が平坦部によって押さえられるので、電線貫通時にパッキンの位置ずれが少なく、電線の挿入作業が容易になり、また、所期の防水性を損なうことがない。また、防水パッキンの外周面の環状をなす複数の外向き凸条がパッキン装着孔の内周面に密接し、同様に、防水パッキンの電線通し穴の内周面の環状をなす複数の内向き凸条が電線通し穴に通された電線の外周面に密接しているから、防水パッキンとパッキン装着孔との間、及び防水パッキンと電線との間の防水性を夫々確保できる。そして、複数の外向き凸条及び複数の内向き凸条により、これらのパッキン装着孔の内周面への密接箇所及び電線外周面への密接箇所を夫々分断して、毛細管現象による水の浸入を妨げているため、防水パッキンが電線に引張られて、この引張り側と反対側に楔状の隙間ができたとしても、この隙間よりも奥側の外向き凸条及び内向き凸条によって水の浸入を防止できる。又、パッキン装着孔に防水パッキンを嵌め込む際には、このパッキンの外周面をパッキン装着孔の内周面に面接触させることなく、複数の外向き凸条を接触させて少ない抵抗で嵌め込み作業をすることができ、同様に、防水パッキンの電線通し穴に電線を通す際にも、電線外周面を電線通し穴の内周面に面接触させることなく、複数の内向き凸条を接触させて少ない抵抗で通線作業をすることができる。また、防水パッキンに電線が通されない場合、電線通し穴はその閉じ部によって浸水を防止することができる。
請求項2に係る発明の電線差込み部の防水装置は、前記外向き凸条と前記内向き凸条とを前記防水パッキンの軸方向で同じ位置に設けたことを特徴とする。
防水パッキンをパッキン装着孔に嵌め込むに伴い、外向き凸条は最短距離にある内向き凸条を電線通し穴の中心部側に変位させるので、この後に電線通し穴に電線を通すと、この電線と内向き凸条との密接が強められるとともに、外向き凸条とパッキン装着孔の内周面との密接も強められる。
請求項3に係る発明の電線差込み部の防水装置は、前記内向き凸条の根元部の幅を前記外向き凸条の根元部の幅より小さくしたことを特徴とする。
外向き凸条の根元部の幅より内向き凸条の根元部の幅が小さいから、電線通し穴に通される電線の径のばらつきに応じて内向き凸条を変形させ易く、通線作業が容易になる。しかも、相対的に根元部の幅が大きな外向き凸条は変形が少なく、パッキン装着孔への防水パッキンの保持力を向上できるので、電線を引き抜く力に対して防水パッキンをパッキン装着孔に安定して保持できる。
請求項4に係る発明の電線差込み部の防水装置は、前記パッキン装着孔への前記防水パッキンの嵌入方向先端側端部の外周面に、前記外向き凸条のうちの一つを配設したことを特徴とする。
前記一つの外向き凸条は、パッキン装着孔の奥側の内周面に密着して、防水パッキンの奥側部分が傾くことを抑制するから、電線通し穴に通される電線を真っ直ぐに貫通させることができる。
請求項5に係る発明の電線差込み部の防水装置は、前記防水パッキンがその電線通し穴を塞ぐ閉じ部を一体に有し、この閉じ部の中央部を凹ませて薄肉としたことを特徴とする。閉じ部は電線通し穴の端又は中間部に設けることができる。
閉じ部の中央部に凹みがあるので、電線を電線通し穴に貫通させる際に、この電線で突き破られて薄肉部分にできた孔は、閉じ部の肉厚差によって凹みの大きさ一杯まで広げられる。そのため、閉じ部が厚肉の場合のように突き破られなかったり、閉じ部全体が薄肉の場合のように閉じ部が電線とともに伸びて突き破られなかったりすることがなくなり、容易に通線作業をすることができる。
請求項6に係る発明の防水ソケットは、ランプのランプピンが着脱可能に接続されるランプピン接触片及び電線接続部を有する一対の端子金具と、これら端子金具を内蔵するとともに、前記電線接続部と対向するパッキン装着孔を有したソケット本体と、電線が通される一対の電線通し穴、前記電線通し穴を塞ぐ閉じ部、外周面から一体に突設して前記パッキン装着孔の内周面に密接する複数の環状の外向き凸条、及び前記電線通し穴の内周面から一体に突設して前記電線の外周面に密接する複数の環状の内向き凸条を有してなり、前記パッキン装着孔に嵌合されるゴム状弾性体製の防水パッキンと、を具備し、防水パッキンには、閉じ部の外周でパッキン挿入方向に垂直に平面部が形成され、被装着体には、パッキン装着孔の一端に前記平面部に当接する平坦部が形成されていることを特徴とする。この防水ソケットは、挟み込み型でも突き合わせ型であってもよい。また、防水パッキンに電線が通されない場合、電線通し穴はその閉じ部によって浸水を防止することができる
防水パッキンの閉じ部の外周であって、パッキン装着孔へのパッキン挿入方向に垂直に形成された平面部が、パッキン装着孔の一端に形成された平坦部と当接している状態で、一対の電線が閉じ部を突き破り通線できるので、一対の電線の挿入作業が容易になる。また、電線が閉じ部を突き破る際、閉じ部の周囲が平坦部によって押さえられるので、電線貫通時にパッキンの位置ずれが少なく、電線の挿入作業が容易になり、また、所期の防水性を損なうことがない。また、ソケット本体とそのパッキン装着孔に嵌合された防水パッキンは、ソケット本体に電線が通される部分において、防水パッキンの外周面及び電線通し穴の内周面に夫々設けた複数の環状外向き凸条及び内向き凸条により、防水パッキンとパッキン装着孔との間、及び防水パッキンと電線との間の防水をなす電線差込み部の防水装置を形成するから、防水性能が高く、電線を通し易い防水ソケットを提供できる。また、防水パッキンに電線が通されない場合、電線通し穴はその閉じ部によって浸水を防止することができる。
請求項7に係る発明の照明器具は、請求項6に係る防水ソケットを備えるから、防水性能が高く、かつ、器具内配線をするに際し防水ソケットへの電線の通線作業が容易な照明器具を提供できる。
本発明は、以上説明したような形態で実施され、以下に記載されるような効果を奏する。
請求項1に係る発明によれば、防水パッキンの閉じ部の外周であって、パッキン装着孔へのパッキン挿入方向に垂直に形成された平面部が、パッキン装着孔の一端に形成された平坦部と当接している状態で、一対の電線が閉じ部を突き破り通線できるので、一対の電線の挿入作業が容易になる。また、電線が閉じ部を突き破る際、閉じ部の周囲が平坦部によって押さえられるので、電線貫通時にパッキンの位置ずれが少なく、電線の挿入作業が容易になり、また、所期の防水性を損なうことがない。また、被装着体のパッキン装着孔とこれに嵌合された防水パッキンとの間からの水の浸入を、防水パッキンの外周面に設けた複数の環状の外向き凸条により防止し、かつ、防水パッキンの電線通し穴とこれに通された電線との間からの水の浸入を、電線通し穴の内周面に設けた複数の環状の外向き凸条により防止したので、防水性能を向上できるとともに、複数の前記内向き凸条により電線通し穴への電線の通線抵抗を少なくして電線作業を容易にできる。また、防水パッキンに電線が通されない場合、電線通し穴はその閉じ部によって浸水を防止することができる。閉じ部を突
き破り通線することを特徴とする。この防水ソケットは、挟み込み型でもつき合わせ型であってもよい。
請求項2に係る発明によれば、パッキン装着孔の内周面への外向き凸条の密接及び電線通し穴に通された電線への内向き凸条の密接を夫々強めて、防水性をより向上できる。
請求項3に係る発明によれば、内向き凸条が変形し易く電線通し穴への通線作業をより容易化できるとともに、変形が少ない外向き凸条により電線に引き抜き力に対して防水パッキンをパッキン装着孔に安定して保持できる。
請求項4に係る発明によれば、防水パッキンの奥側部分が傾くことを抑制して、電線通し穴に通される電線を真っ直ぐに貫通させることができる。
請求項5に係る発明によれば、電線を電線通し穴に貫通させる際に、閉じ部の薄肉な凹み部分の電線による突き破り不良を閉じ部の肉厚差によって防止できるので、容易に通線作業ができる。
請求項6に係る発明によれば、防水パッキンの閉じ部の外周であって、パッキン装着孔へのパッキン挿入方向に垂直に形成された平面部が、パッキン装着孔の一端に形成された平坦部と当接している状態で、一対の電線が閉じ部を突き破り通線できるので、一対の電線の挿入作業が容易になる。また、電線が閉じ部を突き破る際、閉じ部の周囲が平坦部によって押さえられるので、電線貫通時にパッキンの位置ずれが少なく、電線の挿入作業が容易になり、また、所期の防水性を損なうことがない。また、ソケット本体に電線が通される部分に配置される防水パッキンの外周面及び電線通し穴の内周面に夫々複数の外向き凸条及び内向き凸条を設けて防水をなす電線差込み部の防水装置を備えるから、防水性能が高く、ソケット本体内に挿入される電線を通し易い防水ソケットを提供できる。また、防水パッキンに電線が通されない場合、電線通し穴はその閉じ部によって浸水を防止することができる。
請求項7に係る発明によれば、請求項6に係る防水ソケットを備えるから、防水性能が高く、かつ、器具内配線をするに際し防水ソケットへの電線の通線作業を容易にできる照明器具を提供できる。
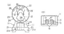
(A)は本発明の一実施形態に係る照明器具を示す斜視図。(B)は同照明器具の断面図。 図1に示された照明器具が備える本発明の一実施形態に係る防水ソケットを示す斜視図。 図2に示された防水ソケットを分解して示す斜視図。 図2に示された防水ソケットのソケット本体を分解して示す斜視図。 (A)は図2に示された防水ソケットのソケット本体を示す正面図。(B)は図2に示された防水ソケットのソケット本体を示す底面図。 図2に示された防水ソケットをその電線用の第3防水パッキンがある部分を通って示す縦断正面図。 図2に示された防水ソケットを第3防水パッキンがある部分を通って示す縦断側面図。 (A)は図2に示された防水ソケットが備える第3防水パッキンを示す正面図。(B)は同第3防水パッキンを示す断面図。 (A)は図2に示された防水ソケットをそれに蛍光ランプを支持した状態で示す縦断側面図。(B)は図2に示された防水ソケットのソケット本体に締付け筒アセンブリを取付ける途中状態を示す部分断面図。 (A)は図2に示された防水ソケットの第1防水パッキンを示す側面図。(B)は図9(A)の防水パッキンの一部を拡大して示す断面図。
以下、図1〜図10を参照して本発明の一実施形態を説明する。
図1(A)(B)に示す防水型照明器具1は防塵や防水性能が要求される屋外その他の場所において使用される。この防水型照明器具1は、天井面にねじ止めされる器具本体2と、この器具本体2に固定された放電灯安定器3その他の図示しない電気部品と、器具本体2の長手方向両端に夫々取付けられたソケット取付け台4(長手方向一端部側に取付けられた台4のみ図示)と、これら取付け台4に夫々取付けられた防水ソケット5と、これらソケット5を突出させるとともに器具本体2及びこれに取付けられた各部品を覆い隠してこの器具本体2にねじ止め等より連結されたV型反射板6と、器具本体2の長手方向に対向する防水ソケット5に両端部を取外し可能に支持された放電灯例えば直管型蛍光ランプ7とを備えている。
次に、図2〜図10を参照して防水ソケット5について説明する。このソケット5は挟み込み型のものであって、防水パッキン用の被装着体としてのソケット本体11と、一対の端子金具12と、第1防水パッキン13を有する締付け筒アセンブリ14と、第2防水パッキン15と、一対の第3防水パッキン16とを具備している。締付け筒アセンブリ14は、締付け筒17と、スリップリング18と、前記第1防水パッキン13と、パッキン押え19とを備えて形成されている。
図3〜図7等に示されるようにソケット本体11は、ベース部21に対し直角状につながった部分に螺合部22及びパッキン受け部23を設けて形成されている。このソケット本体11は白色系の硬質合成樹脂製である。ベース部21の両側面には前記ソケット取付け台4の取付け孔の孔縁に嵌合される取付け溝21aが夫々設けられている。螺合部22は、パッキン受け部23の前側に突出する短い円筒状をなすとともに、その前面を塞いで取付けられた前面壁24を有している。
螺合部22の外周面には雄ねじ部25が設けられている。雄ねじ部25の後端はパッキン受け部23には連続しておらず、これらパッキン受け部23と雄ねじ部25とを非連続とする螺合部外周面部分は、螺合部22の根元部22aをなすものであって、パッキン嵌合部として用いられる。この根元部22aの外周には、ゴム状弾性体例えばOリングからなる前記第2防水パッキン15が嵌合されている。パッキン受け部23は根元部22aに対して直角に連なって螺合部22より一回り大きく外側に張出すように突出形成されている。
螺合部22にはソケット本体11の先端側に位置して雄ねじ部25を横断するランプピン通過溝26設けられている。螺合部22の軸方向に延びるランプピン通過溝26の前端は前面壁24に開放されて、後端は根元部22aにより仕切られている。前面壁24には二股状のランプピン回転用溝27が形成されていて、その出入口部27aはランプピン通過溝26の前端部に連続している。前面壁24の周部には切欠き状の係合凹部28が複数例えば3箇所形成され、これら係合凹部28は螺合部22の周方向に等間隔に設けられている。
図4、図6、図7等に示すように螺合部22の内側には、複数のリブが立ててあるとともに、これらリブに位置決めして一対の前記端子金具12が左右対称の配置(図6参照)に収容されている。両端子金具12は、螺合部22の前後方向に延びる金具ベース12aの前部にランプピン接触片12bを一体に設け、かつ、金具ベース12aの後部に電線接続部12cを設けて形成されている。電線接続部12cは一対の電線鎖錠片12c1及びこれらに対向する電線通孔12c2を有している。
被装着体であるソケット本体11には、ゴム状弾性体製の一対の前記第3防水パッキン16が収容され、これら防水パッキン16の夫々には1本又は2本の電線45(図6〜図9参照)が挿入される。電線45は前記器具本体2内に配線されるリード線であり、その芯線45aは、第3防水パッキン16を貫通して螺合部22内に挿入され、その挿入に伴い前記電線通孔12c2に通されて電線鎖錠片12c1と金具ベース12aとの間に自己鎖錠式に挟持されるようになっている。
次に、電線45の差込み部の防水装置について図6〜図8等を参照して説明する。ソケット本体11には、一端をベース部21の裏面に開口し、他端を螺合部22に開口する一対のパッキン装着孔47が開けられている。各パッキン装着孔47は先細状をなす一対の孔端部47a(図7参照)を螺合部22側に有しており、これら孔端部47aの先端開口47bは前記電線通孔12c2に直接対向し連続している。第3防水パッキン16一端で一対の閉じ部52,52の外周にはパッキン挿入方向に垂直に平面部が形成され、パッキン装着孔47の孔端部47aの一端側にはパッキン装着孔47内面から突出した平坦部が電線通孔12c2に連通するように形成されている。
両パッキン装着孔47に夫々圧入嵌合して装着される第3防水パッキン16は、その軸方向に延びる一対の電線通し穴51を有している。この通し穴51には電線45が貫通されるが、この貫通以前の段階で電線通し穴51は電線45によって突き破られる閉じ部52で塞がれている。図8(B)に示すように閉じ部52の中央部には外部に露出する凹み52aが設けられて、この凹み対応部分は他のパッキン部分より薄肉になっている。第3防水パッキン16に電線45が1本しか通されない場合、電線45が通されない方の電線通し穴51はその閉じ部52によって浸水を防止する。図6及び図7に示すように第3防水パッキン16は、その閉じ部52をパッキン装着孔47の奥側に位置するように向きを定めてパッキン装着孔47に嵌入されている。
第3防水パッキン16の外周面には、パッキン装着孔47の内周面に密接して防水を図るための複数の外向き凸条53が一体に突設されている。これらの凸条53は、第3防水パッキン16の軸方向に所定間隔毎に設けられていて、夫々第3防水パッキン16の外周面に沿って環状に連続している。しかも、図8(B)に示される閉じ部52側の外向き凸条53aは、パッキン装着孔47の奥側内周面に密接するように閉じ部52と略同じ高さ位置、つまり、第3防水パッキン16の嵌入方向先端側端部の外周面に形成されている。
図8(B)に示すように各電線通し穴51の内周面の夫々には、この穴51に通された電線45の絶縁被覆(外周面)に密接して防水を図るための複数の内向き凸条54が一体に突設されている。これらの凸条54は、第3防水パッキン16の軸方向に所定間隔毎に設けられていて、夫々電線通し穴51の内周面に沿って環状に連続している。各内向き凸条54と各外向き凸条53とは防水パッキン16の軸方向で同じ高さ位置に対応して設けられているとともに、各内向き凸条53の根元部の幅Cが各外向き凸条53の根元部の幅Dより小さく形成されていて、各内向き凸条54の方が各外向き凸条53よりも弾性変形し易くしてある。
前記構成の第3防水パッキン16は、図6、図7に示すように閉じ部52がある端部を先頭にしてパッキン装着孔47に嵌合することによりソケット本体11に装着される。この組込み作業において、各外向き凸条54が部分的にパッキン装着孔47の内周面に接するので、第3防水パッキン16の外周面全体がパッキン装着孔47の内周面に接触して大きな摩擦抵抗を生じることはない。そのため、前記組込みに際しての摩擦抵抗が低減され、パッキン装着孔47への第3防水パッキン16の組込み作業を容易に実施できる。
ソケット本体11に装着された第3防水パッキン16に対しては、その電線通し穴51に電源供給用又は送り用のうち少なくとも電源供給用の電線45が通される。この通線作業において、各内向き凸条54が部分的に電線45の外周面に接するので、電線45の外周面全体が電線通し穴51の内周面に接触して大きな摩擦抵抗を生じることはない。そのため、前記通線作業に際しての摩擦抵抗が低減され、第3防水パッキン16に電線45を容易に貫通させることができる。
この通線作業において電線45の芯線45aは前記閉じ部52を突き破る。この場合、閉じ部52の中央部に凹み52aを設けてそこだけ薄肉にしてあるので、閉じ部52に電線45を貫通させる際に、芯線45aが突き破って前記薄肉部分に形成された孔は、閉じ部52の肉厚差によって前記突き破りに伴い瞬間的に凹み52aの大きさ一杯まで広げられる。そのため、通線作業を容易にできる。なお、閉じ部52全体を厚肉に形成すると、電線45の所定の差込み寸法では突き破ることが困難になることがあり、又、閉じ部52全体を薄肉に形成すると、その弾性変形が容易になるので、電線45の差込みに追従して薄肉部が芯線45aに押されて延びて、所定の差込み寸法では突き破られなかったり、又、突き破れたとしても絶縁被覆に薄肉部が引っ掛かったりすることがあり、通線作業上不便である。
前記通線作業により電線45の芯線45aは第3防水パッキン16を貫通するが、このパッキン16の外向き凸条53aはパッキン装着孔47の奥部内周面に密接していて、防水パッキン16の前記端子金具12側の端部が自由に動いたり傾いたりしないように位置規制しているので、このパッキン16を貫通する芯線45aを、パッキン装着孔47の先端開口47bに向けて真っ直ぐ通すことができる。この点においても、電線45の通線抵抗を少なくできるので通線作業を容易にできる。また、第3防水パッキン16の一方の端部で閉じ部52の外周に形成された平面部が電線挿通孔12c2に連続する平坦部に当接されるので、電線45で閉じ部52を突き破る際に平面部が平坦部に当接された状態で閉じ部52を突き破ることが可能となり、電線45の挿入作業が容易になる。
このような通線作業に伴い、芯線45aはパッキン装着孔47の先端開口47bを通り抜けて螺合部22内に挿入されるから、前記のように導かれる芯線45aは、端子金具12に対して斜めになるようなことがなく、この金具12の電線通孔12c2を通って電線鎖錠片12c1を押し開きながら挿入される。そのため、芯線45aは、電線鎖錠片12c1と端子金具12の金具ベース12aとの間に自己鎖錠式に挟着されて、この端子金具12に機械的かつ電気的に差込み接続される。
前記電線差込み部での防水は以下のようになされている。つまり、第3防水パッキン16の外周面の環状をなす複数の外向き凸条53がパッキン装着孔47の内周面に密接しており、同様に、第3防水パッキン16の電線通し穴51の内周面の環状をなす複数の内向き凸条54が電線通し穴51に通線された電線45の外周面に密接している。しかも、既述の手順で第3防水パッキン16をパッキン装着孔47に嵌合させると、その外向き凸条53が最短距離にある内向き凸条54を電線通し穴51の中心部側に変位させているため、電線45の前記通線に伴って、各内向き凸条54を電線45の外周面により強く密接させることができるとともに、この時の反作用によって各外向き凸条53をパッキン装着孔47の内周面により強く密接させることができる。
このようなパッキン装着孔47の内周面への第3防水パッキン16の各外向き凸条53の密接により、第3防水パッキン16とパッキン装着孔47の内周面との間の防水性を確保できるとともに、電線45の外周面への第3防水パッキン16の各内向き凸条54の密接により、第3防水パッキン16と電線45との間の防水性を確保できる。
しかも、前記のように複数の外向き凸条53及び複数の内向き凸条54に依存して電線差込み部の防水を行なうことにより、パッキン装着孔47の内周面への密接箇所を軸方向に非連続に分断するとともに、電線45への密接箇所も軸方向に非連続に分断しているので、毛細管現象による水の浸入を抑制できる。そのため、第3防水パッキン16に通された電線45が横向きに引張られて、この引張り側と反対側において第3防水パッキン16とパッキン装着孔47の内周面との間に楔状の隙間ができたとしても、この隙間よりも奥側の外向き凸条53及び内向き凸条54によって水の浸入を防止することができる。
そして、既述のように外向き凸条53の根元部の幅Dより内向き凸条54の根元部の幅Cが小さいから、電線通し穴51に通される電線45の径のばらつきに応じて内向き凸条54を変形させ易く、通線作業が容易になる。これとともに、相対的に根元部の幅が大きな外向き凸条53は変形が少なく、パッキン装着孔47への第3防水パッキン16の保持力を向上できるので、通線された電線45に引き抜き力が加わったときにも、第3防水パッキン16をパッキン装着孔47に安定して保持できる。
又、前記ソケット本体11の螺合部22には締付け筒アセンブリ14が取外し可能に接続されている。このアセンブリ14の締付け筒17は、ソケット本体11と同種の白色系硬質合成樹脂製であって、前後両端が開口された円筒状をなしている。図9に示されるように締付け筒17の前端開口部には、この筒17の内周面から略直角に折れ曲がるように内向き縁部31が形成され、同筒17の後部内周面には螺合部22の雄ねじ部25に螺合する雌ねじ部32が形成されている。更に、図9(B)に示すように締付け筒17の後端開口部には、当接端面33とパッキン挟み面34とが夫々全周にわたり形成されている。当接端面33は締付け筒17の後端面の外周側部分で形成され、パッキン挟み面34は当接端面33の内側にテーパ状をなして連なって形成されている。このパッキン挟み面34の外径Aは第2防水パッキン15の外径Bと略等しい。締付け筒17はその雌ねじ部32を螺合部22の雄ねじ部25に螺合して、螺合部22及びこの螺合部22に取付けられた蛍光ランプ7の端部外周面を覆い隠してソケット本体11に取外し可能に取付けられる。
締付け筒17内には、硬質合成樹脂製の前記スリップリング18が内向き縁部31の内面に接して収容されている。更に締付け筒17内には、いずれもリング状に成形された前記第1防水パッキン13とパッキン押え19とが夫々収容されていて、ゴム状弾性体製の第1防水パッキン13は、硬質合成樹脂製のパッキン押え19とスリップリング18との間に挟設されている。第1防水パッキン13の前端面と前記内向き縁部31との間に介装されたスリップリング18は、締付け筒17を締付け方向に回転操作する際にこの筒17が第1防水パッキン13に対して回転し易くするために使用されている。
図3、図10に示すように第1防水パッキン13は、その軸方向略中央部外周面に環状の凸条36と、この凸条36を境に前記内向き縁部31側寄りの外周面に環状の凹み37とを夫々設けているとともに、前記中央部内周面に凸条36の裏側に位置して環状の凹条38を設けている。ビード状をなす凸条36は締付け筒17の内周面に密接するものであり、凹み37は断面円弧状の溝形成面をもって形成されている。
パッキン押え19は、第1防水パッキン13の最小内径より僅かに小さい内径を有したリングであって、第1防水パッキン13の後部内面に形成した拡大内径部39の内周面に嵌合して取付けられている。このパッキン押え19の後端部には、第1防水パッキン13の後端面に当接する外向きのフランジ41が形成されているとともに、このフランジ41から複数の係合突起42が後方に突出されている。係合凸部42は前記係合凹部28と同数等間隔に設けられていて、これらの凹凸係合によりパッキン押え19は固定側部材としてのソケット本体11に対して周方向に回らないように位置規制されるようになっている。
次に、前記構成の防水ソケット5に蛍光ランプ7を支持させる手順を説明する。まず、締付け筒17内にスリップリング18、第1防水パッキン13、及びパッキン押え19が予め収容されてなる締付け筒アセンブリ14の内側に、蛍光ランプ7の端部を貫通させて置き、この状態で蛍光ランプ7をソケット本体11に取付ける。
この取付けは以下の手順で行われる。つまり、蛍光ランプ7の口金7aから突設された2本のランプピン7bを上下に並べた姿勢にして、これらランプピン7bを前記ランプピン通過溝26から螺合部22内に挿入し、次に、蛍光ランプ7を90度回動させる。それにより、両端子金具12が2本のランプピン7bによって夫々弾性変形されるとともに、これら金具12間に2本のランプピン7bが弾性的に挟持され、こうして蛍光ランプ7が取付けられる。なお、この逆の手順によりソケット本体11から蛍光ランプ7を取外すことができる。
こうしてソケット本体11への蛍光ランプ7を取付けた後、締付け筒アセンブリ14をソケット本体11側に移動するとともに、その締付け筒17を回転させてソケット本体11の螺合部22に螺合させる。このねじ込み操作により、図9(B)の状態を経て図9(A)に示されるように締付け筒アセンブリ14がソケット本体11に取付けられる。すなわち、以上の手順により蛍光ランプ7がソケット本体11に取付けられる。
この組立てに伴って螺合部22に対する防水装置が構成される。すなわち、螺合部22への締付け筒17の締付け(螺合)に伴い、螺合部22の前面壁24にパッキン押え19のフランジ41が当接した時点から第1防水パッキン13はその軸方向に押されて圧縮される。この場合に、パッキン押え19の係合凸部42がソケット本体11の前面壁24の係合凹部28に係合するので、パッキン押え19はソケット本体11に対して回り止めされて、第1防水パッキン13を軸方向に押圧する。こうした圧縮により、環状凹条38の相対向する内面が互いに接するように第1防水パッキン13が弾性変形し、この挙動によって、環状の凸条36を外周側に押出されるように拡径させるとともに、環状の凹み37を内周側に変形するように縮径させることができる。
したがって、第1防水パッキン13を貫通している蛍光ランプ7のバルブ端部外周に凹み37の裏側部分が密接するとともに、外側に盛上がる第1防水パッキン13の環状凸条36が締付け筒17の内周面に密接するから、締付け筒アセンブリ14とこれに通された蛍光ランプ7の端部外周との間の防水を第1防水パッキン13のシール性によって確保できる。この防水装置は図9(A)に示されている。
そして、前記取付け手順において締付け筒17の螺合完了間際には、この筒17のパッキン挟み面34が、予めソケット本体11に嵌合されている第2防水パッキン15に当接し、このパッキン15をソケット本体11のパッキン受け部23側、正確にはパッキン挟み面34のテーパと直角な内側方向に押圧する。そのため、第2防水パッキン15はその内側に縮むように弾性変形してパッキン挟み面34とパッキン受け部23及び螺合部22の根元部22aとの間に挟着されるから、これらパッキン挟み面と34パッキン受け部23との間の防水を、第2防水パッキン15のシール性によって確保できる。しかも、締付け筒17の締付け操作は、パッキン挟み面34の外側に連なった締付け筒17の当接端面33がパッキン受け部23に当接することによって完了する。
このような硬質部材同士の当接により締付け筒17の締付け完了時期を容易かつ明確に知ることができるので、締付け筒17の締付け作業上有利である。それに伴い締付け筒17を過度にまわしてねじ込むことを防止できるので、強すぎる締付け力を考慮して防水ソケット5のソケット取付け台4への取付け強度を特別に強くする必要をなくすことができる。
そして、既述の取付けによりパッキン受け部23に当接した締付け筒17によって、第2防水パッキン15は覆い隠されて外部に露出することがない。そのため、白色系のソケット本体11及び締付け筒17間に対して、これらとは異質な黒色系の第2防水パッキン15が視認されることがなくなり、したがって、防水ソケット5ひいてはこれを備えた防水型照明器具1の外観を向上できる。しかも、第2防水パッキン15を締付け筒17で覆って保護できるので、第2防水パッキン15の耐候性が向上され、その長寿化を実現できる。なお、前記構成に代えて、テーパ状のパッキン挟み面を有しない締付け筒17の平坦な後端面とパッキン受け部23との間に、第2防水パッキン15が外部に露出するように挟んでソケット本体11と締付け筒17との間の防水を図るようにしてもよい。
1…照明器具
2…器具本体
4…ソケット取付け台
5…防水ソケット
7…蛍光ランプ
7b…蛍光ランプのランプピン
11…ソケット本体(被装着体)
12…端子金具
12a…端子金具の金具ベース
12b…端子金具のランプピン接触片
12c…端子金具の電線接続部
16…第3防水パッキン
45…電線
45a…電線の芯線
47…パッキン装着孔
51…電線通し穴
52…閉じ部
52a…閉じ部の凹み
53、53a…外向き凸条
54…内向き凸条

Claims (7)

  1. パッキン装着孔を有する被装着体と、
    電線が通される一対の電線通し穴、前記電線通し穴を塞ぐ閉じ部、外周面から一体に突設して前記パッキン装着孔の内周面に密接する複数の環状の外向き凸条、及び前記電線通し穴の内周面から一体に突設して前記電線の外周面に密接する複数の環状の内向き凸条を有してなり、前記パッキン装着孔に嵌合されるゴム状弾性体製の防水パッキンと、
    を具備し
    防水パッキンには、閉じ部の外周でパッキン挿入方向に垂直に平面部が形成され、被装着体には、パッキン装着孔の一端に前記平面部に当接する平坦部が形成されていることを特徴とする電線差込み部の防水装置。
  2. 前記外向き凸条と前記内向き凸条とを前記防水パッキンの軸方向で同じ位置に設けたことを特徴とする請求項1に記載の電線差込み部の防水装置。
  3. 前記内向き凸条の根元部の幅を前記外向き凸条の根元部の幅より小さくしたことを特徴とする請求項1又は2に記載の電線差込み部の防水装置。
  4. 前記パッキン装着孔への前記防水パッキンの嵌入方向先端側端部の外周面に、前記外向き凸条のうちの一つを配設したことを特徴とする請求項1〜3の内のいずれか1項に記載の電線差込み部の防水装置。
  5. 前記防水パッキンがその電線通し穴を塞ぐ閉じ部を一体に有し、この閉じ部の中央部を凹ませて薄肉としたことを特徴とする前記請求項1〜4の内のいずれか1項に記載の電線差込み部の防水装置。
  6. ランプのランプピンが着脱可能に接続されるランプピン接触片及び電線接続部を有する一対の端子金具と、
    これら端子金具を内蔵するとともに、前記電線接続部と対向するパッキン装着孔を有したソケット本体と、
    電線が通される一対の電線通し穴、前記電線通し穴を塞ぐ閉じ部、外周面から一体に突設して前記パッキン装着孔の内周面に密接する複数の環状の外向き凸条、及び前記電線通し穴の内周面から一体に突設して前記電線の外周面に密接する複数の環状の内向き凸条を有してなり、前記パッキン装着孔に嵌合されるゴム状弾性体製の防水パッキンと、
    を具備し
    防水パッキンには、閉じ部の外周でパッキン挿入方向に垂直に平面部が形成され、被装着体には、パッキン装着孔の一端に前記平面部に当接する平坦部が形成されていることを特徴とする防水ソケット。
  7. 器具本体と、
    この器具本体に取付けられたソケット取付け台と、
    この取付け台に取付けられた請求項6に記載の防水ソケットと、
    この防水ソケットに支持される直管形のランプと、
    を具備したことを特徴とする照明器具。
JP2009277523A 2009-12-07 2009-12-07 電線差込み部の防水装置及び防水ソケット並びにこれを用いた照明器具 Expired - Lifetime JP4831229B2 (ja)

Priority Applications (1)

Application Number Priority Date Filing Date Title
JP2009277523A JP4831229B2 (ja) 2009-12-07 2009-12-07 電線差込み部の防水装置及び防水ソケット並びにこれを用いた照明器具

Applications Claiming Priority (1)

Application Number Priority Date Filing Date Title
JP2009277523A JP4831229B2 (ja) 2009-12-07 2009-12-07 電線差込み部の防水装置及び防水ソケット並びにこれを用いた照明器具

Related Parent Applications (1)

Application Number Title Priority Date Filing Date
JP2007107523A Division JP4761165B2 (ja) 2007-04-16 2007-04-16 蛍光ランプおよび照明装置

Publications (2)

Publication Number Publication Date
JP2010056096A JP2010056096A (ja) 2010-03-11
JP4831229B2 true JP4831229B2 (ja) 2011-12-07

Family

ID=42071740

Family Applications (1)

Application Number Title Priority Date Filing Date
JP2009277523A Expired - Lifetime JP4831229B2 (ja) 2009-12-07 2009-12-07 電線差込み部の防水装置及び防水ソケット並びにこれを用いた照明器具

Country Status (1)

Country Link
JP (1) JP4831229B2 (ja)

Families Citing this family (2)

* Cited by examiner, † Cited by third party
Publication number Priority date Publication date Assignee Title
US8602803B2 (en) 2011-06-23 2013-12-10 Panasonic Corporation Waterproof socket and illumination apparatus
US20130334776A1 (en) * 2012-06-13 2013-12-19 Remy Technologies, L.L.C. Machine housing having a conductor seal system

Family Cites Families (5)

* Cited by examiner, † Cited by third party
Publication number Priority date Publication date Assignee Title
FR2366103A1 (fr) * 1976-05-18 1978-04-28 Essilor Int Bloc de montage d'une lentille sur une machine a deborder et biseauter les lentilles ophtalmiques
JPS6013681A (ja) * 1983-06-30 1985-01-24 横河電機株式会社 容器のオ−バ−フロ−検知遮断システム
JPS6240707A (ja) * 1985-08-15 1987-02-21 Ckd Corp 2線式ラツチ型ソレノイド
JPH10247546A (ja) * 1993-09-20 1998-09-14 Sumitomo Wiring Syst Ltd 防水コネクタ用ゴム栓
GB9408755D0 (en) * 1994-05-03 1994-06-22 Amp Gmbh Integral seal and strain relief member for a connector

Also Published As

Publication number Publication date
JP2010056096A (ja) 2010-03-11

Similar Documents

Publication Publication Date Title
US7137721B1 (en) Weatherproof outdoor pivoting light assembly
TWI472113B (zh) Cable fixture
JP4775907B2 (ja) 防水型コネクタ及び中継コネクタ
US20110235977A1 (en) Connector
US20110237138A1 (en) Connector
US7207840B2 (en) Plug and waterproof connector with plug
TWM583637U (zh) 電連接裝置
KR100985777B1 (ko) 케이블 연결 장치
JP4761165B2 (ja) 蛍光ランプおよび照明装置
JP4831229B2 (ja) 電線差込み部の防水装置及び防水ソケット並びにこれを用いた照明器具
JP6857557B2 (ja) コネクタ
JP2000348840A (ja) 電線差込み部の防水装置及び防水ソケット並びにこれを用いた照明器具
WO2014192517A1 (ja) 防水コネクタ
JP3982117B2 (ja) 防水ソケット及び照明器具
JP6262895B2 (ja) コネクタ装置
JP3548685B2 (ja) 防水ソケット
JP6096599B2 (ja) コネクタ装置
JP3921874B2 (ja) 挟み込み形ランプソケット及び照明器具
CN213513554U (zh) 一种灯杆连接组件及灯具
JPH09510577A (ja) 電源電圧ランプ及びそのランプ用ランプ保持器
JP2006147353A (ja) コネクタ
KR101035182B1 (ko) 전구소켓, 그 전구소켓의 와이어 씰 및 접속단자
US20040043667A1 (en) Connector structure for rope light
CN112283628A (zh) 一种灯杆连接组件及灯具
JPH0421264Y2 (ja)

Legal Events

Date Code Title Description
A621 Written request for application examination

Free format text: JAPANESE INTERMEDIATE CODE: A621

Effective date: 20091209

A521 Written amendment

Free format text: JAPANESE INTERMEDIATE CODE: A523

Effective date: 20091215

A131 Notification of reasons for refusal

Free format text: JAPANESE INTERMEDIATE CODE: A131

Effective date: 20110602

A521 Written amendment

Free format text: JAPANESE INTERMEDIATE CODE: A523

Effective date: 20110728

TRDD Decision of grant or rejection written
A01 Written decision to grant a patent or to grant a registration (utility model)

Free format text: JAPANESE INTERMEDIATE CODE: A01

Effective date: 20110823

A01 Written decision to grant a patent or to grant a registration (utility model)

Free format text: JAPANESE INTERMEDIATE CODE: A01

A61 First payment of annual fees (during grant procedure)

Free format text: JAPANESE INTERMEDIATE CODE: A61

Effective date: 20110905

R151 Written notification of patent or utility model registration

Ref document number: 4831229

Country of ref document: JP

Free format text: JAPANESE INTERMEDIATE CODE: R151

FPAY Renewal fee payment (event date is renewal date of database)

Free format text: PAYMENT UNTIL: 20140930

Year of fee payment: 3

EXPY Cancellation because of completion of term