JP4829397B2 - 改良された電気化学的センサ設計 - Google Patents
改良された電気化学的センサ設計 Download PDFInfo
- Publication number
- JP4829397B2 JP4829397B2 JP2000228240A JP2000228240A JP4829397B2 JP 4829397 B2 JP4829397 B2 JP 4829397B2 JP 2000228240 A JP2000228240 A JP 2000228240A JP 2000228240 A JP2000228240 A JP 2000228240A JP 4829397 B2 JP4829397 B2 JP 4829397B2
- Authority
- JP
- Japan
- Prior art keywords
- working electrode
- electrode
- base
- sensor
- working
- Prior art date
- Legal status (The legal status is an assumption and is not a legal conclusion. Google has not performed a legal analysis and makes no representation as to the accuracy of the status listed.)
- Expired - Lifetime
Links
- 238000013461 design Methods 0.000 title description 2
- 239000012530 fluid Substances 0.000 claims abstract description 31
- 239000012491 analyte Substances 0.000 claims abstract description 16
- 238000006243 chemical reaction Methods 0.000 claims abstract description 13
- 102000004190 Enzymes Human genes 0.000 claims abstract description 7
- 108090000790 Enzymes Proteins 0.000 claims abstract description 7
- 238000004891 communication Methods 0.000 claims abstract description 5
- 238000011144 upstream manufacturing Methods 0.000 claims abstract description 5
- 229920001477 hydrophilic polymer Polymers 0.000 claims description 4
- 229940088598 enzyme Drugs 0.000 claims 3
- 108010015776 Glucose oxidase Proteins 0.000 claims 1
- 239000004366 Glucose oxidase Substances 0.000 claims 1
- 229940116332 glucose oxidase Drugs 0.000 claims 1
- 235000019420 glucose oxidase Nutrition 0.000 claims 1
- 238000012360 testing method Methods 0.000 abstract description 25
- 238000000034 method Methods 0.000 abstract description 6
- 239000002585 base Substances 0.000 description 24
- 239000008280 blood Substances 0.000 description 12
- 210000004369 blood Anatomy 0.000 description 12
- 239000004417 polycarbonate Substances 0.000 description 7
- 229920000515 polycarbonate Polymers 0.000 description 7
- WQZGKKKJIJFFOK-GASJEMHNSA-N Glucose Natural products OC[C@H]1OC(O)[C@H](O)[C@@H](O)[C@@H]1O WQZGKKKJIJFFOK-GASJEMHNSA-N 0.000 description 6
- 239000003153 chemical reaction reagent Substances 0.000 description 6
- 239000008103 glucose Substances 0.000 description 6
- 239000000976 ink Substances 0.000 description 5
- 238000005259 measurement Methods 0.000 description 5
- -1 polyethylene terephthalate Polymers 0.000 description 4
- 229920000139 polyethylene terephthalate Polymers 0.000 description 4
- 239000005020 polyethylene terephthalate Substances 0.000 description 4
- OKTJSMMVPCPJKN-UHFFFAOYSA-N Carbon Chemical compound [C] OKTJSMMVPCPJKN-UHFFFAOYSA-N 0.000 description 3
- 102000004316 Oxidoreductases Human genes 0.000 description 3
- 108090000854 Oxidoreductases Proteins 0.000 description 3
- 229910052799 carbon Inorganic materials 0.000 description 3
- 238000002848 electrochemical method Methods 0.000 description 3
- 239000011888 foil Substances 0.000 description 3
- 239000000463 material Substances 0.000 description 3
- 229910052751 metal Inorganic materials 0.000 description 3
- 239000002184 metal Substances 0.000 description 3
- 125000006850 spacer group Chemical group 0.000 description 3
- NIXOWILDQLNWCW-UHFFFAOYSA-M Acrylate Chemical compound [O-]C(=O)C=C NIXOWILDQLNWCW-UHFFFAOYSA-M 0.000 description 2
- LYCAIKOWRPUZTN-UHFFFAOYSA-N Ethylene glycol Chemical compound OCCO LYCAIKOWRPUZTN-UHFFFAOYSA-N 0.000 description 2
- 239000000853 adhesive Substances 0.000 description 2
- 230000001070 adhesive effect Effects 0.000 description 2
- 229910052782 aluminium Inorganic materials 0.000 description 2
- XAGFODPZIPBFFR-UHFFFAOYSA-N aluminium Chemical compound [Al] XAGFODPZIPBFFR-UHFFFAOYSA-N 0.000 description 2
- 238000004364 calculation method Methods 0.000 description 2
- YAGKRVSRTSUGEY-UHFFFAOYSA-N ferricyanide Chemical compound [Fe+3].N#[C-].N#[C-].N#[C-].N#[C-].N#[C-].N#[C-] YAGKRVSRTSUGEY-UHFFFAOYSA-N 0.000 description 2
- 150000002303 glucose derivatives Chemical class 0.000 description 2
- 238000005304 joining Methods 0.000 description 2
- 239000000203 mixture Substances 0.000 description 2
- 238000003825 pressing Methods 0.000 description 2
- 238000007639 printing Methods 0.000 description 2
- 238000007650 screen-printing Methods 0.000 description 2
- 229910052709 silver Inorganic materials 0.000 description 2
- 239000004332 silver Substances 0.000 description 2
- 229920002554 vinyl polymer Polymers 0.000 description 2
- 229920002134 Carboxymethyl cellulose Polymers 0.000 description 1
- 239000004677 Nylon Substances 0.000 description 1
- 229920003171 Poly (ethylene oxide) Polymers 0.000 description 1
- 229910021607 Silver chloride Inorganic materials 0.000 description 1
- 230000002159 abnormal effect Effects 0.000 description 1
- VSCWAEJMTAWNJL-UHFFFAOYSA-K aluminum chloride Substances Cl[Al](Cl)Cl VSCWAEJMTAWNJL-UHFFFAOYSA-K 0.000 description 1
- 238000013459 approach Methods 0.000 description 1
- 235000010948 carboxy methyl cellulose Nutrition 0.000 description 1
- 239000001768 carboxy methyl cellulose Substances 0.000 description 1
- 239000008112 carboxymethyl-cellulose Substances 0.000 description 1
- 239000013626 chemical specie Substances 0.000 description 1
- 239000004020 conductor Substances 0.000 description 1
- 235000019788 craving Nutrition 0.000 description 1
- 239000013078 crystal Substances 0.000 description 1
- 238000013016 damping Methods 0.000 description 1
- 238000001514 detection method Methods 0.000 description 1
- 230000004064 dysfunction Effects 0.000 description 1
- 238000004049 embossing Methods 0.000 description 1
- 238000006911 enzymatic reaction Methods 0.000 description 1
- WGCNASOHLSPBMP-UHFFFAOYSA-N hydroxyacetaldehyde Natural products OCC=O WGCNASOHLSPBMP-UHFFFAOYSA-N 0.000 description 1
- 239000007788 liquid Substances 0.000 description 1
- 238000004519 manufacturing process Methods 0.000 description 1
- 230000013011 mating Effects 0.000 description 1
- VNWKTOKETHGBQD-UHFFFAOYSA-N methane Chemical compound C VNWKTOKETHGBQD-UHFFFAOYSA-N 0.000 description 1
- 229920001778 nylon Polymers 0.000 description 1
- 229920003023 plastic Polymers 0.000 description 1
- 239000004033 plastic Substances 0.000 description 1
- 229920000058 polyacrylate Polymers 0.000 description 1
- 229920000642 polymer Polymers 0.000 description 1
- 229920002959 polymer blend Polymers 0.000 description 1
- 229920002635 polyurethane Polymers 0.000 description 1
- 239000004814 polyurethane Substances 0.000 description 1
- 239000004800 polyvinyl chloride Substances 0.000 description 1
- 229920000915 polyvinyl chloride Polymers 0.000 description 1
- 238000007789 sealing Methods 0.000 description 1
- HKZLPVFGJNLROG-UHFFFAOYSA-M silver monochloride Chemical compound [Cl-].[Ag+] HKZLPVFGJNLROG-UHFFFAOYSA-M 0.000 description 1
- 239000000126 substance Substances 0.000 description 1
- 239000012085 test solution Substances 0.000 description 1
- 229920001169 thermoplastic Polymers 0.000 description 1
- 239000012815 thermoplastic material Substances 0.000 description 1
- 229920001187 thermosetting polymer Polymers 0.000 description 1
- 239000004416 thermosoftening plastic Substances 0.000 description 1
- 238000012546 transfer Methods 0.000 description 1
- 125000000391 vinyl group Chemical group [H]C([*])=C([H])[H] 0.000 description 1
- 238000005303 weighing Methods 0.000 description 1
- 238000003466 welding Methods 0.000 description 1
Images
Classifications
-
- C—CHEMISTRY; METALLURGY
- C12—BIOCHEMISTRY; BEER; SPIRITS; WINE; VINEGAR; MICROBIOLOGY; ENZYMOLOGY; MUTATION OR GENETIC ENGINEERING
- C12Q—MEASURING OR TESTING PROCESSES INVOLVING ENZYMES, NUCLEIC ACIDS OR MICROORGANISMS; COMPOSITIONS OR TEST PAPERS THEREFOR; PROCESSES OF PREPARING SUCH COMPOSITIONS; CONDITION-RESPONSIVE CONTROL IN MICROBIOLOGICAL OR ENZYMOLOGICAL PROCESSES
- C12Q1/00—Measuring or testing processes involving enzymes, nucleic acids or microorganisms; Compositions therefor; Processes of preparing such compositions
- C12Q1/001—Enzyme electrodes
-
- G—PHYSICS
- G01—MEASURING; TESTING
- G01N—INVESTIGATING OR ANALYSING MATERIALS BY DETERMINING THEIR CHEMICAL OR PHYSICAL PROPERTIES
- G01N27/00—Investigating or analysing materials by the use of electric, electrochemical, or magnetic means
- G01N27/26—Investigating or analysing materials by the use of electric, electrochemical, or magnetic means by investigating electrochemical variables; by using electrolysis or electrophoresis
- G01N27/28—Electrolytic cell components
- G01N27/30—Electrodes, e.g. test electrodes; Half-cells
- G01N27/327—Biochemical electrodes, e.g. electrical or mechanical details for in vitro measurements
- G01N27/3271—Amperometric enzyme electrodes for analytes in body fluids, e.g. glucose in blood
- G01N27/3274—Corrective measures, e.g. error detection, compensation for temperature or hematocrit, calibration
Landscapes
- Health & Medical Sciences (AREA)
- Chemical & Material Sciences (AREA)
- Life Sciences & Earth Sciences (AREA)
- Organic Chemistry (AREA)
- Zoology (AREA)
- Biochemistry (AREA)
- Hematology (AREA)
- Engineering & Computer Science (AREA)
- General Health & Medical Sciences (AREA)
- Immunology (AREA)
- Proteomics, Peptides & Aminoacids (AREA)
- Molecular Biology (AREA)
- Analytical Chemistry (AREA)
- Wood Science & Technology (AREA)
- Physics & Mathematics (AREA)
- General Engineering & Computer Science (AREA)
- Electrochemistry (AREA)
- Microbiology (AREA)
- Biotechnology (AREA)
- Genetics & Genomics (AREA)
- Biophysics (AREA)
- Chemical Kinetics & Catalysis (AREA)
- Bioinformatics & Cheminformatics (AREA)
- General Physics & Mathematics (AREA)
- Pathology (AREA)
- Investigating Or Analysing Biological Materials (AREA)
- Apparatus Associated With Microorganisms And Enzymes (AREA)
- Electric Double-Layer Capacitors Or The Like (AREA)
- Primary Cells (AREA)
- Battery Electrode And Active Subsutance (AREA)
- Measurement Of The Respiration, Hearing Ability, Form, And Blood Characteristics Of Living Organisms (AREA)
Description
【従来技術】
本発明は、液体試料中の特定成分(分析対象物)の計量に使用することができる電気化学的バイオセンサに関する。考慮されるタイプの電気化学的バイオセンサは、米国特許第5,120,420号および第5,264,103号明細書に開示されている。これらの試験具は、炭素電極がプリントされた絶縁ベースを有し、それらの電極は、分析対象物に特異的なオキシドレダクターゼと組み合わされた親水性ポリマーを含む試薬層で覆われている。これらの特許は、典型的に、略U字形の部品であるスペーサ要素と、カバーピースとを含み、ベース、スペーサ要素およびカバーピースが積層されると、試薬層によって覆われた電極を含む毛管空間が形成されるようになっている。オキシドレダクターゼに加えて、電子受容体が試薬層または毛管空間内の別の層に含まれる。水性試験流体を毛管空間に引き込みやすくするため、親水性ポリマー、たとえばカルボキシメチルセルロースが使用されている。
【0002】
米国特許第5,141,868号明細書には、電極が毛管空間内に含まれる別のセンサが開示されている。この参考文献は、ベースと、ベースに被着されるカバープレートとを合わせて、流体試料、たとえば血液を引き込むための毛管空間を形成することによってセンサを製造する方法を記載している。この設計に代わるものが米国特許第5,798,031号明細書に開示されており、センサは、融着されると毛管空間を形成する2個の部品、すなわちベースおよび凹形の蓋で構成されている。いずれの実施態様でも、作用電極および参照電極がベース上にスクリーンプリントされ、これらの電極が電気接続され、それらの間に電位が発生すると、電気化学的に発生する電流が流れるようになっている。
【0003】
これらの装置は、U字形のスペーサ要素を間に挟んだ状態で積層されるベースプレートおよび蓋を有し、U字形の部分が開口してベースとカバーとの間に毛管空間を提供するようになっている。センサの側面の開口を試験流体、たとえば血液の滴に触れさせると、その血液は毛管空間に引き込まれ、その結果、作用電極表面の反応層を覆う。オキシドレダクターゼとの酵素反応が、媒体、たとえばフェリシアン化物によって作用電極に運ばれ、作用電極を通過して、電流の大きさを計測する計器に達する電子の流れを生じさせる。参照電極はいくつかの目的に役立つ。第一に、作用電極が制御されるときに照らされる固定電位を提供する。第二に、2電極系、たとえば図1および2に示す系の場合、電気回路を完成させるために利用される。この形態では、作用電極に移送される各電子が参照電極側の試験溶液に戻される。装置のソフトウェアは、この電流の大きさを試料中の分析対象物の濃度と相関させるようにプログラムされている。この電流を流すためには、両電極を導電性試験流体で覆い、それらの間に電位を印加することによって完全な回路を形成する。
【0004】
この種のセンサにときどき伴う問題は、不十分な量の血液しか開口に適用されず、その結果、参照電極および作用電極が試料で完全には覆われず、電極間を流れる不完全な電流を生じさせるときに生じる。センサによって検出される分析対象物、たとえばグルコースの量は、検出計器の中を流れる電流に正比例するため、センサの電極を完全に覆うことができないと、血液試料のグルコース濃度の読みを人為的に低くするおそれがある。この適用不足問題を扱う一つの技術が、試料の量が少なすぎて正確な読みを提供することができない場合には応答が検出されないようにするための機構を含む米国特許第5,628,890号明細書に開示されている。この試験具は、試料適用点から試料を指向的に流すための試料移送経路を画定する細長い電極支持体を含む試験片を含む。作用電極が試料移送経路に配置され、カウンタまたは参照電極が、試料移送経路中、作用電極から下流に配置される。血液試料が作用電極を完全には覆うことができないならば、電流が流れることができる閉回路の不在により、読み取り機構から応答は得られない。
【0005】
【発明が解決しようとする課題】
不十分な試料しか電極に接触しなかった場合、それを積極的に使用者に知らせる電気化学的センサを提供することが望ましく、それが本発明の目的である。そのような通知を受けると、使用者は、正確な読みを得ることができず、センサを捨てて新品に代えるべきであることを知る。
【0006】
【課題を解決するための手段】
本発明は、流体試料、たとえば血液中の分析対象物、たとえばグルコースの濃度を検出するための電気化学的センサである。本センサは、
1)電流検出器と電気的に通じた作用電極と参照電極とを表面に有する、流体試料の流路を提供するベースと、
2)分析対象物と反応して、作用電極に移送される電子を生成する酵素を含む、作用電極表面上の反応層と、
3)ベース部材と合わさると、流体試料を導入するための開口を有する毛管空間を形成するカバーと、を含む。毛管空間は、参照電極および作用電極が含まれる流体試料の流路を包囲する。これらの電極は、ベース上で開口に対して位置し、参照電極の大部分が作用電極から開口の下流に位置するようになっている。参照電極は、作用電極の上流に位置するサブエレメントを含み、流体試料による毛管空間の不完全な充填によって参照電極のサブエレメントと作用電極との間でのみ電気的導通が起こると、流体試料中の分析対象物の濃度の有効な試験を成り立たせるには不十分な電流が検出器中を流れるようになっている。このような不十分な電流の場合、検出器がエラー信号を発して、試験が失敗であり、やり直すべきであることを使用者に知らせる。
【0007】
【発明の実施の形態】
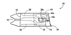
本発明が関連する電気化学的センサの構造を図1に示す。センサ34は、絶縁ベース36で構成され、このベースの上に、順に、導体パターン38、電極パターン39および40、絶縁(誘電)パターン42ならびに反応層44が通常、スクリーンプリント技術によってプリントされている。反応層の機能は、グルコースまたは流体試料中の別の分析対象物を化学量論的に化学種に転換することである。この化学種は、電極パターンの成分により、それが発生する電流に換算して電気化学的に計測可能である。反応層は通常、分析対象物と反応して電極パターン上に可動性電子を生成する酵素と、可動性電子を作用電極の表面に運ぶための電子受容体、たとえばフェリシアン化物塩とを含有する。反応層中の酵素は、親水性ポリマー、たとえばポリ(エチレンオキシド)と組み合わせることができる。電極プリントの2個の部品39および40は、本発明の要点である分析対象物の電気化学的測定に必要な作用電極39および参照電極40を提供する。作用電極および参照電極は、参照電極の大部分が作用電極39aの露出部分から下流(流路に沿って流体が流れる方向を基準にして)に位置するような方法で構成されている。この構造は、検出されない不十分な充填が起こったすべての場合に試験流体が作用電極の露出部分を完全に覆うことを許す利点を提供する。しかし、参照電極のサブエレメント40aは、作用電極上要素39aから上流に配置され、作用電極を完全に覆うのには不十分な量の流体、たとえば血液が毛管空間に入ると、血液試料の導電性により、参照電極サブエレメント40aと作用電極上部39aの露出部分との間に電気接続が形成されるようになっている。しかし、血液試料による接触に利用しうる参照電極の面積は小さいため、非常に弱い電流しか両電極の間、ひいては電流検出器の中を通過することができない。電流検出器を、それが受けた信号が所定レベルに満たないときにはエラー信号を発させるようプログラムすることにより、本発明のセンサ試験具は、不十分な血液しかセンサのキャビティに入っておらず、もう一回試験を実施すべきであることを使用者に積極的に忠告する。電極の具体的な寸法は重要ではないが、参照電極のサブエレメントの面積は通常、作用電極の面積の約10%未満であり、好ましくは約6%未満である。この要素は、スクリーンプリント法の制約を考慮して、できるだけ小さく作られる。また、反応層44をカウンタ電極のサブエレメント40aと接触させないことも考えられる。これは、参照電極サブエレメント40bの上には試薬インクをプリントせず、サブエレメントに試薬を渇望させる目的を果たし、それにより、サブエレメントが正しい参照電極として機能することを許さないスクリーンを製造することによって達成され、その結果、試験流体が参照電極40の大部分と接触することができない場合にエラー条件が達成される。サブエレメント40aは、参照電極40に物理的に接続し、したがってその一部であるとして描写されているが、そのような物理的接続は重要ではない。そのようなサブエレメントは、それ自体のコネクタを備え、センサが検出器への第三の接点を備えるならば、参照電極の残り部分から物理的に切り離すこともできる。
【0008】
プリント電極の2個の部分39および40が、分析対象物の電気化学的測定に必要な作用電極および参照電極を提供する。厚さ約14μ(0.00055インチ)である電極インクは、通常、電気化学的に活性な炭素を含有する。導体インクの成分は、電極と、電極がセンサ45の尾ビレ状端部の導電パターンとの接触を介して動作的に接続する計器との間に低化学抵抗路を提供するように選択される、炭素と銀の混合物である。参照電極は銀/塩化銀からなることもできるが、炭素が好ましい。誘電パターンの機能は、電極パターンの中央に近い画定区域を除き、電極を流体試料から絶縁して、計器読みの再現精度を高めることである。計測される電流は、分析対象物の濃度と、分析対象物含有試料にさらされる反応層の面積の両方に依存するため、画定区域はこのタイプの電気化学的測定に重要である。典型的な誘電層42は、厚さ約10μ(0.0004インチ)であるUV硬化アクリレート改質ポリメタンを含む。凹形空間48を提供し、通常は変形性材料の平坦なシート材を型押しすることによって形成される蓋46は、通気口50を設けるために穿孔され、シール処理でベース36に接合される。蓋とベースは、まずベースと蓋を整合させたのち、振動ヒートシール部材もしくはホーンと固定あご(stationary jawl)との間でプレスする音波溶接によってシールすることができる。ホーンは、型押しされていない平坦な蓋の領域とでのみ接触が起こるような形状である。金属ホーンに振動を励起するには、クリスタルまたは他の変換器からの超音波エネルギーを使用する。この機械的エネルギーがプラスチック接合部で熱として放散されて熱可塑性材料の接合を可能にする。型押しした蓋とベースはまた、蓋の下面に接着剤を使用することによって接合することもできる。蓋とベースを接合する方法は、引用例として本明細書に含める米国特許第5,798,031号明細書に詳細に記載されている。
【0009】
絶縁ベースに適した材料は、ポリカーボネート、ポリエチレンテレフタレートならびに寸法安定性のビニルおよびアクリルポリマーならびにポリマーブレンド、たとえばポリカーボネート/ポリエチレンテレフタレートならびに金属箔構造、たとえばナイロン/アルミニウム/ポリ塩化ビニル積層体を含む。蓋は通常、変形性ポリマーシート材、たとえばポリカーボネートまたは型押し等(embossable grade)級のポリエチレンテレフタレート、グリコール改質ポリエチレンテレフタレートまたは金属箔組成物、たとえばアルミニウム箔構造から製造される。誘電層は、UV光もしくは水分によって硬化させることができるアクリレート改質ポリウレタンまたは熱硬化性であるビニルポリマーから製造することができる。
【0010】
【実施例】
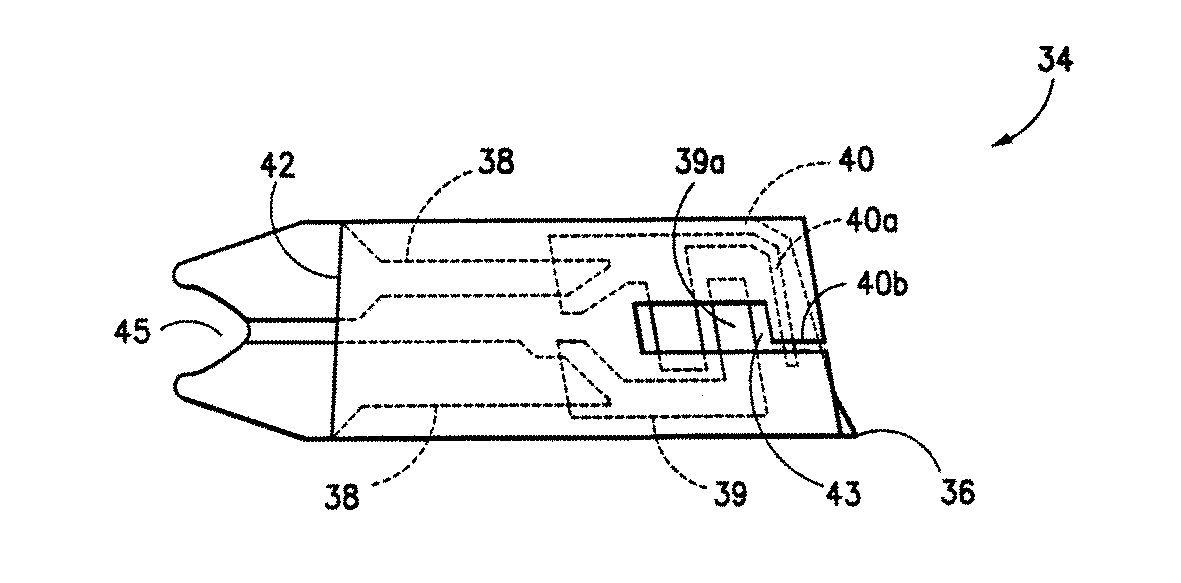
以下の例にしたがって本発明のセンサを構築する。典型的にポリカーボネートのベースストックに種々のインクでプリントして電極39および40を形成したのち、誘電層42を、流体試料が蓋46とベース36との嵌め合いによって形成される空間に入るとき流体試料との接触にさらされる電極の所望の面を残すように設計された所定のパターンでオーバコートする。開口43が試薬層を電極39および40と電気的に通じた状態に残す、図1に示す具体的な誘電層42の構造は、すべての導電要素(作用電極、参照電極およびサブエレメント電極)が試験流体にさらされる範囲を画定するように設計されている。プリントされた導電造作とともに、誘電層は、それらの要素それぞれの大きさを決定する。電極は、好ましくは、導電層および誘電層が互いに対して90°に近づくようにプリントされる。これは、センサを構築するための公差スタックアップ(tolerance stackup)に役立つ。理由は、いずれかのプリントが要素の周囲で移動しても画定は一定のままであるため、これが整合問題を軽減するからである。本発明のセンサベースはまた、ベース上の全要素を同一面上に示す図2にも示されている。センサのベース36は、導電性要素38をその表面に有し、この要素は逆に作用電極39および参照電極40でオーバコートされている。誘電層42は図示されていないが、代わりに、作用電極39および参照電極40の露出部分を示すため、誘電層中の開口43が示されている。参照電極の大きい方の部分と電気的に通じている参照電極のサブエレメント40bは、この実施態様では、流体が作用電極に達したとき検出することができるよう、作用電極とで導電路を提供するように機能する。試験シーケンスを開始するのに十分な電流が提供される。試験流体がセンサキャビティを充填することができず、参照電極の大部分に接することができないならば、エラー状態が検出され、装置の使用者に伝達される。
【0011】
本発明のセンサは、展開されると平坦な面を提供するポリカーボネートのロールシートから数多く製造される。このシートは、多数の蓋の供給源として働くため、蓋ストックと呼ばれる。通常、熱可塑性接着剤の層を蓋ストックの下面に配置したのち、凹形区域48(図1)をポリカーボネートシート中に型押しし、種々の穴をシートに打ち抜いて通気口50ならびに整合およびトラッキングのため穴を設けたのち、蓋ストックのスリットリボンを巻き上げる。通常はポリカーボネートのベースストックに種々のインクでプリントして電極を形成したのち、誘電層を、誘電層上にプリントされる反応層44にさらされる電極の所望の面を残すように設計された所定のパターンでオーバコートする。
【0012】
本発明は、充填不足の場合、結果がどっちつかずの応答(すなわち検出器が何の信号も発しない)ではなく、積極的な応答を出すように参照電極および作用電極を構成することができる電気化学的センサを提供する利点を導く。したがって、毛管空間に入る試験流体の量が参照電極のサブエレメント40aまたは好ましい実施態様では40bと、参照電極40の主部から上流に位置する作用電極の部分39aとを覆うのに十分であるとき、検出器は電流を感知するが、その電流は、作用電極および参照電極が試験流体で完全に覆われた場合よりも弱いであろう。検出器は、読み取り手段と接続されて、充填不足の発生を使用者に警告するエラー信号を発することができる。エラー状態が発生したかどうかを決定するために絶対電流レベルとともに使用される特定の電流特性を時間的に感知するための手段が設けられる。これは、試験流体が参照電極のサブエレメントを作用電極と電気的に接続したのち一定期間の電流を計測することによって充填不足を検出するよう計器をアルゴリズム的にプログラムすることによって達成される。2回の計測の電流の比を使用して、センサが正しく充填されたどうかを決定する。たとえば、駆動電位を回路に印加してから5秒後および10秒後に電流を計測し、これら二つの電流を比率に変換する。この比率および10秒での電流読みを使用して、センサの毛管空間が正しく充填されたかどうかを決定する。試料計算は次のとおりである。試験シーケンス中に電流計測を3回、すなわち、1)駆動電位を10秒間印加したところの、バーンオフとして知られる初期期間の終了時(Ib10と呼ぶ)、2)電位を印加するときの読み取り期間として知られる第二の期間中の5秒間(Ir5と呼ぶ)、および3)読み取り時間の終了時(Ir10と呼ぶ)に実施する。図1を参照。三つの電流計測値から二つのパラメータを決定する。これらの二つのパラメータを使用して、センサの毛管空間が正しく充填されたかどうかを決定する。第一のパラメータは、電流時間曲線の形を描写する減衰係数である。第二のパラメータは、読み取り段階における電流レベルの減衰速度を特徴づける比率である。減衰係数kは次式によって定義される。
【0013】
【数1】
【0014】
読み取り対バーン比R/Bは次式によって定義される。
R/B=Ir10/Ib10 式2
【0015】
これらのパラメータを使用すると、充填不足の規準は次のとおりである。
(1)k<0.227またはk>0.497の場合、あるいは
(2)R/B<0.263またはR/B>1.263の場合
【0016】
計算例は次のとおりである。
【0017】
充填不足のセンサは、以下の三つの電流計測値を出した。
Ib10=505.1nA、Ir5=656.5nAおよびIr10=561.8nA
【0018】
電流計測値から減衰係数および読み取り対バーン比を計算した。
減衰係数
【0019】
【数2】
【0020】
読み取り対バーン比
R/B=Ir10/Ib10=561.8/505.1=1.11
【0021】
これら二つのパラメータを使用して以下のエラー状態を検出した。
・このグルコースリードバックレベルでk<0.227またはk>0.497
k=0.22<0.227のため、真
・このグルコースリードバックレベルでR/B<0.263またはR/B>1.263
R/B=1.11>0.263かつ<1.263のため、偽
【0022】
充填不足の場合に積極的な応答(どっちつかずの応答とは違って)を出す試験具を提供することにより、使用者は、試験の放棄機能が、毛管空間に入る血液の不足の結果であり、何らか他の機能障害が異常な結果を生じさせたのではないことを認識する。
【図面の簡単な説明】
【図1】本発明のセンサの分解図である。
【図2】センサのベースと、同ベースに直接適用されているセンサの要素とを示す図である。
【符号の説明】
34 センサ
38 導電パターン
39 作用電極
40 参照電極
40a サブエレメント
42 誘電層
44 反応層
50 通気孔
Claims (9)
- 流体試料中の分析対象物の濃度を検出するための電気化学的センサであって、
前記流体試料を導入するための開口を形成するためのベースと、
前記ベースに形成された作用電極と、
前記ベースに形成されたカウンタ電極と、
前記ベースに形成されたサブエレメントと、を備え、
前記作用電極及び前記カウンタ電極は、電流検出器と電気的に導通されており、
前記カウンタ電極の一部は、前記開口の下流に位置するとともに、前記作用電極の少なくとも一部の下流に位置しており、
前記サブエレメントは、前記作用電極の上流に位置しており、
前記サブエレメントと前記作用電極との間でのみ電気的導通が起こったときに、前記流体試料中の分析対象物の濃度を検出するのには不十分な電流が前記電流検出器に流れるように構成されており、
前記ベースに結合されることで毛管空間を形成するカバーを備え、
前記毛細空間は、前記流体試料をその中に導入するための前記開口から延びるとともに、前記流体試料が流れるための流路を形成しており、
前記作用電極及び前記カウンタ電極が前記流路中に位置している、センサ。 - 前記開口が前記カバーのみを通過する、請求項1に記載のセンサ。
- 前記カバーは通気口を有する、請求項1に記載のセンサ。
- 少なくとも前記作用電極の表面上に位置する反応層を備え、
前記反応層は、前記分析対象物と反応して、前記作用電極に移送される電子を生成する酵素を含む、請求項1に記載のセンサ。 - 前記酵素がグルコースオキシダーゼである、請求項4に記載のセンサ。
- 前記反応層中の前記酵素が親水性ポリマーと組み合わされている、請求項4に記載のセンサ。
- 前記サブエレメントの面積が、前記作用電極の面積の10%未満である、請求項1に記載のセンサ。
- 前記サブエレメント及び前記カウンタ電極が物理的に接続している、請求項1に記載のセンサ。
- U字型の部材を備え、
前記U字型の部材が前記カバー及び前記ベースの間に配置することで前記開口を形成している、請求項1に記載のセンサ。
Applications Claiming Priority (2)
| Application Number | Priority Date | Filing Date | Title |
|---|---|---|---|
| US36626999A | 1999-08-02 | 1999-08-02 | |
| US09/366269 | 1999-08-02 |
Related Child Applications (1)
| Application Number | Title | Priority Date | Filing Date |
|---|---|---|---|
| JP2011174826A Division JP5100870B2 (ja) | 1999-08-02 | 2011-08-10 | 改良された電気化学的センサ設計 |
Publications (2)
| Publication Number | Publication Date |
|---|---|
| JP2001066279A JP2001066279A (ja) | 2001-03-16 |
| JP4829397B2 true JP4829397B2 (ja) | 2011-12-07 |
Family
ID=23442350
Family Applications (2)
| Application Number | Title | Priority Date | Filing Date |
|---|---|---|---|
| JP2000228240A Expired - Lifetime JP4829397B2 (ja) | 1999-08-02 | 2000-07-28 | 改良された電気化学的センサ設計 |
| JP2011174826A Expired - Lifetime JP5100870B2 (ja) | 1999-08-02 | 2011-08-10 | 改良された電気化学的センサ設計 |
Family Applications After (1)
| Application Number | Title | Priority Date | Filing Date |
|---|---|---|---|
| JP2011174826A Expired - Lifetime JP5100870B2 (ja) | 1999-08-02 | 2011-08-10 | 改良された電気化学的センサ設計 |
Country Status (9)
| Country | Link |
|---|---|
| US (1) | US6531040B2 (ja) |
| EP (3) | EP1074832B2 (ja) |
| JP (2) | JP4829397B2 (ja) |
| AT (1) | ATE443254T1 (ja) |
| AU (1) | AU769086B2 (ja) |
| CA (1) | CA2305922C (ja) |
| DE (1) | DE60042954D1 (ja) |
| DK (1) | DK1074832T4 (ja) |
| ES (1) | ES2330914T5 (ja) |
Families Citing this family (191)
| Publication number | Priority date | Publication date | Assignee | Title |
|---|---|---|---|---|
| DK0958495T3 (da) * | 1997-02-06 | 2003-03-10 | Therasense Inc | In vitro analysand sensor med lille volumen |
| US6036924A (en) | 1997-12-04 | 2000-03-14 | Hewlett-Packard Company | Cassette of lancet cartridges for sampling blood |
| US5997817A (en) | 1997-12-05 | 1999-12-07 | Roche Diagnostics Corporation | Electrochemical biosensor test strip |
| US8071384B2 (en) | 1997-12-22 | 2011-12-06 | Roche Diagnostics Operations, Inc. | Control and calibration solutions and methods for their use |
| US6391005B1 (en) | 1998-03-30 | 2002-05-21 | Agilent Technologies, Inc. | Apparatus and method for penetration with shaft having a sensor for sensing penetration depth |
| US6841052B2 (en) | 1999-08-02 | 2005-01-11 | Bayer Corporation | Electrochemical-sensor design |
| CA2305922C (en) * | 1999-08-02 | 2005-09-20 | Bayer Corporation | Improved electrochemical sensor design |
| US20050103624A1 (en) | 1999-10-04 | 2005-05-19 | Bhullar Raghbir S. | Biosensor and method of making |
| CN100363739C (zh) | 1999-11-15 | 2008-01-23 | 松下电器产业株式会社 | 生物传感器、薄膜电极形成方法、定量装置及定量方法 |
| US8641644B2 (en) | 2000-11-21 | 2014-02-04 | Sanofi-Aventis Deutschland Gmbh | Blood testing apparatus having a rotatable cartridge with multiple lancing elements and testing means |
| EP2096437B1 (en) | 2000-11-30 | 2014-11-19 | Panasonic Healthcare Co., Ltd. | Biosensor for quantifying substrate |
| JP3972063B2 (ja) * | 2001-01-17 | 2007-09-05 | アークレイ株式会社 | センサを用いる定量分析方法および定量分析装置 |
| US6576102B1 (en) * | 2001-03-23 | 2003-06-10 | Virotek, L.L.C. | Electrochemical sensor and method thereof |
| US6572745B2 (en) * | 2001-03-23 | 2003-06-03 | Virotek, L.L.C. | Electrochemical sensor and method thereof |
| JP4120400B2 (ja) * | 2001-04-16 | 2008-07-16 | 松下電器産業株式会社 | バイオセンサ |
| AU784254B2 (en) | 2001-05-21 | 2006-03-02 | Bayer Corporation | Improved electrochemical sensor |
| US6960287B2 (en) * | 2001-06-11 | 2005-11-01 | Bayer Corporation | Underfill detection system for a test sensor |
| JP4209767B2 (ja) | 2001-06-12 | 2009-01-14 | ペリカン テクノロジーズ インコーポレイテッド | 皮膚の性状の一時的変化に対する適応手段を備えた自動最適化形切開器具 |
| US7344507B2 (en) | 2002-04-19 | 2008-03-18 | Pelikan Technologies, Inc. | Method and apparatus for lancet actuation |
| DE60238119D1 (de) | 2001-06-12 | 2010-12-09 | Pelikan Technologies Inc | Elektrisches betätigungselement für eine lanzette |
| US7699791B2 (en) | 2001-06-12 | 2010-04-20 | Pelikan Technologies, Inc. | Method and apparatus for improving success rate of blood yield from a fingerstick |
| US9427532B2 (en) | 2001-06-12 | 2016-08-30 | Sanofi-Aventis Deutschland Gmbh | Tissue penetration device |
| AU2002348683A1 (en) | 2001-06-12 | 2002-12-23 | Pelikan Technologies, Inc. | Method and apparatus for lancet launching device integrated onto a blood-sampling cartridge |
| US7981056B2 (en) | 2002-04-19 | 2011-07-19 | Pelikan Technologies, Inc. | Methods and apparatus for lancet actuation |
| US7682318B2 (en) | 2001-06-12 | 2010-03-23 | Pelikan Technologies, Inc. | Blood sampling apparatus and method |
| US9795747B2 (en) | 2010-06-02 | 2017-10-24 | Sanofi-Aventis Deutschland Gmbh | Methods and apparatus for lancet actuation |
| US9226699B2 (en) | 2002-04-19 | 2016-01-05 | Sanofi-Aventis Deutschland Gmbh | Body fluid sampling module with a continuous compression tissue interface surface |
| AU2002320094A1 (en) | 2001-06-12 | 2002-12-23 | Pelikan Technologies, Inc. | Integrated blood sampling analysis system with multi-use sampling module |
| US7025774B2 (en) | 2001-06-12 | 2006-04-11 | Pelikan Technologies, Inc. | Tissue penetration device |
| US8337419B2 (en) | 2002-04-19 | 2012-12-25 | Sanofi-Aventis Deutschland Gmbh | Tissue penetration device |
| US6797150B2 (en) * | 2001-10-10 | 2004-09-28 | Lifescan, Inc. | Determination of sample volume adequacy in biosensor devices |
| US7491310B2 (en) | 2001-10-12 | 2009-02-17 | Arkray, Inc. | Concentration measuring method and concentration measuring apparatus |
| US7344894B2 (en) | 2001-10-16 | 2008-03-18 | Agilent Technologies, Inc. | Thermal regulation of fluidic samples within a diagnostic cartridge |
| EP1304570A1 (en) * | 2001-10-22 | 2003-04-23 | Bioptik Technology, Inc. | Electrochemical electrode test strip and process for preparation thereof |
| WO2003043945A1 (en) * | 2001-11-16 | 2003-05-30 | North Carolina State University | Biomedical electrochemical sensor array and method of fabrication |
| US20030116447A1 (en) | 2001-11-16 | 2003-06-26 | Surridge Nigel A. | Electrodes, methods, apparatuses comprising micro-electrode arrays |
| US6872298B2 (en) * | 2001-11-20 | 2005-03-29 | Lifescan, Inc. | Determination of sample volume adequacy in biosensor devices |
| EP1452854B1 (en) * | 2001-11-20 | 2015-02-25 | ARKRAY, Inc. | Fail judging method for analysis and analyzer |
| EP1455182B1 (en) | 2001-11-20 | 2015-08-26 | ARKRAY, Inc. | Fail judging method and analyzer |
| US6872299B2 (en) * | 2001-12-10 | 2005-03-29 | Lifescan, Inc. | Passive sample detection to initiate timing of an assay |
| CA2419213C (en) * | 2002-03-07 | 2011-06-21 | Bayer Healthcare Llc | Improved electrical sensor |
| US8579831B2 (en) | 2002-04-19 | 2013-11-12 | Sanofi-Aventis Deutschland Gmbh | Method and apparatus for penetrating tissue |
| US8702624B2 (en) | 2006-09-29 | 2014-04-22 | Sanofi-Aventis Deutschland Gmbh | Analyte measurement device with a single shot actuator |
| US7485128B2 (en) | 2002-04-19 | 2009-02-03 | Pelikan Technologies, Inc. | Method and apparatus for penetrating tissue |
| US8360992B2 (en) | 2002-04-19 | 2013-01-29 | Sanofi-Aventis Deutschland Gmbh | Method and apparatus for penetrating tissue |
| US9248267B2 (en) | 2002-04-19 | 2016-02-02 | Sanofi-Aventis Deustchland Gmbh | Tissue penetration device |
| US7291117B2 (en) | 2002-04-19 | 2007-11-06 | Pelikan Technologies, Inc. | Method and apparatus for penetrating tissue |
| US7297122B2 (en) | 2002-04-19 | 2007-11-20 | Pelikan Technologies, Inc. | Method and apparatus for penetrating tissue |
| US8784335B2 (en) | 2002-04-19 | 2014-07-22 | Sanofi-Aventis Deutschland Gmbh | Body fluid sampling device with a capacitive sensor |
| US7717863B2 (en) | 2002-04-19 | 2010-05-18 | Pelikan Technologies, Inc. | Method and apparatus for penetrating tissue |
| US7892183B2 (en) | 2002-04-19 | 2011-02-22 | Pelikan Technologies, Inc. | Method and apparatus for body fluid sampling and analyte sensing |
| US7141058B2 (en) | 2002-04-19 | 2006-11-28 | Pelikan Technologies, Inc. | Method and apparatus for a body fluid sampling device using illumination |
| US9795334B2 (en) | 2002-04-19 | 2017-10-24 | Sanofi-Aventis Deutschland Gmbh | Method and apparatus for penetrating tissue |
| US7713214B2 (en) | 2002-04-19 | 2010-05-11 | Pelikan Technologies, Inc. | Method and apparatus for a multi-use body fluid sampling device with optical analyte sensing |
| US7976476B2 (en) | 2002-04-19 | 2011-07-12 | Pelikan Technologies, Inc. | Device and method for variable speed lancet |
| US9314194B2 (en) | 2002-04-19 | 2016-04-19 | Sanofi-Aventis Deutschland Gmbh | Tissue penetration device |
| US7674232B2 (en) | 2002-04-19 | 2010-03-09 | Pelikan Technologies, Inc. | Method and apparatus for penetrating tissue |
| US7232451B2 (en) | 2002-04-19 | 2007-06-19 | Pelikan Technologies, Inc. | Method and apparatus for penetrating tissue |
| US7901362B2 (en) | 2002-04-19 | 2011-03-08 | Pelikan Technologies, Inc. | Method and apparatus for penetrating tissue |
| US8221334B2 (en) | 2002-04-19 | 2012-07-17 | Sanofi-Aventis Deutschland Gmbh | Method and apparatus for penetrating tissue |
| US7244265B2 (en) | 2002-04-19 | 2007-07-17 | Pelikan Technologies, Inc. | Method and apparatus for penetrating tissue |
| US7331931B2 (en) | 2002-04-19 | 2008-02-19 | Pelikan Technologies, Inc. | Method and apparatus for penetrating tissue |
| US8267870B2 (en) | 2002-04-19 | 2012-09-18 | Sanofi-Aventis Deutschland Gmbh | Method and apparatus for body fluid sampling with hybrid actuation |
| US7371247B2 (en) | 2002-04-19 | 2008-05-13 | Pelikan Technologies, Inc | Method and apparatus for penetrating tissue |
| US7229458B2 (en) | 2002-04-19 | 2007-06-12 | Pelikan Technologies, Inc. | Method and apparatus for penetrating tissue |
| AU2003231749A1 (en) | 2002-04-19 | 2003-11-03 | Pelikan Technologies, Inc. | Device and method for variable speed lancet |
| US8372016B2 (en) | 2002-04-19 | 2013-02-12 | Sanofi-Aventis Deutschland Gmbh | Method and apparatus for body fluid sampling and analyte sensing |
| US7547287B2 (en) | 2002-04-19 | 2009-06-16 | Pelikan Technologies, Inc. | Method and apparatus for penetrating tissue |
| US7563232B2 (en) | 2002-04-19 | 2009-07-21 | Pelikan Technologies, Inc. | Method and apparatus for penetrating tissue |
| US7909778B2 (en) | 2002-04-19 | 2011-03-22 | Pelikan Technologies, Inc. | Method and apparatus for penetrating tissue |
| US7410468B2 (en) | 2002-04-19 | 2008-08-12 | Pelikan Technologies, Inc. | Method and apparatus for penetrating tissue |
| US7374544B2 (en) | 2002-04-19 | 2008-05-20 | Pelikan Technologies, Inc. | Method and apparatus for penetrating tissue |
| US7524293B2 (en) | 2002-04-19 | 2009-04-28 | Pelikan Technologies, Inc. | Method and apparatus for penetrating tissue |
| US7648468B2 (en) | 2002-04-19 | 2010-01-19 | Pelikon Technologies, Inc. | Method and apparatus for penetrating tissue |
| US7491178B2 (en) | 2002-04-19 | 2009-02-17 | Pelikan Technologies, Inc. | Method and apparatus for penetrating tissue |
| US6946299B2 (en) | 2002-04-25 | 2005-09-20 | Home Diagnostics, Inc. | Systems and methods for blood glucose sensing |
| US6964871B2 (en) | 2002-04-25 | 2005-11-15 | Home Diagnostics, Inc. | Systems and methods for blood glucose sensing |
| US20080112852A1 (en) * | 2002-04-25 | 2008-05-15 | Neel Gary T | Test Strips and System for Measuring Analyte Levels in a Fluid Sample |
| US6743635B2 (en) | 2002-04-25 | 2004-06-01 | Home Diagnostics, Inc. | System and methods for blood glucose sensing |
| EP1541998B1 (en) * | 2002-07-25 | 2011-05-18 | ARKRAY, Inc. | Sample analyzing method and sample analyzing device |
| US9017544B2 (en) | 2002-10-04 | 2015-04-28 | Roche Diagnostics Operations, Inc. | Determining blood glucose in a small volume sample receiving cavity and in a short time period |
| US6939450B2 (en) * | 2002-10-08 | 2005-09-06 | Abbott Laboratories | Device having a flow channel |
| JP4352152B2 (ja) * | 2002-12-02 | 2009-10-28 | アークレイ株式会社 | 分析用具 |
| US8574895B2 (en) | 2002-12-30 | 2013-11-05 | Sanofi-Aventis Deutschland Gmbh | Method and apparatus using optical techniques to measure analyte levels |
| US7132041B2 (en) | 2003-02-11 | 2006-11-07 | Bayer Healthcare Llc | Methods of determining the concentration of an analyte in a fluid test sample |
| USD512512S1 (en) * | 2003-05-21 | 2005-12-06 | Wachovia Bank, National Association | Blood glucose test strip |
| WO2004107975A2 (en) | 2003-05-30 | 2004-12-16 | Pelikan Technologies, Inc. | Method and apparatus for fluid injection |
| EP1633235B1 (en) | 2003-06-06 | 2014-05-21 | Sanofi-Aventis Deutschland GmbH | Apparatus for body fluid sampling and analyte sensing |
| WO2006001797A1 (en) | 2004-06-14 | 2006-01-05 | Pelikan Technologies, Inc. | Low pain penetrating |
| EP1635700B1 (en) | 2003-06-13 | 2016-03-09 | Sanofi-Aventis Deutschland GmbH | Apparatus for a point of care device |
| US7364699B2 (en) * | 2003-06-18 | 2008-04-29 | Bayer Healthcare Llc | Containers for reading and handling diagnostic reagents and methods of using the same |
| US7699967B2 (en) * | 2003-06-19 | 2010-04-20 | Arkray, Inc. | Analysis implement with opening in insulation film |
| US8206565B2 (en) | 2003-06-20 | 2012-06-26 | Roche Diagnostics Operation, Inc. | System and method for coding information on a biosensor test strip |
| EP1642124B1 (en) * | 2003-06-20 | 2017-11-29 | Roche Diabetes Care GmbH | Electrochemical biosensors |
| US8058077B2 (en) | 2003-06-20 | 2011-11-15 | Roche Diagnostics Operations, Inc. | Method for coding information on a biosensor test strip |
| US7718439B2 (en) | 2003-06-20 | 2010-05-18 | Roche Diagnostics Operations, Inc. | System and method for coding information on a biosensor test strip |
| US7452457B2 (en) | 2003-06-20 | 2008-11-18 | Roche Diagnostics Operations, Inc. | System and method for analyte measurement using dose sufficiency electrodes |
| WO2004113900A2 (en) | 2003-06-20 | 2004-12-29 | Roche Diagnostics Gmbh | Test strip with flared sample receiving chamber |
| US8679853B2 (en) | 2003-06-20 | 2014-03-25 | Roche Diagnostics Operations, Inc. | Biosensor with laser-sealed capillary space and method of making |
| US7597793B2 (en) | 2003-06-20 | 2009-10-06 | Roche Operations Ltd. | System and method for analyte measurement employing maximum dosing time delay |
| US7645421B2 (en) | 2003-06-20 | 2010-01-12 | Roche Diagnostics Operations, Inc. | System and method for coding information on a biosensor test strip |
| US7604721B2 (en) | 2003-06-20 | 2009-10-20 | Roche Diagnostics Operations, Inc. | System and method for coding information on a biosensor test strip |
| US7645373B2 (en) | 2003-06-20 | 2010-01-12 | Roche Diagnostic Operations, Inc. | System and method for coding information on a biosensor test strip |
| US8148164B2 (en) | 2003-06-20 | 2012-04-03 | Roche Diagnostics Operations, Inc. | System and method for determining the concentration of an analyte in a sample fluid |
| US8071030B2 (en) | 2003-06-20 | 2011-12-06 | Roche Diagnostics Operations, Inc. | Test strip with flared sample receiving chamber |
| US8282576B2 (en) | 2003-09-29 | 2012-10-09 | Sanofi-Aventis Deutschland Gmbh | Method and apparatus for an improved sample capture device |
| US9351680B2 (en) | 2003-10-14 | 2016-05-31 | Sanofi-Aventis Deutschland Gmbh | Method and apparatus for a variable user interface |
| WO2005040407A1 (en) | 2003-10-24 | 2005-05-06 | Bayer Healthcare Llc | Enzymatic electrochemical biosensor |
| US7822454B1 (en) | 2005-01-03 | 2010-10-26 | Pelikan Technologies, Inc. | Fluid sampling device with improved analyte detecting member configuration |
| WO2005065414A2 (en) | 2003-12-31 | 2005-07-21 | Pelikan Technologies, Inc. | Method and apparatus for improving fluidic flow and sample capture |
| KR101191093B1 (ko) * | 2004-02-06 | 2012-10-15 | 바이엘 헬쓰케어, 엘엘씨 | 유체 유동을 유도하기 위한 벤트들을 갖는 유체 테스트 센서 |
| US7862695B2 (en) * | 2004-02-06 | 2011-01-04 | Bayer Healthcare, Llc | Electrochemical biosensor |
| WO2005078118A1 (en) | 2004-02-06 | 2005-08-25 | Bayer Healthcare Llc | Oxidizable species as an internal reference for biosensors and method of use |
| WO2005100968A1 (ja) * | 2004-04-12 | 2005-10-27 | Arkray, Inc. | 分析装置 |
| TW200538726A (en) * | 2004-04-23 | 2005-12-01 | Arkray Inc | Analyzer and method of manufacturing the same |
| AU2005246314B2 (en) * | 2004-05-14 | 2009-04-23 | Bayer Healthcare Llc | Voltammetric systems for assaying biological analytes |
| CN1954205A (zh) * | 2004-05-14 | 2007-04-25 | 拜尔健康护理有限责任公司 | 生产诊断测试条的方法 |
| CN1953703A (zh) | 2004-05-14 | 2007-04-25 | 拜尔健康护理有限责任公司 | 用于收集和检测流体样品中分析物的诊断测试条及其使用方法 |
| EP1751546A2 (en) | 2004-05-20 | 2007-02-14 | Albatros Technologies GmbH & Co. KG | Printable hydrogel for biosensors |
| US9775553B2 (en) | 2004-06-03 | 2017-10-03 | Sanofi-Aventis Deutschland Gmbh | Method and apparatus for a fluid sampling device |
| WO2005120365A1 (en) | 2004-06-03 | 2005-12-22 | Pelikan Technologies, Inc. | Method and apparatus for a fluid sampling device |
| ES2567060T3 (es) * | 2004-06-17 | 2016-04-19 | Bayer Healthcare Llc | Detección del llenado incompleto de unos biosensores |
| US7556723B2 (en) | 2004-06-18 | 2009-07-07 | Roche Diagnostics Operations, Inc. | Electrode design for biosensor |
| US7569126B2 (en) | 2004-06-18 | 2009-08-04 | Roche Diagnostics Operations, Inc. | System and method for quality assurance of a biosensor test strip |
| AU2005295106B2 (en) | 2004-10-12 | 2012-03-15 | Bayer Healthcare Llc | Concentration determination in a diffusion barrier layer |
| RU2007118686A (ru) * | 2004-10-20 | 2008-11-27 | БАЙЕР ХЕЛТКЭА ЭлЭлСи (US) | Картридж для хранения и выдачи тестовых датчиков |
| RU2413002C2 (ru) | 2004-12-13 | 2011-02-27 | Байер Хелткэр Ллк | Самостоятельно ограничивающие размер композиции и тестирующие устройства для измерения содержания анализируемых веществ в биологических жидкостях |
| CA2590363C (en) | 2004-12-13 | 2013-04-09 | Bayer Healthcare Llc | A method of differentiating between blood and control solutions containing a common analyte |
| JP4891923B2 (ja) | 2005-01-14 | 2012-03-07 | バイエル・ヘルスケア・エルエルシー | センサ分与器 |
| US20080268485A1 (en) | 2005-02-22 | 2008-10-30 | Guarino Julianne M | Iconic Display of Markers for a Meter |
| CN101133162A (zh) * | 2005-03-04 | 2008-02-27 | 拜尔保健有限公司 | 稳定在电化学生物传感器中的pqq依赖性葡萄糖脱氢酶的活性 |
| MX2007012373A (es) | 2005-04-08 | 2007-12-10 | Bayer Healthcare Llc | Especies oxidables como una referencia interna en soluciones de control para biosensores. |
| US20090075213A1 (en) * | 2005-04-19 | 2009-03-19 | Bayer Healthcare Inc. | Method of forming an auto-calibration label using a laser |
| EP1886137A2 (en) * | 2005-04-19 | 2008-02-13 | Bayer Healthcare, LLC | Auto-calibration label and method of forming the same |
| EP1877779A2 (en) * | 2005-04-19 | 2008-01-16 | Bayer Healthcare LLC | Auto-calibration label and methods of forming the same |
| WO2006127635A1 (en) * | 2005-05-24 | 2006-11-30 | Bayer Healthcare Llc | Sensor package with an interim auto-calibration circuit |
| GB0514728D0 (en) * | 2005-07-19 | 2005-08-24 | Hypoguard Ltd | Biosensor and method of manufacture |
| EP1913374B1 (en) | 2005-07-20 | 2019-01-09 | Ascensia Diabetes Care Holdings AG | Method for signalling the user to add additional sample to a test strip, method for measuring the temperature of a sample and methods for determining the concentration of an analyte based on gated amperometry |
| CA2617914C (en) * | 2005-08-05 | 2010-12-07 | Bayer Healthcare Llc | Method for distinguishing electrochemical sensors |
| EP1924855A1 (en) * | 2005-08-30 | 2008-05-28 | Bayer Healthcare, LLC | A test sensor with a fluid chamber opening |
| RU2426107C2 (ru) | 2005-09-30 | 2011-08-10 | БАЙЕР ХЕЛТКЭА ЭлЭлСи | Вольтамперометрический способ определения концентрации аналита в образце и устройство для определения концентрации аналита |
| CA2807519C (en) * | 2005-11-14 | 2016-01-12 | Bayer Healthcare Llc | Test sensor reagent having cellulose polymers |
| RU2008130871A (ru) * | 2005-12-27 | 2010-02-10 | Байер Хелткэр Ллк (Us) | Способ создания автокалибровочных контуров для тестовых датчиков с нанесением покрытия методом химического восстановления |
| BRPI0620731A2 (pt) * | 2005-12-27 | 2011-11-22 | Bayer Healthcare Llc | método de formação de um sensor de teste em múltiplas camadas |
| US20090266718A1 (en) * | 2006-04-10 | 2009-10-29 | Jing Lin | Correction of Oxygen Effect in Test Sensor Using Reagents |
| EP2007900A2 (en) * | 2006-04-11 | 2008-12-31 | Bayer Healthcare, LLC | Monitoring the laydown of a reagent like potassium ferricyanide using xrf spectrometry |
| US8038859B2 (en) | 2006-04-28 | 2011-10-18 | Hmd Biomedical Inc. | Electrochemical sensor and method for analyzing liquid sample |
| US7966859B2 (en) | 2006-05-03 | 2011-06-28 | Bayer Healthcare Llc | Underfill detection system for a biosensor |
| ES2758478T3 (es) | 2006-05-03 | 2020-05-05 | Ascensia Diabetes Care Holdings Ag | Método para determinar el bajo nivel de llenado en un biosensor electroquímico y sistema de detección de bajo nivel de llenado |
| CN103399069B (zh) | 2006-05-08 | 2016-02-24 | 拜尔保健有限公司 | 具有减少的样本体积的电化学测试传感器 |
| KR20090013227A (ko) | 2006-05-08 | 2009-02-04 | 바이엘 헬쓰케어, 엘엘씨 | 테스트 센서 패키징 |
| EP2020909A2 (en) | 2006-05-08 | 2009-02-11 | Bayer HealthCare LLC | Abnormal output detection system for a biosensor |
| US7993512B2 (en) | 2006-07-11 | 2011-08-09 | Bayer Healthcare, Llc | Electrochemical test sensor |
| BRPI0717430A2 (pt) * | 2006-09-22 | 2013-11-12 | Bayer Healthcare Llc | Sistema de biossensor tendo estabilidade e desempenho de hematócritos maiores |
| US7797987B2 (en) * | 2006-10-11 | 2010-09-21 | Bayer Healthcare Llc | Test sensor with a side vent and method of making the same |
| EP2679150B1 (en) | 2006-10-24 | 2020-07-22 | Ascensia Diabetes Care Holdings AG | Transient decay amperometry |
| EP2095114B1 (en) | 2006-11-20 | 2013-01-02 | Bayer HealthCare, LLC | Test-sensor cartridge |
| US20080133059A1 (en) * | 2006-12-05 | 2008-06-05 | Bayer Healthcare Llc | Table-driven test sequence |
| US20080166812A1 (en) * | 2007-01-05 | 2008-07-10 | Bayer Healthcare Llc | Method of using a meter to determine an analyte concentration |
| US20080248581A1 (en) | 2007-04-06 | 2008-10-09 | Bayer Healthcare Llc | Method for performing correction of blood glucose assay bias using blood hemoglobin concentration |
| EP2198283B1 (en) * | 2007-10-05 | 2017-12-06 | Ascensia Diabetes Care Holdings AG | Method of defining electrodes using laser-ablation and dielectric material |
| WO2009054291A1 (ja) * | 2007-10-26 | 2009-04-30 | Mitsubishi Pencil Co., Ltd. | シャープペンシル |
| RU2518310C2 (ru) | 2007-12-10 | 2014-06-10 | БАЙЕР ХЕЛТКЭА ЭлЭлСи | Реагенты и способы обнаружения аналитов |
| WO2009076271A2 (en) | 2007-12-10 | 2009-06-18 | Bayer Healthcare Llc | Wear-resistant electrochemical test sensor and method of forming the same |
| CN101878428B (zh) | 2007-12-10 | 2014-07-09 | 拜尔健康护理有限责任公司 | 用于生物传感器的多孔颗粒试剂组合物、装置和方法 |
| WO2009076302A1 (en) | 2007-12-10 | 2009-06-18 | Bayer Healthcare Llc | Control markers for auto-detection of control solution and methods of use |
| WO2009125360A2 (en) * | 2008-04-08 | 2009-10-15 | Nxp B.V. | Optical pointing device |
| WO2009126900A1 (en) | 2008-04-11 | 2009-10-15 | Pelikan Technologies, Inc. | Method and apparatus for analyte detecting device |
| US20090305317A1 (en) * | 2008-06-05 | 2009-12-10 | Brauer Jacob S | User interface for testing device |
| US8124014B2 (en) * | 2008-06-09 | 2012-02-28 | Bayer Healthcare Llc | Auto-calibration circuit or label and method of forming the same |
| ES2555215T3 (es) | 2008-12-08 | 2015-12-29 | Bayer Healthcare Llc | Composiciones de reactivo de bajo contenido salino total y sistemas para biosensores |
| US8709822B2 (en) | 2008-12-18 | 2014-04-29 | Bayer Healthcare Llc | Method and assembly for determining the temperature of a test sensor |
| US9375169B2 (en) | 2009-01-30 | 2016-06-28 | Sanofi-Aventis Deutschland Gmbh | Cam drive for managing disposable penetrating member actions with a single motor and motor and control system |
| US9378443B2 (en) | 2009-05-14 | 2016-06-28 | Ascensia Diabetes Care Holding Ag | Calibration coded sensors and apparatus, systems and methods for reading same |
| CN103487476B (zh) * | 2009-05-25 | 2015-09-09 | 利多(香港)有限公司 | 生物传感器 |
| IN2012DN02872A (ja) | 2009-11-10 | 2015-07-24 | Bayer Healthcare Llc | |
| IL209760A (en) | 2009-12-11 | 2015-05-31 | Lifescan Scotland Ltd | A system and method for measuring filling is satisfactory |
| EP2550530A1 (en) | 2010-03-22 | 2013-01-30 | Bayer HealthCare LLC | Residual compensation for a biosensor |
| US8965476B2 (en) | 2010-04-16 | 2015-02-24 | Sanofi-Aventis Deutschland Gmbh | Tissue penetration device |
| JP4840521B2 (ja) * | 2010-04-27 | 2011-12-21 | パナソニック株式会社 | バイオセンサ、バイオセンサ用測定装置及び基質の定量方法 |
| JP4840520B2 (ja) * | 2010-04-27 | 2011-12-21 | パナソニック株式会社 | バイオセンサ、バイオセンサ用測定装置及び基質の定量方法 |
| CA3047242A1 (en) | 2010-06-07 | 2011-12-15 | Ascensia Diabetes Care Holdings Ag | Underfill management system for a biosensor |
| WO2012064648A1 (en) | 2010-11-12 | 2012-05-18 | Bayer Healthcare Llc | Auto-coded analyte sensors and apparatus, systems, and methods for detecting same |
| EP2758039B1 (en) | 2011-09-21 | 2018-01-24 | Ascensia Diabetes Care Holdings AG | Biosensor with error compensation |
| US9097659B2 (en) | 2013-03-14 | 2015-08-04 | Bayer Healthcare Llc | Maintaining electrode function during manufacture with a protective layer |
| US9459232B2 (en) * | 2013-09-05 | 2016-10-04 | Lifescan Scotland Limited | Method and system to determine erroneous measurement signals during a test measurement sequence |
| KR20190091569A (ko) | 2014-12-19 | 2019-08-06 | 에프. 호프만-라 로슈 아게 | 적어도 하나의 분석물을 전기 화학적으로 검출하기 위한 테스트 엘리먼트 |
| TWI627403B (zh) * | 2015-10-08 | 2018-06-21 | 五鼎生物技術股份有限公司 | 生化試片 |
| CN106226379A (zh) * | 2016-07-10 | 2016-12-14 | 浙江亿联健医疗器械有限公司 | 一种消除进样过程影响的生物传感器及测试方法 |
| KR20210020578A (ko) * | 2019-08-16 | 2021-02-24 | 동우 화인켐 주식회사 | 바이오 센서 |
| CN114755402A (zh) | 2021-01-11 | 2022-07-15 | 安晟信医疗科技控股公司 | 分析物测量仪、测试条弹出器以及使用测试条弹出器的方法 |
Family Cites Families (26)
| Publication number | Priority date | Publication date | Assignee | Title |
|---|---|---|---|---|
| US5141868A (en) † | 1984-06-13 | 1992-08-25 | Internationale Octrooi Maatschappij "Octropa" Bv | Device for use in chemical test procedures |
| WO1989009397A1 (en) | 1988-03-31 | 1989-10-05 | Matsushita Electric Industrial Co., Ltd. | Biosensor and process for its production |
| JPH0658338B2 (ja) * | 1988-05-18 | 1994-08-03 | 松下電器産業株式会社 | バイオセンサ |
| EP0429076B1 (en) † | 1989-11-24 | 1996-01-31 | Matsushita Electric Industrial Co., Ltd. | Preparation of biosensor |
| JP2671693B2 (ja) † | 1991-03-04 | 1997-10-29 | 松下電器産業株式会社 | バイオセンサおよびその製造法 |
| US5264103A (en) * | 1991-10-18 | 1993-11-23 | Matsushita Electric Industrial Co., Ltd. | Biosensor and a method for measuring a concentration of a substrate in a sample |
| JP2960265B2 (ja) * | 1991-10-18 | 1999-10-06 | 松下電器産業株式会社 | バイオセンサおよびそれを用いた測定方法 |
| JP3084877B2 (ja) † | 1992-01-21 | 2000-09-04 | 松下電器産業株式会社 | グルコースセンサの製造方法 |
| JP3189416B2 (ja) * | 1992-09-25 | 2001-07-16 | 松下電器産業株式会社 | 液体の成分測定装置 |
| US5352351A (en) * | 1993-06-08 | 1994-10-04 | Boehringer Mannheim Corporation | Biosensing meter with fail/safe procedures to prevent erroneous indications |
| US5658443A (en) † | 1993-07-23 | 1997-08-19 | Matsushita Electric Industrial Co., Ltd. | Biosensor and method for producing the same |
| JP3061351B2 (ja) † | 1994-04-25 | 2000-07-10 | 松下電器産業株式会社 | 特定化合物の定量法およびその装置 |
| US5582697A (en) * | 1995-03-17 | 1996-12-10 | Matsushita Electric Industrial Co., Ltd. | Biosensor, and a method and a device for quantifying a substrate in a sample liquid using the same |
| JP3102627B2 (ja) * | 1995-03-17 | 2000-10-23 | 松下電器産業株式会社 | バイオセンサ、それを用いた定量法および定量装置 |
| US5620579A (en) * | 1995-05-05 | 1997-04-15 | Bayer Corporation | Apparatus for reduction of bias in amperometric sensors |
| US5628890A (en) | 1995-09-27 | 1997-05-13 | Medisense, Inc. | Electrochemical sensor |
| US5922188A (en) † | 1996-03-12 | 1999-07-13 | Matsushita Electric Industrial Co., Ltd. | Biosensor and method for quantitating biochemical substrate using the same |
| JP3370504B2 (ja) † | 1996-03-13 | 2003-01-27 | 松下電器産業株式会社 | バイオセンサ |
| JPH09274010A (ja) † | 1996-04-04 | 1997-10-21 | Matsushita Electric Ind Co Ltd | 基質の定量法 |
| JP3460183B2 (ja) * | 1996-12-24 | 2003-10-27 | 松下電器産業株式会社 | バイオセンサ |
| US6059946A (en) † | 1997-04-14 | 2000-05-09 | Matsushita Electric Industrial Co., Ltd. | Biosensor |
| US5759364A (en) † | 1997-05-02 | 1998-06-02 | Bayer Corporation | Electrochemical biosensor |
| US5798031A (en) | 1997-05-12 | 1998-08-25 | Bayer Corporation | Electrochemical biosensor |
| US5906921A (en) † | 1997-09-29 | 1999-05-25 | Matsushita Electric Industrial Co., Ltd. | Biosensor and method for quantitative measurement of a substrate using the same |
| DE19747875A1 (de) * | 1997-10-20 | 1999-05-06 | Meinhard Prof Dr Knoll | Verfahren zum Messen veränderlicher Größen und Vorrichtung zum Durchführen des Verfahrens |
| CA2305922C (en) * | 1999-08-02 | 2005-09-20 | Bayer Corporation | Improved electrochemical sensor design |
-
2000
- 2000-04-17 CA CA002305922A patent/CA2305922C/en not_active Expired - Fee Related
- 2000-05-19 AU AU35416/00A patent/AU769086B2/en not_active Ceased
- 2000-07-21 EP EP00114995.4A patent/EP1074832B2/en not_active Expired - Lifetime
- 2000-07-21 DE DE60042954T patent/DE60042954D1/de not_active Expired - Lifetime
- 2000-07-21 AT AT00114995T patent/ATE443254T1/de not_active IP Right Cessation
- 2000-07-21 ES ES00114995.4T patent/ES2330914T5/es not_active Expired - Lifetime
- 2000-07-21 EP EP10183635A patent/EP2282205A1/en not_active Withdrawn
- 2000-07-21 EP EP09010203A patent/EP2131194A1/en not_active Withdrawn
- 2000-07-21 DK DK00114995.4T patent/DK1074832T4/en active
- 2000-07-28 JP JP2000228240A patent/JP4829397B2/ja not_active Expired - Lifetime
- 2000-12-08 US US09/731,943 patent/US6531040B2/en not_active Expired - Lifetime
-
2011
- 2011-08-10 JP JP2011174826A patent/JP5100870B2/ja not_active Expired - Lifetime
Also Published As
| Publication number | Publication date |
|---|---|
| ES2330914T5 (es) | 2014-11-20 |
| JP5100870B2 (ja) | 2012-12-19 |
| EP2282205A1 (en) | 2011-02-09 |
| EP1074832B2 (en) | 2014-08-13 |
| EP1074832A1 (en) | 2001-02-07 |
| CA2305922C (en) | 2005-09-20 |
| US20010042683A1 (en) | 2001-11-22 |
| EP2131194A1 (en) | 2009-12-09 |
| DK1074832T3 (da) | 2009-12-21 |
| ES2330914T3 (es) | 2009-12-17 |
| US6531040B2 (en) | 2003-03-11 |
| CA2305922A1 (en) | 2001-02-02 |
| DE60042954D1 (de) | 2009-10-29 |
| JP2011257423A (ja) | 2011-12-22 |
| EP1074832B1 (en) | 2009-09-16 |
| JP2001066279A (ja) | 2001-03-16 |
| AU3541600A (en) | 2001-02-08 |
| AU769086B2 (en) | 2004-01-15 |
| ATE443254T1 (de) | 2009-10-15 |
| DK1074832T4 (en) | 2014-11-24 |
Similar Documents
| Publication | Publication Date | Title |
|---|---|---|
| JP4829397B2 (ja) | 改良された電気化学的センサ設計 | |
| USRE45384E1 (en) | Electrochemical-sensor design | |
| JP3612307B2 (ja) | 改良された電気化学的センサ | |
| US7132041B2 (en) | Methods of determining the concentration of an analyte in a fluid test sample | |
| JP3854892B2 (ja) | バイオセンサー | |
| AU2003200788B2 (en) | Improved Electrical Sensor | |
| KR101361888B1 (ko) | 시료 용적을 줄인 전기화학적 시험용 센서 | |
| US7993512B2 (en) | Electrochemical test sensor | |
| EP2117421B1 (en) | Electrochemical test sensor with light guide | |
| HK1191690B (en) | Electrochemical test sensor with reduced sample volume |
Legal Events
| Date | Code | Title | Description |
|---|---|---|---|
| RD04 | Notification of resignation of power of attorney |
Free format text: JAPANESE INTERMEDIATE CODE: A7424 Effective date: 20040525 |
|
| A621 | Written request for application examination |
Free format text: JAPANESE INTERMEDIATE CODE: A621 Effective date: 20070717 |
|
| A977 | Report on retrieval |
Free format text: JAPANESE INTERMEDIATE CODE: A971007 Effective date: 20100520 |
|
| A131 | Notification of reasons for refusal |
Free format text: JAPANESE INTERMEDIATE CODE: A131 Effective date: 20100706 |
|
| A521 | Request for written amendment filed |
Free format text: JAPANESE INTERMEDIATE CODE: A523 Effective date: 20101001 |
|
| A131 | Notification of reasons for refusal |
Free format text: JAPANESE INTERMEDIATE CODE: A131 Effective date: 20110510 |
|
| A521 | Request for written amendment filed |
Free format text: JAPANESE INTERMEDIATE CODE: A523 Effective date: 20110803 |
|
| TRDD | Decision of grant or rejection written | ||
| A01 | Written decision to grant a patent or to grant a registration (utility model) |
Free format text: JAPANESE INTERMEDIATE CODE: A01 Effective date: 20110830 |
|
| A01 | Written decision to grant a patent or to grant a registration (utility model) |
Free format text: JAPANESE INTERMEDIATE CODE: A01 |
|
| A61 | First payment of annual fees (during grant procedure) |
Free format text: JAPANESE INTERMEDIATE CODE: A61 Effective date: 20110916 |
|
| FPAY | Renewal fee payment (event date is renewal date of database) |
Free format text: PAYMENT UNTIL: 20140922 Year of fee payment: 3 |
|
| R150 | Certificate of patent or registration of utility model |
Ref document number: 4829397 Country of ref document: JP Free format text: JAPANESE INTERMEDIATE CODE: R150 Free format text: JAPANESE INTERMEDIATE CODE: R150 |
|
| R250 | Receipt of annual fees |
Free format text: JAPANESE INTERMEDIATE CODE: R250 |
|
| R250 | Receipt of annual fees |
Free format text: JAPANESE INTERMEDIATE CODE: R250 |
|
| R250 | Receipt of annual fees |
Free format text: JAPANESE INTERMEDIATE CODE: R250 |
|
| R250 | Receipt of annual fees |
Free format text: JAPANESE INTERMEDIATE CODE: R250 |
|
| R250 | Receipt of annual fees |
Free format text: JAPANESE INTERMEDIATE CODE: R250 |
|
| R250 | Receipt of annual fees |
Free format text: JAPANESE INTERMEDIATE CODE: R250 |
|
| EXPY | Cancellation because of completion of term |
