JP4792255B2 - 車両の制御装置および車両 - Google Patents
車両の制御装置および車両 Download PDFInfo
- Publication number
- JP4792255B2 JP4792255B2 JP2005225720A JP2005225720A JP4792255B2 JP 4792255 B2 JP4792255 B2 JP 4792255B2 JP 2005225720 A JP2005225720 A JP 2005225720A JP 2005225720 A JP2005225720 A JP 2005225720A JP 4792255 B2 JP4792255 B2 JP 4792255B2
- Authority
- JP
- Japan
- Prior art keywords
- load
- value
- sensor
- threshold
- main body
- Prior art date
- Legal status (The legal status is an assumption and is not a legal conclusion. Google has not performed a legal analysis and makes no representation as to the accuracy of the status listed.)
- Expired - Fee Related
Links
- 238000000034 method Methods 0.000 claims description 86
- 238000001514 detection method Methods 0.000 claims description 22
- 238000010248 power generation Methods 0.000 claims description 21
- 238000003860 storage Methods 0.000 claims description 18
- 230000001133 acceleration Effects 0.000 description 5
- 238000004590 computer program Methods 0.000 description 4
- 238000006073 displacement reaction Methods 0.000 description 4
- 230000005484 gravity Effects 0.000 description 4
- 238000005259 measurement Methods 0.000 description 4
- 230000036316 preload Effects 0.000 description 4
- 125000006850 spacer group Chemical group 0.000 description 4
- 125000002066 L-histidyl group Chemical group [H]N1C([H])=NC(C([H])([H])[C@](C(=O)[*])([H])N([H])[H])=C1[H] 0.000 description 3
- 238000004364 calculation method Methods 0.000 description 3
- 230000000295 complement effect Effects 0.000 description 3
- 230000007423 decrease Effects 0.000 description 3
- 230000001681 protective effect Effects 0.000 description 3
- 230000002829 reductive effect Effects 0.000 description 3
- 230000002441 reversible effect Effects 0.000 description 3
- 229920002430 Fibre-reinforced plastic Polymers 0.000 description 2
- 238000002485 combustion reaction Methods 0.000 description 2
- 239000004020 conductor Substances 0.000 description 2
- 238000009826 distribution Methods 0.000 description 2
- 230000000694 effects Effects 0.000 description 2
- 239000011151 fibre-reinforced plastic Substances 0.000 description 2
- 230000006870 function Effects 0.000 description 2
- 230000003287 optical effect Effects 0.000 description 2
- 229910052782 aluminium Inorganic materials 0.000 description 1
- XAGFODPZIPBFFR-UHFFFAOYSA-N aluminium Chemical compound [Al] XAGFODPZIPBFFR-UHFFFAOYSA-N 0.000 description 1
- 238000004891 communication Methods 0.000 description 1
- 230000003247 decreasing effect Effects 0.000 description 1
- 238000010586 diagram Methods 0.000 description 1
- 238000009434 installation Methods 0.000 description 1
- 238000004519 manufacturing process Methods 0.000 description 1
- 239000000463 material Substances 0.000 description 1
- 229910052751 metal Inorganic materials 0.000 description 1
- 239000002184 metal Substances 0.000 description 1
- 230000036961 partial effect Effects 0.000 description 1
- 239000011347 resin Substances 0.000 description 1
- 229920005989 resin Polymers 0.000 description 1
- 239000004065 semiconductor Substances 0.000 description 1
- 239000002023 wood Substances 0.000 description 1
Images
Classifications
-
- Y02T10/642—
Landscapes
- Electric Propulsion And Braking For Vehicles (AREA)
- Motorcycle And Bicycle Frame (AREA)
Description
Fr'=Fr−Fr0 …(2)
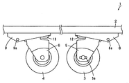
2 ボード本体部
3 前輪
4 後輪
5,6 支持具
7 保護カバー
8,9 外側フレーム
12,13 内側フレーム
21 ホルダ
22 緩衝部材
23 スペーサ
24 導線
70 駆動システム
71 モータ制御ユニット
72 バッテリ
73 CPU
74 ドライバ
75 メモリ
76 駆動モータ
77 エンコーダ
78 荷重検出ユニット
Claims (15)
- 車両を制御する制御装置であって、
前記車両は、使用者が乗車する本体部と、前記本体部を移動させるための動力を発生させる動力発生部と、前記本体部に与えられた荷重に応じた荷重値を出力する荷重検出部と
を有しており、
前記制御装置は、
荷重しきい値を格納する第1記憶部と、
前記動力発生部を制御するための複数の制御方法の各々に対応したデータを格納する第2記憶部と、
前記荷重値と荷重しきい値とを比較し、比較結果に応じて前記複数の制御方法の間で制御方法を切り換えて、対応する前記データに基づいて前記動力発生部を制御する処理部と
を備え、
前記車両の動力発生部は、指令値に応じた動力を発生させることが可能であり、
前記第1記憶部は、前記荷重しきい値として乗車しきい値を格納するとともに、前記乗車しきい値よりも小さい降車しきい値をさらに格納しており、
前記処理部は、前記荷重値が前記降車しきい値よりも小さくなったときに前記動力の発生を停止させるための制御方法に切り換え、切り換えた後の前記制御方法に対応するデータに基づいて前記指令値を出力する、制御装置。 - 前記処理部は、前記動力を発生させるための制御方法に切り換えて、停止状態に対応する指令値とは異なる指令値を出力する、請求項1に記載の制御装置。
- 前記処理部は、ステップ状に変化する前記指令値を出力する、請求項2に記載の制御装置。
- 前記処理部は、前記動力の発生を停止させるための制御方法に切り換えて、停止状態に対応する指令値を出力する、請求項1に記載の制御装置。
- 前記処理部は、前記荷重値が前記乗車しきい値よりも大きくなったときに前記動力を発生させるための制御方法に切り換える、請求項1に記載の制御装置。
- 前記荷重検出部は、前記本体部の異なる位置に設けられ、各位置における荷重に応じた荷重値を出力するセンサを複数含んでおり、
前記第1記憶部は、各センサに対応して規定された荷重しきい値を複数格納しており、
前記処理部は、各センサからの荷重値と、対応する前記荷重しきい値とをそれぞれ比較する、請求項1に記載の制御装置。 - 前記第1記憶部は、対応する前記荷重しきい値として第1乗車しきい値および第2乗車しきい値を格納しており、
前記荷重検出部は、第1センサおよび第2センサを含み、
前記処理部は、前記第1センサによって検出された荷重値が第1乗車しきい値を超え、かつ、前記第2センサによって検出された荷重値が第2乗車しきい値を超えたことを示す比較結果が得られたとき、前記動力を発生させるための制御方法に切り換える、請求項6に記載の制御装置。 - 前記第1記憶部は、対応する前記荷重しきい値として、第1降車しきい値および第2降車しきい値を格納しており、
前記荷重検出部は、第1センサおよび第2センサを含み、
前記処理部は、前記第1センサによって検出された荷重値が第1降車しきい値以下になったこと、および、前記第2センサによって検出された荷重値が第2降車しきい値以下になったことの少なくとも一方を示す比較結果が得られたときに、前記動力の発生を停止させるための制御方法に切り換える、請求項6に記載の制御装置。 - 前記車両の動力発生部は、前記指令値に応じた移動の方向および速さによって前記本体部を移動させ、
前記処理部は、前記第1センサによって検出された荷重値および前記第2センサによって検出された荷重値に基づいて、前記荷重の偏りを計算し、前記偏りに応じて前記指令値を変化させる、請求項7に記載の制御装置。 - 使用者が乗車する本体部と、
前記本体部を移動させるための動力を発生させる動力発生部と、
前記本体部に設けられ、荷重に応じた荷重値を検出する荷重検出部と、
制御装置と
を有する車両であって、前記制御装置は、
荷重しきい値を格納する第1記憶部と、
前記動力発生部を制御するための複数の制御方法の各々に対応したデータを格納する第2記憶部と、
前記荷重値と荷重しきい値とを比較し、比較結果に応じて前記複数の制御方法の間で制御方法を切り換えて、対応する前記データに基づいて前記動力発生部を制御する処理部と
を備え、
前記車両の動力発生部は、指令値に応じた動力を発生させることが可能であり、
前記第1記憶部は、前記荷重しきい値として乗車しきい値を格納するとともに、前記乗車しきい値よりも小さい降車しきい値をさらに格納しており、
前記処理部は、前記荷重値が前記降車しきい値よりも小さくなったときに前記動力の発生を停止させるための制御方法に切り換え、切り換えた後の前記制御方法に対応するデータに基づいて前記指令値を出力する、車両。 - 前記本体部を支える第1車輪および第2車輪を備え、
前記第1車輪および前記第2車輪の少なくとも一方が前記動力発生部と力学的に結合されている、請求項10に記載の車両。 - 前記本体部はボード状であり、かつ、前記第1車輪および前記第2車輪を結ぶ方向に長い、請求項11に記載の車両。
- 前記第1車輪および前記第2車輪は、前記本体部の中央位置に関して、互いに反対の位置に配置されている、請求項12に記載の車両。
- 前記動力発生部は、前記第1車輪および前記第2車輪を結ぶ方向に前記本体部を移動させる、請求項13に記載の車両。
- スケートボードである、請求項11に記載の車両。
Priority Applications (1)
| Application Number | Priority Date | Filing Date | Title |
|---|---|---|---|
| JP2005225720A JP4792255B2 (ja) | 2004-08-05 | 2005-08-03 | 車両の制御装置および車両 |
Applications Claiming Priority (5)
| Application Number | Priority Date | Filing Date | Title |
|---|---|---|---|
| JP2004228942 | 2004-08-05 | ||
| JP2004228942 | 2004-08-05 | ||
| JP2004268085 | 2004-09-15 | ||
| JP2004268085 | 2004-09-15 | ||
| JP2005225720A JP4792255B2 (ja) | 2004-08-05 | 2005-08-03 | 車両の制御装置および車両 |
Publications (2)
| Publication Number | Publication Date |
|---|---|
| JP2006110331A JP2006110331A (ja) | 2006-04-27 |
| JP4792255B2 true JP4792255B2 (ja) | 2011-10-12 |
Family
ID=36379317
Family Applications (1)
| Application Number | Title | Priority Date | Filing Date |
|---|---|---|---|
| JP2005225720A Expired - Fee Related JP4792255B2 (ja) | 2004-08-05 | 2005-08-03 | 車両の制御装置および車両 |
Country Status (1)
| Country | Link |
|---|---|
| JP (1) | JP4792255B2 (ja) |
Families Citing this family (1)
| Publication number | Priority date | Publication date | Assignee | Title |
|---|---|---|---|---|
| US10988032B2 (en) * | 2016-04-19 | 2021-04-27 | Walnut Technology Limited | Self-propelled personal transportation device |
Family Cites Families (6)
| Publication number | Priority date | Publication date | Assignee | Title |
|---|---|---|---|---|
| FR2689234B1 (fr) * | 1992-03-26 | 1994-07-01 | Opto Ind | Detecteur de pression a fibre optique perfectionne. |
| JP3259735B2 (ja) * | 1992-03-31 | 2002-02-25 | 株式会社エクォス・リサーチ | 電気自動車 |
| US6050357A (en) * | 1995-05-31 | 2000-04-18 | Empower Corporation | Powered skateboard |
| JP2787766B2 (ja) * | 1995-06-30 | 1998-08-20 | 有限会社ニューテクノロジー研究所 | 自走式ローラーボード |
| JPH10314366A (ja) * | 1997-05-23 | 1998-12-02 | Sanyo Electric Co Ltd | 自走式スケートボード |
| JP3493521B2 (ja) * | 2002-02-18 | 2004-02-03 | 光成 祐川 | 自走式スケートボード |
-
2005
- 2005-08-03 JP JP2005225720A patent/JP4792255B2/ja not_active Expired - Fee Related
Also Published As
| Publication number | Publication date |
|---|---|
| JP2006110331A (ja) | 2006-04-27 |
Similar Documents
| Publication | Publication Date | Title |
|---|---|---|
| US7138774B2 (en) | Vehicle control unit and vehicle | |
| US7458435B2 (en) | Vehicle control unit and vehicle | |
| US8423274B2 (en) | Vehicle | |
| US7198280B2 (en) | Vehicle | |
| US7467681B2 (en) | Vehicle, vehicle control device and variable control method | |
| US20210206451A1 (en) | Two-wheel self-balancing vehicle with platform borne sensor control | |
| US11260905B2 (en) | Human-machine interaction vehicle | |
| TWI640448B (zh) | 用於運載使用者的載具及方法 | |
| US8255105B2 (en) | Steering device, boarding type moving body with steering device, and steering method for moving body | |
| US7445069B2 (en) | Vehicle control unit and vehicle | |
| US20180148120A1 (en) | Balancing vehicle | |
| JPWO2005014127A1 (ja) | スケートボード | |
| US20160221595A1 (en) | Pushcart | |
| JP2004510637A (ja) | 個人用輸送車の制御 | |
| CA2623289A1 (en) | Vehicle stabilizing system having pivotal support | |
| JP4792254B2 (ja) | 車両の制御装置および車両 | |
| CA3222335A1 (en) | Suspension system for a one-wheeled vehicle | |
| JP4792255B2 (ja) | 車両の制御装置および車両 | |
| JP2006110335A (ja) | 車両の制御装置および車両 | |
| CN100470412C (zh) | 车辆控制装置和车辆 | |
| CN100519260C (zh) | 车辆控制装置和车辆 | |
| JP2006192078A (ja) | スケートボード | |
| JP2005335678A (ja) | 車両、車両の制御装置および制御方法 | |
| JP6790590B2 (ja) | 走行装置 | |
| WO2018069967A1 (ja) | 一人乗り移動機器 |
Legal Events
| Date | Code | Title | Description |
|---|---|---|---|
| RD13 | Notification of appointment of power of sub attorney |
Free format text: JAPANESE INTERMEDIATE CODE: A7433 Effective date: 20070720 |
|
| A621 | Written request for application examination |
Free format text: JAPANESE INTERMEDIATE CODE: A621 Effective date: 20080702 |
|
| A131 | Notification of reasons for refusal |
Free format text: JAPANESE INTERMEDIATE CODE: A131 Effective date: 20101207 |
|
| A521 | Request for written amendment filed |
Free format text: JAPANESE INTERMEDIATE CODE: A523 Effective date: 20110127 |
|
| TRDD | Decision of grant or rejection written | ||
| A01 | Written decision to grant a patent or to grant a registration (utility model) |
Free format text: JAPANESE INTERMEDIATE CODE: A01 Effective date: 20110719 |
|
| A01 | Written decision to grant a patent or to grant a registration (utility model) |
Free format text: JAPANESE INTERMEDIATE CODE: A01 |
|
| A61 | First payment of annual fees (during grant procedure) |
Free format text: JAPANESE INTERMEDIATE CODE: A61 Effective date: 20110725 |
|
| FPAY | Renewal fee payment (event date is renewal date of database) |
Free format text: PAYMENT UNTIL: 20140729 Year of fee payment: 3 |
|
| R150 | Certificate of patent or registration of utility model |
Free format text: JAPANESE INTERMEDIATE CODE: R150 |
|
| R250 | Receipt of annual fees |
Free format text: JAPANESE INTERMEDIATE CODE: R250 |
|
| R250 | Receipt of annual fees |
Free format text: JAPANESE INTERMEDIATE CODE: R250 |
|
| R250 | Receipt of annual fees |
Free format text: JAPANESE INTERMEDIATE CODE: R250 |
|
| LAPS | Cancellation because of no payment of annual fees |
