JP4792254B2 - 車両の制御装置および車両 - Google Patents
車両の制御装置および車両 Download PDFInfo
- Publication number
- JP4792254B2 JP4792254B2 JP2005225719A JP2005225719A JP4792254B2 JP 4792254 B2 JP4792254 B2 JP 4792254B2 JP 2005225719 A JP2005225719 A JP 2005225719A JP 2005225719 A JP2005225719 A JP 2005225719A JP 4792254 B2 JP4792254 B2 JP 4792254B2
- Authority
- JP
- Japan
- Prior art keywords
- load
- value
- sensor
- command value
- main body
- Prior art date
- Legal status (The legal status is an assumption and is not a legal conclusion. Google has not performed a legal analysis and makes no representation as to the accuracy of the status listed.)
- Expired - Fee Related
Links
- 238000000034 method Methods 0.000 claims description 63
- 238000004364 calculation method Methods 0.000 claims description 22
- 238000001514 detection method Methods 0.000 claims description 17
- 238000010248 power generation Methods 0.000 claims description 15
- 230000002441 reversible effect Effects 0.000 claims description 4
- 230000001133 acceleration Effects 0.000 description 5
- 238000004590 computer program Methods 0.000 description 4
- 238000006073 displacement reaction Methods 0.000 description 4
- 230000005484 gravity Effects 0.000 description 4
- 238000005259 measurement Methods 0.000 description 4
- 230000036316 preload Effects 0.000 description 4
- 125000006850 spacer group Chemical group 0.000 description 4
- 125000002066 L-histidyl group Chemical group [H]N1C([H])=NC(C([H])([H])[C@](C(=O)[*])([H])N([H])[H])=C1[H] 0.000 description 3
- 230000000295 complement effect Effects 0.000 description 3
- 230000007423 decrease Effects 0.000 description 3
- 230000001681 protective effect Effects 0.000 description 3
- 230000002829 reductive effect Effects 0.000 description 3
- 229920002430 Fibre-reinforced plastic Polymers 0.000 description 2
- 238000002485 combustion reaction Methods 0.000 description 2
- 239000004020 conductor Substances 0.000 description 2
- 230000000694 effects Effects 0.000 description 2
- 239000011151 fibre-reinforced plastic Substances 0.000 description 2
- 230000006870 function Effects 0.000 description 2
- 230000003287 optical effect Effects 0.000 description 2
- 229910052782 aluminium Inorganic materials 0.000 description 1
- XAGFODPZIPBFFR-UHFFFAOYSA-N aluminium Chemical compound [Al] XAGFODPZIPBFFR-UHFFFAOYSA-N 0.000 description 1
- 238000004891 communication Methods 0.000 description 1
- 230000003247 decreasing effect Effects 0.000 description 1
- 238000010586 diagram Methods 0.000 description 1
- 238000009434 installation Methods 0.000 description 1
- 239000000463 material Substances 0.000 description 1
- 229910052751 metal Inorganic materials 0.000 description 1
- 239000002184 metal Substances 0.000 description 1
- 230000036961 partial effect Effects 0.000 description 1
- 239000011347 resin Substances 0.000 description 1
- 229920005989 resin Polymers 0.000 description 1
- 239000004065 semiconductor Substances 0.000 description 1
- 239000002023 wood Substances 0.000 description 1
Images
Landscapes
- Motorcycle And Bicycle Frame (AREA)
- Electric Propulsion And Braking For Vehicles (AREA)
Description
Fr'=Fr−Fr0 …(2)
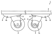
2 ボード本体部
3 前輪
4 後輪
5,6 支持具
7 保護カバー
8,9 外側フレーム
12,13 内側フレーム
21 ホルダ
22 緩衝部材
23 スペーサ
24 導線
70 駆動システム
71 モータ制御ユニット
72 バッテリ
73 CPU
74 ドライバ
75 メモリ
76 駆動モータ
77 エンコーダ
78 荷重検出ユニット
Claims (10)
- 車両を制御する制御装置であって、
前記車両は、使用者が乗車する本体部と、前記本体部を移動させるための動力を発生させる動力発生部と、前記本体部に与えられた荷重に応じた荷重値を出力する第1センサおよび第2センサとを有しており、
前記制御装置は、
前記第1センサによって検出された第1荷重値、および、前記第2センサによって検出された第2荷重値の合計に対する第1荷重値および第2荷重値の少なくとも一方の割合を、荷重の偏りとして計算し、前記偏りに応じた指令値を出力する演算部と、
前記指令値に基づいて前記動力発生部を制御する駆動部と、
前記割合と前記指令値との対応関係を規定したマップを格納した記憶部であって、第1移動方向に対する第1マップ、および、前記第1移動方向とは異なる第2移動方向に対する第2マップを格納した記憶部と、
前記本体部の走行状態を検出する状態検出部と
を備え、
前記演算部は、検出された走行状態のうちの移動方向に基づいて前記第1マップおよび前記第2マップを切り換えて、計算によって得られた前記割合および選択したマップに基づいて前記指令値を取得する、制御装置。 - 前記演算部は、前記第1センサおよび前記第2センサの中央位置を基準としたときの荷重の偏りを計算する、請求項1に記載の制御装置。
- 前記記憶部は、出力された指令値、および、指令値の変化許容量を示すしきい値を格納しており、
前記演算部は、計算によって得られた前記割合に基づいて指令値を生成し、前記記憶部に格納された前回の指令値に対する前記指令値の変化量が前記しきい値を超えたときには、前記前回の指令値に対して前記しきい値を加算し、加算結果を新たな指令値として出力する、請求項1に記載の制御装置。 - 前記記憶部は、前記車両の第1センサに対応して設けられた、前記使用者の乗車状態を特定する第1しきい値と、前記車両の第2センサに対応して設けられた、前記使用者の乗車状態を特定する第2しきい値とをさらに格納しており、
前記演算部は、前記第1荷重値と前記第1しきい値とを比較し、かつ、前記第2荷重値と前記第2しきい値とを比較して、比較結果に応じて、少なくとも前記本体部の前進時に利用される制御方法および後進時に利用される制御方法を含む複数の制御方法の間で制御方法を切り換えて、前記指令値を出力する、請求項3に記載の制御装置。 - 使用者が乗車する本体部と、
前記本体部を移動させるための動力を発生させる動力発生部と、
前記本体部に与えられた荷重に応じた荷重値を検出する第1センサおよび第2センサと、
制御装置と
を有する車両であって、前記制御装置は、
前記第1センサによって検出された第1荷重値、および、前記第2センサによって検出された第2荷重値の合計に対する第1荷重値および第2荷重値の少なくとも一方の割合を、荷重の偏りとして計算し、前記荷重の偏りに応じた指令値を出力する演算部と、
前記指令値に基づいて前記動力発生部を制御する駆動部と、
前記割合と前記指令値との対応関係を規定したマップを格納した記憶部であって、第1移動方向に対する第1マップ、および、前記第1移動方向とは異なる第2移動方向に対する第2マップを格納した記憶部と、
前記本体部の走行状態を検出する状態検出部と
を備え、
前記演算部は、検出された走行状態のうちの移動方向に基づいて前記第1マップおよび前記第2マップを切り換えて、計算によって得られた前記割合および選択したマップに基づいて前記指令値を取得する、車両。 - 前記本体部を支える第1車輪および第2車輪を備え、
前記第1車輪および前記第2車輪の少なくとも一方が前記動力発生部と力学的に結合されている、請求項5に記載の車両。 - 前記本体部はボード状であり、かつ、前記第1車輪および前記第2車輪を結ぶ方向に長い、請求項6に記載の車両。
- 前記第1車輪および前記第2車輪は、前記本体部の中央位置に関して、互いに反対の位置に配置されている、請求項7に記載の車両。
- 前記動力発生部は、前記第1車輪および前記第2車輪を結ぶ方向に前記本体部を移動させる、請求項8に記載の車両。
- スケートボードである、請求項6に記載の車両。
Priority Applications (1)
| Application Number | Priority Date | Filing Date | Title |
|---|---|---|---|
| JP2005225719A JP4792254B2 (ja) | 2004-08-05 | 2005-08-03 | 車両の制御装置および車両 |
Applications Claiming Priority (5)
| Application Number | Priority Date | Filing Date | Title |
|---|---|---|---|
| JP2004228943 | 2004-08-05 | ||
| JP2004228943 | 2004-08-05 | ||
| JP2004268085 | 2004-09-15 | ||
| JP2004268085 | 2004-09-15 | ||
| JP2005225719A JP4792254B2 (ja) | 2004-08-05 | 2005-08-03 | 車両の制御装置および車両 |
Publications (2)
| Publication Number | Publication Date |
|---|---|
| JP2006110330A JP2006110330A (ja) | 2006-04-27 |
| JP4792254B2 true JP4792254B2 (ja) | 2011-10-12 |
Family
ID=36379316
Family Applications (1)
| Application Number | Title | Priority Date | Filing Date |
|---|---|---|---|
| JP2005225719A Expired - Fee Related JP4792254B2 (ja) | 2004-08-05 | 2005-08-03 | 車両の制御装置および車両 |
Country Status (1)
| Country | Link |
|---|---|
| JP (1) | JP4792254B2 (ja) |
Families Citing this family (3)
| Publication number | Priority date | Publication date | Assignee | Title |
|---|---|---|---|---|
| GB0902356D0 (en) * | 2009-02-12 | 2009-04-01 | Nexxtdrive Ltd | Bicycle transmission systems |
| CN108201693A (zh) * | 2018-03-21 | 2018-06-26 | 深圳汇鑫鱼科技有限公司 | 带发电机的滑轮鞋动力装置 |
| CN108955969B (zh) * | 2018-08-31 | 2021-03-02 | 纳恩博(北京)科技有限公司 | 电阻应变片、感应组件、力传感器和滑板 |
Family Cites Families (6)
| Publication number | Priority date | Publication date | Assignee | Title |
|---|---|---|---|---|
| JP3259735B2 (ja) * | 1992-03-31 | 2002-02-25 | 株式会社エクォス・リサーチ | 電気自動車 |
| US6050357A (en) * | 1995-05-31 | 2000-04-18 | Empower Corporation | Powered skateboard |
| JP2787766B2 (ja) * | 1995-06-30 | 1998-08-20 | 有限会社ニューテクノロジー研究所 | 自走式ローラーボード |
| JPH10201013A (ja) * | 1997-01-10 | 1998-07-31 | Mitsubishi Motors Corp | 電気自動車用モータ制御装置 |
| JPH10314366A (ja) * | 1997-05-23 | 1998-12-02 | Sanyo Electric Co Ltd | 自走式スケートボード |
| JP3493521B2 (ja) * | 2002-02-18 | 2004-02-03 | 光成 祐川 | 自走式スケートボード |
-
2005
- 2005-08-03 JP JP2005225719A patent/JP4792254B2/ja not_active Expired - Fee Related
Also Published As
| Publication number | Publication date |
|---|---|
| JP2006110330A (ja) | 2006-04-27 |
Similar Documents
| Publication | Publication Date | Title |
|---|---|---|
| US7138774B2 (en) | Vehicle control unit and vehicle | |
| US7458435B2 (en) | Vehicle control unit and vehicle | |
| US11260905B2 (en) | Human-machine interaction vehicle | |
| US20210206451A1 (en) | Two-wheel self-balancing vehicle with platform borne sensor control | |
| US8423274B2 (en) | Vehicle | |
| US7467681B2 (en) | Vehicle, vehicle control device and variable control method | |
| TWI640448B (zh) | 用於運載使用者的載具及方法 | |
| US7445069B2 (en) | Vehicle control unit and vehicle | |
| US20180148120A1 (en) | Balancing vehicle | |
| US8255105B2 (en) | Steering device, boarding type moving body with steering device, and steering method for moving body | |
| JPWO2005014127A1 (ja) | スケートボード | |
| US20160221595A1 (en) | Pushcart | |
| JP2004510637A (ja) | 個人用輸送車の制御 | |
| CA2623289A1 (en) | Vehicle stabilizing system having pivotal support | |
| JP4792254B2 (ja) | 車両の制御装置および車両 | |
| JP2004113375A (ja) | パワーアシスト付運搬車 | |
| JP4792255B2 (ja) | 車両の制御装置および車両 | |
| JP2006110335A (ja) | 車両の制御装置および車両 | |
| JP2011005935A (ja) | 自転車 | |
| CN100470412C (zh) | 车辆控制装置和车辆 | |
| CN100519260C (zh) | 车辆控制装置和车辆 | |
| JP2006192078A (ja) | スケートボード | |
| JP2005335678A (ja) | 車両、車両の制御装置および制御方法 | |
| JP2005335677A (ja) | 車両、車両の制御装置および制御方法 | |
| CN107344588A (zh) | 两轮自平衡车 |
Legal Events
| Date | Code | Title | Description |
|---|---|---|---|
| RD13 | Notification of appointment of power of sub attorney |
Free format text: JAPANESE INTERMEDIATE CODE: A7433 Effective date: 20070720 |
|
| A621 | Written request for application examination |
Free format text: JAPANESE INTERMEDIATE CODE: A621 Effective date: 20080702 |
|
| A131 | Notification of reasons for refusal |
Free format text: JAPANESE INTERMEDIATE CODE: A131 Effective date: 20101207 |
|
| A521 | Request for written amendment filed |
Free format text: JAPANESE INTERMEDIATE CODE: A523 Effective date: 20110127 |
|
| TRDD | Decision of grant or rejection written | ||
| A01 | Written decision to grant a patent or to grant a registration (utility model) |
Free format text: JAPANESE INTERMEDIATE CODE: A01 Effective date: 20110719 |
|
| A01 | Written decision to grant a patent or to grant a registration (utility model) |
Free format text: JAPANESE INTERMEDIATE CODE: A01 |
|
| A61 | First payment of annual fees (during grant procedure) |
Free format text: JAPANESE INTERMEDIATE CODE: A61 Effective date: 20110725 |
|
| FPAY | Renewal fee payment (event date is renewal date of database) |
Free format text: PAYMENT UNTIL: 20140729 Year of fee payment: 3 |
|
| R150 | Certificate of patent or registration of utility model |
Free format text: JAPANESE INTERMEDIATE CODE: R150 |
|
| R250 | Receipt of annual fees |
Free format text: JAPANESE INTERMEDIATE CODE: R250 |
|
| R250 | Receipt of annual fees |
Free format text: JAPANESE INTERMEDIATE CODE: R250 |
|
| R250 | Receipt of annual fees |
Free format text: JAPANESE INTERMEDIATE CODE: R250 |
|
| LAPS | Cancellation because of no payment of annual fees |
