JP4780452B2 - 製造工場エネルギー消費分析システム - Google Patents

製造工場エネルギー消費分析システム Download PDF

Info

Publication number
JP4780452B2
JP4780452B2 JP2005341572A JP2005341572A JP4780452B2 JP 4780452 B2 JP4780452 B2 JP 4780452B2 JP 2005341572 A JP2005341572 A JP 2005341572A JP 2005341572 A JP2005341572 A JP 2005341572A JP 4780452 B2 JP4780452 B2 JP 4780452B2
Authority
JP
Japan
Prior art keywords
energy consumption
utility
time
manufacturing
data
Prior art date
Legal status (The legal status is an assumption and is not a legal conclusion. Google has not performed a legal analysis and makes no representation as to the accuracy of the status listed.)
Expired - Fee Related
Application number
JP2005341572A
Other languages
English (en)
Other versions
JP2007148726A (ja
Inventor
明弘 矢川
和良 那須原
猛 関口
Current Assignee (The listed assignees may be inaccurate. Google has not performed a legal analysis and makes no representation or warranty as to the accuracy of the list.)
Shimizu Corp
Original Assignee
Shimizu Corp
Priority date (The priority date is an assumption and is not a legal conclusion. Google has not performed a legal analysis and makes no representation as to the accuracy of the date listed.)
Filing date
Publication date
Application filed by Shimizu Corp filed Critical Shimizu Corp
Priority to JP2005341572A priority Critical patent/JP4780452B2/ja
Publication of JP2007148726A publication Critical patent/JP2007148726A/ja
Application granted granted Critical
Publication of JP4780452B2 publication Critical patent/JP4780452B2/ja
Anticipated expiration legal-status Critical
Expired - Fee Related legal-status Critical Current

Links

Images

Classifications

    • YGENERAL TAGGING OF NEW TECHNOLOGICAL DEVELOPMENTS; GENERAL TAGGING OF CROSS-SECTIONAL TECHNOLOGIES SPANNING OVER SEVERAL SECTIONS OF THE IPC; TECHNICAL SUBJECTS COVERED BY FORMER USPC CROSS-REFERENCE ART COLLECTIONS [XRACs] AND DIGESTS
    • Y02TECHNOLOGIES OR APPLICATIONS FOR MITIGATION OR ADAPTATION AGAINST CLIMATE CHANGE
    • Y02PCLIMATE CHANGE MITIGATION TECHNOLOGIES IN THE PRODUCTION OR PROCESSING OF GOODS
    • Y02P90/00Enabling technologies with a potential contribution to greenhouse gas [GHG] emissions mitigation
    • Y02P90/02Total factory control, e.g. smart factories, flexible manufacturing systems [FMS] or integrated manufacturing systems [IMS]

Landscapes

  • General Factory Administration (AREA)
  • Testing And Monitoring For Control Systems (AREA)
  • Management, Administration, Business Operations System, And Electronic Commerce (AREA)

Description

本発明は、複数の製造装置及び各製造装置に用力を供給する複数のユーティリティ装置(用力供給装置)を備え複数の工程を実行して製品を製造する製造工場の稼働効率、エネルギー消費を分析する製造工場エネルギー消費分析システムに関する。
図17は半導体製造工場で備える製造装置の例と各製造装置の用力、各用力を供給するユーティリティ装置、ユーティリティ装置の消費エネルギーを説明する図である。半導体製造工場においては、例えば図17に示すようなフォト装置、エッチング装置、スパッタ装置、洗浄装置、アニール炉などを含む複数種、複数台の製造装置を備え、いくつもの工程が実行され、そして、数多くのロットが同一種類の装置において処理される。そのため、ロットの流れの把握が難しく、製品の各工程における使用装置及び処理時間、装置群などの情報を入力し、コンピュータ上でロットを流し、ロットの流れの把握や生産ラインの最適化、生産計画を行うなどの工夫がなされている。
また、半導体製造工場では、図17に示すように各製造装置において、工程の実行に対応して排気、冷却水、電力、圧縮空気、真空、純水、排水、ガスなどの用力が要求されるため、その所望の要求にみあった用力を各製造装置に供給するためそれぞれのユーティリティ装置(建築設備、ユティリティ)を備えている。これらは、排気ファン、スクラバー、空調機、熱源、ポンプ等が外気給気、排気のユーティリティ装置として、また、冷却塔、冷却水ポンプが冷却水のユーティリティ装置として、受変電設備、幹線設備、動力設備等が電気のユーティリティ装置として、コンプレッサー、冷却塔、ポンプ、ドライヤー等が圧縮空気のユーティリティ装置として、真空装置が真空のユーティリティ装置として、純水装置、ポンプが純水のユーティリティ装置として、排水処理装置、ポンプが排水のユーティリティ装置として、ガス供給装置がガスのユーティリティ装置としてそれぞれ用意され、さらにクリーンルームでの半導体製造工場では、空調機、FFU、熱源、ポンプ等がクリーンルーム空調のため用意され、それらはエネルギーとして電力や燃料を消費する。
このような半導体生産ラインの最適化、生産計画を行うため、実際の生産ラインにおける各種処理をシミュレーションすることにより、ロットの進捗を厳密に予測し、複数の選択肢から最適なものを選択できるようにするための提案もなされている(例えば、特許文献1参照)。
特開2002−055711号公報
しかし従来、省エネという観点から製造装置だけでなくユーティリティ装置(用力供給装置)を含め製造工場全体を分析したものはなく、エネルギー消費量を具体的に分析してより省エネを実現するための検討や計画をすることができなかった。本発明は、かかる課題を解決するものであって、製造装置のロットフローに基づきユーティリティ装置を含めた製造工場全体のエネルギー消費量の分析を簡便に行えるようにし、省エネの検討や計画に資するシステムを提供するものである。
そのために本発明は、複数の製造装置及び各製造装置に用力を供給する複数のユーティリティ装置を備え複数の工程を実行して製品を製造する製造工場の稼働効率、エネルギー消費を分析する製造工場エネルギー消費分析システムであって、各工程別に処理開始時間と処理終了時間又は処理時間と製造装置と該製造装置の各用力の経時変動する要求量の情報を含む入力データを格納する入力データ格納手段と、前記各用力を供給するユーティリティ装置の要求量に対応するエネルギー消費量を求めるためのエネルギーデータを含む設定データを格納する設定データ格納手段と、前記入力データから製造装置別に各用力の要求量を時系列に抽出して集計する装置別抽出処理手段と、前記入力データから工程分類別に各用力の要求量を時系列に抽出して集計する工程分類別抽出処理手段と、前記装置別抽出処理手段又は前記工程分類別抽出処理手段により抽出して集計された装置別又は工程分類別の各用力の要求量を用力別に集計して時系列の総要求量を算出して前記総要求量に対応するエネルギー消費量を前記エネルギーデータに基づき算出するエネルギー消費量算出手段と、前記エネルギー消費量算出手段により算出された時系列の総要求量に対する前記装置別抽出処理手段及び前記工程分類別抽出処理手段により抽出して集計された装置別及び工程分類別の各用力の要求量の割合で前記エネルギー消費量算出手段により算出されたエネルギー消費量を按分計算して前記装置別及び工程分類別の各用力を供給するための個別エネルギー消費量を算出し用力負荷の推移、エネルギー消費量の推移を含むエネルギー消費の分析処理を行う分析処理手段と、前記用力負荷の推移、エネルギー消費量の推移を含むエネルギー消費の分析情報の出力処理を行う出力処理手段とを備えたことを特徴とする。
また、前記分析情報は、棒グラフ、円グラフ、折れ線グラフ、レーダチャートのいずれかによる情報であることを特徴とし、前記装置別、工程分類別に各用力の個別エネルギー消費量の推移をグラフにより出力し、前記個別エネルギー消費量における最大値、最小値、平均値を求めて前記個別エネルギー消費量の推移を表したグラフ上に付加して出力し、前記個別エネルギー消費量の推移に稼働/待機の情報をグラフ上に付加して出力することを特徴とする。
前記分析情報は、前記処理開始時間と処理終了時間又は処理時間から稼働時間と待機時間を判定し、それぞれの時間に対応するエネルギー消費量を集計して、製造装置別にグラフとして出力することを特徴とする。
本発明によれば、各工程毎の処理開始時間と処理終了時間と製造装置と該製造装置の各用力の要求量の経時変動と処理稼働情報を含む入力データから時系列のエネルギー消費量、各製造装置のエネルギー消費量、各用力のエネルギー消費量、各工程毎にエネルギー消費量をそれぞれ求めてエネルギー消費量の分析を行う時系列、製造装置別、用力別、工程分類別の分析情報を生成することができ、時系列、製造装置別、用力別、工程分類別に稼働効率やエネルギー消費の無駄を分析することが簡便にできる。したがって、ユーティリティ装置の適切な容量設計やエネルギー効率の改善、或いは製造装置の用力要求量の低減による、製造工程全体の省エネルギー効果を分析することができるので、さらなる製造工場全体の省エネの向上に資することができる。
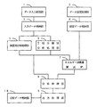
以下、本発明の実施の形態を図面を参照しつつ説明する。図1は本発明に係る製造工場エネルギー消費分析システムの実施の形態を説明する図であり、1はデータ入力処理部、2はデータ設定処理部、3は入力データ格納部、4は設定データ格納部、5は装置別抽出処理部、6は工程分類別抽出処理部、7はエネルギー消費量算出部、8は用力負荷・エネルギー消費分析処理部、9は分析情報出力処理部、10は分析データ格納部を示す。
図1において、データ入力部1は、処理開始・終了時間や工程番号、ロット番号を含む装置稼働データ、各装置の各用力の要求量の経時変化からなる用力推移データ等を入力するものであり、これらは、シミュレータから出力されるデータ、或いは製造工場において実働記録として得られるデータ等である。入力データ格納部3は、データ入力部1から入力される装置稼働データ、製造スケジュールデータ、用力推移データ等の入力データを格納するものである。データ設定部2は、用力負荷・エネルギー消費分析の処理に必要なデータを設定するものであり、ユーティリティ装置別に所望の用力を供給するのに消費されるエネルギー量を求めるためのデータを設定し、その設定した各ユーティリティ装置の要求量に対応するエネルギー消費量を示すエネルギーデータを格納するのが設定データ格納部4である。分析データ格納部10は、入力データ格納部3及び設定データ格納部4に格納された入力データ及びエネルギーデータに基づき装置別、工程分類別、用力別に分析された時系列或いは全体のエネルギー消費量を含む分析データを格納するものである。
装置別抽出処理部5は、入力データから製造装置別に各用力の要求量を時系列に抽出するものであり、工程分類別抽出処理部6は、入力データから各工程分類別に各用力の要求量を時系列に抽出するものである。エネルギー消費量算出部7は、装置別抽出処理部5又は工程分類別抽出処理部6により抽出された製造装置別又は工程分類別の各用力の要求量をさらに時系列に集計して各時における用力別の総要求量を求めると共に、用力別の総要求量から設定データ格納部4に格納されたエネルギーデータを基にユーティリティ装置別のエネルギー消費量を時系列に求めるものである。
用力負荷・エネルギー消費分析処理部8は、エネルギー消費量算出部7により求めた時系列のユーティリティ装置別の総要求量に基づき最大負荷、最小負荷、平均負荷(瞬時負荷、単位時間負荷)、総要求量に対応する総エネルギー消費量を総要求量のうちのそれぞれ製造装置別の要求量及び工程分類別の要求量の割合で按分計算して製造装置別、工程分類別に各用力の時系列の個別エネルギー消費量、所定期間における個別エネルギー消費量の最大値、最小値、単位時間の平均値、期間平均値、製造装置別、工程分類別の各用力の個別エネルギー消費量、さらには、それらの比率を求めるものである。分析情報出力部9は、各分析手段により生成された時系列、装置別、用力別又は工程分類別の分析情報を出力するものであり、分析データ格納部10に分析データとして出力し、表示装置や印刷装置から棒グラフ、円グラフ、折れ線グラフ、レーダチャートに編集して出力する。
図2は用力推移データの構成例を示す図、図3は製造スケジュールデータの構成例を示す図、図4は装置諸元データの構成例を示す図、図5は装置稼働データの構成例を示す図、図6はエネルギーデータの構成例を示す図、図7はユーティリティ装置の用力負荷の推移を分析した出力例を示す図、図8は装置別抽出処理により抽出される処理ロット数の経時変化の例を示す図である。
用力推移データは、製造装置毎に各用力の要求量の経時変化の情報を有するデータであり、例えば図2に示すように処理時間における各時(1秒単位)の要求量(必要量)を示す時系列データである。この1秒単位の時系列データからなる用力推移データを分単位の時間軸(180分)で表すと図2(A)に示すようなものになるが、1工程での用力推移データは、図2(B)の純水必要量で示すように、0〜100秒、200〜400秒、700〜900秒、1000〜1200秒の間が5L/minであり、それらの間のうち100〜200秒の間が30L/min、400〜500秒の間が20L/min、500〜600秒の間が45L/min、600〜700秒の間が20L/min、900〜1000秒の間が30L/minで変化するプロファイルとなっている。
このような用力推移データ、各工程分類別に処理開始時間と処理終了時間又は処理時間と製造装置を含む入力データは、例えば製造スケジュールデータ、装置諸元データ、装置稼働データから得られる。製造スケジュールデータは、1つのロット番号の製造に対応する全製造工程1、2、3、……のリストからなり、例えば図3に示すように工程順にどの装置が使われるかその装置番号、レシピ名、処理時間、プロセスフローの情報を有するデータである。ここで、装置番号E20、E10、……に対応して、例えば図4に示す装置諸元データに装置名称、工程分類、電力定格、電力待機、純水定格、純水待機等の各諸元情報が格納され、レシピ名C、E、F、……に対応して、それぞれ所定の処理時間における図2(B)示すような用力推移データが格納されている。装置稼働データは、例えば図5に示すように工程単位に処理開始時間、処理終了時間、プロセスフロー、工程番号、工程が実行されるロット番号、稼働する装置番号、レシピ名等の各情報を有する。これら製造スケジュールデータ、装置諸元データに基づく装置稼働データ、用力推移データが入力データである。
エネルギーデータは、図6に示すように各装置の各用力の要求量が集計された結果から或るユーティリティ装置の供給量が求まるとき、ユーティリティ装置がその供給量を賄うのに必要なエネルギー消費量として電力消費量や燃料消費量を求めるためのデータである。図6に示す例は純水装置のエネルギーデータであり、例えば純水装置において100L/minの純水供給量が必要とされるとき求められるエネルギー消費量として、電力消費量が30.363kWになるというデータである。
本実施形態では、図6に示すエネルギーデータが設定されて設定データ格納部3に格納され、図5に示す装置稼働データ、図2に示す用力推移データが入力されて入力データ格納部3に格納され、各分析処理部により分析処理が実行される。図2に示すように各製造装置の各用力の用力推移データは、1秒単位の時系列データとして入力され、一方、製造工程は週単位の長時間であるため、データ個数は数十万から100万個程度の膨大な数となる。これを通常のパソコン画面で折れ線グラフで表示しても、解読不可能になってしまう。さらに1つの工場の製造装置は数十台から100台を超え、各装置で数種類から10種類程度の用力を使用するため、用力推移データのデータ個数は10億個程度になるため、パソコンでのデータ処理が実用的に困難である。一方、用力を供給するためのユーティリティ装置のエネルギー消費量の計算は1秒単位で行う必要は無く、数分から数十分の単位で行えば十分な精度が得られる。そこで、用力推移データを例えば10分間隔の平均値に処理すれば、100万個のデータが1700個程度になるのでパソコン画面でのグラフ表示が可能になり、10億個のデータが170万個程度になるのでパソコンでのデータ処理が実用的になる。
ユーティリティ装置の用力供給量は用力の瞬時最大値をまかなう必要があるため、用力推移データの瞬時データも重要である。そこで、装置別抽出処理部5では、用力推移データを平均処理する時間間隔の中での最大値と最小値を取り出し、平均値と共に時系列データとして作成する。図7は純水の推移データを10分間隔の平均値、最大値、最小値の時系列データに処理してグラフ化したものである。平均値を太線又は濃い色の折れ線グラフで表示し、最大値と最小値を細線又は薄い色の直線で結んで表示することで、長時間の変動状況と瞬時の変動幅を同時に把握することができる。
純水装置は、1次純水製造部と超純水製造部に分かれており、1次純水製造部は貯留タンクを持つため図7に示す10分間隔等の時間平均値最大負荷の容量で設計し、超純水は直接製造装置に送るため瞬時最大負荷の容量で設計するのが適切であり、1つのグラフでこれらの容量設計の判断材料を得ることができる。このように、各用力の容量設計に適した時間間隔で用力推移データの処理を行う。
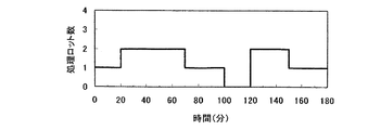
また、装置別抽出処理部5では、例えば図8に示すような処理ロット数の経時変化を求める。図8に示す例では、ロット数1で最初の20分間を処理した後、ロット数2で50分間を処理し、また、ロット数1で30分間を処理して待機状態となり、20分間待機した後、ロット数2で30分間を処理し、その後ロット数1で30分間を処理するスケジュールになっている。なお、各工程毎にレシピ名から読み出される用力推移データは、その工程の処理時間における各用力の要求量の変動プロファイルであるから、待機状態では各用力の要求量はゼロということになるが、実際には待機状態においても所定の用力の供給が要求されるものもある。このような待機中の各用力の要求量は、それぞれの用力推移データの付属データとしてもっていてもよく、装置毎にその待機中の用力要求データとして装置諸元データに持っていてもよい。
例えば図5に示す装置稼働データの場合、装置Bの装置番号E22では、ロット83、84の工程75で4700秒から12400秒まで稼働する間に、ロット番号97、98の工程24で6800秒から9400秒まで稼働し、さらに工程75が終了する前に11900秒からロット番号103、104の工程4が稼働して工程75が終了した後14200秒で終了する。したがって、この間、連続して駆動され、ロット数は、4700秒〜(ロット数2)〜6800秒〜(ロット数4)〜9400秒〜(ロット数2)〜11900秒〜(ロット数4)〜12400秒〜(ロット数2)〜14200秒となる。また、装置Cの装置番号E30_2では、ロット番号97の工程26で10900秒から12200秒まで稼働し、その後ロット番号98の工程26で12300秒から13600秒まで稼働する。したがって、この場合には、10900秒から12200秒の間と12300秒から13600秒の間にロット数が1で駆動され、12200秒から12300秒の間が待機状態となる。このようにして処理ロット数の時系列情報を抽出して稼働状態、待機状態の判定が行われる。
工程分類別抽出処理部6では、図4に示す装置諸元データの工程分類にしたがい、工程分類別に各用力の要求量を時系列に抽出して、これら用力別の要求量を時系列に集計する。したがって、例えばフォト工程では、図4に示すように装置Aの装置番号E10、E11、E11_2に関する各用力の要求量を時系列に抽出して集計し、洗浄工程では、装置Bの装置番号E20、E21、E22、E23、E23_2、E23_3に関する各用力の要求量を時系列に抽出して集計する。
エネルギー消費量算出部7では、装置別抽出処理部5により抽出された製造装置別の各用力の要求量を用力別にさらに全製造装置の要求量を時系列に集計し、又は工程分類別抽出処理部6により抽出された工程分類別の各用力の要求量を用力別にさらに全工程の要求量を時系列に集計して、時系列に用力別の総要求量から設定データ格納部4に格納されたエネルギーデータを基にユーティリティ装置別のエネルギー消費量として電力消費量、燃料消費量を求める。
次に、装置稼働データ、用力推移データを含む入力データ及びエネルギーデータを含む設定データに基づき製造工場エネルギー消費分析を行う具体的な処理の例を説明する。図9は製造工場エネルギー消費分析システムの全体の処理概要を説明する図、図10は用力負荷・エネルギー消費分析の処理を説明する図である。
本実施形態に係る製造工場エネルギー消費分析システムの全体の処理概要は、例えば図9に示すようにまず、装置稼働データ、用力推移データを含むデータを入力する(ステップS11)。しかる後、装置番号を選択し(ステップS12)、各工程の処理開始時間、処理終了時間、用力推移データを取得して、処理開始時間から用力推移データに従って各用力の要求量を時系列に集計する(ステップS13)。全ての装置番号について処理が終了すると(ステップS14)、続けて工程分類を選択し(ステップS15)、各装置の処理開始時間、処理終了時間、用力推移データを取得して、処理開始時間から用力推移データに従って各用力の要求量を時系列に集計する(ステップS16)。全ての工程について処理が終了すると(ステップS17)、装置別の集計データ又は工程分類別の集計データに基づき時系列に用力別の全要求量を集計して(ステップS18)、時系列に用力別の全要求量に対するエネルギー消費量を求め(ステップS19)、さらに、時系列に各用力のエネルギー消費量を集計して総エネルギー消費量を求める(ステップS20)。そして、求めた装置別・工程分類別各用力の要求量、各用力のエネルギー消費量、総エネルギー消費量等に基づき、用力負荷の推移における最大負荷、最小負荷、平均負荷(瞬時負荷、単位時間負荷)を求め、装置別、工程分類別、用力別のエネルギー消費量を求め、それらの推移、比較を含む用力負荷・エネルギー消費分析を行う(ステップS21)。なお、ここで、エネルギーデータは、製造工場に設備されたユーティリティ装置の固定データとして予め設定されている。ユーティリティ装置のエネルギー効率を種々変更して分析、検討する場合には、エネルギーデータを入力データとし、装置稼働データと用力推移データを設定データとして予め設定しておくようにしてもよい。
装置別用力負荷・エネルギー消費分析では、例えば図10に示すようにまず、時系列のユーティリティ装置別の総要求量、その総要求量に対応する総エネルギー消費量を取得し(ステップS31)、次に各製造装置について時系列の各用力の要求量を取得して(ステップS32)、各用力の要求量の最大値、最小値、平均値(瞬間、単位時間)を求め(ステップS33)、総要求量のうちのその製造装置の要求量の割合で総エネルギー消費量を按分計算することにより、その製造装置における時系列の個別エネルギー消費量を求めて(ステップS34)、例えば図7に示すように折れ線グラフによるユーティリティ装置の用力負荷の推移などを分析情報として出力する(ステップS35)。
図11はユーティリティ装置のエネルギー消費量の推移を分析した出力例を示す図、図12は製造装置の個別エネルギー消費量の推移を分析した出力例を示す図、図13は装置別のエネルギー消費量の出力例を示す図、図14は装置別の待機時のエネルギー消費量の出力例を示す図、図15はユーティリティ別の一次エネルギー消費量を比較分析した出力例を示す図、図16は工程分類別の一次エネルギー消費量を比較分析した出力例を示す図である。
分析情報の出力において、図7に示すようにユーティリティ装置の用力負荷の推移の出力として、推移のグラフ上にユーティリティ装置の用力負荷の定格値、瞬時最大値、時間平均最大負荷、さらには、最小値、平均値、処理ロット数を併せて表示することにより、装置諸元の定格値に対して実質的な要求量を判断することができ、処理ロット数に対応した要求量の経時変化を把握できる。さらに、待機時の用力の要求量がわかるので、浪費無駄を見つけ出すことができる。ユーティリティ装置の電力消費量の推移は、例えば図11に示すように例えば10分単位に電力消費量のグラフを出力することにより、ユーティリティ装置の稼働効率、定格値の設計が適切か否かを視覚的に評価することができ、製造装置の個別エネルギー消費量の推移は、例えば図12に示すように10分単位に各用力別の割合と共に電力消費量のグラフを出力したり、さらにこの情報と処理ロット数の推移を併せ出力したり、装置別のエネルギー消費量は、例えば図13に示すように装置別にユーティリティ別割合と共に電力消費量のグラフを出力することにより、また、装置別の待機時エネルギー消費量は、例えば図14に示すように装置別に稼働時の電力消費量と待機時の電力消費量をそれぞれ集計して、待機時電力割合と共に電力消費量のグラフを出力することにより、電力消費量(エネルギー消費量)の比較分析情報を出力する。これらの比較分析情報よりエネルギー消費の大きい装置やユーティリティ装置によるエネルギー消費の割合を把握し、一定期間のエネルギー消費量の予測、年間の分析情報で施設によるエネルギー消費量の違いを把握でき、製造装置の稼働効率、待機の無駄を視覚的に評価することができる。また、ユーティリティ別の一次エネルギー消費量の比較分析情報は、ユーティリティ別の一次エネルギー消費量を集計して例えば図15に示すような円グラフにして出力し、工程分類別の一次エネルギー消費量の比較分析情報は、工程分類別の一次エネルギー消費量を集計して例えば図16に示すような円グラフにして出力してもよい。このような出力によりエネルギー消費の大きいユーティリティ装置や、用力別のエネルギー消費比率を把握することができる。
なお、本発明は、上記実施の形態に限定されるものではなく、種々の変形が可能である。例えば上記実施の形態では、折れ線グラフや棒グラフ、円グラフにより分析情報を出力したが、レーダチャートその他の出力形態を採用してもよいし、また、エネルギー消費量の最大値、最小値、平均値、それらの差を基準値と比較することにより、その比較情報を出力させるようにしてもよい。さらに、設定データとしてエネルギーデータを格納したが、製造スケジュールデータや用力推移データも設定データとして格納し、分析情報を出力してその評価結果により装置稼働データを種々変更してシミュレーションを行うようにしてもよい。本発明は、半導体製造工場に限らず、液晶パネルや電子機器その他の製造工場にも同様に適用可能である。
本発明に係る製造工場エネルギー消費分析システムの実施の形態を説明する図である。 用力推移データの構成例を示す図である。 製造スケジュールデータの構成例を示す図である。 装置諸元データの構成例を示す図である。 装置稼働データの構成例を示す図である。 エネルギーデータの構成例を示す図である。 ユーティリティ装置の用力負荷の推移を分析した出力例を示す図である。 装置別抽出処理により抽出される処理ロット数の経時変化の例を示す図である。 製造工場エネルギー消費分析システムの全体の処理概要を説明する図である。 用力負荷・エネルギー消費分析の処理を説明する図である。 ユーティリティ装置のエネルギー消費量の推移を分析した出力例を示す図である。 製造装置の個別エネルギー消費量の推移を分析した出力例を示す図である。 装置別のエネルギー消費量の出力例を示す図である。 装置別の待機時のエネルギー消費量の出力例を示す図である。 ユーティリティ別の一次エネルギー消費量を比較分析した出力例を示す図である。 工程分類別の一次エネルギー消費量を比較分析した出力例を示す図である。 半導体製造工場で備える製造装置の例と各製造装置の用力、各用力を供給するユーティリティ装置、ユーティリティ装置の消費エネルギーを説明する図である。
符号の説明
1…データ入力処理部、2…データ設定処理部、3…入力データ格納部、4…設定データ格納部、5…装置別抽出処理部、6…工程分類別抽出処理部、7…エネルギー消費量算出部、8…用力負荷・エネルギー消費分析処理部、9…分析情報出力処理部、10…分析データ格納部

Claims (6)

  1. 複数の製造装置及び各製造装置に用力を供給する複数のユーティリティ装置を備え複数の工程を実行して製品を製造する製造工場の稼働効率、エネルギー消費を分析する製造工場エネルギー消費分析システムであって、
    各工程別に処理開始時間と処理終了時間又は処理時間と製造装置と該製造装置の各用力の経時変動する要求量の情報を含む入力データを格納する入力データ格納手段と、
    前記各用力を供給するユーティリティ装置の要求量に対応するエネルギー消費量を求めるためのエネルギーデータを含む設定データを格納する設定データ格納手段と、
    前記入力データから製造装置別に各用力の要求量を時系列に抽出して集計する装置別抽出処理手段と、
    前記入力データから工程分類別に各用力の要求量を時系列に抽出して集計する工程分類別抽出処理手段と、
    前記装置別抽出処理手段又は前記工程分類別抽出処理手段により抽出して集計された装置別又は工程分類別の各用力の要求量を用力別に集計して時系列の総要求量を算出して前記総要求量に対応するエネルギー消費量を前記エネルギーデータに基づき算出するエネルギー消費量算出手段と、
    前記エネルギー消費量算出手段により算出された時系列の総要求量に対する前記装置別抽出処理手段及び前記工程分類別抽出処理手段により抽出して集計された装置別及び工程分類別の各用力の要求量の割合で前記エネルギー消費量算出手段により算出されたエネルギー消費量を按分計算して前記装置別及び工程分類別の各用力を供給するための個別エネルギー消費量を算出し用力負荷の推移、エネルギー消費量の推移を含むエネルギー消費の分析処理を行う分析処理手段と、
    前記用力負荷の推移、エネルギー消費量の推移を含むエネルギー消費の分析情報の出力処理を行う出力処理手段と
    を備えたことを特徴とする製造工場エネルギー消費分析システム。
  2. 前記分析情報は、棒グラフ、円グラフ、折れ線グラフ、レーダチャートのいずれかによる情報であることを特徴とする請求項1記載の製造工場エネルギー消費分析システム。
  3. 前記分析情報は、前記装置別、工程分類別に各用力の個別エネルギー消費量の推移をグラフにより出力することを特徴とする請求項2記載の製造工場エネルギー消費分析システム。
  4. 前記分析情報は、前記個別エネルギー消費量における最大値、最小値、平均値を求めて前記個別エネルギー消費量の推移を表したグラフ上に付加して出力することを特徴とする請求項2記載の製造工場エネルギー消費分析システム。
  5. 前記分析情報は、前記個別エネルギー消費量の推移に稼働/待機の情報をグラフ上に付加して出力することを特徴とする請求項2記載の製造工場エネルギー消費分析システム。
  6. 前記分析情報は、前記処理開始時間と処理終了時間又は処理時間から稼働時間と待機時間を判定し、それぞれの時間に対応するエネルギー消費量を集計して、製造装置別のグラフとして出力することを特徴とする請求項2記載の製造工場エネルギー消費分析システム。
JP2005341572A 2005-11-28 2005-11-28 製造工場エネルギー消費分析システム Expired - Fee Related JP4780452B2 (ja)

Priority Applications (1)

Application Number Priority Date Filing Date Title
JP2005341572A JP4780452B2 (ja) 2005-11-28 2005-11-28 製造工場エネルギー消費分析システム

Applications Claiming Priority (1)

Application Number Priority Date Filing Date Title
JP2005341572A JP4780452B2 (ja) 2005-11-28 2005-11-28 製造工場エネルギー消費分析システム

Publications (2)

Publication Number Publication Date
JP2007148726A JP2007148726A (ja) 2007-06-14
JP4780452B2 true JP4780452B2 (ja) 2011-09-28

Family

ID=38210083

Family Applications (1)

Application Number Title Priority Date Filing Date
JP2005341572A Expired - Fee Related JP4780452B2 (ja) 2005-11-28 2005-11-28 製造工場エネルギー消費分析システム

Country Status (1)

Country Link
JP (1) JP4780452B2 (ja)

Families Citing this family (11)

* Cited by examiner, † Cited by third party
Publication number Priority date Publication date Assignee Title
DE102007062058A1 (de) * 2007-12-21 2009-06-25 Robert Bosch Gmbh Verfahren und Vorrichtung zur Analyse des Energieverbrauchs einer Maschine
EP2211298A1 (en) * 2009-01-27 2010-07-28 Alcatel Lucent A method of visualizing consumption information, corresponding device, storage means, and software program therefor
JP5099066B2 (ja) * 2009-04-10 2012-12-12 オムロン株式会社 エネルギー監視装置およびその制御方法、ならびにエネルギー監視プログラム
JP5397280B2 (ja) * 2010-03-12 2014-01-22 オムロン株式会社 消費エネルギー量算出装置および消費エネルギー量算出方法
JP5469575B2 (ja) * 2010-09-22 2014-04-16 アイシン高丘株式会社 エネルギー管理システム
JP5966870B2 (ja) * 2012-11-09 2016-08-10 オムロン株式会社 ライン制御装置、その制御方法、およびプログラム
CN104536388B (zh) * 2014-11-21 2017-06-23 国家电网公司 一种燃煤发电机组运行人员行为分析提取方法
JP2018092248A (ja) * 2016-11-30 2018-06-14 トヨタ自動車株式会社 圧縮エア流量の算出方法、その装置、及びプログラム
JP7740894B2 (ja) 2021-04-22 2025-09-17 株式会社日立製作所 管理システム及び管理方法
JP7675593B2 (ja) * 2021-08-11 2025-05-13 中部電力ミライズ株式会社 エネルギー原単位算出支援装置
JP2024114618A (ja) * 2023-02-10 2024-08-23 キヤノン株式会社 情報処理装置、情報処理方法、プログラム、記録媒体

Family Cites Families (7)

* Cited by examiner, † Cited by third party
Publication number Priority date Publication date Assignee Title
JP4051735B2 (ja) * 1997-10-09 2008-02-27 松下電器産業株式会社 情報集計装置およびその集計方法
JP3788555B2 (ja) * 1998-11-30 2006-06-21 大阪瓦斯株式会社 負荷種類分析方法及び装置、消費性向診断方法、装置及びシステム並びに記録媒体
JP2001034323A (ja) * 1999-07-21 2001-02-09 Fuji Electric Co Ltd 工作機械及びそれを含むネットワークシステム
JP2001056804A (ja) * 1999-08-18 2001-02-27 Yusuke Kojima 家庭用省エネルギー支援方法及び装置
JP3847193B2 (ja) * 2002-03-25 2006-11-15 大阪瓦斯株式会社 給湯器、外部サーバ及び通信システム
JP2004133588A (ja) * 2002-10-09 2004-04-30 Toshiba Corp トレンドグラフ表示装置
JP2004280172A (ja) * 2003-03-12 2004-10-07 Seiko Epson Corp エネルギー評価支援システム、プログラム、情報記憶媒体およびエネルギー評価支援方法

Also Published As

Publication number Publication date
JP2007148726A (ja) 2007-06-14

Similar Documents

Publication Publication Date Title
CN110736227B (zh) 具有在线可配置系统标识的建筑物管理系统
US9524529B2 (en) Interval analysis tool for energy consumption
US10852805B2 (en) Data center total resource utilization efficiency (TRUE) system and method
JP5790952B2 (ja) 生産エネルギー管理システムおよびコンピュータプログラム
JP4780452B2 (ja) 製造工場エネルギー消費分析システム
CN104896651A (zh) 空调运行数据分析的方法及系统
US11215651B2 (en) Power consumption estimation device
US12374890B2 (en) Controlling the electrical load of a load facility using demand response
Rao et al. Conducting a metering assessment to identify submetering needs at a manufacturing facility
CN115081723B (zh) 一种智慧厂务能源管理系统及管理方法
JP2013125509A (ja) 設備保全支援システム
JP2006185318A (ja) エネルギー情報管理装置
Yu et al. Improved energy management of chiller systems with data envelopment analysis
CN114879619B (zh) 数字车间能源优化方法及系统
JP2012027919A (ja) 評価支援システム、方法およびプログラム
JP4564415B2 (ja) 機器の運用評価情報提供装置
WO2010092805A1 (ja) エネルギー管理支援装置、エネルギー管理支援システム、エネルギー管理支援方法およびプログラム
JP2005090780A (ja) 空調エネルギー評価システム
CN113971485B (zh) 工业锅炉系统的剩余维护时间预测方法、装置和电子设备
Rahman et al. A study of the modeling on the smart factory production optimization using energy consumption prediction
Corten et al. The Pareto LEAN energy analysis for identification of energy performance gaps
Zainudin et al. Load Forecasting For Air Conditioning Systems Using Linear Regression and Artificial Neural Networks
JP2006260340A (ja) 省エネルギー提案システム及び方法
US20240273647A1 (en) Information processing apparatus, information processing method, and recording medium
WO2025164611A1 (ja) エネルギー解析装置、エネルギー管理システム、エネルギー解析プログラム、及び、エネルギー解析方法

Legal Events

Date Code Title Description
A621 Written request for application examination

Free format text: JAPANESE INTERMEDIATE CODE: A621

Effective date: 20080618

A131 Notification of reasons for refusal

Free format text: JAPANESE INTERMEDIATE CODE: A131

Effective date: 20101215

A521 Request for written amendment filed

Free format text: JAPANESE INTERMEDIATE CODE: A523

Effective date: 20110128

TRDD Decision of grant or rejection written
A01 Written decision to grant a patent or to grant a registration (utility model)

Free format text: JAPANESE INTERMEDIATE CODE: A01

Effective date: 20110601

A01 Written decision to grant a patent or to grant a registration (utility model)

Free format text: JAPANESE INTERMEDIATE CODE: A01

A61 First payment of annual fees (during grant procedure)

Free format text: JAPANESE INTERMEDIATE CODE: A61

Effective date: 20110623

FPAY Renewal fee payment (event date is renewal date of database)

Free format text: PAYMENT UNTIL: 20140715

Year of fee payment: 3

R150 Certificate of patent or registration of utility model

Free format text: JAPANESE INTERMEDIATE CODE: R150

LAPS Cancellation because of no payment of annual fees