JP4767458B2 - 内燃機関における燃料供給装置 - Google Patents

内燃機関における燃料供給装置 Download PDF

Info

Publication number
JP4767458B2
JP4767458B2 JP2001283496A JP2001283496A JP4767458B2 JP 4767458 B2 JP4767458 B2 JP 4767458B2 JP 2001283496 A JP2001283496 A JP 2001283496A JP 2001283496 A JP2001283496 A JP 2001283496A JP 4767458 B2 JP4767458 B2 JP 4767458B2
Authority
JP
Japan
Prior art keywords
fuel
gas fuel
mixer
primary
main
Prior art date
Legal status (The legal status is an assumption and is not a legal conclusion. Google has not performed a legal analysis and makes no representation as to the accuracy of the status listed.)
Expired - Fee Related
Application number
JP2001283496A
Other languages
English (en)
Other versions
JP2003090266A (ja
Inventor
高司 堤崎
美博 高田
弘志 田中
和也 田邉
誠 石井
達司 野中
栄作 阪田
Current Assignee (The listed assignees may be inaccurate. Google has not performed a legal analysis and makes no representation or warranty as to the accuracy of the list.)
Honda Motor Co Ltd
Hitachi Astemo Ltd
Original Assignee
Honda Motor Co Ltd
Keihin Corp
Priority date (The priority date is an assumption and is not a legal conclusion. Google has not performed a legal analysis and makes no representation as to the accuracy of the date listed.)
Filing date
Publication date
Application filed by Honda Motor Co Ltd, Keihin Corp filed Critical Honda Motor Co Ltd
Priority to JP2001283496A priority Critical patent/JP4767458B2/ja
Publication of JP2003090266A publication Critical patent/JP2003090266A/ja
Application granted granted Critical
Publication of JP4767458B2 publication Critical patent/JP4767458B2/ja
Anticipated expiration legal-status Critical
Expired - Fee Related legal-status Critical Current

Links

Images

Classifications

    • YGENERAL TAGGING OF NEW TECHNOLOGICAL DEVELOPMENTS; GENERAL TAGGING OF CROSS-SECTIONAL TECHNOLOGIES SPANNING OVER SEVERAL SECTIONS OF THE IPC; TECHNICAL SUBJECTS COVERED BY FORMER USPC CROSS-REFERENCE ART COLLECTIONS [XRACs] AND DIGESTS
    • Y02TECHNOLOGIES OR APPLICATIONS FOR MITIGATION OR ADAPTATION AGAINST CLIMATE CHANGE
    • Y02TCLIMATE CHANGE MITIGATION TECHNOLOGIES RELATED TO TRANSPORTATION
    • Y02T10/00Road transport of goods or passengers
    • Y02T10/10Internal combustion engine [ICE] based vehicles
    • Y02T10/30Use of alternative fuels, e.g. biofuels

Landscapes

  • Output Control And Ontrol Of Special Type Engine (AREA)

Description

【0001】
【産業上の利用分野】
本発明は内燃機関に向けて液化石油ガス(LPG)、圧縮天然ガス(CNG)等のガス燃料を供給する燃料供給装置に関し、そのうちガス燃料源内のガス燃料を減圧するとともに調圧し、この圧力制御されたガス燃料をミキサーボデーを介して機関に向けて供給する内燃機関における燃料供給装置に関する。
【0002】
【従来の技術】
従来の燃料供給装置について図4により説明する。
燃料供給装置は、ミキシングボデーMとベーパライザVによって構成される。
ミキシングボデーMは内部を吸気路10が貫通して穿設され、その吸気路10の上流部にミキサーベンチュリー部11が形成される。
又ミキシングボデーMには、吸気路10の下流部を開閉する絞り弁13を支持する絞り弁軸12が回転自在に支承される。一方ミキサーベンチュリー部11には複数のメーンポート14が開口して形成されるもので、このメーンポート14は、ミキサーベンチュリー部11を囲繞して形成された環状溝部15、を介して2次圧燃料導入路16に連絡される。
【0003】
ベーパライザVは以下よりなる。
20は、筐体Bを1次調圧室21と1次減圧室22とに区分する1次ダイヤフラムであり、1次ダイヤフラム20は1次調圧室21内に縮設して配置される1次スプリング23のバネ力によって1次減圧室22側へ押圧される。
24は1次減圧室22内において回転自在に支承される第1次支持杆25の一端に配置される1次弁であり、この1次弁24は1次減圧室22に開口する燃料流入路26を開閉制御する。又前記第1支持杆25の他端は前記1次ダイヤフラム20に係止される。
27は、1次減圧室22から外部に向かって開口する1次燃料吐出路であり、該1次燃料吐出路は、スローロック弁28によって開閉される。
29は前記スローロック弁に対して開閉操作力を付与するスローロックダイヤフラムであり、スローロックダイヤフラム29によって画成されるスローロック室30内にはスローロックダイヤフラム29を、図5において右方へ押圧するスローロックスプリング31が縮設されるとともにミキシングボデーの吸気路10に連なる負圧導入路32が開口する。
(尚、スローロック弁28とスローロックダイヤフラム29とは連結杆によって連結される)
33は1次燃料吐出路27を流れるガス燃料量を調圧、制御する1次調整スクリューであり、先端にテーパー針弁部が形成される。
筐体Bは、更に2次ダイヤフラム34によって2次調圧室35と2次減圧室36とに区分され、2次減圧室36には1次減圧室22に連なる2次燃料流入路37と外部に向かう2次燃料吐出路38とが開口する。
39は2次減圧室36内に回転自在に支承配置される第2支持杆であり、この第2支持杆39の一端に2次燃料流入路37を開閉する2次弁40が配置されるとともにその他端は2次ダイヤフラム34に係止される。
又、前記第2支持杆は2次スプリング41のバネ力によって反時計方向へ付勢されるもので、これによって2次弁40は2次燃料流入路37を閉塞する側へ押圧される。
そして、ベーパーライザVの燃料流入路26には、ガス燃料としての液化石油ガス(LPG)が供給される。
液化石油ガス(以下LPGという)を使用する際、ガス燃料源T1内の約5kg/ cm2 の圧力を有するLPGは、直接的に燃料導入路26に供給される。
一方LPGに代えて圧縮天然ガス(以下CNGという)を使用することができるもので、このときガス燃料源T2内の約200kg/ cm2 の圧力を有するCNGは、1次レギュレターRによって約6kg/ cm2 の圧力を減圧され、この減圧されたCNGが燃料流入路26へ供給される。
そして、上記LPG又はCNGの何れのガス燃料を使用するかは運転者によって決定される。
【0004】
ベーパーライザVにおいて、1次弁24は、ガス燃料自身が有する燃料圧力(LPGにあっては約5kg/cm2 の燃料圧力、CNGにあっては1次レギュレターRによって減圧された約6kg/ cm2 の燃料圧力)によって燃料流入路26を開放し、前記ガス燃料が1次減圧室22内へ供給される。
そして1次減圧室22内の圧力が所定の圧力(例えば0. 3kg/cm2 )を超えて上昇すると、1次ダイヤフラム20が1次スプリング23のバネ力に抗して1次調圧室21側へ移動し、これによって第1支持杆25が反時計方向へ回転して1次弁24が燃料流入路26を閉塞し、もって1次減圧室22内のガス燃料圧力を0.3kg/cm2 に調圧できる。
一方、1次減圧室22内のガス燃料圧力が0.3kg/cm2 以下の圧力に低下すると、1次スプリング23は、1次ダイヤフラム20を1次減圧室22側へ押圧して移動させ、これによって第1支持杆25は時計方向に回転して1次弁24は燃料流入路26を開放する。従って燃料流入路26より高圧力状態のガス燃料が1次減圧室22内へ供給され、これによって1次減圧室22内のガス燃料圧力を再び所定の0.3kg/cm2 に復帰させることができる。
以後、上記1次弁の動作がくり返し行なわれることによって、1次減圧室22内には、1次圧としての所定の0.3kg/cm2 の圧力を有するガス燃料が維持されるものである。
一方、2次減圧室36にあっては、ガス燃料は大気圧まで減圧される。
前述の如く、1次減圧室22内のガス燃料圧力は0.3kg/cm2 に調圧されるもので、この0.3kg/cm2 の圧力を有するガス燃料は2次燃料流入路37を介して2次弁40に作用し、2次弁40は2次燃料流入路37を開放し、2次減圧室36内にガス燃料が供給される。
ここで、2次減圧室36内のガス燃料圧力が大気圧以上に上昇すると、2次ダイヤフラム34は2次調圧室35側へ変位し、これによると第2支持杆39は2次スプリング41のバネ力によって反時計方向へ回転して2次弁40は2次燃料流入路37を閉塞し、これによって2次減圧室36内のガス燃料圧力を大気圧に復帰させる。又、2次減圧室36内のガス燃料圧力が大気圧以下に低下すると、2次ダイヤフラム34は2次スプリング41のバネ力に抗して2次減圧室36側へ変位し、これによると第2支持杆39は時計方向へ回転して2次弁40は2次燃料流入路37を開放し、これによって2次減圧室36内のガス燃料圧力を大気圧に復帰させる。
以後、上記2次弁40が前記動作をくり返し行なうことによって2次減圧室36内のガス燃料圧力を2次圧としての大気圧に維持できる。
そして、絞り弁12の中間開度、及び高開度運転は以下によって行なわれる。
すなわち、絞り弁12が吸気路10を中開度及び高開度に開放することによると、ミキサーベンチュリー部11には絞り弁開度に応じた高い負圧が生起するもので、この負圧はメーンポート14、環状溝部15、2次圧燃料導入路16、2次燃料吐出路38を介して2次減圧室36に作用し、2次減圧室36内に維持される大気圧状態にあるガス燃料がメーンポート14を介してミキサーベンチュリー部11に吸出され、これによって絞り弁13の中及び高開度運転が行なわれる。
【0005】
【発明が解決しようとする課題】
かかる従来の燃料供給装置によると、第1には、吸気路10内を流れる空気に対し、メーンポート14から吸出されるガス燃料を均一に空気と混合することが困難である。
これは以下の理由による。
メーンポート14はミキサーベンチュリー部11の壁面に開口するもので、メーンポート14から吸出されるガス燃料は、ミキサーベンチュリー部11の壁面に沿って吸気路10内に流れこみ易い。
これによるとミキサーベンチュリー部11の中央部分を流れる空気とガス燃料との良好な混合が行なわれにくいもので、特に中央部分を流れる空気とガス燃料との混合状態が希薄化となる傾向がある。
第2には、メーンポート14から吸出されるガス燃料の吸出応答性を速めることが困難であり、絞り弁13が低開度から中、高開度へ移行する際、ガス燃料の息切れ現象が発生する恐れがある。
すなわち、メーンポート14から吸出されるガス燃料は、大気圧状態にあるものでメーンポート14に加わるミキサーベンチュリー部11の負圧に依存する。
一方、ミキサーベンチュリー部11の断面における負圧の分布状態を鑑案すると、負圧の最大値はミキサーベンチュリー部11の壁面より中心方向に存在するもので、この高負圧状態のミキサーベンチュリー部11にメーンポート14が開口されていないことによる。
【0006】
本発明になる内燃機関における燃料供給装置は、前記不具合に鑑み成されたもので、メーンポートから吸出されるガス燃料とミキサーベンチュリー部を流れる空気との均一な混合を図るとともにメーンポートから吸出されるガス燃料の吸出応答性を高め、もって機関の運転性を向上することにある。
【0007】
【課題を達成する為の手段】
本発明は、前記目的を達成する為に、ガス燃料源のガス燃料を、1次減圧室にて所定の1次圧に減圧するとともに2次減圧室にて略大気圧状態の2次圧に減圧するベーパーライザと;内部を貫通する吸気路に設けられたミキサーベンチュリー部にメーンポートが開口するミキシングボデーと;このミキサーベンチュリー部より下流側の前記吸気路を開閉すべく前記ミキシングボデーに軸支される絞り弁とを備える燃料供給装置において、前記ミキサーベンチュリー部には、前記2次減圧室のガス燃料が導入されるパイプ状のメーンノズルが横断して配置されるとともにこのメーンノズルにはミキサーベンチュリー部内に臨んで開口する複数のメーンポートが穿設され、前記メーンポートを、メーンノズルの長手軸心線に直交する断面において、前記吸気路の長手軸心線に直交する線を基準に、機関側へ45度、エアクリーナ側へ45度の範囲にのみ開口し、前記絞り弁より下流側の前記吸気路に前記1次減圧室のガス燃料のみが導入されるアイドルポートを開口したことを第1の特徴とする。
【0008】
又、本発明は、前記第1の特徴に加えて、前記ミキサーベンチュリー部の内方に、ミキサーベンチュリー部を囲繞する環状溝部を設け、この環状溝部内に、前記2次減圧室に連なる2次圧燃料導入路を開口するとともに前記メーンノズルの両端を開口配置したことを第2の特徴とする。
【0009】
【作用】
本発明の第1の特徴によると、メーンポートがメーンノズルに穿設され、ミキサーベンチュリー部の壁面より離れた位置に開口するので、メーンポートから吸出されるガス燃料がミキサーベンチュリー部の壁面に沿って流れにくい。
又、メーンポートはミキサーベンチュリー部の略中央部分に開口されるのでベンチュリー負圧の高い部分へメーンポートを開口できる。
更に線Y−Yを基準に、機関側へ45度、エアクリーナ側へ45度の範囲にのみメーンポートを開口させたことによると、メーンポートからミキサーベンチュリー部に吸出されるガス燃料が吸気路を流れる空気流によって乱されにくい。
【0010】
又、本発明の第2の特徴によると、メーンノズルの内方の通路には、環状溝部を介してメーンノズルの両端からそれぞれガス燃料が供給されるので、ミキサーベンチュリー部には、より均一なガス燃料を吸出させることができる。
【0011】
【実施例】
以下、本発明になる内燃機関における燃料供給装置の一実施例について図により説明する。
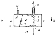
図1は第1の実施例を示すミキシングボデーの縦断面図、図2はメーンノズルの長手軸心線Z−Zに直交し、吸気路の長手軸心線X−Xを通る断面W−Wにおける要部横断面、である。
又、ベーパーライザVは図4に示されるものが使用されるもので、省略された。尚、図4と同一構造部分については同一符号を使用し、説明を省略する。
1は内方に通路1Aが貫通して穿設されるパイプ状をなすメーンノズルであり、メーンノズル1には内方から外方に向かってメーンポート2がメーンノズル1の長手軸心線Z−Zに沿って複数段穿設される。
このメーンノズル1はミキサーベンチュリー部11を横断して配置されるもので、メーンノズル1の両端はミキサーベンチュリー部11に圧入等によって固定配置される。
そしてメーンノズル1の図1において上端部は2次圧燃料導入路16に臨んで配置されるもので、これによってメーンノズル1の内方の通路1Aに2次圧燃料導入路16を介して2次圧を有するガス燃料が供給される。
ここでメーンノズル1に穿設される前記メーンポート2は以下の位置に形成される。
すなわち、メーンポート2は、メーンノズル1の長手軸心線Z−Zに直交する断面W−Wにおいて、吸気路10の長手軸心線X−Xに直交する線Y−Yを基準にして、機関側(図において左方)へ45度、エアクリーナ側(図において右方)へ45度の範囲にのみ開口させた。
図1において機関側へ45度の範囲はEで示され、エアクリーナ側へ45度の範囲はAで示される。
尚、本実施例におけるメーンポート2はメーンノズル1の中心Cを通る線Y−Y上に穿設される。
【0012】
かかるメーンノズル1を備えたミキシングボデーMによると、従来と同様にベーパーライザーVの2次減圧室36内において略大気室状態に調圧されたガス燃料は、2次燃料吐出路38、2次圧燃料導入路16を介してメーンノズル1の通路1A内に導入され、このガス燃料がメーンポート2を介してミキサーベンチュリー部11内へ吸出されて、機関へ供給される。
17は絞り弁13より下流側の吸気路10に開口するアイドルポートであり、このアイドルポート17には、前記1次減圧室22のガス燃料のみが、1次調整スクリュー33によってその量が制御された後、1次燃料吐出路27、1次圧燃料導入路18を介して供給され、したがってアイドルポート17を通して、絞り弁13より下流側の吸気路10に供給され、これによって機関の絞り弁開度運転が行なわれる。
ここで、本発明になるミキシングボデーMを用いたことによると、
メーンポート2からミキサーベンチュリー部11に吸出されるガス燃料は、ミキサーベンチュリー部11を流れる空気と均一にして且つ良好に混合される。
これは以下の理由による。
メーンポート2はミキサーベンチュリー部11内に臨んで開口して形成されたことにより、メーンポート2をミキサーベンチュリー部11の壁面より離して開口できたもので、これによってメーンポート2からミキサーベンチュリー部11に吸出されるガス燃料がミキサーベンチュリー部11の壁面に沿って流れることが抑止され、ミキサーベンチュリー部11を流れる空気との混合性を向上できたことである。
又、メーンポート2がメーンノズル1の長手軸心方向Z−Zに沿って複数穿設配置されたことにより、メーンポート2をミキサーベンチュリー部11内に生起する負圧の高い領域に開口できる。
これによると、絞り弁13が低開度から中、高開度へ開放される際において、ミキサーベンチュリー部11に生起する高い負圧をメーンポート2に作用させることができたので、ミキサーベンチュリー部11への、2次減圧室36のガス燃料の吸出遅れが解消でき、これによって機関の運転性を向上できる。
更にメーンポート2を機関側へ45度、エアクリーナ側へ45度の範囲にのみ開口させたことによると、メーンポート2からミキサーベンチュリー部11内へのガス燃料の吸出が阻害されることがなく、且つミキサーベンチュリー部11内へ吸出されたガス燃料と空気との混合性を向上できる。
すなわち、メーンポート2をエアクリーナ側へ45度の範囲に開口させたことによると、エアクリーナ側から機関側に向かう空気流れ、(図2において右方から左方に向かう空気流れ)がメーンポート2に直接的に衝突し、メーンポート2内へ進入してメーンポート2からミキサーベンチュリー部11内への燃料の吸出を阻害することが減少される。
又、メーンポート2を機関側へ45度の範囲に開口させたことによると、メーンポート2から吸出されたガス燃料がメーンノズルの機関側の背面に生ずる渦流に巻きこまれることが解消され、これによってミキサーベンチュリー部11を流れる空気とガス燃料との混合性を向上できたものである。
【0013】
次に図3により本発明の第2の実施例について説明する。
尚、図1と同一構造部分は同一符号を使用し説明を省略する。
4はミキサーベンチュリー部11の内方にリング状に凹設された環状溝部で、図1に示されるメーンノズル1の上端1B及び下端1Cはミキサーベンチュリー部11に圧入して固定配置されるとともに上端1Bの開口及び下端1Cの開口は環状溝部4内に臨んで開口する。
又、環状溝部4には2次圧燃料導入路16が開口するもので、2次圧燃料導入路16に供給される2次圧を有するガス燃料は、環状溝部4を介してメーンノズル1に供給される。
かかる構造を採用したことによると、ガス燃料のミキサーベンチュリー部11内への吸出特性をより一層向上できる。
すなわち、ミキサーベンチュリー部11における負圧の分布は、ベンチュリー部11の壁面から中心方向部位においてもっとも高く、メーンポート2でみると壁面より中心方向にある上方のメーンポート2A,下方のメーンポート2Bに大なる負圧を作用させることができる。
一方、前記上方のメーンポート2Aには環状溝部4の上方4Aよりガス燃料が供給され、下方のメーンポート2Bには環状溝部4の下方4Bよりガス燃料が供給される。
以上によると、特に下方のメーンポート2Bにあっては、環状溝部4の下方4Bの略大気圧状態にあるガス燃料をミキサーベンチュリー部11内へ吸出できるのでガス燃料の吸出特性を向上できる。
従来のメーンノズル1の如く、メーンノズル1内へ上端1Bの開口からのみガス燃料の供給を行なうと、下方のメーンポート2Bには負圧状態にあるガス燃料が供給されることになり、メーンポート2Bに対する差圧が減少して吸出性が阻害される。
(下方のメーンポート2Bに負圧状態にあるガス燃料が供給されるのは、上方のメーンポート2Aからメーンノズル1の通路1A内に負圧が流入する為である。)
従って、高い負圧が作用する上方のメーンポート2Aより大気圧状態にあるガス燃料を吸出できるとともに高い負圧が作用する下方のメーンポート2Bより大気圧状態にあるガス燃料を吸出できるので、ガス燃料の吸出特性を向上できたものである。
【0014】
【発明の効果】
以上の如く、本発明になる内燃機関内における燃料供給装置によると、
ミキサーベンチュリー部にメーンノズルを横断して配置するとともに複数のメーンポートが穿設され、前記メーンポートを、メーンノズルの長手軸心線に直交する断面において、吸気路の長手軸心線に直交する線を基準に、機関側へ45度、エアクリーナ側へ45度の範囲にのみ開口したので、絞り弁が低開度から中、高開度へ開放される際において、ミキサーベンチュリー部に生起する高い負圧をメーンポートに作用させることができ、ミキサーベンチュリー部11への、2次減圧室のガス燃料の吸出遅れが解消でき、これによって機関の運転性を向上でき、しかもミキサーベンチュリー部を流れる空気とメーンノズルから吸出されるガス燃料とを均一に且つ良好に混合できる。一方、アイドルポートには1次減圧室のガス燃料のみが供給され、これによって機関の絞り弁開度運転が行なわれる。
【0015】
又、ミキサーベンチュリー部の内方に、ミキサーベンチュリー部を囲繞する環状溝部を設け、前記環状溝部内に2次圧燃料導入路を開口するとともに前記メーンノズルの両端を開口配置したことによると、ガス燃料のミキサーベンチュリー部内への吸出特性を更に向上することができる。
【図面の簡単な説明】
【図1】 本発明になる内燃機関における燃料供給装置の一実施例を示す縦断面図。
【図2】 図1のW−W線における横断面図。
【図3】 本発明になる内燃機関における燃料供給装置の他の実施例を示す縦断面図。
【図4】 従来の燃料供給装置を示す縦断面図。
【符号の説明】
1 メーンノズル
1B,1C メーンノズルの両端
2 メーンポート
4 環状溝部
10 吸気路
11 ミキサーベンチュリー部
13 絞り弁
16 2次圧燃料導入路
17 アイドルポート
22 1次減圧室
36 2次減圧室
M ミキシングボデー
V ベーパーライザ

Claims (2)

  1. ガス燃料源(T1、T2)のガス燃料を、1次減圧室(22)にて所定の1次圧に減圧するとともに2次減圧室(36)にて略大気圧状態の2次圧に減圧するベーパーライザ(V)と;
    内部を貫通する吸気路(10)に設けられたミキサーベンチュリー部(11)にメーンポート(2)が開口するミキシングボデー(M)と;このミキサーベンチュリー部(11)より下流側の前記吸気路(10)を開閉すべく前記ミキシングボデー(M)に軸支される絞り弁(13)とを備える燃料供給装置において、
    前記ミキサーベンチュリー部(11)には、前記2次減圧室(36)のガス燃料が導入されるパイプ状のメーンノズル(1)が横断して配置されるとともにこのメーンノズル(1)には前記ミキサーベンチュリー部(11)内に臨んで開口する複数のメーンポート(2)が穿設され、
    前記メーンポート(2)を、メーンノズル(1)の長手軸心線(Z−Z)に直交する断面(W−W)において、前記吸気路(10)の長手軸心線(X−X)に直交する線(Y−Y)を基準に、機関側へ45度、エアクリーナ側へ45度の範囲にのみ開口し、
    前記絞り弁(13)より下流側の前記吸気路(10)に前記1次減圧室(22)のガス燃料のみが導入されるアイドルポート(17)を開口したことを特徴とする内燃機関における燃料供給装置。
  2. 前記ミキサーベンチュリー部(11)の内方に、ミキサーベンチュリー部(11)を囲繞する環状溝部(4)を設け、この環状溝部(4)内に、前記2次減圧室(36)に連なる2次圧燃料導入路(16)を開口するとともに前記メーンノズル(1)の両端(1B,1C)を開口配置したことを特徴とする請求項1記載の内燃機関における燃料供給装置。
JP2001283496A 2001-09-18 2001-09-18 内燃機関における燃料供給装置 Expired - Fee Related JP4767458B2 (ja)

Priority Applications (1)

Application Number Priority Date Filing Date Title
JP2001283496A JP4767458B2 (ja) 2001-09-18 2001-09-18 内燃機関における燃料供給装置

Applications Claiming Priority (1)

Application Number Priority Date Filing Date Title
JP2001283496A JP4767458B2 (ja) 2001-09-18 2001-09-18 内燃機関における燃料供給装置

Publications (2)

Publication Number Publication Date
JP2003090266A JP2003090266A (ja) 2003-03-28
JP4767458B2 true JP4767458B2 (ja) 2011-09-07

Family

ID=19106975

Family Applications (1)

Application Number Title Priority Date Filing Date
JP2001283496A Expired - Fee Related JP4767458B2 (ja) 2001-09-18 2001-09-18 内燃機関における燃料供給装置

Country Status (1)

Country Link
JP (1) JP4767458B2 (ja)

Cited By (2)

* Cited by examiner, † Cited by third party
Publication number Priority date Publication date Assignee Title
CN104533675A (zh) * 2014-11-14 2015-04-22 宁波中策动力机电集团有限公司 燃气空燃比控制装置
WO2023034365A1 (en) * 2021-09-01 2023-03-09 American CNG, LLC Supplemental fuel system for compression-ignition engine

Families Citing this family (4)

* Cited by examiner, † Cited by third party
Publication number Priority date Publication date Assignee Title
KR100511750B1 (ko) * 2003-10-16 2005-09-05 주식회사 케이피씨 벤투리 효과를 이용한 이젝터
JP4831832B2 (ja) * 2006-11-30 2011-12-07 三菱重工業株式会社 ガスエンジンの燃料ガス供給装置
JP4563443B2 (ja) 2007-12-14 2010-10-13 三菱重工業株式会社 ガスエンジンシステムの制御方法及び該システム
US20140261311A1 (en) * 2013-03-14 2014-09-18 Generac Power Systems, Inc. Fuel mixer

Family Cites Families (4)

* Cited by examiner, † Cited by third party
Publication number Priority date Publication date Assignee Title
JPS5690453A (en) * 1979-12-20 1981-07-22 Sony Corp Magnetic tape storage device
JPS6090971A (ja) * 1983-10-25 1985-05-22 Nissan Motor Co Ltd Lpg内燃機関の燃料供給装置
JPH06193511A (ja) * 1992-12-28 1994-07-12 Mitsubishi Automob Eng Co Ltd Lpgエンジンの始動燃料供給装置
US5377646A (en) * 1993-09-10 1995-01-03 Pacer Industries, Inc. Liquid petroleum gas fuel delivery systems

Cited By (11)

* Cited by examiner, † Cited by third party
Publication number Priority date Publication date Assignee Title
CN104533675A (zh) * 2014-11-14 2015-04-22 宁波中策动力机电集团有限公司 燃气空燃比控制装置
WO2023034365A1 (en) * 2021-09-01 2023-03-09 American CNG, LLC Supplemental fuel system for compression-ignition engine
US11739716B2 (en) 2021-09-01 2023-08-29 American CNG, LLC Supplemental fuel system for compression-ignition engine
US11767811B2 (en) 2021-09-01 2023-09-26 American CNG, LLC Supplemental fuel system for compression-ignition engine
US11808221B2 (en) 2021-09-01 2023-11-07 American CNG, LLC Supplemental fuel system for compression-ignition engine
US11835016B2 (en) 2021-09-01 2023-12-05 American CNG, LLC Supplemental fuel system for compression-ignition engine
US11988175B2 (en) 2021-09-01 2024-05-21 American CNG, LLC Supplemental fuel system for compression-ignition engine
US11994091B2 (en) 2021-09-01 2024-05-28 American CNG, LLC Supplemental fuel system for compression-ignition engine
US12025081B2 (en) 2021-09-01 2024-07-02 American CNG, LLC Supplemental fuel system for compression-ignition engine
US12116959B2 (en) 2021-09-01 2024-10-15 American CNG, LLC Supplemental fuel system for compression-ignition engine
US12510043B2 (en) 2021-09-01 2025-12-30 American CNG, LLC Supplemental fuel system for compression-ignition engine

Also Published As

Publication number Publication date
JP2003090266A (ja) 2003-03-28

Similar Documents

Publication Publication Date Title
US10132272B2 (en) Carburetor arrangement
JP4767458B2 (ja) 内燃機関における燃料供給装置
US5527367A (en) Mixer for a gas-fueled engine
US20100269796A1 (en) Regulator for gas engine and gaseous fuel supplying device
JP4096536B2 (ja) 内燃機関用のベーパーライザ
US6217008B1 (en) Diaphragm-type carburetor
JPH03172569A (ja) 内燃機関用の混合気形成装置
US20080236552A1 (en) Mixture Device for Gaseous Fuel and Air
JP6653911B1 (ja) 発電用ガスエンジンのミキサ及びガス供給システム
JP2008215125A (ja) 内燃機関の燃料供給装置
JP4543354B2 (ja) エンジンのガス燃料供給装置
JPH0777109A (ja) 気体燃料機関の混合気供給装置
JP2003090238A (ja) 内燃機関用燃料供給装置
JP2882222B2 (ja) ベーパライザの調圧装置
JPH08284754A (ja) 携帯作業装置の内燃機関用のキャブレター
JP2004028012A (ja) 膜式気化器
WO1995025883A1 (en) Gas mixer
JP2000303907A (ja) 気化器
JP2601347Y2 (ja) 気体燃料エンジン用レギュレータ
JPS6043161A (ja) 汎用エンジン用のガス供給量調整装置
JP3269338B2 (ja) 燃料供給装置
JP2025173237A (ja) エンジンのガス燃料供給装置
JPS6149159A (ja) 液化ガスエンジン用混合器
JP2009047036A (ja) エンジンのガス燃料供給装置
JPH06193511A (ja) Lpgエンジンの始動燃料供給装置

Legal Events

Date Code Title Description
A621 Written request for application examination

Free format text: JAPANESE INTERMEDIATE CODE: A621

Effective date: 20080807

RD03 Notification of appointment of power of attorney

Free format text: JAPANESE INTERMEDIATE CODE: A7423

Effective date: 20090209

A977 Report on retrieval

Free format text: JAPANESE INTERMEDIATE CODE: A971007

Effective date: 20100825

A131 Notification of reasons for refusal

Free format text: JAPANESE INTERMEDIATE CODE: A131

Effective date: 20100908

A521 Written amendment

Free format text: JAPANESE INTERMEDIATE CODE: A523

Effective date: 20101105

A131 Notification of reasons for refusal

Free format text: JAPANESE INTERMEDIATE CODE: A131

Effective date: 20110316

A521 Written amendment

Free format text: JAPANESE INTERMEDIATE CODE: A523

Effective date: 20110428

A01 Written decision to grant a patent or to grant a registration (utility model)

Free format text: JAPANESE INTERMEDIATE CODE: A01

Effective date: 20110601

A01 Written decision to grant a patent or to grant a registration (utility model)

Free format text: JAPANESE INTERMEDIATE CODE: A01

A61 First payment of annual fees (during grant procedure)

Free format text: JAPANESE INTERMEDIATE CODE: A61

Effective date: 20110615

R150 Certificate of patent or registration of utility model

Free format text: JAPANESE INTERMEDIATE CODE: R150

FPAY Renewal fee payment (event date is renewal date of database)

Free format text: PAYMENT UNTIL: 20140624

Year of fee payment: 3

LAPS Cancellation because of no payment of annual fees