JP4724552B2 - 排水処理装置 - Google Patents
排水処理装置 Download PDFInfo
- Publication number
- JP4724552B2 JP4724552B2 JP2005365120A JP2005365120A JP4724552B2 JP 4724552 B2 JP4724552 B2 JP 4724552B2 JP 2005365120 A JP2005365120 A JP 2005365120A JP 2005365120 A JP2005365120 A JP 2005365120A JP 4724552 B2 JP4724552 B2 JP 4724552B2
- Authority
- JP
- Japan
- Prior art keywords
- ozone gas
- waste water
- wastewater
- treatment tank
- fine bubble
- Prior art date
- Legal status (The legal status is an assumption and is not a legal conclusion. Google has not performed a legal analysis and makes no representation as to the accuracy of the status listed.)
- Expired - Lifetime
Links
Images
Landscapes
- Treatment Of Water By Oxidation Or Reduction (AREA)
Description
泥との接触、薬剤の添加、オゾンとの接触、紫外線照射等で有機物等を分解させることに
より処理されている。
ー方式等によりオゾンガスを排水中に溶解させ、有機物等の分解対象物質を酸化分解させ
る処理方法等が知られている(例えば、特許文献1等)。
程度の気泡として反応槽内の液中を上昇し、液面から、気体状態のまま外環境に排出され
る場合がある。そのため、かかる処理方法では、液中に溶解せず、液面から気体状態で排
出されるオゾンガス量を考慮して、過剰量のオゾンガスを発生させると共に、過剰量のオ
ゾンガスを供給するため、装置にかかるコストや運転コストがかさみ、排出されたオゾン
ガスを処理するために、活性炭等を用いる排オゾン処理の設置が必要となるという欠点が
ある。
排水をオゾンガスと接触させて処理する排水の処理方法であって、排水を供給して、下向流を形成させることにより、該排水の液面よりも下方から供給されるオゾンガスの微細気泡の到達上限面を、排水の液面よりも下方に位置せしめる排水の処理方法に用いるための排水処理装置であって、
該排水を供給する排水供給口を有してなる、排水をオゾンガスと接触させて処理する処理槽と、
オゾンガスの微細気泡を、該処理槽内に供給する微細気泡供給部を有してなる微細気泡生成供給装置と、
を備えてなり、
該処理槽内において、該排水供給口よりも下方に該微細気泡供給部が配され、該排水供給口からの排水の供給により、該微細気泡供給部から供給されたオゾンガスの微細気泡の到達上限面を、処理槽本体内の液面よりも下方に位置せしめるように構成されてなり、
該処理槽本体の内部に、循環流を生じさせるための手段がさらに設けられてなり、
該循環流を生じさせるための手段が、該処理槽内に内接し、かつ該処理槽の断面積よりも小さい断面積の開口を有する手段及び/又は双曲面形攪拌翼であることを特徴とする排水処理装置に関する。
また、排水をオゾンガスと接触させて処理する排水の処理方法であって、排水を供給して、下向流を形成させることにより、該排水の液面よりも下方から供給されるオゾンガスの微細気泡の到達上限面を、排水の液面よりも下方に位置せしめる排水の処理方法に用いるための排水処理装置であって、
該排水を供給する排水供給口を有してなる、排水をオゾンガスと接触させて処理する処理槽と、
オゾンガスの微細気泡を、該処理槽内に供給する微細気泡供給部を有してなる微細気泡生成供給装置と、
を備えてなり、
該処理槽内において、該排水供給口よりも下方に該微細気泡供給部が配され、該排水供給口からの排水の供給により、該微細気泡供給部から供給されたオゾンガスの微細気泡の到達上限面を、処理槽本体内の液面よりも下方に位置せしめるように構成されてなり、
該処理槽本体の底部に処理水排出口が設けられ、該処理水排出口より上方に循環水取水口が設けられ、該微細気泡供給発生装置に該循環水取水口からの循環水を流入させる循環水路が設けられてなることを特徴とする排水処理装置に関する。
気泡供給部が配され、排水供給口からの排水の供給により、微細気泡供給部から供給され
たオゾンガスの微細気泡の到達上限面を、処理槽本体内の液面よりも下方に位置せしめる
構成により、オゾンガスが、そのまま外環境に排出されることが実質的に抑制され、導入
されたオゾンガスを実質的に損失することなく排水の処理に利用することができるという
優れた効果を奏する。また、かかる構成により、本発明の排水処理装置によれば、オゾン
ガスの生成に要するエネルギー量等を、より一層削減して運転することができるという優
れた効果を奏する。さらに、かかる構成により、前記液面から気体として排出されるオゾ
ンガスを処理するための処理装置が実質的に要求されないため、設置場所、面積等に応じ
て、コンパクトな大きさに設計されうるという優れた効果を奏する。
方に微細気泡供給部が配され、排水供給口からの排水の供給により、微細気泡供給部から
供給されたオゾンガスの微細気泡の到達上限面を、処理槽本体内の液面よりも下方に位置
せしめる構成により、導入されたオゾンガスを処理槽本体内の排水の液相中の所望の領域
に高密度で存在させることができるので、導入されたオゾンガスを効率よく分解対象物質
と接触させることができ、高い処理能力を発揮させることができるという優れた効果を奏
する。
、有機物質、環境ホルモン(内分泌攪乱物質)〔ノニルフェノール等〕、色素等を含有し
た工業排水又は家庭排水、し尿、メタン発酵分離液等が挙げられる。かかる排水は、前記
オゾンガスによる処理に先立って、生物処理、膜処理等の処理が施された溶液であっても
よい。
微細気泡生成供給装置としては、微細気泡を発生させることができるものであればよく、
特に限定されないが、例えば、旋回流発生部内に液体を加圧ポンプ等で圧送し、旋回流を
発生させて、高遠心力場を発生させるとともに、かかる高遠心力場に気体を導入して、液
体と気体とを混合することにより微細気泡を発生させる機構を有する装置等が挙げられる
。前記微細気泡生成供給装置としては、具体的には、例えば、流通方向に向かって縮径す
る円錐台形状の内面を有する管体からなる、排水の旋回流を発生させる旋回流発生部と、
排水を吸引して加圧状態で旋回流発生部に排水を送り出す加圧ポンプと、
旋回流発生部にオゾンガスを導入するオゾンガス発生装置と
旋回流発生部で生成した微細気泡を、処理槽本体内に供給する微細気泡供給部と、
を備え、
処理槽と加圧ポンプ入口とが配管により接続され、
加圧ポンプ出口と旋回流発生部入口とが、旋回流発生部の円錐台形状の径大側において円
周方向に排水が導入されるように配管により接続され、
微細気泡供給部が、オゾンガスによる処理に際して、処理槽本体内の排水中に浸漬された
状態で配され、
オゾンガス発生装置で発生したオゾンが旋回流発生部に導入され、旋回流によりオゾンガ
スが剪断され、生成した微細気泡が、旋回流発生部の円錐台形状の径小側から微細気泡供
給部に移送され、それにより、微細気泡供給部からオゾンガスの微細気泡が排出されるよ
うに構成されている微細気泡生成供給装置等が挙げられる。
れる。
気泡供給部から排出される全気泡の内の80%以上(個数)の気泡が直径80μm以下の
大きさであるものを意図する。
口近傍でマイクロスコープ等を用いて撮影し、撮影された写真を画像解析等に供すること
により求められうる。具体的には、気泡の大きさは、例えば、微細気泡供給部出口近傍(
すなわち、出口から50mmの位置)において、微細気泡供給部から排出される気泡を、
20倍程度の倍率のマイクロスコープ等を用いて撮影し、撮影された写真を、例えば、旭
化成エンジニアリング株式会社、商品名:A像くん等の画像解析ソフトにより解析し、そ
れにより、円相当径を算出することにより求められうる。
解析された全気泡のうち、80%以上の気泡が直径80μm以下の円相当径として観察さ
れることによりで確認されうる。
応じて設定されうる。かかる下向流速は、例えば、下記式1:
を満たす範囲であればよい。具体的には、例えば、20℃、1気圧下で、発生時直径50
μmの微細気泡で、排水の供給の際の垂直方向での初速度が、少なくとも1.35mm/
秒、好ましくは、1.35mm/秒〜5.5mm/秒、より好ましくは、1.35mm/
秒〜1.4mm/秒である場合、オゾンガスの微細気泡の到達上限面を、排水の液面より
も下方に位置するように良好に制御されうる。
には、80μmの微細気泡が上昇しない下向流速、例えば、3.4565mm/秒に設定
されうる。
成、分解対象物質の種類等に対応する滞留時間等に応じて、適宜設定されうる。
て、前記双曲面形攪拌翼とは、上面視円形で、該円形の中心部に向けた仰角が中心部に近
いほど大きな値となるように中央部が隆起し、側面視の稜線が二次関数曲線(y=ax2
)の一部と略同一となるよう形成された板状基体を有し、該板状基体の上面には中心部か
ら放射状に複数のリブが形成され、かつ板状基体がその中心部を軸に水平方向に回転した
ときに前記リブが回転方向に対して後退するよう板状基体の上面に形成され、板状基体が
その中心部を軸に略水平方向に回転するように用いられる攪拌翼をいう。
より液を引き抜き、液相の上部に戻すような循環流であってもよい。この場合、循環流の
水量q(m3/秒)は、気泡上昇を抑制する下向流速を発生させるために必要な流量を循
環流量によって確保する観点から、好ましくは、下記式2:
される排水の流量(m3/秒)であり、dは、気泡発生時の微細気泡の外径(μm)であ
る〕を満たすことが望ましい。なお、処理槽が矩形の場合は、循環流の水量q(m3/秒
)は、下記式3:
理槽に供給される排水の流量(m3/秒)であり、dは、気泡発生時の微細気泡の外径(
μm)である〕を満たすことが望ましい。
該排水を供給する排水供給口を有してなる、排水をオゾンガスと接触させて処理する処理
槽と、
オゾンガスの微細気泡を、該処理槽本体内に供給する微細気泡供給部を有した微細気泡生
成供給装置と、
を備え、
該処理槽本体内において、該排水供給口よりも下方に該微細気泡供給部が配され、該排水
供給口からの排水の供給により、該微細気泡供給部から供給されたオゾンガスの微細気泡
の到達上限面を、処理槽本体内の液面よりも下方に位置せしめるように構成されているこ
とを特徴とする排水処理装置に関する。
給部が配され、排水供給口からの排水の供給により、微細気泡供給部から供給されたオゾ
ンガスの微細気泡の到達上限面を、処理槽本体内の液面よりも下方に位置せしめるように
構成されていることに1つの大きな特徴がある。本発明の排水処理装置は、かかる構成を
有していることにより、オゾンガスが、そのまま外環境に排出されることが実質的に抑制
され、導入されたオゾンを実質的に損失させることなく利用することができるという優れ
た効果を発揮する。また、かかる構成により、本発明の排水処理装置によれば、オゾンガ
スの生成に要するエネルギー量等を、より削減して運転することができるという優れた効
果を発揮する。さらに、かかる構成は、液面から排出されるオゾンガスを処理するための
処理装置が実質的に要求されないため、設置場所、面積等に応じて、コンパクトな大きさ
に設計できる点でも有利である。また、本発明の排水処理装置によれば、前記構成を有し
ているため、排水の供給の際の下向流速を制御することにより、処理槽本体内において、
導入されたオゾンガスを所望の領域に高密度で存在させることができる。そのため、本発
明の排水処理装置によれば、導入されたオゾンガスを効率よく分解対象物質と接触させる
ことができ、高い処理能力を発揮させることができるという優れた効果を発揮する。
られ、該処理水排出口より上方に循環水取水口が設けられ、該微細気泡供給発生装置に該
循環水取水口からの循環水を流入させる循環水路が設けられうる。
処理装置を具体的に説明するが、本発明は、かかる実施態様に限定されるものではない。
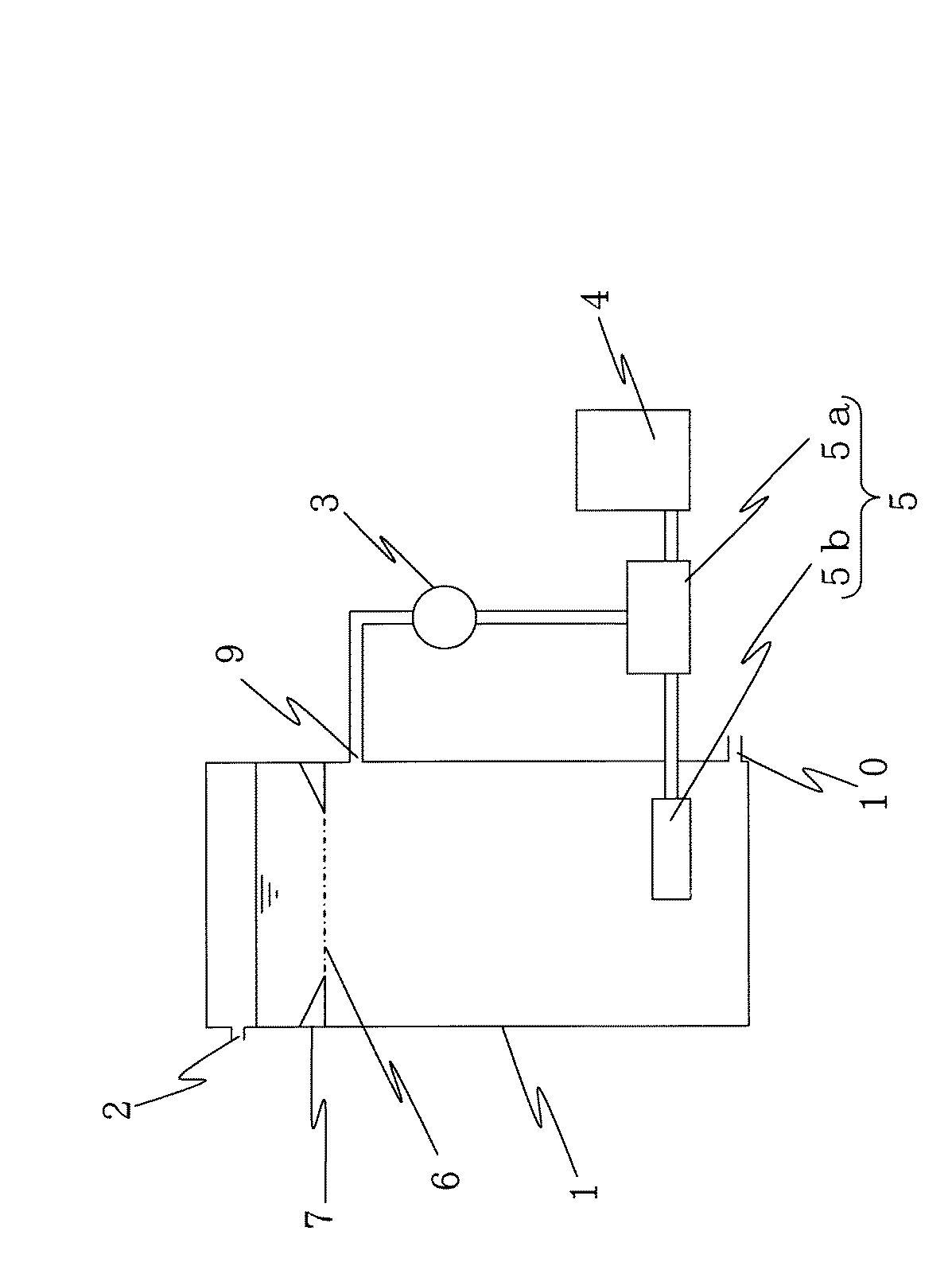
水をオゾンガスと接触させて処理する処理槽1と、
オゾンガスを発生させるオゾンガス発生部4と、
処理槽1から排水を導入して、旋回流を発生させ、排水と、オゾンガス発生部4から導入
されたオゾンガスとを混合してオゾンガスの微細気泡を発生させる旋回流発生部5aと、
旋回流発生部5aで生成した微細気泡を、該処理槽本体内の排水に供給する微細気泡供給
部5bとを有した微細気泡生成供給装置5と、
処理後に得られた処理水を排出する処理水排出口10と、
を備え、
処理槽1内において、排水供給口2よりも下方に微細気泡供給部5bが配され、排水供給
口2からの排水の供給により、微細気泡供給部5bから供給されたオゾンガスの微細気泡
の到達上限面6を、処理槽1本体内の液面よりも下方に位置せしめるように構成されてい
ることを特徴とする装置である。
aと、微細気泡供給部5bとを備えた装置である。
ないが、例えば、無声放電により酸素を電気分解してオゾンを生成させる装置等が挙げら
れる。
て取り込む循環水取水口9と、排水を吸引して加圧状態で、微細気泡装置5の旋回流発生
部5aに排水を送り出す加圧ポンプ3と配管とにより接続されている。ここで、循環水取
水口9と加圧ポンプ3の入口とは、配管により接続され、加圧ポンプ3の出口と旋回流発
生部5aの入口とが、旋回流発生部5aの円錐台形状の径大側において円周方向に排水が
導入されるように配管により接続されている。
る処理に際して、処理槽本体内の排水中に浸漬された状態で配されている。処理槽1にお
いて、微細気泡供給部5bは、循環水取水口9よりも下方に位置するように配されている
。尚、オゾンガスの微細気泡の到達上限面6は、循環水取水口9よりも上方に位置する。
続され、旋回流発生部5aと微細気泡供給部5bとが配管により接続されている。かかる
構成により、オゾンガス発生部4でオゾンガスが生成され、生成されたオゾンガスが旋回
流発生部5aに導入され、かかる旋回流発生部5aにおいて、排水の導入により発生した
旋回流によりオゾンガスが剪断されて、微細気泡が生成され、生成された微細気泡が、旋
回流発生部5aの円錐台形状の径小側から微細気泡供給部5bに移送され、それにより、
微細気泡供給部5bから発生時直径80μm以下のオゾンガスの微細気泡が排出され、処
理槽1内に供給される。
の形状の処理槽等が挙げられる。なかでも、オゾンガスと、排水中に含まれる分解対象物
質との接触をより効率よく行なう観点から、好ましくは、円筒形状の処理槽が望ましい。
から、円筒形状の処理槽である場合、好ましくは、処理槽1の内径を、下記式4:
/秒)であり、dは、気泡発生時の微細気泡の外径(μm)である〕
を満たすように設定することが望ましい。
い。また、処理水排出口10は、微細気泡供給部5bよりも下方に配されるように構成さ
れうる。
、微細気泡供給部5bが、循環水取水口9よりも上方に位置するように配され、処理水排
出口10が、循環水取水口9よりも下方に位置するように配されていることを特徴とする
装置である。この構成により気泡と排水とが接する時間が長くなり,十分な反応時間が確
保できるという点に優れる。尚、オゾンガスの微細気泡の到達上限面6は、微細気泡供給
部5bよりも上方に位置する。
、処理槽1の内径(断面積)を部分的に小さくする断面積調節手段7が、処理槽1に内設
されていることを特徴とする装置である。かかる構成により、より簡便に、オゾンガスの
微細気泡の到達上限面6を処理槽1本体内の液面よりも下方に位置せしめるように構成す
ることが可能になる。
の開口を有する手段である。尚、断面積調節手段7により断面積が小さくなった開口の面
が、オゾンガスの微細気泡の到達上限面6となる。
ことを特徴とする装置である。かかる構成により、液面からのオゾンの排出が抑制され、
また、排水の循環によって滞留時間が長くなるという点に優れる。
、処理槽1本体内に、循環流を生じさせる循環流発生手段8がさらに設けられていること
を特徴とする装置である。かかる構成により、循環流を生じさせない場合に比べ、同体積
あたりの滞留時間を増加させることができるという優れた効果を発揮する。また、そのた
め、実施態様4の排水処理装置によれば、滞留時間を維持するに適したオゾンガスの存在
領域をよりコンパクトに形成させることができる。
げられる。前記双曲面形攪拌翼は、運転に際し、エネルギーの消費が少なく、循環流を制
御しやすく、該循環流を効率よく発生させることができる点で有利である。
、処理槽1の内径(断面積)を部分的に小さくする断面積調節手段7が、処理槽1に内設
され、かつ処理槽1本体内に、循環流を生じさせる循環流発生手段8がさらに設けられて
いることを特徴とする装置である。かかる構成により、微細気泡の到達上限面6を、処理
槽本体内の排水の液面よりも下方に配し、かつ該液相中に処理に適した滞留時間を維持す
るに適したオゾンガスの存在領域を、よりコンパクトになるように形成させうる。また、
かかる構成は、より簡便に、オゾンガスの微細気泡を高密度に存在させることができる点
で有利である。かかる実施態様5の排水処理装置においては、循環水取水口9は、断面積
調整手段7の下方に配されている。
るものではない。
図1に示される排水処理装置を用い、種々の気泡発生時直径(外径)の微細気泡のオゾ
ンガスを発生させた場合に、液面からのオゾンガスの流出を抑制するために必要な排水の
供給速度〔下向流速(mm/秒)〕を求めた。結果を図6に示す。
ンガスの場合、少なくとも1.35mm/秒の下向流速により、液面からのオゾンガスの
排出を抑制することができることがわかる。なお、対照として、下向流速1.38mm/
秒として、図1に示される排水処理装置の微細気泡生成供給装置5に代えて、従来の散気
管(焼結フィルタータイプ)を備えた装置を用いて、気泡発生時直径2mmの気泡を処理
槽1内に供給した場合、かかる気泡のオゾンガスは、0.216m/sの速度で上昇し、
液面から排出された。
COD Mnが7.2〜12.5mg/Lの排水を、図1に示される排水処理装置に供
し、気泡発生時直径50μmの微細気泡(即ち、全微細気泡数の80%が50μm以下の
微細気泡)のオゾンガスにより排水のオゾン処理を行なった。ここで、処理槽1の寸法は
、内径200mm、高さ2900mm、有効水深2500mm、有効容量78.5L、排
水供給口2の設置位置は、処理槽1上部であり、排水供給口2の大きさは、直径5mmで
あり、処理水排出口10の設置位置は、処理槽1下部である。また、排水の供給水量2.
6L/分(滞留時間30分間)、7.9L/分(滞留時間10分間)又は13.1L/分
(滞留時間6分間)とした。また、図1に示される排水処理装置の上部にオゾン濃度計を
設置した。オゾン処理後の排水について、オゾン吸収率及びCOD減少率を評価した。な
お、COD Mnは、JIS K 0102 (1998) 17 滴定法に準じて測定
した。
供給装置へ供給されるオゾン含有ガスの圧力×供給ガス容積×オゾン濃度)と、処理槽1
から排出される排ガス中のオゾン量(処理槽1の排ガス出口から排出される排ガスの圧力
×排ガス容積×オゾン濃度)との差を、処理槽1に供給されるオゾン量の値で割ることに
より算出した。
理水におけるCOD Mnの濃度との差を、オゾン処理前の排水におけるCOD Mnの
濃度の値で割ることにより算出した。
従来の散気管(焼結フィルタータイプ)を備えた装置を用い、気泡発生時直径2mmの気
泡のオゾンガスにより排水のオゾン処理を行なった。
よるオゾン処理の場合(図7中、黒色の菱形)、気泡の上昇が抑制され、オゾンガス吸収
率を向上させることができ、かつCOD減少率も良好な結果を示した。一方、対照の気泡
発生時直径2mmの気泡のオゾンガスによるオゾン処理の場合(図7中、白色の菱形)、
オゾン吸収率を増加させることが困難であった。
D成分(有機物)の分解に必要な滞留時間を得ることができる。
実施例2で用いた排水処理装置に、排水を供し、気泡発生時直径30〜100μmの微
細気泡のオゾンガスにより排水のオゾン処理を行なった場合における液面到達オゾン量と
、循環水取水口9におけるオゾン量とを調べた。その結果を、表1に示す。
出しないことがわかる。
図1に示される排水処理装置又は図2に示される排水処理装置を用い、排水の供給量を
7.9L/分とし、気泡発生時直径50μmの微細気泡のオゾンガスにより排水のオゾン
処理を行なった。その後、液面到達オゾン量と、循環水取水口9におけるオゾン量とを調
べた。
m、有効容量78.5Lである。また、排水供給口2の設置位置は、処理槽1上部、排水
供給口2の大きさは、直径5mm、処理水排出口10の設置位置は、処理槽1下部である
。
(最上部から650mmの位置)とし、微細気泡供給部5bの設置位置は、処理槽1の下
部(最上部から2650mmの位置)とした。一方、図2に示される排水処理装置におい
て、微細気泡供給部5bの設置位置は、処理槽1の上部(最上部から650mmの位置)
とし、循環水取水口9の設置位置は、処理槽1の下部(最上部から2650mmの位置)
とした。
の下方より水平方向に供給した場合(実施例3)の結果を図8の(b)に示す。また、図
1に示される排水処理装置を用い、気泡径50μmの気泡のオゾンガスを、処理槽1の下
方より垂直方向上向きに供給した場合(実施例4)の結果を図8の(c)に示す。さらに
、図2に示される排水処理装置を用い、気泡径50μmの気泡のオゾンガスを、処理槽1
の上方より下向方向に供給した場合(実施例5)の結果を図8の(d)に示す。なお、対
照として、図1に示される排水処理装置を用い、気泡径2mmの気泡のオゾンガスを、処
理槽1の下方より水平方向に供給した場合(比較例)の結果を図8の(a)に示す。
た場合には、オゾンガスが液面から流出するが、図8の(b)〜(d)に示されるように
、供給するオゾンガスの気泡径を50μmとすることにより、液面からのオゾンガスの流
出が抑制できることがわかる。
場合、循環流が発生し、気泡は、循環流に追従するため、液面からのオゾンガスの流出が
抑制できるとともに、処理水排出口からのオゾンガスの流出を、より効率よく抑制するこ
とができることがわかる。
下向方向にした場合、液面からのオゾンガスの流出が抑制でき、かつ処理水排出口からの
オゾンガスの流出を抑制することができるとともに、排水とオゾンガスとの接触時間を十
分に確保することができる。このように、微細気泡のオゾンガスを用い、その供給方向を
変えることにより、液面からのオゾンガスの流出を効果的に抑制することができる。
酵消化液の生物処理水の処理、し尿の脱水処理、着色排水の脱色処理等が可能になる。
2 排水供給口
3 加圧ポンプ
4 オゾン発生部
5 微細気泡生成供給装置
5a 旋回流発生部
5b 微細気泡供給部
6 微細気泡の到達上限面
7 断面積調節手段
8 循環流発生手段
9 循環水取水口
10 処理水排出口
Claims (3)
- 排水をオゾンガスと接触させて処理する排水の処理方法であって、排水を供給して、下向流を形成させることにより、該排水の液面よりも下方から供給されるオゾンガスの微細気泡の到達上限面を、排水の液面よりも下方に位置せしめる排水の処理方法に用いるための排水処理装置であって、
該排水を供給する排水供給口を有してなる、排水をオゾンガスと接触させて処理する処理槽と、
オゾンガスの微細気泡を、該処理槽内に供給する微細気泡供給部を有してなる微細気泡生成供給装置と、
を備えてなり、
該処理槽内において、該排水供給口よりも下方に該微細気泡供給部が配され、該排水供給口からの排水の供給により、該微細気泡供給部から供給されたオゾンガスの微細気泡の到達上限面を、処理槽本体内の液面よりも下方に位置せしめるように構成されてなり、
該処理槽本体の内部に、循環流を生じさせるための手段がさらに設けられてなり、
該循環流を生じさせるための手段が、該処理槽内に内接し、かつ該処理槽の断面積よりも小さい断面積の開口を有する手段及び/又は双曲面形攪拌翼であることを特徴とする排水処理装置。 - 排水をオゾンガスと接触させて処理する排水の処理方法であって、排水を供給して、下向流を形成させることにより、該排水の液面よりも下方から供給されるオゾンガスの微細気泡の到達上限面を、排水の液面よりも下方に位置せしめる排水の処理方法に用いるための排水処理装置であって、
該排水を供給する排水供給口を有してなる、排水をオゾンガスと接触させて処理する処理槽と、
オゾンガスの微細気泡を、該処理槽内に供給する微細気泡供給部を有してなる微細気泡生成供給装置と、
を備えてなり、
該処理槽内において、該排水供給口よりも下方に該微細気泡供給部が配され、該排水供給口からの排水の供給により、該微細気泡供給部から供給されたオゾンガスの微細気泡の到達上限面を、処理槽本体内の液面よりも下方に位置せしめるように構成されてなり、
該処理槽本体の底部に処理水排出口が設けられ、該処理水排出口より上方に循環水取水口が設けられ、該微細気泡供給発生装置に該循環水取水口からの循環水を流入させる循環水路が設けられてなることを特徴とする排水処理装置。 - 該循環水取水口が、該微細気泡供給部よりも下方に設けられてなる、請求項2記載の排水処理装置。
Priority Applications (1)
| Application Number | Priority Date | Filing Date | Title |
|---|---|---|---|
| JP2005365120A JP4724552B2 (ja) | 2005-12-19 | 2005-12-19 | 排水処理装置 |
Applications Claiming Priority (1)
| Application Number | Priority Date | Filing Date | Title |
|---|---|---|---|
| JP2005365120A JP4724552B2 (ja) | 2005-12-19 | 2005-12-19 | 排水処理装置 |
Publications (2)
| Publication Number | Publication Date |
|---|---|
| JP2007167712A JP2007167712A (ja) | 2007-07-05 |
| JP4724552B2 true JP4724552B2 (ja) | 2011-07-13 |
Family
ID=38294982
Family Applications (1)
| Application Number | Title | Priority Date | Filing Date |
|---|---|---|---|
| JP2005365120A Expired - Lifetime JP4724552B2 (ja) | 2005-12-19 | 2005-12-19 | 排水処理装置 |
Country Status (1)
| Country | Link |
|---|---|
| JP (1) | JP4724552B2 (ja) |
Families Citing this family (1)
| Publication number | Priority date | Publication date | Assignee | Title |
|---|---|---|---|---|
| KR101198334B1 (ko) * | 2011-07-07 | 2012-11-06 | 주식회사 성환이엔티 | 제올라이트를 가지는 담체를 이용한 연속회분식 하/폐수 처리장치 및 방법 |
Family Cites Families (3)
| Publication number | Priority date | Publication date | Assignee | Title |
|---|---|---|---|---|
| AU8709491A (en) * | 1991-07-10 | 1993-01-14 | Envirex Inc. | Apparatus for dissolution of gas in liquid |
| JP2004321959A (ja) * | 2003-04-25 | 2004-11-18 | Hitachi Eng Co Ltd | 廃液の処理装置 |
| JP2006272232A (ja) * | 2005-03-30 | 2006-10-12 | Hitachi Ltd | 超微細気泡の生成方法、生成装置及びそれを利用した殺菌・消毒設備 |
-
2005
- 2005-12-19 JP JP2005365120A patent/JP4724552B2/ja not_active Expired - Lifetime
Also Published As
| Publication number | Publication date |
|---|---|
| JP2007167712A (ja) | 2007-07-05 |
Similar Documents
| Publication | Publication Date | Title |
|---|---|---|
| TWI317349B (ja) | ||
| CN104876375A (zh) | 一种深度氧化水处理方法及装置 | |
| JP2009056364A (ja) | 配管型の水処理装置 | |
| WO2023173715A1 (zh) | 臭氧催化氧化气浮一体化系统及其使用方法 | |
| JP2013522021A (ja) | ガス捕集型気液反応装置とこれを利用した水処理装置並びにガス浄化装置 | |
| US6503403B2 (en) | Gas-liquid contact apparatus | |
| JP5250284B2 (ja) | 水処理装置および水処理方法 | |
| KR101742557B1 (ko) | 오존 반응을 이용한 수처리 장치 및 방법 | |
| KR102350547B1 (ko) | 개량된 오존가스 용해 처리구조를 갖는 고도 산화 수처리 시스템의 오존가스 용해 처리장치 | |
| KR101963807B1 (ko) | 2단 반응기를 포함하는 오존용해 수처리 장치 | |
| JP4271991B2 (ja) | オゾン水処理装置 | |
| JP5079620B2 (ja) | 水処理装置 | |
| JP4879925B2 (ja) | 水処理装置および水処理方法 | |
| JP4724552B2 (ja) | 排水処理装置 | |
| JP2005218955A (ja) | 気液接触装置 | |
| JP2002273451A (ja) | 浄化装置 | |
| JP2007090218A (ja) | 有機性排水処理方法ならびに有機性排水処理設備 | |
| JP4884737B2 (ja) | 液体処理装置 | |
| KR102270079B1 (ko) | 미세기포 생성장치 | |
| JP2008119609A (ja) | 散気システムおよび散気方法 | |
| JP2003334432A (ja) | 気体溶解器及び水処理器それらを備えた水処理装置 | |
| JP2009039673A (ja) | 廃水処理装置及び廃水処理方法 | |
| JP2002119978A (ja) | 連続水処理装置および方法 | |
| JP2002233895A (ja) | 下水汚泥の脱臭方法 | |
| JP6447302B2 (ja) | 水処理システム |
Legal Events
| Date | Code | Title | Description |
|---|---|---|---|
| RD04 | Notification of resignation of power of attorney |
Free format text: JAPANESE INTERMEDIATE CODE: A7424 Effective date: 20080624 |
|
| A621 | Written request for application examination |
Free format text: JAPANESE INTERMEDIATE CODE: A621 Effective date: 20080813 |
|
| A977 | Report on retrieval |
Free format text: JAPANESE INTERMEDIATE CODE: A971007 Effective date: 20110126 |
|
| A131 | Notification of reasons for refusal |
Free format text: JAPANESE INTERMEDIATE CODE: A131 Effective date: 20110204 |
|
| A521 | Request for written amendment filed |
Free format text: JAPANESE INTERMEDIATE CODE: A523 Effective date: 20110311 |
|
| TRDD | Decision of grant or rejection written | ||
| A01 | Written decision to grant a patent or to grant a registration (utility model) |
Free format text: JAPANESE INTERMEDIATE CODE: A01 Effective date: 20110401 |
|
| A01 | Written decision to grant a patent or to grant a registration (utility model) |
Free format text: JAPANESE INTERMEDIATE CODE: A01 |
|
| A61 | First payment of annual fees (during grant procedure) |
Free format text: JAPANESE INTERMEDIATE CODE: A61 Effective date: 20110411 |
|
| FPAY | Renewal fee payment (event date is renewal date of database) |
Free format text: PAYMENT UNTIL: 20140415 Year of fee payment: 3 |
|
| R150 | Certificate of patent or registration of utility model |
Ref document number: 4724552 Country of ref document: JP Free format text: JAPANESE INTERMEDIATE CODE: R150 Free format text: JAPANESE INTERMEDIATE CODE: R150 |
|
| FPAY | Renewal fee payment (event date is renewal date of database) |
Free format text: PAYMENT UNTIL: 20140415 Year of fee payment: 3 |
|
| R250 | Receipt of annual fees |
Free format text: JAPANESE INTERMEDIATE CODE: R250 |
|
| R250 | Receipt of annual fees |
Free format text: JAPANESE INTERMEDIATE CODE: R250 |
|
| R250 | Receipt of annual fees |
Free format text: JAPANESE INTERMEDIATE CODE: R250 |
|
| R250 | Receipt of annual fees |
Free format text: JAPANESE INTERMEDIATE CODE: R250 |
|
| R250 | Receipt of annual fees |
Free format text: JAPANESE INTERMEDIATE CODE: R250 |
|
| R250 | Receipt of annual fees |
Free format text: JAPANESE INTERMEDIATE CODE: R250 |
