JP4679268B2 - 発光ダイオード複合素子 - Google Patents

発光ダイオード複合素子 Download PDF

Info

Publication number
JP4679268B2
JP4679268B2 JP2005189733A JP2005189733A JP4679268B2 JP 4679268 B2 JP4679268 B2 JP 4679268B2 JP 2005189733 A JP2005189733 A JP 2005189733A JP 2005189733 A JP2005189733 A JP 2005189733A JP 4679268 B2 JP4679268 B2 JP 4679268B2
Authority
JP
Japan
Prior art keywords
light emitting
emitting diode
submount
light
composite element
Prior art date
Legal status (The legal status is an assumption and is not a legal conclusion. Google has not performed a legal analysis and makes no representation as to the accuracy of the status listed.)
Expired - Fee Related
Application number
JP2005189733A
Other languages
English (en)
Other versions
JP2007012765A (ja
Inventor
宏司 伏見
Current Assignee (The listed assignees may be inaccurate. Google has not performed a legal analysis and makes no representation or warranty as to the accuracy of the list.)
CI Kasei Co Ltd
Original Assignee
CI Kasei Co Ltd
Priority date (The priority date is an assumption and is not a legal conclusion. Google has not performed a legal analysis and makes no representation as to the accuracy of the date listed.)
Filing date
Publication date
Application filed by CI Kasei Co Ltd filed Critical CI Kasei Co Ltd
Priority to JP2005189733A priority Critical patent/JP4679268B2/ja
Publication of JP2007012765A publication Critical patent/JP2007012765A/ja
Application granted granted Critical
Publication of JP4679268B2 publication Critical patent/JP4679268B2/ja
Anticipated expiration legal-status Critical
Expired - Fee Related legal-status Critical Current

Links

Images

Landscapes

  • Led Device Packages (AREA)

Description

本発明は、光学特性が同種又は異種のフリップチップ型の発光ダイオードをサブマウント上に配置接続し、印刷配線基板に取り付けるようにした表面実装型パッケージである発光ダイオード複合素子に関するものである。
特に、本発明は、発光ダイオードを近接して配置することにより、色むらの少ない高輝度の光源が容易に得られる発光ダイオード複合素子に関するものである。
たとえば、特許文献1に記載されている半導体発光装置は、薄型化を図るために、保持基板の裏面にサブマウントの厚みと同等のサブマウント収納用凹部を形成し、前記サブマウント収納用凹部に前記サブマウントを収納した状態で、前記サブマウントの電極のそれぞれと保持基板の配線を接続している。
また、特許文献2に記載されている複合発光素子は、サブマウントの配線とフリプチップ型発光ダイオードの電極とをバンプを介して接続している。
さらに、特許文献3に記載されている表面実装型発光ダイオードは、鉛を使用しない金−錫ハンダを使用して発光ダイオードを実装している。
特開2003−46135号公報 特開2003−218403号公報 特開2003−304003号公報
発光層からの光を電極の反対側の面から取り出すフリップチップ型の発光ダイオードは、電極による光の遮りがないため明るく、発光効率が良い。しかし、フリップチップ型の発光ダイオードの電極は、サブマウント上の配線と金線を介して接続するか、あるいは前記配線上に載置されたハンダバンプにより接続されていた。
発光ダイオードの電極とサブマウント上の配線とを金線で接続するのは、通常、自動機を用いて行われるが、熱サイクルにより接続部の寿命が短縮されるなど、信頼性に問題があった。また、ハンダバンプによる接続は、フラックス成分が飛散するとともに、温度を上げると、発光ダイオードの重みでハンダバンプが薄くなり、接合部が広がったり、あるいはハンダの一部が溶けて流出し、配線間の短絡を起こす恐れがあった。このようなハンダの広がりや流出を防止するために、その近傍に絶縁膜を配し、配線における短絡を防いでいた。
ハンダバンプによる発光ダイオードとサブマウントにおける配線との接続は、使用中に発生する熱により膨張するため、接続部分が剥がれたり、発光ダイオードが破壊され易いという欠点がある。また、従来の発光ダイオードは、それぞれが持つ特有の色を発生するが、その中間色や色調を変えることが困難であった。
本発明は、上記問題点を解消するためになされたものであり、発光ダイオードを近接して配置してもハンダの広がりや流出による配線間の短絡を防止することができる発光ダイオード複合素子を提供することを目的とする。
本発明は、発光ダイオードを近接して配置することにより、異なる色の光がよく混ざり、色むらが少なく、かつ、色調を自在に変えることができるフルカラー光源、あるいは、単色の高輝度光源が容易に得られる発光ダイオード複合素子を提供することを目的とする。
本発明者は、鋭意研究を重ねた結果、発光ダイオードの電極とサブマウント上の配線とを高融点の共晶ハンダを介して接続し、また、発光ダイオードを搭載したサブマウントを収納した架台上の配線とサブマウント上の配線とを比較的低い温度で硬化又は溶融する接着剤又は共晶ハンダを介して接続するとともに、サブマウント上に発光ダイオードを特定の配置形状で搭載することにより、上記課題が解決できることを見出し、本発明を完成した。
(第1発明)
すなわち、本発明の要旨は、
上面に上中下3段に並列する3対の配線が形成され、フリップチップ型の発光ダイオードの各電極が金80%、錫20%からなる第1の共晶ハンダを介して前記3対の配線に接続されており、中段に位置する1対の配線に前記発光ダイオードが1つ接続され、上下2段に位置する各1対の配線に前記発光ダイオードがそれぞれ各2つずつ直列に接続されているサブマウントと、
上面側中心部に前記サブマウントが収納される空所が設けられるとともに両側に各3つの上下貫通孔が設けられ、前記空所の端縁から上面と各上下貫通孔の内面を経由して下面まで連通する配線が3対形成された架台と、
前記架台上に前記サブマウントに搭載された前記発光ダイオードを取り囲むように形成される発光反射筒と、
前記発光反射筒の内側に透明樹脂を充填して形成される発光ダイオード封止体とから構成され、
前記架台の上面に形成された各配線の前記空所側端子が、導電性熱硬化性接着剤又は融点が120〜230℃の範囲にある第2の共晶ハンダを介して、前記サブマウント上に形成された各配線の前記サブマウント周縁側端子にそれぞれ接続されていることを特徴とする発光ダイオード複合素子
にある。
(第2発明)
第1発明の発光ダイオード複合素子において、
前記中段に位置する1対の配線に接続される前記発光ダイオードの発光色が赤色であり、前記上下2段に位置する各1対の配線に接続される前記発光ダイオードの発光色のいずれか一方が緑色であり、他方が青色であることを特徴とする。
(第3発明)
第1発明又は第2発明の発光ダイオード複合素子において、
前記発光ダイオードが制御回路によって点滅制御されることを特徴とする。
(第4発明)
第1発明から第3発明のいずれかの発光ダイオード複合素子において、
前記発光ダイオードの電極に印加する電圧を変えることにより、全体の色調を特定色に調整することを特徴とする。
(第5発明)
第1発明の発光ダイオード複合素子において、
前記発光ダイオードが発光色の同じ1種類からなることを特徴とする。
本発明によれば、発光ダイオードの電極とサブマウント上の配線とを高融点の金錫共晶ハンダを介して接続し、また、架台上の配線とサブマウント上の配線とを比較的低い温度で硬化する導電性熱硬化性接着剤又は比較的低融点の共晶ハンダを介して接続するため、比較的低温で行われる配線接続の際に、前記金錫共晶ハンダが溶融して広がり、隣の配線と短絡するおそれがない。したがって、発光ダイオードを近接して配置することができる。
本発明によれば、発光ダイオードを近接して配置することができるので、異なる色の光がよく混ざり、色むらが少なく、かつ、色調を自在に変えることができるフルカラー光源、あるいは、単色の高輝度光源が容易に得られる。
本発明によれば、発光ダイオードの電極とサブマウント上の配線との接触面積を金線より大きくとることができるため、これらの接続強度を大きくすることが可能であるだけでなく、発光ダイオードから発生する熱をサブマウントおよび印刷配線基板を介して外部に逃がすことができ、経年変化による不良や劣化を防止することができる。
(第1発明)
第1発明においては、サブマウント基板として、耐熱性と熱伝導性の良好なセラミックなどの電気絶縁性材料、たとえば、窒化アルミニウムからなる板状体を用い、その上に、サブマウント上に形成される上中下3段に並列する3対の配線及び2つのフリップチップ型の発光ダイオードを直列に接続するための2つの配線からなる1組の配線群を多数形成する。配線パターン(回路)の形成は通常のプリント配線の手法による。そして、前記サブマウント基板に形成された多数の配線上には、金80%、錫20%からなる第1の共晶ハンダを用いて各配線の所定位置に前記第1の共晶ハンダからなる層を形成する。
次いで、光学特性が同種又は異種のフリップチップ型の発光ダイオードの電極を前記第1の共晶ハンダからなる層上に配置した後、発光ダイオードが搭載されたサブマウント基板をリフロー炉で加熱することにより、発光ダイオードの電極を前記第1の共晶ハンダを介してサブマウント基板に形成された配線と接続する。その後、サブマウント基板をダイシングし、前記1組の配線群上に発光ダイオードが搭載されたサブマウントを多数製作する。なお、前記第1の共晶ハンダの融点は300℃に近い高温である。
一方、サブマウントを収納する架台は、サブマウント基板の材料と同様のセラミック材料、たとえば、窒化アルミニウムやアルミナからなり、上面側中心部に空所が設けられるとともに両側に各3つの上下貫通孔が設けられる。また、架台には、前記空所の端縁から上面と各上下貫通孔の内面を経由して下面まで連通する配線が3対形成される。このようにして製作した架台の空所に前記サブマウントを収納する。
なお、発光ダイオードからの発熱を印刷配線基板側に逃がすため、サブマウントをヒートシンク上に設置することが望ましく、前記架台の下面側の中央部に凹溝を形成し、これにヒートシンクを収納すればよい。ヒートシンクは多数の放熱用フィンを有する構造のものが望ましく、その材質の好適例として、銅又はアルミニウムからなる構造体の表面にニッケルメッキを施したものが挙げられる。
架台の上面に形成された配線の前記空所側端子は、導電性熱硬化性接着剤又は融点が120〜230℃の範囲にある第2の共晶ハンダを介して、前記サブマウントに形成された配線のサブマウント周縁側端子にそれぞれ接続される。
架台上に発光ダイオードから発する光を内面で反射する発光反射筒を設置する。発光反射筒は、架台の材料と同様のセラミック材料、シリコン樹脂に酸化チタンやアルミナの粉末を充填した材料などを用いて、逆円錐台筒形状に成形する。架台上に設置した発光反射筒の内側に透明樹脂を充填し、サブマウントに搭載した発光ダイオードを封止する発光ダイオード封止体を形成する。
以上のようにして組み立てられた発光ダイオード複合素子は、印刷配線基板上に多数配置され、各素子の架台下面に形成された配線端子が印刷配線基板上に形成されているプリント配線に接続される。このようにして発光ダイオード複合素子の集合体が形成される。
第1発明の発光ダイオード複合素子においては、サブマウント上の配線と発光ダイオードの電極とが高融点の第1の共晶ハンダによって接続される一方、架台上面に形成された配線とサブマウント上の配線とは、第1の共晶ハンダの融点より低い温度で硬化する導電性熱硬化性接着剤、又は融点が第1の共晶ハンダの融点より低い第2の共晶ハンダによって後から接続される。したがって、サブマウント上の配線と発光ダイオードの電極との接続箇所は、後の接続時の加熱によってハンダが融解することがなく、堅固な接続が維持される。
第1発明の発光ダイオード複合素子は、サブマウントに形成された配線と発光ダイオードの電極との接続に金線またはハンダバンプを使用しないため、熱変化に強くまたハンダ付けの際に広がらなく、配線間の短絡を防止することができる。
第1発明の発光ダイオード複合素子において、発光ダイオードの電極とサブマウント上の配線との接続に用いる第1の共晶ハンダは、蒸着法、スクリーン印刷法又はメッキ法により薄い箔状に形成するか、薄い箔状に形成したものを載置して用いる。前記第1の共晶ハンダからなる層は、所望の厚さで、しかも均一に形成されるため、サブマウント上の配線と発光ダイオードの電極とが安定して接続される。
第1発明の発光ダイオード複合素子は、印刷配線基板上にマトリクス状又はその他の所望の形状に配置され、前記架台の下面に形成された配線が前記印刷配線基板上に形成された配線に接続されているため、画像として掲示板、広告装置、方向表示装置、信号装置、その他各種表示装置に利用することができる。
(第2発明)
第2発明の発光ダイオード複合素子は、サブマウントの中段の中央に赤色の発光ダイオードを1つ、上下段に緑色と青色の発光ダイオードを各2つずつ配置したので、異なる色の光がよく混ざり、色むらが少なく、かつ、色調を自在に変えることができるフルカラー光源が容易に得られる。
(第3発明)
第3発明の発光ダイオード複合素子は、印刷配線基板上のプリント配線に接続された制御回路によって少なくとも2種類からなる発光ダイオードの点滅制御が行われるため、文字や画像を動かすことができる。また、第3発明の発光ダイオード複合素子は、たとえば、赤色の発光ダイオード、橙色の発光ダイオード、青色の発光ダイオードの三色をそれぞれ複数個並べ、それぞれの電圧を制御することで、強い赤色、薄い緑色、白色に近い赤色等、色調を各種制御することができる。
第1〜第3発明の発光ダイオード複合素子は、発光ダイオードの色を赤色、黄色、橙色、緑色、青色の内、たとえば、2種類又は3種類とし、複数個配置することにより、また電圧の印加を調整することにより動画像等を表示することができる。また、第1〜第5発明の発光ダイオード複合素子は、少なくとも2種類からなる発光ダイオードを、赤色、黄色、橙色、緑色、青色の内から選択し、異なる色を発光する複数種類を印刷配線基板に配置することにより、画像に適した色調を表すことができる。
(第4発明)
第4発明の発光ダイオード複合素子は、たとえば、赤色、緑色及び青色の発光ダイオードが内蔵され、それぞれの電極に印加する電圧を変えることにより、全体の色調を調整することができ、赤色や黄色にすることにより自動車のウインカーとして使用できる。
第4発明の発光ダイオード複合素子は、白色光又は橙色光を作製することができる。白色光は、制御回路により点滅を行うことにより、見易い文字を表示することができ、また、橙色光は、赤色と交互に発光することで信号機とすることができる。
第4発明の発光ダイオード複合素子は、2種類または3種類からなる発光ダイオードが内蔵された複数個の複合素子を、たとえば、赤色の領域用と橙色の領域用とを作製しておき、これらを組み合わせて自動車のウインカーのような信号灯として使用することができる。
第4発明の発光ダイオード複合素子は、2種類または3種類からなる発光ダイオードが内蔵された複数個の複合素子がそれぞれの電極に印加する電圧を変えて赤色の領域、橙色の領域、および青色の領域を作製し、たとえば、道路等の信号機として使用することができる。
第1発明から第4発明の発光ダイオード複合素子は、2種類または3種類からなる発光ダイオードが内蔵され、発光部をサブマウントの中心に集め、電極を端部に配置することにより、光のバランスを良くすることができ、発光部の明るさのムラを無くすことができる。
(第5発明)
第5発明の発光ダイオード複合素子は、サブマウント上に発光色の同じ発光ダイオードを配置することにより、従来のものと比べて高輝度の光源が得られる。
図1〜図3は、いずれも本発明の実施例に係る発光ダイオード複合素子を説明するために示す図であり、図1は発光ダイオード複合素子の基本構造を示す概略縦断面図であり、図2は発光ダイオード複合素子に用いられる架台の平面図であり、図3は発光ダイオードが搭載されたサブマウントの平面図である。
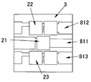
図1〜図3において、発光ダイオード複合素子1は、印刷配線基板(図示されていない)上に多数個が所望の配置形状に配置接続され、発光色の異なる3種類のフリップチップ型の発光ダイオード2を搭載したサブマウント3と、上面側の中心部に形成された空所にサブマウント3を収納した架台4と、架台4上に設置形成された発光反射筒5と、発光反射筒5の内側に透明樹脂を充填して形成された発光ダイオード封止体6とから構成されている。また、架台4の下面側の中央部に形成された凹溝にヒートシンク7が収納されており、発光ダイオード2からの発熱を印刷配線基板側に逃がす役割を果たしている。なお、発光ダイオード2は、赤色の発光ダイオード21、緑色の発光ダイオード22、青色の発光ダイオード23の3種類である。
サブマウント3は、その上に配線が形成できる電気絶縁性材料から構成されるものであれば特に限定されないが、本実施例においては、熱伝導性と耐熱性に優れたセラミックである窒化アルミニウムを材料とし、板状に焼結したものが使用されている。サブマウント3上には、マスクを形成し、金を蒸着することによってサブマウント3の上面に上中下3段に並列する3対の配線81が形成されている。配線81には発光ダイオード2の各電極が金80%、錫20%からなる第1の共晶ハンダを介して接続されている。この第1の共晶ハンダは、蒸着法、スクリーン印刷法、メッキ法等により層状に形成され、その上にフラックスを予め塗布する。
前記配線の厚さは1μmから5μm程度が好ましく、前記共晶ハンダの厚さは0.2μmから0.5μm程度が好ましい。なお、中段に位置する1対の配線811には赤色の発光ダイオード21が1つ接続され、上段に位置する1対の配線812には緑色の発光ダイオード22が、下段に位置する1対の配線813には青色の発光ダイオード23がそれぞれ各2つずつ直列に接続されている。
架台4は、サブマウント3の材料と同じ窒化アルミニウムを材料とした焼結体が用いられ、上面側中心部にサブマウント3が収納される空所41が設けられるとともに両側に各3つの上下貫通孔42が設けられ、空所41の端縁から上面と各上下貫通孔42の内面を経由して下面まで連通する配線82が3対(821、822、823)形成されている。
発光反射筒5は、サブマウント3や架台4の材料と同じ窒化アルミニウムを材料とした焼結体が用いられ、前記3種類からなる発光ダイオード21ないし23から発する光を内面で反射する。
発光ダイオード封止体6は、エポキシ樹脂を主成分とした熱硬化性樹脂で、透明性および耐熱性に優れたものが選択され、平板状または凸レンズ状に形成する。
ヒートシンク7は銅又はアルミニウムからなり、下側に多数の放熱用フィンを有し、表面にニッケルメッキが施されている。
次に、発光ダイオード複合素子の組立方法を説明する。サブマウント3の基板上に、配線811ないし813を一組とする配線群を多数形成する。そして、配線811ないし813上に、金80%、錫20%からなる第1の共晶ハンダを所定の位置に所定量、たとえば、ロボット等により自動的に箔の形で載置するか、蒸着する。
第1の共晶ハンダ上には、異なる色の3種類からなる発光ダイオード21ないし23の電極を配置した後、リフロー炉を通過させて、発光ダイオード21ないし23とサブマウント3上に設けられた前記配線とを接続する。
前記リフロー炉内における共晶ハンダペーストは、後述する割合になっているため、加熱によりフラックスが発散した際に、前記ハンダが広がって、配線間で短絡を起こすことがない。
その後、サブマウント3の基板は、発光ダイオード21ないし23を一組としてダイシングされ、多数のサブマウント3が作製される。サブマウント3に搭載された個々の発光ダイオード21ないし23は、検査装置により検査が行われて良品と不良品に選別される。
一方、架台4には、上面側中心部に空所41を設けるとともに両側に各3つの上下貫通孔42を設け、さらに、下面側中央部に凹溝43を設ける。架台4の表面には、空所41の端縁から上面と各上下貫通孔42の内面を経由して下面まで連通する配線82を3対形成する。
次いで、架台4の凹溝43内にヒートシンク7を装着するとともに、発光ダイオード21ないし23を搭載したサブマウント3を架台4の空所41に収納し、ヒートシンク7上に設置する。サブマウント3と架台4とは上面が面一になっている。
架台4の上面に形成された配線821ないし822は、空所41側端子を、たとえば、エポキシ系樹脂と銀粒子等を主成分とする導電性熱硬化性接着剤又は融点が120〜230℃の範囲にある第2の共晶ハンダを介して、サブマウント3上に形成された配線811ないし812のサブマウント3周縁側端子にそれぞれ接続する。また、架台4上に発光ダイオード21ないし23から発する光を内面で反射する発光反射筒5を形成するとともに、発光反射筒5の内側に透明樹脂を充填して所望の配光特性を有する発光ダイオード封止体6を形成し、発光ダイオード21ないし23を封止する。発光ダイオード封止体6の形状は、使用目的に合わせて平板状、あるいは凸レンズ状とする。
以上のようにして組み立てられた発光ダイオード複合素子1の印刷配線基板への接続は、架台4の下面に形成された配線端子を印刷配線基板上に施されているプリント配線に接続する。印刷配線基板上には、発光ダイオード21ないし23を点灯させるための制御回路(図示されていない)と接続するプリント配線(図示されていない)がエッチング等により所望のパターンに形成されており、印刷配線基板上に、使用目的に合わせて、一列、マトリクス状、あるいは他の形状に発光ダイオード複合素子1を配列した後、必要に応じて、全体を透明樹脂によって覆う。
本実施例で使用した金80%、錫20%からなる第1の共晶ハンダを用い、フリップチップ型の発光ダイオードの電極とサブマウント上の配線端子(電極)との接合強度を試験試料10個について測定したところ、試験試料の平均接合強度は約600gであった。なお、上記接合強度の試験は、1つの発光ダイオードにつき4箇所接合し、1箇所の接合面積は約70μmφとした。
これに対して、接合材料を金線として超音波加熱による従来の金バンプ方式で接合した以外は、上記試験と同様にして接合部の強度を測定したところ、平均接合強度は約300gであり、上記の試験結果と比較して、約1/2の強度であった。
次に、本発明において用いられる第1の共晶ハンダ及び第2の共晶ハンダの実例を以下に挙げる。なお、金属成分の前に付した数字はSnに対するパーセンテージを表す。
第1の共晶ハンダ 溶融温度
Sn−80Au 280℃
第2の共晶ハンダ
Sn−0.75Cu 227℃
Sn−3.5Ag 221℃
Sn−0.7Ag−0.3Cu 217℃〜227℃
Sn−3.5Ag−0.75Cu 217℃〜219℃
Sn−2.5Ag−0.5Cu−1.0Bi 214℃〜221℃
Sn−2.0Ag−0.5Cu−2.0Bi 211℃〜221℃
Sn−2.5Ag−2.5Bi−2.5In 190℃〜210℃
Sn−3.5Ag−3.0Bi−6.0In 165℃〜206℃
Sn−9.0Zn 199℃
Sn−58Bi 139℃
Sn−8.0Zn−3.0Bi 187℃〜199℃
以上、本発明の実施例を詳述したが、本発明は、前記実施例に限定されるものではない。そして、本発明は、特許請求の範囲に記載された事項を逸脱することがなければ、種々の設計変更を行うことが可能である。本発明において用いられるフリップチップ型の発光ダイオード、サブマウント、配線、共晶ハンダ等の材質は、公知又は周知のものを使用することができる。
本発明の発光ダイオード複合素子は、赤色、橙色、黄色、緑色、青色、白色の内の一色又は複数色のフリップチップ型の発光ダイオードが搭載され、これを印刷配線基板の上に所望の形状に配置することができる。本発明の用途は、印刷配線基板の上にマトリクス状、その他の形状に配置することで、表示装置、掲示板、広告装置、信号装置等に使用できる。また、前記各色を予め適当に配置することで、制御回路からの信号によりいろいろな文字、画像、あるいは模様等にして表示することができる。
本発明の実施例を示し、発光ダイオード複合素子の基本構造を示す概略縦断面図である。 本発明の実施例を示し、発光ダイオード複合素子に用いられる架台の平面図である。 本発明の実施例を示し、発光ダイオードが搭載されたサブマウントの平面図である。
符号の説明
1・・・発光ダイオード複合素子
21ないし23・・・赤色、緑色、青色のフリップチップ型の発光ダイオード
3・・・サブマウント
4・・・架台
5・・・発光反射筒
6・・・発光ダイオード封止体
7・・・ヒートシンク
811ないし813・・・サブマウント上の配線
821ないし823・・・架台上の配線

Claims (5)

  1. 上面に上中下3段に並列する3対の配線が形成され、フリップチップ型の発光ダイオードの各電極が金80%、錫20%からなる第1の共晶ハンダを介して前記3対の配線に接続されており、中段に位置する1対の配線に前記発光ダイオードが1つ接続され、上下2段に位置する各1対の配線に前記発光ダイオードがそれぞれ各2つずつ直列に接続されているサブマウントと、
    上面側中心部に前記サブマウントが収納される空所が設けられるとともに両側に各3つの上下貫通孔が設けられ、前記空所の端縁から上面と各上下貫通孔の内面を経由して下面まで連通する配線が3対形成された架台と、
    前記架台上に前記サブマウントに搭載された前記発光ダイオードを取り囲むように形成される発光反射筒と、
    前記発光反射筒の内側に透明樹脂を充填して形成される発光ダイオード封止体とから構成され、
    前記架台の上面に形成された各配線の前記空所側端子が、導電性熱硬化性接着剤又は融点が120〜230℃の範囲にある第2の共晶ハンダを介して、前記サブマウント上に形成された各配線の前記サブマウント周縁側端子にそれぞれ接続されていることを特徴とする発光ダイオード複合素子。
  2. 前記中段に位置する1対の配線に接続される前記発光ダイオードの発光色が赤色であり、前記上下2段に位置する各1対の配線に接続される前記発光ダイオードの発光色のいずれか一方が緑色であり、他方が青色であることを特徴とする請求項1に記載された発光ダイオード複合素子。
  3. 前記発光ダイオードが制御回路によって点滅制御されることを特徴とする請求項1又は請求項2に記載された発光ダイオード複合素子。
  4. 前記発光ダイオードの電極に印加する電圧を変えることにより、全体の色調を特定色に調整することを特徴とする請求項1から請求項3のいずれか1項に記載された発光ダイオード複合素子。
  5. 前記発光ダイオードが発光色の同じ1種類からなることを特徴とする請求項1に記載された発光ダイオード複合素子。
JP2005189733A 2005-06-29 2005-06-29 発光ダイオード複合素子 Expired - Fee Related JP4679268B2 (ja)

Priority Applications (1)

Application Number Priority Date Filing Date Title
JP2005189733A JP4679268B2 (ja) 2005-06-29 2005-06-29 発光ダイオード複合素子

Applications Claiming Priority (1)

Application Number Priority Date Filing Date Title
JP2005189733A JP4679268B2 (ja) 2005-06-29 2005-06-29 発光ダイオード複合素子

Publications (2)

Publication Number Publication Date
JP2007012765A JP2007012765A (ja) 2007-01-18
JP4679268B2 true JP4679268B2 (ja) 2011-04-27

Family

ID=37750910

Family Applications (1)

Application Number Title Priority Date Filing Date
JP2005189733A Expired - Fee Related JP4679268B2 (ja) 2005-06-29 2005-06-29 発光ダイオード複合素子

Country Status (1)

Country Link
JP (1) JP4679268B2 (ja)

Families Citing this family (4)

* Cited by examiner, † Cited by third party
Publication number Priority date Publication date Assignee Title
US7893445B2 (en) * 2009-11-09 2011-02-22 Cree, Inc. Solid state emitter package including red and blue emitters
WO2016100662A1 (en) * 2014-12-19 2016-06-23 Glo Ab Light emitting diode array on a backplane and method of making thereof
JP7231809B2 (ja) * 2018-06-05 2023-03-02 日亜化学工業株式会社 発光装置
JP7508332B2 (ja) * 2020-10-13 2024-07-01 シチズン電子株式会社 Led発光装置

Family Cites Families (4)

* Cited by examiner, † Cited by third party
Publication number Priority date Publication date Assignee Title
JP3428440B2 (ja) * 1998-06-19 2003-07-22 松下電器産業株式会社 半導体発光装置及びこれを備えた表示装置構造
JP2000068583A (ja) * 1998-08-18 2000-03-03 Mitsubishi Electric Corp 半導体レーザ装置
TWI246780B (en) * 2003-03-10 2006-01-01 Toyoda Gosei Kk Solid-state component device and manufacturing method thereof
JP4238693B2 (ja) * 2003-10-17 2009-03-18 豊田合成株式会社 光デバイス

Also Published As

Publication number Publication date
JP2007012765A (ja) 2007-01-18

Similar Documents

Publication Publication Date Title
US10490722B2 (en) Light emitting package having a guiding member guiding an optical member
US9961770B2 (en) Solder pads, methods, and systems for circuitry components
US6940704B2 (en) Semiconductor light emitting device
JP2019062199A (ja) 発光素子のマトリックスを組み立てるためのギャングボンディングプロセス
US20110024785A1 (en) Light Emitting Diode Device
JP2001036154A (ja) チップ部品型発光素子とその製造方法
JP6332290B2 (ja) 発光装置
JP2006019319A (ja) 発光ダイオード組立体および発光ダイオード組立体の製造方法
JP4679268B2 (ja) 発光ダイオード複合素子
JP2004253711A (ja) 発光素子収納用パッケージおよび発光装置
JP4679267B2 (ja) 発光ダイオード複合素子
JP4632427B2 (ja) 発光ダイオード組立体の組立方法および発光ダイオード組立体
JP2022103030A (ja) 発光モジュール及び発光モジュールの製造方法
JP4632426B2 (ja) 発光ダイオード組立体の組立方法および発光ダイオード組立体
US10522730B2 (en) LED lighting apparatus
JP3221345B2 (ja) 半導体装置
JP2007329370A (ja) 発光装置および発光装置の製造方法
JP2006039122A (ja) 液晶表示パネル用バックライト
JP2006019318A (ja) 発光ダイオード組立構造、発光ダイオード組立構造の製造方法、および発光ダイオード組立体
JP2007329369A (ja) 発光装置および発光装置の製造方法
JPH10242529A (ja) 半導体装置

Legal Events

Date Code Title Description
A621 Written request for application examination

Free format text: JAPANESE INTERMEDIATE CODE: A621

Effective date: 20080623

A977 Report on retrieval

Free format text: JAPANESE INTERMEDIATE CODE: A971007

Effective date: 20110124

TRDD Decision of grant or rejection written
A01 Written decision to grant a patent or to grant a registration (utility model)

Free format text: JAPANESE INTERMEDIATE CODE: A01

Effective date: 20110131

A01 Written decision to grant a patent or to grant a registration (utility model)

Free format text: JAPANESE INTERMEDIATE CODE: A01

A61 First payment of annual fees (during grant procedure)

Free format text: JAPANESE INTERMEDIATE CODE: A61

Effective date: 20110201

R150 Certificate of patent or registration of utility model

Free format text: JAPANESE INTERMEDIATE CODE: R150

FPAY Renewal fee payment (event date is renewal date of database)

Free format text: PAYMENT UNTIL: 20140210

Year of fee payment: 3

LAPS Cancellation because of no payment of annual fees