JP4654726B2 - 密封装置付き転がり軸受 - Google Patents

密封装置付き転がり軸受 Download PDF

Info

Publication number
JP4654726B2
JP4654726B2 JP2005088775A JP2005088775A JP4654726B2 JP 4654726 B2 JP4654726 B2 JP 4654726B2 JP 2005088775 A JP2005088775 A JP 2005088775A JP 2005088775 A JP2005088775 A JP 2005088775A JP 4654726 B2 JP4654726 B2 JP 4654726B2
Authority
JP
Japan
Prior art keywords
slinger
ring
inner ring
rolling bearing
seal
Prior art date
Legal status (The legal status is an assumption and is not a legal conclusion. Google has not performed a legal analysis and makes no representation as to the accuracy of the status listed.)
Expired - Fee Related
Application number
JP2005088775A
Other languages
English (en)
Other versions
JP2006266451A (ja
Inventor
洋平 柏倉
Current Assignee (The listed assignees may be inaccurate. Google has not performed a legal analysis and makes no representation or warranty as to the accuracy of the list.)
NSK Ltd
Original Assignee
NSK Ltd
Priority date (The priority date is an assumption and is not a legal conclusion. Google has not performed a legal analysis and makes no representation as to the accuracy of the date listed.)
Filing date
Publication date
Application filed by NSK Ltd filed Critical NSK Ltd
Priority to JP2005088775A priority Critical patent/JP4654726B2/ja
Publication of JP2006266451A publication Critical patent/JP2006266451A/ja
Application granted granted Critical
Publication of JP4654726B2 publication Critical patent/JP4654726B2/ja
Anticipated expiration legal-status Critical
Expired - Fee Related legal-status Critical Current

Links

Images

Classifications

    • FMECHANICAL ENGINEERING; LIGHTING; HEATING; WEAPONS; BLASTING
    • F16ENGINEERING ELEMENTS AND UNITS; GENERAL MEASURES FOR PRODUCING AND MAINTAINING EFFECTIVE FUNCTIONING OF MACHINES OR INSTALLATIONS; THERMAL INSULATION IN GENERAL
    • F16CSHAFTS; FLEXIBLE SHAFTS; ELEMENTS OR CRANKSHAFT MECHANISMS; ROTARY BODIES OTHER THAN GEARING ELEMENTS; BEARINGS
    • F16C33/00Parts of bearings; Special methods for making bearings or parts thereof
    • F16C33/72Sealings
    • F16C33/76Sealings of ball or roller bearings
    • F16C33/78Sealings of ball or roller bearings with a diaphragm, disc, or ring, with or without resilient members
    • F16C33/784Sealings of ball or roller bearings with a diaphragm, disc, or ring, with or without resilient members mounted to a groove in the inner surface of the outer race and extending toward the inner race
    • F16C33/7859Sealings of ball or roller bearings with a diaphragm, disc, or ring, with or without resilient members mounted to a groove in the inner surface of the outer race and extending toward the inner race with a further sealing element
    • F16C33/7863Sealings of ball or roller bearings with a diaphragm, disc, or ring, with or without resilient members mounted to a groove in the inner surface of the outer race and extending toward the inner race with a further sealing element mounted to the inner race, e.g. a flinger to use centrifugal effect
    • FMECHANICAL ENGINEERING; LIGHTING; HEATING; WEAPONS; BLASTING
    • F16ENGINEERING ELEMENTS AND UNITS; GENERAL MEASURES FOR PRODUCING AND MAINTAINING EFFECTIVE FUNCTIONING OF MACHINES OR INSTALLATIONS; THERMAL INSULATION IN GENERAL
    • F16CSHAFTS; FLEXIBLE SHAFTS; ELEMENTS OR CRANKSHAFT MECHANISMS; ROTARY BODIES OTHER THAN GEARING ELEMENTS; BEARINGS
    • F16C33/00Parts of bearings; Special methods for making bearings or parts thereof
    • F16C33/72Sealings
    • F16C33/76Sealings of ball or roller bearings
    • F16C33/80Labyrinth sealings
    • F16C33/805Labyrinth sealings in addition to other sealings, e.g. dirt guards to protect sealings with sealing lips
    • FMECHANICAL ENGINEERING; LIGHTING; HEATING; WEAPONS; BLASTING
    • F16ENGINEERING ELEMENTS AND UNITS; GENERAL MEASURES FOR PRODUCING AND MAINTAINING EFFECTIVE FUNCTIONING OF MACHINES OR INSTALLATIONS; THERMAL INSULATION IN GENERAL
    • F16CSHAFTS; FLEXIBLE SHAFTS; ELEMENTS OR CRANKSHAFT MECHANISMS; ROTARY BODIES OTHER THAN GEARING ELEMENTS; BEARINGS
    • F16C19/00Bearings with rolling contact, for exclusively rotary movement
    • F16C19/02Bearings with rolling contact, for exclusively rotary movement with bearing balls essentially of the same size in one or more circular rows
    • F16C19/04Bearings with rolling contact, for exclusively rotary movement with bearing balls essentially of the same size in one or more circular rows for radial load mainly
    • F16C19/06Bearings with rolling contact, for exclusively rotary movement with bearing balls essentially of the same size in one or more circular rows for radial load mainly with a single row or balls
    • FMECHANICAL ENGINEERING; LIGHTING; HEATING; WEAPONS; BLASTING
    • F16ENGINEERING ELEMENTS AND UNITS; GENERAL MEASURES FOR PRODUCING AND MAINTAINING EFFECTIVE FUNCTIONING OF MACHINES OR INSTALLATIONS; THERMAL INSULATION IN GENERAL
    • F16CSHAFTS; FLEXIBLE SHAFTS; ELEMENTS OR CRANKSHAFT MECHANISMS; ROTARY BODIES OTHER THAN GEARING ELEMENTS; BEARINGS
    • F16C2361/00Apparatus or articles in engineering in general
    • F16C2361/61Toothed gear systems, e.g. support of pinion shafts

Landscapes

  • Engineering & Computer Science (AREA)
  • General Engineering & Computer Science (AREA)
  • Mechanical Engineering (AREA)
  • Sealing Of Bearings (AREA)
  • Rolling Contact Bearings (AREA)

Description

本発明は、例えば、歯車変速機等に組み込まれる転がり軸受に関し、特に防塵性および低トルク特性が要求される転がり軸受に関する。
歯車変速機には、複数本の回転軸や多くの歯車が組み込まれており、これらの回転軸や歯車は玉軸受や円筒ころ軸受等の転がり軸受によりハウジングや支持軸に対し回転自在に支持されている。
ところで、一般的に、歯車変速機に使用される転がり軸受には軸受空間を密封しない開放型が使用されるが、このような変速機の内部には、運転時に歯車のかみ合い部分で発生する摩耗粉等の異物が多く存在しているため、このような異物が転がり軸受内に浸入すると、この異物により転がり軸受の転がり接触面に圧痕が形成され、この圧痕によりこの転がり接触面が疲労、剥離(フレーキング)して破損する可能性がある。
そこで、従来においては、このような破損を防止するために、外輪の両端部内周面に接触型の密封板を装着した密封板付転がり軸受(例えば、特許文献1参照)や、転がり軸受の密封性をより向上させるため、外輪の両端部内周部に接触型のシールリングを装着すると共に、密封装置の軸方向の外側に該密封装置を覆う円環状のスリンガを所定のすき間を存して対向配置したシールリング付転がり軸受が提案されている(例えば特許文献2参照)。
この特許文献2のシールリング付転がり軸受100は、図6に示すように、外輪102の外輪軌道面107と内輪103の内輪軌道面108との間に転動体としての複数の玉104が保持器105を介して周方向に転動可能に配設されており、外輪102の軸方向の両端部内周部にはそれぞれ接触型のシールリング106,106が装着されている。シールリング106,106は、円環板状の芯金112とエラストマー等の弾性材113とを一体に成形することによって全体が円環板状に形成され、弾性材113の外周縁部を外輪102の軸方向の両端部内周面に形成される嵌合溝109に嵌合させることで固定されている。
また、シールリング106,106の軸方向の外側には、該シールリング106,106を覆うスリンガ115,115が配置されている。このスリンガ115は、内輪103の外周端部に嵌合される円筒部117と、円筒部117の軸方向外側の端部から径方向外方に延びる円輪部116とを備える。この円輪部116は、シールリング106の軸方向の外側に所定のすき間を存して対向配置され、その外周縁部を外輪102の端部内周面に近接させている。これにより、円輪部116の外周縁部と外輪102の端部内周面との間に環状のラビリンス隙間119が形成される。また、円筒部117の外周面にはシールリング116の弾性材113の内周部に設けられるシールリップ111が接触する。
このように構成されたシールリング付転がり軸受100においては、スリンガ115の円輪部116によって、歯車で巻き上げられて転がり軸受100に降りかかる金属粉等の異物が、シールリング106のシールリップ111とスリンガ115の円筒部117との摺接部に直接かかることを防止でき、さらに、軸受使用時には、内輪103と共にスリンガ115が回転するので、スリンガ115に付着した異物が遠心力により振り飛ばされて、スリンガ115とシールリング106との間に異物が入り込むのを防止できる。この結果、シールリング106のシールリップ111とスリンガ115の円筒部117との摺接部に浸入する異物の量を抑制するので、軸受空間内への異物の浸入を長時間に亘って有効に防止できる。
特開2002−327761号公報 特開2000−18260号公報
しかしながら、上記特許文献1及び特許文献2においては、軸受内部の密封性を高めるために接触型の密封板又はシールリングを使用しているため、シールリップと内輪(円筒部)の外周面との接触による摩擦が軸受トルクを増大させ、結果として、歯車変速機のエネルギー効率が低下するという問題がある。
本発明はこのような問題を改善するためになされたものであり、その目的は、軸受内部の密封性を維持しつつ、シールトルクを排除することにより、軸受トルクの増大を回避できる密封装置付き転がり軸受を提供することにある。
本発明の上記目的は、下記の構成によって達成される。
(1) 内周面に外輪軌道面を有する、固定輪である外輪と、外周面に内輪軌道面を有するとともに前記外周面の軸方向両端部に周溝が形成される、回転輪である内輪と、前記外輪軌道面と前記内輪軌道面との間に転動自在に設けられる複数の転動体と、円環板状の芯金及び前記芯金に被覆される弾性材を有して円環板状に形成され、前記外輪の軸方向両端部に取り付けられるシール部材と、を備えて、歯車変速機に使用される密封装置付き転がり軸受であって、前記シール部材の前記弾性材の内周縁部には、前記内輪の前記外周面に向かって延び且つ前記周溝に非接触の状態で挿入されるシールリップが設けられるとともに、前記シール部材の軸方向の外側に前記シール部材を覆う円環板状のスリンガ所定の間隙を存して対向配置されて、前記スリンガと前記周溝と前記シール部材と、の間にラビリンスシールが形成され、且つ前記スリンガは前記内輪に取り付けられて前記内輪と一体的に回転するとともに、前記スリンガの外周縁部は前記外輪の前記内周面に近接しており、前記外周縁部の軸方向の対向面に、前記シール部材に摺接し、前記内輪が高速に回転する際に所定の遠心力により径方向外方に開いて前記シール部材との摺接を解除する弾性リップが少なくとも一つ設けられることを特徴とする密封装置付き転がり軸受。
本発明の密封装置付き転がり軸受によれば、シール部材を非接触型としているので、軸受トルクの増大を回避できる。さらに、シール部材の軸方向の外側にシール部材を覆うスリンガを所定の間隙を存して対向配置し、且つスリンガを内輪に設けるので、シール部材とスリンガと内輪との間にラビリンスシールを形成して、軸受内部の密封性を良好に維持できると共に、防塵性を向上できる。
また、本発明の密封装置付き転がり軸受によれば、スリンガの軸方向の対向面に、シール部材に摺接し、所定の遠心力により径方向外方に開いてシール部材との摺接を解除する弾性リップを少なくとも一つ設けるので、転がり軸受が停止及び低速回転する場合、弾性リップがシール部材に摺接するため、外部の塵や摩耗粉等が軸受内部に浸入することを防止でき、軸受寿命を向上できる。また、転がり軸受が高速回転する場合、所定の遠心力により弾性リップが径方向外方に開いてシール部材との摺接を解除するため、弾性リップとシール部材との摩擦による軸受トルクの増大を回避できる。
さらに、本発明の密封装置付き転がり軸受によれば、スリンガは内輪と一体的に回転するので、シール部材とスリンガとの間に異物が浸入しようとしても、スリンガ自体の遠心力により異物が軸受外部に飛ばされるため、外部の塵や摩耗粉等が軸受内部に浸入することを防止できる。
以下、本発明に係る密封装置付き転がり軸受の実施形態について、図面を参照して詳細に説明する。
図1は本発明に係る密封装置付き転がり軸受の第1実施形態を説明するための拡大断面図、図2は弾性リップの動作を説明するための要部拡大断面図、図3は本発明に係る密封装置付き転がり軸受の第2実施形態を説明するための拡大断面図、図4は本発明に係る密封装置付き転がり軸受の第3実施形態を説明するための拡大断面図、図5は本発明に係る密封装置付き転がり軸受の変形例を説明するための拡大断面図である。
(第1実施形態)
まず、図1及び図2を参照して、本発明の第1実施形態である密封装置付き転がり軸受10について説明する。
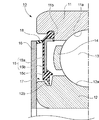
本発明の第1実施形態である密封装置付き転がり軸受10は、図1に示すように、内周面に外輪軌道面11aを有し、固定輪である外輪11と、外周面に内輪軌道面12aを有し、回転輪である内輪12と、外輪軌道面11aと内輪軌道面12aとの間に転動自在に設けられる複数の玉(転動体)13と、玉13を円周方向に等間隔に保持する保持器14と、外輪11の軸方向両端部に取り付けられる一対のシール部材15,15と、から構成される。
シール部材15は、一枚の円環板状体を所要の形状に加工してなる芯金15aに、ゴムやエラストマー等の弾性材15bを被覆して成形され、全体が円環板状に形成されている。このシール部材15は、弾性材15bの外周縁部を、外輪11の内周面の軸方向両端部に形成される係止溝11bに嵌合することによって、外輪11の内周面両端部に支持固定される。一方、弾性材15bの内周縁部には、内輪12の外周面に向かって延びるシールリップ15cが形成され、このシールリップ15cは、内輪12の外周面の軸方向両端部に形成される周溝12bに非接触で挿入される。
また、シール部材15の軸方向外側には、シール部材15を覆うように円環板状のスリンガ16が配置される。このスリンガ16は、ステンレス鋼板、亜鉛メッキ鋼板等の金属板からなり、内輪12の軸方向両端面にそれぞれ取り付けられ、内輪12と一体的に回転する。また、スリンガ16は、その外周縁部を外輪11の内周面に近接させると共に、側面をシール部材15に所定の間隙を存して対向配置させている。これにより、このスリンガ16と、内輪12の周溝12bと、シール部材15と、の間にラビリンスシール17を形成する。
そして、スリンガ16の軸方向の対向面には、シール部材15の軸方向外側面に向かって延びる弾性リップ18が全周に亘って設けられている。この弾性リップ18は、ゴムやエラストマー等の弾性を有する素材からなるもので、シール部材15の軸方向外側面に摺接するように配置される。また、弾性リップ18は、内輪が高速回転する際に、所定の遠心力により弾性リップ18が径方向外方に開いてシール部材15との摺接を解除するように構成されている(図2参照)。
従って、本実施形態の密封装置付き転がり軸受10によれば、シール部材15を非接触型としているので、接触型のシール部材を使用する場合と比較して、軸受トルクの増大を回避できる。さらに、シール部材15の軸方向の外側にシール部材15を覆うスリンガ16を所定の間隙を存して対向配置するので、シール部材15とスリンガ16と内輪12との間にラビリンスシール17を形成して、軸受内部の密封性を良好に維持できると共に、防塵性を向上できる。
また、密封装置付き転がり軸受10によれば、スリンガ16の軸方向の対向面に、シール部材15の軸方向外側面に摺接し、所定の遠心力により径方向外方に開いてシール部材15との摺接を解除する弾性リップ18を設けるので、転がり軸受が停止及び低速回転する場合、弾性リップ18がシール部材15に摺接するため、外部の塵や摩耗粉等が軸受内部に浸入することを防止でき、軸受寿命を向上できる。また、転がり軸受が高速回転する場合、所定の遠心力により弾性リップ18が径方向外方に開いてシール部材15との摺接を解除するため、弾性リップ18とシール部材15との摩擦による軸受トルクの増大を回避できる。
さらに、密封装置付き転がり軸受10によれば、スリンガ16は内輪22と一体的に回転するので、シール部材15とスリンガ16との間に異物が浸入しようとしても、スリンガ16自体の遠心力により異物が軸受外部に飛ばされるため、外部の塵や摩耗粉等が軸受内部に浸入することを防止できる。
(第2実施形態)
次に、図3を参照して、本発明の第2実施形態である密封装置付き転がり軸受20について説明する。なお、第1実施形態と重複する部分については、図に同一符号を付してその説明を省略あるいは簡略化する。
本発明の第2実施形態である密封装置付き転がり軸受20は、図3に示すように、シール部材15とスリンガ16とのそれぞれの対向面に少なくとも一つの突起21を周方向に亘って設けている(図ではシール部材15及びスリンガ16にそれぞれ4つの突起21を径方向に交互に設けている。)。なお、突起21は、シール部材15及びスリンガ16の両方に設ける方が好ましいが、どちらか一方に設けてもよい。
従って、本実施形態の密封装置付き転がり軸受20によれば、シール部材15とスリンガ16と内輪12との間に形成されるラビリンスシール17の構造を複雑にすることができるので、特に、高速回転時において、弾性リップ18が開いているときの軸受内部の密封性を更に向上できる。
その他の構成及び作用効果は上記第1実施形態と同様である。
(第3実施形態)
次に、図4を参照して、本発明の第3実施形態である密封装置付き転がり軸受30について説明する。なお、第1実施形態と重複する部分については、図に同一符号を付してその説明を省略あるいは簡略化する。
本発明の第3実施形態である密封装置付き転がり軸受30は、図4に示すように、上記第1実施形態の内輪12の代わりに、内輪12よりも軸方向の幅が狭い内輪32を使用するもので、スリンガ16の軸方向の外側面と外輪11の軸方向の外側面とを略面一になるように構成している。
従って、本実施形態の密封装置付き転がり軸受30によれば、スリンガ16を転がり軸受から軸方向に突出させないので、転がり軸受を薄型化することができる。これにより、軸受周辺の構造を大幅に変更する必要がなく、内輪及び外輪の幅方向の形状を変更するだけでよいので、大幅なコストダウンを図ることができる。
また、密封装置付き転がり軸受30によれば、スリンガ16の軸方向の外側面と外輪11の軸方向の外側面とが略面一になるので、シール部材15とスリンガ16と内輪12との間に形成されるラビリンスシール17の構造を、スリンガ16の外周縁部と外輪11の内周面との間において複雑にすることができるので、ラビリンス効果を向上でき、軸受内部の密封性を更に向上できる。
その他の構成及び作用効果は上記第1実施形態と同様である。
なお、本発明は上記各実施形態に限定されるものではなく、本発明の要旨を逸脱しない範囲において適宜変更可能である。
例えば、上記各実施形態では、スリンガ16を内輪12に取り付けた場合を例示したが、これに限定されず、スリンガ16を外輪11或いは外輪11及び内輪12の両方に取り付けてもよい。
また、スリンガ16は、図5に示すように、内輪12の外周面の軸方向両端部に形成される加締め溝12cに加締められることにより、内輪12に取り付けられてもよい。なお、外輪11にもスリンガ16を取り付ける場合は、外輪11の内周面の軸方向両端部に加締め溝を形成する。
また、スリンガ16は、回転軸に嵌合されることにより、内輪12に取り付けられてもよい。
また、シール部材15は非接触型のものであれば、その材質は特に限定されず、例えば、ゴム製、金属製、プラスチック製等を使用してもよい。
さらに、上記各実施形態では、スリンガ16の材質にステンレス鋼板、亜鉛メッキ鋼板等の金属板を使用したが、これに限定されず、その他の金属、プラスチック等を使用することができる。
その他、上記各実施形態において例示した外輪、外輪軌道面、内輪、内輪軌道面、保持器、転動体、シール部材、スリンガ、弾性リップ等の材質,形状,寸法,形態,数,配置個所等は本発明を達成できるものであれば任意であり、限定されない。
本発明に係る密封装置付き転がり軸受の第1実施形態を説明するための拡大断面図である。 弾性リップの動作を説明するための要部拡大断面図である。 本発明に係る密封装置付き転がり軸受の第2実施形態を説明するための拡大断面図である。 本発明に係る密封装置付き転がり軸受の第3実施形態を説明するための拡大断面図である。 本発明に係る密封装置付き転がり軸受の変形例を説明するための拡大断面図である。 従来の密封装置付き転がり軸受の一例を示す図である。
符号の説明
10,20,30 密封装置付き転がり軸受
11 外輪
11a 外輪軌道面
11b 係止溝
12,32 内輪
12a 内輪軌道面
12b 周溝
13 玉(転動体)
14 保持器
15 シール部材
15a 芯金
15b 弾性材
15c シールリップ
16 スリンガ
17 ラビリンスシール
18 弾性リップ
21 突起

Claims (1)

  1. 内周面に外輪軌道面を有する、固定輪である外輪と、外周面に内輪軌道面を有するとともに前記外周面の軸方向両端部に周溝が形成される、回転輪である内輪と、前記外輪軌道面と前記内輪軌道面との間に転動自在に設けられる複数の転動体と、円環板状の芯金及び前記芯金に被覆される弾性材を有して円環板状に形成され、前記外輪の軸方向両端部に取り付けられるシール部材と、を備えて、歯車変速機に使用される密封装置付き転がり軸受であって、
    前記シール部材の前記弾性材の内周縁部には、前記内輪の前記外周面に向かって延び且つ前記周溝に非接触の状態で挿入されるシールリップが設けられるとともに、
    前記シール部材の軸方向の外側に前記シール部材を覆う円環板状のスリンガ所定の間隙を存して対向配置されて、前記スリンガと前記周溝と前記シール部材と、の間にラビリンスシールが形成され、且つ
    前記スリンガは前記内輪に取り付けられて前記内輪と一体的に回転するとともに、前記スリンガの外周縁部は前記外輪の前記内周面に近接しており、
    前記外周縁部の軸方向の対向面に、前記シール部材に摺接し、前記内輪が高速に回転する際に所定の遠心力により径方向外方に開いて前記シール部材との摺接を解除する弾性リップが少なくとも一つ設けられることを特徴とする密封装置付き転がり軸受。
JP2005088775A 2005-03-25 2005-03-25 密封装置付き転がり軸受 Expired - Fee Related JP4654726B2 (ja)

Priority Applications (1)

Application Number Priority Date Filing Date Title
JP2005088775A JP4654726B2 (ja) 2005-03-25 2005-03-25 密封装置付き転がり軸受

Applications Claiming Priority (1)

Application Number Priority Date Filing Date Title
JP2005088775A JP4654726B2 (ja) 2005-03-25 2005-03-25 密封装置付き転がり軸受

Publications (2)

Publication Number Publication Date
JP2006266451A JP2006266451A (ja) 2006-10-05
JP4654726B2 true JP4654726B2 (ja) 2011-03-23

Family

ID=37202641

Family Applications (1)

Application Number Title Priority Date Filing Date
JP2005088775A Expired - Fee Related JP4654726B2 (ja) 2005-03-25 2005-03-25 密封装置付き転がり軸受

Country Status (1)

Country Link
JP (1) JP4654726B2 (ja)

Families Citing this family (14)

* Cited by examiner, † Cited by third party
Publication number Priority date Publication date Assignee Title
JP2009144841A (ja) * 2007-12-14 2009-07-02 Jtekt Corp オイルミスト潤滑型軸受装置
JP4953022B2 (ja) * 2008-03-07 2012-06-13 株式会社ジェイテクト 軸受用密封装置
JP4953023B2 (ja) * 2008-03-07 2012-06-13 株式会社ジェイテクト 軸受用密封装置
US8585296B2 (en) 2008-05-27 2013-11-19 Jtekt Corporation Rolling bearing sealing device
JP2009287596A (ja) * 2008-05-27 2009-12-10 Jtekt Corp 転がり軸受用密封装置
US8061901B2 (en) * 2008-08-22 2011-11-22 Baldor Electric Company Extension member for a flinger of a bearing
DE102009033350A1 (de) * 2009-07-16 2011-01-20 Schaeffler Technologies Gmbh & Co. Kg Dichtung mit kombinierter Dichtscheibe für eine Bandspannrolle
JP5790109B2 (ja) * 2011-04-13 2015-10-07 株式会社ジェイテクト 転がり軸受装置
JP2015161366A (ja) 2014-02-27 2015-09-07 日本精工株式会社 シール付き転がり軸受
EP2995829B1 (en) 2014-09-12 2017-09-13 Aktiebolaget SKF Sealing device for a rolling bearing
FR3029994B1 (fr) * 2014-12-15 2017-06-09 Skf Ab Palier a roulement comprenant un flasque d'etancheite
CN110966309A (zh) * 2018-09-28 2020-04-07 皮尔轴承公司 轴承密封件及其应用
JP7449136B2 (ja) * 2020-03-24 2024-03-13 Ntn株式会社 シール付き転がり軸受
JP2024055401A (ja) * 2022-10-07 2024-04-18 三菱重工業株式会社 潤滑剤シール装置、及び回転機械

Family Cites Families (3)

* Cited by examiner, † Cited by third party
Publication number Priority date Publication date Assignee Title
JP2001304278A (ja) * 1999-10-08 2001-10-31 Nsk Ltd 密封形軸受装置
IT1320472B1 (it) * 2000-06-30 2003-11-26 Skf Ind Spa Cuscinetto a rotolamento per un motore elettrico.
JP2002339999A (ja) * 2001-05-17 2002-11-27 Koyo Seiko Co Ltd 転がり軸受

Also Published As

Publication number Publication date
JP2006266451A (ja) 2006-10-05

Similar Documents

Publication Publication Date Title
JP4654726B2 (ja) 密封装置付き転がり軸受
JP6050080B2 (ja) 密封型転がり軸受
EP2351940B1 (en) Bearing with seal
JPH10252762A (ja) 転がり軸受用密封装置
US6921083B2 (en) Sealing apparatus and a rolling bearing and a clutch apparatus provided therewith
JP7296725B2 (ja) 密封装置
JP6532651B2 (ja) シールリング付転がり軸受
JP2006336734A (ja) 密封装置付き転がり軸受
CN106402164B (zh) 滚动轴承单元
EP1956258B1 (en) Sealing apparatus and bearing apparatus having the same
JP6755156B2 (ja) プーリユニット用シール付き転がり軸受
JP4115419B2 (ja) シール装置
JP6504060B2 (ja) クリーナ用単列玉軸受
JP4719977B2 (ja) 転がり軸受用密封装置とその搬送方法並びに組み付け方法
JP2008151174A (ja) 密封装置
JP2015212567A (ja) 転がり軸受
JP7367321B2 (ja) 転がり軸受
JP2008175301A (ja) シール装置付き転がり軸受
JP2008175312A (ja) シール付き転がり軸受
JP2010043693A (ja) 転がり軸受
JP7306136B2 (ja) 深溝玉軸受
JP6064783B2 (ja) 転がり軸受
JP5581719B2 (ja) スラストころ軸受
JP2007247695A (ja) 転がり軸受
JP2007192258A (ja) シール付き転がり軸受

Legal Events

Date Code Title Description
RD04 Notification of resignation of power of attorney

Free format text: JAPANESE INTERMEDIATE CODE: A7424

Effective date: 20071128

A621 Written request for application examination

Free format text: JAPANESE INTERMEDIATE CODE: A621

Effective date: 20080324

A977 Report on retrieval

Free format text: JAPANESE INTERMEDIATE CODE: A971007

Effective date: 20100714

A131 Notification of reasons for refusal

Free format text: JAPANESE INTERMEDIATE CODE: A131

Effective date: 20100727

A521 Request for written amendment filed

Free format text: JAPANESE INTERMEDIATE CODE: A523

Effective date: 20100924

TRDD Decision of grant or rejection written
A01 Written decision to grant a patent or to grant a registration (utility model)

Free format text: JAPANESE INTERMEDIATE CODE: A01

Effective date: 20101124

A01 Written decision to grant a patent or to grant a registration (utility model)

Free format text: JAPANESE INTERMEDIATE CODE: A01

A61 First payment of annual fees (during grant procedure)

Free format text: JAPANESE INTERMEDIATE CODE: A61

Effective date: 20101207

FPAY Renewal fee payment (event date is renewal date of database)

Free format text: PAYMENT UNTIL: 20140107

Year of fee payment: 3

R150 Certificate of patent or registration of utility model

Ref document number: 4654726

Country of ref document: JP

Free format text: JAPANESE INTERMEDIATE CODE: R150

Free format text: JAPANESE INTERMEDIATE CODE: R150

LAPS Cancellation because of no payment of annual fees