JP4649552B2 - 釣糸係止具 - Google Patents

釣糸係止具 Download PDF

Info

Publication number
JP4649552B2
JP4649552B2 JP2005120296A JP2005120296A JP4649552B2 JP 4649552 B2 JP4649552 B2 JP 4649552B2 JP 2005120296 A JP2005120296 A JP 2005120296A JP 2005120296 A JP2005120296 A JP 2005120296A JP 4649552 B2 JP4649552 B2 JP 4649552B2
Authority
JP
Japan
Prior art keywords
fishing line
locking
sphere
tip
binding
Prior art date
Legal status (The legal status is an assumption and is not a legal conclusion. Google has not performed a legal analysis and makes no representation as to the accuracy of the status listed.)
Expired - Fee Related
Application number
JP2005120296A
Other languages
English (en)
Other versions
JP2006262881A (ja
JP2006262881A5 (ja
Inventor
啓樹 大暮
Current Assignee (The listed assignees may be inaccurate. Google has not performed a legal analysis and makes no representation or warranty as to the accuracy of the list.)
Individual
Original Assignee
Individual
Priority date (The priority date is an assumption and is not a legal conclusion. Google has not performed a legal analysis and makes no representation as to the accuracy of the date listed.)
Filing date
Publication date
Application filed by Individual filed Critical Individual
Priority to JP2005120296A priority Critical patent/JP4649552B2/ja
Publication of JP2006262881A publication Critical patent/JP2006262881A/ja
Publication of JP2006262881A5 publication Critical patent/JP2006262881A5/ja
Application granted granted Critical
Publication of JP4649552B2 publication Critical patent/JP4649552B2/ja
Anticipated expiration legal-status Critical
Expired - Fee Related legal-status Critical Current

Links

Images

Landscapes

  • Fishing Rods (AREA)

Description

本発明は、釣竿の先端に備えられ、釣糸を結着する釣糸係止具に関するものである。
うきや釣針,おもり等の付いた仕掛け(以下、単に釣糸と呼ぶ)を直接釣竿の先端に取付けて使用する釣竿には、釣糸を釣竿に係止するための釣糸係止具が備えられている。特開平07−274779号公報、特開平11−276025号公報に示ように、最近の釣糸係止具には、釣糸結ばれた部分を回転させるための回転体が備えられている。これは、釣糸が釣竿に絡みついた状態を解消したり、絡みつくのを防止したりするためのものである。
ところが、特開平11−276025号公報の釣糸係止具では、回転体が釣竿の長手方向のみを回転軸としているため、釣糸係止具に結んで垂れ下がった釣糸の縒れを解消したり、防止したりすることができない。また、特開平07−274779号公報の釣糸係止具では、釣糸係止具に結んだ状態のとき、釣糸と釣竿とのなす角が小さいとき、例えば、釣針を握って餌を釣針に付けているときや、釣り人のすぐ近くに釣糸を垂らして魚を釣っているときには、釣糸んだ部分よりも円筒部を突出させて備えているために、釣糸が円筒部に架かった状態で下方に垂れ下がってしまう。そのため、円筒管が回転体の回転を妨害し、釣糸の縒れを解消したり、釣糸が釣竿に絡みついたりするのを防止できにくくなる。
そこで、さらに、釣糸が釣竿に絡みにくく、絡みついた状態を容易に解消でき、釣糸の縒れを防止することのできる釣糸係止具を提供することを目的とする。
請求項1に記載の第1の発明は、釣糸を係止するために穂先竿の穂先側先端に備えられる、釣糸を係止するための釣糸係止具であって、穂先竿の穂先側先端に装着された本体部と、前記本体部の穂先側端部に突出して取付けられた管状部と、その管状部に回転自在に嵌められて取付けられた球体と、前記球体表面以内に収まるように、前記球体に備えられ、釣糸を前記球体に直接係止するための係止手段とを備えている。
したがって、請求項1に記載の発明によれば、回転部分が球体であるため、球体の回転軸一定とならないで球体は自由に回転する。釣糸が縒れると、球体は縒れを解消するように回転する。また、釣糸が釣竿に絡みついたとき、係止手段に係止された釣糸を軽く引っ張る、または、釣糸の自重により下向きに力が加わると、球体がその力の加わった方向へ回転し、係止手段その方向へ向きを変える。次に、釣竿の長手方向を軸として球体が回転し、釣糸の絡みつきを解消することができる
請求項2に記載の第2の発明は、第1の発明に加え、前記球体の一部が、穂先側先端方向に前記状部から突出て備えられている。
したがって、請求項2に記載の発明によれば、球体の一部が、穂先側先端方向に状部から突出して備えられているため、球体に設けられた係止手段の移動範囲を広げることができる。そのため、係止手段は、釣糸にかかる力の方向に可能な限り傾くことになるその状態で、釣糸が縒れると、球体は縒れを解消するように、係止手段の方向を軸として回転しやすくなる。また、釣糸が釣竿に絡みついたとき、釣糸を張ると、係止手段が釣糸にかかる力の方向に可能な限り傾くため、球体が回転しやすくなり、釣糸の絡みつきをさらに解消することができる
請求項3に記載の第3の発明は、第1または第2の発明に加え、前記係止手段が、前記球体に一端を連結して形成した、釣糸を結び付けるための結着部と、その結着部の他端方向に設けられ、前記結着部に結び付けられた釣糸の移動を制限する係止部と
を備えている。
したがって、請求項3に記載の発明によれば、釣糸を係止手段に係止する場合には、釣糸に投げ縄結びを作り、その輪に係止部を通過させてから結着部に位置させる。そして、釣糸を引っ張ると投げ縄結びの輪が締まり結着部に結び付けられ釣糸係止することができる。このとき、釣糸の結び目が結着部をずれて移動しても係止部が結び目の移動を制限し、釣糸が係止手段から外れるのを防ぐ。次に、釣糸を係止手段から取外す場合には、投げ縄結びの輪を広げ、取付ける場合とは逆の手順で結着部から外す。
請求項4に記載の第4の発明は、第1または第2の発明に加え、前記係止手段が、前記球体の中心を貫通して形成された孔部と、前記状部の側壁に形成された開口部と、前記孔部貫通させた釣糸を前記開口部に導く通路部とを備えている。
したがって、請求項4に記載の発明によれば、釣糸を係止手段に取付ける場合には、孔部に釣糸を貫通させ、通路部を通し、開口部を通過させる。そして、通過した釣糸の先端に結び目を作って逆方向へ引くと、結び目が球体の孔部に引っ掛かって釣糸係止することができる。釣糸を係止手段から取外す場合には、釣糸を孔部へ押し込んで結び目を通路部に通して開口部から出させる。そして、結び目を解く、または露出した釣糸を切断して釣糸を逆方向へ引っ張ると釣糸すことができる。
請求項5に記載の第5の発明は、前記球体に、螺合して着脱可能とする、第2の係止手段をさらに備えていることを特徴とする請求項4に記載の釣糸係止具。
したがって、請求項5に記載の発明によれば、第2の係止手段を螺合して着脱することにより、前記係止手段または第2の係止手段のどちらかを選択して釣糸を係止することができる前記係止手段、または、第2の係止手段には、前述したように釣糸を係止したり取外したりすることが可能となる
請求項6に記載の第6の発明は、第5の発明に加え、前記球体には、螺孔を備え
前記第2の係止手段が、釣糸を結び付けるための結着部と、その結着部に設けられた雄螺子部を備え、その雄螺子部を前記螺孔に着脱自在に螺嵌して取付けられている。
したがって、請求項6に記載の発明によれば、第2の係止手段を用いて釣糸を係止する場合には、結着部に形成された雄螺子部を球体の螺孔に螺嵌して第2の係止手段を取付ける。そして、第2の係止手段の結着部に釣糸を取付ける。ここで、結着部とは、輪部、開口部、または孔部であり、釣糸を結着部に結び付けることのできる全ての形状のことである。前述した係止手段を用いて釣糸を係止する場合には、球体から第2の係止手段を取外して、前述したように係止手段に釣糸を係止する。
第1の発明によると、釣糸係止具に結び付けられた釣糸を張ることにより容易に釣糸の絡み、釣糸の縒れを解消することができる。また、釣竿の使用中でも、釣糸が釣竿に絡むのを防止しするとともに、釣糸の縒れを防止することができる。
第2の発明によると、第1の発明の効果に加え、球体に設けられた係止手段の移動範囲が広がり、釣糸係止具に結び付けられた釣糸を張ると、さらに、容易に釣糸の絡み、釣糸の縒れを解消することができる。また、釣竿の使用中でも、釣糸が釣竿に絡むのを防止しするとともに、釣糸の縒れを防止することができる。
第3または第4の発明によると、第1または第2の発明の効果に加え、釣糸を容易に取付け、取外すことができる。
第5または第6の発明によると、第4の発明の効果に加え、前記係止手段と第2の係止手段とを状況に応じて、または、自分の好みにより使い分けることができる。
(第1実施形態)
以下、本発明を具体化した一実施形態を図1及び図2に従って説明する。
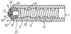
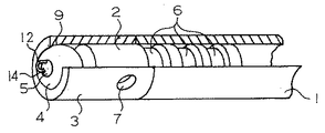
図1に示すように釣竿係止具は、ステンレス、真鍮、アルミニウム等錆びにくい金属でできており、釣竿1の穂先側先端に装着された、本体部としての係止具本体2と、その係止具本体2の穂先側端部に突出して取付けられた、状部としての円筒管3と、その円筒管3に回転自在に嵌められて取付けられた球体4と、その球体4に設けられ、釣糸を係止するための第2の係止手段としての結着具5とを備えている。
係止具本体2は、円柱形状に形成されている。その一方には、3列の溝6が形成され、釣竿1の穂先側先端に装着されて取付けられている。係止具本体2の他方には係止具本体2の穂先側端部に突出するように円筒管3が嵌められて取付けられている。円筒管3の側壁には、開口部としての、円形の開口7が形成されている。ここで、円筒管3の穂先側端部は、丸められたり、ラッパ形状に形成されたりしていてもよい。係止具本体2には、断面が円形であり、係止具本体2の一端から軸方向へ向かい開口7繋がる、通路部としての通路孔8が形成されている。通路孔8は釣糸が通りやすいように緩やかに曲がっている。開口7と、通路孔8の断面形状とは、同じ大きさの円形形状に形成されている。通路孔8、その経路の形状及び開口7は、釣糸が通り易い形状であればどのように形成されていてもよい。
円筒管3の端部内壁周囲には、円筒管3から穂先側先端方向に一部を可能な限り突出させて、球体4を回転自在に嵌めこんで取付けることができるように、湾曲して形成された球体うけ溝9を備えている。その球体うけ溝9に球体4が回転自在に取付けられている。球体4には、その中心を貫通するように、孔部としての係止孔10が形成されている。係止孔10の直径は、取付けられる釣糸の直径より大きく釣糸の結び目の直径より小さい。また、球体4には、前記係止孔10と中心軸を同じくして螺刻された螺孔11が形成されている。螺孔11の位置は、特に係止孔10の位置と同じ位置に形成されていなくてもよい。
結着具5は、U字状に曲折された棒状の結着部12と、その結着部12の一端に設けられ、雄螺子部としての、螺刻された螺子棒13と、その結着部12の他端に形成された球形の係止部14とからなっている。そして、球体4の螺孔11に螺子棒13着脱可能に螺挿されて取付けることができる。結着部12は、棒状に限らず、例えば、細い板状のもので形成されていてもよい。結着部12の形状も直線状に形成されたり、円を描くように曲げられて形成されたり、円を描いた後捩れるように形成されていてもよい。係止部14は、球形に限らず、結び付けられた釣糸の移動を制限することができれば、つまり、結ばれた釣糸が結着部12から外れないようにする形状であれば、どのような形状に形成されてもよい。
次に、上記のように構成された本実施形態の作用及び効果について説明する。
釣糸を結着具5に取付ける場合には、釣糸に投げ縄結びを作り、その輪に係止部14を通過させてから曲折された結着部12に位置させる。そして、釣糸を引っ張ると投げ縄結びの輪が締まり結着部12に結び付けられる。このとき、釣糸の結び目が結着部12をずれて移動しても係止部14が結び目の移動を制限し、釣糸が結着具5から外れない。次に、釣糸を結着具5から取外す場合には、投げ縄結びの輪を広げると、取付ける場合とは逆の手順で結着具5から外すことができる
図2に示すように釣糸を球体4の係止孔10に取付ける場合には、係止孔10に釣糸16を貫通させ、通路孔8を通して、開口7から出させる。このとき、釣糸が細く、結び目を作ったとき、係止孔10の直径よりも結び目が小さくなる場合には、結び目より小さい孔を有するもの、ここではビーズを釣糸16に通す。そして、釣糸16の先端に結び目15を作って逆方向へ引くと、結び目15またはビーズが係止孔10に引っ掛かって釣糸16係止することができる。釣糸16を係止孔10から取外す場合には、釣糸16を係止孔10へ押し込む。そして、係止孔10に係止されていた結び目15を通路孔8に通過させ開口7から出させる。そして、出てきた結び目15を解く、または切断して釣糸を逆方向へ引っ張ると外すことができる
球体4は、回転軸を一定としないため球体4は自在に回転する。釣糸が縒れると、釣糸による縒れを解消しようとする力をうけて、釣糸の垂れ下がった方向を軸として球体4は回転する。そのため、釣糸の縒れ解消することができる。また、釣糸が釣竿1に絡みついたとき、結着具5に係止された釣糸を引っ張ると、球体4がその方向へ回転し、結着具5が引っ張った方向へ向きを変える。そして、さらに引っ張られると、その張力によって釣竿1の長手方向を軸として球体4が回転し、釣糸の絡みつきを解消することができる。また、従来の釣竿で行なわれているように、釣竿1を釣糸の絡みつきを解消する方向へ回すように煽ることにより、釣糸の縒れが解消する方向に球体4が回転し、容易に絡みつきを解消することができる。
したがって、本実施形態の釣糸係止具を利用すれば、従来の釣糸係止具と比較して、さらに、釣糸が釣竿1に絡むのを防止し、また、釣糸の縒れを防止することができる。また、結着具5に取付けるか、または球体4の係止孔10に取付けるかどちらか好きな方を選択して使用することができる。結着具5や係止孔10を使用することにより釣糸を容易に取付け、取外すことができる。
(第2実施形態)
次に、別の一実施形態について図3及び図4を用いて説明する。
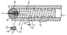
図3に示すように釣竿係止具は、金属製であり、釣竿1の穂先側先端に装着された、本体部としての係止具本体2と、その係止具本体2の穂先側端部に突出して取付けられた、状部としての円筒管3と、その円筒管3に回転自在に嵌められて取付けられた球体4と、その球体4に設けられ、釣糸を係止するための係止手段としての結着具5とを備えている。
係止具本体2は、円柱形状をしており、一方には、釣竿1に嵌められて取付けられている。係止具本体2の他方には1列の係止溝20が形成されている。円筒管3の内壁には、リング状の突起21が形成されおり、この突起21前記係止溝20に嵌められ、円筒管3回転可能に係止具本体2に取付けられている。円筒管3の穂先側端部には、突片としての、内側に湾曲した3つの支持片22が形成されている。支持片22は3つに限定されず、複数であればいくつであってもよい。
円筒管3の端部内壁周囲、及び前記3つの支持片22は、円筒管から穂先側先端方向に一部突出しており、球体4を回転自在に嵌めこんで取付けることができるように、湾曲して形成された球体うけ溝9を備えている。その球体うけ溝9に、一部を切断された球体4が回転自在に取付けられている。球体4の切断面中心から球体4の中心を貫くように孔23が形成され、切断面の孔23の入口には、その孔23の部分より小さい径の孔を有する結着具止め24を備えている。
結着具5は、球体4の切断された部分に取付けられると、球体4が球体形状となるように形成されたものであって、結着部12と係止部14とを備えている。結着具5と球体4とは切断面が合わされて、結着具止め24の孔にリベット形状の止め具25を通され、結着具5の切断面中心に接着されている。そのため、結着具5は球体4に対して止め具25を軸として回転可能である。結着具5と球体4とは回転可能であればどのような取付け方で取付けられてもよい。したがって、一部を切断された球体4と、球体4に取付けられた結着具5とは、全体として球体形状になっており、結着具5が円筒管3に引っ掛かることなく球体4は回転自在である。
次に、上記のように構成された本実施形態の作用及び効果について説明する。
球体4は、回転軸を一定としないで回転する。また、一部を切断された球体4と、球体4に取付けられた結着具5とは、全体として球体形状になっているため、球体4の回転範囲が広がる。さらに、球体4は円筒管3の側壁のみでなく3つの支持片22によっても円筒管3から穂先側先端方向に一部を可能な限り突出させて回転自在に取付けられている。また、各支持片22の間には、結着具5や結び付けられた釣糸の移動を阻害するものがない。そのため、球体4に設けられた結着具5の移動範囲がさらに広がる。そのため、釣糸が縒れると、係止手段が釣糸にかかる力の方向に可能な限り傾くため、球体はさらに回転し、釣糸の縒れを解消することができる
釣糸が縒れると、釣糸による縒れを解消しようとする力をうけて、釣糸の垂れ下がった方向を軸として球体4は回転する。さらに、球体4を補って結着具5も回転する。そのため、釣糸の縒れは解消される。また、釣糸が釣竿1に絡みついたとき、結着具5に係止された釣糸を引っ張ると、球体4が引っ張られた方向へ回転し、結着具5その方向へ向きを変える。さらに、その張力によって釣竿1の長手方向を軸として球体4または円筒管3が回転し、釣糸の絡みつきを解消することができる。また、従来の釣竿1で行なわれているように、釣竿1を釣糸の絡みつきを解消する方向へ回すように煽ることにより、釣糸の縒れ解消する方向に円筒管3が回転し、容易に絡みつきを解消することができる。
したがって、本実施形態の釣糸係止具を利用すれば、球体4と独立して、結着具5と円筒管3とが回転するため、さらに効果的に釣糸が釣竿1に絡むのを防止し、釣糸の縒れを防止することができる。また、結着具5に結び付けられた釣糸を張ることにより、さらに、容易に釣糸の絡み、釣糸の縒れを解消することができる。釣竿の使用中でも、釣糸が釣竿1に絡むのを防止しするとともに、釣糸の縒れを防止することができる。
本発明の釣糸係止具は、上述した2つの実施形態に限定されない。例えば、釣糸を貫通させて結び付けることのできる輪部、開口部、または孔部を有する結着部としての結着具を第2の係止手段として用いてもよい。例として、結着具としてU字状の金属棒の両端を球体に取付けたもの、結着具としてP字状に形成された金属棒の一端を球体に取付けたもの、球体に結着具として孔を有する金属板を取付けたもの、それら結着具を回転自在に球体に取付けたもの等である。このようにすると、スナップ金具を使用することにより、さらに容易に釣糸を取付け、取外すことができる。また、球体は、円筒管の穂先側端部に形成された、内側に湾曲した複数の突片と、係止具本体とに回転自在にはさみ付けて取付けられてもよい。
第1実施形態における一部断面を含む釣糸係止具を示す斜視図 第1実施形態における釣糸係止具を示す断面図 第2実施形態における釣糸係止具を示す断面図 第2実施形態における一部断面を含む釣糸係止具を示す斜視図
2 係止具本体
3 円筒管
4 球体
5 係止具
7 開口
8 通路孔
10 係止孔
11 螺孔
12 結着部
13 螺子棒
14 係止部


Claims (6)

  1. 釣糸を係止するために穂先竿の穂先側先端に備えられる、釣糸を係止するための釣糸係止具であって、
    穂先竿の穂先側先端に装着された本体部と、
    前記本体部の穂先側端部に突出して取付けられた管状部と、
    その管状部に回転自在に嵌められて取付けられた球体と、
    前記球体表面以内に収まるように、前記球体に備えられ、釣糸を前記球体に直接係止するための係止手段と
    を備えていることを特徴とする釣糸係止具。
  2. 前記球体の一部は、穂先側先端方向に前記状部から突出て備えられていることを特徴とする請求項1に記載の釣糸係止具。
  3. 前記係止手段は、前記球体に一端を連結して形成した、釣糸を結び付けるための結着部と、
    その結着部の他端方向に設けられ、前記結着部に結び付けられた釣糸の移動を制限する係止部と
    を備えることを特徴とする請求項1または請求項2に記載の釣糸係止具。
  4. 前記係止手段は、前記球体の中心を貫通して形成された孔部と、
    前記管状部の側壁に形成された開口部と、
    前記孔部貫通させた釣糸を前記開口部に導く通路部と
    を備えることを特徴とする請求項1または請求項2に記載の釣糸係止具。
  5. 前記球体に、螺合して着脱可能とする、第2の係止手段をさらに備えていることを特徴とする請求項4に記載の釣糸係止具。
  6. 前記球体は、螺孔を備え
    前記第2の係止手段は、釣糸を結び付けるための結着部と、その結着部に設けられた雄螺子部を備え、その雄螺子部を前記螺孔に着脱自在に螺嵌して取付け可能であることを特徴とする請求項5記載の釣糸係止具。
JP2005120296A 2005-03-21 2005-03-21 釣糸係止具 Expired - Fee Related JP4649552B2 (ja)

Priority Applications (1)

Application Number Priority Date Filing Date Title
JP2005120296A JP4649552B2 (ja) 2005-03-21 2005-03-21 釣糸係止具

Applications Claiming Priority (1)

Application Number Priority Date Filing Date Title
JP2005120296A JP4649552B2 (ja) 2005-03-21 2005-03-21 釣糸係止具

Publications (3)

Publication Number Publication Date
JP2006262881A JP2006262881A (ja) 2006-10-05
JP2006262881A5 JP2006262881A5 (ja) 2009-07-23
JP4649552B2 true JP4649552B2 (ja) 2011-03-09

Family

ID=37199463

Family Applications (1)

Application Number Title Priority Date Filing Date
JP2005120296A Expired - Fee Related JP4649552B2 (ja) 2005-03-21 2005-03-21 釣糸係止具

Country Status (1)

Country Link
JP (1) JP4649552B2 (ja)

Family Cites Families (6)

* Cited by examiner, † Cited by third party
Publication number Priority date Publication date Assignee Title
JPH0283756U (ja) * 1988-12-14 1990-06-28
JPH02137867U (ja) * 1989-04-17 1990-11-16
JPH0367556U (ja) * 1989-11-02 1991-07-02
JPH0884548A (ja) * 1994-09-14 1996-04-02 Daiwa Seiko Inc 糸長さ調節機構付き釣竿
JP3797513B2 (ja) * 1997-09-10 2006-07-19 株式会社シマノ 釣糸係止具及びこれを備えた釣竿
JP4249347B2 (ja) * 1999-10-05 2009-04-02 株式会社シマノ 釣糸係止具

Also Published As

Publication number Publication date
JP2006262881A (ja) 2006-10-05

Similar Documents

Publication Publication Date Title
US9173386B2 (en) Outrigger line lock positioning device
US5666760A (en) Fishing line lock
CA2744097A1 (en) Fishing lure with line attachment structure
US20040113006A1 (en) Fishing reel spool
US5664365A (en) Trailer fish hook
JP7244311B2 (ja) 疑似餌、及び、疑似餌用スプリットリング
US5444936A (en) Trolling unit
JP4649552B2 (ja) 釣糸係止具
JP2006262881A5 (ja)
JP2007006710A (ja) 両軸受リール
JP2005192477A (ja) 釣り用仕掛及びこれに用いるおもり
US4546567A (en) Fishing line sinker
KR20230017071A (ko) 꼬임 방지용 낚싯줄 연결 고리 및 이를 포함하는 낚시 채비
US4798022A (en) Combination fishhook and swivel
JP2000125733A (ja) 釣具における鉤素絡みつき防止具
TWI811176B (zh) 白帶魚用天揚及白帶魚用釣鉤
US3839812A (en) Anti snagging fishhook
JP3058733U (ja) 釣具における鉤素絡みつき防止具
JP7349541B1 (ja) 釣竿
JP3242443U (ja) 釣り糸絡み防止竿先
FI105646B (fi) Uistin
JP2020174544A (ja) イカ釣り用ヤエン
JP2004159616A (ja) タモ枠
JP4504461B1 (ja) 糸絡み防止具
JP3540284B2 (ja) 釣り針

Legal Events

Date Code Title Description
A621 Written request for application examination

Free format text: JAPANESE INTERMEDIATE CODE: A621

Effective date: 20080317

A521 Request for written amendment filed

Free format text: JAPANESE INTERMEDIATE CODE: A523

Effective date: 20090525

A977 Report on retrieval

Free format text: JAPANESE INTERMEDIATE CODE: A971007

Effective date: 20100225

A131 Notification of reasons for refusal

Free format text: JAPANESE INTERMEDIATE CODE: A131

Effective date: 20100316

A521 Request for written amendment filed

Free format text: JAPANESE INTERMEDIATE CODE: A523

Effective date: 20100408

A521 Request for written amendment filed

Free format text: JAPANESE INTERMEDIATE CODE: A523

Effective date: 20100512

A01 Written decision to grant a patent or to grant a registration (utility model)

Free format text: JAPANESE INTERMEDIATE CODE: A01

Effective date: 20100914

A61 First payment of annual fees (during grant procedure)

Free format text: JAPANESE INTERMEDIATE CODE: A61

Effective date: 20100921

R150 Certificate of patent or registration of utility model

Free format text: JAPANESE INTERMEDIATE CODE: R150

FPAY Renewal fee payment (event date is renewal date of database)

Free format text: PAYMENT UNTIL: 20131224

Year of fee payment: 3

LAPS Cancellation because of no payment of annual fees