JP4635861B2 - 照明装置 - Google Patents

照明装置 Download PDF

Info

Publication number
JP4635861B2
JP4635861B2 JP2005369511A JP2005369511A JP4635861B2 JP 4635861 B2 JP4635861 B2 JP 4635861B2 JP 2005369511 A JP2005369511 A JP 2005369511A JP 2005369511 A JP2005369511 A JP 2005369511A JP 4635861 B2 JP4635861 B2 JP 4635861B2
Authority
JP
Japan
Prior art keywords
see
planar light
fixing portion
attachment
attached
Prior art date
Legal status (The legal status is an assumption and is not a legal conclusion. Google has not performed a legal analysis and makes no representation as to the accuracy of the status listed.)
Expired - Fee Related
Application number
JP2005369511A
Other languages
English (en)
Other versions
JP2007173053A (ja
Inventor
稔 前原
明則 平松
Current Assignee (The listed assignees may be inaccurate. Google has not performed a legal analysis and makes no representation or warranty as to the accuracy of the list.)
Panasonic Corp
Panasonic Electric Works Co Ltd
Original Assignee
Panasonic Corp
Matsushita Electric Works Ltd
Priority date (The priority date is an assumption and is not a legal conclusion. Google has not performed a legal analysis and makes no representation as to the accuracy of the date listed.)
Filing date
Publication date
Application filed by Panasonic Corp, Matsushita Electric Works Ltd filed Critical Panasonic Corp
Priority to JP2005369511A priority Critical patent/JP4635861B2/ja
Publication of JP2007173053A publication Critical patent/JP2007173053A/ja
Application granted granted Critical
Publication of JP4635861B2 publication Critical patent/JP4635861B2/ja
Anticipated expiration legal-status Critical
Expired - Fee Related legal-status Critical Current

Links

Images

Landscapes

  • Planar Illumination Modules (AREA)
  • Non-Portable Lighting Devices Or Systems Thereof (AREA)

Description

本発明は照明装置に係り、例えば、天井や壁等に取り付けられて面状に発光する照明装置に関するものである。
従来より、建物の天井面に取り付けられる照明装置は、天井面に密着した状態で固定される本体と、本体を覆うカバーとを有している(例えば特許文献1参照)。
本体は、プレス加工により金属板を円形、矩形、リブの有無、縁部加工等所望の形状に成形するとともに、例えば中央部に貫通孔が設けられ、白熱灯や蛍光灯等の光源が支持されている。カバーは、例えば乳白色の樹脂製とされ、下方から本体や光源が見えないように本体に取り付けられる。
このような照明装置を天井面等に取り付ける場合には、あらかじめ本体からカバーを取り外しておき、本体の挿通孔から天井面に設けられた取付部を視認しながら取付部を挿通孔に挿通させる。
そして、取付部を挿通孔に係合させることにより、天井面に密着するように本体が固定され、光源への給電配線を接続した後に、本体にカバーを取り付けるようにしている。
特開平5−282912号公報
ところで、近年、EL(Electro Luminescence)素子等の面状発光体を光源とする照明装置が提案されている。面状発光体は、金属電極層、発光層、透明電極層およびガラス基板が積層されていて、電力が供給されることにより発光層の全域が略均一に発光するようになっている。
このような面状発光体を用いた照明装置は、従来に比較して均一な輝度で面状に発光するため、大面積の照明装置として期待されている。
このような面状発光体を用いた照明装置は、面状発光体の裏面に設けられた固定部を天井面の取付部に係合させることにより、天井面に接近した状態で固定されることになる。従って、照明装置を天井面に取り付けるには、面状発光体を支持しながら作業者が上向き作業を行い、固定部を天井面の取付部に係合させる必要がある。
しかしながら、面状発光体の金属電極層は不透明であり、視界は金属電極層によって遮られる。このため、作業者は従来のように挿通孔から取付部を視認しながら取付作業を行うことができないので、取付作業が困難であるという不都合があった。
本発明は、前述した問題点に鑑みてなされたものであり、その目的は、光源として面状発光体を採用しても取付作業を容易に行うことができる照明装置を提供することにある。
前述した目的を達成するために、本発明は、不透明層および発光層が積層された面状発光体と、前記面状発光体に連結された固定部とを備え、取付面に設けられた取付部に前記固定部が係合されることにより取り付けられる照明装置であって、前記不透明層に設けられた透視部を有し、前記発光層側から前記透視部を通じて前記固定部を視認可能である。
このように構成された照明装置においては、照明装置を取り付けるための固定部が見えるように透視部を不透明層に設けたので、本来透視できない不透明層と透視できる発光層とを有する面状発光体を通して、固定部とこの固定部を取り付ける取付面の取付部とを視認することができる。このため、面状発光体を有する照明装置を、所定の取付部に容易に取り付けることができる。なお、固定部の見え方としては、直下に限らず、斜め方向から見えてもよい。
また、本発明は、前記透視部が複数設けられている。
このように構成された照明装置においては、不透明層を通して固定部を見るための透視部を複数設けたので、複数個の固定部を視認したり、特定の固定部をいろんな角度から視認することができるようになる。
これにより、照明装置を取付面に取り付ける際に自由度が広がり、例えば重量配分を考慮した取り付けが可能になる。
本発明によれば、照明装置を取り付けるための固定部が見えるように透視部を不透明層に設けたので、本来透視できない不透明層と透視できる発光層とを有する面状発光体を通して、固定部とこの固定部を取り付ける取付面の取付部とを視認することができる。
このため、面状発光体を有する照明装置を、所定の取付部に容易に取り付けることができるという効果が得られる。
以下、本発明に係る実施形態を図面に基づいて詳細に説明する。
図1(A)は本発明の照明装置に係る第1実施形態を示す平面図、図1(B)は図1(A)中B−B位置の断面図、図1(C)は固定部の別の例を示す平面図、図2は照明装置を取付部に取り付ける状態を示す斜視図、図3(A)は非点灯時を示す断面図、図3(B)は点灯時を示す断面図、図4は電極に給電している状態を示す斜視図である。
(第1実施形態)
図1(A)および(B)に示すように、本発明の実施形態に係る照明装置10Aは、例えば有機ELを用いたものであり、不透明層である金属電極11および発光層12が積層された面状発光体13と、面状発光体13に連結された固定部14とを備え、取付面である天井面30に設けられた取付部31に固定部14が係合されることにより取り付けられるようになっている。
そして、図1(A)に示すように、金属電極11に設けられた透視部である透視窓15を有し、発光層12側から透視部15を通じて固定部14が視認可能となっている(図2参照)。
図3(A)および(B)に示すように、面状発光体13は、金属電極11、発光層12、透明電極16およびガラス基板17を積層して構成されており、金属電極11のみが不透明層となっている。従って、金属電極11を切り欠いて透視窓15を設けられている。
これにより、図3(A)に示すように、非点灯時には、発光層12側であるガラス基板17側(図3において下側)から、透視窓15を介して金属電極11側(図3において上側)を透視することができ、取付部31を視認することができる。
一方、図3(B)に示すように、照明装置10Aを天井面30に取り付けて点灯した時には、ガラス基板17を通して発せられる光が明るいため、発光層12の向こう側(図3において上側)を透視することができず、透視窓15を隠すことになる。
面状発光体13は強度的に弱いものであり、ある程度の面積を支持するために、図1に示すように、例えば、X字状の支持部材18を設ける。支持部材18を構成するアーム18aの先端には支持ブロック18bが設けられており、面状発光体13の最下面にあるガラス基板17の四隅を保持している。これにより、面状発光体13は支持部材18によって支持され、支持部材18に設けられている固定部14を取付部31に係合させることにより、天井面30に取り付けられることになる。
また、図1に示すように、アーム18aには、金属電極11と透明電極16とに給電するための給電配線19が敷設されている。
そして、図4に示すように、支持ブロック18b内において、金属電極11あるいは透明電極16に給電するようになっている。図4には、金属電極11に給電する状態が示されており、対角位置(図1参照)にある支持ブロック18b内では透明電極16に給電するようになっている。
図1(A)および(B)に示すように、固定部14は例えば矩形箱状をした本体14aと、本体14aから突出する一対の金属製の強度が強い受電端子14bを有している。受電端子14bの先端部は略直角に曲げられており、この受電端子14bを取付部31に挿入して回転させて係合することにより、照明装置10Aを天井面30に取り付けると同時に、取付部31の給電端子(図示省略)と電気的に接続されるようになっている。
なお、固定部14は、矩形箱状のものに限らず、図1(C)に示すような円柱形状の固定部14Bであってもよい。
次に、照明装置10Aを天井面30に取り付ける取付作業について説明する。
まず、取付面である天井面30の所定位置に、取付部31を取り付けるとともに配線しておく。
図2に示すように、作業者Mは、対角線位置の1対の支持ブロック18bを把持して照明装置10Aを持ち、透視窓15を通して取付部31を視認する。
そして、透視窓15を通して取付部31を視認しながら、照明装置10Aの固定部14を取付部31に近づけて行き、受電端子14bを取付部31に設けられているスリット(図示省略)に挿入して、照明装置10Aを全体的に回転させる。
これにより、受電端子14bは給電端子(図示省略)に係合して固定されると同時に電気的に接続される。
以上、説明した照明装置10Aにおいては、照明装置10Aを取り付けるための固定部14が見えるように透視窓15を金属電極11に設けたので、本来透視できない金属電極11と透視できる発光層12とを有する面状発光体13を通して、固定部14とこの固定部14を取り付ける取付面30の取付部31とを視認することができる。
このため、面状発光体13を有する照明装置10Aを、所定の取付部31に容易に取り付けることができる。
なお、固定部14の見え方としては、直下に限らず、斜め方向から見えてもよい。
また、透視窓15は、面状発光体13を製造する際にあらかじめ金属電極11に設けられているので、その後、特に透視窓15を形成する工程は必要ではなく、照明装置10Aの製造工程に影響しない。
(第2実施形態)
次に、第2実施形態に係る照明装置について説明する。
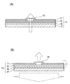
図5(A)は第2実施形態に係る照明装置を上方から見た平面図、図5(B)は第2実施形態に係る照明装置を下方から見た底面図である。なお、前述した第1実施形態に係る照明装置と共通する部位には同じ符号を付して、重複する説明を省略することとする。
図5(A)および(B)に示すように、第2実施形態に係る照明装置10Bでは、支持部材18Bを十字形状に形成し、面状発光体13の周縁の幅方向の中央および長さ方向の中央を通過するように設けてある。各アーム18aの先端には、面状発光体13を厚さ方向に把持する支持ブロック18bが設けられており、面状発光体13の外周縁の幅方向の中央および長さ方向の中央を把持するようになっている。
その他の構成および取り付け方は、前述した第1実施形態に係る照明装置10Aの場合とまったく同様であり、同様の作用効果を得ることができる。
(第3実施形態)
次に、第3実施形態に係る照明装置について説明する。
図6は第3実施形態に係る照明装置を示す分解斜視図、図7は図6中VII−VII位置の断面図である。なお、前述した第1実施形態あるいは第2実施形態に係る照明装置と共通する部位には同じ符号を付して、重複する説明を省略することとする。
図6に示すように、第3実施形態に係る照明装置10Cでは、複数枚(ここでは4枚)の面状発光体13を有しており、面状発光体13を収容するための枠体21を有している。枠体21の内部には、各面状発光体13の外周縁を支持するために「田」字状の支持枠22を有しており、この支持枠22に対応して十字形の押え部材23が設けられている。
押え部材23の上面中央部には、固定部14が設けられている。この押え部材23は、4枚の面状発光体13を支持枠22との間に挟持するものであり、ネジ24によって枠体21の外周面に設けられている取付ブラケット21aに固定される。
なお、4枚の面状発光体13を同一平面に配列した際に、中央部に透視窓15が形成されるように、各面状発光体13の一隅角部において金属電極11を4分の1円形状に切り欠いてある。
その他の構成および取り付け方は、前述した第1実施形態に係る照明装置10Aの場合とまったく同様であり、同様の作用効果を得ることができる。
(第4実施形態)
次に、第4実施形態に係る照明装置について説明する。
図8は第4実施形態に係る照明装置を上方から見た斜視図である。なお、前述した第1実施形態〜第3実施形態に係る照明装置と共通する部位には同じ符号を付して、重複する説明を省略することとする。
図8に示すように、第4実施形態に係る照明装置10Dでは、複数個(ここでは、例えば2個)の透視窓15が設けられている。例えば、面状発光体13が細長い場合に、中央の1箇所で支持するのが適切でなく、複数箇所で支持したい場合には、重量配分を考慮しながら支持部材18の交点毎に固定部14を複数個設ける。
そして、固定部14に対応して複数個の透視窓15を設けるようにする。
このように、各固定部14ごとに透視窓15を設けることにより、複数個の固定部14によって取付部31に取り付ける際に、各固定部14に対応する取付部31を視認することができるので、複数箇所において確実に取付を行うことができる。
なお、本発明の照明装置は、前述した各実施形態に限定されるものでなく、適宜な変形,改良等が可能である。
例えば、前述した各実施形態において、面状発光体としてEL素子を用いたものについて説明したが、本発明に係る照明装置は、この他、例えばLEDを多数配列することにより面状に発光するものにも適用可能である。この場合には、不透明層は回路基板が該当し、発光層としては多数のLEDが該当する。
また、前述した各実施形態においては、透視窓15を円形とした場合について説明したが、図9に示すように、透視窓15Bを矩形とすることもできる。あるいは、その他の形状とすることもできる。
また、透視窓15Bは金属電極を切り欠いた部分に透明電極を設けてもよい。
さらに、前述した各実施形態においては、照明装置10を取付面としての天井面30に取り付ける場合について説明したが、その他、例えば壁に取り付けることもできる。
以上のように、本発明に係る照明装置は、照明装置を取り付けるための固定部が見える透視部を不透明層に設けたので、本来透視できない不透明層と透視できる発光層とを有する面状発光体を通して、固定部とこの固定部を取り付ける取付面の取付部とを視認することができる。
このため、面状発光体を有する照明装置を、所定の取付部に容易に取り付けることができるという効果を有し、例えば、天井や壁等に取り付けられて面状に発光する照明装置等として有用である。
(A)は本発明の照明装置に係る第1実施形態を示す平面図、(B)は図1(A)中B−B位置の断面図 照明装置を取付部に取り付ける状態を示す斜視図 (A)は非点灯時を示す断面図、(B)は点灯時を示す断面図 金属電極に給電している状態を示す斜視図 (A)は第2実施形態に係る照明装置を上方から見た平面図、(B)は第2実施形態に係る照明装置を下方から見た底面図 第3実施形態に係る照明装置を示す分解斜視図 図6中VII−VII位置の断面図 第4実施形態に係る照明装置を上方から見た斜視図である。 別の形状の透視窓を備えた照明装置の上側から見た平面図
符号の説明
10 照明装置
11 金属電極(不透明層)
12 発光層
13 面状発光体
14 固定部
15 透視窓(透視部)
30 天井面(取付面)
31 取付部

Claims (2)

  1. 不透明層および発光層が積層された面状発光体と、
    前記面状発光体に連結された固定部とを備え、
    取付面に設けられた取付部に前記固定部が係合されることにより取り付けられる照明装置であって、
    前記不透明層に設けられた透視部を有し、
    前記透視部が、非点灯時に前記発光層側から前記透視部を通じて前記固定部を視認可能であるとともに、点灯時に面状発光体からの発光により前記発光層側から前記透視部を通じて前記固定部を視認不可能であることを特徴とする照明装置。
  2. 前記透視部が複数設けられていることを特徴とする請求項1に記載の照明装置。
JP2005369511A 2005-12-22 2005-12-22 照明装置 Expired - Fee Related JP4635861B2 (ja)

Priority Applications (1)

Application Number Priority Date Filing Date Title
JP2005369511A JP4635861B2 (ja) 2005-12-22 2005-12-22 照明装置

Applications Claiming Priority (1)

Application Number Priority Date Filing Date Title
JP2005369511A JP4635861B2 (ja) 2005-12-22 2005-12-22 照明装置

Publications (2)

Publication Number Publication Date
JP2007173053A JP2007173053A (ja) 2007-07-05
JP4635861B2 true JP4635861B2 (ja) 2011-02-23

Family

ID=38299329

Family Applications (1)

Application Number Title Priority Date Filing Date
JP2005369511A Expired - Fee Related JP4635861B2 (ja) 2005-12-22 2005-12-22 照明装置

Country Status (1)

Country Link
JP (1) JP4635861B2 (ja)

Families Citing this family (9)

* Cited by examiner, † Cited by third party
Publication number Priority date Publication date Assignee Title
JP2009129753A (ja) * 2007-11-26 2009-06-11 Panasonic Electric Works Co Ltd 面状発光型照明器具
TW200950178A (en) * 2008-01-30 2009-12-01 Koninkl Philips Electronics Nv OLED lighting device
JP2009187763A (ja) * 2008-02-05 2009-08-20 Hitachi Lighting Ltd 光源装置
JP4540005B2 (ja) * 2008-02-29 2010-09-08 財団法人山形県産業技術振興機構 照明装置
JP2010146973A (ja) * 2008-12-22 2010-07-01 Panasonic Electric Works Co Ltd 照明器具
JP5617598B2 (ja) * 2010-12-17 2014-11-05 東芝ライテック株式会社 照明装置
JP6444220B2 (ja) * 2015-02-27 2018-12-26 興和株式会社 照明装置
JP6473950B2 (ja) * 2015-04-20 2019-02-27 パナソニックIpマネジメント株式会社 照明器具
JP6122175B1 (ja) * 2016-04-08 2017-04-26 アイリスオーヤマ株式会社 Led照明装置

Family Cites Families (1)

* Cited by examiner, † Cited by third party
Publication number Priority date Publication date Assignee Title
JP2002109912A (ja) * 2000-10-04 2002-04-12 Asahi National Lighting Co Ltd 照明器具

Also Published As

Publication number Publication date
JP2007173053A (ja) 2007-07-05

Similar Documents

Publication Publication Date Title
CN103292264B (zh) 照明器具
JP4635861B2 (ja) 照明装置
JP6704174B2 (ja) 照明装置
JP4432846B2 (ja) 照明装置および照明器具
JP5020053B2 (ja) 照明器具
EP2620691B1 (en) Lighting device
US20140268716A1 (en) System for the distribution of luminance
JP6610997B2 (ja) 照明器具
JP7131865B2 (ja) 取付具、取付具セット及びそれを用いた照明器具
JP2013149534A (ja) 照明装置及び照明用パネル
CN205606329U (zh) 照明器具
JP2016143617A (ja) 照明器具
CN209909748U (zh) 照明器具
JP2017016805A (ja) 照明装置
JP7033493B2 (ja) 面発光ユニット
JP2008204658A (ja) 照明ユニット
JP2018186006A (ja) 照明装置
CN204693075U (zh) 发光单元及照明器具
CN205640578U (zh) 照明器具
JP7308571B2 (ja) 取付具、取付具セット及びそれを用いた照明器具
JP7515217B2 (ja) 取付具、取付具セット及びそれを用いた照明器具
JP3153278U (ja) 蛍光灯型led管
JP6601661B2 (ja) 照明装置
JP7500047B2 (ja) 照明装置
JP5975374B2 (ja) 誘導灯

Legal Events

Date Code Title Description
RD02 Notification of acceptance of power of attorney

Free format text: JAPANESE INTERMEDIATE CODE: A7422

Effective date: 20071114

RD04 Notification of resignation of power of attorney

Free format text: JAPANESE INTERMEDIATE CODE: A7424

Effective date: 20071121

A621 Written request for application examination

Free format text: JAPANESE INTERMEDIATE CODE: A621

Effective date: 20081002

A977 Report on retrieval

Free format text: JAPANESE INTERMEDIATE CODE: A971007

Effective date: 20100422

A131 Notification of reasons for refusal

Free format text: JAPANESE INTERMEDIATE CODE: A131

Effective date: 20100427

A521 Request for written amendment filed

Free format text: JAPANESE INTERMEDIATE CODE: A523

Effective date: 20100614

TRDD Decision of grant or rejection written
A01 Written decision to grant a patent or to grant a registration (utility model)

Free format text: JAPANESE INTERMEDIATE CODE: A01

Effective date: 20101026

A01 Written decision to grant a patent or to grant a registration (utility model)

Free format text: JAPANESE INTERMEDIATE CODE: A01

A61 First payment of annual fees (during grant procedure)

Free format text: JAPANESE INTERMEDIATE CODE: A61

Effective date: 20101108

FPAY Renewal fee payment (event date is renewal date of database)

Free format text: PAYMENT UNTIL: 20131203

Year of fee payment: 3

R150 Certificate of patent or registration of utility model

Ref document number: 4635861

Country of ref document: JP

Free format text: JAPANESE INTERMEDIATE CODE: R150

Free format text: JAPANESE INTERMEDIATE CODE: R150

LAPS Cancellation because of no payment of annual fees