JP4635222B2 - グラフィクス対話装置およびグラフィクス対話プログラム - Google Patents

グラフィクス対話装置およびグラフィクス対話プログラム Download PDF

Info

Publication number
JP4635222B2
JP4635222B2 JP2005204834A JP2005204834A JP4635222B2 JP 4635222 B2 JP4635222 B2 JP 4635222B2 JP 2005204834 A JP2005204834 A JP 2005204834A JP 2005204834 A JP2005204834 A JP 2005204834A JP 4635222 B2 JP4635222 B2 JP 4635222B2
Authority
JP
Japan
Prior art keywords
user
graphics
drawing data
dialogue
input
Prior art date
Legal status (The legal status is an assumption and is not a legal conclusion. Google has not performed a legal analysis and makes no representation as to the accuracy of the status listed.)
Expired - Fee Related
Application number
JP2005204834A
Other languages
English (en)
Other versions
JP2007025908A (ja
Inventor
一郎 馬田
Current Assignee (The listed assignees may be inaccurate. Google has not performed a legal analysis and makes no representation or warranty as to the accuracy of the list.)
ATR Advanced Telecommunications Research Institute International
Original Assignee
ATR Advanced Telecommunications Research Institute International
Priority date (The priority date is an assumption and is not a legal conclusion. Google has not performed a legal analysis and makes no representation as to the accuracy of the date listed.)
Filing date
Publication date
Application filed by ATR Advanced Telecommunications Research Institute International filed Critical ATR Advanced Telecommunications Research Institute International
Priority to JP2005204834A priority Critical patent/JP4635222B2/ja
Publication of JP2007025908A publication Critical patent/JP2007025908A/ja
Application granted granted Critical
Publication of JP4635222B2 publication Critical patent/JP4635222B2/ja
Anticipated expiration legal-status Critical
Expired - Fee Related legal-status Critical Current

Links

Images

Landscapes

  • Information Retrieval, Db Structures And Fs Structures Therefor (AREA)
  • User Interface Of Digital Computer (AREA)

Description

本発明は、描画により対話を行うグラフィクス対話装置およびグラフィクス対話プログラムに関する。
インターネットの発達に伴ってネットワークを通して複数のユーザが対話を行う対話システムが開発されている(例えば特許文献1参照)。このような対話システムによると、多数のユーザがパーソナルコンピュータのキーボードを用いて文章を入力することによりインターネットを通して相互に対話を行うことができる。また、対話の内容をデータとして保存し、所望の用語で検索することも可能である。
特開2002−82894号公報
ところで、実際の対面の会議等においては、例えば、複数の人が1つのホワイトボードに描画を行いつつ議論を進めていく。上記のような対話システムにより会議を行う場合には、コンピュータにより同一画面上に複数の人が描画を行うことができる描画ツールを対話システムに適用することが考えられる。
しかしながら、従来の描画ツールを対話システムに用いた場合、対話の性質に基づいて描画対象を検索することはできない。
本発明の目的は、対話の性質に基づいて所望の描画内容を効率的に再現することが可能なグラフィクス対話装置およびグラフィクス対話プログラムを提供することである。
第1の発明に係るグラフィクス対話装置は、他のグラフィクス対話装置と通信可能なグラフィクス対話装置であって、使用者による描画の内容を描画データとして入力する描画手段と、他のグラフィクス対話装置からの描画データを入力する入力手段と、描画手段および入力手段によって入力される描画データを描画オブジェクトとして表示する表示手段と、描画手段によって入力される描画データに基づく描画オブジェクトと入力手段によって入力される描画データに基づく描画オブジェクトとの間の物理的な距離に基づいて、当該グラフィクス対話装置の使用者と他のグラフィクス対話装置の使用者との対話の性質を判定する判定手段と、描画データおよび判定手段による判定結果を記憶する記憶手段とを備えたものである。
そのグラフィクス対話装置においては、使用者による描画の内容が描画手段により描画データとして入力される。また、他のグラフィクス対話装置からの描画データが入力手段により入力される。描画手段および入力手段により入力された描画データは、表示手段により描画オブジェクトとして表示される。また、描画手段により入力された描画データに基づく描画オブジェクトと入力手段により入力された描画データに基づく描画オブジェクトとの間の物理的な距離に基づいて、当該グラフィクス対話装置の使用者と他のグラフィクス対話装置の使用者との対話の性質が判定手段により判定される。上記描画データおよび判定手段による判定結果は、記憶手段により記憶される。
このように、使用者による描画の内容に基づく描画データおよび他のグラフィクス対話装置からの描画データが表示手段により描画オブジェクトとして表示されるので、使用者は、他のグラフィクス対話装置の使用者と描画による対話が可能になる。
また、描画データに基づいて対話の性質が判定され、判定結果および描画データが記憶手段により記憶されるので、対話の性質に基づいて描画データを効率的に検索することが可能になる。それにより、所望の描画内容を効率的に再現することができる。
さらに、対話の性質は描画オブジェクト間の物理的な距離により異なるので、描画オブジェクト間の物理的な距離に基づいて容易に対話の性質を判定することができる。
第2の発明に係るグラフィクス対話装置は、他のグラフィクス対話装置と通信可能なグラフィクス対話装置であって、使用者による描画の内容を描画データとして入力する描画手段と、他のグラフィクス対話装置からの描画データを入力する入力手段と、描画手段および入力手段によって入力される描画データを描画オブジェクトとして表示する表示手段と、描画手段および入力手段によって同時に入力される描画データの量に基づいて、当該グラフィクス対話装置の使用者と他のグラフィクス対話装置の使用者との対話の性質を判定する判定手段と、描画データおよび判定手段による判定結果を記憶する記憶手段とを備えたものである。
そのグラフィクス対話装置においては、使用者による描画の内容が描画データとして入力される。また、他のコンピュータからの描画データが入力される。描画データは描画オブジェクトとして表示される。また、描画データの量に基づいて当該コンピュータの使用者と他のコンピュータの使用者との対話の性質を判定される。さらに、描画データおよび判定結果が記憶される。
このように、使用者による描画の内容に基づく描画データおよび他のグラフィクス対話装置からの描画データが表示手段により描画オブジェクトとして表示されるので、使用者は、他のグラフィクス対話装置の使用者と描画による対話が可能になる。
また、描画データに基づいて対話の性質が判定され、判定結果および描画データが記憶手段により記憶されるので、対話の性質に基づいて描画データを効率的に検索することが可能になる。それにより、所望の描画内容を効率的に再現することができる。
さらに、対話の性質は同時に入力される描画データの量により異なるので、同時に入力される描画データの量に基づいて容易に対話の性質を判定することができる。
第3の発明に係るグラフィクス対話装置は、他のグラフィクス対話装置と通信可能なグラフィクス対話装置であって、使用者による描画の内容を描画データとして入力する描画手段と、他のグラフィクス対話装置からの描画データを入力する入力手段と、描画手段および入力手段によって入力される描画データを描画オブジェクトとして表示する表示手段と、使用者による発話を取得するとともに他のグラフィクス対話装置から発話を取得する取得手段と、取得手段により取得された発話と描画手段または入力手段により入力された描画データとに基づいて、当該グラフィクス対話装置の使用者と他のグラフィクス対話装置の使用者との対話の性質を判定する判定手段と、描画データおよび判定手段による判定結果を記憶する記憶手段とを備えたものである。
そのグラフィクス対話装置においては、使用者による描画の内容が描画データとして入力される。また、他のグラフィクス対話装置からの描画データが入力される。描画データは描画オブジェクトとして表示される。使用者による発話が取得されるとともに他のグラフィクス対話装置から発話が取得される。また、取得された発話と入力された描画データとに基づいて当該グラフィクス対話装置の使用者と他のグラフィクス対話装置の使用者との対話の性質を判定される。さらに、描画データおよび判定結果が記憶される。
このように、使用者による描画の内容に基づく描画データおよび他のグラフィクス対話装置からの描画データが表示手段により描画オブジェクトとして表示されるので、使用者は、他のグラフィクス対話装置の使用者と描画による対話が可能になる。
また、描画データに基づいて対話の性質が判定され、判定結果および描画データが記憶手段により記憶されるので、対話の性質に基づいて描画データを効率的に検索することが可能になる。それにより、所望の描画内容を効率的に再現することができる。
さらに、発話と描画との関係は対話の性質に依存するので、発話と描画データとに基づいて対話の性質を容易に判定することができる。
判定手段は、当該グラフィクス対話装置および他のグラフィクス対話装置のうち少なくとも一方の使用者が描画を行った時間に対して当該グラフィクス対話装置または他のグラフィクス対話装置の使用者が描画と発話とを同時に行った時間の占める割合に基づいて対話の性質を判定してもよい。
この場合、対話の性質は使用者によって描画と発話とが同時に行われている時間によって異なるので、使用者によって描画と発話とが同時に行われている時間の占める割合に基づいて容易に対話の性質を判定することができる。
判定手段は、描画手段によって入力された描画データに基づく描画オブジェクトの表示から取得手段が他のグラフィクス対話装置から発話を取得するまでの時間および入力手段によって入力された描画データに基づく描画オブジェクトの表示から取得手段が当該グラフィクス対話装置の使用者の発話を取得するまでの時間に基づいて対話の性質を判定してもよい。
この場合、対話の性質は対話相手の描画に対する使用者の応答速度によって異なるので、対話相手の描画に対する使用者の応答速度に基づいて容易に対話の性質を判定することができる。
使用者の視線を検出する視線検出手段をさらに備え、判定手段は、入力手段によって入力された描画データに基づく描画オブジェクトの表示から視線検出手段によって検出された視線が描画オブジェクト上に位置するまでの時間に基づいて対話の性質を判定してもよい。
この場合、対話の性質は対話相手の描画に対する使用者の視認速度によって異なるので、相手の描画に対する使用者の視認速度に基づいて容易に対話の性質を判定することができる。
使用者の視線を検出する視線検出手段をさらに備え、判定手段は、入力手段によって入力された描画データに基づく描画オブジェクトの表示から当該グラフィクス対話装置の使用者の発話を取得するまでの時間と入力手段によって入力された描画データに基づく描画オブジェクトの表示から視線検出手段によって検出された視線が描画オブジェクト上に位置するまでの時間との差に基づいて対話の性質を判定してもよい。
この場合、対話の性質は対話相手の描画に対する使用者の応答速度と視認速度との差によって異なるので、対話相手の描画に対する使用者の応答速度と視認速度との差に基づいて容易に対話の性質を判定することができる。
使用者の操作に基づいて、記憶手段に記憶された描画データを検索するための検索条件として少なくとも対話の性質を指定する条件指定手段と、条件指定手段により指定された対話の性質に基づいて記憶手段から該当する描画データを検索する検索手段とをさらに備えてもよい。
この場合、使用者は、記憶手段に記憶された描画データを検索するための条件として少なくとも対話の性質を条件指定手段により指定することができる。それにより、指定された対話の性質に基づいて記憶手段から該当する描画データが検索手段により検索される。したがって、使用者は、対話の性質に基づいて過去の描画内容を容易に再現することができる。
条件指定手段は、使用者の操作に基づいて検索条件として描画の期間をさらに指定し、検索手段は、指定手段により指定された期間内の描画オブジェクトのうち指定手段により指定された対話の性質に基づいて記憶手段から該当する描画データを検索してもよい。
この場合、使用者は、記憶手段に記憶された描画データを検索するための検索条件として描画の期間をさらに指定することができる。それにより、指定された期間内の描画データのうち指定された対話の性質に基づいて検索手段により記憶手段から該当する描画データが検索される。したがって、使用者は、対話の性質に基づいて所望の期間の描画内容を容易に再現することができる。
判定手段は、所定期間ごとに対話の性質を判定し、記憶手段は、所定期間ごとの判定結果および描画データを記憶し、検索手段は、判定結果に基づいて所定期間ごとの描画データを検索し、表示手段は、検索された所定期間ごとの描画データに関する情報を表示し、グラフィクス対話装置は、使用者の操作に基づいて、所定期間ごとの描画データに関する情報のいずれかを選択する選択手段と、選択手段により選択された描画データを再生表示する再生表示手段とをさらに備えてもよい。
この場合、指定された対話の性質に基づいて検索手段により該当する所定期間ごとの描画データが検索される。さらに、検索された所定期間ごとの描画データに関する情報が表示手段により表示され、表示された描画データに関する情報のいずれかを選択手段により選択することにより、再生表示手段がその選択された描画データを再生表示する。それにより、所望の描画内容を効率的に再現することができる。
の発明に係るグラフィクス対話プログラムは、コンピュータにより実行可能なグラフィクス対話プログラムであって、使用者による描画の内容を描画データとして入力する処理と、他のコンピュータからの描画データを入力する処理と、描画データを描画オブジェクトとして表示する処理と、描画データに基づく描画オブジェクトと描画データに基づく描画オブジェクトとの間の物理的な距離に基づいて、当該コンピュータの使用者と他のコンピュータの使用者との対話の性質を判定する処理と、描画データおよび判定の結果を記憶する処理とを、コンピュータに実行させるものである。
そのグラフィクス対話プログラムにおいては、使用者による描画の内容が描画データとして入力される。また、他のコンピュータからの描画データが入力される。描画データは描画オブジェクトとして表示される。また、描画データに基づく描画オブジェクトと描画データに基づく描画オブジェクトとの間の物理的な距離に基づいて当該コンピュータの使用者と他のコンピュータの使用者との対話の性質が判定される。さらに、描画データおよび判定結果が記憶される。
このように、使用者による描画の内容に基づく描画データおよび他のコンピュータからの描画データが描画オブジェクトとして表示されるので、使用者は、他のコンピュータの使用者と描画による対話が可能になる。
また、描画データに基づいて対話の性質が判定され、判定結果および描画データが記憶されるので、対話の性質に基づいて描画データを効率的に検索することが可能になる。それにより、所望の描画内容を効率的に再現することができる。
さらに、対話の性質は描画オブジェクト間の物理的な距離により異なるので、描画オブジェクト間の物理的な距離に基づいて容易に対話の性質を判定することができる。
第5の発明に係るグラフィクス対話プログラムは、コンピュータにより実行可能なグラフィクス対話プログラムであって、使用者による描画の内容を描画データとして入力する処理と、他のコンピュータからの描画データを入力する処理と、描画データを描画オブジェクトとして表示する処理と、描画手段および入力手段によって同時に入力される描画データの量に基づいて、当該コンピュータの使用者と他のコンピュータの使用者との対話の性質を判定する処理と、描画データおよび判定の結果を記憶する処理とを、コンピュータに実行させるものである。
そのグラフィクス対話プログラムにおいては、使用者による描画の内容が描画データとして入力される。また、他のコンピュータからの描画データが入力される。描画データは描画オブジェクトとして表示される。また、描画データの量に基づいて当該コンピュータの使用者と他のコンピュータの使用者との対話の性質を判定される。さらに、描画データおよび判定結果が記憶される。
このように、使用者による描画の内容に基づく描画データおよび他のコンピュータからの描画データが描画オブジェクトとして表示されるので、使用者は、他のコンピュータの使用者と描画による対話が可能になる。
また、描画データに基づいて対話の性質が判定され、判定結果および描画データが記憶されるので、対話の性質に基づいて描画データを効率的に検索することが可能になる。それにより、所望の描画内容を効率的に再現することができる。
さらに、対話の性質は同時に入力される描画データの量により異なるので、同時に入力される描画データの量に基づいて容易に対話の性質を判定することができる。
第6の発明に係るグラフィクス対話プログラムは、コンピュータにより実行可能なグラフィクス対話プログラムであって、使用者による描画の内容を描画データとして入力する処理と、他のコンピュータからの描画データを入力する処理と、描画データを描画オブジェクトとして表示する処理と、使用者による発話を取得するとともに他のコンピュータから発話を取得する処理と、取得された発話と入力された描画データとに基づいて、当該コンピュータの使用者と他のコンピュータの使用者との対話の性質を判定する処理と、描画データおよび判定の結果を記憶する処理とを、コンピュータに実行させるものである。
そのグラフィクス対話プログラムにおいては、使用者による描画の内容が描画データとして入力される。また、他のコンピュータからの描画データが入力される。描画データは描画オブジェクトとして表示される。使用者による発話が取得されるとともに他のコンピュータから発話が取得される。また、取得された発話と入力された描画データとに基づいて当該コンピュータの使用者と他のコンピュータの使用者との対話の性質を判定される。さらに、描画データおよび判定結果が記憶される。
このように、使用者による描画の内容に基づく描画データおよび他のコンピュータからの描画データが描画オブジェクトとして表示されるので、使用者は、他のコンピュータの使用者と描画による対話が可能になる。
また、描画データに基づいて対話の性質が判定され、判定結果および描画データが記憶されるので、対話の性質に基づいて描画データを効率的に検索することが可能になる。それにより、所望の描画内容を効率的に再現することができる。
さらに、発話と描画との関係は対話の性質に依存するので、発話と描画データとに基づいて対話の性質を容易に判定することができる。
本発明によれば、使用者による描画の内容に基づく描画データおよび他のグラフィクス対話装置または他のコンピュータからの描画データが描画オブジェクトとして表示されるので、使用者は、他のグラフィクス対話装置または他のコンピュータの使用者と描画による対話が可能になる。
また、描画データに基づいて対話の性質が判定され、判定結果および描画データが記憶されるので、対話の性質に基づいて描画データを効率的に検索することが可能になる。それにより、所望の描画内容を効率的に再現することができる。
(1) グラフィクス対話システムの構成
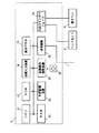
図1は本発明の一実施の形態に係るグラフィクス対話装置が適用されるグラフィクス対話システムの構成を示すブロック図である。
図1のグラフィクス対話システムは、通信ケーブル1により接続された複数の共有電子白板2から構成される。また、通信ケーブル1の代わりに複数の共有電子白板2がインターネット、LAN(ローカルエリアネットワーク)等の通信ネットワークにより接続されてもよい。
共有電子白板2には、ヘッドセット3が接続される。ヘッドセット3はヘッドフォンおよびマイクロフォンを有する。また、共有電子白板2には、電子ペン4が接続されている。共有電子白板2の構成については後述する。
図1の例では、異なる部屋101,102にそれぞれ共有電子白板2が配置されている。部屋101のユーザ11は、ヘッドセット3を装着し、電子ペン4により共有電子白板2に描画を行う。同様に、部屋102のユーザ12は、ヘッドセット3を装着し、電子ペン4により共有電子白板2に描画を行う。一方のユーザ11により共有電子白板2に描画された内容は、描画データとして他方のユーザ12の共有電子白板2に送信されるとともにその共有電子白板2に表示される。他方のユーザ12により共有電子白板2に描画された内容は、描画データとして他方のユーザ11の共有電子白板2に送信されるとともにその共有電子白板2に表示される。
それにより、部屋101,102のユーザ11,12は、共有電子白板2に描画を行いながらヘッドセット3により音声による会話を行うことができる。
図2は図1の共有電子白板2の構成を示すブロック図である。共有電子白板2は、CPU(中央演算処理装置)21、ROM(リードオンリメモリ)22、RAM(ランダムアクセスメモリ)23、座標入力装置24、表示パネル25、外部記憶装置26、記録媒体駆動装置27、通信装置28および入出力インタフェース29を含む。入出力インタフェース29には、ヘッドセット3および電子ペン4が接続されている。
座標入力装置24は、タッチパネルを含むタブレットからなり、電子ペン4により押圧された箇所の座標を入力する。それにより、電子ペン4により描かれた図形、符号および文字等の座標が描画データとして入力される。
表示パネル25は、液晶表示パネル等のフラットパネルディスプレイからなり、電子ペン4により描画された図形、符号および文字等の画像を表示するとともに他の共有電子白板2から受信した画像を表示する。表示パネル25を座標入力装置24に重ねることにより共有電子白板2が構成される。
ROM22にはシステムプログラムが記憶される。記録媒体駆動装置27は、CD(コンパクトディスク)ドライブ、DVD(デジタルバーサタイルディスク)ドライブ、FD(フレキシブルディスク)ドライブ等からなり、CD、DVD、FD等の記録媒体30に対してデータの読み書きを行う。記録媒体30には、共有電子白板用プログラムおよびグラフィクス対話プログラムが記録されている。
外部記憶装置26は、ハードディスク装置等からなり、記録媒体駆動装置27を介して記録媒体30から読み込まれた共有電子白板用プログラムおよびグラフィクス対話プログラムならびに各種データを記憶する。CPU21は、外部記憶装置26に記憶された共有電子白板用プログラムおよびグラフィクス対話プログラムをRAM23上で実行する。
通信装置28は、通信ケーブル1に接続され、他の共有電子白板2との間で描画データ、テキストデータ等の各種データおよび各種指令の送受信を行う。
なお、共有電子白板用プログラムおよびグラフィクス対話プログラムを記録する記録媒体30として、ROM等の半導体メモリ、ハードディスク等の種々の記録媒体を用いることができる。また、共有電子白板用プログラムおよびグラフィクス対話プログラムを通信回線等の通信媒体を介して外部記憶装置26にダウンロードし、RAM23上で実行してもよい。
なお、本実施の形態において描画とは、ユーザが絵、文字および記号等を共有電子白板2に描くことである。また、共有電子白板2に描画された対象を描画オブジェクトと呼ぶ。
図3は図2の共有電子白板2に表示される画像の一例を示す図である。
図3の共有電子白板2上には、描画ウインドウ201、入力ボタン202、検索ボタン203、実行ボタン204、色ボタン205、終了ボタン206および検索条件指定ウインドウ230が表示される。検索条件指定ウインドウ230は、期間入力ウインドウ231および性質指定ウインドウ232を含む。性質指定ウインドウ232には、選択ボタン233,234,235,236,237が表示される。
なお、入力ボタン202、検索ボタン203、実行ボタン204、色ボタン205、終了ボタン206および選択ボタン233〜237を操作ボタンと総称する。ユーザは、電子ペン4により画面上で各操作ボタンを押圧することによりその操作ボタンを選択することができる。なお、選択ボタン233〜237は、電子ペン4により押圧されることにより点滅する。それにより、ユーザは、選択ボタン233〜237のうちいずれが選択されているかを容易に認識することができる。
描画ウインドウ201には、当該共有電子白板2のユーザにより描かれる描画オブジェクトが表示されるとともに、他の共有電子白板2のユーザにより描かれる描画オブジェクトが表示される。
入力ボタン202は、入力処理を選択するために用いられ、検索ボタン203は、検索処理を選択するために用いられる。入力処理は、ユーザが共有電子白板2に描画を行うための処理である。また、検索処理は、ユーザが保存された描画データから所望の描画オブジェクトを抽出するための処理である。検索処理の詳細については後述する。
実行ボタン204は、検索処理の実行を指示する際に用いられる。色ボタン205は、共有電子白板2に描画する際の色を選択するために用いられる。終了ボタン206は、すべての処理を終了するために用いられる。
検索条件指定ウインドウ230は、検索処理の際の検索条件を設定するために用いられる。
(2) 対話の性質の判定
本発明者は、種々の実験および調査等により、対話の性質として対話内容の時間的順序制約および論理的制約の強さを以下に説明する理論により判定することができることを見出した。まず、時間的順序制約および論理的制約について簡単に説明する。
対話内容に時間的順序制約がある場合とは、時間によって制約を受ける課題について対話が行われる場合であり、作業手順を作成する場合およびイベント計画を作成する場合等がある。例えば、図3に示すような2人のユーザが事務所の引越し計画について対話する場合は、時間的順序制約がある場合に該当する。
図3の例では、一方のユーザがまず1番目に行うこととして「荷づくり」を提案し、次に他方のユーザが2番目に行うこととして「機器梱包」を提案している。同様に、3番目、4番目および5番目に行うことが、一方または他方のユーザにより順に提案されている。この場合、対話は時間的および順序的な要因に基づいて進められる。
対話内容に論理的制約がある場合とは、論理的に制約を受ける課題について対話が行われている場合であり、人員配置計画を作成する場合および論理推論を行う場合等がある。例えば、図4に示すような2人のユーザが音楽祭会場のスタッフの配置計画について対話する場合は、論理的制約がある場合に該当する。
図4の例では、スタッフの配置場所および配置人数は、各場所におけるスタッフの必要性および配置可能なスタッフ数等の種々の要因を考慮しつつ決定される。この場合、対話は2人のユーザの思考を融合させつつ論理的に進められることになる。
時間的順序制約および論理的制約がともに弱い場合としては、例えば、図5に示すように、2人のユーザに対して好きな生物を好きな順に描いて下さいという課題が与えられる場合等がある。図5の例では、一方のユーザは描画ウインドウ201の一端側に順番に生物を描画し、他方のユーザは描画ウインドウ201の他端側に順番に生物を描画する。この場合、2人のユーザは、時間的順序制約および論理的制約を受けないので、自由に自分の好きな生物を描くことができる。
以下、対話の性質の判定基準について説明する。
(2−1) 発話と対話の性質との関係
対話内容の時間的順序制約および論理的制約の強さは、以下に説明する関係に基づいて判定することができる。
本発明者は、種々の実験および調査等により、時間的順序制約が強い場合または論理的制約が強い場合、ユーザは、発話を行いつつ描画を行う傾向があることを見出した。これは、ユーザが自分の考えを強く主張できるように、自分が描画を行っている際に他のユーザが描画を行うことを避けようとするためであると考えられる。
ここで、本実施の形態においては、CPU21(図2参照)は、所定期間内において、任意のユーザにより描画が行われた時間に対して描画と発話とが同時に行われた時間の占める割合(以下、発話オーバーラップ割合と称する。)を算出する。以下、発話オーバーラップ割合の算出方法について図を用いて詳細に説明する。
図6は、2人のユーザが対話を行っている場合における、各ユーザの描画と発話との関係の一例を示した図である。図6の例では、所定期間(例えば、30s)内において2人のユーザが描画と発話とを行っている。具体的には、まず、ユーザAが発話を開始し、その2秒後にユーザAは描画を開始している。ユーザAによる発話は4秒間行われ、ユーザAによる描画は10秒間行われている。ユーザAの描画が終了した3秒後に、ユーザBが発話を開始し、その2秒後にユーザBは描画を開始している。ユーザBによる発話は4秒間行われ、ユーザBによる描画は6秒間行われている。
図6の例では、所定期間(30s)内において、2人のユーザが描画を行った時間の合計は16s(ユーザAによる描画は10s、ユーザBによる描画は6s)である。また、各ユーザが描画および発話を同時に行った時間の合計は4s(ユーザAが描画と発話とを同時に行った時間は2s、ユーザBが描画と発話とを同時に行った時間は2s)である。したがって、この場合の発話オーバーラップ割合は、25%(4÷16×100=25)である。
本実施の形態においては、CPU21は、発話オーバーラップ割合に基づいて、所定期間(例えば、30s)ごとに対話の性質を判定する。具体的には、発話オーバーラップ割合が大きい場合は、時間的順序制約および論理的制約の両方またはどちらか一方が強く、発話オーバーラップ割合が小さい場合は、時間的順序制約および論理的制約がともに弱いと判定する。つまり、発話オーバーラップ割合の値に基づいて対話内容の時間的順序制約および論理的制約の強さを決定することができる。
なお、本発明者の実験の結果によれば、発話オーバーラップ割合が36%以上である場合には、時間的順序制約および論理的制約がともに強く、発話オーバーラップ割合が28%〜30%である場合には、時間的順序制約または論理的制約のうちどちらか一方のみが強く、発話オーバーラップ割合が18%未満である場合には、時間的順序制約および論理的制約がともに弱くなった。
(2−2) 描画間の距離と対話の性質との関係
対話内容の時間的順序制約の強さは、以下に説明する関係に基づいて判定することができる。
本発明者は、種々の実験および調査等により、時間的順序制約が強い場合、複数のユーザによって同時描画が起こった際に、それらの描画間の物理的な距離が近くなることを見出した。
例えば、図3の例では、一方のユーザが1番目に行うこととして「荷づくり」と描画した後に、他方のユーザが「機器梱包」と描画している最中に、荷づくりの詳細な説明を加える場合が考えられる。図3においては、「書籍などダンボールに詰められるもの」という説明が加えられている。また、他方のユーザが2番目に行うこととして「機器梱包」と描画している最中に、一方のユーザが機器梱包の内容について説明を加える場合が考えられる。図3においては、「パソコン等」という説明が加えられている。このような場合、一方のユーザによる描画と他方のユーザによる描画との距離は近くなる。
一方、時間的順序制約が弱い場合(例えば、図4で説明した例)、一方のユーザによる描画と他方のユーザによる描画との距離は近くはならない。図4の例では、一方のユーザが各ゲートに2人ずつスタッフを配置するべきだと提案した場合、一方のユーザが「Aゲート」の近くに「2人」と描画を行っている最中に他方のユーザが「Bゲート」、「Cゲート」または「Dゲート」の近くに同様に「2人」と描画を行う場合が考えられる。このように、一方のユーザによる描画と他方のユーザによる描画との距離は近くはならない。
以上の関係から、本実施の形態においては、複数のユーザにより同時描画が起こった際に、それらの描画間の距離に基づいて時間的順序制約の強さを判定する。
ここで、本実施の形態においては、CPU21は、複数のユーザによって同時描画が起こった場合に、それらの描画間の距離を算出する。以下、その算出方法について図を用いて詳細に説明する。
図7は、2人のユーザによる描画の一例を示した図である。図7の例では、ユーザAにより描画オブジェクト10Aが描画され、ユーザBにより描画オブジェクト10Bが描画されている。また、図8は、図7に示した描画オブジェクト10A,10Bが描かれる過程の一例を示した図である。
本実施の形態においては、CPU21は、所定期間(例えば、200ms)ごとにその期間に描画された描画オブジェクトの重心を算出する。例えば、図8に示すように、描画オブジェクト10Aが、第1の期間において描かれた描画オブジェクトA1(実線で示すp1−p2間の描画)と、第2の期間において描かれた描画オブジェクトA2(一点鎖線で示すp2−p3間の描画)と、第3の期間において描かれた描画オブジェクトA3(点線で示すp3−p4間の描画)と、第4の期間において描かれた描画オブジェクトA4(二点鎖線で示すp4−p1間の描画)とを含み、描画オブジェクト10Bが、第2の期間において描かれた描画オブジェクトB1(一点鎖線で示すp5−p6間の描画)と第3の期間において描かれた描画オブジェクトB2(点線で示すp6−p5間の描画)とを含むとする。
この場合、CPU21は、第1〜第4の期間において描かれた各描画オブジェクトA1,A2,A3,A4,B1,B2の重心a1,a2,a3,a4,b1,b2をそれぞれ算出する。ここで、上述したように、描画オブジェクトA2および描画オブジェクトB1はともに第2の期間において描かれており、描画オブジェクトA3および描画オブジェクトB2はともに第3の期間において描かれている。本実施の形態においては、CPU21は、同じ期間において異なるユーザによって描かれた描画オブジェクトの重心同士の距離を算出する。図8の例では、CPU21は、重心aと重心b1との距離L1および重心a3と重心b2との距離L2を算出する。
このようにして、CPU21は、同時描画が発生する度に、その同時に描かれた描画オブジェクトの重心同士の距離を算出し、所定期間(例えば、30s)ごとにその距離の平均値(以下、平均重心間距離と称する)を算出する。例えば、図8において、所定期間(30s)において描かれた描画オブジェクトが描画オブジェクトA1,A2,A3,A4,B1,B2のみである場合には、算出される平均重心間距離は(L1+L2)/2である。
本実施の形態においては、CPU21は、上記のようにして算出される平均重心間距離に基づいて、所定期間(例えば、30s)ごとに対話の性質を判定する。具体的には、平均重心間距離が小さい場合は、時間的順序制約が強く、平均重心間距離が大きい場合は、時間的順序制約が弱いと判定する。つまり、平均重心間距離の値に基づいて、時間的順序制約の強さを決定することができる。
(2−3) 同時描画の量と対話の性質との関係
対話の性質は、同時に描画される描画オブジェクトの量に基づいても判定することができる。
本発明者は、種々の実験および調査等により、時間的順序制約および論理的制約が弱い場合、同時描画の発生する割合が高くなることを見出した。
上述したように、時間的順序制約および論理的制約がともに弱い場合、複数のユーザは自由に描画を行うことができる。つまり、各ユーザは、他のユーザの描画に影響されず、任意のタイミングで描画を行うことができる。それにより、同時描画の発生する割合が高くなると考えられる。
ここで、本実施の形態においては、CPU21は、所定期間(例えば、30s)内において少なくとも1人のユーザが描画を行っている時間に対して複数のユーザが同時に描画を行っている時間の占める割合(以下、描画オーバーラップ割合と称する)を算出する。以下、描画オーバーラップ割合の算出方法について図を用いて詳細に説明する。
図9は、2人のユーザが対話を行っている場合における、各ユーザの描画期間の一例を示した図である。図9の例では、所定期間(30s)内においてユーザAおよびユーザBが交互に描画を行っている。具体的には、まずユーザAが描画を開始し、ユーザAが描画を開始してから8秒後にユーザBが描画を開始している。ユーザAおよびユーザBは、それぞれ10秒間描画を行っている。そして、ユーザBが描画を終了してから2秒後に再びユーザAが描画を開始している。その後、ユーザAは4秒間描画を行っている。
図9の例では、所定期間(30s)内において、ユーザAおよびユーザBのうち少なくとも1人が描画を行っている時間は22sである。また、ユーザAおよびユーザBが同時に描画を行っている時間は2sである。したがって、この場合の描画オーバーラップ割合は、9.1%(2÷22×100=9.1)である。
図10は、3人のユーザが対話を行っている場合における、各ユーザの描画期間の一例を示した図である。図10の例では、所定期間(30s)内においてユーザA、ユーザBおよびユーザCが順に描画を行っている。具体的には、まずユーザAが描画を開始し、ユーザAが描画を開始してから8秒後にユーザBが描画を開始している。また、ユーザBが描画を開始してから8秒後にユーザCが描画を開始している。ユーザA、ユーザBおよびユーザCは、それぞれ10秒間描画を行っている。
図10の例では、所定期間内において、ユーザA、ユーザBおよびユーザCのうち少なくとも1人が描画を行っている時間は26sである。また、ユーザAおよびユーザBが同時に描画を行っている時間は2sであり、ユーザBおよびユーザCが同時に描画を行っている時間は2sである。したがって、所定期間内において複数のユーザが同時に描画を行っている時間は4sである。この場合、描画オーバーラップ割合は、15.4%(4÷26×100=15.4)である。
本実施の形態においては、CPU21は、上記のようにして算出される描画オーバーラップ割合に基づいて、所定期間(例えば、30s)ごとに対話の性質を判定することができる。具体的には、描画オーバーラップ割合が小さい場合は、時間的順序制約および論理的制約の少なくとも一方が強く、描画オーバーラップ割合が大きい場合は、時間的順序制約および論理的制約がともに弱いと判定する。つまり、描画オーバーラップ割合の値に基づいて時間的順序制約および論理的制約の強さを決定することができる。
なお、本発明者の実験の結果によれば、描画オーバーラップ割合が3.1%未満である場合には、時間的順序制約および論理的制約の少なくとも一方が強く、描画オーバーラップ割合が8.2%以上である場合には、時間的順序制約および論理的制約が弱くなった。
(2−4) 承認行動または確認行動と対話の性質との関係
対話内容の時間的順序制約および論理的制約の強さは、以下に説明する関係に基づいても判定することができる。
本発明者は、種々の実験および調査等により、描画と承認発話との間、描画と視覚による確認行動(以下、視認行動と称する)との間、および承認発話と視認行動との間に以下に説明する関係があることを見出した。なお、承認発話とは、ユーザが、他のユーザの描画に対して、例えば、「はい」、「いいえ」、「うん」、「ダメだ」、「そうです」等の返事をすることである。また、視認行動とは、他のユーザが描いた描画オブジェクトを目で確認することである。なお、視認行動の有無の判定は、例えば、ユーザの注視点を確認することができる視線検出装置(図示せず)を用いて行う。
(a) 描画と承認発話との関係
時間的順序制約および論理的制約の両方またはどちらか一方が強い場合、一方のユーザが描画を行ってから他方のユーザが承認発話を行うまでの時間(以下、発話時間と称する)は短い。
(b) 描画と視認行動との関係
時間的順序制約および論理的制約の両方またはどちらか一方が強い場合、一方のユーザが描画を行ってから他方のユーザが視認行動を行うまでの時間(以下、視認時間と称する)は短い。
(c) 承認発話と視認行動との関係
時間的順序制約および論理的制約の両方またはどちらか一方が強い場合、承認発話と視認行動とは、ほぼ同時に行われる。一方、時間的順序制約および論理的制約がともに弱い場合、視認行動は承認発話に遅れて行われる。なお、以下の説明では、この承認発話と視認行動との時間的なずれを「ずれ時間」と称する。
(d) 時間測定による対話の性質の判定
本実施の形態においては、CPU21は、他の共有電子白板2において描画が行われる度に、当該CPU21が設けられている共有電子白板2を使用しているユーザについて、発話時間、視認時間およびずれ時間を算出し、所定期間(例えば、30s)ごとにそれぞれの時間の平均値(それぞれ、平均発話時間、平均視認時間および平均ずれ時間と称する)を算出する。
これら平均発話時間、平均視認時間および平均ずれ時間に基づいて、CPU21は、所定期間(例えば、30s)ごとに対話の性質を判定することができる。具体的には、平均発話時間が400ms未満の場合、平均視認時間が400ms未満の場合、または平均ずれ時間が400ms未満の場合には、時間的順序制約および論理的制約の両方またはどちらか一方が強く、平均発話時間が400ms以上の場合、平均視認時間が400ms以上の場合、または平均ずれ時間が400ms以上の場合には、時間的順序制約および論理的制約がともに弱いと判定する。
(3) CPU21の処理
(3−1) 全体の処理
図11は、図2の共有電子白板2のCPU21により実行されるグラフィクス対話プログラムの全体の処理を示すフローチャートである。以下、図11を参照しながらグラフィクス対話プログラムの全体の処理について説明する。
CPU21は、ユーザにより入力ボタン202が押下されたか否かを判別する(ステップS1)。入力ボタン202が押下された場合、CPU21は、時間管理のためのタイマーをオンする(ステップS2)。
次に、CPU21は、共有電子白板2を描画可能な状態にする(ステップS3)。その後、CPU21は、所定時間(例えば、30s)経過したか否かを判別する(スッテップS4)。所定時間経過した場合、CPU21は、対話性質判定処理を実行する(ステップS5)。このステップS5における対話性質判定処理においては、CPU21は、所定時間(例えば、30s)における対話の性質を判定する。対話性質判定処理の詳細は後述する。
次いで、CPU21は、終了ボタン206が押下されたか否かを判別する(ステップS6)。終了ボタン206が押下された場合、CPU21は、描画データおよび対話の性質の判定結果を外部記憶装置26に記憶する(ステップS7)。その後、CPU21は、グラフィクス対話プログラムを終了する。ステップS6において終了ボタン206が押下されていない場合、CPU21は、時間管理のためのタイマーをリセットする(ステップS8)。その後、CPU21はステップS4の処理に進む。
ステップS4において所定時間経過していない場合、CPU21は、終了ボタン206が押下されたか否かを判別する(ステップS9)。終了ボタン206が押下された場合、CPU21は、対話性質判定処理を実行する(ステップS10)。その後、ステップS7の処理に進む。なお、ステップS10における対話性質判定処理においては、CPU21は、ステップS2においてタイマーがオンされてからステップS9において終了ボタン206が押下されるまでの時間、またはステップS8においてタイマーがリセットされてからステップS9において終了ボタン206が押下されるまでの時間における対話の性質を判定する。
ステップS9において終了ボタン206が押下されていない場合、CPU21はステップS4の処理に戻る。
ステップS1において、入力ボタン202が押下されていない場合、CPU21は検索ボタン203が押下されたか否かを判別する(ステップS11)。検索ボタン203が押下された場合、CPU21は、検索処理を実行する(ステップS12)。検索処理の詳細は後述する。
次に、CPU21は、終了ボタン206が押下されたか否かを判別する(ステップS13)。終了ボタン206が押下された場合、CPU21は、グラフィクス対話プログラムを終了する。
ステップS13において終了ボタン206が押下されていない場合、CPU21は、ステップS1の処理に戻る。
ステップS11において検索ボタン203が押下されていない場合、CPU21は、他の処理を実行する(ステップS14)。その後、CPU21は、終了ボタン206が押下されたか否かを判別する(ステップS15)。終了ボタン206が押下された場合、CPU21は、グラフィクス対話プログラムを終了する。
ステップS15において終了ボタン206が押下されていない場合、CPU21は、ステップS1の処理に戻る。
(3−2) 対話性質判定処理
図12は、図2の共有電子白板2のCPU21により実行されるグラフィクス対話プログラムにおける対話性質判定処理(図11のステップS5およびステップS10)の一例を示すフローチャートである。以下、図12を参照しながら対話性質判定処理について説明する。
まず、CPU21は、発話オーバーラップ割合および平均重心間距離を算出する(ステップS51)。なお、上述したように、CPU21は、ステップS5(図11参照)においては、所定時間(例えば、30s)における発話オーバーラップ割合および平均重心間距離を算出する。また、ステップS10(図11参照)においては、ステップS2においてタイマーがオンされてからステップS9において終了ボタン206が押下されるまでの時間、またはステップS8においてタイマーがリセットされてからステップS9において終了ボタン206が押下されるまでの時間における発話オーバーラップ割合および平均重心間距離を算出する。
次に、CPU21は、発話オーバーラップ割合が第1のしきい値(例えば、33%)以上であるか否かを判別する(ステップS52)。発話オーバーラップ割合が第1のしきい値以上であると判別された場合、CPU21は、上記時間における対話が時間的順序制約および論理的制約がともに強い対話であると判定する(ステップS53)。
ステップS52において、発話オーバーラップ割合が第1のしきい値未満であると判別された場合、CPU21は、発話オーバーラップ割合が第2のしきい値(例えば、25%)以上であるか否かを判別する(ステップS54)。発話オーバーラップ割合が第2のしきい値未満であると判別された場合、CPU21は、時間的順序制約および論理的制約がともに弱い対話であると判定する(ステップS55)。
ステップS54において、発話オーバーラップ割合が第2のしきい値以上であると判別された場合、CPU21は、同時描画があったか否かを判別する(ステップS56)。同時描画がなかったと判別された場合、CPU21は、時間的順序制約または論理的制約のどちらか一方のみが強い対話であると判定する(ステップS57)。
ステップS56において、同時描画があったと判別された場合、CPU21は、平均重心間距離がしきい値以上であるか否かを判別する(ステップS58)。平均重心間距離がしきい値未満であると判別された場合、CPU21は、時間的順序制約のみが強い対話であると判定する(ステップS59)。
ステップS58において、平均重心間距離がしきい値以下であると判別された場合、CPU21は、論理的制約のみが強い対話であると判定する(ステップS60)。その後、CPU21は、対話性質判定処理を終了する。
なお、図12のフローチャートでは、CPU21が発話オーバーラップ割合および平均重心間距離に基づいて対話の性質を判定する場合について説明したが、発話オーバーラップ割合、平均重心間距離、描画オーバーラップ割合、平均発話時間、平均視認時間および平均ずれ時間のうち1つの条件に基づいて対話の性質を判定してもよく、複数の条件に基づいて対話の性質を判定してもよい。例えば、発話オーバーラップ割合のみに基づいて対話の性質を判定してもよく、発話オーバーラップ割合および描画オーバーラップ割合に基づいて対話の性質を判定してもよい。
また、図12の処理で用いた各しきい値は、任意に変更してよい。
(3−3) 検索処理
次に、図11のステップS12の検索処理の実行方法について図を参照しながら説明する。
図13は、ユーザが検索処理を行ったときの表示パネル25の状態の一例を示した図である。
検索処理を行う場合、ユーザは、まず検索ボタン203を押圧する。次に、ユーザは、期間入力ウインドウ231に、入力期間(日付および時間)を入力する。次に、ユーザは、選択ボタン233〜237のうち少なくとも一つを選択することにより検索したい対話内容の論理的制約の強さおよび時間的順序制約の強さを決定する。
例えば、論理的制約および時間的順序制約がともに強い対話が行われていた期間の描画データを検索したい場合には、選択ボタン233および選択ボタン235を選択すればよい。また、論理的制約および時間的順序制約のどちらか一方のみが強い対話が行われていた期間の描画データを検索したい場合には、選択ボタン237のみを選択すればよい。なお、図13の例では、選択ボタン234および選択ボタン236が選択されている。この場合、論理的制約および時間的順序制約がともに弱い対話が行われていた期間の描画データが検索される。
次に、ユーザは、実行ボタン204を押圧する。それにより、検索条件指定ウインドウ230に指定された条件に基づいて検索処理が行われる。
ここで、検索処理においては、CPU21は、外部記憶装置26に記憶された対話の性質の判定結果から、検索条件指定ウインドウ230に指定された条件(検索条件)に該当する判定結果を検索する。そして、検索条件に該当する判定結果を有する期間の描画データを取り出し、その期間の最初に描画ウインドウ201に描画されていた描画オブジェクト(以下、ファーストオブジェクトと称する)を表示する。
例えば、図13に示すように、ユーザが実行ボタン204を押圧することにより描画ウインドウ201に20個のスモールウインドウ250が表示され、各スモールウインドウ250に検索された各期間におけるファーストオブジェクトがそれぞれ表示される。ユーザは、スモールウインドウ250を押圧することにより、所望の期間の対話(描画内容)を描画ウインドウ201およびヘッドセット3により再生することができる。
また、図13の例では、描画ウインドウ201にはページ変更ボタン251が表示されており、検索条件に該当する描画データが20件以上ある場合には、ページ変更ボタン251を押圧することにより、次の20件分のファーストオブジェクトをスモールウインドウ250に表示することができる。
なお、図13の例では、描画ウインドウ201にファーストオブジェクトを表示しているが、ファイル名および日時等のファイル情報を描画ウインドウ201に一覧表示してもよい。この場合、ユーザは、一覧表示されたファイル情報のなかから任意の情報を選択することにより、所望の期間の対話(描画内容)を再現することができる。
また、上記実施の形態においては、対話内容の時間的順序制約および論理的制約を「強い」または「弱い」で判定しているが、発話オーバーラップ割合、平均重心間距離、描画オーバーラップ割合、平均発話時間、平均視認時間または平均ずれ時間に基づいて時間的順序制約および論理的制約の強さのレベルを決定してもよい。
また、上記実施の形態では、描画手段として電子ペン4を用いているが、電子ペン4の代わりにマウス等の他のポインティングデバイスを用いてもよい。
また、上記実施の形態では、グラフィクス対話装置として共有電子白板2を用いているが、これに限定されず、タブレットコンピュータ、ディスプレイ、電子ペンまたはマウス等を組み合わせてグラフィクス対話装置を構成してもよい。
(4) 効果
以上のように、本実施の形態に係るグラフィクス対話システムによれば、ユーザの描画に基づいて対話の性質が判定されるので、対話の性質に基づいて描画オブジェクトを効率的に検索することが可能になる。それにより、対話の性質に基づいて所望の描画内容を効率的に再現することができる。
(5) 請求項の各構成要素と実施の形態の各部との対応
上記実施の形態においては、電子ペン4、座標入力手段24および表示パネル25の描画ウインドウ201が描画手段に相当し、描画ウインドウ201が入力手段および表示手段に相当し、CPU21が判定手段に相当し、外部記憶装置26が記憶手段に相当する。
また、ヘッドセット3が取得手段に相当し、視線検出装置が視線検出手段に相当する。
また、電子ペン4、CPU21、座標入力装置24および表示パネル25の検索条件指定ウインドウ230が条件指定手段に相当し、CPU21が検索手段に相当する。
さらに、電子ペン4、CPU21、座標入力装置24および表示パネル25が選択手段に相当し、CPU21および表示パネル25が再生表示手段に相当する。
本発明は、会議、講義等の種々の対話環境等において利用することができる。
本発明の一実施の形態に係るグラフィクス対話装置が適用されるグラフィクス対話システムの構成を示すブロック図である。 図1の共有電子白板の構成を示すブロック図である。 図2の共有電子白板に表示される画像の一例を示す図である。 図2の共有電子白板に表示される画像の一例を示す図である。 図2の共有電子白板に表示される画像の一例を示す図である。 2人のユーザが対話を行っている場合における、各ユーザの描画と発話との関係の一例を示した図である。 2人のユーザによる描画の一例を示した図である。 図7に示した描画オブジェクトが描かれる過程の一例を示した図である。 2人のユーザが対話を行っている場合における、各ユーザの描画期間の一例を示した図である。 3人のユーザが対話を行っている場合における、各ユーザの描画期間の一例を示した図である。 図2の共有電子白板のCPUにより実行されるグラフィクス対話プログラムの全体の処理を示すフローチャートである。 図2の共有電子白板のCPUにより実行されるグラフィクス対話プログラムにおける対話性質判定処理を示すフローチャートである。 ユーザが検索処理を行ったときの表示パネルの状態の一例を示した図である。
符号の説明
1 通信ケーブル
2 共有電子白板
3 ヘッドセット
4 電子ペン
101,102 部屋
11,12 ユーザ
21 CPU(中央演算処理装置)
22 ROM(リードオンリメモリ)
23 RAM(ランダムアクセスメモリ)
24 座標入力装置
25 表示パネル
26 外部記憶装置
27 記録媒体駆動装置
28 通信装置
29 入出力インタフェース
30 記録媒体
201 描画ウインドウ
202 入力ボタン
203 検索ボタン
204 実行ボタン
205 色ボタン
206 終了ボタン
230 検索条件指定ウインドウ
231 期間入力ウインドウ
232 性質指定ウインドウ
233〜237 選択ボタン
250 スモールウインドウ
10A,10B,A1〜A4,B1,B2 描画オブジェクト
a1〜a4,b1,b2 重心
L1,L2 距離

Claims (10)

  1. 他のグラフィクス対話装置と通信可能なグラフィクス対話装置であって、
    使用者による描画の内容を描画データとして入力する描画手段と、
    前記他のグラフィクス対話装置からの描画データを入力する入力手段と、
    前記描画手段および前記入力手段によって入力される前記描画データを描画オブジェクトとして表示する表示手段と、
    前記描画手段によって入力される前記描画データに基づく描画オブジェクトと前記入力手段によって入力される前記描画データに基づく描画オブジェクトとの間の物理的な距離に基づいて、当該グラフィクス対話装置の使用者と前記他のグラフィクス対話装置の使用者との対話の性質を判定する判定手段と、
    前記描画データおよび前記判定手段による判定結果を記憶する記憶手段とを備えたことを特徴とするグラフィクス対話装置。
  2. 他のグラフィクス対話装置と通信可能なグラフィクス対話装置であって、
    使用者による描画の内容を描画データとして入力する描画手段と、
    前記他のグラフィクス対話装置からの描画データを入力する入力手段と、
    前記描画手段および前記入力手段によって入力される前記描画データを描画オブジェクトとして表示する表示手段と、
    前記描画手段および前記入力手段によって同時に入力される描画データの量に基づいて、当該グラフィクス対話装置の使用者と前記他のグラフィクス対話装置の使用者との対話の性質を判定する判定手段と、
    前記描画データおよび前記判定手段による判定結果を記憶する記憶手段とを備えたことを特徴とするグラフィクス対話装置。
  3. 他のグラフィクス対話装置と通信可能なグラフィクス対話装置であって、
    使用者による描画の内容を描画データとして入力する描画手段と、
    前記他のグラフィクス対話装置からの描画データを入力する入力手段と、
    前記描画手段および前記入力手段によって入力される前記描画データを描画オブジェクトとして表示する表示手段と、
    使用者による発話を取得するとともに前記他のグラフィクス対話装置から発話を取得する取得手段と、
    前記取得手段により取得された発話と前記描画手段または前記入力手段により入力された描画データとに基づいて、当該グラフィクス対話装置の使用者と前記他のグラフィクス対話装置の使用者との対話の性質を判定する判定手段と、
    前記描画データおよび前記判定手段による判定結果を記憶する記憶手段とを備えたことを特徴とするグラフィクス対話装置。
  4. 前記判定手段は、当該グラフィクス対話装置および前記他のグラフィクス対話装置のうち少なくとも一方の使用者が描画を行った時間に対して当該グラフィクス対話装置または前記他のグラフィクス対話装置の使用者が描画と発話とを同時に行った時間の占める割合に基づいて前記対話の性質を判定することを特徴とする請求項記載のグラフィクス対話装置。
  5. 前記判定手段は、前記描画手段によって入力された描画データに基づく描画オブジェクトの表示から前記取得手段が他のグラフィクス対話装置から発話を取得するまでの時間および前記入力手段によって入力された描画データに基づく描画オブジェクトの表示から前記取得手段が当該グラフィクス対話装置の使用者の発話を取得するまでの時間に基づいて前記対話の性質を判定することを特徴とする請求項記載のグラフィクス対話装置。
  6. 使用者の操作に基づいて、前記記憶手段に記憶された描画データを検索するための検索条件として少なくとも前記対話の性質を指定する条件指定手段と、
    前記条件指定手段により指定された前記対話の性質に基づいて前記記憶手段から該当する描画データを検索する検索手段とをさらに備えたことを特徴とする請求項1〜のいずれかに記載のグラフィクス対話装置。
  7. 前記条件指定手段は、使用者の操作に基づいて前記検索条件として描画の期間をさらに指定し、
    前記検索手段は、前記指定手段により指定された期間内の描画オブジェクトのうち前記指定手段により指定された前記対話の性質に基づいて前記記憶手段から該当する描画データを検索することを特徴とする請求項記載のグラフィクス対話装置。
  8. コンピュータにより実行可能なグラフィクス対話プログラムであって、
    使用者による描画の内容を描画データとして入力する処理と、
    他のコンピュータからの描画データを入力する処理と、
    前記描画データを描画オブジェクトとして表示する処理と、
    前記描画データに基づく描画オブジェクトと前記描画データに基づく描画オブジェクトとの間の物理的な距離に基づいて、当該コンピュータの使用者と前記他のコンピュータの使用者との対話の性質を判定する処理と、
    前記描画データおよび前記判定の結果を記憶する処理とを、前記コンピュータに実行させることを特徴とするグラフィクス対話プログラム。
  9. コンピュータにより実行可能なグラフィクス対話プログラムであって、
    使用者による描画の内容を描画データとして入力する処理と、
    他のコンピュータからの描画データを入力する処理と、
    前記描画データを描画オブジェクトとして表示する処理と、
    前記描画手段および前記入力手段によって同時に入力される描画データの量に基づいて、当該コンピュータの使用者と前記他のコンピュータの使用者との対話の性質を判定する処理と、
    前記描画データおよび前記判定の結果を記憶する処理とを、前記コンピュータに実行させることを特徴とするグラフィクス対話プログラム。
  10. コンピュータにより実行可能なグラフィクス対話プログラムであって、
    使用者による描画の内容を描画データとして入力する処理と、
    他のコンピュータからの描画データを入力する処理と、
    前記描画データを描画オブジェクトとして表示する処理と、
    使用者による発話を取得するとともに前記他のコンピュータから発話を取得する処理と、
    取得された発話と入力された描画データとに基づいて、当該コンピュータの使用者と前記他のコンピュータの使用者との対話の性質を判定する処理と、
    前記描画データおよび前記判定の結果を記憶する処理とを、前記コンピュータに実行させることを特徴とするグラフィクス対話プログラム。
JP2005204834A 2005-07-13 2005-07-13 グラフィクス対話装置およびグラフィクス対話プログラム Expired - Fee Related JP4635222B2 (ja)

Priority Applications (1)

Application Number Priority Date Filing Date Title
JP2005204834A JP4635222B2 (ja) 2005-07-13 2005-07-13 グラフィクス対話装置およびグラフィクス対話プログラム

Applications Claiming Priority (1)

Application Number Priority Date Filing Date Title
JP2005204834A JP4635222B2 (ja) 2005-07-13 2005-07-13 グラフィクス対話装置およびグラフィクス対話プログラム

Publications (2)

Publication Number Publication Date
JP2007025908A JP2007025908A (ja) 2007-02-01
JP4635222B2 true JP4635222B2 (ja) 2011-02-23

Family

ID=37786601

Family Applications (1)

Application Number Title Priority Date Filing Date
JP2005204834A Expired - Fee Related JP4635222B2 (ja) 2005-07-13 2005-07-13 グラフィクス対話装置およびグラフィクス対話プログラム

Country Status (1)

Country Link
JP (1) JP4635222B2 (ja)

Family Cites Families (3)

* Cited by examiner, † Cited by third party
Publication number Priority date Publication date Assignee Title
JP3821170B2 (ja) * 1996-07-26 2006-09-13 富士ゼロックス株式会社 共同作業情報の管理方法および共同作業支援システム
JP2000067078A (ja) * 1998-08-26 2000-03-03 Canon Inc データ処理方法及び装置
JP2002218138A (ja) * 2001-01-17 2002-08-02 Canon Inc 電子黒板システム及びその制御方法、プログラム並びに記憶媒体

Also Published As

Publication number Publication date
JP2007025908A (ja) 2007-02-01

Similar Documents

Publication Publication Date Title
US11871109B2 (en) Interactive application adapted for use by multiple users via a distributed computer-based system
JP6317853B2 (ja) 保護必要情報の安全なスクリーン共有を伴う電子通信
CN106502638B (zh) 用于提供视听反馈的设备、方法和图形用户界面
US10101902B2 (en) Methods and systems for obscuring text in a conversation
Abowd et al. Designing for the human experience in smart environments
CN110568984A (zh) 在线教学方法、装置、存储介质及电子设备
JP6914154B2 (ja) 表示制御装置、表示制御方法及びプログラム
JP2017211968A (ja) メッセージ提供方法を実行するために記録媒体に保存されたコンピュータプログラム、及びその方法
US9852766B2 (en) User interface for syncronizing audio with video data
US12405705B2 (en) System and method for providing an artificial intelligence control surface for a user of a computing device
US20150088496A1 (en) Minutes making assistance device, electronic conference device, electronic conference system, minutes making assistance method, and storage medium storing minutes making assistance program
Jadon et al. Augmented conversation with embedded speech-driven on-the-fly referencing in AR
JP2018514004A (ja) 漫画データ表示装置及びその方法
JP2022121643A (ja) 音声認識プログラム、音声認識方法、音声認識装置および音声認識システム
CN110109730A (zh) 用于提供视听反馈的设备、方法和图形用户界面
US20210151030A1 (en) Information processing device and information processing method
JPWO2010018770A1 (ja) 画像表示装置
JP4635222B2 (ja) グラフィクス対話装置およびグラフィクス対話プログラム
JP4635219B2 (ja) グラフィクス対話装置およびグラフィクス対話プログラム
Gaffney The revolution will not be handheld
Nguyen et al. Reframing art online through collective meaning-making
JP6638281B2 (ja) 情報処理装置及びプログラム
Koh Exploring Embodied Gestures and Video Filters for More Expressive Virtual Group Meeting Interactions
Lee Augmenting Communication in Extended Reality Through Multi-Modal Systems for Humans and Agents
TWI514259B (zh) 啟動資料項目之指示方法及系統,及其電腦程式產品

Legal Events

Date Code Title Description
A621 Written request for application examination

Free format text: JAPANESE INTERMEDIATE CODE: A621

Effective date: 20080326

A977 Report on retrieval

Free format text: JAPANESE INTERMEDIATE CODE: A971007

Effective date: 20100422

A131 Notification of reasons for refusal

Free format text: JAPANESE INTERMEDIATE CODE: A131

Effective date: 20100511

A521 Request for written amendment filed

Free format text: JAPANESE INTERMEDIATE CODE: A523

Effective date: 20100706

TRDD Decision of grant or rejection written
A01 Written decision to grant a patent or to grant a registration (utility model)

Free format text: JAPANESE INTERMEDIATE CODE: A01

Effective date: 20101019

A01 Written decision to grant a patent or to grant a registration (utility model)

Free format text: JAPANESE INTERMEDIATE CODE: A01

A61 First payment of annual fees (during grant procedure)

Free format text: JAPANESE INTERMEDIATE CODE: A61

Effective date: 20101029

FPAY Renewal fee payment (event date is renewal date of database)

Free format text: PAYMENT UNTIL: 20131203

Year of fee payment: 3

R150 Certificate of patent or registration of utility model

Free format text: JAPANESE INTERMEDIATE CODE: R150

LAPS Cancellation because of no payment of annual fees