JP4635110B2 - 積層体および発光素子 - Google Patents
積層体および発光素子 Download PDFInfo
- Publication number
- JP4635110B2 JP4635110B2 JP2010212391A JP2010212391A JP4635110B2 JP 4635110 B2 JP4635110 B2 JP 4635110B2 JP 2010212391 A JP2010212391 A JP 2010212391A JP 2010212391 A JP2010212391 A JP 2010212391A JP 4635110 B2 JP4635110 B2 JP 4635110B2
- Authority
- JP
- Japan
- Prior art keywords
- layer
- compound semiconductor
- light emitting
- wafer
- substrate
- Prior art date
- Legal status (The legal status is an assumption and is not a legal conclusion. Google has not performed a legal analysis and makes no representation as to the accuracy of the status listed.)
- Expired - Fee Related
Links
Images
Landscapes
- Led Devices (AREA)
- Semiconductor Lasers (AREA)
Description
本発明は、積層体および発光素子に関する。
従来の技術による発光素子について図面を参照しながら説明する。図18は、従来の技術によるInGaAlP可視光LEDの一例を示す。
図18に示すLED100は、N型GaAs基板82の上に、発光に寄与するInGaAlPエピタキシャル成長層84,85,86が形成されている。同図には示されていないが、良質な発光層を得るために、要求仕様に応じて基板とエピタキシャル成長層との間にバッファ層が設けられることもある。
エピタキシャル成長層86の上面と基板82の下面には電流を供給するための電極89がそれぞれ設けられている。同図には示されていないが、上側電極89とエピタキシャル成長層86との間に、電流を拡散するための層や、電気的なコンタクトを取るための層を設けることも多い。エピタキシャル成長層84,85,86のうち、キャリアが再結合して発光するのは活性層85である。活性層85の上下に形成されたエピタキシャル成長層84,86は、キャリアを閉じこめて発光効率を上げるために活性層よりも広いバンドギャップを有するクラッド層84,86である。
これらのエピタキシャル成長層84,85,86は、発光波長の調整やキャリアの閉じ込めのために、バンドギャップを設計に応じて最適に選ぶ必要がある。また、良好なエピタキシャル成長のためには、エピタキシャル成長層の格子定数が基板82の格子定数と整合していることが望ましい。3−5族化合物であるInGaAlPは、3族成分としてIn,Ga,Alの3種を含むため、これらの組成比を選ぶことでバンドギャップと格子定数を独立して設計することができる。
例えば、エピタキシャル成長層の組成を次式
1nx(Ga1-yA1y)1-xP・・・・・・・1)で表した場合、In組成比xを0.5にすることでGaAs基板と格子定数がほぼ整合し、x=0.5のままでA1とGaの組成比yを調整することでバンドギャップを制御することができる。
1nx(Ga1-yA1y)1-xP・・・・・・・1)で表した場合、In組成比xを0.5にすることでGaAs基板と格子定数がほぼ整合し、x=0.5のままでA1とGaの組成比yを調整することでバンドギャップを制御することができる。
例えば、波長644nmの赤色発光LEDを得る場合には、活性層85の組成比をx=0.5,y=0.043にし、クラッド層84,86の組成をx=0.5,y=0.7にすればよい。また、波長562nmの緑色発光LEDを得る場合には、活性層85の組成比をx=0.5,y=0,454にし、クラッド層84,86の組成をx=0.5,y=1.00、即ち、InAlPにすればよい。
以上説明したように、InGaA1P系エピタキシャル成長層は、可視光領域内で発光波長を選ぶことができる。また、化合物半導体基板として最も一般的なGaAs基板に格子整合したエピタキシャル成長が可能であるため、基板の入手やエピタキシャル成長が比較的容易であるという利点がある。
しかし、この反面、GaAs基板には可視光領域の光を吸収するという欠点がある。このため、InGaA1Pエピタキシャル成長層で発光した光の一部がGaAs基板に吸収されるので、LEDの輝度の低下が避けられない。輝度低下を避けるためには、可視光領域に対し透明な材料を基板に使用すればよい。一般的な透明材料としてはGaPがあるが、GaP基板はInGaA1P系と格子整合がとれないため良好なエピタキシャル成長が難しい。この問題を解決するために、InGaA1Pエピタキシャル成長層とGaP基板とをウェーハ接着(Wafer Bonding)する方法が、1993年出願のUSP5,376,580に提案され ている。この提案はエピタキシャル成長層からGaAs基板を取り除き、代わりにGaP基板を密着させて、圧力をかけながら熱処理をし、一体化する方法である。この方法によりLEDの輝度増加が図れるが、GaAs基板を除去した後のエピタキシャル成長層が薄いため取り扱いが難しく、また圧力を印加しながら熱処理をするので特殊な装置を用いる必要があり、ウェーハ接着工程の安定性や生産性に問題があった。
次に、ウェーハ接着について説明する。2種のウェーハを接合一体化できれば、格子定数に関わらず自由に異種材料による積層構造が得られたり、SOI(Silicon on Insulater)に代表されるように内部に異種物質を埋め込むことができる。このため古くから種々のウェーハ接着技術が提案されてきた。例えば、上述した2枚のウェーハを押しつけながら熱処理する接着方法は、1970年出願の特許第765892号に記載されている。ウェーハ接着は古くから求められていた技術であったが、ウェーハの全面に渡って一体化することが困難であるため、長らく実用化されなかった。
本発明者らは、実用に耐える技術として「直接接着」あるい「直接接合」と呼ばれる技術を開発した。例えば、Siウェーハ同士の直接接着は特許文献1に記載されている。また、化合物半導体ウェーハの直接接着は特許文献2に記載されている。
直接接着技術は、表面を鏡面とした2枚の基板同士を、実質的に異物がない雰囲気下において、室温で自力密着させ、その後熱処理で接合一体化するものである。熱処理の前から全面が密着しているため、未接着部を残すことなく全面を接合でき、また熱処理中に圧力をかける必要がないので、特殊な装置や器具を必要としない利点がある。Siウェーハ同士の直接接着の機構は次のように考えられている。
即ち、まず始めに洗浄や水洗によりウェーハの表面にOH基を形成させる。そこでウェーハ表面同士を接触させると、OH基同士が水素結合により引き合い、室温でウェーハが密着する。密着力は強く、通常のウェーハの反りであれば、これを矯正して全面が密着する。熱処理中には、100℃を上回る温度において脱水縮合反応(Si−OH:HO−Si→Si−O−Si+H2O)が起こり、酸 素原子を介してウェーハ同士が結合し接着強度が上がっていく。さらに高温になると接着界面近傍の原子の拡散と再配列が起こり、強度的にも電気的にもウェーハが一体化する。化合物半導体の接着機構も同様と考えられている。
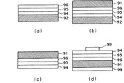
次に、直接接着を利用してGaP基板に密着されたInGaAlP系エピタキシャル成長層を備えるLEDの製造方法の一例を図19を参照しながら説明する。
まず、図19(a)に示すように、N型GaAs基板92の上にN型クラッド層94、活性層95,P型クラッド層96を成長させる。次いで、図19(b)に示すように、エピタキシャル成長層96の表面にGaP基板91を直接接着する。さらに、図19(c)に示すように、研磨やエッチングなどによりGaAs基板92を除去し、上下を逆にしてN型クラッド層94の上面とGaP基板91の下面に電極99を設けると、図19(d)に示すように、GaPを基板91としたInGaA1P系LEDが得られる。
このように異種材料同士を直接接着する場合、特にエピタキシャル成長層の表面を直接接着する場合には、例えばSi同士やGaAs同士の同種のウェーハ同士の直接接着に比べ、以下に述べる問題がある。
第一に、エピタキシャル成長層の表面はウェーハ表面に比べて、パーティクル(ゴミなどの異物)の付着が多い。このため室温での貼り合わせに支障をきたし、熱処理後も全面が接合せず、ボイドと呼ばれる未接着部分が発生する問題がある。一般に、ウェーハ表面は清浄に保たれており、エピタキシャル成長用の基板にも清浄なウェーハを使用するが、エピタキシャル成長中に反応物が堆積したり、エピタキシャル成長工程の前処理工程や後処理工程で異物が付着するなど、エピタキシャル成長層表面へのパーティクル付着は、現状ではある程度避けられない。
第二に、エピタキシャル成長によりウェーハが反るため、ウェーハ全面を室温密着ができない問題がある。
第三に、異種材料間に熱膨張差があるため熱処理中に熱応力が発生し、応力により接着した基板が破壊する問題がある。
第四に、異種材料間に熱膨張差があるために、接着した基板の破壊が生じない場合であっても、接着のための熱処理中に接着界面に「ずれ」が生じ、この「ずれ」によって基板全面を均一に接着できない問題がある。
第五に、接着界面に電気抵抗が生ずるという問題がある。すなわち、本発明者の独自の検討の結果、ウェーハ同士を接着すると、接着界面に電気的な抵抗成分が生ずることが判明した。このような接着基板を用いて、例えばLEDを形成した場合には、接着界面の電気抵抗はLEDの動作電圧を上昇させ、発光不良や発熱などの問題を生じる。
本発明は、互いに接着される第1および第2の化合物半導体層の接着界面の結晶性を改善し、電気的な抵抗成分を大幅に低減できる積層体および発光素子を提供するものである。
本発明の一態様によれば、第1の化合物半導体層と、
前記第1の化合物半導体層と一体的に接着された第2の化合物半導体層と、を備え、
前記第1の化合物半導体層の(111)A面と(111)B面とのいずれか一方が優先的に出現した面と、前記第2化合物半導体層の(111)A面と(111)B面とのいずれか他方が優先的に出現した面と、が接着されてなることを特徴とする積層体が提供される。
前記第1の化合物半導体層と一体的に接着された第2の化合物半導体層と、を備え、
前記第1の化合物半導体層の(111)A面と(111)B面とのいずれか一方が優先的に出現した面と、前記第2化合物半導体層の(111)A面と(111)B面とのいずれか他方が優先的に出現した面と、が接着されてなることを特徴とする積層体が提供される。
本発明によれば、互いに接着される第1および第2の化合物半導体層の接着界面の結晶性を改善し、電気的な抵抗成分を大幅に低減できる。
以下、本発明の実施の形態のいくつかについて図面を参照しながら説明する。
(第1の実施の形態)
まず、本発明の第1の実施の形態について説明する。本実施形態は、本発明にかかる接着型半導体基板をInGaAlP系LEDに適用した形態である。
まず、本発明の第1の実施の形態について説明する。本実施形態は、本発明にかかる接着型半導体基板をInGaAlP系LEDに適用した形態である。
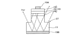
図1は、本実施形態のInGaAlP系LEDを示す略示断面図である。同図に示すLED1は、活性層15と、この活性層15を介在させて積層形成されたN型クラッド層14,P型クラッド層16でなる積層体10と、この積層体の下面に一体的に接合されたGaP基板11と、N型クラッド層14の上面側とGaP基板11の下面にそれぞれ形成された電極19と、を備えている。
積層体10は、図示しないGaAs基板を成長用基板として化合物半導体の混晶をエピタキシャル成長させることにより形成されたものである。GaP基板11は、P型クラッド層16との接合面を主面とすると、この主面が鏡面加工され、積層体10が成長用基板上に形成されたままで室温にて直接密着接合されている。成長用基板は、密着接合後に除去されている。
活性層15および2つのクラッド層14,16はいずれも前述した組成式1)で表わすことができ、後述するように、各組成を好適に選択することにより特に室温で成長用基板と格子整合されているので、成長用基板の反りが大幅に低減され、この結果GaP基板11の積層体10への全面接合が可能となっている。
本実施形態において、GaP基板11は、P型で直径が2インチ、厚さが250μmであり、P型クラッド層16は0.6μmの厚さを有し、その組成比は前述の1)式を用いて表すとx=0.5,y=1.0である。また、活性層15は、厚さ0.6μmで組成比がx=0.5,y=0.28である。さらに、N型クラッド層14は、厚さ0.6μmmであり、その組成比は、x=0.5,y=1.0である。
このように、本実施形態のLED1は、可視光領域の光を吸収しないGaP基板11上に形成されているため、高い輝度で発光させることができる。このLED1の発光特性を評価したところ、図18に示した従来のGaAsを基板とするLED100の2倍以上の明るさを有することが確認された。
(第2の実施の形態)
次に、本発明の第2の実施の形態として、接着型半導体基板の製造方法の実施の形態について図面を参照しながら説明する。以下の説明においては、InGaAlP系LEDの製造に適用した具体例として説明し、より具体的には図1に示すLED1の製造方法の実施例のいくつかを示す。
次に、本発明の第2の実施の形態として、接着型半導体基板の製造方法の実施の形態について図面を参照しながら説明する。以下の説明においては、InGaAlP系LEDの製造に適用した具体例として説明し、より具体的には図1に示すLED1の製造方法の実施例のいくつかを示す。
(第1の実施例)
まず、本発明にかかる接着型半導体基板の製造方法の第1の実施例について図2を参照しながら説明する。本実施例は、第1の半導体基板上に形成されたエピタキシャル成長層の表面へのパーティクル付着を解決するものであり、その特徴は、エピウェーハの表面にカバー層を形成し、第2の半導体基板をエピウェーハに直接接着する前に、エピウェーハに付着したパーティクルをカバー層とともに除去する点にある。
まず、本発明にかかる接着型半導体基板の製造方法の第1の実施例について図2を参照しながら説明する。本実施例は、第1の半導体基板上に形成されたエピタキシャル成長層の表面へのパーティクル付着を解決するものであり、その特徴は、エピウェーハの表面にカバー層を形成し、第2の半導体基板をエピウェーハに直接接着する前に、エピウェーハに付着したパーティクルをカバー層とともに除去する点にある。
図2(a)〜(d)は、本実施例の製造方法を具体的に説明する略示断面図である。なお、図2は、図1の上下を逆にした記載となっている。
図2(a)に示すように、直接接着に供するエピウェーハには、N型GaAs基板12上にバッファ層18,N型クラッド層14、活性層15,P型クラッド層16、および表面カバー層17が順次積層されて形成されている。これらのエピタキシャル成長層は、例えばMOCVD(Metal Organic Chemical Vapor Deposition)法により形成される。
N型GaAs基板12は、サイズが直径2インチ、厚さ250μmであり、不純物としてSiが約1E18/cm3のキャリア濃度でドープされており、さらにその主面は鏡面仕上げとなっている。バッファー層18はGaAsで、厚さは0.5μmである。最上層の表面カバー層17は、GaAsで形成され、その厚さは0.1μmである。
次に、エピウェーハを界面活性剤で洗浄した後、容積比で硫酸8、過酸化水素水1、水1の混合液にエピウェーハを浸漬してエッチングを行い、図2(b)に示すように、表面カバー層17を除去した。この混合液は、GaAsカバー層を選択的にエッチングするもので、数秒で表面カバー層17が除去されたことが観察できたが、1分間侵漬を続けてPクラッド層16の表面を完全に表出させた。
次いで、表面カバー層17を除去したエピウェーハとGaP基板11との直接接着を行い、図2(c)に示す被接着体を得た。以下、直接接着の工程をより詳細に説明する。
直接接着の前処理として、GaP基板11を界面活性剤で洗浄し、希弗酸に浸漬して表面の自然酸化膜を除去し、水洗をした後にスピナで乾燥させた。また、エピウェーハは上述した方法で表面カバー層17を除去した後、GaP基板11と同様にして酸化膜除去のため希弗酸処理を行い、水洗とスピナ乾燥を行なった。これらの前処理は、すべてクリーンルーム内の清浄な雰囲気下で行った。
次に、前処理を終えたエピウェーハをエピタキシャル成長層が上方になるように載置し、その上にGaP基板11を、鏡面が下向きになるように載置し、室温で密着させた。GaPは透明であるため密着状態を目視にて観察できる。GaP基板11をエピウェーハに載置すると、エピウェーハが正面視で凸形状をなすように反っているため、GaP基板11の中央部が最初に密着した。そのまま放置するだけで密着部が自然にGaP基板11の周辺部へ向って広がり、1分以内にGaP基板11の周縁の面取り部分を除いて全面が密着した。同様の操作を繰り返し、計10組の室温密着を行ない、そのすべてが全面密着した。本実施例との比較のため、カバー層17を設けなかったエピウェーハを準備してカバー層に対するエッチング以外は本実施例と同様の工程を経て室温密着を試みた。その結果、カバー層17を設けなかったエピウェーハは、10組のうち6組にボイドが発生し、1組は室温での密着ができなかった。
直接接着の最終工程として、室温で密着している被接着体を石英ボートに立てて並べ、拡散炉内に入れて熱処理を行った。被接着体を5組ずつに分け、片方を800℃で、もう片方を400℃で熱処理した。いずれも処理時間は1時間で、雰囲気は水素を10%含むアルゴンである。熱処理工程後、800℃の被接着体は、5組中3組が割れるか、またはエピウェーハ側にクラックが入っていた。この一方、400℃で熱処理した5組については、割れたりクラックが入ったりしたものはなかった。熱処理工程における温度に応じたこのような相違は、GaAsを基板とするエピウェーハとGaP基板11とは熱膨張係数が異なるため、室温被接着体を高温で熱処理する際に熱応力が発生し、この結果被接着体が破壊されるためである。熱処理温度が低い場合は、温度にほぼ比例して昇温時の熱膨張差と降温時の熱収縮差が小さくなるため、400℃の熱処理では破壊が起こらなかった。
次に、図2(d)に示すように、エピウェーハのGaAs基板12を除去した。このGaAs基板12の除去工程は、被接着体をアンモニアと過酸化水素水の混合液に浸漬し、GaAsを選択的にエッチングすることにより処理した。このエッチングによりGaAsバッファ層18も同時に除去された。
最後に、GaP基板11とN型クラッド層14に電極19を設け、図1に示すLED1を得た。
以上、InGaAlPエピタキシャル成長層上のGaAsカバー層を選択エッチングで除去してから接着する工程を中心に本発明にかかる半導体発光素子の第1の実施例を説明した。但し、カバー層は必ずしもすべて除去する必要はなく、同様の効果が得られる範囲内で表面からその一部を除去してもよい。また、カバー層を設けずに、接着するエピタキシャル成長層の表面部分を除去してもよい。
本実施例においては、直接接着するクラッド層が発光に寄与する層であるため、厚さを精密に制御するために、カバー層を設けた上でこれを選択エッチングで完全に除去したものである。
本実施例の表面パーティクル除去方法は、上述したInGaA1P系エピタキシャル成長層とGaP基板との直接接着に限らず、エピタキシャル成長層にウェーハ接着する場合に有効である。また接着法も上述した直接接着に限らず、荷重をかけながら熱処理する方法、電圧をかけて接着する方法、さらに接着層や接着材料を使用して接着する方法においても、接着表面のパーティクルは接着の障害になるため、本実施例の表面パーティクル除去方法は適用可能である。
(第2の実施例)
次に、本発明にかかる密着型半導体基板の製造方法の第2の実施例について説明する。
本実施例は、エピウェーハの反りが大きい場合に、InGaA1P系材料の格子定数を調整することにより、直接接着工程の室温密着が不完全となる問題を解決するものである。
その他の製造方法は、前述した第1の実施例と略同一である。本実施例についても図1に示すLED1の製造方法に適用した具体例として図2の略示断面図を用いて説明する。
次に、本発明にかかる密着型半導体基板の製造方法の第2の実施例について説明する。
本実施例は、エピウェーハの反りが大きい場合に、InGaA1P系材料の格子定数を調整することにより、直接接着工程の室温密着が不完全となる問題を解決するものである。
その他の製造方法は、前述した第1の実施例と略同一である。本実施例についても図1に示すLED1の製造方法に適用した具体例として図2の略示断面図を用いて説明する。
上述した第1の実施例では、厚さの合計が1.8μmのInGaAlP系エピタキシャル成長層を有するエピウェーハと、厚さ250μmのGaP基板とを使用し全面密着が可能であった。このエピウェーハには11μm〜18μmの反りがあったが、室温密着カがエピウェーハの反りを矯正した結果、また、GaP基板をエピウェーハに合わせて凹に反らした結果、全面が密着した。
これに対して、InGaAlP系エピタキシャル成長層の厚さ合計が3.6μmのエピウェーハと、厚さ350μmのGaP基板を使用して、同様の直接接着を試みた。エピウェーハは、基板と各エピタキシャル成長層の組成を第1の実施例と同一にし、厚さは、活性層15とバッファー層18とカバー層17については同一だが、N型クラッド層14とP型クラッド層16はそれぞれ1.5μmと厚くしてある。この結果、エピウェーハの反りは24〜36μmと、ほぼInGaA1P系エピタキシャル成長層の厚さ合計に比例して大きくなっていた。
この場合、エピウェーハの中央領域は室温で密着したが、全面の密着はできなかった。
ここで、エピウェーハを平坦な真空チャックに吸着させると全面密着が可能であった。このことから、全面接着できない原因は、エピウェーハの反りが大きいことと、さらに、GaP基板が厚く変形しにくいことにより、室温密着カがウェーハの反りを矯正できなくなった点にあることが分る。
ここで、エピウェーハを平坦な真空チャックに吸着させると全面密着が可能であった。このことから、全面接着できない原因は、エピウェーハの反りが大きいことと、さらに、GaP基板が厚く変形しにくいことにより、室温密着カがウェーハの反りを矯正できなくなった点にあることが分る。
本実施例の特徴は、InGaA1P系材料の特性を利用して、バンドギャップなどの発光に影響する特性を変えることなく、格子定数を調整して、エピウェーハの反りを減らすことにある。1nGaAlP系材料は、InP,GaP,A1Pの混晶である。一般にベガード則と呼ばれる法則によれば、混晶の格子定数やバンドギャップは、混晶を構成する物質の格子定数とバンドギャップとを構成比に応じて平均化した値となる。いくつかの1nGaAlP材料について、1)式の組成比x,yと、これらxおよびyから換算したInP,GaP,AlPの構成比と、この構成比からベカード則より計算した格子定数およびバンドギャップとを図3に示す。格子定数についてはGaAsの格子定数0.56533nmとの比を合わせて示した。同図中、番号1,2,3は、対応する組成比から分るようにそれぞれ1nP,AlP,GaP単体の場合であり、格子定数とバンドギャップとの計算にはこの欄の値を使用した。
本発明にかかる接着型半導体基板の製造方法の第1の実施例で説明した、室温で全面密着ができなかったエピウェーハの組成は、番号4と5の欄に示し、また、従来の技術で説明した従来の赤色LEDと緑色LEDの組成は番号6〜9の欄に示している。従来の赤色と緑色LEDについては、いずれの格子定数もGaAsより大きく、これがエピウェーハが反る原因となっている。
従来、エピタキシャル成長層の格子定数は、エピタキシャル成長を行う高温において基板の格子定数との間で整合が取られていた。これは、成長中の格子歪みを減らし高品質のエピタキシャル成長層を得ることを目的としている。しかしながら、高温で格子定数が合っていても、エピタキシャル成長層の熱膨張係数と基板の熱膨張係数は一般に異なるため、接着工程で室温にまで低下すると格子定数が合わなくなり、これが反りの発生原因となっている。
本実施例の特徴は、直接接着を実現するために室温における格子整合を重視し、エピウェーハの反りを減らしたことにある。その具体的手段は、以下の通りである。
図3において、番号10〜19の欄には、室温で全面密着ができなかったエピウェーハ(番号5)を元にクラッド層のIn組成xを減らしていった場合の格子定数の変化を示している。xが0.47で格子定数はGaAsと同じになり、0.47を下回ると、格子定数は逆にGaAsよりも小さくなり、この結果エピウェーハを凹に反らせる応力が働く。
そこで、クラッド層の組成だけを変えてエピウェーハを試作し直接接着試験を行った。xの値を減らすとエピウェーハの反りは減少し、x=0.47で反りは6〜12μmと小さくなり、室温での全面密着が可能であった。x=0.48またはx=0.49でも全面接着できるGaP基板があった。xを0.45にすると成長中の格子不整合が大きくなり、結晶欠陥が増えた。xの値の許容範囲は、エピタキシャル成長層の厚さや、接着するGaP基板の厚さにも依存するため、一概には規定できないが、従来の0.5より小さければ反り低減の効果があり、0.45以下になるとエピタキシャル成長に不都合が生じる。なお、In組成を減らすことによりバンドギャップが大きくなるが、クラッド層はキャリアを閉じこめる機能を有し、直接発光しないため、発光波長に影響することは少ない。本実施例では、発光波長の変化を避けるために、活性層の組成を変えなかった。また、ウェーハの反りは方法の如何を問わずウェーハ接着の障害となるため、本実施例は、InGaA1P系エピタキシャル成長層とGaPウェーハとの直接接着に限らず、他のウェーハ接着に適用しても同様の効果を有する。
そこで、クラッド層の組成だけを変えてエピウェーハを試作し直接接着試験を行った。xの値を減らすとエピウェーハの反りは減少し、x=0.47で反りは6〜12μmと小さくなり、室温での全面密着が可能であった。x=0.48またはx=0.49でも全面接着できるGaP基板があった。xを0.45にすると成長中の格子不整合が大きくなり、結晶欠陥が増えた。xの値の許容範囲は、エピタキシャル成長層の厚さや、接着するGaP基板の厚さにも依存するため、一概には規定できないが、従来の0.5より小さければ反り低減の効果があり、0.45以下になるとエピタキシャル成長に不都合が生じる。なお、In組成を減らすことによりバンドギャップが大きくなるが、クラッド層はキャリアを閉じこめる機能を有し、直接発光しないため、発光波長に影響することは少ない。本実施例では、発光波長の変化を避けるために、活性層の組成を変えなかった。また、ウェーハの反りは方法の如何を問わずウェーハ接着の障害となるため、本実施例は、InGaA1P系エピタキシャル成長層とGaPウェーハとの直接接着に限らず、他のウェーハ接着に適用しても同様の効果を有する。
(第3の実施例)
次に、本発明にかかる接着型半導体基板の製造方法の第3の実施例について図面を参照しながら説明する。本実施例は、直接接着するウェーハ間の熱膨張差による破壊の問題を解決する方法を示すものである。
次に、本発明にかかる接着型半導体基板の製造方法の第3の実施例について図面を参照しながら説明する。本実施例は、直接接着するウェーハ間の熱膨張差による破壊の問題を解決する方法を示すものである。
前述した第1の実施例では、熱処理温度を400℃まで下げることにより直接接着熱処理による基板破壊を免れた。熱膨張量は熱処理温度にほぼ比例するため、熱処理温度の低下は基板破壊の防止に寄与する。この一方、熱処理温度を下げると、接着界面での原子の移動と再配列が不十分となるため、接合が不完全になるおそれがある。本実施例は接着型半導体基板の製造方法をLED製造に応用するものであるため、接合強度がLED製造プロセスに耐えることと、接着界面を横切って電流を流せることが求められる。第1の実施例では、接合強度に関しては400℃の熱処理でも本発明にかかるLEDの製造に十分な強度が得られた。直接接着界面の電気抵抗を評価するために、一定電流20mmAを順方向に流したときの電圧VFを測定した。この際、電極のコンタクト抵抗を減らすために、図4のエッチング停止層を利用して、クラッド層と電極との間にGaAsコンタクト層を設けた。第1の実施例のLEDのうち、800℃で接着熱処理をしたもののVFは平均2.0V、最大2.lVで、従来のLEDのVFと同じであった。これに対して400℃で接着熱処理をしたLEDのVFは、平均は2.lVで同程度であるのに対し、最大が3.2Vと大きく、直接接着が不完全な部分があることを示している。この測定結果は、熱処理温度低下によるウェーハ熱膨張差の減少が接着の完全性と両立しない場合があることを示唆している。
本実施例の接着型半導体基板の製造方法を図4を参照しながら説明する。図4(a)は本実施例の製造方法に用いるエピウェーハを示す。同図に示すエピウェーハは、GaAsバッファー層38とGaAs基板32の問にエッチング停止層33を形成した点が図2(a)に示すエピウェーハと異なり、その他の点は実質的に同一である。エッチング停止層33は厚さ0.2μmのInAlPである。後述するGaPウェーハ31も第1の実施例と実質的に同一のものを使用した。
まず、図4(a)〜(c)に示すように、直接接着工程のうち室温貼り合わせまでの工程を第1の実施例と同様に行なった。
次に、熱処理をする前にGaAs基板32を除去する。この点が本実施例の特徴である。図4(c)に示す室温被密着体をアンモニアと過酸化水素水の混合液に浸漬し、GaAs基板32をエッチングにより取り除いた。このエッチング液はInAlPをエッチングしないので、エッチング後は、図4(d)に示すように、エッチング停止層33が表面に残っている。
GaAs基板32を取り除いた後、第1の実施例と同様に熱処理をした。処理温度は第1の実施例で用いた2つの温度のうち、高い方の800℃とした。
次に、図4(e)に示すように、熱処理後、リン酸と過酸化水素水と水の混合液でエッチング停止層33をエッチングにより除去し、また、硫酸と過酸化水素水と水の混合液でバッファー層38を一部残してエッチングにより取り除き、さらに第1の実施例と同様にN型クラッド層34の上側のバッファ層を残した部分とGaP基板31の下面に電極39を設けて、図4(f)に示すLED2を得た。残したバッファ層は、コンタクト層の役割を果たす。
800℃で熱処理をすると、第1の実施例では5組中3組の被接着体が破壊したが、本実施例では5組すべてが割れずクラックも見られなかった。また本実施例のLED2の特性は、輝度およびVFとも、第1の実施例の被接着体のうち、800℃の熱処理で破壊されなかった被接着体から製造したものと同じであった。
熱処理をする前にエピウェーハのGaAs基板32を除去することで、熱処理による被接着体の破壊を免れた理由は次のとおりである。即ち、被接着体の破壊は、エピウェーハの熱膨張係数とGaP基板31の熱膨張係数との差異に基づく。エピウェーハの容積のほとんどはGaAs基板32で構成されるので、エピウェーハの平均熱膨張係数はほぼGaAsに等しい。GaAsはGaPより熱膨張係数が大きいため、エピウェーハの平均熱膨張係数もGaP基板31より大きい。この一方、エピタキシャル成長層の格子定数はGaAs基板32に適合させているにもかかわらず、エピウェーハはエピタキシャル成長層側が凸に反っている。このことは、エピタキシャル成長層の熱膨張係数がGaAs基板32の熱膨張係数よりも小さいことを示している。従って、エピウェーハからGaAs基板32を除去すれば、エピウェーハの平均熱膨張係数はエピタキシャル成長層の熱膨張係数となり、GaP基板31に近くなる。この結果、熱処理をしても被接着体の破壊が起こらなくなる。従って、GaAs基板32のすべてを熱処理前に除去しなくても、その一部を除去することでもエピウエーハの平均熱膨張係数がGaP基板31に近づき、熱処理中の被接着体の破壊を防止する効果がある。
また、本実施例ではエッチング停止層33を利用して、N型クラッド層34が熱処理中に露出しないようにした。これは、InGaAlP系材料を高温で加熱すると蒸気圧が高いP(リン)が蒸発し、いわゆるリン抜けを起こす可能性があるため、これを防止するのが目的である。このように、活性層やクラッド層などの発光に直接関与するエピタキシャル成長層は、熱処理中に露出させないことが望ましい。
異種材料同士の直接接着に関しては、特許第2801672号で、低温で熱処理をした後に一方のウェーハを薄くして高温で熱処理をする方法が本発明者らにより提案されている。この方法は、一方のウェーハを薄くすることで、他方のウェーハへ印加される熱応力を減らすもので、本実施例のようにエピウェーハ全体の平均熱膨張係数を変えて熱応力を減らすものではない。
本発明にかかる接着型基板の製造方法でも、低温で熱処理をして所定の接着強度を得てからエピウェーハの基板を除去し、その後所定の高温で熱処理をすることも可能である。
ただし、本実施例のように接着面の電気的特性が問題となる場合には、低温熱処理を100〜300℃以下の低い温度で行うことが望ましい。この理由は次のとおりである。即ち、脱水縮合反応の進行で接着強度は増加するが、同時に脱離する水分も増える。そのまま温度を上げて接着反応を完結させればよいが、一度熱処理を止めると水分が接着界面に固定され、再度高温に昇温しても電気特性に悪影響を与える可能性が高いためである。
ただし、本実施例のように接着面の電気的特性が問題となる場合には、低温熱処理を100〜300℃以下の低い温度で行うことが望ましい。この理由は次のとおりである。即ち、脱水縮合反応の進行で接着強度は増加するが、同時に脱離する水分も増える。そのまま温度を上げて接着反応を完結させればよいが、一度熱処理を止めると水分が接着界面に固定され、再度高温に昇温しても電気特性に悪影響を与える可能性が高いためである。
(第3の実施の形態)
次に、本発明の第3の実施の形態について説明する。本実施形態は、2枚のウェーハを接着する際に、結晶学的にみて、一方のウェーハの「裏」と他方のウェーハの「表」とが接合されるように向きを揃える点に特徴を有する。
次に、本発明の第3の実施の形態について説明する。本実施形態は、2枚のウェーハを接着する際に、結晶学的にみて、一方のウェーハの「裏」と他方のウェーハの「表」とが接合されるように向きを揃える点に特徴を有する。
図5は、本実施形態にかかる基板の接着方法を説明するための概念図である。
すなわち、半導体基板は、通常は、図5(a)に例示したような単結晶インゴットから所定の結晶方位にスライスされることにより得られる。
そして、従来は、図5(b)に例示したように、このようなインゴットIGからスライスされたウェーハ111、112の表面111A、112Aをそれぞれ鏡面研磨し、必要に応じてその表面に図示しないエピタキシャル層などを形成し、しかる後に、表面111Aと112Aとが向き合う向きに対向させて接着していた。
ここで、接着界面の抵抗に関しては、シリコン(Si)同士の接着と、化合物の接着では差異がある。すなわち、シリコン(Si)同士では、接着するウェーハの結晶方位に関わらず、接着面のキャリア濃度を高くして、接着熱処理温度を適切な範囲に選べば、界面に電気抵抗は発生しない。例えば、(100)面に(111)面を接着しても、(100)面同士のウェーハを互いに45度回転させて界面抵抗はない。
これに対して化合物、特にLED用ウェーハなどの接着の場合は、キャリア濃度を高くするだけでなく、接着するウェーハ間の面方位を整合させないと、界面に抵抗が発生する。
この現象に従って、界面抵抗を減らすために、結晶の方向に対して同じ角度の傾きを持つウェーハ同士を、相互に回転させずに結晶の回転方向の向きを合わせて接着する方法が、米国特許(USP)第 5,661,316号で提案されている。
この現象に従って、界面抵抗を減らすために、結晶の方向に対して同じ角度の傾きを持つウェーハ同士を、相互に回転させずに結晶の回転方向の向きを合わせて接着する方法が、米国特許(USP)第 5,661,316号で提案されている。
これに対して、本発明者は、種々の結晶方向を組み合わせて接着を試みた結果、ウェーハの傾きと回転方向を合わせるだけでは不十分で、特に結晶に対して傾いた面を持つウェーハでは、一方のウェーハの「表」面に、他方のウェーハの「裏」面を接着することが、界面抵抗を減らす上で大きな効果があることを見いだした。
すなわち、本実施形態においては、図5(c)に表したように、ウェーハ111の裏面111Bとウェーハ112の表面112Aとが向き合う向きに対向させて接着する。本発明者は、後に詳述するように、このように接着すると接着界面の結晶性を改善し、電気的な抵抗成分を大幅に低減できることを見いだした。
例えば、閃亜鉛型構造を有するIII-V族化合物半導体を例に挙げると、図5(a)に表したように、[100]方向に成長させた単結晶インゴットIGには、その成長軸に対して傾斜して(111)A面が表れる方向と、(111)B面が表れる方向とが存在する。
ここで、(111)A面は、例えば、III属元素が表面に優勢に表れる原子面であり、(111)B面は、V属元素が表面に優勢に表れる原子面である。
ここで、(111)A面は、例えば、III属元素が表面に優勢に表れる原子面であり、(111)B面は、V属元素が表面に優勢に表れる原子面である。
そして、このような単結晶インゴットから(111)A面に所定の角度をもって傾けた方向にスライスして得られた半導体基板111、112の表面は、(111)A面の物性が優勢に表れる表面111A、112Aを有する。これに対して、これらの半導体基板111、112の裏面111B、112Bは、(111)B面の物性が優勢に表れる面となる。
結晶を傾けてスライスするのは、いわゆる「ジャスト」方位の基板よりも、傾いた表面方位を有する基板の方がエピタキシャル成長に都合がよいためで、一般に(100)面を(111)面方向に傾ける。ところが、GaAsやGaPのような化合物半導体の場合は、上述したように、(111)面には2種類有り、一方は表面がIII族のGaで覆われ、他方はV族のAsやPで覆われる。そして(111)面が表面になるように結晶を加工してウェーハを作ると、その表面と裏面は互いに異なる面になることが知られている。
図5の場合、例えば、表面側が(111)III族面に傾くようにスライスすると、裏面は(111)V族面に傾く。従って、図5(c)に表したように2枚の半導体基板の表面と裏面とを接着することは、(111)III族面に傾いた面と(111)V族面に傾いた面とを接着することにほかならない。
(100)面を(111)III族面に傾けた面は、(100)面と(111)面が混在し、III族原子の比率が高い。逆に(111)V族面に傾いた面はV族原子の比率が高い。
両者を組み合わせると、接着界面でIII族とV族の比が保たれ、電気特性に悪影響を与えるダングリングボンドが減り、電気抵抗を減らすことができる。
両者を組み合わせると、接着界面でIII族とV族の比が保たれ、電気特性に悪影響を与えるダングリングボンドが減り、電気抵抗を減らすことができる。
従って、接着する半導体基板の材料が同一である場合には、表面の傾斜角度は2枚の基板の間で相互に近いことが望ましい。この場合に、最もIII族原子とV族原子のバランスが良好になるからである。
一方、異なる材料の半導体基板同士を接着する場合には、両者の物性に合わせて、表面の傾斜角度も調節することが望ましい。材料が異なる場合には傾斜角度に対するIII族原子やV族原子の比率も異なる場合があるからである。
また、異方性が出現する方向(例えば、GaAsやGaPにおける<111>方向)の傾斜角(オフアングル)が小さい表面を有する半導体基板の場合には、表面同士を組み合わせてもダングリングボンドの数が少なく、界面抵抗の上昇は比較的小さい傾向がある。
これに対して、傾斜角が10度以上の場合は、裏面と表面を組み合わせると顕著な効果が得られる。
これに対して、傾斜角が10度以上の場合は、裏面と表面を組み合わせると顕著な効果が得られる。
一方、本発明者の検討の結果によれば、表面の傾斜角が小さい場合、例えば傾斜角が0度の(100)ジャスト面を表面に有する基板を接着する場合でも、裏面と表面とを接着すると効果が見られる。従来は、(100)面は裏面も表面も電気的に等価と考えられていた。しかし、GaAsやGaPのようなIII-V族化合物半導体は閃亜鉛構造を有し、III族原子とV族原子がそれぞれ別の面心立格子位置に配置し、これらの格子が互いに対角線方向に格子定数の1/4だけずれている。従って、(100)面は、III族原子かV族原子の一方が最表面に出て、他方は1/4格子分だけ内部にあると推測される。この場合、基板の裏面においては、電気的中性を保つために表面と逆の原子が最表面に出ることとなる。このような理由により、(100)ジャスト面でも、表面と裏面とを組み合わせて接着する方が、ダングリングボンドの数が少なく、界面抵抗の上昇が小さくなるものと考えられる。
本実施形態は、異なるインゴットからスライスされた2枚の半導体基板を接着する場合にも同様にも顕著な効果を奏する。
図6は、2つの異なるインゴットからスライスされた半導体基板を接着する様子を表した概念図である。例えば、同図(a)に表したように、[100]方向に成長したGaP単結晶インゴットから(111)方向に傾斜させたオフアングルを有する半導体基板11をスライスする。半導体基板11は、(111)A面の成分が強く表れる表面11Aと、(111)B面の成分が強く表れる裏面11Bとを有する。同様に、図6(b)に表したように、GaAsインゴットからオフアングルを付けてスライスした半導体基板12も、(111)A面の成分が強く表れる表面12Aと、(111)B面の成分が強く表れる裏面12Bとを有する。
これら2枚の基板を接着する際には、裏面11Bと表面12Aとを接着する。または、表面11Aと裏面12Bとを接着する。このように表面と裏面とを接着することにより、界面でのIII族原子とV族原子とのバランスを良好なものとし、ダングリングボンドや結晶欠陥を低減して、電気抵抗も大幅に低下させることができる。
なお、異なる単結晶インゴットからそれぞれスライスした半導体基板の「表」と「裏」の判断は、インゴットの成長方向すなわち種結晶に対する向きにより決定することができる。すなわち、通常はインゴットを成長する際に、種結晶の結晶方位を一定にする。従って、異なるインゴットであっても、その(111)A面あるいは(111)B面の方位は、成長方向に対して一定の関係を有する。つまり、異なるインゴットからそれぞれスライスされた半導体基板のいずれにおいても、種結晶に近い側を「表」面とし、反対側の面を「裏」面と定義して、「表」面と「裏」面とを接着すれば良い。
一般に市販されている化合物半導体のウェーハの場合には、(111)A面とB面とを区別する目的で、「インデックス・フラット(IF)」などと称される直線状切断部がウェーハの一部に設けられていることも多い。このような場合には、ウェーハの「表」と「裏」を容易に識別できる。
また、異なるインゴットからスライスした半導体基板の「表」と「裏」の判断は、メサエッチングにより行うこともできる。すなわち、GaAsやGaPウェーハにメサエッチングを行うと、メサの互いに直交する断面形状が順メサと逆メサを呈する。また、同じウェーハの表面と裏面では、順メサの方向が互いに直交する。これらの順メサと逆メサの方向は、それぞれ結晶の(111)A面と(111)B面の方位に対応して出現する。従って、この順メサと逆メサの方向によって半導体基板の表面側と裏面側とを区別することができる。
2枚の半導体基板の表面と裏面とを接着すると、接着された面同士の順メサ方向は互いに直交し、接着された面と反対側の面同士、すなわち2枚のウェーハが接着により1枚になった新たなウェーハの一方の面と他方の面の順メサ方向は互いに直交する。
次に、本実施形態の具体例として第4〜第6実施例について説明する。
(第4の実施例)
まず、第4の実施例として、接着ウェーハの界面抵抗を測定した具体例について説明する。
まず、第4の実施例として、接着ウェーハの界面抵抗を測定した具体例について説明する。
図5に表したように[100]方向に成長させたGaP単結晶インゴットから、(111)方向に15度傾斜させてGaPウェーハ111、112を切り出した。切り出したウェーハ111、112をそれぞれ2つに分け、一組は図5(b)に表したようにいずれも上面(表面)111A、112Aを研磨して鏡面を形成し、他の一組は図5(c)に表したように、ウェーハ111の下面(裏面)111Bと、ウェーハ112の上面(表面)112Aを鏡面研磨した。表面を研磨したウェーハは、研磨面が(111)Ga面方向に、裏側を研磨したウェーハは(111)P面方向に傾いている。
この2組のウェーハを使用して、表面同士と、表面と裏面の組合せで接着し、界面の電気抵抗を比較した。
接着の方法は、後に詳述する方法と同じであり、熱処理は800℃で行った。GaPの接着面にはキャリア濃度を変えたGaPエピタキシャル層を成長させ、接着界面のキャリア濃度を種々の値に調節した。接着したウェーハは両面に電極を設けて接着面まで250μm□の大きさになるようにハーフダイシングを行い、I-V特性を測定し、GaP基板のバルク抵抗を差し引いて接着界面の抵抗を求めた。
図7は、接着面のキャリア濃度と界面抵抗との関係を表すグラフ図である。同図において、黒丸は表面同士を接着したものを表し、白三角は表面と裏面とを接着したものを表す。表面同士の接着(黒丸)では、キャリア濃度を上げると界面抵抗が下がるがゼロにはならない。これに対して本発明の裏面と表面の組合せ(白三角)では、キャリア濃度が低い場合にも、界面抵抗は非常に低く、キャリア濃度が2×1018cm−3程度まで上昇すると、界面抵抗を実質的にゼロにすることができた。
なお、キャリア濃度と界面抵抗との関係は、表面エピ層がなくても同様で、キャリア濃度が高い基板を利用すれば、エピ層がなくても界面抵抗を下げることができる。
(第5の実施例)
次に、第5の実施例として、図2と同様の工程によりLEDを試作評価した結果について説明する。
次に、第5の実施例として、図2と同様の工程によりLEDを試作評価した結果について説明する。
まず、(111)Ga面方向に15度傾斜させたGaAsウェーハ12を用意し、その上に図2(a)に表したように、InGaAlPからなるLED構造18〜17をエピタキシャル成長した。このようにして得られた4元エピタキシャル・ウェーハの接着面(p型クラッド層16の表面)は、基板と同様に(111)Ga面方向に15度傾斜している。
次に、GaPウェーハ11として、(111)Ga面方向に15度傾斜させた2枚のGaPウェーハを用意し、一方は表面側、他方は裏面側を鏡面に研磨した。
しかる後に、図2(c)に表したように、GaPウェーハの研磨面をクラッド層16に接着した。
さらに、図2(d)に表したようにGaAs基板12を除去し、得られたLEDの動作電圧を調べた。
その結果、GaPウェーハ11の接着面がGaAs基板12と同じく(111)Ga面に傾斜したLEDの20mA通電時の動作電圧は4.5Vであった。これに対して、本実施形態に従ってGaPウェーハ11の接着面が(111)P面に傾斜したLEDの20mA通電時の動作電圧は2Vと顕著に低下し、明らかに界面抵抗が減少したことが分かった。
(第6の実施例)
次に、第6の実施例として、(100)ジャストの表面方位を有するウェーハ同士を接着した具体例を説明する。
次に、第6の実施例として、(100)ジャストの表面方位を有するウェーハ同士を接着した具体例を説明する。
まず、GaPの単結晶インゴットから(100)ジャストの表面方位をもつウェーハを切り出し、インゴットの種結晶に近い面と表面と定義した。次に、これらのウェーハの表面側あるいは裏面側を鏡面に加工し、0.2μmの層厚でキャリア濃度1×1018cm−3のGaP層をその鏡面上にエピタキシャル成長した。ここでエピタキシャルGaP層のキャリア濃度を比較的低くしたのは、図7に関して前述したように、キャリア濃度が低い方が、界面抵抗に対する接着面の組合せの影響が大きく、比較が容易なためである。
このようにしてエピタキシャル層を挟んで、ウェーハの表面同士、あるいは表面と裏面とをそれぞれ接着し、界面抵抗を測定した。
その結果、表面同士を接着したものでは界面の電流電圧特性はオーミックにならず、20mA通電時に界面付近において約2.2Vの電圧が発生した。これに対して、表面と裏面とを接着したものでは、電流電圧特性は直線状でオーミック性を示し、20mA通電時の抵抗も0.8Vと小さかった。
表面同士を接着したものにおいて大きい抵抗が発生するのは、ダングリングボンドがキャリアをトラップして、接着面のキャリア濃度が低下したためであると考えられる。つまり、(100)ジャスト基板の場合においても、インゴットの成長方向に対応して、ウェーハの「表」と「裏」が存在し、「表」と「裏」とを接着することにより界面抵抗を有意に低下できることが分かった。
(第4の実施の形態)
次に、本発明の第4の実施の形態について説明する。本実施形態は、2枚のウェーハを接着する際に、ウェーハの全体ではなく、一部のみを加圧することにより熱膨張に伴う「ずれ」を緩和する点に特徴を有する。
次に、本発明の第4の実施の形態について説明する。本実施形態は、2枚のウェーハを接着する際に、ウェーハの全体ではなく、一部のみを加圧することにより熱膨張に伴う「ずれ」を緩和する点に特徴を有する。
図8は、本実施形態を説明するための概念図である。すなわち、前述したいずれかの実施形態に基づいて2枚のウェーハA及びBを接着する際に、本発明者は、これらのウェーハをどのように保持加圧すべきかについて独自の検討を行った。
図8(a)及び(b)は、本実施形態に係る加圧保持方法を表すものであり、同図(c)及び(d)は、比較例としての加圧保持方法を表す。
まず、比較例から説明すると、図8(c)に表した例においては、2枚のウェーハA及びBは、重ねた状態で十分に広いジグJ3の上に載置されており、上方から荷重は印加されない。このような方法によると、ウェーハA及びBは面内方向Sに自由に伸縮できるので、熱膨張率の差などに起因する割れなどの問題は生じないが、接着が不十分となる場合が多い。
また、図8(d)に表した例においては、2枚のウェーハA及びBは、十分に広いジグJ3及びJ4によって保持され、荷重Pにより加圧される。この場合は、加圧は施されるものの、ウェーハA及びBが面内方向に伸縮することが困難となり、熱膨張率の差などの「ずれ」を吸収緩和することができずにウェーハが割れることがある。
これに対して、本実施形態においては、図8(a)に表したように、2枚のウェーハA及びBの全面を加圧せずに、その一部のみを対向配置されたジグJ1及びJ2により加重Pで加圧する。ウェーハA及びBが異なる材料からなる場合には、加熱に伴って熱膨張率の差による「ずれ」が生ずる。これに対して、本実施形態によれば、ウェーハの一部のみを保持加圧することにより、加圧部以外の部分は、面内方向Sに容易に伸縮することができる。その結果として、熱膨張の差に伴う「ずれ」を許容しつつ、接着することができる。
ウェーハの一部のみを加圧するためには、図8(b)に表したように、一方のジグJ1の接触面積のみをウェーハよりも小さくしても良い。この場合にも、ウェーハBは、全体がジグJ3により保持されているが、荷重Pは、ウェーハAの上のジグJ1から部分的にのみ印加される。その結果として、ウェーハA及びBは、面内方向Sに伸縮することが可能であり、熱膨張率の差に起因する「ずれ」などを吸収緩和することができる。
以下、本実施形態の実施例について説明する。
(第7の実施例)
図9(a)〜(d)は、本実施形態の製造方法を具体的に説明する略示断面図である。
図9(a)〜(d)は、本実施形態の製造方法を具体的に説明する略示断面図である。
まず、図9(a)に表したように、直接接着に供するエピウェーハには、n型GaAs基板12上にバッファ層18,n型クラッド層14、活性層15,p型クラッド層16、および表面カバー層17が順次積層されて形成されている。これらのエピタキシャル成長層は、例えばMOCVD(Metal Organic Chemical Vapor Deposition)法により形成される。
n型GaAs基板12は、サイズが直径2インチ、厚さ250μmであり、不純物としてSiが約1E18/cm3のキャリア濃度でドープされており、さらにその主面は鏡面仕上げとなっている。バッファー層18はGaAsで、厚さは0.5μmである。最上層の表面カバー層17は2層構造で、下側が0.1μmのGaAs層17A、上側が0.2μmのInGaAlP層17Bである。
次に、エピウェーハをアンモニアと過酸化水素水の混合液に侵漬して裏側の堆積物を除去し、次に、エピウェーハを界面活性剤で洗浄した後、70℃のリン酸でInGaAlPカバー層17Bをエッチングした。このエッチングは下のGaAs層17Aで選択的に止まる。次いで、容積比でアンモニア1、過酸化水素水15、混合液にエピウェーハを浸漬してエッチングを行い、図9(b)に示すように、下側のGaAsカバー層17Aを除去した。この混合液は、GaAsカバー層17Aを選択的にエッチングするもので、数秒で表面カバー層17Aが除去されたことが観察できたが、1分間侵漬を続けてp型クラッド層16の表面を完全に表出させた。
次いで、表面カバー層17を除去したエピウェーハと、表面に厚さ0.2μm、キャリア濃度2×1018cm−3の高濃度GaP層を成長させたGaP基板11との直接接着を行い、図9(c)に示す被接着体を得た。以下、直接接着の工程をより詳細に説明する。
直接接着の前処理として、GaP基板11を界面活性剤で洗浄し、希弗酸に浸漬して表面の自然酸化膜を除去し、水洗をした後にスピナで乾燥させた。また、エピウェーハは上述した方法で表面カバー層17を除去した後、GaP基板11と同様にして酸化膜除去のため希弗酸処理を行い、水洗とスピナ乾燥を行なった。これらの前処理は、すべてクリーンルーム内の清浄な雰囲気下で行った。
なお、第3実施形態に関して前述したように、本実施例においても、エピウェーハとGaP基板11とをそれらの表面と裏面を接着するように結晶方位を調節しても良いことはいうまでもない。
次に、前処理を終えたエピウェーハをエピタキシャル成長層が上方になるように載置し、その上にGaP基板11を、鏡面が下向きになるように載置し、室温で密着させた。GaPは透明であるため密着状態を目視にて観察できる。GaP基板11をエピウェーハに載置すると、エピウェーハが正面視で凸形状をなすように反っているため、GaP基板11の中央部が最初に密着した。そのまま放置するだけで密着部が自然にGaP基板11の周辺部へ向って広がり、1分以内にGaP基板11の周縁の面取り部分を除いて全面が密着した。同様の操作を繰り返し、計15組の室温密着を行なった。
直接接着の最終工程として、室温で密着している被接着体を拡散炉内に入れて800℃で熱処理を行った。雰囲気は水素を10%含むアルゴンである。
被接着体は5組ずつに3つに分け、同時に異なる熱処理ジグを使用して比較した。
本発明の実施例としては、図8(a)に例示したように、中央に5φの円形突起が付いたカーボン板で密着した基板を上下から挟み、上に120gのカーボン製の重りを乗せて、ウェーハの中央部だけを押さえた。このジグでは5枚ともウェーハ全面が接着でき、ウェーハの割れはなかった。
比較例として、図8(c)に例示したように、ウェーハを平らなカーボン板に置き、上にはなにも乗せずに無荷重状態で熱処理をした。この方法では5枚のうち2枚に面積にして30%を越す大きな剥がれ部分が生じた。ウェーハの割れはなかった。
もう一つの比較例として、図8(d)に例示したように、ウェーハを平らなカーボン板で挟み、重りを乗せて全面に荷重をかけて熱処理した。この場合、5枚中2枚が割れ、残る3枚も全面接着には至らなかった。割れたウェーハも含めて、ウェーハの周辺部が接着し中央部が剥がれたことから、ウェーハの厚さバラツキで厚くなっていた周辺部分が先に接着してしまい、熱膨張による界面のズレを吸収できなかったのが原因であったと考えられる。
以上説明したように、本実施形態によれば、ウェーハを部分的に保持加圧するこにより、接着工程を高い歩留まりで実施できることが確認された。
(第5の実施の形態)
次に、本発明の第5の実施の形態として、発光層からの光に対して透光性のある基板を有する半導体発光素子について説明する。すなわち、本実施形態に係る半導体発光素子は、典型的には、第1乃至第4の実施形態に関して前述した基板の接着技術を用いて形成することができる発光素子である。
次に、本発明の第5の実施の形態として、発光層からの光に対して透光性のある基板を有する半導体発光素子について説明する。すなわち、本実施形態に係る半導体発光素子は、典型的には、第1乃至第4の実施形態に関して前述した基板の接着技術を用いて形成することができる発光素子である。
まず、本実施形態に係る半導体発光素子として、発光に寄与する発光層の面積を、透明基板の面積に対して小さくして、発光の輝度を向上させた例を説明する。 図10(a)は、本実施形態に係るLEDの断面構成を表す概念図であり、同図(b)は、比較例としての従来のLEDの断面構成を表す概念図である。
すなわち、いずれも透明基板であるGaP基板11上に、クラッド層14、活性層15、クラッド層16を持ち、上下に電極19Aと19Bを設けたLEDである。但し、図10は、概念図であり、実際には、これらの他に、コンタクト層や電流狭窄層あるいは電流拡散層などの各種の要素が設けられていても良い。
従来のLEDは、図10(b)に表したように、活性層15と透明基板11の大きさは等しく、上方から見た面積は同じであった。このような従来のLEDは、例えば、多数のLED構造を作り込んだウェーハを、ダイシングにより切ったり劈開するなどして、多数のLEDチップに切り分けて製造することができる。
これに対して、本実施形態においては、活性層15を含む積層体10の面積が、透明基板11より小さい。そして、このように活性層15の面積を小さくすると、LEDの発光輝度が向上する。以下、このように活性層の面積が小さくなるとLEDの輝度が上がる機構を説明する。
LEDは電流を流すことで注入されたキャリアが再結合して発光する。図10(a)及び(b)に表したLEDの場合、注入されたキャリアはクラッド層14及び16に挟まれた活性層15に閉じこめられ、そこで再結合する。しかし、キャリアの再結合には、発光を伴うものだけではなく、発光を伴わない非発光再結合も混在する。例えば、結晶欠陥準位や界面準位を介して再結合した場合は非発光で再結合が生ずる。
非発光再結合は発光再結合よりも速度が速いため、注入されたキャリアは優先的に非発光再結合を起こす傾向がある。一方、欠陥準位や界面準位は結晶中での密度が限られているため、非発光再結合がある一定の電流で飽和すると、それを越える電流が発光再結合に費やされて発光を生ずるようになる。従って、同じ量の電流をLEDに流す場合、狭い面積に流した方が、非発光再結合に消費される電流成分を減らすことができ、注入電流に対する発光再結合の割合、すなわち発光効率を高めることができる。つまり、活性層15の面積を小さくすることにより、LEDの輝度を上げることができる。
しかし、発光層の面積を小さくすると、発光が電極19Aにより遮られて光の取り出し効率が低下するという問題がある。これに対して、基板が透明であると有利である。
すなわち、LEDの発光層は基板に比べて薄いため、基板が不透明なLEDでは発光層から基板側に放出された光は基板によって吸収され、外部に取り出すことはできない。つまり、不透明基板を用いたLEDの場合には、発光層から上方に放出された光のみを、外部に取り出し得る。しかし、このような不透明基板LEDで発光層を小さくすると、発光効率の上昇よりも上側電極19Aの遮光による取り出し効率の低下の方が大きくなり、LEDの輝度は低下する。
同様の理由で、透明基板LEDであっても、発光層だけでなく基板の面積を同時に小さくすることも好ましくない。透明基板LEDでは、図10(a)に表したように、発光層から基板側に放出された光は、基板11を透過し、下側電極19Bにより反射される。発光層としての積層体10の両側に透明基板11の上面Sが露出していると、下側電極19Bにより反射された光を、この露出部分Sから取り出すことができる。このため、発光層としての積層体10を小さくしても基板11の面積を小さくしなければ、取り出し効率は下がらない。
図11は、図10に例示したような透明基板を有するInGaAlP系LEDにおいて、チップ面積に対する発光層の面積の比率と、外部発光強度との関係を表すグラフ図である。すなわち、同図は、GaP基板を接着して形成したInGaAlP系LEDのデータであり、チップサイズは300μm角で、上側電極サイズは120μφである。
同図に表したように、発光層の面積を小さくするにつれて発光強度は増大し、面積の比率が0.3になると、発光強度は比率1の場合の約1.2倍まで増加する。このように、透明基板を用いたLEDにおいて、発光層を基板よりも小さく形成すると、活性層15での発光効率を改善しつつ、光の取り出し効率の低下も抑制することができる。
次に、本実施形態の発光素子の製造方法の具体例について説明する。
図12及び図13は、本実施形態の半導体発光素子の製造方法の要部を表す工程断面図である。
直接接着に供するエピウェーハの構造は、図12(a)に示したとおりで、GaAs基板12の上に、MOCVD法でエピ層93から982までを成長させたものである。ここで、n型GaAs基板12は、直径2インチ、厚さ250μm、Siドープでキャリア濃度は約1e18/cm3で、鏡面仕上げが施されている。エッチング停止層93は、InAlPで、厚さ0.2μm。GaAsコンタクト層94は、厚さ0.02μmで、キャリア濃度は1e18/cm3である。InGaAlP電流拡散層95は、Al組成0.3のInGaAlPで、厚さ1.5μmであり、N型クラッド層14は、Al組成0.6のInGaAlPで、厚さ0.6μmである。活性層15は、Al組成0.13のInGaAlPで、厚さ0.4μmである。P型クラッド層16は、Al組成0.6のInGaAlPで、厚さ0.6μmである。InGaP接着層97は、厚さ0.1μmであり、GaAsカバー層981は、厚さ0.1μm、InAlPカバー層982は厚さ0.15μmである。
次に、このエピウェーハを界面活性剤で洗浄し、容積比でアンモニア1、過酸化水素水15の混合液に侵漬し、GaAs基板12の下側をエッチングして、エピウェーハの裏面に付着したエピ反応生成物などを除去する。この際、エピウェーハの表側(図の上側)はInAlPカバー層982で覆われているので、エッチングされない。
次に、エピウェーハを再度界面活性剤で洗浄した後、リン酸で表面のInAlPカバー層982を除去する。引き続き、容積比で硫酸8、過酸化水素水1、水1の混合液でGaAsカバー層981を除去する。この混合液は選択的にGaAsカバー層をエッチングするもので、エッチングの後エピウェーハの表面にはInGaP接着層が表出する。
次いで、表面カバー層を除去したエピウェーハとGaPウェーハ11の直接接着を行い、図12(b)に表した接着体を得た。以下、直接接着の工程を詳しく説明する。
GaPウェーハは、直径2インチ、厚さ250μm、p型の鏡面仕上げのものを使用した。接着界面の電気抵抗を下げるために、GaP表面に高濃度層をエピ成長させる場合もある。
ここで、第3実施形態に関して前述したように、エピ層とGaP層の接着面が「表」と「裏」の関係になるように両者の結晶方位を調節することが望ましい。
さて、直接接着の前処理として、GaPウェーハは界面活性剤で洗浄し、希弗酸に侵漬して表面の自然酸化膜を除去し、水洗をした後スピナで乾燥させた。またエピウェーハは表面カバー層を除去した後、GaP基板と同じく酸化膜除去のため希弗酸処理を行い、水洗とスピナ乾燥を行なった。これらの前処理は、すべてクリンルーム内の清浄な雰囲気下で行った。
次に、前処理を終えたエピウェーハを上向きに置き、その上にGaPウェーハ11を、鏡面が下向きになるように乗せ、室温で密着させた。GaPウェーハ11は透明なため密着状態を観察できる。ウェーハを重ねると、エピウェーハが凸に反っているため、ウェーハの中央部が最初に密着した。そのまま放置するだけで密着部が自然に広がり、ウェーハの縁の面取り部分を除いて全面が密着した。
この工程においても、第4実施形態に関して前述したように、ウェーハの一部のみを加圧することにより、割れを抑制して確実に接着することができる。
さて、直接接着の最終工程として、室温で密着しているウェーハを石英ボートに立てて並べ、拡散炉内に入れ熱処理を行った。熱処理温度は800℃、時間は1時間、雰囲気は水素を10%含むアルゴンである。
次に、エピウェーハのGaAs基板12を除去した。まず、接着体をアンモニアと過酸化水素水の混合液に侵漬し、GaAsを選択的にエッチングした。このエッチングはInAlPエッチング停止層で停止する。次いで、70℃のリン酸でエッチングを行い、InAlPエッチング停止層93を選択的に除去することにより、図12(c)に表した積層体を得た。
次に、この積層体のGaP基板11の裏面(図中下側)に、金(Au)/Zn合金と金(Au)からなる電極19Bを設け、GaAsコンタクト層94の表面(図中上側)には、金(Au)/Ge合金と金(Au)からなる電極19Aを設けた。そして、PEP(photo-engraving process)により、上側の電極19Aを300μmピッチで直径200μmの円形に加工し、図13(a)の構造を得た。
次に、発光層の面積を透明基板の面積より小さくするために、金電極19Aをマスクにしてエッチングを行い、図13(b)に表したように、エピ層94から97をエッチングした。ここで、GaAsエピ層94はアンモニアと過酸化水素水の混合液でエッチングし、InGaAlP系エピ層94〜16とInGaPエピ層97はHBr−Br液でエッチングした。
最後に、図13(c)に表したように、電極19Aを直径120μmの円形に再パターニングし、ウェーハを一点鎖線Cの部分で300μm□に劈開分離して図10(a)に表した構造のLEDチップを得た。
なお、図10(a)において、図13(c)のエピ層の一部は省略した。
次に、本実施形態の別の実施例として、ウェーハ接着に先だって発光層の面積を小さくする製造方法について説明する。
図14は、本実施例の製造方法の要部を表す工程断面図である。
まず、図14(a)に表すように、GaAs基板12の上に発光層としての積層体10を形成したエピタキシャルウェーハを形成する。このエピウェーハに、例えば300μmピッチで縦横にブレードダイシングを行い、図14(b)に表したように、幅100μm、深さ20μmの溝Gを設けた。
次に、図14(c)に表したように、GaP基板11を接着する。
次に、図14(d)に表したように、GaAs基板12を除去し、上下を逆さまにして電極19Aと19Bを形成する。
最後に、劈開やブレードダイシングにより、一点鎖線Cに沿って素子分離を行い、図14(e)に表したようにLEDチップを得た。
GaAs基板12の上に形成したエピウェーハとGaP基板11とを接着する場合、GaAsとGaPとの熱膨張係数の差により応力が発生し、接着後の反りや、ひどい場合にはウェーハの破壊が生じる。
本実施例では、図14(c)に表したように、ウェーハ接着の際にエピウェーハ表面に溝Gが形成されて接着部が小面積に分割されているため、応力が緩和され、反りや破壊が少なくなるという利点が得られる。
また、ウェーハを貼り合わせる際、2枚のウェーハ間に空気が巻き込まれて未接着部が発生することがある。本実施例のように溝Gを設けておくと、巻き込まれた空気をウェーハ外に逃がすことができ、未接着部発生が少なくなるという利点も得られる。
なお、上述の実施例では、接着前にブレードダイシングでエピウェーハ表面を分割する例を挙げたが、PEPでウェーハ表面をパターニングすることにより溝Gを形成してもよい。
次に、本実施形態の半導体発光素子の変型例について説明する。
図15は、本実施形態の半導体発光素子の変型例を表す概念図である。すなわち、本変型例においては、発光層としての積層体10を上側電極19Aと略同一の面積まで小さくした。
この構造では発光層としての積層体10の上面すべてを電極19Aが覆っているため、発光層から上向きに放出した光は電極19Aで反射して透明基板11内に入り、基板11の側面から外部に取り出されるか、または下側電極19Bで反射して電極19Aで覆われていない基板11の上面Sから取り出される。
本変型例の発光素子が、図10(a)の実施例や、図10(b)の従来例と機能的に異なる点は、LEDの上面から取り出される光が発光層16を殆ど通過していない点である。つまり、本変型例においては、活性層15は、比較的小さい光源として作用し、この光源から放出された光の殆どは、基板11を透過し、下側電極19Bにより反射されて上面Sから外部に取り出される。
LEDの発光波長は、活性層15のバンドギャップで決まる。クラッド層14、16はキャリアを閉じこめるため、活性層よりバンドギャップが大きくなるように設計されており、活性層15からの発光を吸収しない。しかし、活性層15自体は自ら発光した光を自己吸収する。また、電気的接続に必要なGaAsコンタクト層などのバンドギャップの小さい層も発光を吸収する。従って光を吸収する層を含む活性層あるいはコンタクト層など通さずに光を取り出した方が吸収が少なくてすむ。この点で、図14に例示した本変型例は有利である。
図15の構造を得るためには、例えば図12〜図13に表した工程において、図13(a)に表した電極19Aの1回目のパターニングを、図13(c)のサイズで行い、この電極19Aをマスクにして発光層をエッチングをすればよい。
または、全く異なる方法によっても図15の発光素子を製造することができる。 図16は、図15に表した半導体発光素子の製造方法の要部を表す工程断面図である。
まず、図16(a)に表したように、LED上下の電極19Aと19Bを全面に付けたまま、パターニングをせずにチップに分離する。
次に、このようにして得られたチップに、図16(b)に表したように、ワイヤーWをボンディングする。すると、電極19Aの上には、ワイアWがボール状に形成したボール部19Cが接続される。
次に、このボール部19Cをマスクとして、上側電極19Aと発光層としての積層体10をエッチングし、図16(c)に表した構造が得られる。
以上説明した方法によれば、積層体10のエッチングの際に、ワイアWを介して通電し発光させておくこともできる。つまり、発光素子を発光させてその出力をモニタしながらエッチングを実施することにより、最適な発光強度が得られた時点でエッチングを停止することもできる。
次に、本実施形態のもうひとつの実施例としての半導体発光素子について説明する。
図17は、本実施例にかかる半導体発光素子の構成を表す概念図である。すなわち、本実施例の発光素子は、透明基板11の側面に段差STが設けられ、その上部が発光層としての積層体10のサイズに合わせて小さくされている。
この構造は、GaPウェーハ11を接着して図示しないGaAs基板を選択エッチングで取り除いた後、例えば、図12(c)や図16(a)の状態で、発光層側から発光層を越えて透明基板11の上部にまでブレードダイシングやエッチングで溝を設けることにより得られる。
本実施例の発光素子においては、活性層15から透明基板11に入射した光は、直接、あるいは1度のみ反射で外部に取り出されるだけでなく、透明基板11の内部で複雑な反射をして外部に取り出される場合が多い。一般に、光取り出し部の形状が複雑な方が光取り出し効率が高く、本実施例によれば透明基板11に段差を設けることにより、光取り出し効率をさらに改善できるという効果が得られる。
図17に表した例においては、透明基板11の上部を下部に対して1段小さくしてあるが、2段あるいはそれ以上の階段状に絞った方が光の取り出し効率をより高められる場合もある。
以上、具体例を参照しつつ、本発明の第1乃至第5の実施の形態について説明した。しかし、本発明は、これらの具体例に限定されるものではない。
例えば、接着するウェーハあるいは、これを用いた半導体素子の材料としては、GaAsやGaPに限定されず、その他の各種の化合物半導体について同様に本発明を適用して同様の効果を得ることができる。
また、半導体発光素子の積層構造については、コンタクト層や電流拡散層などの各種の要素を加えて、同様の効果を奏することができる。この他にも、例えば、活性層にMQW(multiple-quantum well)構造を採用したものや、クラッド層にMQB(multiple-quantum barrier)を採用したものなどについても同様に適用することができる。
さらに、本発明は、LEDのみに限定されず、半導体レーザやその他の各種の半導体素子に同様に適用することができる。
1,2,100 InGaAl系LED
10 積層体
11,31,91 GaPウェーハ
12,32,82,92 GaAsウェーハ
33 エッチング停止層
14,34,84,94 N型クラッド層
15,35,85,95 活性層
16,36,86,96 P型クラッド層
17,37 カバー層
18,38 バッファー層
19,39,89,99 電極
10 積層体
11,31,91 GaPウェーハ
12,32,82,92 GaAsウェーハ
33 エッチング停止層
14,34,84,94 N型クラッド層
15,35,85,95 活性層
16,36,86,96 P型クラッド層
17,37 カバー層
18,38 バッファー層
19,39,89,99 電極
Claims (18)
- 第1の化合物半導体層と、
前記第1の化合物半導体層と一体的に接着された第2の化合物半導体層と、を備え、
前記第1の化合物半導体層の(111)A面と(111)B面とのいずれか一方が優先的に出現した面と、前記第2化合物半導体層の(111)A面と(111)B面とのいずれか他方が優先的に出現した面と、が接着されてなることを特徴とする積層体。 - 前記第1の化合物半導体層と前記第2の化合物半導体層との接着面の不純物濃度は、2×1018cm−3以上であることを特徴とする請求項1に記載の積層体。
- 第1の化合物半導体層と、
接着層を介して前記第1の化合物半導体層と一体的に接着された第2の化合物半導体層と、を備え、
前記第1の化合物半導体層の(111)A面と(111)B面とのいずれか一方が優先的に出現した面と、前記第2化合物半導体層の(111)A面と(111)B面とのいずれか他方が優先的に出現した面と、が接着されてなることを特徴とする積層体。 - 前記接着層の接触面の不純物濃度は、2×1018cm−3以上であることを特徴とする請求項3に記載の積層体。
- 前記接着層はエピタキシャル成長層であることを特徴とする請求項3または4に記載の積層体。
- 前記エピタキシャル成長層は、InGaP層またはGaP層を含むことを特徴とする請求項5に記載の請求項5に記載の積層体。
- 前記接着層は、接着材料であることを特徴とする請求項6に記載の積層体。
- 前記第1の化合物半導体層の(100)面から(111)A面の方向に第1の傾斜角度をもって傾斜した面と、前記第2の化合物半導体層の(100)面から(111)B面の方向に第2の傾斜角度をもって傾斜した面と、が接着されてなることを特徴とする請求項1乃至7のいずれかに記載の積層体。
- 前記第1及び第2の傾斜角度は、いずれも10度以上であることを特徴とする請求項1乃至8のいずれかに記載の積層体。
- 前記第1及び第2の化合物半導体層のいずれか一方は、通電により光を放出する発光層を含み、
前記第1及び第2の化合物半導体層のいずれか他方は、前記発光層から放出される光を透過することを特徴とする請求項1乃至9のいずれかに記載の積層体。 - 前記第1及び第2の化合物半導体層のいずれか一方は、InGaAlP層を含み、
前記第1及び第2の化合物半導体層のいずれか他方は、GaP層を含むことを特徴とする請求項1乃至10のいずれかに記載の積層体。 - 前記第1の化合物半導体層は、InGaAlP層を含み、
前記第2の化合物半導体層は、GaP層を含むことを特徴とする請求項1乃至10のいずれかに記載の積層体。 - 前記発光層を含む前記第1及び第2の化合物半導体層のいずれか一方の面積は、前記発光層から放出される光を透過する前記第1および第2の化合物半導体層のいずれか他方の面積より小さいことを特徴とする請求項10に記載の積層体。
- 第1の化合物半導体層と、
前記第1の化合物半導体層に接着された第2の化合物半導体層と、
前記第1および第2の化合物半導体層の少なくとも一方に形成される第1および第2の電極と、を備え、
前記第1の化合物半導体層の(111)A面と(111)B面とのいずれか一方が優先的に出現した面と、前記第2化合物半導体層の(111)A面と(111)B面とのいずれか他方が優先的に出現した面と、が接着されてなり、
前記第1及び第2の化合物半導体層のいずれか一方は、通電により光を放出する発光層を含み、
前記第1及び第2の化合物半導体層のいずれか他方は、前記発光層から放出される光を透過することを特徴とする発光素子。 - 第1の化合物半導体層と、
前記第1の化合物半導体層に接着された第2の化合物半導体層と、
前記第1および第2の化合物半導体層の少なくとも一方に形成される第1および第2の電極と、を備え、
前記第1及び第2の化合物半導体層のいずれか一方は、通電により光を放出する発光層を含み、
前記第1及び第2の化合物半導体層のいずれか他方は、前記発光層から放出される光を透過し、
前記発光層を含む前記第1及び第2の化合物半導体層のいずれか一方の面積は、前記発光層から放出される光を透過する前記第1および第2の化合物半導体層のいずれか他方の面積より小さいことを特徴とする発光素子。 - 前記発光層は、
キャリアが再結合して光を放射する第1の化合物半導体活性層と、
前記第1の化合物半導体活性層よりもバンドギャップが広い第2の化合物半導体活性層と、を含み、
前記第1および第2の化合物半導体活性層の面積は、前記発光層から放出される光を透過する前記第1および第2の化合物半導体層のいずれか他方の面積よりも小さいことを特徴とする請求項14または15に記載の発光素子。 - 前記発光層を含む前記第1及び第2の化合物半導体層のいずれか一方は、前記発光層から放出される光を透過する前記第1および第2の化合物半導体層の縁部よりも内側に配置されることを特徴とする請求項14乃至16のいずれかに記載の発光素子。
- 前記発光層は、前記発光層から放出される光を透過する前記第1および第2の化合物半導体層の縁部よりも内側に配置されることを特徴とする請求項14乃至16のいずれかに記載の発光素子。
Priority Applications (1)
| Application Number | Priority Date | Filing Date | Title |
|---|---|---|---|
| JP2010212391A JP4635110B2 (ja) | 1999-06-09 | 2010-09-22 | 積層体および発光素子 |
Applications Claiming Priority (2)
| Application Number | Priority Date | Filing Date | Title |
|---|---|---|---|
| JP16298599 | 1999-06-09 | ||
| JP2010212391A JP4635110B2 (ja) | 1999-06-09 | 2010-09-22 | 積層体および発光素子 |
Related Parent Applications (1)
| Application Number | Title | Priority Date | Filing Date |
|---|---|---|---|
| JP2008188995A Division JP4635079B2 (ja) | 1999-06-09 | 2008-07-22 | 半導体発光素子の製造方法 |
Publications (2)
| Publication Number | Publication Date |
|---|---|
| JP2011003934A JP2011003934A (ja) | 2011-01-06 |
| JP4635110B2 true JP4635110B2 (ja) | 2011-02-16 |
Family
ID=39976650
Family Applications (2)
| Application Number | Title | Priority Date | Filing Date |
|---|---|---|---|
| JP2008188995A Expired - Fee Related JP4635079B2 (ja) | 1999-06-09 | 2008-07-22 | 半導体発光素子の製造方法 |
| JP2010212391A Expired - Fee Related JP4635110B2 (ja) | 1999-06-09 | 2010-09-22 | 積層体および発光素子 |
Family Applications Before (1)
| Application Number | Title | Priority Date | Filing Date |
|---|---|---|---|
| JP2008188995A Expired - Fee Related JP4635079B2 (ja) | 1999-06-09 | 2008-07-22 | 半導体発光素子の製造方法 |
Country Status (1)
| Country | Link |
|---|---|
| JP (2) | JP4635079B2 (ja) |
Families Citing this family (5)
| Publication number | Priority date | Publication date | Assignee | Title |
|---|---|---|---|---|
| JP4635079B2 (ja) * | 1999-06-09 | 2011-02-16 | 株式会社東芝 | 半導体発光素子の製造方法 |
| JP2010219320A (ja) * | 2009-03-17 | 2010-09-30 | Toshiba Corp | 発光素子の製造方法及び発光素子 |
| US9105286B2 (en) * | 2013-07-30 | 2015-08-11 | HGST Netherlands B.V. | Method using epitaxial transfer to integrate HAMR photonic integrated circuit (PIC) into recording head wafer |
| KR102812198B1 (ko) * | 2018-04-27 | 2025-05-22 | 니폰 제온 가부시키가이샤 | 광대역 파장 필름 및 그 제조 방법, 그리고 원 편광 필름의 제조 방법 |
| EP4576165A1 (en) * | 2023-12-21 | 2025-06-25 | Imec VZW | A method for growing epitaxial layers on an engineered substrate |
Family Cites Families (9)
| Publication number | Priority date | Publication date | Assignee | Title |
|---|---|---|---|---|
| JPH0770474B2 (ja) * | 1985-02-08 | 1995-07-31 | 株式会社東芝 | 化合物半導体装置の製造方法 |
| JPS61183986A (ja) * | 1985-02-08 | 1986-08-16 | Toshiba Corp | 半導体発光装置の製造方法 |
| JPH04183731A (ja) * | 1990-11-16 | 1992-06-30 | Polytec Design:Kk | 粘着性の高いゴム成型物 |
| JP3230638B2 (ja) * | 1993-02-10 | 2001-11-19 | シャープ株式会社 | 発光ダイオードの製造方法 |
| JPH06349692A (ja) * | 1993-06-08 | 1994-12-22 | Hitachi Ltd | 半導体装置及びその製造方法 |
| JP4635079B2 (ja) * | 1999-06-09 | 2011-02-16 | 株式会社東芝 | 半導体発光素子の製造方法 |
| JP4183731B2 (ja) * | 1999-06-09 | 2008-11-19 | 株式会社東芝 | 接着型半導体基板および半導体発光素子 |
| JP3977572B2 (ja) * | 1999-06-09 | 2007-09-19 | 株式会社東芝 | 接着型半導体基板および半導体発光素子並びにこれらの製造方法 |
| JP2007214597A (ja) * | 1999-06-09 | 2007-08-23 | Toshiba Corp | 半導体発光素子 |
-
2008
- 2008-07-22 JP JP2008188995A patent/JP4635079B2/ja not_active Expired - Fee Related
-
2010
- 2010-09-22 JP JP2010212391A patent/JP4635110B2/ja not_active Expired - Fee Related
Also Published As
| Publication number | Publication date |
|---|---|
| JP2011003934A (ja) | 2011-01-06 |
| JP2008252151A (ja) | 2008-10-16 |
| JP4635079B2 (ja) | 2011-02-16 |
Similar Documents
| Publication | Publication Date | Title |
|---|---|---|
| JP3977572B2 (ja) | 接着型半導体基板および半導体発光素子並びにこれらの製造方法 | |
| US7217635B2 (en) | Process for preparing a bonding type semiconductor substrate | |
| JP3520271B2 (ja) | 発光ダイオード及び発光ダイオードの製造方法 | |
| JP3520270B2 (ja) | 発光ダイオードとその製造方法 | |
| TWI663748B (zh) | 發光元件以及發光元件的製造方法 | |
| TW200524180A (en) | Light-emitting semiconductor device, manufacturing method thereof, and electrode forming method | |
| JP4635110B2 (ja) | 積層体および発光素子 | |
| US20120070958A1 (en) | Method of manufacturing semiconductor device | |
| JP2005136271A (ja) | 半導体発光素子及びその製造方法 | |
| JP4225510B2 (ja) | 化合物半導体発光ダイオードおよびその製造方法 | |
| US20010028061A1 (en) | Semiconductor light emitting device capable of increasing light emitting efficiency | |
| JP2004146539A (ja) | 発光素子の製造方法及び発光素子 | |
| JP4183731B2 (ja) | 接着型半導体基板および半導体発光素子 | |
| KR100681789B1 (ko) | 발광 다이오드 및 그 제조 방법 | |
| JP2007214597A (ja) | 半導体発光素子 | |
| JP2004146541A (ja) | 発光素子及び発光素子の製造方法 | |
| CN107735870B (zh) | 发光组件以及发光组件的制造方法 | |
| JP4451683B2 (ja) | 半導体発光素子、その製造方法および発光ダイオード | |
| JP3630212B2 (ja) | 発光ダイオード | |
| JP2004146537A (ja) | 発光素子の製造方法及び発光素子 | |
| JP4666158B2 (ja) | 半導体発光素子の製造方法 | |
| WO2008065929A1 (fr) | Procédé de production d'élément d'émission de lumière | |
| JP2005191552A (ja) | 発光ダイオードおよびその製造方法 | |
| WO2004082035A1 (en) | Light-emitting diode and method for production thereof |
Legal Events
| Date | Code | Title | Description |
|---|---|---|---|
| A975 | Report on accelerated examination |
Free format text: JAPANESE INTERMEDIATE CODE: A971005 Effective date: 20101014 |
|
| TRDD | Decision of grant or rejection written | ||
| A01 | Written decision to grant a patent or to grant a registration (utility model) |
Free format text: JAPANESE INTERMEDIATE CODE: A01 Effective date: 20101026 |
|
| A01 | Written decision to grant a patent or to grant a registration (utility model) |
Free format text: JAPANESE INTERMEDIATE CODE: A01 |
|
| A61 | First payment of annual fees (during grant procedure) |
Free format text: JAPANESE INTERMEDIATE CODE: A61 Effective date: 20101119 |
|
| FPAY | Renewal fee payment (event date is renewal date of database) |
Free format text: PAYMENT UNTIL: 20131126 Year of fee payment: 3 |
|
| LAPS | Cancellation because of no payment of annual fees |