JP4635018B2 - フィルム収容体及びフィルムの巻取方法 - Google Patents

フィルム収容体及びフィルムの巻取方法 Download PDF

Info

Publication number
JP4635018B2
JP4635018B2 JP2007071066A JP2007071066A JP4635018B2 JP 4635018 B2 JP4635018 B2 JP 4635018B2 JP 2007071066 A JP2007071066 A JP 2007071066A JP 2007071066 A JP2007071066 A JP 2007071066A JP 4635018 B2 JP4635018 B2 JP 4635018B2
Authority
JP
Japan
Prior art keywords
film
winding
reel member
flange
shaft portion
Prior art date
Legal status (The legal status is an assumption and is not a legal conclusion. Google has not performed a legal analysis and makes no representation as to the accuracy of the status listed.)
Expired - Lifetime
Application number
JP2007071066A
Other languages
English (en)
Other versions
JP2007191314A (ja
JP2007191314A5 (ja
Inventor
晃司 新井
雅彦 伊東
Current Assignee (The listed assignees may be inaccurate. Google has not performed a legal analysis and makes no representation or warranty as to the accuracy of the list.)
Dexerials Corp
Original Assignee
Sony Chemical and Information Device Corp
Priority date (The priority date is an assumption and is not a legal conclusion. Google has not performed a legal analysis and makes no representation as to the accuracy of the date listed.)
Filing date
Publication date
Application filed by Sony Chemical and Information Device Corp filed Critical Sony Chemical and Information Device Corp
Priority to JP2007071066A priority Critical patent/JP4635018B2/ja
Publication of JP2007191314A publication Critical patent/JP2007191314A/ja
Publication of JP2007191314A5 publication Critical patent/JP2007191314A5/ja
Application granted granted Critical
Publication of JP4635018B2 publication Critical patent/JP4635018B2/ja
Anticipated expiration legal-status Critical
Expired - Lifetime legal-status Critical Current

Links

Images

Landscapes

  • Storage Of Web-Like Or Filamentary Materials (AREA)

Description

本発明は、例えば、製造工程において絶縁性接着フィルムや異方導電性接着フィルムなどのように一連の長尺のフィルムを巻取る技術に関する。
一般に、例えば、液晶パネルやICチップのような電子部品同士を電気的に接続する場合には、絶縁性接着フィルムや異方導電性接着フィルムが用いられる。
このような接着フィルムは、所定の製造工程を経て完成したリール部材にロール状に巻取った形態で顧客先に出荷されている。
ところで、近年、顧客側から接着フィルムをさらに長尺化することが望まれている。
しかし、接着フィルムが長尺化すると、ロール状の径が増すことによって接着フィルムに生じる応力が増大するため、接着フィルム内の接着剤がはみ出るおそれがある。
本発明は、このような技術的課題を解決するためになされたもので、その目的とするところは、接着剤フィルムの長尺化に対応すべく、接着剤がはみ出ないような径で接着フィルムを多段状に巻取る方法及びこれに適用可能なリール部材を提供することにある。
上記目的を達成するためになされた本発明は、同一軸上に所定の間隔をおいて複数配列された巻取軸部と、各巻取軸部の両端部に設けられた一対のフランジ部とを有し、各フランジ部に中心角θで切り欠かれた案内溝が、当該中心角θごとに位相がずれて配列され、当該中心角θは、前記各巻取軸部の両端部に設けられた前記一対のフランジ部の数nに対し、360度/nとするように構成されているリール部材を有し、当該リール部材に一連のフィルムが巻回されたフィルム収容体であって、前記フィルムは、剥離フィルムに接着剤が積層されたものであって、前記フランジ部に対して一方側から他方側に引き回すのに必要な部分に前記剥離フィルムが露出していることを特徴とするフィルム収容体である
本発明では、前記リール部材の各巻取軸部の間に、フィルムを誘導するためのスペース軸部が設けられていることを特徴とする。
本発明では、前記リール部材の互いに隣接する案内溝において対向する案内縁部には、フィルムを誘導するための面取りが所定の角度で施されていることを特徴とする。
本発明では、前記フィルムは、前記接着剤中に導電粒子が分散されていることを特徴とする。
一方、本発明は、同一軸上に所定の間隔をおいて複数配列された巻取軸部と、各巻取軸部の両端部に設けられた一対のフランジ部とを有し、各フランジ部に中心角θで切り欠かれた案内溝が、当該中心角θごとに位相がずれて配列され、当該中心角θは、前記各巻取軸部の両端部に設けられた前記一対のフランジ部の数nに対し、360度/nとするように構成されているリール部材を用いて一連のフィルムを巻取る方法であって前記フィルムは、剥離フィルムに接着剤が積層されたものであって、前記フランジ部に対して一方側から他方側に引き回すのに必要な部分に前記剥離フィルムが露出しており、前記各巻取軸部を軸方向に移動させるタイミングを案内溝の当該中心角θごとにずらすことを特徴とするフィルムの巻取方法。
本発明のフィルム収容体のリール部材によれば、巻取軸上に複数のフランジを有し、各フランジ部に案内溝を設けたことにより、一方側の巻取軸部でフィルムの巻取りが終了した段階でフィルムを案内溝を通すことによって他方側の巻取軸部に円滑に移動させることができるため、長尺のフィルムに対して、フィルムの巻取り径を所望の値に抑えながら多段状に巻取ることが可能になり、その結果、例えば絶縁性接着フィルムや異方導電性接着フィルムに対し、接着剤がはみ出ない程度の巻取り径で大径化することなく多段状に巻取ることが可能になる。
しかも、本発明によれば、リール部材の案内溝をその中心角θ(θは、当該リール部材に設けられた一対のフランジ部の数nに対し、360度/nとするように構成されている)ごとに位相をずらして配列することにより、リール部材全体の重心を巻取軸線上にのせることができるため、常に均一の回転モーメントをもって長尺のフィルムを巻き取ることができる一方で、互いに隣接する案内溝において対向する案内縁部によってフィルムを挟んだ状態で次の巻取軸部に誘導可能になる。
この場合、巻取軸部を軸方向に移動させるタイミングを案内溝の当該中心角θごとにずらすようにすれば、フィルムをスパイラル状に誘導しつつ円滑に引き回すことにより、折れを生じずに長尺のフィルムを巻き取ることができ、その結果、顧客に、折れ跡のない(捨てる部分のない)フィルムを収容したフィルム収容体を提供することができる。
さらに、本発明のフィルム収容体のリール部材において、各巻取軸部の間に、フィルムを誘導するためのスペース軸部が設けられている場合には、スペース軸部の側面でフィルムを次の巻取軸部に誘導できるとともに、スペース軸部の長さの設定により、フィルムの引き回しを緩やかにすることができる。
さらにまた、本発明のフィルム収容体のリール部材において、互いに隣接する案内溝において対向する案内縁部に、フィルムを誘導するための面取りが所定の角度で施されている場合には、フランジ部の面取りを施した斜面でフィルムを次の巻取軸部に円滑に誘導することができる。
このように本発明のフィルム収容体によれば、取引市場におく際に長尺化されたフィルムの取扱いを容易にすることができる。
また、本発明のフィルム収容体によれば、フィルムを引き回すのに必要な部分を剥離フィルムのみにすることによって、絶縁性接着剤フィルムや異方導電性接着フィルムを無駄にしなくて済むという利点と、引き回す際によじれた絶縁性接着剤フィルムや異方導電性接着フィルムを顧客に使用させずにその品質を保証できるという利点とがある。
一方、本発明のフィルムの巻取方法によれば、フィルムをスパイラル状に誘導しつつ円滑に引き回すことにより、折れを生じずに長尺のフィルムを巻き取ることができ、その結果、顧客に、折れ跡のない(捨てる部分のない)フィルムを収容したフィルム収容体を提供することができる。
以上述べたように本発明によれば、接着剤フィルムの長尺化に対応すべく、接着剤がはみ出ないような径で接着フィルムを多段状に巻取る方法及びこれに適用可能なリール部材を有するフィルム収容体を得ることができる。
また、本発明によれば、常に均一の回転モーメントをもって長尺のフィルムを巻き取ることができる。
以下、本発明の構成要素であるリール部材は、一連の長尺のフィルムを多段状に巻取るために用いられるが、このフィルムは、特に限定されるものでなく、例えば、回路基板の電極とICチップの電極とを電気的に接続するための、絶縁性接着フィルムや、異方導電性接着フィルムに特に有効なものである。
このような絶縁性接着フィルムは、剥離フィルムに絶縁性の接着剤がフィルム状に積層されたものである。一方、異方導電性接着フィルムは、上記接着剤に導電粒子を含むものである。
以下、このような絶縁性接着フィルム及び異方導電性接着フィルム(以下、適宜、単に「フィルム」という場合がある)を巻取り可能なリール部材の好ましい実施の形態を図面を参照して説明する。
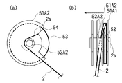
図1(a)は、本発明の構成要素であるリール部材の概略基本構成を示す正面図、図1(b)は、同リール部材の概略構成を示す右側面である。
図1(a)(b)に示すように、本リール部材50Aは、例えば樹脂から一体的に構成されたもので、巻取軸部52Aと、複数のフランジ部51Aとを有している。フランジ部51Aは、所定の外径で円板状に形成されたもので、円筒状の巻取軸52A上に所定の間隔をおいて互いに平行に配列されている。
ここで、絶縁性接着フィルム及び異方導電性接着フィルムは、巻取られる際に生じる応力により接着剤が剥離フィルムからはみ出ないようにする観点から、フィルム幅(例えば1.9mm)や、フィルム厚さ(例えば0.1mm)などの値に応じて、剥離フィルム上に、一定の長さ(例えば25m)の接着フィルムが、所定の間隔をおいて繰返し形成されている。
さらに、接着フィルムの間隔、すなわち、剥離フィルムの長さは、多段状に巻取る際に接着フィルムを無駄にしない等の観点から、巻取軸の方向に引き回すために必要最小限の範囲で定められている。
このようなフィルムに本実施の形態のリール部材を対応させるため、フランジ部51Aの数は、接着フィルムの繰返し数に応じて定められ、また、各フランジ部51Aの間隔は、フィルム幅より若干大きくなるように定められている。さらに、フランジ部51Aの外径は、巻取ったフィルムを保護する観点から、接着フィルムの長さに応じてその巻取り径より大きくなるように定められている。
図1(b)に示すように、各フランジ部51Aには、隣り合う他のフランジ部51Aへフィルムを通過させるための案内溝53Aが、それぞれ同一形状で形成されている。各案内溝53Aは、ロール状のフィルムが一部だけ露出するような大きさで略扇状に切りか欠かれて形成され、他の案内溝53Aと対向して軸方向に同列に配列されている。
これにより、各案内溝53Aの外周部分に形成された案内縁54Aは、フランジ部51Aの円周方向に他の案内縁54Aと同じ位置でフィルムと当接するようになっている。
一方、巻取軸部52Aは、フランジ部51Aの数やその間隔に応じた長さで形成されている。また、巻取軸部52Aには、所定の断面形状で軸方向に延びる貫通孔55Aが形成されているが、この貫通孔55Aは、例えば、キー付きの軸(図示せず)と嵌合可能な形状に形成されている。
図2(a)は、本発明の構成要素であるリール部材の他の概略基本構成を示す左側面図、図2(b)は、同リール部材の概略構成を示す正面図、図2(c)は、同リール部材の概略構成を示す右側面図である。
図3は、同リール部材の結合した状態を示す正面図である。
図2(a)〜図2(c)に示すように、本リール部材50Bは、巻取軸部52Bと、一つのフランジ部51Bとから一体的に構成されている。
の場合、フランジ部51Bは、案内溝53Bの形状が上述のフランジ部51Aのものと異なる。すなわち、案内溝53Bは、フィルム幅より大きい幅で一の半径方向に巻取軸部52Bの近傍にまで延びる形状で形成されている。
一方、巻取軸部52Bは、フィルム幅より若干大きい長さの軸部分52B1と、この軸部分52B1とフランジ部51Bを挟んで同軸上にある係合軸部52B2とからなり、係合軸部52B2がキー付きの円筒状に形成される一方で、軸部分52B1には、キー溝を有する穴が係合軸部52B2と嵌合可能に形成されている。
これにより、リール部材50Bは、他のリール部材と軸方向で互い結合することによって双方のフランジ部51Bの案内溝53Bが互いに対向して軸方向に同列に配列されるように構成されている。
また、巻取軸部52Bには、上記と同様、貫通孔55Bが形成されている。本例の場合、この貫通孔55Bは、例えば、断面「D字」状の軸と嵌合可能な形状に形成されている。
図3に示すように、このリール部材50Bは、例えば4個結合された場合、各巻取軸55Bが一体化して一つの巻取軸部をなすとともに、各フランジ部51Bが互いに平行に配列されることによって、一体化したリール部材結合体60Bを構成するようになっている。
図4(a)は、本発明の構成要素であるリール部材の他の概略基本構成を示す正面図、図4(b)は、同リール部材の概略構成を示す右側面図である。
図4(a)(b)に示すように、このリール部材50Cは、巻取軸部52Cと、二つのフランジ部51Cとから一体的に構成される。
の場合、各フランジ部51Cは、上述のフランジ部51Bと同一のもので、巻取軸部52C上に互いに平行に配列されている。
一方、巻取軸部52Cは、フランジ部51Bを2個配列させるため述の例の場合と長さの点で異なるが、その他の構成については上述の巻取軸部52Bと同一である。
図3に示すように、このようなリール部材50Cは、例えば2個結合された場合、上記例と同様、一体化したリール部材結合体60Cを構成するようになっている。
図5(a)は、本発明の参考例のリール部材の概略構成を示す正面図、図5(b)は、同リール部材の概略構成を示す右側面図である。
図5(a)(b)に示すように、本のリール部材50Dは、巻取軸部52Dと、一つのフランジ部51Dとから一体的に構成されている。
の場合、フランジ部51Dには、案内溝が形成されていない点で上述のフランジ部51A〜51Cと異なる。すなわち、フランジ部51Dは、上記フランジ部51A〜51Cの外周部分の一部に徐々に半径を増加させた曲線部分を滑らかに加えたような形状に形成されている。そして、このような形状につき半径の差が最も大きい段差部分には、フィルムと当接可能な案内縁54Dを有する係合突部56Dが形成されている。
一方、巻取軸部52Dは、上述の巻取軸部52Bと同一の構成である。
図6(a)は、本発明の構成要素であるリール部材の他の概略基本構成を示す正面図、図6(b)は、同リール部材の概略構成を示す右側面図である。
図7は、同リール部材の軸上で結合した状態を示す正面図である。
図6(a)(b)に示すように、のリール部材50Eは、巻取軸部52Eと、一対のフランジ部51Eとから一体的に構成される。
の場合、フランジ部51Eは、上述のフランジ部51Cと同一の構成である。
一方、巻取軸部52Eには、上記例と同様、キー溝付きの円形断面状の貫通孔55Eが形成されている。
図7に示すように、このようなリール部材50Eは、例えば接着により軸上で複数連結された場合、一体化したリール部材結合体60Eを構成するようになっている。
図8(a)は、本発明の参考例のリール部材の概略構成を示す正面図、図8(b)は、同リール部材の概略構成を示す平面図、図8(c)は、同リール部材の係止溝を拡大して示す図である。
図8(a)〜図8(c)に示すように、のリール部材50Fは、巻取軸部52Fと、一つのフランジ部51Fとから一体的に構成されている。
参考例の場合、フランジ部51Fは、上述のフランジ部51Aに対し、案内溝53Fの形状については同一のものであるが、以下の点で異なる。
すなわち、フランジ部51Fは、フイルムを案内溝53F内の案内縁54F上を引き回す際にそのフィルムが折れないように保護する観点から、厚さを5mm〜6mmとした上で案内縁54Fが曲線となるようにこの案内縁54Fを含む部分の断面形状が凸曲面状に形成されている。
さらに、フランジ部51Fには、フィルムを他のリール部材に引き回す際にそのフィルムが緩まないようにする観点から、フィルムを係止するための係止溝57Fが設けられている。この係止溝57Fは、フィルムの厚さより若干小さめの幅をもって、案内縁54F上にあって案内溝53Fの隅部分からフランジ部51Fの半径方向と略直交する方向に延びるように形成されている。
一方、巻取軸部52Fは、上述の巻取軸部52Bと同一の構成である。
図9(a)は、本発明の他の参考例のリール部材の概略構成を示す正面図、図9(b)は、同リール部材の係止溝を拡大して示す図である。
図9(a)(b)に示すように、本実施の形態のリール部材50Gは、巻取軸部52Gと、一つのフランジ部51Gとから一体的に構成されている。
参考例の場合、フランジ部51Gは、上述のフランジ部51Fと係止溝57Gについて異なる。
この係止溝57Gは、フィルムの厚さより大きめの幅をもって、案内縁54G上にあって案内溝53Gの隅部分からフランジ部51Gの略中央部分に延びる誘導溝部57G1を有し、この誘導溝部57G1の先端部分には、フィルムの幅より若干大きい径をもつ円形状の係止孔57G2が形成されている。また、係止孔57G2の入口の近傍には、抜け止め部57G3が誘導溝部57G1の幅をフィルムの厚さより小さくするように突状に形成されている。
一方、巻取軸部52Gは、上記基本構成の巻取軸部52Bと同一の構成である。
図10は、本発明の他の参考例のリール部材の概略構成を示す正面図である。
図10に示すように、本参考例のリール部材50Hは、巻取軸部52Hと、一つのフランジ部51Hとから一体的に構成されている。
参考例の場合、フランジ部51Hには、フランジ部51H自体の重心を巻取軸部52H上にあるようにするバランス上の観点から、複数の案内溝53Hが同一の中心角をもってフランジ部51Hの外周部分を等しい間隔で刻むように形成されている。
また、係止溝57Hについても、各案内溝53Hの同じ位置に同一の形状で形成されている。各係止溝57Hは、フィルムの厚さより大きめの幅をもって、案内縁54H上にあって案内溝53Hの隅部分から一方向に延び、フィルムの厚さより若干小さめの幅をもって、半径方向に折れ曲がるように形成されている。
一方、巻取軸部52Hは、上記基本構成の巻取軸部52Bと同一の構成である。
図11(a)は、本発明の他の参考例のリール部材の概略構成を示す正面図、図11(b)は、同リール部材の係止溝の一部を拡大して示す図である。
図11(a)(b)に示すように、本参考例のリール部材50Kは、巻取軸部52Kと、複数のフランジ部51Kとから一体的に構成されている。
参考例の場合、各フランジ部51Kは、上記同様のバランス上の観点から、同一の中心角をもつ扇形状に形成され、巻取軸部52Kの外周上に同一の間隔をおいて配置されている。これにより、各フランジ部51Kの間には、案内溝53Kが形成され、また、各フランジ部51Kの一方側の縁部分には、案内縁54Kが形成される。
係止溝57Kについては、各案内縁54K上にあって案内溝53Kの隅部分からフランジ部51Kにくい込んで巻取軸部52Kの巻取り方向に延び、さらに、巻取軸部52Kを刻むように形成された第1の係止溝57K1と、案内縁54Kと対向する他のフランジ部51Kの縁部分に形成された第2の係止溝57K2とから構成される。
この第2の係止溝57K2は、フィルムの巻取径をもつ円周上において巻取り方向と反対方向に延びるように形成されている。
一方、巻取軸部52Kは、係止溝57K1の一部が刻まれている点を除いて上記基本構成の巻取軸部52Bと同一の構成である。
図12(a)は、本発明の実施の形態のリール部材の概略構成を示す正面図、図12(b)は、同リール部材のフランジ部の案内溝の位置関係を示す図である。
図13(a)は、同リール部材の切断線S1−S1に沿って切断した右側面図、図13(b)は、同リール部材の切断線S2−S2に沿って切断した右側面図である。
図14は、同リール部材の面取り角度を説明するための図である。
図12(a)に示すように、本実施の形態のリール部材50Lは、交互に複数配列されてなる巻取軸部52L及びスペース軸部520Lと、複数のフランジ部51Lとから一体的に構成されている。ここで、各巻取軸部52Lの両端部には、一対のフランジ部51Lが設けられている。
スペース軸部520Lの外径及び長さは、後述する所定の条件に基づいて定められ、巻取軸部52Lの外径及び長さより大きくなっている。
一方、各フランジ部51Lには、この円外形とスペース軸部520Lの円外形とに挟まれた部分を一定の中心角をもって切り欠いたような扇形状の案内溝53Lが形成されている。
本実施の形態の場合、巻取軸線に関するリール部材50L全体の重量バランスを均一する観点から、案内溝53Lの中心角θを、各巻取軸部52Lの両端部に設けられた一対のフランジ部51Lの数nに対し、360度/nとし、案内溝53Lは、中心角θごとに位相がずれて配置される。
また、フィルムを引き回す際に互いに隣接する送り出し側と受け取り側との間のフランジ部51Lについて各案内溝53Lに円滑にフィルムを引き回す観点から、フランジ部51Lのそれぞれの案内溝53Lにおいて中心角θを確定する二つの案内縁部54Lのうち、送り出し側のフランジ51L部について巻取方向Rの下位側の案内縁部54Lと、受け取り側のフランジ部51Lについて巻取方向Rの上位側の案内縁部54Lとを対向させるべく、案内溝53Lは、連続的に位相がずれるように配置される。
例えば、図12(a)(b)に示すように、一対のフランジ部51Lの数nを4個とした場合、案内溝53Lの中心角θは、90度となり、フランジ部51Lの総数は、nの整数倍(ここでは8個)となる。
巻取軸のスライド方向X+の側から順に、フランジ部51L1((1))〜フランジ部51L8((8))とした場合、右側面図の回転座標系(巻取方向Rを正)において、フランジ部51L1((1))、51L5((5))は、0度〜90度の範囲に案内溝53L1、53L5を有し(鎖線による斜線部分)、フランジ部51L2((2))、51L6((6))は、90度〜180度の範囲に案内溝53L2、53L6を有し(実線による斜線部分)、フランジ部51L3((3))、51L7((7))は、180度〜270度の範囲に案内溝53L3、53L7を有し(実線による斜線部分)、フランジ部51L4((4))、51L8((8))は、270度〜360度の範囲に案内溝53L4、53L8を有する(鎖線による斜線部分)。
このような案内溝の配置により、フランジ部自体51Lの重心は、案内溝53Lによって巻取軸線に対して偏心するものの、フランジ部53L1((1))、53L5((5))は、フランジ部51L3((3))、51L7((7))と巻取軸線に関して対称になり、また、フランジ部51L2((2))、51L6((6))は、フランジ部51L4((4))、51L8((8))と巻取軸線に関して対称となるため、リール部材53L全体の重心は、巻取軸線上に位置する。
また、送り出し側のフランジ部51L2((2))、51L4((4))、51L6((6))について巻取方向Rの下位側の案内縁部54L2、54L4、54L6は、それぞれ、受け取り側のフランジ部51L3((3))、51L5((5))、51L7((7))について巻取方向Rの上位側の案内縁部54L3、54L5、54L7と同一平面を挟んで対向する。
さらに、本実施の形態の場合、巻取軸52Lに巻き取られた部分から次の巻取軸部52Lに、フィルムを引き回す際に円滑に、即ち、フィルに折れが生じないようにフィルムを誘導する観点から、送り出し側の案内縁部54L2、54L4、54L6と、受け取り側の案内縁部54L3、54L5、54L7とには、それぞれ、互いに平行な斜面が形成されるように、一定の角度で面取りが施されている。
例えば、図13(a)(b)及び図12(a)に示すように、フランジ部51L2((2))の案内縁部54L2については、巻取軸線を含む水平面に対し斜め下方に傾くガイド斜面58L2が形成され、フランジ部51L3((3))の案内縁部54L2については、巻取軸線を含む水平面に対し斜め上方に傾くガイド斜面58L3が形成されている。
他の送り出し側の案内縁部54L4、54L6や、受け取り側の案内縁部54L5、54L7についても同様である。
ここで、図14を参照して、案内縁部54Lの面取り角度αの設定について説明する。
巻取軸部52L1に巻き取られたフイルムの最外側部分から、スペース軸部520L1を経由して次の巻取軸部52L2にフィルムを引き回す際、このフィルムは、上述したように折れがないように誘導されることが必要であるため、特定の円筒曲面上においてスパイラル曲線となるような軌跡をとることが好ましい。
そこで、本実施の形態の場合、まず、リール部材50Lのうち、フランジ部51L1〜51L4、これらの間にある巻取軸部52L1、52L2及びスペース軸部520L1の部分を対象にした上で、フランジ部51L1の内面と巻取径Dのフィルム上の最上の母線L1との交点P1を起点として引き回す際にフィルムが浮き上がった部分に接する直線L2と、フランジ部51L4の内面と巻取軸部52L2上の最下の母線との交点P2から直線L2に対して平行にいた直線L3とに対し、その直線L2、L3を最も外側の母線として含み、スペース軸部520Lの側面と擬似的に一体をなした仮想的円筒曲面Cを想定する。
次いで、その仮想的円筒曲面C上において、交点P1と直線L3上で交点P2からフィルム幅に相当する分だけ離れた点P3とを結んでスパイラル曲線となるようなフィルム縁軌跡S1と、交点P2と直線L2上で交点P1からフィルム幅に相当する分だけ離れた点P4とを結んでスパイラル曲線となるようなフィルム縁軌跡S2とを考える。
そして、フランジ部51L3の面取り角度α3は、ガイド斜面58L3がフィルム縁軌跡S2と接するような角度で定められる。また、フランジ部51L2の面取り角度α2は、フランジ部51L3の面取り角度α3と同一である。
他のフランジ部51L1、51L4〜51L8の面取り角度α1、α4〜α8についても、同様にフランジ部51L3の面取り角度α3と同一である。
なお、フランジ部51L2のガイド傾斜面58L2は、スペース軸部520L1の長さdとの関係上、フィルム縁軌跡S1と接触しない場合と、接触する場合とがある。
ガイド傾斜面58L2がフィルム縁軌跡S1と接触しないようなスペース軸部520L1の長さd1を設定した場合には、スペース軸部520L1の長さd1と、フランジ部51L2について上位側の案内縁部54L2と、これに対して180度開いた、フランジ部51L3にいて下位側の案内縁部54L3とから定められるフィルム誘導空間に伴って仮想的円筒曲面Cを大きくし、これにより、スパイラル曲線の進み角が大きくなるため、フィルムの引き回しが緩やかになるという利点があり、本実施の形態では、このような点を利用している。
一方、本実施の形態では採用していないが、ガイド傾斜面58L2がフィルム縁軌跡S1と接触するようなスペース軸部520L1の長さd2(<d1)を設定した場合には、上記フィルム誘導空間が小さくなることに伴ってフィルムの引き回しがきつくなるものの、フランジ部51L3のガイド傾斜面58L3及びフランジ部51L2のガイド傾斜面58L2の双方によってフィルムの両端縁を誘導することによって巻き弛みを防止しうるという利点がある。
図15は、本実施の形態のリール部材にフィルムが巻き取られたフィルム収容体を示す正面図である。
図15に示すように、このフィルム収容体70Cは、本実施の形態のリール部材50Lに後述するフィルムの巻取方法を施したものであるが、引き回された部分のフィルムは、それぞれ、ガイド傾斜面58L3、58L5、58L7と接触しつつ、スパイラル曲線に近似した曲線上にある。
もっとも、案内縁部54L(面取りがされていない)の端面やスペース軸部520Lの側面のうち、少なくともフィルムと接触する部分を、仮想的円筒曲面Cに近づけることによって、引き回される部分のフィルムは、フィルム縁軌跡S1、S2とさらに近似した曲線上にのせることが可能になる。
図16は、本実施の形態のリール部材を複数の部品要素に分割した例を示す図である。
上述したリール部材50Lは一体的に構成されたものであるが、本実施の形態のリール部材50Lを、複数の部品要素から組立可能に構成することも可能である。
例えば、図16に示すように、フランジ部51L1及び巻取軸部52L1を第1の部品要素501Lとし、また、フランジ部51L8を部品要素502Lとし、さらに、フランジ部51L2及びフランジ部51L3と、スペース軸部520L1及び巻取軸部52L2とを部品要素503Lとした上で、部品要素501Lと部品要素503Lとを互いに連結可能に構成するとともに、部品要素503Lと部品要素502Lとを互いに連結可能に構成する。
そして、このようなリール部材50Lは、各部品要素501L〜503Lが90度ごとに位相がずれて連結されることにより、一対のフランジ部51Lの数nにつき任意の整数倍として設定可能なものとなる。
なお、本実施の形態の場合、フランジ部51L1((1))、51L8((8))に、重量バランスの均一化の観点から、案内溝53L1、53L8を設けたが、本来、これらはフィルムを引き回す点で不要である。
そのため、重量バランスの均一化及びフィルムの保護の観点から、案内溝53Lを有する一対のフランジ部51Lの数nの整数倍数分だけ上述したような配置構成した上で、これらの両外側に案内溝53Lが設けられていないフランジ部51Lを配置することも可能である。
本発明を実施する際には、例えば、以下に示すような多段巻システムが用いられる。まず、この多段巻システムについて図面を参照して説明する。
図17は、本発明を実施するための多段巻システムの一例につきその概略構成を示す正面図である。図18は、同多段巻システムの概略構成を示す左側面図である。
図17又は図18に示すように、の多段巻システム1は、送出装置10と、巻取装置20とを有する。
送出装置10は、絶縁性接着フィルム又は異方導電性接着フィルムが巻回されたリール部材11を送り軸12上で回転可能に支持した状態でそのリール部材11に所定の負荷を与えるように構成されている。
なお、送出装置10のリール部材11は、上述のリール部材50の構成とほぼ同様であるが、フランジ部13の外径については、上述のフランジ部51の外径より大きく、絶縁性接着フィルム又は異方導電性接着フィルムの全体の長さに応じて設定されている。
巻取装置20は、巻取機構30と、移動機構40と、制御部60とからなる。
巻取機構30は、送出装置10の送り軸12と平行に配設された巻取軸31を有する。この巻取軸31は、例えば、上述のリール部材のうち、巻取軸部51の貫通孔と若干の隙間をもって嵌合可能な断面形状をもつ。これにより、巻取軸31は、リール部材50を円周方向への移動を固定したまま軸方向への移動を可能にした状態で支持するようになっている。
このような巻取軸31の一方側の端部分には、駆動部32が設けられている。この駆動部32は、巻取軸31上の歯車32aに、所定の歯車列32bを介して、ステッピングモータからなる巻取りモータ32cの動力を伝達して巻取軸31を回転させるように構成されている。
また、巻取りモータ32cの駆動軸には、エンコーダ32dが固定される一方で、このエンコーダ32dの近傍には、光反射型のセンサ32eが設けられている。
このような巻取りモータ32c及びセンサ32eは、それぞれ、制御部60に電気的に接続されている。そして、制御部60は、センサ32eから信号に基づいて巻取りモータ32cのパルス数をカウントするとともに、そのパルス数に基づいて巻取りモータ32cの回転を制御するように構成されている。
一方、移動機構40は、巻取軸31と平行な一対の軸であって、雄ねじが形成された駆動軸41と、スライド軸42とを有している。駆動軸41の一方側の端部分には、巻取機構20の場合と同様の構成を有する駆動部43が設けられている。すなわち、この駆動部43は、駆動軸41上の歯車43aに動力を伝達することによって駆動軸41を回転させることが可能なスライドモータ43bと、この駆動軸上のエンコーダ43cを検出可能な光透過型のセンサ43dとからなる。これらのスライドモータ43b及びセンサ43dは、制御部60に接続され、巻取機構30と同様に制御される。
このような駆動軸41とスライド軸42には、移動プレート44と押圧プレート45とが取り付けられている。移動プレート44は、駆動軸41とねじ結合するとともに、スライド軸42に対して摺動可能に係合するように構成されている。押圧プレート45は、駆動軸41とねじ結合せずスライド軸42とのみ摺動可能に係合した状態で、図示しないコイルばねにより移動プレート44側に付勢するように構成されている。
また、移動プレート44及び押圧プレート45は、ともに、リール部材50のフランジ部51の外周部分とのみ当接するように例えばリング形状に形成されている。
次に、本発明に係るフィルムの巻取方法の基本概念を、例えば、上述したような多段巻システムに上述のリール部材50A〜50Lのうち数種を適用した場合を例にとって説明する。
図19〜図24は、本発明のフィルムの巻取方法の基本概念を、上述のリール部材によってフィルムが巻取られる状態をもって(a)左側面図、(b)正面図で示した図である。
図25(a)は、フィルム収容体の参考例を示す左側面図、図25(b)は、同フィルム収容体を示す正面図である。
図17に示すように、まず、フィルムが巻回されたリール部材11を送出装置10に装着するとともに、例えば上述のリール部材50Aを巻取装置20に装着した後、巻取装置20の移動プレート44側(図8の最も右側)のフランジ部51Aと、送出装置10の右側のフランジ部13(以下、「右フランジ部13a」という)とが同一平面上に配置されるように、送り側のリール部材11に対して巻取り側のリール部材50Aを位置決めする。
次いで、送り出し側のリール部材11から引き出したフィルム2を、巻取り側のリール部材50Aの巻取軸部51Aに巻付ける。ここでは、説明の便宜上、図1(a)に示すように、リール部材50Aのフランジ部51Aを、右側のものから、順に、第1のフランジ部51A1、第2のフランジ部51A2、第3のフランジ部51A3、第4のフランジ部53A4とし、リール部材50Aの巻取軸部52Aのうち、第1、第2のフランジ部51A1、51A2の間のものを第1の巻取軸部52A1とし、第2、第3のフランジ部51A2、51A3の間のものを第2の巻取軸部52A2とし、第3、第4のフランジ部51A3、51A4の間のものを第3の巻取軸部52A3とする。
そして、上述した制御部60からの命令により、巻取りモータ32Cを作動して巻取軸31の回転を開始させるとともに、巻取りモータ32Cのパルス数のカウントを開始する。
これにより、リール部材50Aが、送出装置10によって負荷を加えられたフィルム2を張った状態のまま第1の巻取軸部52A1に巻取っていく(図19参照)。
図20(a)(b)に示すように、リール部材50Aの第1の巻取軸部52A1が、接着フィルム2の部分を巻取り終ってから剥離フィルム2aを巻取り始めた後、制御部60が、巻取りモータ32cのパルス数のカウントにより、剥離フィルム2aの、送出側の剥離フィルム2aと巻取り側のロール状のフィルム2とが接する巻付け部分2bが、第2のフランジ部51A2の案内溝53A内に差し掛かったと判断したとき、巻取りモータ32cの作動を停止させる。
図21(a)(b)に示すように、制御部60からの命令により、スライドモータ43bを所定のパルス数分だけ作動して駆動軸41を回転させる。これにより、リール部材50Aは、図17に示す巻取軸31に沿って第2のフランジ部51A2が送出側の右フランジ部13aの位置を越えて相当の距離に達するまで移動する。この場合、送出側の剥離フィルム2aが巻取り側のロール状のフィルム2に対してひねられるため、その剥離フィルム2aは、第2のフランジ部51A2の案内溝53Aからはみ出て第3のフランジ部51A3に接近する。
図22(a)(b)に示すように、この状態のまま、再びリール部材50Aを回転させると、第2のフランジ部51A2が、案内縁54Aで剥離フィルム2aを引っ掛ける。
その後、図23(a)(b)に示すように、リール部材50Aは、回転に伴い、第2のフランジ部51A2で引っ掛けた状態の剥離フィルム2aを第2の巻取軸部52A2に巻付けるが、しばらくすると、剥離フィルム2aの送り出しが終了して次の接着フィルム2が送られてくるため、そのフィルム2を巻取っていく。
その一方で、制御部60が、スライドモータ43bを作動して、リール部材50Aを、第2のフランジ部51A2が送出側の右フランジ部13aと同一平面上に配置されるまで戻す。
これにより、図24(a)(b)に示すように、リール部材50Aは、第2の巻軸部52A2に対して送り出し側からのフィルム2を平行にした状態で巻取る。
以下、リール部材50Aの第3の巻取軸部52A3に対しても、上述したような巻取り処理を施す。
そして、図25(a)(b)に示すように、フィルム収容体70Aは、リール部材50Aに上述の巻取方法を施すことにより、送り出し側から、接着フィルム2の部分と、剥離フィルム2aの部分とが交互に送られる一連のフィルム2に対して、剥離フィルム2aの部分をフランジ部51Aから巻取軸部52Aに引き回した状態で、接着フィルム2の部分を各巻取軸部52Aにロール状に巻取ったものである。
図27〜図30は、本発明のフィルムの巻取方法の参考例について上述のリール部材によってフィルムが巻取られる状態をもって示した図である。
このフィルムの巻取方法においては、上述のリール部材50Kが複数結合されたリール部材結合体60K(以下、単に「リール部材50K」という)を用いているが、この巻取方法自体は、上述のリール部材50Aを用いた巻取方法と異なるものでなく、以下、リール部材50Kのリール部材50Aと異なる形状についての作用を主に説明する。
なお、図27、図29、図30は、それぞれ、図22(a)、図23(a)、図24(a)に対応するものである。
図27に示すように、一の巻取軸部52Kにフィルム2を巻取り終えた後、フィルム2が一の案内溝53Kに差し掛かった状態でリール部材50K自体をスライドさせてから回転させる。これにより、フィルム2がフランジ部51Kを跨いだ状態でその案内縁54Kと接触する。
図28に示すように、リール部材50Kをさらに回転させると、フィルム2は、案内縁54Kとの接点2cが第1の係止溝57K1に向かう方向に移動し、その一方で、ロール状のフィルム2からほぐれた部分2dが第2の係止溝57K2に向かう方向に移動する。
そして、図29に示すように、フィルム2は、第2の係止溝57K2の底に突き当たるとともに第1の係止溝57K1に落ち込んだ状態で、二つフランジ部51Kの縁部分にわたって引っ掛けられる。
その後、図30に示すように、フィルム2は、第1、第2の係止溝57K1、57K2の間で緊張状態を保ちつつ、次の巻取軸部52Kに巻き付いてそのまま巻かれていく。
一方、本参考例においては、上述のリール部材50A〜50Lのいずれか一種を用いてフィルムを引き回す際にそのフィルムが折れないように保護する観点から、フィルムを巻取り終わった巻取軸部52と次にフィルムを巻取ろうとする巻取軸部52との間に使用しない巻取軸部52を少なくとも一つ介在させることもできる。これにより、フィルムを巻取り終った巻取軸部52から引き出すためのフランジ部51と、フィルムを巻取ろうとする巻取軸部52に巻き付けるためのフランジ部51との間にあるフィルムは、巻取軸部52のすべてに連続的にフィルムを巻取った場合よりも、緩やかな角度で引き回される。
ただし、このようなフィルムの巻取方法は、同じような観点から構成された上述のリール部材50Fに適用されることが好ましく、この場合、フィルムを、フランジ部51Fの案内溝53F内の曲面部分に当てた状態で引き回し、巻取軸部52Fを一つおいて隣接する他のフランジ部51Fの案内溝53F内にある係止溝57Fに落とし込んだ後に、次の巻取軸部52Fに巻き付ける。
ここに、図26は、フィルム収容体の他の参考例を示す正面図であるが、図2に示すように、このフィルム収容体70Bは、リール部材50Fが複数結合したリール部材結合体60Fに上述したいわゆる一つとばしのフィルムの巻取方法を施したものである。
一方、本発明の実施の形態のフィルムの巻取方法においては、上述の場合と同様、フィルムが折れないように円滑に引き回す観点であるが、いわゆる一つとばしでフィルムを巻き取りという概念でなく、送り出し側と受け取り側の各巻取軸部の間に引き回すためのスペースを追加するという概念を取り入れつつ、さらに加えて、重量バランスの均一化の観点から、図12(a)(b)に示すリール部材50Lを用いることが好ましい。この場合、フィルムを引き回すタイミング、すなわち、巻取軸部52Lをスライドさせるタイミングを90度ずつずらす必要がある。
また、他の参考例のフィルムの巻取方法の方法においては、多段巻システム1に上記同様に上述のリール部材50Aを適用した場合、第1の巻取軸部52A1に接着フィルム2を巻き終った段階で、送出側の剥離フィルム2aの巻き付け部分2bが第2のフランジ部51A2の案内縁54Aに差し掛かったとき、リール部材50Aの回転を停止させることもできる。そして、リール部材50Aを軸方向に移動しながら第2のフランジ51A2の案内縁54Aに剥離フィルム2aを引っ掛ける。その後の処理は、上記参考例と同様である。
さらに、他の参考例のフィルムの巻取方法として、多段巻システム1に上述のリール部材50B、50C、50Eのいずれか一種を適用した場合、上記基本構成のリール部材50Aを適用した場合と比べて、各案内溝53B、53C、53Eの形状、大きさが異なる。そのため、ここでは、リール部材50の回転を停止させるタイミングを変えなければならないが、第1の巻取軸部52に接着フィルム2を巻き終った段階で、剥離フィルム2aを第2のフランジ部51の案内溝53に通過させて第2の巻取軸部52に移してからその案内縁54で引っ掛けながら巻き付ける点や、あるいは、剥離フィルム2aを第2のフランジ部51の案内縁54で引っ掛けながら第2の巻取軸部52に移した後に巻き付ける点においては上記参考例と同様である。
さらにまた、他の参考例のフィルムの巻取方法として、多段巻システム1に上述のリール部材50Dを適用した場合、各フランジ部51Dの係合突部56Dの周辺で剥離フィルム2aを通過させ、その案内縁54Dで引っ掛ける点については上記参考例と同様であるが、ここでは、各フランジ部51Dの回転に伴いその外周縁部分で剥離フィルム2aを滑らせてから係合突部56Dの案内縁54Dに引っ掛けることが可能であるため、リール部材50Dの回転を停止させるタイミングの幅を上記参考例と比べて拡げてもかまわない。
さらに加えて、上記参考例のフィルムの巻取方法においては、リール部材50を軸方向に移動する際にリール部材50の回転を停止させたが、一定の条件下でリール部材50を巻取る際の速度より減速させた状態で回転し続けてもかまわない。
この場合、リール部材50の回転速度は、各フランジ部51の案内溝53に剥離フィルムを通過させる点や、各フランジ部51の案内縁54に剥離フィルム2aを引っ掛ける点を担保するように決定されなければならない。
また、他の参考例のフィルムの巻取方法として上述のリール部材50G、50Hのいずれかを用いた場合、一つの巻取軸部52にフィルムを巻取り終えた後、そのフィルムをフランジ部51の案内縁54上に沿わせつつ、係止溝57に落とし込むことによって巻取軸部52の近傍で係止する。
この場合、リール部材50Gについては、フィルムは、リール部材50Gの回転に伴い、抜け止め部57G3により塞がれることによって係止孔57G2内で動きが拘束され、係止孔57G2内で姿勢を変えながら係止孔57G2の縁部分に緊張しつつ当接した状態で巻取軸部52Gに巻き付いていく。
また、リール部材50Hについては、フィルムは、リール部材50Hの回転に伴い、係止溝57Hの底部分で挟まれることによって固定され、この固定された部分を起点として緊張した状態を保ちながら巻取軸部52Hに巻き付いていく。
なお、このようなリール部材50G、50Hの係止溝57G、57Hや、前述のリール部材50F、50Kの係止溝57F、57Kは、フィルムを多段状に巻取る際に自動的にフランジ部51に係止するために用いられるほか、これらの係止溝57は、フイルムを巻取る工程のみを自動的に行い、フィルムを引き回す作業を手動で行うにあたってフィルムをフランジ部51に係止するためにも用いられる。
もっとも、手動でフィルムを引き回す場合には、フランジ部51に設けた案内溝53は、自動的にフィルムを通過させるという本来の機能が必要とされず、作業者が、例えばフィルムの先端を巻取軸部52に貼付する場合や、係止溝57にフィルムを挿入する場合などのように作業孔として必要とされるだけであり、案内溝53を設けずに係止溝57だけでも足りる。
したがって、本明細書においては、係止溝57は、フィルムをフランジ部51を通過させるという広義における共通点を有する限り、案内溝53の概念に含まれる。例えば、リール部材50F、50G、50Hについては、案内溝53を設けずに係止溝57のみを「案内溝」として設けることが可能であり、50Kについては、案内溝53の形状を含めた係止溝57を「案内溝」として設けることが可能である。
以上述べたように本実施の形態(又は参考例)によれば、リール部材50の一の巻取軸部52に接着フィルムを巻取った後に、リール部材50の回転を停止(又は減速)させてからリール部材50を軸方向に移動させるようにしたことから、次の巻取軸部52でフィルムの巻取りを円滑に開始できるため、長尺のフィルムに対して、フィルム内から接着剤がはみ出ない程度の径に抑えながら多段状に巻取ることが可能になる。
かかるフィルムの巻取方法を実施する際に、上述のリール部材50を用いることによって、長尺化されたフィルムを多段状に巻取ることがより効果的になる。
例えば、各フランジ部51に案内溝53を設けることにより、一の巻取軸部52でフィルムの巻取りが終了した段階でフィルムを案内溝53を通すことによって次の巻取軸部52に円滑に移動させることができるとともに、案内溝53の縁(案内縁)でフィルムを引っ掛けることによって、また、係止溝57でフイルムを係止しつつ引っ掛けることによって、次の巻取軸部52にフィルムを緩まずに巻き付けることができる。
特に、各フランジ部51に案内溝53を設けた点については、各フランジ部51の外周部分からはみ出ないようにフィルムを巻取ることができるという利点や、案内溝53を巻取軸部52の近傍にまで延ばすことによって、また、係止溝を巻取軸部の近傍にまで延ばすことによって、一の巻取軸部52から次の巻取軸部52に引き回すのに要するフィルム(剥離フィルム)の長さが短くて済むという利点もある。
また、各フランジ部51に係合突部56を設けることにより、フィルムを一の巻取軸部52から次の巻取軸部52に円滑に移動できる点や、係合突部56でフィルムを引っ掛けることができる点はもとより、これらを行うタイミングの幅を広く設定できるという利点がある。
さらに、各リール部材50を軸方向に互いに結合することにより、フィルムの長尺化の度合に応じて、リール部材50の結合数を増減させることによって適宜対応することが可能になる。
さらにまた、各案内溝53又は各係合突部56をフランジ部51の円周上で同一位置に配置することにより、フィルムを軸方向に移動させる際やフィルムを引っ掛ける際に、各フランジ部51の間で同じタイミングで行うことができる。
また、フランジ部51の厚さを相当の程度厚くした上で案内溝53内のフイルムを通す部分を曲面状にすることにより、フィルムを引き回す際にそのフィルムが折れることを防止できる。
特に、このようなリール部材50について、いわゆる一つとばしのフィルムの巻取方法を使用することによって、より効果的にフィルムの折れを防止できる。
さらに、案内溝53の案内縁54上に係止溝57を設けてフィルムを自動的にフランジ部51に係止させることにより、フィルムを引き回す際にフィルムが緩まないように防止できる。
特に、巻取軸部52に巻き付ける部分のフィルムを係止するだけでなく、既に巻き取った外側の部分のフィルムをも係止させることにより、より効果的にフィルムの緩みを防止できる。
もっとも、図1〜図7に示すリール部材50A〜50Eであっても、案内溝53の隅部又は底部にフィルムを引っ掛けた状態のまま巻取軸部52に巻き付けることによってフィルムの緩みを防止できるが、この場合、フィルムが案内溝53の引っ掛けた部分から動かないようにフィルムにある程度の大きさの張力を与え続けなければならず、その一方で、図8〜図11に示すリール部材50F〜50Kの場合は、フィルムを係止溝57で一旦係止してしまえば、その後フィルムに与える張力を必要最小の大きさにすることができるため、薄いフィルムの巻取りに適するという利点がある。
さらに、図10及び図11に示すリール部材50H、50Kによれば、フランジ部51自体の重心を巻取軸部52上にあるようにしたことから、このようなフランジ部51を構成に含むリール部材50に対し、均一の回転モーメントをもって回転させることが可能になるため、フィルムに必要最小の張力を与えつつ均一に巻取ることができる。
また、このようなリール部材50にフィルムを巻取らせたフィルム収容体70は、全体についての重心が巻取軸部52上にあって安定性があるため、出荷の際の納品形態について種々の幅をもたせることができる。
さらに、図12(a)(b)に示す本実施の形態のリール部材50Lによれば、リール部材50Lの重量バランスの均一化を図ることにより、常に均一の回転モーメントをもって長尺のフィルムを巻き取ることができるとともに、フィルムをスパイラル状に誘導しつつ円滑に引き回すことにより、折れを生じずに長尺のフィルムを巻き取ることができ、その結果、顧客に、折れ跡のない(捨てる部分のない)フィルムを収容したフィルム収容体70Cを提供することができる。
特に、この実施の形態の場合、重量バランスの点から定められる一対のフランジ部51Lの数nごとに巻取軸部52L及びフランジ部51Lの数を増加することによって、重量バランスの均一を保ったまま、多段状に巻き取るフィルムの長さをさらに増大させることができる。
例えば、リール部材50Lを用いて巻き取り可能なフィルムの長さは、一つの巻取軸部52Lに50メートルのフィルムを巻き取るとした場合、一対のフランジ部51Lの数n(=4)に整数倍Nを乗じて、200*Nメートルとなる。
(a):本発明の構成要素であるリール部材の概略基本構成を示す正面図である。(b):同リール部材の概略構成を示す右側面である。 (a):本発明の構成要素であるリール部材の他の概略基本構成を示す左側面図である。(b):同リール部材の概略構成を示す正面図である。(c):同リール部材の概略構成を示す右側面図である。 同リール部材の結合した状態を示す正面図である。 (a):本発明の構成要素であるリール部材の他の概略基本構成を示す正面図である。(b):同リール部材の概略構成を示す右側面図である。 (a):本発明の参考例のリール部材の概略構成を示す正面図である。(b):同リール部材の概略構成を示す右側面図である。 (a):本発明の構成要素であるリール部材の他の概略基本構成を示す正面図である。(b):同リール部材の概略構成を示す右側面図である。 同リール部材の軸上で結合した状態を示す正面図である。 (a):本発明の参考例のリール部材の概略構成を示す正面図である。(b):同リール部材の概略構成を示す平面図である。(c):同リール部材の係止溝を拡大して示す図である。 (a):本発明の他の参考例のリール部材の概略構成を示す正面図である。(b):同リール部材の係止溝を拡大して示す図である。 本発明の他の参考例のリール部材の概略構成を示す正面図である。 (a):本発明の他の参考例のリール部材の概略構成を示す正面図である。(b):同リール部材の係止溝の一部を拡大して示す図である。 (a):本発明の実施の形態のリール部材の概略構成を示す正面図である。(b):同リール部材のフランジ部の案内溝の位置関係を示す図である。 (a):同リール部材の切断線S1−S1に沿って切断した右側面図である。(b):同リール部材の切断線S2−S2に沿って切断した右側面図である。 同リール部材の面取り角度を説明するための図である。 同リール部材にフィルムが巻き取られたフィルム収容体を示す正面図である。 同リール部材を部品の要素に分割した例を示す図である。 本発明を実施するための多段巻システムの一例につきその概略構成を示す正面図である。 同多段巻システムの概略構成を示す左側面図である。 (a)(b):本発明のフィルムの巻取方法の基本概念を、上述のリール部材によってフィルムが巻取られる状態をもって示した図である。 (a)(b):本発明のフィルムの巻取方法の基本概念を、上述のリール部材によってフィルムが巻取られる状態をもって示した図である。 (a)(b):本発明のフィルムの巻取方法の基本概念を、上述のリール部材によってフィルムが巻取られる状態をもって示した図である。 (a)(b):本発明のフィルムの巻取方法の基本概念を、上述のリール部材によってフィルムが巻取られる状態をもって示した図である。 (a)(b):本発明のフィルムの巻取方法の基本概念を、上述のリール部材によってフィルムが巻取られる状態をもって示した図である。 (a)(b):本発明のフィルムの巻取方法の基本概念を、上述のリール部材によってフィルムが巻取られる状態をもって示した図である。 (a):フィルム収容体の参考例を示す左側面図である。(b):同フィルム収容体を示す正面図である。 フィルム収容体の他の参考例を示す正面図である。 本発明のフィルムの巻取方法の参考例について上述のリール部材によってフィルムが巻取られる状態をもって示した図である。 本発明のフィルムの巻取方法の参考例について上述のリール部材によってフィルムが巻取られる状態をもって示した図である。 本発明のフィルムの巻取方法の参考例について上述のリール部材によってフィルムが巻取られる状態をもって示した図である。 本発明のフィルムの巻取方法の参考例について上述のリール部材によってフィルムが巻取られる状態をもって示した図である。
符号の説明
50(A〜H、K、L) リール部材
51(A〜H、K、L) フランジ部
52(A〜H、K、L) 巻取軸部
520L スペース軸部
53(A〜C、E、F、G、H、K、L) 案内溝
54(A〜H) 案内縁
54L 案内縁部
56(D) 係合突部
57(F、G、H、K)
60(B、C、E、K) リール部材結合体
70(A、B、C)フィルム収容体

Claims (5)

  1. 同一軸上に所定の間隔をおいて複数配列された巻取軸部と、各巻取軸部の両端部に設けられた一対のフランジ部とを有し、各フランジ部に中心角θで切り欠かれた案内溝が、当該中心角θごとに位相がずれて配列され、当該中心角θは、前記各巻取軸部の両端部に設けられた前記一対のフランジ部の数nに対し、360度/nとするように構成されているリール部材を有し、当該リール部材に一連のフィルムが巻回されたフィルム収容体であって、
    前記フィルムは、剥離フィルムに接着剤が積層されたものであって、前記フランジ部に対して一方側から他方側に引き回すのに必要な部分に前記剥離フィルムが露出していることを特徴とするフィルム収容体。
  2. 前記リール部材の各巻取軸部の間に、フィルムを誘導するためのスペース軸部が設けられていることを特徴とする請求項1記載のフィルム収容体。
  3. 前記リール部材の互いに隣接する案内溝において対向する案内縁部には、フィルムを誘導するための面取りが所定の角度で施されていることを特徴とする請求項1又は2のいずれか1項記載のフィルム収容体
  4. 前記フィルムは、前記接着剤中に導電粒子が分散されていることを特徴とする請求項1乃至3のいずれか1項記載のフィルム収容体。
  5. 同一軸上に所定の間隔をおいて複数配列された巻取軸部と、各巻取軸部の両端部に設けられた一対のフランジ部とを有し、各フランジ部に中心角θで切り欠かれた案内溝が、当該中心角θごとに位相がずれて配列され、当該中心角θは、前記各巻取軸部の両端部に設けられた前記一対のフランジ部の数nに対し、360度/nとするように構成されているリール部材を用いて一連のフィルムを巻取る方法であって、
    前記フィルムは、剥離フィルムに接着剤が積層されたものであって、前記フランジ部に対して一方側から他方側に引き回すのに必要な部分に前記剥離フィルムが露出しており、前記各巻取軸部を軸方向に移動させるタイミングを案内溝の当該中心角θごとにずらすことを特徴とするフィルムの巻取方法。
JP2007071066A 2001-02-16 2007-03-19 フィルム収容体及びフィルムの巻取方法 Expired - Lifetime JP4635018B2 (ja)

Priority Applications (1)

Application Number Priority Date Filing Date Title
JP2007071066A JP4635018B2 (ja) 2001-02-16 2007-03-19 フィルム収容体及びフィルムの巻取方法

Applications Claiming Priority (3)

Application Number Priority Date Filing Date Title
JP2001039585 2001-02-16
JP2001149219 2001-05-18
JP2007071066A JP4635018B2 (ja) 2001-02-16 2007-03-19 フィルム収容体及びフィルムの巻取方法

Related Parent Applications (1)

Application Number Title Priority Date Filing Date
JP2001231060A Division JP3959247B2 (ja) 2001-02-16 2001-07-31 リール部材及びフィルムの巻取方法

Publications (3)

Publication Number Publication Date
JP2007191314A JP2007191314A (ja) 2007-08-02
JP2007191314A5 JP2007191314A5 (ja) 2008-09-18
JP4635018B2 true JP4635018B2 (ja) 2011-02-16

Family

ID=38447312

Family Applications (1)

Application Number Title Priority Date Filing Date
JP2007071066A Expired - Lifetime JP4635018B2 (ja) 2001-02-16 2007-03-19 フィルム収容体及びフィルムの巻取方法

Country Status (1)

Country Link
JP (1) JP4635018B2 (ja)

Families Citing this family (1)

* Cited by examiner, † Cited by third party
Publication number Priority date Publication date Assignee Title
CN115108408A (zh) * 2022-08-08 2022-09-27 中铁工程装备集团(天津)有限公司 可分别控制的多组电缆收放系统及方法

Family Cites Families (8)

* Cited by examiner, † Cited by third party
Publication number Priority date Publication date Assignee Title
US255147A (en) * 1882-03-21 Spool for winding barbed fencing
US2351428A (en) * 1939-07-14 1944-06-13 Hotine William Automatic carrier for strip materials
JPS5248535Y2 (ja) * 1972-07-31 1977-11-04
JPS5386739A (en) * 1977-01-10 1978-07-31 Yasuhide Inoue Continuous method of supplying adhesive tape strips and adhesive tape
JPS5848664U (ja) * 1981-09-30 1983-04-01 株式会社フジクラ 平型ケ−ブルの積層巻き用ドラム
JPS5856749U (ja) * 1981-10-09 1983-04-18 株式会社フジクラ フラツトケ−ブルの積層巻き用ドラム
JPH06263330A (ja) * 1993-03-11 1994-09-20 Matsushita Electric Ind Co Ltd 導電膜テープの供給リール
JPH08119524A (ja) * 1994-10-12 1996-05-14 Minnesota Mining & Mfg Co <3M> 複数のテープロールを用いた連続接着テープの連続供給装置

Also Published As

Publication number Publication date
JP2007191314A (ja) 2007-08-02

Similar Documents

Publication Publication Date Title
JP3959247B2 (ja) リール部材及びフィルムの巻取方法
JP5233247B2 (ja) 媒体収納繰出装置
CN1297800C (zh) 以四极方式缠绕用于光纤陀螺的光纤传感器线圈的设备及方法
JP4635018B2 (ja) フィルム収容体及びフィルムの巻取方法
WO1986007471A1 (en) Means for pulling tape from a reel
JP2007191314A5 (ja)
JP2009146240A (ja) 媒体収納繰出装置
JPH01217440A (ja) カメラ
JP4562526B2 (ja) 一続きのバッグをローディングするための装置および方法
HK1063617B (en) Reel member and method of winding film
JPS6053868B2 (ja) フイルム巻込装置
JP3685628B2 (ja) 連続巻出し装置
JPH0117533Y2 (ja)
EP0712027A1 (en) Apparatus for detaching and reattaching a photographic film to a film cartridge
JPH0310510Y2 (ja)
KR970008618B1 (ko) 릴 시프트 데크 메카니즘에서의 텐션 조절장치
US3327824A (en) Clock system
JP2998140B2 (ja) Sz溝付きコアへの光ファイバ心線落とし込み方法
JPH0582096U (ja) 電子部品用キャリアテープの巻替装置
JP3150360B2 (ja) ソータのトレイ移動機構
JPH04140235A (ja) 原稿搬送装置
JPH01149035A (ja) フイルム画像デイスプレイ装置
JPH10273250A (ja) 紙葉搬送装置
JP2000153964A (ja) 線状体連続巻取機
JPH0233616B2 (ja)

Legal Events

Date Code Title Description
A521 Request for written amendment filed

Free format text: JAPANESE INTERMEDIATE CODE: A523

Effective date: 20080731

Free format text: JAPANESE INTERMEDIATE CODE: A821

Effective date: 20080731

A621 Written request for application examination

Free format text: JAPANESE INTERMEDIATE CODE: A621

Effective date: 20080731

A977 Report on retrieval

Free format text: JAPANESE INTERMEDIATE CODE: A971007

Effective date: 20100521

A131 Notification of reasons for refusal

Free format text: JAPANESE INTERMEDIATE CODE: A131

Effective date: 20100601

A521 Request for written amendment filed

Free format text: JAPANESE INTERMEDIATE CODE: A821

Effective date: 20100729

Free format text: JAPANESE INTERMEDIATE CODE: A523

Effective date: 20100729

TRDD Decision of grant or rejection written
A01 Written decision to grant a patent or to grant a registration (utility model)

Free format text: JAPANESE INTERMEDIATE CODE: A01

Effective date: 20101109

A01 Written decision to grant a patent or to grant a registration (utility model)

Free format text: JAPANESE INTERMEDIATE CODE: A01

A61 First payment of annual fees (during grant procedure)

Free format text: JAPANESE INTERMEDIATE CODE: A61

Effective date: 20101119

R150 Certificate of patent or registration of utility model

Ref document number: 4635018

Country of ref document: JP

Free format text: JAPANESE INTERMEDIATE CODE: R150

Free format text: JAPANESE INTERMEDIATE CODE: R150

FPAY Renewal fee payment (event date is renewal date of database)

Free format text: PAYMENT UNTIL: 20131126

Year of fee payment: 3

R250 Receipt of annual fees

Free format text: JAPANESE INTERMEDIATE CODE: R250

R250 Receipt of annual fees

Free format text: JAPANESE INTERMEDIATE CODE: R250

R250 Receipt of annual fees

Free format text: JAPANESE INTERMEDIATE CODE: R250

R250 Receipt of annual fees

Free format text: JAPANESE INTERMEDIATE CODE: R250

R250 Receipt of annual fees

Free format text: JAPANESE INTERMEDIATE CODE: R250

R250 Receipt of annual fees

Free format text: JAPANESE INTERMEDIATE CODE: R250

R250 Receipt of annual fees

Free format text: JAPANESE INTERMEDIATE CODE: R250

R250 Receipt of annual fees

Free format text: JAPANESE INTERMEDIATE CODE: R250

EXPY Cancellation because of completion of term