JP4600544B2 - 情報処理装置、ディスク、および情報処理方法、並びにプログラム - Google Patents

情報処理装置、ディスク、および情報処理方法、並びにプログラム Download PDF

Info

Publication number
JP4600544B2
JP4600544B2 JP2008213538A JP2008213538A JP4600544B2 JP 4600544 B2 JP4600544 B2 JP 4600544B2 JP 2008213538 A JP2008213538 A JP 2008213538A JP 2008213538 A JP2008213538 A JP 2008213538A JP 4600544 B2 JP4600544 B2 JP 4600544B2
Authority
JP
Japan
Prior art keywords
recorder
disc
recorded
content
certificate
Prior art date
Legal status (The legal status is an assumption and is not a legal conclusion. Google has not performed a legal analysis and makes no representation as to the accuracy of the status listed.)
Expired - Fee Related
Application number
JP2008213538A
Other languages
English (en)
Other versions
JP2010049514A (ja
Inventor
健二朗 上田
克美 村松
政信 中村
Current Assignee (The listed assignees may be inaccurate. Google has not performed a legal analysis and makes no representation or warranty as to the accuracy of the list.)
Sony Corp
Original Assignee
Sony Corp
Priority date (The priority date is an assumption and is not a legal conclusion. Google has not performed a legal analysis and makes no representation as to the accuracy of the date listed.)
Filing date
Publication date
Application filed by Sony Corp filed Critical Sony Corp
Priority to JP2008213538A priority Critical patent/JP4600544B2/ja
Priority to US12/533,514 priority patent/US8285117B2/en
Priority to CN2009101634978A priority patent/CN101656087B/zh
Publication of JP2010049514A publication Critical patent/JP2010049514A/ja
Application granted granted Critical
Publication of JP4600544B2 publication Critical patent/JP4600544B2/ja
Expired - Fee Related legal-status Critical Current
Anticipated expiration legal-status Critical

Links

Images

Classifications

    • GPHYSICS
    • G11INFORMATION STORAGE
    • G11BINFORMATION STORAGE BASED ON RELATIVE MOVEMENT BETWEEN RECORD CARRIER AND TRANSDUCER
    • G11B20/00Signal processing not specific to the method of recording or reproducing; Circuits therefor
    • G11B20/00086Circuits for prevention of unauthorised reproduction or copying, e.g. piracy
    • GPHYSICS
    • G11INFORMATION STORAGE
    • G11BINFORMATION STORAGE BASED ON RELATIVE MOVEMENT BETWEEN RECORD CARRIER AND TRANSDUCER
    • G11B20/00Signal processing not specific to the method of recording or reproducing; Circuits therefor
    • G11B20/00086Circuits for prevention of unauthorised reproduction or copying, e.g. piracy
    • G11B20/00094Circuits for prevention of unauthorised reproduction or copying, e.g. piracy involving measures which result in a restriction to authorised record carriers
    • GPHYSICS
    • G11INFORMATION STORAGE
    • G11BINFORMATION STORAGE BASED ON RELATIVE MOVEMENT BETWEEN RECORD CARRIER AND TRANSDUCER
    • G11B20/00Signal processing not specific to the method of recording or reproducing; Circuits therefor
    • G11B20/00086Circuits for prevention of unauthorised reproduction or copying, e.g. piracy
    • G11B20/00094Circuits for prevention of unauthorised reproduction or copying, e.g. piracy involving measures which result in a restriction to authorised record carriers
    • G11B20/00115Circuits for prevention of unauthorised reproduction or copying, e.g. piracy involving measures which result in a restriction to authorised record carriers wherein the record carrier stores a unique medium identifier
    • GPHYSICS
    • G11INFORMATION STORAGE
    • G11BINFORMATION STORAGE BASED ON RELATIVE MOVEMENT BETWEEN RECORD CARRIER AND TRANSDUCER
    • G11B20/00Signal processing not specific to the method of recording or reproducing; Circuits therefor
    • G11B20/00086Circuits for prevention of unauthorised reproduction or copying, e.g. piracy
    • G11B20/0021Circuits for prevention of unauthorised reproduction or copying, e.g. piracy involving encryption or decryption of contents recorded on or reproduced from a record carrier
    • GPHYSICS
    • G11INFORMATION STORAGE
    • G11BINFORMATION STORAGE BASED ON RELATIVE MOVEMENT BETWEEN RECORD CARRIER AND TRANSDUCER
    • G11B20/00Signal processing not specific to the method of recording or reproducing; Circuits therefor
    • G11B20/00086Circuits for prevention of unauthorised reproduction or copying, e.g. piracy
    • G11B20/0021Circuits for prevention of unauthorised reproduction or copying, e.g. piracy involving encryption or decryption of contents recorded on or reproduced from a record carrier
    • G11B20/00217Circuits for prevention of unauthorised reproduction or copying, e.g. piracy involving encryption or decryption of contents recorded on or reproduced from a record carrier the cryptographic key used for encryption and/or decryption of contents recorded on or reproduced from the record carrier being read from a specific source
    • G11B20/00253Circuits for prevention of unauthorised reproduction or copying, e.g. piracy involving encryption or decryption of contents recorded on or reproduced from a record carrier the cryptographic key used for encryption and/or decryption of contents recorded on or reproduced from the record carrier being read from a specific source wherein the key is stored on the record carrier
    • G11B20/00362Circuits for prevention of unauthorised reproduction or copying, e.g. piracy involving encryption or decryption of contents recorded on or reproduced from a record carrier the cryptographic key used for encryption and/or decryption of contents recorded on or reproduced from the record carrier being read from a specific source wherein the key is stored on the record carrier the key being obtained from a media key block [MKB]
    • GPHYSICS
    • G11INFORMATION STORAGE
    • G11BINFORMATION STORAGE BASED ON RELATIVE MOVEMENT BETWEEN RECORD CARRIER AND TRANSDUCER
    • G11B20/00Signal processing not specific to the method of recording or reproducing; Circuits therefor
    • G11B20/00086Circuits for prevention of unauthorised reproduction or copying, e.g. piracy
    • G11B20/0021Circuits for prevention of unauthorised reproduction or copying, e.g. piracy involving encryption or decryption of contents recorded on or reproduced from a record carrier
    • G11B20/0042Circuits for prevention of unauthorised reproduction or copying, e.g. piracy involving encryption or decryption of contents recorded on or reproduced from a record carrier the copy protection scheme being related to a specific access protection standard
    • G11B20/00427Circuits for prevention of unauthorised reproduction or copying, e.g. piracy involving encryption or decryption of contents recorded on or reproduced from a record carrier the copy protection scheme being related to a specific access protection standard advanced access content system [AACS]
    • GPHYSICS
    • G11INFORMATION STORAGE
    • G11BINFORMATION STORAGE BASED ON RELATIVE MOVEMENT BETWEEN RECORD CARRIER AND TRANSDUCER
    • G11B20/00Signal processing not specific to the method of recording or reproducing; Circuits therefor
    • G11B20/00086Circuits for prevention of unauthorised reproduction or copying, e.g. piracy
    • G11B20/00681Circuits for prevention of unauthorised reproduction or copying, e.g. piracy involving measures which prevent a specific kind of data access
    • G11B20/00695Circuits for prevention of unauthorised reproduction or copying, e.g. piracy involving measures which prevent a specific kind of data access said measures preventing that data are read from the recording medium
    • GPHYSICS
    • G11INFORMATION STORAGE
    • G11BINFORMATION STORAGE BASED ON RELATIVE MOVEMENT BETWEEN RECORD CARRIER AND TRANSDUCER
    • G11B20/00Signal processing not specific to the method of recording or reproducing; Circuits therefor
    • G11B20/00086Circuits for prevention of unauthorised reproduction or copying, e.g. piracy
    • G11B20/00731Circuits for prevention of unauthorised reproduction or copying, e.g. piracy involving a digital rights management system for enforcing a usage restriction
    • G11B20/00847Circuits for prevention of unauthorised reproduction or copying, e.g. piracy involving a digital rights management system for enforcing a usage restriction wherein the usage restriction is defined by a licence file
    • GPHYSICS
    • G11INFORMATION STORAGE
    • G11BINFORMATION STORAGE BASED ON RELATIVE MOVEMENT BETWEEN RECORD CARRIER AND TRANSDUCER
    • G11B2220/00Record carriers by type
    • G11B2220/20Disc-shaped record carriers
    • G11B2220/25Disc-shaped record carriers characterised in that the disc is based on a specific recording technology
    • G11B2220/2537Optical discs

Landscapes

  • Engineering & Computer Science (AREA)
  • Computer Security & Cryptography (AREA)
  • Signal Processing (AREA)
  • Storage Device Security (AREA)
  • Signal Processing For Digital Recording And Reproducing (AREA)

Description

本発明は、情報処理装置、ディスク、および情報処理方法、並びにプログラムに関する。さらに、詳細には情報記録媒体に記録されたコンテンツの利用制御を行う情報処理装置、ディスク、および情報処理方法、並びにプログラムに関する。
コンテンツの記録媒体としてDVD(Digital Versatile Disc)、Blu−ray Disc(登録商標)などのディスクが利用されている。例えば映画コンテンツなどがディスク(例えばROMディスク)に記録されてユーザに提供されるが、これらのディスク記録コンテンツは、多くの場合、その作成者あるいは販売者に著作権、頒布権等が保有されたコンテンツである。このようなコンテンツについては例えば許可のないコピー(複製)等を防止するための利用制御がなされる。
コンテンツの著作権管理システムとして例えばAACS(Advanced Access Content System)が知られている。このような著作権管理システムに従ったディスク記録コンテンツはユニット単位の暗号化データとして記録される。情報処理装置においてディスク記録コンテンツを再生する場合、ユニット単位の鍵であるユニット鍵を用いてコンテンツの復号処理を実行する。なお、このような暗号化コンテンツの記録再生処理については、例えば特許文献1(特開2006−72688号公報)に記載されている。
さらに厳格なコンテンツ利用制御を実現するために、コンテンツ再生処理に際して、様々な識別情報(ID)を利用させる設定とした制御方法も知られている。情報処理装置がコンテンツ再生を行う際に、ディスクや装置あるいはコンテンツなどに関連付けられたIDを取得させ、これらのIDの確認処理やIDを利用した鍵生成処理などを実行させるものである。
例えば、ディスクには、以下のような識別情報(ID)が記録されている。
(a)ディスク固有の識別情報であるメディアID(PMSN(Pre−recorded Media Serial Numberと呼ばれる場合もある)、
(b)ディスクのタイトル単位で設定されるボリュームID、
(c)ディスク記録コンテンツに対応して設定されたコンテンツ証明書の識別情報としてのコンテンツ証明書ID、
例えばこれらの識別情報(ID)がディスクに記録されている。
再生装置は、ディスクから例えば上記(a)〜(c)の少なくともいずれかの識別情報(ID)を読み取り、所定のシーケンスに従った処理、例えばIDを利用した鍵生成やコンテンツ復号などによりコンテンツ利用を行なう。さらに、上記の各種識別情報(ID)をサーバに送信し、サーバにおけるID確認に基づいて、サーバから様々な付加コンテンツやサービスデータなどを受領することが行なわれる場合もある。
このようにID情報の確認を実行させ、特定のIDを利用した場合にのみコンテンツを利用可能とすることで、コンテンツを利用可能なディスクや装置を限定することが可能となる。
しかし、例えばディスクに対するID記録処理を行うディスク工場などにおいて不正が行われると、不正なIDが記録されたディスクが流通し不正なコンテンツ利用が行われる恐れがある。
特開2006−72688号公報
本発明は、例えば上記の問題点に鑑みてなされたものであり、ディスクに記録された識別情報(ID)の不正な記録や、コンテンツの不正利用を防止する情報処理装置、ディスク、および情報処理方法、並びにプログラムを提供することを目的とする。
本発明の第1の側面は、
ディスクの記録データの検証を実行し、検証成立を条件としてディスク記録コンテンツの再生を行うデータ処理部を有し、
前記データ処理部は、
前記記録データの検証処理として、ディスクに記録されたディスク対応IDの記録処理を実行したID記録機の正当性検証を実行する構成であり、
前記ディスクにディスク対応IDを記録したID記録機の機器IDを含み、発行者の電子署名が設定されたID記録機証明書と、無効化されたID記録機の機器IDを登録し、発行者の電子署名が設定されたID記録機ブラックリストを前記ディスクから取得し、
前記ID記録機証明書に記録された機器IDが、前記ID記録機ブラックリストに登録されているか否かを判定し、前記ディスクにディスク対応IDを記録したID記録機の正当性判定を行い、不正機器であるとの判定に基づいてディスク記録コンテンツの再生開始を中止する構成である情報処理装置にある。
さらに、本発明の情報処理装置の一実施態様において、前記データ処理部は、前記ID記録機証明書に記録された機器IDが、前記ID記録機ブラックリストに登録されていない場合において、前記ディスクに記録されたコンテンツの正当性を証明するコンテンツ証明書を読み取り、コンテンツ証明書に記録されたコンテンツ証明書発行日と、前記ID記録機ブラックリストの発行日を比較し、前記ID記録機ブラックリストの発行日が、前記コンテンツ証明書発行日より前であり、その時間差が予め設定した閾値以上である場合は、ディスク記録コンテンツの再生開始を中止する構成である。
さらに、本発明の情報処理装置の一実施態様において、前記データ処理部は、前記ID記録機証明書に記録された機器IDが、前記ID記録機ブラックリストに登録されている場合において、前記ディスクに記録されたコンテンツの正当性を証明するコンテンツ証明書を読み取り、コンテンツ証明書に記録されたコンテンツ証明書発行日と、前記ID記録機ブラックリストに記録された機器無効化日を比較し、前記機器無効化日が、前記コンテンツ証明書発行日以前である場合は、ディスク記録コンテンツの再生開始を中止する構成である。
さらに、本発明の情報処理装置の一実施態様において、前記データ処理部は、前記ID記録機証明書の署名検証処理、および前記ID記録機ブラックリストの署名検証を実行し、署名検証によりデータ改ざんが無いことおよび署名者が正しいことの確認が得られない場合には、ディスク記録コンテンツの再生開始を中止する構成である。
さらに、本発明の情報処理装置の一実施態様において、前記データ処理部は、前記コンテンツ証明書の署名検証処理を実行し、署名検証によりデータ改ざんが無いことおよび署名者が正しいことの確認が得られない場合には、ディスク記録コンテンツの再生開始を中止する構成である。
さらに、本発明の情報処理装置の一実施態様において、前記ディスクは、さらに、前記ID記録機証明書を含むデータに対するID記録機の秘密鍵による署名データであるID記録機署名を格納した構成であり、前記データ処理部は、前記ID記録機署名の署名検証処理を実行し、署名検証によりデータ改ざんが無いことおよび署名者が正しいことの確認が得られない場合には、ディスク記録コンテンツの再生開始を中止する構成である請求項1に記載の情報処理装置。
さらに、本発明の情報処理装置の一実施態様において、前記ディスク対応IDは、ディスク記録コンテンツのタイトル固有のボリュームIDである。
さらに、本発明の第2の側面は、
コンテンツと、ディスク対応IDと、
前記ディスク対応IDの記録処理を実行したID記録機の機器IDを登録したID記録機証明書と、無効化されたID記録機の機器IDを登録したID記録機ブラックリストを記録してディスクであり、
前記コンテンツの再生を実行する情報処理装置において、前記ID記録機証明書に記録された機器IDが、前記ID記録機ブラックリストに登録されているか否かを判定し、前記ディスクにディスク対応IDを記録したID記録機の正当性判定を行わせ、不正機器であるとの判定に基づくディスク記録コンテンツの再生開始を中止させることを可能としたディスクにある。
さらに、本発明の第3の側面は、
情報処理装置において実行する情報処理方法であり、
前記情報処理装置のデータ処理部が、ディスクの記録データの検証を実行し、検証成立を条件としてディスク記録コンテンツの再生を行うデータ処理ステップを実行し
前記データ処理ステップは、
前記データ処理部が、前記ディスクにディスク対応IDを記録したID記録機の機器IDを含み、発行者の電子署名が設定されたID記録機証明書と、無効化されたID記録機の機器IDを登録し、発行者の電子署名が設定されたID記録機ブラックリストを前記ディスクから読み取り、入力するステップと、
前記データ処理部が、前記ID記録機証明書に記録された機器IDが、前記ID記録機ブラックリストに登録されているか否かをデータ比較に基づいて判定し、前記ディスクにディスク対応IDを記録したID記録機の機器IDが、ID記録機ブラックリストに記録されていると判定した場合に、当該ディスクにディスク対応IDを記録したID記録機が不正機器であると判定し、該判定に基づいてディスク記録コンテンツの再生開始を中止するステップと、
を有する情報処理方法にある。
さらに、本発明の第4の側面は、
情報処理装置におけるデータ処理を実行させるプログラムであり、
データ処理部に、ディスクの記録データの検証を実行させ、検証成立を条件としてディスク記録コンテンツの再生を行わせるデータ処理ステップを有し、
前記データ処理ステップは、
前記ディスクにディスク対応IDを記録したID記録機の機器IDを含み、発行者の電子署名が設定されたID記録機証明書と、無効化されたID記録機の機器IDを登録し、発行者の電子署名が設定されたID記録機ブラックリストを前記ディスクから取得させるステップと、
前記ID記録機証明書に記録された機器IDが、前記ID記録機ブラックリストに登録されているか否かを判定し、前記ディスクにディスク対応IDを記録したID記録機の正当性判定を行わせ、不正機器であるとの判定に基づいてディスク記録コンテンツの再生開始を中止させるステップと、
を有するプログラムにある。
なお、本発明のプログラムは、例えば、様々なプログラム・コードを実行可能な汎用システムに対して、コンピュータ可読な形式で提供する記憶媒体、通信媒体によって提供可能なプログラムである。このようなプログラムをコンピュータ可読な形式で提供することにより、コンピュータ・システム上でプログラムに応じた処理が実現される。
本発明のさらに他の目的、特徴や利点は、後述する本発明の実施例や添付する図面に基づくより詳細な説明によって明らかになるであろう。なお、本明細書においてシステムとは、複数の装置の論理的集合構成であり、各構成の装置が同一筐体内にあるものには限らない。
本発明の一実施例によれば、ディスクの記録データの検証を実行し、検証成立を条件としてディスク記録コンテンツの再生を行う構成を有する。記録データの検証処理として、ディスクに記録されたディスク対応IDの記録処理を実行したID記録機の正当性検証を実行する。具体的には、ディスクにディスク対応IDを記録したID記録機の機器IDを含むID記録機証明書と、無効化されたID記録機の機器IDを登録したID記録機ブラックリストをディスクから取得し、ID記録機証明書に記録された機器IDが、ID記録機ブラックリストに登録されているか否かを判定し、さらに、ID記録機証明書の発行日とID記録機ブラックリストの発行日または機器無効化日との比較を行い、ID記録機の正当性判定を行い、不正機器であるとの判定に基づいてディスク記録コンテンツの再生を中止する。本構成により、不正なID記録機の作成したディスクに格納されたコンテンツの利用を防止することが可能となる。
以下、図面を参照しながら本発明の情報処理装置、ディスク、および情報処理方法、並びにプログラムの詳細について説明する。
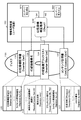
まず、図1を参照して、本発明の概要について説明する。図1にはライセンス管理部110、ディスク工場120、ディスク130、情報処理装置150を示している。ライセンス管理部110は、ディスクを製造するディスク工場120に対して、正当なID記録を許容(ライセンス設定)したID記録機(インサータ(Incerter))121を提供する。
ディスク工場120は、ライセンス管理部110が認めた(有効なライセンスを持つ)ID記録機121を利用して製造するディスクにID(識別子)を記録する。なお、本例では、ディスク130に記録するディスク対応IDはディスクに記録するコンテンツタイトルに固有の識別子であるボリュームID(VolumeID)とする。同じコンテンツタイトルのコンテンツを格納した複数ディスクには共通のボリュームID(VolumeID)が記録される。
なお、ディスク130に記録するディスク対応IDは、暗号化、あるいは変調処理がなされており、通常のデータ読み取り処理では、IDの解析は不可能である。図1に示すようにディスク130には、暗号化コンテンツの他、ボリュームIDが記録される。
ユーザはこのディスク130を購入し、情報処理装置(ユーザ装置)150においてコンテンツの復号を行い再生する。情報処理装置(ユーザ装置)150は、コンテンツ再生処理に際して、ディスク130に記録されたディスク対応ID(ボリュームID)を読み取り、読み取ったIDを用いて、ディスクに格納された暗号化コンテンツの復号に適用する鍵の生成処理を行う。
本発明の構成では、情報処理装置(ユーザ装置)150において、ディスク130にID記録を実行したID記録機121が正当な機器、すなわち有効なライセンスを持つ機器であるか否かの確認を行う。ID記録機121が正当な機器であることが確認されない場合には、コンテンツの再生は実行しない。ID記録機121が正当な機器であることが確認され、その他の条件が満足されれば、コンテンツ再生が許容される。
図2を参照して、本発明の一実施例に従った構成例および、処理シーケンスについて説明する。図2にも図1と同様、ライセンス管理部110、ディスク工場120、ディスク130、情報処理装置150を示している。ライセンス管理部110は、ディスクを製造するディスク工場120に対して、正当なID記録を許容(ライセンス設定)したID記録機(インサータ(Incerter))121を提供する。
ディスク工場120は、ライセンス管理部110からライセンスされたID記録機121を利用して、ディスクに識別子としてのIDを記録する。IDはディスク130に記録するコンテンツのコンテンツタイトル固有のボリュームID(VolumeID)122である。
ボリュームID(VolumeID)122は、例えば、ディスク工場120において生成した乱数が利用できる。ID記録機(インサータ(Incerter))121は、図に示すステップS11において、ボリュームID(VolumeID)122に予め設定された暗号化あるいは変調処理を行い、記録用のエンコードされたボリュームIDを生成する。このエンコードされたボリュームIDがディスク130に記録される。図に示すボリュームID131である。
ライセンス管理部110は、多数のライセンスを付与したID記録機を様々なディスク工場に提供している。ライセンス管理部110は、不正なID記録を行ったID記録機の無効化情報を登録したID記録機ブラックリスト111として保有する。
ID記録機ブラックリスト111は、無効化したID記録機の識別情報(機器ID)と、無効化処理の実行日情報を記録したリストである。このID記録機ブラックリスト111は適宜更新される。例えば不正なID記録ディスクが市場から発見された場合など、そのID記録を行ったID記録機を特定し、特定されたID記録機の識別情報(機器ID)をブラックリストに登録する。
ライセンス管理部111は、ID記録機ブラックリスト111をディスク工場120に提供する。ディスク工場120は、ID記録機121を用いて、ライセンス管理部111から提供されたID記録機ブラックリスト123をディスク130に記録する。図2のディスク130上に示されるID記録機ブラックリスト134である。
ディスク130に記録されるID記録機ブラックリスト134のデータ構成例を図3に示す。ID記録機ブラックリストは図3に示すように、
(1)無効化されたID記録機の機器ID(Revoked Inserter Cert ID)
(2)無効化日時(Expiration date)
これらの2つのデータを1組とするエントリデータを列挙している。さらに、ブラックリストの発行日と、これらの記録データに対してライセンス管理部110の秘密鍵を適用した電子署名が設定される。電子署名の検証により、ID記録機ブラックリストの改ざんの有無および署名者が正しいことを検証することができる。
図2に戻り説明を続ける。ディスク工場120のID記録機121は、さらに、ID記録機(インサータ)証明書124をディスク130に記録する。図2のディスク130上に示されるID記録機(インサータ)証明書135である。
ディスク130に記録されるID記録機(インサータ)証明書135のデータ構成例を図4に示す。ID記録機(インサータ)証明書は図4に示すように、
(1)ID記録を実行したID記録機証明書ID(=機器ID)
(2)ID記録を実行したID記録機の公開鍵
これらのデータを格納している。さらに、ID記録機(インサータ)証明書の発行日と、これらの記録データに対してライセンス管理部110の秘密鍵を適用した電子署名が設定される。電子署名の検証により、ID記録機(インサータ)証明書の改ざんの有無および署名者が正しいことを検証することができる。
図2に戻り説明を続ける。ディスク工場120のID記録機121は、さらに、ID記録機秘密鍵125を適用して、ステップS12において、ID記録機(インサータ)証明書124に対する署名処理を行う。この署名データをディスク130に記録する。図2のディスク130上に示されるID記録機(インサータ)署名136である。
ディスク130に記録されるID記録機(インサータ)署名136のデータ構成例を図4に示す。ID記録機(インサータ)署名136は図4に示すように、ID記録機(インサータ)証明書135に対して、ID記録機秘密鍵125を適用して生成した署名データである。
なお、図4に示すように、ID記録機(インサータ)証明書135の他のディスク記録ファイルを含めた連結データを署名対象データとして設定して署名生成処理を実行してID記録機(インサータ)署名136を生成する構成としてもよい。
例えばディスクに記録する暗号化コンテンツの復号に適用する鍵を格納したCPSユニット鍵ファイルなどのディスク記録ファイルを連結して署名対象データとして設定して署名を実行してID記録機(インサータ)署名136を生成してもよい。
この署名の検証により、ID記録機(インサータ)証明書や、その他のディスク記録ファイルの改ざんの有無および署名者が正しいことを検証することができる。
図2に戻り説明を続ける。ディスク130には、ディスク工場120のID記録機121により、エンコードされたボリュームID131、ID記録機(インサータ)ブラックリスト134、ID記録機(インサータ)証明書135、ID記録機(インサータ)署名136が記録される。さらに、ディスク工場は、暗号化コンテンツ133と、暗号化コンテンツ133に対応する管理データ132をディスク130に記録する。
暗号化コンテンツ133に対応する管理データ132には、例えばコンテンツの正当性を証明するコンテンツ証明書や、コンテンツの復号に適用するCPSユニット鍵ファイルや、コンテンツの復号に適用するメディア鍵を算出するための鍵ブロックであるMKB(メディアキーブロック)などが含まれる。
コンテンツ証明書のデータ構成例を図5に示す。図5に示ようにディスク130に記録される管理データ132に含まれるコンテンツ証明書137は、たとえば暗号化コンテンツ133の構成データに基づくコンテンツハッシュ値等から構成されるコンテンツ証明用データと、生成日時データと、これらのデータに対して、ライセンス管理部(LA(AACS))の秘密鍵による電子署名が付与された構成を持つ。
次に、図2に示す情報処理装置150がディスク130を装着して実行する処理について説明する。図2に示すように、情報処理装置150は、ディスク130からのデータ読み取りを実行するドライブ151と、ドライブ151を介してディスク130からのデータを受領して、受領データに対するデータ処理を実行するデータ処理部(ホスト)152を有する。なお、図に示す例では、ドライブ151とデータ処理部(ホスト)152を一体化した構成として示してあるが、例えばこれらの2つの構成をUSBケーブルなどで接続した構成としてもよい。
ドライブ151は、ディスク130の記録データを読み取りデータ処理部152に提供する。ディスク130の記録データに含まれるエンコード処理されたボリュームID131については、図2に示すステップS60において、デコード処理(復号処理や変調解除処理)を実行し、本来のボリュームIDのデータを生成してデータ処理部152に提供する。
データ処理部152は、図2に示すように、ステップS30において、ドライブ151を介して提供されるディスク130格納データの検証処理を実行する。すべての検証が成立し、データの正当性が確認され、さらにディスク130に対してIDの記録処理を実行したID記録機の正当性も確認された場合(ステップS40でYes)にはステップS70に進む。
ステップS70では、暗号化コンテンツ133の復号に適用する鍵の生成を実行して暗号化コンテンツ133の復号を行ってコンテンツ再生を実行する。なお、このステップS70の前に、ドライブ151において、ステップS60のデコード処理によるボリュームID生成処理が実行され。生成されたボリュームIDが鍵生成に適用される。
なお、ステップS30におけるディスク130格納データの検証処理において、検証が不成立であり、データの正当性が確認されなかった場合(ステップS40でNo)には、ステップS80に進み、コンテンツ再生処理は実行されない。
情報処理装置150のデータ処理部152において実行するデータ検証処理および、コンテンツ復号再生処理の詳細シーケンスについて図6を参照して説明する。図6iは、コンテンツを格納したディスク130と、情報処理装置150を示している。ディスク130は、図2を参照して説明したと同様のデータを格納したディスクである。
情報処理装置150のデータ処理部152は、ドライブ151を介してディスク130に記録されたデータを取得して、データ検証処理を実行し、データ検証においてディスク格納データの正当性を確認し、さらにID記録機の正当性を確認した後、暗号化コンテンツの復号、再生処理を行う。
データ検証処理として実行するのは、図6に示すステップS31〜S33の処理である。すなわち、
コンテンツ証明書の署名検証処理(ステップS31)
コンテンツ検証処理(ステップS32)
ID記録機検証処理(ステップS33)
これらの検証処理である。
ステップS31のコンテンツ証明書の署名検証処理は、図5を参照して説明したコンテンツ証明書に設定されたライセンス管理部(LA)の署名を検証する処理である。ライセンス管理部(LA)の公開鍵を適用して署名検証を行う。この署名検証により、コンテンツ証明書の改ざんがないことおよび署名者が正しいことが確認された場合は、ステップS32のコンテンツ検証処理に進む。この署名検証により、コンテンツ証明書の改ざんまたは署名者が正しくないことが検出された場合は、ステップS40の判定がNoとなり、ステップS80に進み、コンテンツ再生が中止される。
ステップS32のコンテンツ検証は、コンテンツが暗号化されているか否かの検証処理、さらに、コンテンツ証明書のコンテンツ証明データとコンテンツの照合によるコンテンツの改ざんの有無を検証する。この検証により、コンテンツが非暗号化データであることが判明した場合、またはコンテンツの改ざんが検出された場合は、ステップS40の判定がNoとなり、ステップS80に進み、コンテンツ再生が中止される。
ステップS33のID記録機検証処理は、ディスク130にID(本例ではボリュームID131)を記録したID記録機(図2に示すID記録機121)の正当性を検証する処理である。このステップS33のID記録機検証処理の詳細シーケンスについては、図7に示すフローチャートを参照して後段で詳細に説明する。
ステップS40では、ステップS31〜S33の検証処理において全て検証成立したか否かを判断する。ステップS31〜S33の検証処理において、1つでも検証不成立の場合は、ステップS80に進み、コンテンツ再生を中止する。
ステップS31〜S33の検証処理の全てにおいて検証成立の場合は、ステップS71に進む。ステップS71では、ドライブ151においてデコードされたボリュームIDを入力し、さらに、ディスク130に記録された管理データ132から鍵生成情報(MKB、CPSユニット鍵ファィルなど)を入力して、暗号化コンテンツ133の復号処理に適用する鍵を生成する。
次に、ステップS72において、生成した鍵を用いてディスク130から読み出した暗号化コンテンツ133を復号し、ステップS73においてコンテンツ再生処理を行う。
次に、ステップS33のID記録機検証処理の詳細シーケンスについて、図7に示すフローチャートを参照して説明する。図7に示すフローは情報処理装置のデータ処理部において実行される処理である。
まずステップS101において、ディスクからID記録機証明書を読み取り、署名検証を行う。ID記録機証明書は、図4を参照して説明したように、
(1)ID記録を実行したID記録機証明書ID(=機器ID)
(2)ID記録を実行したID記録機の公開鍵
これらのデータを格納している。さらに、ID記録機証明書の発行日と、これらの記録データに対してライセンス管理部の秘密鍵を適用した電子署名が設定されている。ステップS101では、この電子署名の検証を行う。この署名検証により、ID記録機証明書の改ざんの有無および署名者が正しいか否かを検証することができる。
なお、図4に示すように、ID記録機証明書とその他のファイルに対応して設定されているID記録機署名が存在する場合は、まず、このID記録機署名の署名検証を実行して、検証が成立した場合にID記録機証明書の署名検証を実行する。署名検証によりデータ改ざんが無いことおよび署名者が正しいことの確認が得られない場合には、ディスク記録コンテンツの再生を中止する。
ステップS102においてID記録機証明書の署名検証に成功したと判定した場合(ステップS102の判定=Yes)、すなわち、ID記録機証明書の改ざんがなく正当性が確認された場合は、ステップS103に進む。一方、ステップS102において署名検証に失敗した場合(ステップS102の判定=No)、すなわち、ID記録機証明書の正当性が確認されなかった場合は、ステップS121に進み、再生処理を中止する。すなわち、図6に示すステップS40の判定がNoとなり、再生処理は中止される。
ステップS102において署名検証に成功し、ID記録機証明書の改ざんがなく、署名者が正しいことが確認されて正当性が確認されたと判定した場合は、ステップS103において、ディスクからID記録機ブラックリストを読み取り、署名検証を行う。ID記録機ブラックリストは、図3を参照して説明したように、
(1)無効化されたID記録機の機器ID(Revoked Inserter Cert ID)
(2)無効化日時(Expiration date)
これらの2つのデータを1組とするエントリデータを列挙している。さらに、ブラックリストの発行日と、これらの記録データに対してライセンス管理部の秘密鍵を適用した電子署名が設定されている。ステップS103では、この電子署名の検証を行う。この署名検証により、ID記録機ブラックリストの改ざんの有無および署名者が正しいか否かを検証することができる。
ステップS104において署名検証に成功したと判定した場合(ステップS104の判定=Yes)、すなわち、ID記録機ブラックリストの改ざんがなく署名者についても正当性が確認された場合は、ステップS105に進む。一方、ステップS104において署名検証に失敗した場合(ステップS104の判定=No)、すなわち、ID記録機ブラックリストの正当性が確認されなかった場合は、ステップS121に進み、再生処理を中止する。すなわち、図6に示すステップS40の判定がNoとなり、再生処理は中止される。
ステップS104において署名検証に成功し、ID記録機ブラックリストの改ざんがなく署名者の正当性も確認されたと判定した場合は、ステップS105に進む。ステップS105では、ID記録機証明書に格納された記録機IDがID記録機ブラックリストに登録されているか否かを判定する。
ID記録機証明書に格納された記録機IDがID記録機ブラックリストに登録されていない場合は、ステップS106に進む。
ステップS106では、ディスクからコンテンツ証明書を読み取り、署名検証を行う。コンテンツ証明書は、図5を参照して説明したように、ディスクに記録された暗号化コンテンツの構成データに基づくコンテンツハッシュ値等から構成されるコンテンツ証明用データと、生成日時データと、これらのデータに対して、ライセンス管理部(LA(AACS))の秘密鍵による電子署名が付与された構成を持つ。ステップS106では、この電子署名の検証を行う。この署名検証により、コンテンツ証明書の改ざんの有無および署名者の正当性を検証することができる。
ステップS107において署名検証に成功したと判定した場合(ステップS107の判定=Yes)、すなわち、コンテンツ証明書の改ざんがなく署名者が正しいことが確認され、正当性が確認された場合は、ステップS108に進む。一方、ステップS107において署名検証に失敗した場合(ステップS107の判定=No)、すなわち、コンテンツ証明書の正当性が確認されなかった場合は、ステップS121に進み、再生処理を中止する。すなわち、図6に示すステップS40の判定がNoとなり、再生処理は中止される。
ステップS107において署名検証に成功し、コンテンツ証明書の改ざん等がなく正当性が確認されたと判定した場合は、ステップS108に進む。ステップS108では、コンテンツ証明書発行日[Timestamp (CC_TS)]と、ID記録機ブラックリスト発行日[Timestamp (BL_TS)]とを比較する処理を行う。
ステップS109において、
CC_TS−BL_TS<閾値(Th)
上記式が成立するか否かを判定する。
これは、コンテンツ証明書発行日[Timestamp (CC_TS)]に比較して、ID記録機ブラックリスト発行日[Timestamp (BL_TS)]が極端に古いか否かを確認する処理である。リストが古いリストである場合には、古いリストが故意にディスクに記録されている恐れがあると判断し、再生を中止する。
例えば、
閾値(Th)=90日
とすると、
CC_TS−BL_TS<90日
上記式が成立する場合、コンテンツ証明書発行日[Timestamp (CC_TS)]とID記録機ブラックリスト発行日[Timestamp (BL_TS)]の発行日の差は90日未満である。この場合は、ID記録機ブラックリスト発行日[Timestamp (BL_TS)]が、コンテンツ証明書発行日[Timestamp (CC_TS)]に比較して古すぎるということはないと判断する。すなわち、ディスクに対して記録されたコンテンツの正当性証明日時と、ID記録機の正当性証明日時が比較的近いと判断し、ID記録機ブラックリストのデータを信用する。
従って、ID記録機ブラックリストにID記録機証明書に格納された記録機IDが登録されていない(ステップS105でNo)ことにより、このディスクにID記録を実行したID記録機は不正なものではないと判定し、ステップS122に進む。ステップS122ではコンテンツ再生処理に移行する。ただし、その他のデータ検証が全て成立している場合である。
一方、
CC_TS−BL_TS<90日
上記式が成立しない場合、コンテンツ証明書発行日[Timestamp (CC_TS)]とID記録機ブラックリスト発行日[Timestamp (BL_TS)]の発行日の差は90日以上である。この場合は、ID記録機ブラックリスト発行日[Timestamp (BL_TS)]が、コンテンツ証明書発行日[Timestamp (CC_TS)]に比較して古すぎると判断する。すなわち、ID記録機ブラックリストのデータは信用できないと判断する。
従って、ID記録機ブラックリストにID記録機証明書に格納された記録機IDが登録されていない(ステップS105でNo)場合でも、このディスクにID記録を実行したID記録機は不正なものではないと判定することはできないと判断する。この場合は、ステップS121に進み、再生処理を中止する。すなわち、図6に示すステップS40の判定がNoとなり、再生処理は中止される。
一方、ステップS105において、ID記録機証明書に格納された記録機IDがID記録機ブラックリストに登録されていると判定された場合は、ステップS111に進む。
ステップS111では、コンテンツ証明書発行日[Timestamp (CC_TS)]と、ID記録機ブラックリストに記録された無効化日(Expiration Date)=[ Timestamp (EX_TS)]を比較する処理を行う。
ステップS112において、
CC_TS<EX−TS
上記式が成立するか否かを判定する。
これは、ID記録機ブラックリストに記録された無効化日が、コンテンツ証明書発行日[Timestamp (CC_TS)]より後である場合は、ディスクに記録されたコンテンツは、ID記録機が無効化される前に記録されたコンテンツであり、コンテンツ再生を行っても問題ないと判断する処理である。すなわち、
CC_TS<EX−TS
上記式が成立する場合は、ステップS132に進む。ステップS132では、ステップS132ではコンテンツ再生処理に移行する。ただし、その他のデータ検証が全て成立している場合である。
一方、ID記録機ブラックリストに記録された無効化日が、コンテンツ証明書発行日[Timestamp (CC_TS)]より後でない場合は、ディスクに記録されたコンテンツは、ID記録機が無効化された以後に記録されたコンテンツであり、ブラックリストに登録された不正なID記録機によってIDが記録されているディスクであると判断する。
すなわち、
CC_TS<EX−TS
上記式が成立しない場合は、ステップS131に進む。ステップS131では再生処理を中止する。すなわち、図6に示すステップS40の判定がNoとなり、再生処理は中止される。
図6のステップS33のID記録機検証処理は、この図7に示すフローに従って実行される。
このように本発明に従った情報処理装置は、ディスクに記録された各種の証明書を適用してディスクに対するID記録を実行したID記録機が不正な記録機であるか否かを検証する。ID記録機の正当性が確認された場合にのみコンテンツ再生を許容し、ID記録機の正当性が確認されない場合には、コンテンツ再生を許容せず中止させる構成としている。
図8を参照して、ID記録機の検証処理に適用するディスク記録データについてまとめて説明する。
図8には、情報処理装置150のデータ処理部において実行するID記録機検証処理、すなわち、図6に示すステップS33の処理(=図7のフローチャートに示す処理)に適用するディスク記録データについて示している。
ID記録機検証処理には、ディスク130に格納されたID記録機証明書135、ID記録機署名136、ID記録機ブラックリスト134、コンテンツ証明書137、これらのデータが利用される。なお、ID記録機署名136に対する処理は省略可能であり、この場合は、ID記録機署名136は利用しない。
少なくとも、ID記録機証明書135、ID記録機ブラックリスト134、コンテンツ証明書137これらの3つのデータについて署名検証を実行して、各データが改竄の無い正当なデータであることを確認し、その後、ID記録機証明書135に記録されたID記録機ID(機器ID)が、ID記録機ブラックリスト134に登録されているか否かを判定する。
登録されていない場合は、図7に示すステップS108〜S109の処理を行う。すなわち、コンテンツ証明書発行日[Timestamp (CC_TS)]と、ID記録機ブラックリスト発行日[Timestamp (BL_TS)]とを比較する。
CC_TS−BL_TS<閾値(Th)
上記式が成立する場合は、コンテンツ証明書発行日[Timestamp (CC_TS)]とID記録機ブラックリスト発行日[Timestamp (BL_TS)]の発行日の差が小さい。この場合は、ID記録機ブラックリスト発行日[Timestamp (BL_TS)]が、コンテンツ証明書発行日[Timestamp (CC_TS)]に比較して古すぎるということはないと判断し、ID記録機ブラックリストのデータを信用する。
この処理を行う場合は、すでに、ID記録機ブラックリストにID記録機証明書に格納された記録機IDが登録されていないことが確認されている。従って、このディスクにID記録を実行したID記録機は不正なものではないと判定し、コンテンツ再生処理に移行する。ただし、その他のデータ検証が全て成立している場合である。
一方、
CC_TS−BL_TS<閾値(Th)
上記式が成立しない場合は、ID記録機ブラックリスト発行日[Timestamp (BL_TS)]が、コンテンツ証明書発行日[Timestamp (CC_TS)]に比較して古すぎると判断し、ID記録機ブラックリストのデータは信用できないと判断する。
この場合は、ID記録機ブラックリストにID記録機証明書に格納された記録機IDが登録されていないが、リストが信用できず、ID記録を実行したID記録機は不正なものではないと判定することはできないと判断し、コンテンツ再生処理を中止する。
一方、ID記録機証明書135に記録されたID記録機ID(機器ID)が、ID記録機ブラックリスト134に登録されている場合は、図7に示すステップS111〜S112の処理を行う。すなわち、コンテンツ証明書発行日[Timestamp (CC_TS)]と、ID記録機ブラックリストに記録された無効化日(Expiration Date)=[ Timestamp (EX_TS)]を比較する処理を行う。
CC_TS<EX−TS
上記式が成立するか否かを判定する。
上記式が成立する場合は、ディスクに記録されたコンテンツは、ID記録機が無効化される前に記録されたコンテンツであり、コンテンツ再生を行っても問題ないと判断する。この場合は、コンテンツ再生処理に移行する。ただし、その他のデータ検証が全て成立している場合である。
一方、
CC_TS<EX−TS
上記式が成立しない場合は、ID記録機ブラックリストに記録された無効化日が、コンテンツ証明書発行日[Timestamp (CC_TS)]より後でない場合である。この場合は、ディスクに記録されたコンテンツは、ID記録機が無効化された以後に記録されたコンテンツであり、ブラックリストに登録された不正なID記録機によってIDが記録されているディスクであると判断し、再生処理を中止する。
この構成により、不正なID記録機によってID記録を行ったコンテンツの利用を排除することが可能となる。なお、上記実施例ではディスクに記録するIDをコンテンツタイトルに対応して設定されるタイトル固有のボリュームIDとして説明したが、その他のIDに対しても本発明は同様に適用できる。例えばディスク固有のIDであるメディアID(またはディスクID)に対しても同様の処理が可能である。あるいはディスク製造ロット単位のIDに対する処理として実行する構成も可能である。
なお、上記実施例では、無効化されたID記録機の機器IDをリスト化したブラックリストを利用した処理例について説明したが、有効なID記録機の機器IDをリスト化したホワイトリストをディスクに格納し、このホワイトリストの登録情報を利用して処理を行う構成としてもよい。
以上、特定の実施例を参照しながら、本発明について詳解してきた。しかしながら、本発明の要旨を逸脱しない範囲で当業者が実施例の修正や代用を成し得ることは自明である。すなわち、例示という形態で本発明を開示してきたのであり、限定的に解釈されるべきではない。本発明の要旨を判断するためには、特許請求の範囲の欄を参酌すべきである。
また、明細書中において説明した一連の処理はハードウェア、またはソフトウェア、あるいは両者の複合構成によって実行することが可能である。ソフトウェアによる処理を実行する場合は、処理シーケンスを記録したプログラムを、専用のハードウェアに組み込まれたコンピュータ内のメモリにインストールして実行させるか、あるいは、各種処理が実行可能な汎用コンピュータにプログラムをインストールして実行させることが可能である。例えば、プログラムは記録媒体に予め記録しておくことができる。記録媒体からコンピュータにインストールする他、LAN(Local Area Network)、インターネットといったネットワークを介してプログラムを受信し、内蔵するハードディスク等の記録媒体にインストールすることができる。
なお、明細書に記載された各種の処理は、記載に従って時系列に実行されるのみならず、処理を実行する装置の処理能力あるいは必要に応じて並列的にあるいは個別に実行されてもよい。また、本明細書においてシステムとは、複数の装置の論理的集合構成であり、各構成の装置が同一筐体内にあるものには限らない。
以上、説明したように、本発明の一実施例の構成によれば、ディスクの記録データの検証を実行し、検証成立を条件としてディスク記録コンテンツの再生を行う構成を有する。記録データの検証処理として、ディスクに記録されたディスク対応IDの記録処理を実行したID記録機の正当性検証を実行する。具体的には、ディスクにディスク対応IDを記録したID記録機の機器IDを含むID記録機証明書と、無効化されたID記録機の機器IDを登録したID記録機ブラックリストをディスクから取得し、ID記録機証明書に記録された機器IDが、ID記録機ブラックリストに登録されているか否かを判定し、さらに、ID記録機証明書の発行日とID記録機ブラックリストの発行日または機器無効化日との比較を行い、ID記録機の正当性判定を行い、不正機器であるとの判定に基づいてディスク記録コンテンツの再生を中止する。本構成により、不正なID記録機の作成したディスクに格納されたコンテンツの利用を防止することが可能となる。
本発明の概要について説明する図である。 本発明の一実施例に係る構成例および処理例について説明する図である。 ディスクに記録されるID記録機ブラックリストのデータ構成例について説明する図である。 ディスクに記録されるID記録機証明書のデータ構成例について説明する図である。 ディスクに記録されるコンテンツ証明書のデータ構成例について説明する図である。 本発明の一実施例に係る情報処理装置の処理例について説明する図である。 本発明の一実施例に係る情報処理装置の実行するID記録機検証処理シーケンスについて説明するフローチャートを示す図である。 本発明の一実施例に係る情報処理装置の実行するID記録機検証処理について説明する図である。
符号の説明
110 ライセンス管理部
111 ID記録機ブラックリスト
120 ディスク工場
121 ID記録機(インサータ)
122 ボリュームID
123 ID記録機ブラックリスト
130 ディスク
131 ボリュームID
132 管理データ
133 暗号化コンテンツ
134 ID記録機ブラックリスト
135 ID記録機証明書
136 ID記録機署名
137 コンテンツ証明書
150 情報処理装置
151 ドライブ
152 データ処理部(ホスト)

Claims (10)

  1. ディスクの記録データの検証を実行し、検証成立を条件としてディスク記録コンテンツの再生を行うデータ処理部を有し、
    前記データ処理部は、
    前記記録データの検証処理として、ディスクに記録されたディスク対応IDの記録処理を実行したID記録機の正当性検証を実行する構成であり、
    前記ディスクにディスク対応IDを記録したID記録機の機器IDを含み、発行者の電子署名が設定されたID記録機証明書と、無効化されたID記録機の機器IDを登録し、発行者の電子署名が設定されたID記録機ブラックリストを前記ディスクから取得し、
    前記ID記録機証明書に記録された機器IDが、前記ID記録機ブラックリストに登録されているか否かを判定し、前記ディスクにディスク対応IDを記録したID記録機の正当性判定を行い、不正機器であるとの判定に基づいてディスク記録コンテンツの再生開始を中止する構成である情報処理装置。
  2. 前記データ処理部は、
    前記ID記録機証明書に記録された機器IDが、前記ID記録機ブラックリストに登録されていない場合において、
    前記ディスクに記録されたコンテンツの正当性を証明するコンテンツ証明書を読み取り、コンテンツ証明書に記録されたコンテンツ証明書発行日と、前記ID記録機ブラックリストの発行日を比較し、前記ID記録機ブラックリストの発行日が、前記コンテンツ証明書発行日より前であり、その時間差が予め設定した閾値以上である場合は、ディスク記録コンテンツの再生開始を中止する構成である請求項1に記載の情報処理装置。
  3. 前記データ処理部は、
    前記ID記録機証明書に記録された機器IDが、前記ID記録機ブラックリストに登録されている場合において、
    前記ディスクに記録されたコンテンツの正当性を証明するコンテンツ証明書を読み取り、コンテンツ証明書に記録されたコンテンツ証明書発行日と、前記ID記録機ブラックリストに記録された機器無効化日を比較し、前記機器無効化日が、前記コンテンツ証明書発行日以前である場合は、ディスク記録コンテンツの再生開始を中止する構成である請求項1に記載の情報処理装置。
  4. 前記データ処理部は、
    前記ID記録機証明書の署名検証処理、および前記ID記録機ブラックリストの署名検証を実行し、署名検証によりデータ改ざんが無いことおよび署名者が正しいことの確認が得られない場合には、ディスク記録コンテンツの再生開始を中止する構成である請求項1に記載の情報処理装置。
  5. 前記データ処理部は、
    前記コンテンツ証明書の署名検証処理を実行し、署名検証によりデータ改ざんが無いことおよび署名者が正しいことの確認が得られない場合には、ディスク記録コンテンツの再生開始を中止する構成である請求項1に記載の情報処理装置。
  6. 前記ディスクは、さらに、前記ID記録機証明書を含むデータに対するID記録機の秘密鍵による署名データであるID記録機署名を格納した構成であり、
    前記データ処理部は、
    前記ID記録機署名の署名検証処理を実行し、署名検証によりデータ改ざんが無いことおよび署名者が正しいことの確認が得られない場合には、ディスク記録コンテンツの再生開始を中止する構成である請求項1に記載の情報処理装置。
  7. 前記ディスク対応IDは、ディスク記録コンテンツのタイトル固有のボリュームIDである請求項1に記載の情報処理装置。
  8. コンテンツと、ディスク対応IDと、
    前記ディスク対応IDの記録処理を実行したID記録機の機器IDを登録したID記録機証明書と、無効化されたID記録機の機器IDを登録したID記録機ブラックリストを記録してディスクであり、
    前記コンテンツの再生を実行する情報処理装置において、前記ID記録機証明書に記録された機器IDが、前記ID記録機ブラックリストに登録されているか否かを判定し、前記ディスクにディスク対応IDを記録したID記録機の正当性判定を行わせ、不正機器であるとの判定に基づくディスク記録コンテンツの再生開始を中止させることを可能としたディスク。
  9. 情報処理装置において実行する情報処理方法であり、
    前記情報処理装置のデータ処理部が、ディスクの記録データの検証を実行し、検証成立を条件としてディスク記録コンテンツの再生を行うデータ処理ステップを実行し
    前記データ処理ステップは、
    前記データ処理部が、前記ディスクにディスク対応IDを記録したID記録機の機器IDを含み、発行者の電子署名が設定されたID記録機証明書と、無効化されたID記録機の機器IDを登録し、発行者の電子署名が設定されたID記録機ブラックリストを前記ディスクから読み取り、入力するステップと、
    前記データ処理部が、前記ID記録機証明書に記録された機器IDが、前記ID記録機ブラックリストに登録されているか否かをデータ比較に基づいて判定し、前記ディスクにディスク対応IDを記録したID記録機の機器IDが、ID記録機ブラックリストに記録されていると判定した場合に、当該ディスクにディスク対応IDを記録したID記録機が不正機器であると判定し、該判定に基づいてディスク記録コンテンツの再生開始を中止するステップと、
    を有する情報処理方法。
  10. 情報処理装置におけるデータ処理を実行させるプログラムであり、
    データ処理部に、ディスクの記録データの検証を実行させ、検証成立を条件としてディスク記録コンテンツの再生を行わせるデータ処理ステップを有し、
    前記データ処理ステップは、
    前記ディスクにディスク対応IDを記録したID記録機の機器IDを含み、発行者の電子署名が設定されたID記録機証明書と、無効化されたID記録機の機器IDを登録し、発行者の電子署名が設定されたID記録機ブラックリストを前記ディスクから取得させるステップと、
    前記ID記録機証明書に記録された機器IDが、前記ID記録機ブラックリストに登録されているか否かを判定し、前記ディスクにディスク対応IDを記録したID記録機の正当性判定を行わせ、不正機器であるとの判定に基づいてディスク記録コンテンツの再生開始を中止させるステップと、
    を有するプログラム。
JP2008213538A 2008-08-22 2008-08-22 情報処理装置、ディスク、および情報処理方法、並びにプログラム Expired - Fee Related JP4600544B2 (ja)

Priority Applications (3)

Application Number Priority Date Filing Date Title
JP2008213538A JP4600544B2 (ja) 2008-08-22 2008-08-22 情報処理装置、ディスク、および情報処理方法、並びにプログラム
US12/533,514 US8285117B2 (en) 2008-08-22 2009-07-31 Information processing apparatus, disk, information processing method, and program
CN2009101634978A CN101656087B (zh) 2008-08-22 2009-08-21 信息处理设备和信息处理方法

Applications Claiming Priority (1)

Application Number Priority Date Filing Date Title
JP2008213538A JP4600544B2 (ja) 2008-08-22 2008-08-22 情報処理装置、ディスク、および情報処理方法、並びにプログラム

Publications (2)

Publication Number Publication Date
JP2010049514A JP2010049514A (ja) 2010-03-04
JP4600544B2 true JP4600544B2 (ja) 2010-12-15

Family

ID=41696489

Family Applications (1)

Application Number Title Priority Date Filing Date
JP2008213538A Expired - Fee Related JP4600544B2 (ja) 2008-08-22 2008-08-22 情報処理装置、ディスク、および情報処理方法、並びにプログラム

Country Status (3)

Country Link
US (1) US8285117B2 (ja)
JP (1) JP4600544B2 (ja)
CN (1) CN101656087B (ja)

Cited By (1)

* Cited by examiner, † Cited by third party
Publication number Priority date Publication date Assignee Title
WO2013179534A1 (ja) 2012-05-29 2013-12-05 パナソニック株式会社 不正接続検知装置、不正接続検知システム及び不正接続検知方法

Families Citing this family (6)

* Cited by examiner, † Cited by third party
Publication number Priority date Publication date Assignee Title
JP2008205969A (ja) * 2007-02-21 2008-09-04 Sony Corp 記録装置、記録方法およびプログラム
CN102111417A (zh) * 2011-03-01 2011-06-29 中国工商银行股份有限公司 网上银行数据的认证方法、装置、服务器及系统
EP2704353B1 (en) * 2011-04-25 2017-09-20 Panasonic Corporation Recording medium apparatus and controller
US8978151B1 (en) * 2011-08-23 2015-03-10 Craig Chamberlain Removable drive security monitoring method and system
US10204178B2 (en) 2013-02-04 2019-02-12 Authentise Inc. System, method, and program product for digital production management
CN107172027A (zh) * 2017-05-05 2017-09-15 北京凤凰理理它信息技术有限公司 证书管理方法、存储设备、存储介质和装置

Family Cites Families (19)

* Cited by examiner, † Cited by third party
Publication number Priority date Publication date Assignee Title
US6397197B1 (en) * 1998-08-26 2002-05-28 E-Lynxx Corporation Apparatus and method for obtaining lowest bid from information product vendors
JP3970040B2 (ja) * 2001-01-31 2007-09-05 株式会社ソニー・コンピュータエンタテインメント コンピュータシステム及びその使用方法
JP2002244552A (ja) * 2001-02-13 2002-08-30 Sony Corp 情報再生装置、情報再生方法、および情報記録媒体、並びにプログラム記憶媒体
US20030009681A1 (en) * 2001-07-09 2003-01-09 Shunji Harada Digital work protection system, recording medium apparatus, transmission apparatus, and playback apparatus
JP4248208B2 (ja) * 2001-09-27 2009-04-02 パナソニック株式会社 暗号化装置、復号化装置、秘密鍵生成装置、著作権保護システムおよび暗号通信装置
JP2004145798A (ja) * 2002-10-28 2004-05-20 Matsushita Electric Ind Co Ltd データ処理システム
JP4043388B2 (ja) * 2003-03-20 2008-02-06 ソニー株式会社 再生装置および再生方法
JP4126699B2 (ja) * 2003-11-05 2008-07-30 インターナショナル・ビジネス・マシーンズ・コーポレーション コンテンツの再生を制限するコンテンツ再生装置、情報処理システム、再生制限方法、コンテンツ再生プログラム、及び記録媒体
US20050289558A1 (en) * 2004-06-08 2005-12-29 Daniel Illowsky Device interoperability runtime establishing event serialization and synchronization amongst a plurality of separate processing units and method for coordinating control data and operations
JP4144573B2 (ja) * 2004-07-15 2008-09-03 ソニー株式会社 情報処理装置、および情報処理方法、並びにコンピュータ・プログラム
JP4523359B2 (ja) * 2004-08-10 2010-08-11 日本電信電話株式会社 アクセス制御システム、アクセス制御方法およびアクセス制御プログラム
JP4569228B2 (ja) 2004-09-02 2010-10-27 ソニー株式会社 データ処理方法、情報記録媒体製造管理システム、記録データ生成装置、および方法、並びにコンピュータ・プログラム
CN101019106B (zh) * 2005-02-14 2010-04-14 松下电器产业株式会社 应用程序执行装置、管理方法和程序
JP2006260614A (ja) * 2005-03-15 2006-09-28 Sony Corp ディスク製造方法、データ記録装置、情報記録媒体、情報処理装置および方法、並びにコンピュータ・プログラム
JP4882636B2 (ja) * 2006-09-27 2012-02-22 ソニー株式会社 情報処理装置、情報記録媒体、および情報処理方法、並びにコンピュータ・プログラム
JP2008103007A (ja) * 2006-10-18 2008-05-01 Sony Nec Optiarc Inc 情報処理装置、情報記録媒体、および情報処理方法、並びにコンピュータ・プログラム
JP2008117459A (ja) * 2006-11-02 2008-05-22 Hitachi Ltd 記録再生装置
JP2008131557A (ja) * 2006-11-24 2008-06-05 Matsushita Electric Ind Co Ltd 映像音声出力機器、認証処理方法及び映像音声処理システム
JP4757179B2 (ja) * 2006-11-30 2011-08-24 ソニー株式会社 情報処理装置、情報記録媒体、および情報処理方法、並びにコンピュータ・プログラム

Cited By (2)

* Cited by examiner, † Cited by third party
Publication number Priority date Publication date Assignee Title
WO2013179534A1 (ja) 2012-05-29 2013-12-05 パナソニック株式会社 不正接続検知装置、不正接続検知システム及び不正接続検知方法
US9288063B2 (en) 2012-05-29 2016-03-15 Panasonic Intellectual Property Management Co., Ltd. Unauthorized connection detecting device, unauthorized connection detecting system, and unauthorized connection detecting method

Also Published As

Publication number Publication date
JP2010049514A (ja) 2010-03-04
CN101656087A (zh) 2010-02-24
CN101656087B (zh) 2011-10-19
US20100046915A1 (en) 2010-02-25
US8285117B2 (en) 2012-10-09

Similar Documents

Publication Publication Date Title
JP5086574B2 (ja) コンテンツ記録装置、コンテンツ再生装置、方法およびプログラム
US8370647B2 (en) Information processing apparatus, information processing method, and program
KR101017002B1 (ko) 상호 인증 방법, 기록 매체, 신호 처리 시스템, 재생 장치 및 정보 처리 장치
CN100409205C (zh) 信息处理设备和方法
US20090202071A1 (en) Recording apparatus, reproducing apparatus, and computer program product for recording and reproducing
JP5018494B2 (ja) 情報処理装置、ディスク、および情報処理方法、並びにプログラム
US20080069354A1 (en) Information Processing Device, Information Processing Method, and Computer Program
JP5678804B2 (ja) 情報処理装置、および情報処理方法、並びにプログラム
JP2009504026A (ja) デジタルコンテンツに関連付けられた検証用来歴データ
JP5664236B2 (ja) データ記憶装置、情報処理装置、および情報処理方法、並びにプログラム
JP4600544B2 (ja) 情報処理装置、ディスク、および情報処理方法、並びにプログラム
JP5929921B2 (ja) 情報記憶装置、情報処理システム、および情報処理方法、並びにプログラム
JP5407482B2 (ja) 情報処理装置、および情報処理方法、並びにプログラム
WO2009093571A1 (ja) 情報処理装置、ディスク、および情報処理方法、並びにプログラム
US20060206945A1 (en) Method, apparatus and program for protecting content
JP2009272002A (ja) 情報処理装置、ディスク、および情報処理方法、並びにプログラム
JP4461183B2 (ja) 情報記録媒体、再生装置
US20120066513A1 (en) Method and apparatus for authenticating a non-volatile memory device
JP4883015B2 (ja) 情報処理装置、ディスク、および情報処理方法、並びにプログラム
JP4952593B2 (ja) 情報処理装置、ディスク、および情報処理方法、並びにプログラム
JP5318241B2 (ja) コンテンツ再生装置、方法およびプログラム
JP2005056539A (ja) 情報処理装置、情報記録媒体、および情報処理方法、並びにコンピュータ・プログラム
JP2009093767A (ja) 情報処理装置、ディスク、および情報処理方法、並びにコンピュータ・プログラム
WO2017038493A1 (ja) 情報処理装置、および情報処理方法、並びにプログラム

Legal Events

Date Code Title Description
A977 Report on retrieval

Free format text: JAPANESE INTERMEDIATE CODE: A971007

Effective date: 20100521

A131 Notification of reasons for refusal

Free format text: JAPANESE INTERMEDIATE CODE: A131

Effective date: 20100601

A521 Request for written amendment filed

Free format text: JAPANESE INTERMEDIATE CODE: A523

Effective date: 20100726

TRDD Decision of grant or rejection written
A01 Written decision to grant a patent or to grant a registration (utility model)

Free format text: JAPANESE INTERMEDIATE CODE: A01

Effective date: 20100831

A01 Written decision to grant a patent or to grant a registration (utility model)

Free format text: JAPANESE INTERMEDIATE CODE: A01

A61 First payment of annual fees (during grant procedure)

Free format text: JAPANESE INTERMEDIATE CODE: A61

Effective date: 20100913

FPAY Renewal fee payment (event date is renewal date of database)

Free format text: PAYMENT UNTIL: 20131008

Year of fee payment: 3

FPAY Renewal fee payment (event date is renewal date of database)

Free format text: PAYMENT UNTIL: 20131008

Year of fee payment: 3

R250 Receipt of annual fees

Free format text: JAPANESE INTERMEDIATE CODE: R250

R250 Receipt of annual fees

Free format text: JAPANESE INTERMEDIATE CODE: R250

LAPS Cancellation because of no payment of annual fees