JP4579306B2 - 円形めっき槽 - Google Patents

円形めっき槽 Download PDF

Info

Publication number
JP4579306B2
JP4579306B2 JP2008050813A JP2008050813A JP4579306B2 JP 4579306 B2 JP4579306 B2 JP 4579306B2 JP 2008050813 A JP2008050813 A JP 2008050813A JP 2008050813 A JP2008050813 A JP 2008050813A JP 4579306 B2 JP4579306 B2 JP 4579306B2
Authority
JP
Japan
Prior art keywords
plating
substrate
plating tank
circular
tank
Prior art date
Legal status (The legal status is an assumption and is not a legal conclusion. Google has not performed a legal analysis and makes no representation as to the accuracy of the status listed.)
Expired - Fee Related
Application number
JP2008050813A
Other languages
English (en)
Other versions
JP2009120935A (ja
Inventor
ジンウク リ
ヒス ユン
チャンファン チェ
Original Assignee
三星電機株式会社
Priority date (The priority date is an assumption and is not a legal conclusion. Google has not performed a legal analysis and makes no representation as to the accuracy of the date listed.)
Filing date
Publication date
Application filed by 三星電機株式会社 filed Critical 三星電機株式会社
Publication of JP2009120935A publication Critical patent/JP2009120935A/ja
Application granted granted Critical
Publication of JP4579306B2 publication Critical patent/JP4579306B2/ja
Expired - Fee Related legal-status Critical Current
Anticipated expiration legal-status Critical

Links

Images

Classifications

    • CCHEMISTRY; METALLURGY
    • C25ELECTROLYTIC OR ELECTROPHORETIC PROCESSES; APPARATUS THEREFOR
    • C25DPROCESSES FOR THE ELECTROLYTIC OR ELECTROPHORETIC PRODUCTION OF COATINGS; ELECTROFORMING; APPARATUS THEREFOR
    • C25D17/00Constructional parts, or assemblies thereof, of cells for electrolytic coating
    • C25D17/02Tanks; Installations therefor
    • CCHEMISTRY; METALLURGY
    • C25ELECTROLYTIC OR ELECTROPHORETIC PROCESSES; APPARATUS THEREFOR
    • C25DPROCESSES FOR THE ELECTROLYTIC OR ELECTROPHORETIC PRODUCTION OF COATINGS; ELECTROFORMING; APPARATUS THEREFOR
    • C25D17/00Constructional parts, or assemblies thereof, of cells for electrolytic coating
    • CCHEMISTRY; METALLURGY
    • C25ELECTROLYTIC OR ELECTROPHORETIC PROCESSES; APPARATUS THEREFOR
    • C25DPROCESSES FOR THE ELECTROLYTIC OR ELECTROPHORETIC PRODUCTION OF COATINGS; ELECTROFORMING; APPARATUS THEREFOR
    • C25D17/00Constructional parts, or assemblies thereof, of cells for electrolytic coating
    • C25D17/06Suspending or supporting devices for articles to be coated

Landscapes

  • Chemical & Material Sciences (AREA)
  • Engineering & Computer Science (AREA)
  • Chemical Kinetics & Catalysis (AREA)
  • Electrochemistry (AREA)
  • Materials Engineering (AREA)
  • Metallurgy (AREA)
  • Organic Chemistry (AREA)
  • Electroplating Methods And Accessories (AREA)

Description

本発明は、めっき槽に関し、より詳しくは、めっき対象の基板の表面に微細パターンを形成するための薄く均一なめっき層を形成するためのめっき槽に関する。
一般に、めっきとは、めっきを施す金属を陰極とし、電着させる金属を陽極として、電着させる金属のイオンを含有した電解液中に入れ、電気を通すことによって金属イオンがめっきを施す金属の表面に析出されるようにする方法をいう。
このようなめっき法で形成するめっき層は、必要な範囲内で薄いほど有利であり、全面に亘る均一性を確保しながら薄いめっき層を形成することが重要な課題となってきている。
特に、半導体工程で用いられる基板は、主に電解めっき装置によって表面処理されており、電解めっきによって、銅や金などの金属を被覆して、主に、回路パターンとバンプなどが形成される。
また、半導体工程をはじめとする電子材料として用いられる基板は、他のめっき処理より要求される特性に制限が多く、めっき厚さの均一性、めっき面の平滑性およびめっきの付着性などが主要なめっき品質基準となり、特にめっき厚さにおいては、被めっき面の全体に後の工程に有利なように均一なめっき層が形成されるようにすることが厳格に要求されている。
したがって、めっき厚さの均一性を向上させるために、めっき槽内においてめっき電流の電流分布を均一に維持するようにしなければならない。
しかし、従来のめっき槽は主に四角の箱状に構成され、その内部に複数の基板が並列に配置されることによって、めっき電流の分布に代表されるめっき層を形成するためのイオンの分布を均一にして薄い均一なめっき層を得ることが難しいという問題点がある。
特に、現在の多様な形態の電子装置材料として用いられる基板の場合には、微細パターンを印刷しなければならないため、基板の表面に非常に薄いめっき層が形成されるようにしなければならないが、従来のめっき槽では微細パターン印刷が可能な約30μm以下の厚さのめっき層の形成は技術的に難しい。
次に、従来のめっき槽の構造と従来のめっき槽を用いためっき法について簡略的に見ると次の通りである。
図1は、従来のめっき槽の構成図であって、図に示すように従来のめっき槽は四角のめっき槽1内にめっき液2が充填され、充填されためっき液中に複数の基板3が並列に配列される。
めっき槽1は、上部が開放された四角箱状に構成され、陽電荷端子による陽電流が通電する溶液が収容されためっき槽として構成されている。
また、めっき槽1の上部に陰電荷端子と接続され、陰電流が通電し、表面にめっき層が形成される基板3が結合された搬送手段(図示せず)が備えられる。
従来のめっき槽1では、搬送手段にめっきを施す基板を懸垂方式で固定し、めっき槽1内のめっき液内に浸し搬送手段によって、往復させることにより、めっき槽1内で電流通電による化学反応によって、基板3の表面に薄い皮膜としてめっき層が形成される。
しかし、従来のめっき槽1は、めっきを行う過程で、主に基板2が薄板状に構成されていることによって、基板2が搬送手段に固定され、めっき液中で搬送される過程でめっき液の抵抗力によって、搬送手段に直接固定されていない部分で流動が発生する場合がある。
したがって、基板3の全面に亘って均一な厚さを有するめっき層を形成できないという問題点がある。
また、図2は、従来のめっき槽1のめっき進行時のイオン分布を示す図であり、従来のめっき槽1において、内部に満たされためっき液中に基板3を並列に配列した後の時間経過に伴う基板3の周囲のイオン分布を示している。
図2に示すように、めっき槽1内の流動がないめっき液内に基板3を並列に配列した時、基板3の周囲のイオンが析出され、基板3の表面に固定されることによってめっき液内では徐々にイオンの量が減少する。
したがって、時間が経過するほどめっき槽1内の最外郭に配置された基板3の周囲とその内側に配置された基板3の周囲に分布するイオンの分布が不均一になり、それによって、基板3の配列位置によっては表面全体に均一な厚さのめっき層が形成されにくくなるという問題が生じる。
また、このような問題点を単純に改善するために、四角のめっき槽1内に収容されためっき液を強制的に循環させる方法が工夫されているが、前記問題点を解決する完全な解決策にはなり得ず、めっき液の揺れによって、先に説明したようにめっき層の厚さが不均一になる場合があるという問題がやはり発生し得る。
このような問題点を解決するために、めっき槽1内に並列に配列された基板3の一面に補助陰極を密着させ、補助陰極と一定の間隔をおいて、遮蔽板を配置することによって、基板3の電界分布を拡大させ、基板3の表面に均一なめっき層が形成されるようにする方法が提案されている。
しかし、遮蔽板を用いためっき法では、先に説明した問題点と短所を根本的に解消することが困難であり、めっき層を形成しなければならない基板3の縁にめっき電流が集中するのを遮蔽板によって防止できることはできるが、縁のめっき面積が大きい場合には、めっき偏差が発生せざるを得ないという問題点がある。
したがって、本発明は、従来のめっき槽で発生する上記の短所と問題点を解決するために創案されたものであり、基板全面に均一なめっき層を形成することができるめっき槽を提供することを目的とする。
また、本発明は、円形のめっき槽内に分布したイオンがめっき槽の壁に沿って配置された各基板周囲に等しく分布することによって、基板位置に応じて発生する偏差を除去して微細パターン形成が可能な厚さの微細めっき層が形成されるようにした円形めっき槽を提供することに発明の目的がある。
前記の目的を達成するための本発明は、内部にめっき液が収容された円形のめっき槽と、めっき槽内に配置される基板を含む。
めっき槽は、上部が開放された円形の水槽状に構成され、内部に基板を完全に浸すことができるようにめっき液が収容される。この時、めっき液としては、陽電流が通電されて内部のイオンが流動可能な溶液が収容される。
また、めっき槽は、内部に環状の基板固定枠が装着され、基板固定枠には複数の基板を固定することのできる基板固定具が備えられる。
基板固定枠は、めっき槽の中央部に鉛直に配置された回転軸上に回転可能に結合し、基板固定枠に装着される基板は基板固定枠の形態に応じて多角形または円形状に配置される。
したがって、基板は、めっき液中に浸された状態で基板固定枠の回転方向に回転しながら、外部から加えられる熱源などのような外乱源に対して均一な影響を受けるようにし、めっき槽内における内部駆動によって、外乱の影響がめっき槽のめっき液内に均一に作用するようにできる。
また、このようなめっき槽内の外乱の影響に対しては、めっき槽内でめっき液を循環させることによりその循環流動によって同様に均一化の効果を得ることができる。
一方、めっき槽内に配置された基板は、陰の電極と接続され、陰電位を有し、基板が浸されためっき液は、陽の電位を有する陽極と通電してめっき液内に電解されている電解質内の陽電荷を帯びたイオンが基板の表面に析出される。
基板が陰電位を有する時、陽極はめっき槽の中心に配置するか、めっき槽内の基板の内側に円形状に配置することができる。
また、電解めっきのための陽極は、基板の内壁面上に配置することもできる。
この時、陽極は複数を互いに一定の間隔を有するように配置してもよく、隙間がない円柱状に構成してもよい。
このような技術的構成を有する本発明の円形めっき槽は、円形のめっき槽内に基板を円形または円形に近い多角形を成すように配列して、基板をめっき液内で回転させることによって、外部から加えられる外乱に対する影響が一部の基板に集中するのを防止して、各基板に等しく分散させることによって、基板間でのめっきの偏差を減少させ、基板の全面に均一なめっき層が形成されるようにできることに技術的特徴がある。
本発明の円形めっき槽には、めっき液が収容される円形のめっき槽内に複数の基板を円形に近い多角形を成すように配置して、外乱発生時にその影響を均一化することによって基板全面に均一なめっき層を生成することができるという長所があり、基板位置によって発生する偏差を低減して、微細パターン形成が可能な厚さの0.5ないし30μmの微細めっき層を形成できるという利点がある。
本発明に係る円形めっき槽の上記の目的に対する技術的構成をはじめとする作用効果に関する事項は、本発明の好ましい実施形態が示された図面を参照した下記の詳細な説明によって明確に理解できるはずである。
まず、図3は、本発明に係る円形めっき槽の斜視図であり、図4は、本発明に係る円形めっき槽の平面図である。
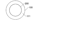
図に示すように、本実施形態の円形のめっき槽100は、その中央部に回転軸110が取り付けられ、めっき槽100内の回転軸110に基板固定枠120が装着され、基板固定枠120内にめっき対象の基板200が固定される。
めっき槽100は、上部が開放された円筒形に構成され、内部に陽極と、通電可能なイオン水溶液であるめっき液111が収容され、めっき槽100の一側部に、めっき槽100の内部にめっき液111を注入するためのめっき液注入口(図示せず)が備えられている。
この時、めっき槽100内に収容されためっき液111は、基板固定枠120に装着された基板200が十分に浸される高さまで満たされる。
回転軸110は、めっき槽100の中央部で回転できるように、めっき槽100の内部を貫通して取り付けられている。
また、回転軸110に結合される基板固定枠120は環状に構成され、めっき槽100内の回転軸110の上下部に装着され、基板固定枠120の環状枠部には基板200の上下端部が結合される基板固定具121が備えられている。
基板200は、上下端部が基板固定具121に個別的に結合されて、環状の基板固定枠120の枠部に沿って装着され、めっき液111内に浸された状態で回転軸110の回転によって、基板固定枠120の回転方向にめっき液111内で回転する。
一方、基板200は、めっき液111内に基板固定枠120に複数が鉛直に取り付け、基板固定枠120の枠部に沿って配置することによって、基板固定枠120の形状に応じて変化し得るが、全体として、図5のように円形または円形に近い多角形をなすように配置される。
図5a〜cは、本発明に係る円形めっき槽内の基板配列の例を示めす図であって、図に示すように基板200は、並列にではなく、円形または円形に近い多角形状に配置することが好ましい。
基板200の配列構造は、下記に説明する電極の配置構造と基板200の回転構造に応じて適宜変更可能であり、多様なシミュレーションを経て電極の配置などの多様な条件を考慮して、最も適する形態の配列にすることが好ましい。
このような技術的構成の円形のめっき槽100は、円形のめっき槽100の内部に基板固定枠120を用いて基板200を円形または円形に近い形態に配列し、内部の任意地点にアノード(anode)電極が備わっためっき槽100内にめっき液111を供給して、基板200とめっき液111を接触させると同時に基板200にめっき電流を供給すると、基板200の表面にめっき液111内のイオンが析出され、めっきが施される。
また、基板200は、めっき槽100の形状に沿ってその内部に円形に配置されるが、場合によって、1列または2列以上の複数列に配列することもできる。
このように、円形めっき槽100内に基板200を円形または円形に近い多角形状に配置する理由は、電磁場や熱源およびめっき液の循環による流速変化などによる基板200の外部の影響、すなわち基板200のめっき層形成に不要な外乱がめっき槽100内の一側で発生した時、円形に近く配置された基板200を回転させることによって、基板200に加えられる外乱の影響を均一化するためである。
一方、本発明のめっき槽100は、回転軸110や基板200またはめっき槽100自体を回転させ、めっき槽100内のめっき液111を循環させ、めっき槽100内に個別に配置された基板200の表面に均一にめっきが施されるようにしている。
図6a,bは、本発明に係る円形めっき槽のめっき液循環構造を示す構成図であって、図に示すように本発明では、円形のめっき槽100はその内壁面から所定の間隔をおいた円形に近い形状をなすように基板200が配置され、めっき槽100内に、基板200を浸すことができるように収容されためっき液111が循環するようにしている。
めっき液111を循環させるのは、めっき液111中に含まれたイオンが均等に分散して、めっき対象の基板200に均一に析出されるようにするためで、先に説明したように外乱発生時の外乱に対する影響が各基板200に等しく及ぶようにして、基板200の表面に均一なめっき層が形成されるようにするためでもある。
このような理由によって、めっき液111は、めっき槽100の中央部に取り付けられた回転軸110または回転軸110の結合位置に図6aのように別の回転部材300を装着し、この回転部材300の回転によってめっき液111を循環させるようにしている。
また、図6bのようにめっき槽100の内部に装着された基板200の内側に円筒形のシリンダ310を設け、シリンダ310の回転によって、その内外のめっき液111がめっき槽100内で回転するようにすることもできる。
そして、本発明によるめっき槽100内に装着される基板200が、主に小型に製作されることによって、基板200にめっきを施すめっき槽100が小型のめっき槽として構成される場合には、めっき槽100自体を回転させ、外乱による影響をめっき槽100内の基板に等しく分散させることもできる。
次に、図7a〜eは、本発明に係る円形めっき槽の電極配置を示す構成図であり、これらの図に示すように本発明の円形めっき槽100はめっき槽100の内部に収容されためっき液111が陽極と通電し、めっき槽100の内部に円形に近い多角形をなすように配置された基板200が陰極と接続されるようにすることによって、めっき槽100内で発生する電気化学反応によって、基板200の表面に薄い皮膜のめっき層が形成される。
めっき槽100内で、陽極と陰極を介して電磁場が発生するようにするためには、基板200とめっき液111に陰極と陽極が接続されるようにしなければならないが、先に説明した基板200の配置構造を考慮して、電極を適切な種々の形態で配置することができ、実質的には基板200の配置構造と電極の配置構造の組合せによって、最も効果的なめっき性能が実現される配置構造をめっき槽の設計時に選択することができる。
めっき槽100内に配置される電極は、基本的に陰極がめっき槽100内に円形に近い多角形に配置された基板200に接続され、陽極は基板100が浸されためっき液111と通電するように配置される。
基板200に陰極が接続された状態で、陽極400は、図7aのように、めっき槽100に貫通結合した回転軸110と共にめっき槽100の中心に配置される。
また、陽極の他の形態として、図7bのように、めっき槽100の中心と円形に近い多角形に配置された基板200との間にシリンダ状の陽極410を配置し、あるいは、図7cのように、めっき槽100の内壁面に密着させて、または所定の間隔をおいてシリンダ状の陽極420を配置することもできる。
この時、シリンダ状の陽極410は、めっき液111を回転させるためのシリンダ(310)としても働くようにし、めっき液111の循環とめっき液111との電気的通電の働きを同時にさせるようにすることもできる。
また、図7dと図7eのように、陽極400をめっき槽100の中心に配置すると同時に、めっき槽100の内壁にシリンダ状の陽極420を配置してもよく、あるいは、シリンダ状の陽極410をめっき槽100の壁と基板200との間に配置すると同時にめっき槽100の内壁面にシリンダ状の陽極420を配置してもよい。
一方、図8は、本発明に係る円形めっき槽の電極配置の他の実施形態を示す図であり、円形のめっき槽100内に配置された基板200の外側の任意の地点に陽極500を配置して、基板200が浸されているめっき液111に通電するようになっている。
先に説明した陽極400〜420の配置は、主にめっき槽100に対して基板200が固定される場合に適用され得るが、図8に示す陽極500の配置は基板200またはめっき液111を一定速度で回転させる場合に適用することで、陽極500と通電するめっき液111と基板200との間に発生する電場が基板200に等しく作用するようにできる。
最後に、図9は、本発明に係る円形めっき槽を利用しためっきの進行時のイオン分布を示す図面であって、図に示すように本発明の円形めっき槽100では、円形のめっき槽100の内部に円形に近い多角形をなすように配置された基板200の表面周囲でめっき液111中に含まれたイオンが等しく分布していることによって、めっき液111中に浸された基板200の表面にめっき層形成のためのイオンが等しく析出されるようにすることができる。
すなわち、図9のように、めっき槽100内に基板200を装着した後、時間が経過しても、基板200の周囲に分布したイオンは、各基板200に対して均等に分布しており、それによって基板200の表面に均等にめっき層が形成される。
また、円形のめっき槽100内に配置された基板200では、めっき槽100の内外で発生する外乱に対する影響が基板200の両面に等しく作用しており、基板200の回転やめっき液111の流動およびめっき槽100の回転などによって、外部の影響要因が各基板200に分散することによって基板200の表面に薄くて均一なめっき層を形成することができる。
上記のようなめっき槽の形態とめっき槽内の基板配置は、先に説明した電解めっき槽以外に無電解めっき槽にも同様に適用することができ、無電解めっき槽では電解めっきに比べて、めっき速度は多少遅いが、めっき対象の基板表面に均一な分布を得ることができるという長所が得られる。
上述した本発明の好ましい実施形態は、例示の目的のために開示されたものであり、本発明の属する技術の分野における通常の知識を有する者であれば、本発明の技術的思想を逸脱しない範囲内で、様々な置換、変形、及び変更が可能であり、このような置換、変更などは、特許請求の範囲に属するものである。
従来のめっき槽の構成図である。 従来のめっき槽のめっき進行時のイオン分布を示す図である。 本発明に係る円形めっき槽の斜視図である。 本発明に係る円形めっき槽の平面図である。 本発明に係る円形めっき槽内の基板配列の実施形態を示す図である。 本発明に係る円形めっき槽内の基板配列の実施形態を示す図である。 本発明に係る円形めっき槽内の基板配列の実施形態を示す図である。 本発明に係る円形めっき槽のめっき液循環構造を示す構成図である。 本発明に係る円形めっき槽のめっき液循環構造を示す構成図である。 本発明に係る円形めっき槽の電極配置を示す構成図である。 本発明に係る円形めっき槽の電極配置を示す構成図である。 本発明に係る円形めっき槽の電極配置を示す構成図である。 本発明に係る円形めっき槽の電極配置を示す構成図である。 本発明に係る円形めっき槽の電極配置を示す構成図である。 本発明に係る円形めっき槽の電極配置の他の実施形態の構成図である。 本発明に係る円形めっき槽を用いためっき進行時のイオン分布を示す図である。
符号の説明
100 めっき槽
110 回転軸
111 めっき液
120 基板固定枠
121 基板固定具
200 基板

Claims (14)

  1. 内部にメッキ液が収容された円形のメッキ槽と、
    前記メッキ槽の中央部に配置され、複数の基板を支持する基板固定枠と、
    前記基板固定枠に結合され、前記基板固定枠を回転させる回転軸とを含み、
    前記基板固定枠は、環状の枠部を備え、
    前記基板は、該基板の表面が前記回転軸に平行であるように前記枠部に沿って装着され、
    前記メッキ槽内のメッキ液は、前記メッキ槽自体の回転及び前記回転軸の回転によって循環流動されることを特徴とする円形メッキ槽。
  2. 前記メッキ槽は、上部が開放された円筒形状を有し、その内部にはメッキ液が収容されたことを特徴とする請求項1に記載の円形メッキ槽。
  3. 前記基板固定枠は、前記回転軸の上部及び下部に各々装着され、前記基板は前記基板固定枠内に固定されたことを特徴とする請求項1または2に記載の円形メッキ槽。
  4. 前記基板固定枠は、前記基板を固定させる基板固定具を備えることを特徴とする請求項1〜請求項3のうちのいずれか1に記載の円形メッキ槽。
  5. 前記基板は、前記メッキ液内に浸漬された状態で前記回転軸の回転によって前記基板固定枠の回転方向に回転することを特徴とする詰求項1〜請求項4のうちのいずれか1に記載の円形メッキ槽。
  6. 前記基板は、前記メッキ槽の内部で1列以上の複数列に配列されたことを特徴とする請求項1〜請求項5のうちのいずれか1に記載の円形メッキ槽。
  7. 前記メッキ液は、前記メッキ液の中央部に結合された回転軸及び該回転軸の結合部位に装着された回転部材のうちの少なくともいずれか1つにより循環流動されることを特徴とする請求項1〜請求項6のうちのいずれか1に記載の円形メッキ槽。
  8. 前記メッキ液は、前記メッキ槽内の前記基板の内側に備えられたシリンダにより循環流動されることを特徴とする請求項1〜請求項7のうちのいずれか1に記載の円形メッキ槽。
  9. 前記メッキ液と通電可能に前記メッキ槽内に配置される陽極をさらに含み、前記陽極は、前記メッキ槽を貫通して結合した回転体に形成されるか、または前記回転体と別途に前記メッキ槽の中心に配置されることを特徴とする請求項1〜請求項8のうちのいずれか1に記載の円形メッキ槽。
  10. 前記メッキ液と通電可能に前記メッキ槽内に配置される陽極をさらに含み、
    前記陽極は、前記メッキ槽の中心と前記基板との間でシリンダの形態をなすように配置されたことを特徴とする請求項1〜請求項8のうちのいずれか1に記載の円形メッキ槽。
  11. 前記メッキ液と通電可能に前記メッキ槽内に配置される陽極をさらに含み、
    前記陽極は、前記メッキ槽の内壁面に密着したことを特徴とする請求項1〜請求項8のうちのいずれか1に記載の円形メッキ槽。
  12. 前記メッキ液と通電可能に前記メッキ槽内に配置される陽極をさらに含み、
    前記陽極は、前記メッキ槽の中心及び前記メッキ槽の内壁面に各々形成されたことを特徴とする請求項1〜請求項8のうちのいずれか1に記載の円形メッキ槽。
  13. 前記メッキ液と通電可能に前記メッキ槽内に配置される陽極をさらに含み、
    前記陽極は、前記メッキ槽と前記基板との間に配置されることを特徴とする請求項1〜請求項8のうちのいずれか1に記載の円形メッキ槽。
  14. 前記メッキ槽は、電解メッキ槽及び無電解メッキ槽のうちのいずれか1つであることを特徴とする請求項1〜請求項13のうちのいずれか1に記載の円形メッキ槽。
JP2008050813A 2007-11-16 2008-02-29 円形めっき槽 Expired - Fee Related JP4579306B2 (ja)

Applications Claiming Priority (1)

Application Number Priority Date Filing Date Title
KR1020070117108A KR20090050588A (ko) 2007-11-16 2007-11-16 원형 도금조

Publications (2)

Publication Number Publication Date
JP2009120935A JP2009120935A (ja) 2009-06-04
JP4579306B2 true JP4579306B2 (ja) 2010-11-10

Family

ID=40813401

Family Applications (1)

Application Number Title Priority Date Filing Date
JP2008050813A Expired - Fee Related JP4579306B2 (ja) 2007-11-16 2008-02-29 円形めっき槽

Country Status (2)

Country Link
JP (1) JP4579306B2 (ja)
KR (1) KR20090050588A (ja)

Families Citing this family (5)

* Cited by examiner, † Cited by third party
Publication number Priority date Publication date Assignee Title
FR3004466B1 (fr) * 2013-04-10 2015-05-15 Electricite De France Procede et dispositif d'electro-depot en geometrie cylindrique
CN112575354A (zh) * 2020-11-10 2021-03-30 宁波革创新材料科技有限公司 一种内管电镀致密层的方法和装置
KR102425050B1 (ko) * 2021-01-12 2022-07-27 주식회사 우리선테크 인쇄회로기판 도금장치
KR102309576B1 (ko) * 2021-07-19 2021-10-07 백운일 교반날개를 이용한 회전도금장치
CN116162997B (zh) * 2023-04-25 2023-06-30 苏州尊恒半导体科技有限公司 一种可回收电镀液的电镀装置

Family Cites Families (2)

* Cited by examiner, † Cited by third party
Publication number Priority date Publication date Assignee Title
JP2726700B2 (ja) * 1989-05-24 1998-03-11 三菱重工業株式会社 金属板の表面処理装置
JP3492449B2 (ja) * 1995-07-28 2004-02-03 Tdk株式会社 めっき方法およびめっき装置

Also Published As

Publication number Publication date
KR20090050588A (ko) 2009-05-20
JP2009120935A (ja) 2009-06-04

Similar Documents

Publication Publication Date Title
US5332487A (en) Method and plating apparatus
JP4579306B2 (ja) 円形めっき槽
CN103060871A (zh) 电镀装置及电镀方法
JP2002506488A (ja) 電気化学堆積システム及び基体の電気めっき方法
US20060049038A1 (en) Dynamic profile anode
US20200095697A1 (en) Manufacturing Apparatus of Electrolytic Copper Foil
WO1995020064A1 (en) Uniform electroplating of printed circuit boards
US4935109A (en) Double-cell electroplating apparatus and method
JPS60169592A (ja) ライニング金属層電着装置
CN102373497A (zh) 电镀装置及电镀方法
JP4795075B2 (ja) 電気めっき装置
CN102459716A (zh) 薄层的受控电解处理的方法和装置
KR101103442B1 (ko) 기판도금장치
US11230783B2 (en) Method and system for electroplating a MEMS device
KR20100011853A (ko) 기판도금장치
KR100748791B1 (ko) 수직 도금 장치 및 도금 방법
US3619386A (en) Electrodeposition process using a bipolar activating medium
CN110528054B (zh) 一种pcb板不停槽电沉积镍的装置和方法
KR20170056383A (ko) 배럴 도금 장치
US6361673B1 (en) Electroforming cell
EP2436805A1 (en) Barrel apparatus for barrel plating
JP6893849B2 (ja) プリント配線板用めっき装置及び金属製治具
KR100762048B1 (ko) 광폭 방향의 중량편차 저감을 위한 금속박막 제박기
US12487520B2 (en) Multi-layer photoresist systems and methods for manufacturing electrochemical deposition printheads
CN222008153U (zh) 电镀阳极机构和电镀设备

Legal Events

Date Code Title Description
RD02 Notification of acceptance of power of attorney

Free format text: JAPANESE INTERMEDIATE CODE: A7422

Effective date: 20091126

A977 Report on retrieval

Free format text: JAPANESE INTERMEDIATE CODE: A971007

Effective date: 20091130

A131 Notification of reasons for refusal

Free format text: JAPANESE INTERMEDIATE CODE: A131

Effective date: 20091208

RD02 Notification of acceptance of power of attorney

Free format text: JAPANESE INTERMEDIATE CODE: A7422

Effective date: 20100107

RD04 Notification of resignation of power of attorney

Free format text: JAPANESE INTERMEDIATE CODE: A7424

Effective date: 20100108

A521 Request for written amendment filed

Free format text: JAPANESE INTERMEDIATE CODE: A523

Effective date: 20100308

A131 Notification of reasons for refusal

Free format text: JAPANESE INTERMEDIATE CODE: A131

Effective date: 20100406

A521 Request for written amendment filed

Free format text: JAPANESE INTERMEDIATE CODE: A523

Effective date: 20100623

TRDD Decision of grant or rejection written
A01 Written decision to grant a patent or to grant a registration (utility model)

Free format text: JAPANESE INTERMEDIATE CODE: A01

Effective date: 20100727

A01 Written decision to grant a patent or to grant a registration (utility model)

Free format text: JAPANESE INTERMEDIATE CODE: A01

A61 First payment of annual fees (during grant procedure)

Free format text: JAPANESE INTERMEDIATE CODE: A61

Effective date: 20100825

FPAY Renewal fee payment (event date is renewal date of database)

Free format text: PAYMENT UNTIL: 20130903

Year of fee payment: 3

R150 Certificate of patent or registration of utility model

Free format text: JAPANESE INTERMEDIATE CODE: R150

R250 Receipt of annual fees

Free format text: JAPANESE INTERMEDIATE CODE: R250

R250 Receipt of annual fees

Free format text: JAPANESE INTERMEDIATE CODE: R250

LAPS Cancellation because of no payment of annual fees