JP4484471B2 - 排気管用テールパイプ - Google Patents

排気管用テールパイプ Download PDF

Info

Publication number
JP4484471B2
JP4484471B2 JP2003297091A JP2003297091A JP4484471B2 JP 4484471 B2 JP4484471 B2 JP 4484471B2 JP 2003297091 A JP2003297091 A JP 2003297091A JP 2003297091 A JP2003297091 A JP 2003297091A JP 4484471 B2 JP4484471 B2 JP 4484471B2
Authority
JP
Japan
Prior art keywords
tail pipe
pipe
rear end
diameter
opening
Prior art date
Legal status (The legal status is an assumption and is not a legal conclusion. Google has not performed a legal analysis and makes no representation as to the accuracy of the status listed.)
Expired - Lifetime
Application number
JP2003297091A
Other languages
English (en)
Other versions
JP2005069050A (ja
Inventor
幸弘 中川
Current Assignee (The listed assignees may be inaccurate. Google has not performed a legal analysis and makes no representation or warranty as to the accuracy of the list.)
Nakagawa Sangyo Co Ltd
Original Assignee
Nakagawa Sangyo Co Ltd
Priority date (The priority date is an assumption and is not a legal conclusion. Google has not performed a legal analysis and makes no representation as to the accuracy of the date listed.)
Filing date
Publication date
Application filed by Nakagawa Sangyo Co Ltd filed Critical Nakagawa Sangyo Co Ltd
Priority to JP2003297091A priority Critical patent/JP4484471B2/ja
Publication of JP2005069050A publication Critical patent/JP2005069050A/ja
Application granted granted Critical
Publication of JP4484471B2 publication Critical patent/JP4484471B2/ja
Anticipated expiration legal-status Critical
Expired - Lifetime legal-status Critical Current

Links

Images

Landscapes

  • Exhaust Silencers (AREA)

Description

本発明は排気管の後端開口部に外観向上等のために取り付けられるテールパイプに関する。
近年のテールパイプは見栄え向上のために大型化しており、図6にその一例を示す。図6において、テールパイプ4は排気管2よりも大径の筒体で、その中心に排気管2の後端部が進入している。テールパイプ4の前端部41は略円錐状に大きく縮径させられてその開口内周が排気管2の外周に接合されている。なお、テールパイプ4の後端部42はある程度絞られて縮径している。このようなテールパイプ4は図7に示すように、縮径した後端部42を含む筒状のパイプ本体5と、略円錐形の接続体6とを別体で用意して、両者を互いの大径の開口縁51,61で全周溶接し結合して製造されている。
なお、特許文献1には排気管の後端部に装着される大径のテールパイプが示されている。
特開平7−102967
しかし、上記従来のテールパイプでは全周溶接を行っているために、下方側の溶接部に水が溜まり易く、この部分で錆びを生じるという問題があった。また、下方側の溶接部がボデー直下になく外方から見えるため、上記溶接部が外方から見えないテールパイプ形状とする必要があって、形状デザインの自由度が制限されるという問題もあった。
そこで、本発明はこのような課題を解決するもので、溶接部での錆びの発生を防止することができるとともに形状デザインの自由度も向上する排気管用テールパイプを提供することを目的とする。
上記目的を達成するために、本発明では、排気管(2)の後端開口部(21)に取り付けられるこれよりも大径のテールパイプ(1)は、折り曲げた一枚の板体(3)の対向辺(33,34)を軸線方向へ溶接して形成された筒体を備え、当該筒体の前端部(12)は略円錐状に縮径変形させられて、その中心に円形開口部(35)が形成されており、当該円形開口部(35)の内周が後端開口部(21)の外周に嵌合されている。また、筒体は後端開口周縁(14)が一定幅で絞って縮径させられるとともに、縮径した先端(141)が後端開口周縁(14)内周に密接するまで折り曲げられており、かつ、筒体の前端部(12)はスピニングによって略円錐状に縮径変形させられ、その中心に円形開口部(35)が形成されている構造とすることができる。ここで、絞り加工としては、スピンニング、プレス加工、あるいは両者の併用とすることができる。
本発明によれば、テールパイプをパイプ本体と接続体に分割することなく、一枚の板材を加工して製造することができるから、部品点数が削減されて製造コストが低減される。この場合の板体の溶接は、パイプ状に成形したその表面を軸線方向へ延びるように行えば良いから、この溶接部がボデー直下のパイプ外周頂部に来るようにテールパイプを設置することにより、上記溶接部を遮蔽するようなテールパイプ形状とする必要がなくなり、形状デザインの自由度が向上する。また、テールパイプの外周頂部に位置させた溶接部には水が溜まらないから、この部分での錆の発生が防止される。また、特にスピニングによって絞り加工を行った場合には加工コストを大きく低減させることができる。
なお、上記カッコ内の符号は、後述する実施形態に記載の具体的手段との対応関係を示すものである。
以上のように、本発明の排気管用テールパイプによれば、溶接部での錆びの発生が防止されるとともに形状デザインの自由度も向上し、かつ部品点数が削減されるからコスト低減も実現される。
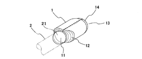
図1にはテールパイプを前方から見た斜視図を示す。テールパイプ1は略楕円形の筒体で、その前端開口11を排気管2の後端開口部21外周に嵌合させて溶接してある。テールパイプ1の前端部12は略円錐状に縮径させられてその中央に円形の上記開口11が形成されている。テールパイプ1の後端開口13はその周縁14が一定幅でやや縮径させられている。
このようなテールパイプ1は以下の工程で製造される。図2(1)に示すようにステンレス板材から必要形状の板体3を打ち抜く。板体3中央の小孔31は水抜き孔となる。また、板体3の一辺両端部には、溶接代となる小突起(タブ)32が形成される。続いて板体3をU字形に曲げ(図2(2))、これをさらに円筒形に曲げて(図2(3))、板体3の対向辺33,34をタブ32形成部まで軸線方向に溶接する(図2(4))。その後、全体を上下方向を短径とする楕円筒に成形し(図3(1))、タブ32をカットする(図3(2))。
続いて図3(3)に示すように、後端開口13の周縁14を一定幅で絞って縮径させ、縮径させた先端141を図5(1)に示すように開口13の中心方向へ屈曲(カール)させる。さらに上記先端141を開口13内へ折り曲げ(フォーミング)(図3(4),図5(2))、さらにヘミングによって先端141を開口縁14内周に密接するまで折り曲げる(図4(1),図5(3))。
その後、図4(2)に示すように、スピニングによって前端部12を略円錐状に縮径変形させるとともに、その中心に排気管2の後端外周とほぼ同径の円形開口部35を形成する。そして、円形開口部35の余剰の筒壁351をカットして上記開口11とし(図4(3))、全周表面をバフ研磨してテールパイプ1(図1)を完成させる。
本実施形態のテールパイプは一枚の板材を加工して製造されるから、部品点数が削減されて製造コストの低減が実現される。また、溶接部がパイプ表面を従来のような周方向ではなく軸線方向へ延びているから、上記溶接部がボデー直下の、テールパイプの外周頂部に位置するようにテールパイプを設置すれば、溶接部は全く外方から見えなくなり、溶接部を遮蔽するようなテールパイプ形状とする必要がないから、形状デザインの自由度が向上する。また、テールパイプの外周頂部に位置する溶接部には水が溜まらないから、この部分での錆の発生も防止される。なお、上記前端部12の形状がより円形に近い場合には、当該前端部12の縮径変形をプレス加工、あるいはこれとスピニングを併用したもので行うことができる。
本発明の一実施形態を示すテールパイプを前方から見た斜視図である。 本発明の一実施形態における、テールパイプの製造工程を示す斜視図である。 本発明の一実施形態における、テールパイプの製造工程を示す斜視図である。 本発明の一実施形態における、テールパイプの製造工程を示す斜視図である。 本発明の一実施形態における、テールパイプの製造工程を示す断面図で、図5(1)は図3(3)のX−X線に、図5(2)は図3(4)のY−Y線に、図5(3)は図4(1)のZ−Z線にそれぞれ沿った断面図である。 従来例を示す側面図である。 従来例を示す分解側面図である。
符号の説明
1…テールパイプ、12…前端部、2…排気管、21…後端開口部。

Claims (1)

  1. 排気管の後端開口部に取り付けられるこれよりも大径のテールパイプであって、折り曲げた一枚の板体の対向辺を軸線方向へ溶接して形成された筒体を備え、当該筒体の前端部は略円錐状に縮径変形させられて、その中心に円形開口部が形成されており、当該円形開口部の内周が前記後端開口部の外周に嵌合されており、前記筒体は後端開口周縁が一定幅で絞って縮径させられるとともに、縮径した先端が後端開口縁内周に密接するまで折り曲げられており、かつ前記筒体の前端部はスピニングによって略円錐状に縮径変形させられ、その中心に前記円形開口部が形成されていることを特徴とする排気管用テールパイプ。
JP2003297091A 2003-08-21 2003-08-21 排気管用テールパイプ Expired - Lifetime JP4484471B2 (ja)

Priority Applications (1)

Application Number Priority Date Filing Date Title
JP2003297091A JP4484471B2 (ja) 2003-08-21 2003-08-21 排気管用テールパイプ

Applications Claiming Priority (1)

Application Number Priority Date Filing Date Title
JP2003297091A JP4484471B2 (ja) 2003-08-21 2003-08-21 排気管用テールパイプ

Publications (2)

Publication Number Publication Date
JP2005069050A JP2005069050A (ja) 2005-03-17
JP4484471B2 true JP4484471B2 (ja) 2010-06-16

Family

ID=34403044

Family Applications (1)

Application Number Title Priority Date Filing Date
JP2003297091A Expired - Lifetime JP4484471B2 (ja) 2003-08-21 2003-08-21 排気管用テールパイプ

Country Status (1)

Country Link
JP (1) JP4484471B2 (ja)

Family Cites Families (6)

* Cited by examiner, † Cited by third party
Publication number Priority date Publication date Assignee Title
JPS5594421U (ja) * 1978-12-22 1980-06-30
JPS6170522U (ja) * 1984-10-15 1986-05-14
JP2002282980A (ja) * 2001-03-21 2002-10-02 Calsonic Kansei Corp 触媒コンバータの製造方法
JP2002364332A (ja) * 2001-06-05 2002-12-18 Nissan Motor Co Ltd 車両用排気消音器
JP2003166424A (ja) * 2001-11-29 2003-06-13 Calsonic Kansei Corp フィニッシャの製造方法
DE10205649C1 (de) * 2002-02-12 2003-06-26 Neef Gmbh & Co Kg Verfahren zum Herstellen einer auf das Ende eines Kraftfahrzeug-Auspuffrohres aufsetzbaren Blende und eine nach dem Verfahren hergestellte Blende

Also Published As

Publication number Publication date
JP2005069050A (ja) 2005-03-17

Similar Documents

Publication Publication Date Title
JP6893420B2 (ja) シャフトとヨークの組立体
WO2017126083A1 (ja) 消音器
JP2004278556A (ja) 二重管
JP4484471B2 (ja) 排気管用テールパイプ
US20160122099A1 (en) Hose clamp
CN215057659U (zh) 排气消声器和具有排气消声器的车辆
JP2004243925A (ja) 溶接部強度向上ホイール
JP2000356294A (ja) ベンド管の製造方法
JP2006247748A (ja) フランジを一体的に備えた管、特に車両及びボディ構造用の柔軟に圧延された材料から成る、フランジを一体的に備えた管
WO2021139490A1 (zh) 过滤消音器及空调设备
ZA200406340B (en) Method for producing a cover that can be placed on the end of a motor vehicle exhaust pipe, and a cover produced according to this method
US20060225264A1 (en) Tow hitch receiver
JP4503862B2 (ja) 端末排気管の加工法
JP2005325934A (ja) フレキシブルメタルホースの端末構造
CN221947432U (zh) 一种电磁开关插头及电磁开关
JP5534201B2 (ja) 配管部材
JPH10181630A (ja) 車両用パイプ構造
CN211308706U (zh) 转向管柱外管及连接结构
JP6167036B2 (ja) フィニッシャー
JP2005118794A (ja) パイプの接合構造およびその接合方法
JP2005172195A (ja) 二重管及びその製造方法
JP3046736U (ja) 通水路配管用の接続管
US20250012211A1 (en) Method of manufacturing exhaust pipe
JP2009001252A (ja) 車軸ケースの構造
JPS6329144Y2 (ja)

Legal Events

Date Code Title Description
A621 Written request for application examination

Free format text: JAPANESE INTERMEDIATE CODE: A621

Effective date: 20060807

A131 Notification of reasons for refusal

Free format text: JAPANESE INTERMEDIATE CODE: A131

Effective date: 20090609

A521 Request for written amendment filed

Free format text: JAPANESE INTERMEDIATE CODE: A523

Effective date: 20090731

A131 Notification of reasons for refusal

Free format text: JAPANESE INTERMEDIATE CODE: A131

Effective date: 20091110

A521 Request for written amendment filed

Free format text: JAPANESE INTERMEDIATE CODE: A523

Effective date: 20091219

TRDD Decision of grant or rejection written
A01 Written decision to grant a patent or to grant a registration (utility model)

Free format text: JAPANESE INTERMEDIATE CODE: A01

Effective date: 20100323

A01 Written decision to grant a patent or to grant a registration (utility model)

Free format text: JAPANESE INTERMEDIATE CODE: A01

A61 First payment of annual fees (during grant procedure)

Free format text: JAPANESE INTERMEDIATE CODE: A61

Effective date: 20100323

R150 Certificate of patent or registration of utility model

Ref document number: 4484471

Country of ref document: JP

Free format text: JAPANESE INTERMEDIATE CODE: R150

Free format text: JAPANESE INTERMEDIATE CODE: R150

FPAY Renewal fee payment (event date is renewal date of database)

Free format text: PAYMENT UNTIL: 20130402

Year of fee payment: 3

FPAY Renewal fee payment (event date is renewal date of database)

Free format text: PAYMENT UNTIL: 20160402

Year of fee payment: 6

R250 Receipt of annual fees

Free format text: JAPANESE INTERMEDIATE CODE: R250

R250 Receipt of annual fees

Free format text: JAPANESE INTERMEDIATE CODE: R250

R250 Receipt of annual fees

Free format text: JAPANESE INTERMEDIATE CODE: R250

R250 Receipt of annual fees

Free format text: JAPANESE INTERMEDIATE CODE: R250

R250 Receipt of annual fees

Free format text: JAPANESE INTERMEDIATE CODE: R250

R250 Receipt of annual fees

Free format text: JAPANESE INTERMEDIATE CODE: R250

R250 Receipt of annual fees

Free format text: JAPANESE INTERMEDIATE CODE: R250

EXPY Cancellation because of completion of term