JP4457512B2 - アンワインダ装置 - Google Patents

アンワインダ装置 Download PDF

Info

Publication number
JP4457512B2
JP4457512B2 JP2001076543A JP2001076543A JP4457512B2 JP 4457512 B2 JP4457512 B2 JP 4457512B2 JP 2001076543 A JP2001076543 A JP 2001076543A JP 2001076543 A JP2001076543 A JP 2001076543A JP 4457512 B2 JP4457512 B2 JP 4457512B2
Authority
JP
Japan
Prior art keywords
paper roll
paper
roll
new
support base
Prior art date
Legal status (The legal status is an assumption and is not a legal conclusion. Google has not performed a legal analysis and makes no representation as to the accuracy of the status listed.)
Expired - Fee Related
Application number
JP2001076543A
Other languages
English (en)
Other versions
JP2002274710A (ja
Inventor
正 神宮路
Current Assignee (The listed assignees may be inaccurate. Google has not performed a legal analysis and makes no representation or warranty as to the accuracy of the list.)
IHI Corp
Original Assignee
IHI Corp
Priority date (The priority date is an assumption and is not a legal conclusion. Google has not performed a legal analysis and makes no representation as to the accuracy of the date listed.)
Filing date
Publication date
Application filed by IHI Corp filed Critical IHI Corp
Priority to JP2001076543A priority Critical patent/JP4457512B2/ja
Publication of JP2002274710A publication Critical patent/JP2002274710A/ja
Application granted granted Critical
Publication of JP4457512B2 publication Critical patent/JP4457512B2/ja
Anticipated expiration legal-status Critical
Expired - Fee Related legal-status Critical Current

Links

Images

Landscapes

  • Replacement Of Web Rolls (AREA)

Description

【0001】
【発明の属する技術分野】
本発明は紙ロールを順次枠替えしてスーパーカレンダ等に紙を途切れることなく送給できるようにするアンワインダ装置に関するものである。
【0002】
【従来の技術】
製紙工場で用いる抄紙機の光沢機では、あまり強い光沢を与えようとすると、紙の実質を圧潰し、透明化する虞があるため、上記抄紙機にて製造されたままの原紙は、一般に紙面がなお粗雑で、使用目的に適さないことが多い。このため、紙の外観を改善すると共に、印刷適正を向上させるべく、更に仕上げ光沢を要するものが少なくない。このように、マシン仕上げよりもより一層高度な光沢仕上げを行う場合には、一般にスーパーカレンダが使用されている。又、該スーパーカレンダは、コーティングを施した紙の光沢仕上げを行うためにも使用されている。
【0003】
上記スーパーカレンダは、図10にその一例の概略を示す如く、チルドロール2と、弾性に富むコットンロール(又はペーパーロール)3とを交互に多段に積み重ねて備えたカレンダ部1に、アンワインダ装置4の紙ロール5より巻き出した紙6を導き、カレンダ部1の各チルドロール2とコットンロール3との間に通すことにより、表面に強い光沢を与え、該光沢処理された紙6を、ワインダ装置7に導いてスプール8に巻き取って光沢処理紙の紙ロール5を形成させるようにしてある。
【0004】
ところで、上記スーパーカレンダにおいては、アンワインダ装置4にて一つの紙ロール5の紙の巻き出しが終了して次の新たな紙ロール5に切り替える際、紙が途切れると、新たに巻き出しを行う紙ロール5の紙6をその都度手作業によりカレンダ部1に通さなければならず、連続運転ができなくなるため、従来、アンワインダ装置4としては、図11にその一例の概略を示す如く、一つの紙ロール5の巻き出しが終了間近になると、該旧紙ロール5から巻き出される紙の後端付近に、次の新たな紙ロール5の紙の先端部を貼り合わせて、紙ロール5の枠替えの際にも紙6を途切れることなく送出できるようにしたものが提案されている(特公平2−11493号)。
【0005】
上記公知のアンワインダ装置4は、スプール8の両端軸受部を支承して巻き出しを行うべき紙ロール5を所定位置にて回転自在に支持する左右一対の紙ロール支持台9の後方に、スプール8の両端軸受部を載置するための前後方向に延びる左右一対のレール11を、それぞれ前端が対応する側の紙ロール支持台9に接近し且つ該紙ロール支持台9側よりも搬入側となる後端部方向にわずかに下降傾斜するように配置して、それぞれ左右の支持フレーム12に支持させ、且つ上記左右のレール11の後端部に図示しないクレーン等により搬入された紙ロール5のスプール8の両端軸受部を、押し腕13により後方から押してレール11に沿って上記紙ロール支持台9へ移送できるようにした新紙ロール移送装置10を設ける。又、垂直に起立した左右の支柱15と、該各支柱15に上下方向にスライド可能に取り付け且つ図示しない昇降駆動装置により昇降駆動できるようにした左右の昇降フレーム16と、該昇降フレーム16に前後水平方向にスライド可能に取り付け且つ図示しない駆動装置によりロール支持台9側に出没できるようにした支持アーム17とを備えて、該各支持アーム17により、紙6の巻き出しを行って巻径の細くなった旧紙ロール5のスプール8の両端軸受部を下方より持ち上げて、該旧紙ロール5より巻き出されてガイドロール18に向けて走行する紙6が、支持台9へ移送された新規の紙ロール5の外周面に接触しない位置まで上方に移動させる旧紙ロール上方移動機構14、及び、該旧紙ロール上方移動機構14により上方移動させた旧紙ロール5とガイドロール18との間の紙6の反紙ロール支持台9側位置に、該紙ロール支持台9上の新紙ロール5の軸心の方向へ移動できるようにプレッシャーロール20を配置すると共に、図示しない移動装置により紙ロール支持台9上の新紙ロール5に近接、離反する方向に移動できるようにし、且つ、該プレッシャーロール20よりも紙走行方向の上流側位置に、図示しない移動装置により移動させて反紙ロール支持台9側から紙6を切断するカットナイフ21を設けた紙継ぎ機構19を装備してなる紙継ぎスタンド22を形成し、該紙継ぎスタンド22を、上記紙ロール支持台9の前方に設置した構成としてある。
【0006】
したがって、紙ロール支持台9上の旧紙ロール5の残量が少なくなって枠替えを実施する場合は、先ず、旧紙ロール5を、旧紙ロール上方移動機構14により上方移動させると共に、その回転速度を低下させて紙6の走行速度を低下させておき、次に、紙ロール支持台9上に、新紙ロール移送装置10により新紙ロール5を搬入し、且つ該新紙ロール5の紙の表面にある紙の端部、すなわち、巻き出されるときの紙の先端部の外周面部には、図示しない枠替用テープ(両面テープ)を貼り付けた状態としておき、次いで、プレッシャロール20により、旧紙ロール5とガイドロール18との間に位置する紙6の一部を新紙ロール5の外周面に押し付けて、該新紙ロール5の外周面に枠替用テープを介して紙6を接着した後、カットナイフ21により走行する紙6を切断して、走行中の紙6の後端部を、新紙ロール5の紙の先端部につなぐようにしている。
【0007】
なお、旧紙ロール5の上方移動機構14の支持アーム17は、旧紙ロール5のスプール8が図示しないクレーン等により搬出されると、昇降フレーム16に没入させた状態として下降させることにより、該各支持アーム17を紙ロール支持台9上の新紙ロール5のスプール8の下側に待機させておくようにしてある。又、紙の巻き出しが行われて該新紙ロール5の巻径が細くなったときには、該新紙ロール5を、旧紙ロールとして、旧紙ロール上方移動機構14により上方へ移動させ、別途大径に巻き取られた紙ロールを、新紙ロール5として新紙ロール移送装置10により紙ロール支持台9上に搬入し、上記と同様に枠替え操作を行うようにしてある。
【0008】
【発明が解決しようとする課題】
ところが、紙ロールには、抄紙機の形式や前段の処理等における紙の巻き取り方向の相違により、紙の巻き出し方向が異なるものが生じるが、上記従来のアンワインダ装置4では、旧紙ロール5を、紙ロール支持台9の前方に設置してある紙継ぎスタンド22の旧紙ロール上方移動機構14により上方に移動させ、この状態においてロール支持台9上の新紙ロール5の紙との紙継ぎ操作を行うようにしている構造上、図示の如く、紙の送出方向(前方)に対して紙ロールの上側から紙を巻き出すようにしてある上出し方向の紙ロール(図上、反時計方向に巻き出しを行う紙ロール)5を対象としてしか紙継ぎ操作を行えないという問題があり、上記紙ロール5とは逆方向に巻かれた下出し方向の紙ロールの場合には、手動で紙継ぎ操作を行わなければならず、その操作に人手を要するという問題がある。
【0009】
そこで、本発明は、紙ロールの巻き出し方向が上出し、下出しにかかわらず、旧紙ロールの紙の後端部に、新紙ロールの先端部の紙継ぎ操作を行うことができるようにするアンワインダ装置を提供しようとするものである。
【0010】
【課題を解決するための手段】
本発明は、上記課題を解決するために、新紙ロールのスプール両端軸受部を支持する紙ロール支持台を左右両側部に設置し、該左右の紙ロール支持台の前後両側部に、搬入された新紙ロールのスプール両端軸受部を受けて上記紙ロール支持台上に載置させるように移送する新紙ロール移送装置を設置し、且つ前後方向より見て門型のフレーム内の左右両側部に、先端部の前後両側に上記スプール両端軸受部と係合する凹部を有するアームの基端部を前後方向に回動可能に取り付けて、該左右のアームを同時に回動させる駆動機構をフレームに備えると共に、該左右のアームより内側位置に、上記アームで持ち上げられた旧紙ロールから巻出されて走行する紙を紙ロール支持台上の新紙ロールに押し付けるようにするプレッシャーロールと該紙を切断するカットナイフとをそれぞれ前後両側部に対称配置となるよう上記フレームに支持させてなる紙継ぎスタンドを構成し、該紙継ぎスタンドを、上記紙ロール支持台及び前後の新紙ロール移送装置を跨いで前後方向へ移動できるようにした構成とする。
【0011】
紙ロール支持台に対して、該紙ロール支持台上に支持された紙ロールの上部から紙が巻き出される方向側となるように紙継ぎスタンドを設置して、左右のアームを紙ロール支持台方向に回動させると、該紙ロール支持台上に支持されていた旧紙ロールは上方に移動させられ、この際、空いた紙ロール支持台上に、反紙継ぎスタンド側の新紙ロール移送装置により新規な紙ロールを搬入できるようになるため、新紙ロールを紙ロール支持台上に搬入した後、上記上方移動させられた旧紙ロールより巻き出される紙に面している側のプレッシャロールとカットナイフを作動させることにより、旧紙ロールから巻き出されて走行する紙の後端部に新紙ロールの先端部の紙継ぎが行われ、枠替えの際にも途切れることなく紙の巻き出しが行われる。したがって、使用する紙ロールの紙の巻き出し方向が異なる場合にも、該巻き出し方向に対応して紙継ぎスタンドの配置を、紙ロール支持台の前側又は後側に変えることにより、紙継ぎ操作を実施できるようになる。
【0012】
又、紙ロール支持台及び新紙ロール移送装置の設置位置よりも外側となる左右両側部の基礎に、前後方向へ平行に延びるガイド溝を設け、紙継ぎスタンドのフレーム下端に、上記ガイド溝内を前後方向へスライドできるガイドブロックを取り付け、該ガイドブロックを介して紙継ぎスタンドを移動させる駆動機構を、ガイド溝に備えた構成とすると、紙継ぎスタンドの前後方向の配置の変更を容易なものとすることができる。
【0013】
【発明の実施の形態】
以下、本発明の実施の形態を図面を参照して説明する。
【0014】
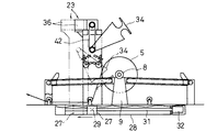
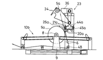
図1及び図2は本発明のアンワインダ装置の実施の一形態を示すもので、図11に示したアンワインダ装置4における新紙ロール移送装置10と同様な構成を有する新紙ロール移送装置10aを、巻き出しを行う紙ロールを所定位置に保持するための紙ロール支持台9の後側に設けるほかに、上記紙ロール支持台9の前側に、下出し方向の紙ロール5aを紙ロール支持台9に前方から搬入できるようにした前側新紙ロール移送装置10bを、上記後側の新紙ロール移送装置10aと対称的に設け、更に、紙ロールのスプール8の長さよりも広い間隔で左右に配した垂直部24aと該左右の各垂直部24aの頂部同士を連結する水平部24bとからなる門型のフレーム24に、紙ロール支持台9の前後いずれの方向からでも該紙ロール支持台9上にて巻径の細くなった旧紙ロール5,5aを上方に移動させることができるようにした旧紙ロール上方移動機構25を備え、且つ該旧紙ロール上方移動機構25により上方移動させた旧紙ロール5,5aから巻き出される紙6の一部を、紙ロール支持台9上に新たに搬入した新紙ロール5に押し付けるためのプレッシャーロール20a又は20bと、該プレッシャーロール20a又は20bの紙走行方向上流側位置で旧紙ロール5,5aの紙6を切断するカットナイフ21a又は21bとからなる2組の紙継ぎ機構26a,26bをフレーム24の前後両側にそれぞれ備えてなる紙継ぎスタンド23を、上記紙ロール支持台9を中心に前後方向に所要量スライド可能に設けて、上記紙ロール支持台9の前後いずれの方向からでも紙継ぎ操作を行えるようにする。
【0015】
詳述すると、上記門型のフレーム24は、左右の垂直部24aの下端面にガイドブロック27を下向きに取り付けて、該ガイドブロック27を、紙ロール支持台9及び前後の新紙ロール移送装置10a,10bを設置する基礎Gに前後方向に平行に延びるよう設けたガイド溝28に前後方向へスライド自在に係合させ、且つ該ガイドブロック28の中央部に前後方向に貫通させて設けたねじ孔29に螺合させて挿通させたねじ軸31を、上記ガイド溝28内の軸受30に回転自在に支持させ、更に、上記ねじ軸31の一端に、駆動装置32を連結して、該駆動装置32によりねじ軸31を回転させることにより、ガイドブロック27を介してフレーム24を前後方向に移動させることができるようにし、該駆動装置32の回転を制御することにより、フレーム24の前後方向の配置を制御できるようにしてある。
【0016】
上記旧紙ロール上方移動機構25は、フレーム24の左右の垂直部24aにおける上部の前後方向中間部位置に、同軸心配置とした左右の回転軸33を、フレーム24の内側へ所要寸法突出するようにそれぞれ貫通させて回転自在に支承させ、該各回転軸33の内方への突出端部に、所要長さのアーム34の基端部を一体的に取り付け、且つ該各アーム34の自由端側の先端部の前後両側に、紙ロール5のスプール8の端部軸受部を係合させて保持できるようにした凹部35をそれぞれ対称的に設け、更に、フレーム24の水平部24bの上側に設けた駆動装置36に接続してあるギアボックス37に、フレーム水平部24b上の左右両端部位置の軸受39に回転自在に支持させた動力伝達軸38の中間部を接続し、該動力伝達軸38の両端部に取り付けたスプロケット40と、フレーム24の内側に突出する上記各回転軸33の中間部に取り付けたスプロケット41に、チェーン42を無端状に掛け廻した構成として、駆動装置36の回転駆動力を、ギアボックス37、動力伝達軸38、スプロケット40,41及びチェーン42を介して各回転軸33に伝えることにより、左右のアーム34を同期して前後方向に振り上げるように移動させることができるようにしてある。
【0017】
上記紙継ぎ機構26a,26bは、フレーム水平部24bの下面における紙ロール5,5aの紙幅よりも外側で且つ左右のアーム34よりも内側となる所要位置に、垂直方向下向きのサブフレーム43を取り付け、且つ該サブフレーム43の下端は紙ロール支持台9上に支持した紙ロールのスプール8と干渉しない高さ位置となるようにし、該サブフレーム43の下端部内側の前後方向両端部位置に、紙幅方向の全長に亘って延びるプレッシャーロール20a,20bを配置して、両端部をレバーを介してそれぞれ前後方向に揺動可能に取り付け、前側プレッシャーロール20aは前方に、又、後側プレッシャーロール20bは後方に、それぞれシリンダ45a又は45bにより押し出し作動させることができるようにし、且つ上記前側プレッシャーロール20a上方のやや前側位置、及び、後側プレッシャーロール20b上方のやや後側位置に、紙幅方向の全長に亘るカットナイフ21a,21bをそれぞれ配置して、両端部をレバーを介してそれぞれサブフレーム43に前後方向に揺動可能に取り付け、前側カットナイフ21aは前方に、又、後側カットナイフ21bは後方に、それぞれシリンダ44a又は44bにより押し出し作動させることができるようにした構成としてある。
【0018】
46は前側新紙ロール移送装置10bの前端部位置付近に、又、47は紙ロール支持台9の前方所要位置に設置したガイドロールであり、いずれも、前側新紙ロール移送装置10bに搬入した紙ロールや紙ロール支持台9に支持させた紙ロールと干渉することのないように、紙6を基礎Gに近い低い位置にガイドできるようにしてある。又、48は紙ロール支持台9の後方所要位置に設置したガイドロールであり、該ガイドロール48に、紙ロール支持台9にて支持させた下出し方向の紙ロール5aから巻き出させた紙をガイドさせることにより、一旦後方に導いた後、折り返して前方に向かわせるようにしてある。その他、図11に示したものと同一のものには同一符号が付してある。
【0019】
次に、図3乃至図8を用いて上記本発明のアンワインダ装置により枠替え作業を行う場合の手順について説明する。
【0020】
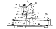
先ず、上出し方向の紙ロール(図上、反時計方向に紙を巻き出す紙ロール)を用いて紙の巻き出しを行わせる場合は、図3に示す如く、予め駆動装置32により紙継ぎスタンド23を紙ロール支持台9の前方の所要位置に配置させ、紙ロール支持台9に載置された上出し方向の紙ロール5から巻き出させた紙6を、ガイドロール47と46に順に下側から掛け廻して送り出すようにし、且つこの際、左右の各アーム34は、駆動装置36により紙ロール支持台9上の紙ロール5のスプール8よりも下方位置に、たとえば、図示の如く垂直方向下向きにして待機させておくようにする。又、後側の新紙ロール移送装置10aの後端部には、次に巻き出しを行うべき上出し方向の新紙ロール5を搬入し、該新紙ロール5の紙の先端部外周面には、図示しない枠替用テープを貼り付けた状態として待機させる。
【0021】
この状態において、紙ロール支持台9上の紙ロール5から紙6が巻き出されて巻径が細くなった場合には、図3に二点鎖線で示す如く、駆動装置36により左右のアーム34を後方に振り上げるように回動させ、該各アーム34の先端部後側の凹部35に、紙ロール支持台9に支持されている紙ロール5のスプール8の両端軸受部を係合させた後、更に各アーム34を回動させて、図4に示す如く、旧紙ロール5を紙ロール支持台9より上方に移動させる。次に、待機させてある新紙ロール5のスプール8の両端軸受部を、後側の新紙ロール移送装置10aにより前方に移送して該新紙ロール5を紙ロール支持台9上に支持させる。なお、この際、上方移動させた旧紙ロール5より巻き出されてガイドロール47に向かう紙6は、紙ロール支持台9上の新紙ロール5の外周面には接触しないようにし、又、その走行速度を落としておくようにする。
【0022】
次いで、シリンダ45bを作動させて、旧紙ロール5とガイドロール47との間に位置する紙6の一部を、図4に二点鎖線で示す如く、後側プレッシャーロール20bで後方に押して新紙ロール5の外周面に押し付けて、該走行する紙6を枠替用テープを介して新紙ロール5の紙の先端部に接着させ、同時にシリンダ44bを作動させて後側カットナイフ21bにより紙6を切断させることにより、旧紙ロール5から新紙ロール5への枠替えが行われる。
【0023】
その後、図5に示す如く図示しないクレーン等を用いてアーム34の先端部に残る旧紙ロール5を取り外して搬出し、しかる後、たとえば、図5に二点鎖線で示す如く、駆動装置32により紙継ぎスタンド23を前方に所要量移動させ、アーム34を下ろす際に該アーム34先端の軌跡と紙ロール支持台9上の紙ロール5のスプール8とが干渉しないようにし、この状態において駆動装置36によりチェーン42を介してアーム34を下方に回動させ、再び駆動装置32により紙継ぎスタンド23の前後方向位置を調整して、図3に実線で示した如き初期状態に戻すようにする。
【0024】
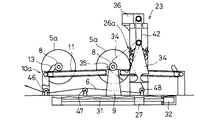
一方、紙の巻き出し方向が下出し方向(図上、時計方向)となる紙ロール5aを用いて紙6の巻き出し作業を行う場合は、先ず、図6に示す如く、予め駆動装置32により紙継ぎスタンド23を紙ロール支持台9の後方の所要位置に配置した状態とし、紙ロール支持台9に支持された下出し方向の紙ロール5aから巻き出させた紙6を、ガイドロール48、ガイドロール47、ガイドロール46の順に図示の如く掛け廻して送り出すようにする。又、左右の各アーム34は、駆動装置36により垂直方向下向きとして待機させておくようにする。更に、前側の新紙ロール移送装置10bの前端部に、次に巻き出しを行うべき下出し方向の新規な紙ロール5aを搬入し、該新紙ロール5aの紙の先端部外周面には、図示しない枠替用テープを貼り付けた状態で待機させる。
【0025】
この状態において、紙ロール支持台9に支持されている旧紙ロール5aから紙6が巻き出されて該旧紙ロール5aの巻径が細くなった場合には、図6に二点鎖線で示す如く、駆動装置36により左右のアーム34を、前方に振り上げるように回動させて、該各アーム34の先端部前側の凹部35に紙ロール支持台9上の紙ロール5aのスプール8の両端軸受部を係合させた後、更に各アーム34を前方に回動させて、図7に示す如く、旧紙ロール5aを紙ロール支持台9より上方に移動させる。次に、待機させてある新紙ロール5aのスプール8の両端軸受部を、前側新紙ロール移送装置10bにより後方に移送して該新紙ロール5aを紙ロール支持台9上に支持させる。なお、この際、上方移動させた旧紙ロール5aより巻き出されてガイドロール48に向かう紙6は、紙ロール支持台9上の新紙ロール5aの外周面には接触しないようにし、又、その走行速度を落としておくようにする。
【0026】
次いで、シリンダ45aを作動させて、旧紙ロール5aとガイドロール48との間に位置する紙6の一部を、図7に二点鎖線で示す如く、前側プレッシャーロール20aで前方に押して新紙ロール5aの外周面に押し付けて、該走行する紙6を枠替用テープを介して新紙ロール5aの紙の先端部に接着させ、同時に、シリンダ44aを作動させて前側カットナイフ21aにより紙6を切断させることにより、旧紙ロール5aから新紙ロール5aへの枠替えが行われる。
【0027】
その後、図8に示す如く図示しないクレーン等を用いてアーム34の先端部に残る旧紙ロール5aを取り外して搬出し、しかる後、たとえば、図8に二点鎖線で示す如く、駆動装置32により紙継ぎスタンド23を後方に所要量移動させ、アーム34を下ろす際にも該アーム34先端の軌跡と紙ロール支持台9上の紙ロール5aのスプール8とが干渉しないようにし、この状態において駆動装置36によりアーム34を下方に回動させ、しかる後、駆動装置32により紙継ぎスタンド23の前後方向位置を調整することにより、図6に実線で示した如き初期状態に戻すようにする。
【0028】
このように、本発明のアンワインダ装置によれば、上出し方向及び下出し方向のいずれの紙ロール5,5aを用いる場合にも、旧紙ロールから新紙ロールへの枠替えを行う際に紙を連続的に送出することができることから、下出し方向の紙ロール5aを用いる場合に従来要していた如き手作業による紙継ぎ作業を不要とすることができ、枠替え作業に要する労力を削減できて、作業員の数を減らすことが可能になる。
【0029】
次に、図9は本発明の実施の他の形態を示すもので、図1及び図2に示したものと同様の構成としてあるアンワインダ装置において、旧紙ロール上方移動機構25のアームを伸縮可能なアーム34Aとしたものである、すなわち、該アーム34Aは、角柱状の基端側部材50の先端側を、先端部に図1及び図2に示したアーム34と同様に紙ロール5のスリーブ8の両端軸受部を係合できるように凹部35を形成してなる先端側部材49の中心部に、スライド自在に挿入できるようにし、且つピニオン・ラック機構の如き伸縮駆動装置51により基端側部材50の外周面に沿って先端側部材49を変位させて、全長を伸縮できるようにしたものである。その他の構成は図1及び図2に示したものと同様であり、同一のものには同一符号が付してある。
【0030】
本実施の形態によれば、上出し方向及び下出し方向のいずれの紙ロール5及び5aを使用する場合にも、旧紙ロール5,5aから新紙ロール5,5aへの紙継ぎ操作を行った後、アーム34Aを下ろして初期状態に戻すときに、伸縮駆動装置51により全長を短くした状態でアーム34Aを下方に回動させるようにすることにより、紙継ぎスタンド23の位置を変えることなく、回動するアーム34Aの先端部の軌跡と、紙ロール支持台9上の紙ロール5,5aのスプール8との干渉を避けることができるようになる。
【0031】
なお、本発明は上記実施の形態のみに限定されるものではなく、たとえば、アーム34を介して旧紙ロール5,5aを上方へ移動させて旧紙ロール5,5aからの紙6を新紙ロール5,5aの紙6に貼り合わせた後、アーム34を降すときに、紙継ぎスタンド23を移動させるようにする場合を例示したが、アーム34自体を伸縮できるようにして紙継ぎスタンド23を移動させないようにしてもよいこと、旧紙ロール上方移動機構のアーム34と駆動装置36は、ギアを用いた動力伝達機構により接続するようにしてもよいこと、紙ロール支持台9上に、紙ロール5,5aのスプール8の両端軸受部の前後両側を支持するための出没自在なストッパーを設けたり、新紙ロール移送装置10a,10bの反紙ロール支持台9側端部に、搬入された新規な紙ロールの位置を保持するための出没自在なストッパーを設けるようにしてもよいこと、その他、本発明の要旨を逸脱しない範囲内において種々変更を加え得ることは勿論である。
【0032】
【発明の効果】
以上述べた如く、本発明のアンワインダ装置によれば、新紙ロールのスプール両端軸受部を支持する紙ロール支持台を左右両側部に設置し、該左右の紙ロール支持台の前後両側部に、搬入された新紙ロールのスプール両端軸受部を受けて上記紙ロール支持台上に載置させるように移送する新紙ロール移送装置を設置し、且つ前後方向より見て門型のフレーム内の左右両側部に、先端部の前後両側に上記スプール両端軸受部と係合する凹部を有するアームの基端部を前後方向に回動可能に取り付けて、該左右のアームを同時に回動させる駆動機構をフレームに備えると共に、該左右のアームより内側位置に、上記アームで持ち上げられた旧紙ロールから巻出されて走行する紙を紙ロール支持台上の新紙ロールに押し付けるようにするプレッシャーロールと該紙を切断するカットナイフとをそれぞれ前後両側部に対称配置となるよう上記フレームに支持させてなる紙継ぎスタンドを構成し、該紙継ぎスタンドを、上記紙ロール支持台及び前後の新紙ロール移送装置を跨いで前後方向へ移動できるようにした構成としてあるので、紙ロール支持台に対して、該紙ロール支持台上に支持された紙ロールの上部から紙が巻き出される方向となるように紙継ぎスタンドを設置して、旧紙ロール上方移動機構のアームを紙ロール支持台方向に回動させることにより、該紙ロール支持台上に支持されていた旧紙ロールを上方に移動させて、空いた紙ロール支持台上に、反紙継ぎスタンド側の新紙ロール移送装置により新規な紙ロールを搬入できるようになるため、新紙ロールを紙ロール支持台上に搬入し、上記上方移動させられた旧紙ロールより巻き出される紙に面している側のプレッシャロールとカットナイフを作動させることにより、旧紙ロールから巻き出されて走行する紙の後端部に新紙ロールの先端部の紙継ぎを行って、枠替えの際にも途切れることなく紙の巻き出しを行わせることができ、したがって、紙の巻き出し方向が異なる紙ロールを用いる場合にも、紙継ぎ操作を行うことができるようになるため、下出し方向の紙ロールを用いる場合に従来要していた如き手作業による紙継ぎ作業を不要とすることができて、枠替え作業に要する労力を削減できて、作業員の数を減らすことが可能になるという優れた効果を発揮し、又、紙ロール支持台及び新紙ロール移送装置の設置位置よりも外側となる左右両側部の基礎に、前後方向へ平行に延びるガイド溝を設け、紙継ぎスタンドのフレーム下端に、上記ガイド溝内を前後方向へスライドできるガイドブロックを取り付け、該ガイドブロックを介して紙継ぎスタンドを移動させる駆動機構を、ガイド溝に備えた構成とすると、紙継ぎスタンドの前後方向への配置の変更を容易なものとすることができるという効果を発揮する。
【図面の簡単な説明】
【図1】本発明のアンワインダ装置の実施の一形態を示す概略切断側面図である。
【図2】図1のA−A方向矢視図である。
【図3】図1に示した装置を用いて上出し方向の紙ロールの枠替え作業を行う手順を示すもので、初期状態として、ロール支持台上の紙ロールから紙を送出している状態を示す図である。
【図4】図1に示した装置を用いて上出し方向の紙ロールの枠替え作業を行う手順を示すもので、旧紙ロールを上方に移動させた状態を示す図である。
【図5】図1に示した装置を用いて上出し方向の紙ロールの枠替え作業を行う手順を示すもので、アームを下方に回動させて初期状態に戻す状態を示す図である。
【図6】図1に示した装置を用いて下出し方向の紙ロールの枠替え作業を行う手順を示すもので、初期状態として、ロール支持台上の紙ロールから紙を送出している状態を示す図である。
【図7】図1に示した装置を用いて下出し方向の紙ロールの枠替え作業を行う手順を示すもので、旧紙ロールを上方に移動させた状態を示す図である。
【図8】図1に示した装置を用いて下出し方向の紙ロールの枠替え作業を行う手順を示すもので、アームを下方に回動させて初期状態に戻す状態を示す図である。
【図9】本発明の実施の他の形態を示す概略切断側面図である。
【図10】スーパーカレンダの一例を示す概略図である。
【図11】従来提案されているアンワインダ装置の一例の概略を示す切断側面図である。
【符号の説明】
5,5a 紙ロール
6 紙
9 紙ロール支持台
10a,10b 新紙ロール移送装置
20a,20b プレッシャーロール
21a,21b カットナイフ
23 紙継ぎスタンド
24 フレーム
27 ガイドブロック
28 ガイド溝
29 ねじ孔(駆動機構)
31 ねじ軸(駆動機構)
32 駆動装置(駆動機構)
34 アーム
35 凹部
36 駆動装置(駆動機構)
37 ギアボックス(駆動機構)
38 動力伝達軸(駆動機構)
40 スプロケット(駆動機構)
41 スプロケット(駆動機構)
42 チェーン(駆動機構)
G 基礎

Claims (2)

  1. 新紙ロールのスプール両端軸受部を支持する紙ロール支持台を左右両側部に設置し、該左右の紙ロール支持台の前後両側部に、搬入された新紙ロールのスプール両端軸受部を受けて上記紙ロール支持台上に載置させるように移送する新紙ロール移送装置を設置し、且つ前後方向より見て門型のフレーム内の左右両側部に、先端部の前後両側に上記スプール両端軸受部と係合する凹部を有するアームの基端部を前後方向に回動可能に取り付けて、該左右のアームを同時に回動させる駆動機構をフレームに備えると共に、該左右のアームより内側位置に、上記アームで持ち上げられた旧紙ロールから巻出されて走行する紙を紙ロール支持台上の新紙ロールに押し付けるようにするプレッシャーロールと該紙を切断するカットナイフとをそれぞれ前後両側部に対称配置となるよう上記フレームに支持させてなる紙継ぎスタンドを構成し、該紙継ぎスタンドを、上記紙ロール支持台及び前後の新紙ロール移送装置を跨いで前後方向へ移動できるようにしたことを特徴とするアンワインダ装置。
  2. 紙ロール支持台及び新紙ロール移送装置の設置位置よりも外側となる左右両側部の基礎に、前後方向へ平行に延びるガイド溝を設け、紙継ぎスタンドのフレーム下端に、上記ガイド溝内を前後方向へスライドできるガイドブロックを取り付け、該ガイドブロックを介して紙継ぎスタンドを移動させる駆動機構を、ガイド溝に備えた請求項1記載のアンワインダ装置。
JP2001076543A 2001-03-16 2001-03-16 アンワインダ装置 Expired - Fee Related JP4457512B2 (ja)

Priority Applications (1)

Application Number Priority Date Filing Date Title
JP2001076543A JP4457512B2 (ja) 2001-03-16 2001-03-16 アンワインダ装置

Applications Claiming Priority (1)

Application Number Priority Date Filing Date Title
JP2001076543A JP4457512B2 (ja) 2001-03-16 2001-03-16 アンワインダ装置

Publications (2)

Publication Number Publication Date
JP2002274710A JP2002274710A (ja) 2002-09-25
JP4457512B2 true JP4457512B2 (ja) 2010-04-28

Family

ID=18933456

Family Applications (1)

Application Number Title Priority Date Filing Date
JP2001076543A Expired - Fee Related JP4457512B2 (ja) 2001-03-16 2001-03-16 アンワインダ装置

Country Status (1)

Country Link
JP (1) JP4457512B2 (ja)

Families Citing this family (2)

* Cited by examiner, † Cited by third party
Publication number Priority date Publication date Assignee Title
CN107720253A (zh) * 2017-11-13 2018-02-23 安徽科大智能物流系统有限公司 一种纸卷筒自动上料装置
CN114014061B (zh) * 2021-11-12 2025-07-04 威海光威精密机械有限公司 离型纸不停机切换收卷装置及收卷控制方法

Also Published As

Publication number Publication date
JP2002274710A (ja) 2002-09-25

Similar Documents

Publication Publication Date Title
CN102658987B (zh) 中心收卷机
EP0427408B1 (en) Continuous winder for web materials
US6820837B2 (en) Unwind system with flying-splice roll changing
US4875632A (en) Web dividing and rewinding machine and method for removing rewind rolls therefrom
IT8349382A1 (it) Avvolgitrice per l'avvolgimento di un nastro separato in senso longitudinale.
DE4108693C2 (de) Abwickelmaschine für aufgerolltes Bahnenmaterial
CN212173979U (zh) 双工位收卷系统
JPS6357460A (ja) 広幅のウエブを裂いて形成され夫々巻取られたストリツプからなる複数の供給ロ−ルを形成するための装置
CN209973905U (zh) 一种薄膜分切机
US5423496A (en) Device for connecting paper webs
US4988051A (en) Method of winding continuously supplied material on several cores and double backing-roller winder
DE3723600C2 (ja)
JPH0154256B2 (ja)
JP4457512B2 (ja) アンワインダ装置
US5354006A (en) Paper web supply assembly
CN207998342U (zh) 防断带自动接驳机
DE10139563B4 (de) Vorrichtung und Verfahren zur Vorbereitung einer Vorratspapierbahnrolle für den fliegenden Rollenwechsel
KR200158060Y1 (ko) 스트립 간지의 절단장치
JP3777724B2 (ja) シート分割巻取装置
KR20030020047A (ko) 롤연마기의 샌딩블록 우드 교환장치
JP3767488B2 (ja) シート巻取装置
JPH0211493B2 (ja)
JPH0748615Y2 (ja) テープの貼付装置
JP3592916B2 (ja) ウェブ巻取装置
CN217758085U (zh) 一种玻璃纤维织物分切装置

Legal Events

Date Code Title Description
A621 Written request for application examination

Free format text: JAPANESE INTERMEDIATE CODE: A621

Effective date: 20080129

A977 Report on retrieval

Free format text: JAPANESE INTERMEDIATE CODE: A971007

Effective date: 20100113

TRDD Decision of grant or rejection written
A01 Written decision to grant a patent or to grant a registration (utility model)

Free format text: JAPANESE INTERMEDIATE CODE: A01

Effective date: 20100119

A01 Written decision to grant a patent or to grant a registration (utility model)

Free format text: JAPANESE INTERMEDIATE CODE: A01

A61 First payment of annual fees (during grant procedure)

Free format text: JAPANESE INTERMEDIATE CODE: A61

Effective date: 20100201

FPAY Renewal fee payment (event date is renewal date of database)

Free format text: PAYMENT UNTIL: 20130219

Year of fee payment: 3

FPAY Renewal fee payment (event date is renewal date of database)

Free format text: PAYMENT UNTIL: 20130219

Year of fee payment: 3

LAPS Cancellation because of no payment of annual fees