JP4454911B2 - 液体吐出ヘッドならびにこれを用いた画像形成装置 - Google Patents

液体吐出ヘッドならびにこれを用いた画像形成装置 Download PDF

Info

Publication number
JP4454911B2
JP4454911B2 JP2002164645A JP2002164645A JP4454911B2 JP 4454911 B2 JP4454911 B2 JP 4454911B2 JP 2002164645 A JP2002164645 A JP 2002164645A JP 2002164645 A JP2002164645 A JP 2002164645A JP 4454911 B2 JP4454911 B2 JP 4454911B2
Authority
JP
Japan
Prior art keywords
liquid
discharge
ejection
ports
discharge port
Prior art date
Legal status (The legal status is an assumption and is not a legal conclusion. Google has not performed a legal analysis and makes no representation as to the accuracy of the status listed.)
Expired - Fee Related
Application number
JP2002164645A
Other languages
English (en)
Other versions
JP2003072078A (ja
Inventor
修一 村上
Current Assignee (The listed assignees may be inaccurate. Google has not performed a legal analysis and makes no representation or warranty as to the accuracy of the list.)
Canon Inc
Original Assignee
Canon Inc
Priority date (The priority date is an assumption and is not a legal conclusion. Google has not performed a legal analysis and makes no representation as to the accuracy of the date listed.)
Filing date
Publication date
Application filed by Canon Inc filed Critical Canon Inc
Priority to JP2002164645A priority Critical patent/JP4454911B2/ja
Publication of JP2003072078A publication Critical patent/JP2003072078A/ja
Application granted granted Critical
Publication of JP4454911B2 publication Critical patent/JP4454911B2/ja
Anticipated expiration legal-status Critical
Expired - Fee Related legal-status Critical Current

Links

Images

Landscapes

  • Particle Formation And Scattering Control In Inkjet Printers (AREA)

Description

【0001】
【発明の属する技術分野】
本発明は、液体を吐出するための吐出口を有する液体吐出ヘッドならびにこれを用いた画像形成装置に関する。
【0002】
なお、本明細書において「プリント」とは、文字や図形など有意の情報を形成する場合のみならず、有意無意を問わず、また人間が視覚で知覚し得るように顕在化したものであるか否かを問わず、広くプリント媒体上に画像,模様,パターンなどを形成したり、または媒体の加工を行う場合をも包含する。また、「プリント媒体」とは、一般的なプリント装置で用いられる紙のみならず、布,プラスチックフィルム,金属板,ガラス,セラミックス,木材,皮革などのインクを受容可能な物をも含むものである。さらに、「インク」(「液体」と記述する場合もある)とは、上記「プリント」の定義と同様に広く解釈されるべきであり、プリント媒体に付与されることによって、画像,模様,パターンなどの形成またはプリント媒体の加工あるいはインクの処理(例えばプリント媒体に付与されるインク中の色材の凝固や不溶化など)に供され得る液体を含み、従ってプリントに関して用いることが可能なあらゆる液体を包含している。
【0003】
【従来の技術】
近年、インターネットやデジタルカメラの普及などにより、高階調のカラー印刷に対する需要も高まってきており、これに伴ってインクジェットプリンタの高性能化も進められつつある。高精細かつ高階調の高品位プリント画像を得るため、
▲1▼ インクを吐出するための吐出口の配列間隔を狭め、解像度の向上を図る。
▲2▼ 特定の色インクに対し、これに含まれる色剤の割合、つまり色剤の濃度が異なる複数(最低2つ)の色インクをそれぞれ吐出する複数のプリントヘッドを用意し、必要に応じて濃インクと淡インクとを選択的に重ね打ちすることにより階調性の向上を図る。
▲3▼ 吐出口から吐出されるインク滴の大きさ、すなわちインク量を可変にすることにより階調性の向上を図る。
などの手法が知られている。
【0004】
プリントヘッドの吐出口からインクを吐出させるための吐出エネルギーとして熱エネルギーを用い、インク中に気泡を発生させてその際の発泡圧力を利用する、いわゆるバブルジェット(登録商標)方式のプリンタにおいては、上述した▲3▼の方法が比較的困難であるので、▲1▼や▲2▼の方法が特に有効であると考えられる。
【0005】
しかしながら、▲2▼の方法を実現しようとすると、特定の色インクに対して2つ以上のプリントヘッドが必要となり、コスト高になってしまう。従って、バブルジェット(登録商標)方式のプリンタにおいては、▲1▼のように吐出口の配列間隔を狭め、各吐出口から吐出される個々のインク滴の大きさを小さく(例えば10ピコリットル以下)して解像度の向上を図る手法が、製造コストの上昇をほとんど伴わないことから最も望ましい簡便な方法と言えよう。
【0006】
このような小さなインク滴を吐出口から吐出させる場合、インクの加熱に伴って膜沸騰により成長する気泡を吐出口を介して大気に連通させる方式のものが、例えば特開平4−10940号公報,特開平4−10941号公報,特開平4−10742号公報などで開示され、これらと膜沸騰により成長する気泡を大気に連通させずにインク滴を吐出する旧来のバブルジェット(登録商標)方式のものとを区別するため、これらはいわゆるバブルスルー方式と呼称される場合がある。
【0007】
膜沸騰により成長する気泡を大気に連通させずにインク滴を吐出する旧来のバブルジェット(登録商標)方式によるプリントヘッドにおいては、吐出口から吐出されるインク滴の大きさを小さくするに連れて吐出口に連通するインク流路の通路断面積を小さくしなければならず、吐出効率が低下して吐出口から吐出されるインク滴の吐出速度が低下してしまう不具合が生ずる。インク滴の吐出速度が低下すると、その吐出方向が不安定になる上、プリントヘッドの休止時に水分の蒸発に伴ってインクの増粘化が起こり、吐出状態がさらに不安定となって初期吐出不良などが発生し、信頼性の低下を来す可能性がある。
【0008】
この点、気泡が大気に連通するバブルスルー方式のプリントヘッドは、インク滴の大きさを吐出口の幾何学的形状のみで決定できるため、小インク滴を吐出するのに適しており、温度などの影響を受けにくく、インク滴の吐出量が旧来のバブルジェット(登録商標)方式のプリントヘッドと比較して非常に安定しているという利点があるため、高精細かつ高階調の高品位プリント画像を比較的容易に得ることが可能である。
【0009】
【発明が解決しようとする課題】
高精細かつ高階調の高品位プリント画像を得るには、1つの吐出口から極めて少量のインク滴を吐出させてプリントを行うことが好ましい。この場合、プリント速度の高速化のためには吐出口からインク滴を短周期で吐出させる必要がある。しかも、プリントヘッドを搭載するキャリッジをプリント媒体に対してプリントヘッドの駆動周波数に同期して高速で走査移動させなければならない。このような観点から、インクジェットプリンタにおいては特にバブルスルー方式のものが適していると言える。
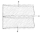
【0010】
このようなインクジェット方式のプリントヘッドをキャリッジと共にプリント媒体に沿って高速で走査移動させつつすべての吐出口からインク滴を連続的に吐出させ、いわゆるべたプリントをプリント媒体に対して行う場合、この時のインク滴の吐出状態を図1に示す。プリントヘッド1の走査移動方向は、この図1の紙面に対して垂直な方向であり、図示しない吐出口は図の左右方向に配列した状態となっている。画像データがべたの場合には、各吐出口に対応するすべての吐出エネルギー発生部(図示せず)が高い駆動周波数で駆動される。このため、吐出口からプリント媒体2に向けて吐出するインク滴3の運動に伴い、その周囲に介在する粘性を持った空気もインク滴3の運動に引きずられて移動する。この結果、プリントヘッド1の吐出口が開口する吐出口面4近傍がプリントヘッド1の周囲よりも減圧傾向となり、特に吐出口の配列方向両端側に位置する吐出口から吐出されるインク滴3がその配列方向中央側に引き寄せられ、プリント媒体2に対して所期の位置に吐出されなくなることが判明した。
【0011】
しかも、実際に使用した吐出口の総数と、これらの配列方向端部に位置する吐出口から吐出されたインク滴のプリント媒体に対する位置ずれの大きさとの関係を表す図1から明らかなように、インク滴3の吐出方向が上述した気流の影響によってずれる現象は、実際に使用される吐出口の総数にほぼ比例して顕著となる傾向を持つ。
【0012】
このような現象の下で、べたプリントを複数回のキャリッジの走査移動によって行った場合、この時のプリント媒体に形成されるべたプリントの画像を図1に模式的に示す。キャリッジはプリントヘッドと共に図中、上方から下方に走査移動するが、この際に前回の走査移動によって形成されたべた画像5と次の走査移動によって形成されたべた画像6との間に白筋7が形成されてしまうことが理解されよう。
【0013】
このような不具合は、吐出口の配列間隔を狭く設定し、1回の駆動操作によって10ピコリットル以下の少量のインク滴を高周期で吐出できるバブルスルー方式のインクジェットプリンタにおいて特に顕著に現れる。
【0014】
かかる不具合を防止するため、吐出口の配列方向両端側に位置する吐出口から吐出されるインク滴の大きさを大きくし、すなわちインク滴の慣性質量を増大させることによって、この配列方向両端側に位置する吐出口から吐出されるインク滴の吐出軌跡の偏倚を抑制することも可能である。
【0015】
しかしながら、インク滴を大きくすることは、高精細かつ高階調の画像を形成する上での障害になる。さらに、プリント媒体に対するインク滴の浸透が遅れる上、プリント媒体の膨潤に伴ってプリント画像の劣化を招来する可能性が高い。あるいは、吐出エネルギー発生部に対する駆動周波数を低く抑えることによって上述した不具合を緩和することも可能である。しかしながら、吐出エネルギー発生部に対する駆動周波数を低く設定した場合にはプリント速度が遅くなってしまい、高速でプリントアウトするというユーザのニーズに応えることができなくなってしまう。
【0016】
【発明の目的】
本発明の目的は、プリント媒体の搬送方向に対して交差する方向に走査しつつ高周期で液滴を吐出し得るインクジェットプリンタであっても、その配列方向両端側に位置する吐出口から吐出されるインク滴の偏倚を抑制し、べたプリントを形成した場合でも白筋が発生しないように配慮した液体吐出ヘッドならびにこの液体吐出ヘッドを用いる画像形成装置を提供することにある。
【0017】
【課題を解決するための手段】
本発明の第1の形態は、プリント媒体の搬送方向に沿って配列し、重力方向に液体を吐出する複数の吐出口と、これら吐出口にそれぞれ対向して配置され、当該吐出口から液体を吐出させるための複数の吐出エネルギー発生部とを有し、前記プリント媒体の搬送方向に対して交差する方向に前記プリント媒体に沿って走査移動する液体吐出ヘッドであって、前記複数の吐出口は、前記走査移動方向と平行な方向に交互にオフセット状態で配置された複数の吐出口群からなり、これら複数の吐出口群は、その配列方向両端部に位置し各々16個以下の前記吐出口で構成される端部吐出口群と、その配列方向中央側に位置する中央側吐出口群とを有し、前記端部吐出口群は、前記中央側吐出口群に対して前記走査移動方向側に突出してオフセット状態となっていることを特徴とするものである。
【0018】
本発明の第2の形態は、本発明の第1の形態による液体吐出ヘッドが搭載されてプリント媒体の搬送方向と交差する方向に走査移動可能なキャリッジを具え、前記液体吐出ヘッドの吐出口から吐出される液体によってプリント媒体に画像を形成することを特徴とする画像形成装置にある。
【0020】
【発明の実施の形態】
本発明の第1の形態による液体吐出ヘッドにおいて、端部吐出口群および中央側吐出口群のそれぞれにおいて、複数の吐出口が直線上に配列されていることが好ましい。
【0022】
端部吐出口群は、液体の吐出が行われないダミーの吐出口を含み、これらダミーの吐出口が端部吐出口群の配列方向外端側に位置しているものであってよい。この場合、本発明の効果を確実に得るため、複数の吐出口の総数が64個以上2048個以下の範囲にあり、端部吐出口群を構成する吐出口のうち、ダミーの吐出口を除いた総数が、2個以上16個以下の範囲にあることが好ましい。吐出口の総数が64個以上の場合、キャリッジの走査移動に伴う気流の影響がより大きく現れるため、本発明による効果を顕著に得ることができる。吐出口の総数が2048個以下の場合、液体吐出ヘッドの走査移動方向にオフセットされる端部吐出口の数が比較的少なくても本発明の効果を充分に得ることができる。
【0023】
液体吐出ヘッドが一端側が吐出口にそれぞれ連通する複数の液路と、これら液路の他端側が連通する1つの共通液室とをさらに有し、相互に隣接する液路を仕切る壁部材の液路に沿った長さが全ての吐出口群において等しく設定されていてもよい。
【0024】
複数の吐出口群を相互に平行に2組有し、一方の組の複数の吐出口群の相互に隣接する吐出口の間隔に対し、他方の組の複数の吐出口群がプリント媒体の搬送方向に沿って半ピッチだけずれているものであってよい。
【0025】
複数の吐出口の配列間隔が300dpi以上3600dpi以下の範囲にあることが好ましい。吐出口の配列間隔が300dpi以上の場合、キャリッジの走査移動に伴う気流の影響がより大きく現れるため、本発明による効果を顕著に得ることができる。吐出口の配列間隔が3600dpi以下の場合、キャリッジの走査移動に伴う気流の影響を相対的に受けにくくなり、液体吐出ヘッドの走査移動方向にオフセットされる端部吐出口の数が比較的少なくても本発明の効果を充分に得ることができる。
【0026】
個々の吐出口から1回に吐出される液体の量がそれぞれ0.2ピコリットル以上10ピコリットル以下の範囲にあることが好ましい。個々の吐出口から1回に吐出される液体の量が0.2ピコリットル以上の場合、キャリッジの走査移動に伴う気流の影響を相対的に受けにくくなり、中央側吐出口群に対して液体吐出ヘッドの走査移動方向突出してオフセット状態となっている端部吐出口の数が比較的少なくても本発明の効果を充分に得ることができる。個々の吐出口から1回に吐出される液体の量が10ピコリットル以下の場合、キャリッジの走査移動に伴う気流の影響がより大きく現れるため、本発明による効果を顕著に得ることができる。
【0027】
吐出エネルギー発生部が、液体に膜沸騰を生じさせて吐出口から液体を吐出させるための熱エネルギーを発生する電気熱変換体を有するものであってよい。
【0028】
本発明の第2の形態による画像形成装置において、液体吐出ヘッドが着脱手段を介してキャリッジに対して着脱自在に搭載されるものであってよい。
【0029】
キャリッジの走査移動速度が10cm/sec以上100cm/sec以下の範囲にあることが好ましい。キャリッジの走査移動速度が10cm/sec以上の場合、キャリッジの走査移動に伴う気流の影響がより大きく現れるため、本発明の効果を顕著に得ることができる。キャリッジの走査移動速度が100cm/sec以下の場合、キャリッジの走査移動に伴う気流の影響を相対的に受けにくくなり、中央側吐出口群に対して液体吐出ヘッドの走査移動方向突出してオフセット状態となっている端部吐出口群の数が比較的少なくても本発明の効果を充分に得ることができる。
【0030】
液体が、インクおよび/またはプリント媒体に対するインクのプリント性を調整するための処理液であってよい。
【0031】
【実施例】
本発明による画像形成装置をインクジェットプリンタに応用した実施例について、図1〜図を参照しながら詳細に説明するが、本発明はこのような実施例に限らず、これらをさらに組み合わせたり、この明細書の特許請求の範囲に記載された本発明の概念に包含されるべき他の技術にも応用することができる。
【0032】
本実施例におけるインクジェットプリンタの機構部分の外観を図1に示し、このインクジェットプリンタに用いられるヘッドカートリッジの外観を分解状態で図2に示し、そのプリントヘッドの外観を図3に示す。すなわち、本実施例におけるインクジェットプリンタのシャシー10は、所定の剛性を有する複数の板状金属部材により構成され、このインクジェットプリンタの骨格をなす。シャシー10には、図示しないシート状のプリント媒体をインクジェットプリンタの内部へと自動的に給送する媒体給送部11と、この媒体給送部11から1枚ずつ給送されるプリント媒体を所望のプリント位置へ導くと共にこのプリント位置から媒体排出部12へとプリント媒体を導く媒体搬送部13と、プリント位置に搬送されたプリント媒体に所定のプリント動作を行うプリント部と、このプリント部に対する回復処理を行うヘッド回復部14とが組み付けられている。
【0033】
プリント部は、キャリッジ軸15に沿って走査移動可能に支持されたキャリッジ16と、このキャリッジ16にヘッドセットレバー17を介して着脱可能に搭載されるヘッドカートリッジ18とを具えている。
【0034】
ヘッドカートリッジ18が搭載されるキャリッジ16には、このヘッドカートリッジ18のプリントヘッド19をキャリッジ16上の所定の装着位置に位置決めするためのキャリッジカバー20と、プリントヘッド19のタンクホルダ21と係合してプリントヘッド19を所定の装着位置に位置決めするように押圧する前述のヘッドセットレバー17とが設けられている。本発明の着脱手段としてのヘッドセットレバー17は、キャリッジ16の上部に図示しないヘッドセットレバー軸に対して回動可能に設けられている。キャリッジ16とプリントヘッド19との係合部には、ばね付勢される図示しないヘッドセットプレートが設けられ、このヘッドセットプレートのばね力によってプリントヘッド19が押圧された状態でキャリッジ16に装着されるようになっている。
【0035】
プリントヘッド19に対するキャリッジ16の別の係合部には、コンタクトフレキシブルプリントケーブル(以下、コンタクトFPCと称す)22の一端部が連結され、このコンタクトFPC22の一端部に形成された図示しないコンタクト部と、プリントヘッド19に設けられた外部信号入力端子であるコンタクト部23とが電気的に接触し、プリントのための各種情報の授受やプリントヘッド19への電力の供給などを行い得るようになっている。
【0036】
コンタクトFPC22のコンタクト部とキャリッジ16との間には、図示しないゴムなどの弾性部材が設けられ、この弾性部材の弾性力とヘッドセットプレートによる押圧力とによって、コンタクトFPC22のコンタクト部とプリントヘッド19のコンタクト部23との確実な接触を可能とするようになっている。コンタクトFPC22の他端部は、キャリッジ16の背面に搭載された図示しないキャリッジ基板に接続されている。
【0037】
本実施例におけるヘッドカートリッジ18は、インクを貯留するインクタンク24と、このインクタンク24から供給されるインクをプリント情報に応じてプリントヘッド19の吐出口25(図4参照)から吐出させる前述のプリントヘッド19とを有する。本実施例のプリントヘッド19は、キャリッジ16に対して着脱可能に搭載される、いわゆるカートリッジ方式を採用している。
【0038】
本実施例では写真調の高画質なカラープリントを可能とするため、例えば黒色,淡シアン色,淡マゼンタ色,シアン色,マゼンタ色および黄色の各色インクが独立した6個のインクタンク24を使用可能としている。各インクタンク24には、ヘッドカードリッジ18に対して係止し得る弾性変形可能な取り外し用レバー26が設けられている。この取り外し用レバー25を操作することにより、図3に示すように、個々のインクタンク24がプリントヘッド19に対してそれぞれ取り外し可能となっている。
【0039】
プリントヘッド19は、後述するプリント素子基板27,電気配線基板28,前述のタンクホルダ21などから構成されている。本実施例におけるプリントヘッド19のプリント素子基板27の破断構造を図4に示し、その吐出口の配列形態を図5に示し、そのVI−VI矢視断面構造を図6にそれぞれ示す。本実施例におけるプリント素子基板27は、厚さが0.5mm〜1mmのシリコン基板の上に成膜技術を用いて吐出エネルギー発生部,共通インク室32,インク路34,吐出口25などを形成したものである。すなわち、プリント素子基板27には、これを貫通する長孔状のインク供給口29が形成されている。このインク供給口29の両側には、プリント媒体の搬送方向、つまりインク供給口29の長手方向に沿って所定間隔で2列に並ぶ複数(本実施例では片側256個)の電気熱変換体30が相互に半ピッチずらした状態で形成され、それぞれ吐出エネルギー発生部を構成している。プリント素子基板27には、これら電気熱変換体30の他、電気熱変換体30とプリンタ本体側との電気的接続を行うための電極端子31およびアルミニウムなどで形成される図示しない電気配線などが成膜技術によって形成されている。
【0040】
プリント素子基板27に形成された電極端子31に対して連結される電気配線基板28は、プリント素子基板27にインクを吐出するための電気信号を印加するためのものであり、プリント素子基板27に対応する電気配線と、この電気配線端部に位置し、プリンタ本体からの電気信号を受け取るための前述のコンタクト部23とを有しており、このコンタクト部23はタンクホルダ21の背面側に位置決め固定されている。この電気配線基板28を介して図示しない駆動ICから電気熱変換体30に対する駆動信号が与えられ、同時に駆動電力がこの電気熱変換体30に供給される。
【0041】
なお、インクタンク24を着脱可能に保持するタンクホルダ21には、インクタンク24からプリント素子基板27のインク供給口29に亙るインク流路が形成されている。
【0042】
プリント素子基板27上には、インク供給口29に連通する共通インク室32を介して電気熱変換体30とそれぞれ正対する複数の吐出口25を有する上板部材33が形成される。すなわち、この上板部材33とプリント素子基板27との間には、個々の吐出口25と共通インク室32とに連通するインク路34が形成され、隣接するインク路34の間には仕切り壁35が形成される。これら共通インク室32,インク路34および仕切り壁35などは、吐出口25と同様にフォトリソグラフィ技術により上板部材33と共に形成される。
【0043】
インク供給口29から各インク路34内に供給される液体は、対応するインク路34に臨む電気熱変換体30に駆動信号が与えられることにより、電気熱変換体30の発熱に伴って沸騰し、これにより発生する気泡の圧力によって吐出口25から吐出される。この場合、吐出口25直下のインク路34内で発生する気泡は、その成長に伴って吐出口25から大気連通状態となる。
【0044】
各列の吐出口25、つまり電気熱変換体30は600dpi(42.3μm)間隔で配列し、一方の列は、他方の列に対して吐出口25の配列間隔の1/2だけずらして配置されている。従って、2列合わせた吐出口15の配列密度はほぼ1200dpiとなる。また、各列の配列方向両端から数えて8個目までの吐出口25および電気熱変換体30は、他の中央側に位置する吐出口25および電気熱変換体30に対してキャリッジ16の走査移動方向に沿って150μmだけオフセットして配置されている。本実施例では、中央側に位置する2つの吐出口列の間隔(図5中、左右の列の吐出口25の中心間距離)を215μmに設定しており、従って配列方向両端側に位置する2つの吐出口列の間隔は515μmとなる。このように、配列方向両端部の吐出口25および電気熱変換体30の位置をキャリッジ16の走査移動方向に沿ってずらしているため、インク供給口29からこれら吐出口25までの距離が長くなることによる悪影響を回避する必要がある。このため、これらの仕切り壁35の長さを短く、すなわち中央側に配列するインク路34の仕切り壁35の長さと同じ長さに設定することにより、インク供給口29から離れて配置された吐出口25に連通するインク路34へのインクのリフィルを円滑に行えるように配慮している。個々の電気熱変換体30に対する1動作の駆動パルスによって、密度が1.05のインクを4.5ピコリットルずつそれぞれの吐出口25から吐出することができる。
【0045】
このようなインクジェット方式のプリントヘッド19をキャリッジ16と共にプリント媒体に沿って高速で走査移動させつつすべての吐出口25からインク滴を連続的に吐出させ、いわゆるべたプリントをプリント媒体に対して行った場合、各列の吐出口25をそれぞれ一直線状に配列した従来のプリントヘッドでは、図1に示すような個々の白筋の幅が40μm程度にも達することが判明した。これに対し、本実施例では配列方向両端部にそれぞれ位置する合計32個の吐出口25の位置が中央側の吐出口25の配列間隔に対してキャリッジ16の走査移動方向に沿ってずれているため、これらの吐出口25から吐出されるインク滴が中央側に配列する吐出口25によって発生する減圧雰囲気による吐出口25の配列方向中央部に向かって発生する気流の影響を受けにくくなり、18μm程度まで緩和される結果、従来では1回のキャリッジ16の走査移動毎に発生していた白筋などの発生を未然に防止することができる。
【0046】
このようなべたプリントの実施に際し、プリント媒体とプリントヘッド19の吐出口25が開口する吐出口面36との間隔を1.5mmに設定した。また、電気熱変換体30に対する駆動周波数を10kHzに設定したので、キャリッジ16の走査方向に沿ったドット密度を1200dpiとするため、キャリッジ16の走査移動速度を211.7mm/sに設定した。この場合、単一の吐出口25からのインク滴の最短吐出間隔は約67μsとなる。
【0047】
上述した実施例では、配列方向両端から数えてそれぞれ8個目までの吐出口25および電気熱変換体30をこれらよりも中央側に位置する吐出口25および電気熱変換体30に対してキャリッジ16の走査移動方向に沿ってずらして配置したが、図7に示すように配列方向両端に位置する合計4組の吐出口25および電気熱変換体30のみ、中央側に配列する吐出口25に対してそれらの位置をキャリッジ16の走査移動方向に沿ってずらすことも可能である。
【0048】
さらに、本発明は画像を形成する際にインク滴が吐出されないダミーの吐出口を有するプリントヘッドにも利用することが可能であり、このような本発明の他の実施例の構造を図8に示すが、図7と同様に先の実施例と同一機能の要素にはこれと同一符号を記してある。図8に示した実施例では、配列方向両端から数えてそれぞれ2個目までがダミー吐出口37であり、これらダミー吐出口37および配列方向両端から数えて3個目の吐出口25をキャリッジ16の走査移動方向に沿ってずらして配置している。この場合、配列方向両端から数えられる吐出口25は、ダミー吐出口37を除いて実際に画像形成に使用される吐出口25とする必要があり、オフセット配置される吐出口25の合計を2〜32個の範囲で選択することが有効であり、これはプリント媒体とプリントヘッド19の吐出口面36との間隔,使用するインクの密度,吐出口25から吐出されるインク滴の体積,吐出口25の配列間隔などによって適宜選択することができる。
【0049】
これらの実施例では、1種類のインクに対して吐出口25を2列形成したが、1種類のインクに対して吐出口25を1列のみ形成したプリントヘッド19とすることも可能である。
【0050】
図7および図8に示した実施例は、1列当たり126個の吐出口25(図8の実施例ではダミー吐出口37を含む)を先の実施例と同様に600dpiの間隔で一方の列に対し他方の列を1/2ピッチずらして形成したプリントヘッドであり、配列方向端部に位置する吐出口25およびダミー吐出口37を中央側の吐出口25に対して100μmだけキャリッジ16の走査移動方向に沿ってオフセットしている。また、電気熱変換体30に対する駆動周波数を12.5kHzに設定したので、キャリッジ16の走査方向に沿ったドット密度を1200dpiとするため、キャリッジ16の走査移動速度を約265mm/sに設定した。この場合、単一の吐出口25からのインク滴の最短吐出間隔は約80μsとなる。
【0051】
これらの実施例においても、先の実施例と同様にべたプリントを行った場合の白筋の発生を防止することができる。なお、プリント作業を行う際のキャリッジ16の走査移動を往復で行わない場合、配列方向両端部に位置する吐出口25をキャリッジ16の走査移動方向側にずらす方が、これらの吐出口25から吐出されるインク滴のずれを少なくすることが可能である。
【0052】
このようなことから、片方向走査移動してプリント作業を行うキャリッジ16の場合には、図9に示すように、配列方向両端部に位置する吐出口25および電気熱変換体30を中央側に配列する吐出口25に対し、キャリッジ16の走査移動方向側(図では左側)にオフセットすることが有効である。これは、キャリッジ16の移動時に吐出口面36に発生する気流が、複数の液滴が吐出された時にその液滴列の後方に回り込むためであると考えられる。本実施例のプリントヘッド19は、図5に示した実施例と同様に、1列当たり256個の吐出口25を2列有するものであり、その配列方向両端から数えてそれぞれ8個目までの吐出口25および電気熱変換体30を中央側に配列する吐出口25に対して100μmずつキャリッジ16の走査移動方向にずらしている。
【0053】
このようなインクジェット方式のプリントヘッド19をキャリッジ16と共にプリント媒体に沿って高速で走査移動させつつすべての吐出口25からインク滴を連続的に吐出させ、いわゆるべたプリントをプリント媒体に対して行った場合、その配列方向両端から数えてそれぞれ8個目までの吐出口25および電気熱変換体30を中央側に配列する吐出口25に対して100μmずつキャリッジ16の走査移動方向と反対側にずらしたものでは、個々の白筋の幅が18μmとなるのに対し、本実施例ではこれが12μm程度まで緩和される結果、さらに良好な結果を得られることが理解できよう。
【0058】
なお、本発明は、液体の吐出を行わせるために利用されるエネルギーとして熱エネルギーを発生する手段(例えば、電気熱変換体やレーザ光など)を具え、この熱エネルギーにより液体の状態変化を生起させるインクジェット方式の液体吐出ヘッドや、ヘッドカートリッジ、あるいは画像形成装置において優れた効果をもたらすものである。かかる方式によれば、プリントの高密度化および高精細化が達成できるからである。
【0059】
その代表的な構成や原理については、例えば、米国特許第4723129号明細書や、同第4740796号明細書に開示されている基本的な原理を用いて行うものが好ましい。この方式は、いわゆるオンデマンド型およびコンティニュアス型の何れにも適用可能であるが、特に、オンデマンド型の場合には、液体が保持されているシートや流路に対応して配置される電気熱変換体に、プリント情報に対応した核沸騰を越える急速な温度上昇を与える少なくとも1つの駆動信号を印加することにより熱エネルギーを発生させ、液体吐出ヘッドの熱作用面に膜沸騰を生じさせ、結果的にこの駆動信号に一対一で対応した液体内の気泡を形成できるので有効である。この気泡の成長および収縮により、吐出口を介して液体を吐出させ、少なくとも1つの液滴を形成する。この駆動信号をパルス形状とすると、即時適切に気泡の成長収縮が行われるので、特に応答性に優れた液体の吐出が達成でき、より好ましい。このパルス形状の駆動信号としては、米国特許第4463359号明細書や、同第4345262号明細書に記載されているようなものが適している。なお、上記熱作用面の温度上昇率に関する発明の米国特許第4313124号明細書に記載されている条件を採用すると、さらに優れたプリントを行うことができる。
【0060】
また、液体吐出ヘッドの構成としては、上述の各明細書に開示されているような吐出口と液路と電気熱変換体との組合せ構成(電気熱変換体が液路に沿って配置された直線状液流路または電気熱変換体が液路を挟んで吐出口と正対する直角液流路)の他に、熱作用部が屈曲する領域に配置されている構成を開示する米国特許第4558333号明細書や、米国特許第4459600号明細書を用いた構成も本発明に含まれるものである。加えて、複数の電気熱変換体に対し、共通するスリットを電気熱変換体の吐出部とする構成を開示する特開昭59−123670号公報や、熱エネルギーの圧力波を吸収する開孔を吐出部に対応させる構成を開示した特開昭59−138461号公報に基いた構成としても、本発明の効果は有効である。すなわち、液体吐出ヘッドの形態がどのようなものであっても、本発明によればプリントを確実に効率良く行うことができるようになるからである。
【0061】
さらに、上述した実施例のようなシリアルタイプのものでも、走査移動するキャリッジに対して一体的に固定された液体吐出ヘッド、あるいはキャリッジに対して交換可能に装着されることでキャリッジとの電気的な接続や装置本体からの液体の供給が可能となる交換自在のチップインタイプの液体吐出ヘッド、あるいは液体吐出ヘッド自体に一体的に液体を貯えるタンクが設けられたヘッドカートリッジを用いた場合にも、本発明は有効である。
【0062】
本発明の画像形成装置の構成として、液体吐出ヘッドからの液体の吐出状態を適正にするための回復手段や、予備的な補助手段などを付加することは本発明の効果を一層安定できるので、好ましいものである。これらを具体的に挙げれば、液体吐出ヘッドに対するキャッピング手段や、クリーニング手段,加圧あるいは吸引手段,電気熱変換体やこれとは別の加熱素子あるいはこれらの組み合わせを用いて加熱を行う予備加熱手段、プリント作業とは別に吐出を行う予備吐出手段を挙げることができる。
【0063】
また、搭載される液体吐出ヘッドの種類や個数についても、例えば単色のインクに対応して1個のみが設けられたものの他、プリント色や濃度(明度)を異にする複数種のインクに対応して複数個設けられるものであってもよい。すなわち、例えば画像形成装置のプリントモードとしては黒色などの主流色のみのプリントモードだけではなく、液体吐出ヘッドを一体的に構成するか、複数個の組み合わせによるか何れでもよいが、異なる色の複色カラーまたは混色によるフルカラーの各プリントモードの少なくとも一つを備えた装置にも本発明は極めて有効である。この場合、プリント媒体の種類やプリントモードに応じてインクのプリント性を調整するための処理液(プリント性向上液)を専用あるいは共通の液体吐出ヘッドからプリント媒体に吐出することも有効である。
【0064】
さらに、以上説明した本発明の実施例においては、室温やそれ以下で固化し、室温で軟化もしくは液化するものを用いても良く、あるいはインクジェット方式では液体自体を30℃以上70℃以下の範囲内で温度調整を行って液体の粘性を安定吐出範囲にあるように温度制御するものが一般的であるから、使用プリント信号付与時に液状をなすものを用いてもよい。加えて、熱エネルギーによる昇温を、固形状態から液体状態への状態変化のエネルギーとして使用させることで積極的に防止するため、または液体の蒸発を防止するため、放置状態で固化し加熱によって液化するものを用いてもよい。何れにしても熱エネルギーのプリント信号に応じた付与によって液化し、液体が吐出されるものや、プリント媒体に到達する時点ではすでに固化し始めるものなどのような、熱エネルギーの付与によって初めて液化する性質のものを使用する場合も本発明は適用可能である。このような場合の液体は、特開昭54−56847号公報あるいは特開昭60−71260号公報に記載されるような、多孔質シート凹部または貫通孔に液状又は固形物として保持された状態で、電気熱変換体に対して対向するような形態としてもよい。本発明においては、上述した各液体に対して最も有効なものは、上述した膜沸騰方式を実行するものである。
【0065】
なお、本発明にかかる画像形成装置の形態としては、コンピュータなどの情報処理機器の画像出力端末として用いられるものの他、リーダなどと組合せた複写装置、さらには送受信機能を有するファクシミリ装置や捺染装置の形態を採るものなどであっても良く、プリント媒体としては、シート状あるいは長尺の紙や布帛、あるいは板状をなす木材や石材,樹脂,ガラス,金属などの他に、3次元立体構造物などを挙げることができる。
【0066】
【発明の効果】
本発明の液体吐出ヘッドによると、複数の吐出口を、走査移動方向と平行な方向に交互にオフセット状態で配置された複数の吐出口群で構成したので、個々の吐出口群にてそれぞれ気流が発生しても、これらの吐出口群における配列方向両端部に位置する吐出口から吐出される液体の位置ずれがほとんど発生せず、しかも中央側吐出口群に隣接する吐出口群が中央側吐出口群に対して液体吐出ヘッドの走査移動方向突出してオフセット状態となっているため、特に吐出口の配列方向両端部に位置する端部吐出口群から最終的にプリント媒体に到達する液滴の位置を所期の位置に修正することができ、べたプリントを行った場合でも白筋が発生しない高精細かつ高階調の高品位プリント画像を得ることができる。
【0067】
また、端部吐出口群のオフセット方向が、中央側吐出口群に対して走査移動方向側に突出してオフセット状態となっているので、吐出口の配列方向両端部に位置する端部吐出口群から最終的にプリント媒体に到達する液滴の位置をより確実に所期の位置へと修正することができる。
【0068】
端部吐出口群が、液体の吐出が行われないダミーの吐出口を含み、これらダミーの吐出口を端部吐出口群の配列方向外端側に位置させた場合には、液体の実際の吐出に与かる端部吐出口群を構成する吐出口に対する液体の補給を中央側吐出口群の吐出口と同様に円滑に補給することができる。特に、端部吐出口群を構成する吐出口の総数をダミーの吐出口を除いて2〜32の範囲にした場合には、本発明の効果を確実に得ることができる。
【0069】
一端側が吐出口にそれぞれ連通する複数の液路と、これら液路の他端側が連通する1つの共通液室とをさらに設け、相互に隣接する液路を仕切る壁部材の液路に沿った長さを全ての吐出口群において等しく設定した場合には、端部吐出口群を構成する吐出口に対する液体の補給を中央側吐出口群の吐出口と同様に円滑に補給することができる。
【0070】
複数の吐出口群を相互に平行に2組設け、一方の組の複数の吐出口群の相互に隣接する吐出口の間隔に対し、他方の組の複数の吐出口群をプリント媒体の搬送方向に沿って半ピッチだけずらした場合には、吐出口を高密度に配置した液体吐出ヘッドを得ることができる。
【0071】
複数の吐出口の総数が64から2048個の範囲にした場合には、液体吐出ヘッドの走査移動方向にオフセットされる端部吐出口の数が比較的少なくても本発明の効果を充分に得ることができ、プリント速度の低下を抑制することも可能である。
【0072】
複数の吐出口の配列間隔が300から3600dpiの範囲にある場合、液体吐出ヘッドの走査移動方向にオフセットされる端部吐出口の数が比較的少なくても本発明の効果を充分に得ることができ、プリント解像度の低下を抑制することも可能である。
【0073】
個々の吐出口から1回に吐出される液体の量がそれぞれ0.2から10ピコリットルの範囲にある場合、液体吐出ヘッドの走査移動方向にオフセットされる端部吐出口の数が比較的少なくても本発明の効果を充分に得ることができ、プリント解像度の低下を抑制することも可能である。
【0074】
本発明による画像形成装置において、キャリッジの走査移動速度が10から100cm/secの範囲にある場合、液体吐出ヘッドの走査移動方向にオフセットされる端部吐出口の数が比較的少なくても本発明の効果を充分に得ることができ、プリント速度の低下を抑制することも可能である。
【図面の簡単な説明】
【図1】本発明による画像形成装置をインクジェットプリンタに応用した一実施例の概略構造を表す斜視図である。
【図2】図1に示したインクジェットプリンタに搭載されるヘッドカートリッジの一例の外観を分解状態で表す斜視図である。
【図3】図2に示したヘッドカートリッジにおけるプリントヘッドの部分の斜視図である。
【図4】本発明による液体吐出ヘッドを図1に示すインクジェットプリンタに適用した一実施例の破断斜視図である。
【図5】図4に示すプリントヘッドの平面断面図である。
【図6】図5中のVI−VI矢視断面図である。
【図7】本発明による液体吐出ヘッドの他の実施例の平面断面図である。
【図8】本発明による液体吐出ヘッドの別な実施例の平面断面図である。
【図9】本発明による液体吐出ヘッドのさらに他の実施例の平面断面図である。
【図10】 従来のインクジェットプリンタによるインクの吐出状態を模式的に表す概念図である。
【図11】 インク滴の吐出に与かる吐出口の総数と、これらの配列方向両端部に位置する吐出口から吐出されたインク滴のプリント媒体に対する位置ずれの大きさとの関係を表すグラフである。
【図12】 図1に示されたインクの吐出形態によってプリント媒体に形成されるべた画像を模式的に表す概念図である。
【符号の説明】
10 シャシー
11 媒体給送部
12 媒体排出部
13 媒体搬送部
14 ヘッド回復部
15 キャリッジ軸
16 キャリッジ
17 ヘッドセットレバー
18 ヘッドカートリッジ
19 プリントヘッド
20 キャリッジカバー
21 タンクホルダ
22 コンタクトフレキシブルプリントケーブル(コンタクトFPC)
23 コンタクト部
24 インクタンク
25 吐出口
26 取り外し用レバー
27 プリント素子基板
28 電気配線基板
29 インク供給口
30 電気熱変換体
31 電極端子
32 共通インク室
33 上板部材
34 インク路
35 仕切り壁
36 吐出口面
37 ダミー吐出口

Claims (10)

  1. プリント媒体の搬送方向に沿って配列し、重力方向に液体を吐出する複数の吐出口と、これら吐出口にそれぞれ対向して配置され、当該吐出口から液体を吐出させるための複数の吐出エネルギー発生部とを有し、前記プリント媒体の搬送方向に対して交差する方向に前記プリント媒体に沿って走査移動する液体吐出ヘッドであって、
    前記複数の吐出口は、前記走査移動方向と平行な方向に交互にオフセット状態で配置された複数の吐出口群からなり、これら複数の吐出口群は、その配列方向両端部に位置し各々16個以下の前記吐出口で構成される端部吐出口群と、その配列方向中央側に位置する中央側吐出口群とを有し、
    前記端部吐出口群は、前記中央側吐出口群に対して前記走査移動方向側に突出してオフセット状態となっていることを特徴とする液体吐出ヘッド。
  2. 前記端部吐出口群および前記中央側吐出口群のそれぞれにおいて、複数の吐出口が直線上に配列されていることを特徴とする請求項1に記載の液体吐出ヘッド。
  3. 前記端部吐出口群は、液体の吐出が行われないダミーの吐出口を含み、これらダミーの吐出口は前記端部吐出口群の配列方向外端側に位置していることを特徴とする請求項1に記載の液体吐出ヘッド。
  4. 前記複数の吐出口の総数が64個以上2048個以下の範囲にあり、前記端部吐出口群を構成する吐出口のうち、前記ダミーの吐出口を除いた総数が、2個以上32個以下の範囲にあることを特徴とする請求項3に記載の液体吐出ヘッド。
  5. 一端側が前記吐出口にそれぞれ連通する複数の液路と、これら液路の他端側が連通する1つの共通液室とをさらに有し、相互に隣接する前記液路を仕切る壁部材の前記液路に沿った長さが全ての吐出口群において等しく設定されていることを特徴とする請求項1に記載の液体吐出ヘッド。
  6. 前記複数の吐出口群を相互に平行に2組有し、一方の組の複数の吐出口群の相互に隣接する吐出口の間隔に対し、他方の組の複数の吐出口群がプリント媒体の搬送方向に沿って半ピッチだけずれていることを特徴とする請求項1に記載の液体吐出ヘッド。
  7. 前記複数の吐出口の配列間隔が300dpi以上3600dpi以下の範囲にあることを特徴とする請求項1に記載の液体吐出ヘッド。
  8. 個々の前記吐出口から1回に吐出される液体の量がそれぞれ0.2ピコリットル以上10ピコリットル以下の範囲にあることを特徴とする請求項1に記載の液体吐出ヘッド。
  9. 請求項1に記載の液体吐出ヘッドが搭載されてプリント媒体の搬送方向と交差する方向に走査移動可能なキャリッジを具え、前記液体吐出ヘッドの吐出口から吐出される液体によってプリント媒体に画像を形成することを特徴とする画像形成装置。
  10. 前記キャリッジの走査移動速度が10cm/sec以上100cm/sec以下の範囲にあることを特徴とする請求項9に記載の画像形成装置。
JP2002164645A 2001-06-20 2002-06-05 液体吐出ヘッドならびにこれを用いた画像形成装置 Expired - Fee Related JP4454911B2 (ja)

Priority Applications (1)

Application Number Priority Date Filing Date Title
JP2002164645A JP4454911B2 (ja) 2001-06-20 2002-06-05 液体吐出ヘッドならびにこれを用いた画像形成装置

Applications Claiming Priority (3)

Application Number Priority Date Filing Date Title
JP2001187107 2001-06-20
JP2001-187107 2001-06-20
JP2002164645A JP4454911B2 (ja) 2001-06-20 2002-06-05 液体吐出ヘッドならびにこれを用いた画像形成装置

Publications (2)

Publication Number Publication Date
JP2003072078A JP2003072078A (ja) 2003-03-12
JP4454911B2 true JP4454911B2 (ja) 2010-04-21

Family

ID=26617294

Family Applications (1)

Application Number Title Priority Date Filing Date
JP2002164645A Expired - Fee Related JP4454911B2 (ja) 2001-06-20 2002-06-05 液体吐出ヘッドならびにこれを用いた画像形成装置

Country Status (1)

Country Link
JP (1) JP4454911B2 (ja)

Families Citing this family (3)

* Cited by examiner, † Cited by third party
Publication number Priority date Publication date Assignee Title
JP4144518B2 (ja) 2003-10-10 2008-09-03 ソニー株式会社 液体吐出装置
JP2007090520A (ja) * 2005-09-26 2007-04-12 Fuji Xerox Co Ltd 液滴吐出ヘッドおよび液滴吐出装置
JP7380036B2 (ja) * 2018-11-15 2023-11-15 株式会社リコー 液体吐出ヘッド、ヘッドモジュール、ヘッドユニット、液体吐出ユニット、液体を吐出する装置

Family Cites Families (3)

* Cited by examiner, † Cited by third party
Publication number Priority date Publication date Assignee Title
JPS6198551A (ja) * 1984-10-19 1986-05-16 Canon Inc インクジエツト記録ヘツドの製造方法
JP3184591B2 (ja) * 1992-02-26 2001-07-09 キヤノン株式会社 インクジェット記録装置およびインクジェット記録方法およびその記録物
JPH06255132A (ja) * 1993-03-03 1994-09-13 Canon Inc インクジェット記録装置

Also Published As

Publication number Publication date
JP2003072078A (ja) 2003-03-12

Similar Documents

Publication Publication Date Title
JP4236251B2 (ja) インクジェットヘッド
US8517509B2 (en) Liquid ejection head and image-forming apparatus using the same
CN101797841A (zh) 喷墨打印头
JP3894548B2 (ja) 液体吐出ヘッドならびに前記液体吐出ヘッドを用いたヘッドカートリッジおよび画像形成装置
US6280020B1 (en) Ink-jet head and ink-jet printing apparatus
US7959260B2 (en) Ink jet recording method
KR100527807B1 (ko) 잉크 제트 헤드 및 잉크 제트 프린터
JP2004001490A (ja) インクジェットヘッド
US6854820B2 (en) Method for ejecting liquid, liquid ejection head and image-forming apparatus using the same
JP3848203B2 (ja) 液体吐出ヘッドならびに前記液体吐出ヘッドを用いたヘッドカートリッジおよび画像形成装置
JP3826084B2 (ja) 液体吐出ヘッドならびにこれを用いた画像形成装置
JP4454911B2 (ja) 液体吐出ヘッドならびにこれを用いた画像形成装置
US6848769B2 (en) Liquid ejecting head having a plurality of groups of ejection openings, and image-forming device using the same
JP3907685B2 (ja) 画像形成装置
JP4046970B2 (ja) 液体吐出ヘッドならびにヘッドカートリッジおよび画像形成装置
US8177328B2 (en) Ink jet printing apparatus and ink jet printing method
JP2004306334A (ja) 液体吐出ヘッド
JP2003170595A (ja) 液体吐出方法ならびに液体吐出ヘッドおよびこれを用いた画像形成装置
JP4280502B2 (ja) 記録装置および記録方法
JP2002337318A (ja) 液体吐出ヘッドならびにこれを用いたヘッドカートリッジおよび画像形成装置
JP2003118122A (ja) 液体吐出方法および液体吐出ヘッドならびにこれを用いたヘッドカートリッジおよび画像形成装置
JP2006168142A (ja) インクジェット記録ヘッドならびに画像形成装置
JP3631001B2 (ja) インクジェットヘッドおよびインクジェットプリント装置
JP2006110750A (ja) インクジェット記録装置及びインクジェット記録方法
JP2008149612A (ja) インクジェット記録方法

Legal Events

Date Code Title Description
A621 Written request for application examination

Free format text: JAPANESE INTERMEDIATE CODE: A621

Effective date: 20050420

A977 Report on retrieval

Free format text: JAPANESE INTERMEDIATE CODE: A971007

Effective date: 20060706

A131 Notification of reasons for refusal

Free format text: JAPANESE INTERMEDIATE CODE: A131

Effective date: 20060718

A521 Written amendment

Free format text: JAPANESE INTERMEDIATE CODE: A523

Effective date: 20060919

A02 Decision of refusal

Free format text: JAPANESE INTERMEDIATE CODE: A02

Effective date: 20061208

RD13 Notification of appointment of power of sub attorney

Free format text: JAPANESE INTERMEDIATE CODE: A7433

Effective date: 20070110

A521 Written amendment

Free format text: JAPANESE INTERMEDIATE CODE: A821

Effective date: 20070110

A521 Written amendment

Free format text: JAPANESE INTERMEDIATE CODE: A523

Effective date: 20091208

A01 Written decision to grant a patent or to grant a registration (utility model)

Free format text: JAPANESE INTERMEDIATE CODE: A01

A61 First payment of annual fees (during grant procedure)

Free format text: JAPANESE INTERMEDIATE CODE: A61

Effective date: 20100203

FPAY Renewal fee payment (event date is renewal date of database)

Free format text: PAYMENT UNTIL: 20130212

Year of fee payment: 3

R150 Certificate of patent or registration of utility model

Free format text: JAPANESE INTERMEDIATE CODE: R150

FPAY Renewal fee payment (event date is renewal date of database)

Free format text: PAYMENT UNTIL: 20140212

Year of fee payment: 4

LAPS Cancellation because of no payment of annual fees