JP4414751B2 - 半導体装置 - Google Patents

半導体装置 Download PDF

Info

Publication number
JP4414751B2
JP4414751B2 JP2003434841A JP2003434841A JP4414751B2 JP 4414751 B2 JP4414751 B2 JP 4414751B2 JP 2003434841 A JP2003434841 A JP 2003434841A JP 2003434841 A JP2003434841 A JP 2003434841A JP 4414751 B2 JP4414751 B2 JP 4414751B2
Authority
JP
Japan
Prior art keywords
lead frame
semiconductor device
conductive wire
semiconductor element
pair
Prior art date
Legal status (The legal status is an assumption and is not a legal conclusion. Google has not performed a legal analysis and makes no representation as to the accuracy of the status listed.)
Expired - Fee Related
Application number
JP2003434841A
Other languages
English (en)
Other versions
JP2005197270A (ja
Inventor
洋規 山田
Current Assignee (The listed assignees may be inaccurate. Google has not performed a legal analysis and makes no representation or warranty as to the accuracy of the list.)
Panasonic Corp
Panasonic Holdings Corp
Original Assignee
Panasonic Corp
Matsushita Electric Industrial Co Ltd
Priority date (The priority date is an assumption and is not a legal conclusion. Google has not performed a legal analysis and makes no representation as to the accuracy of the date listed.)
Filing date
Publication date
Application filed by Panasonic Corp, Matsushita Electric Industrial Co Ltd filed Critical Panasonic Corp
Priority to JP2003434841A priority Critical patent/JP4414751B2/ja
Publication of JP2005197270A publication Critical patent/JP2005197270A/ja
Application granted granted Critical
Publication of JP4414751B2 publication Critical patent/JP4414751B2/ja
Anticipated expiration legal-status Critical
Expired - Fee Related legal-status Critical Current

Links

Images

Classifications

    • H10W72/536
    • H10W72/5363
    • H10W74/00
    • H10W90/756

Landscapes

  • Lead Frames For Integrated Circuits (AREA)

Description

本発明は、高周波領域での寄生成分と不要輻射を低減させた半導体装置に関する。
電子機器は、高密度実装、軽量小型化、薄型化が要求されてきた。また、従来の半導体装置においては、高周波領域での寄生成分(インダクタンスとキャパシタンス)を低減することが要求されてきた。しかし、リードフレームを短くすることができなかったため、半導体装置を実装する際の面積を縮小できなかった。また、導電性ワイヤを短縮することもできなかったため、寄生インダクタンスの発生による発振を招き、半導体装置の動作を不安定にさせる等の問題を有していた。
そこで、半導体素子を搭載するダイパッドおよびリードフレームの底面の、少なくとも一部をパッケージから露出する半導体装置が提案されてきた(例えば、特許文献1)。リードフレーム部分を屈曲させ、半導体素子との距離を近づけることができ、導電性ワイヤの長さを短くすることができる。そのため、寄生インダクタンスを低減することができるという効果があった。
しかしながら、上記方法では、ワイヤボンディング後の導電性ワイヤの張り高さ(導電性ワイヤのループ高さ)が高く、パッケージの小型化を阻害している課題があった。そこで、半導体素子を固定する半導体素子搭載部と、導電性ワイヤを導電性ワイヤ接続部とを、相互に斜めに対面したリードフレームを用いているものがあった(例えば、特許文献2)。
図5は、上記特許文献2に記載された従来の半導体装置を示すものである。
図5(a)は、従来の半導体装置の構成を示す平面図である。また、図5(b)は、図5(a)のB−B´線に沿った断面図である。
図5(b)において、半導体装置110は、外部との接続機能を有する箇所(101c、102c)を除き、封止体109に覆われている。リードフレーム101、102は、封止体109に内包されている範囲において、斜め上方に折り曲げられ、対向して形成されている。半導体素子103は、リードフレーム101の半導体素子搭載部104の上面(半導体素子搭載面105)に、導電性接着剤(図示せず)を用いて、接着される。導電性ワイヤ106は、一方の端をリードフレーム102の導電性ワイヤ接続部107の上面(導電性ワイヤ接続面108)に接続する。さらに、導電性ワイヤ106は、他方の端を半導体素子103の電極に接続し、導通接続を実現している。
上記従来の構成では、封止体109に内包されているリードフレーム101、102が途中で折り曲げられ、斜め上方に延在している。折り曲げられたリードフレーム101、102は、斜め上方に延在することで、引き回しの距離を短縮し、高周波領域での寄生成分(インダクタンスとキャパシタンス)を低減することができる。
特開平11−103003号公報 特開平08−31998号公報
しかしながら、上記従来の半導体装置では、リードフレーム101、102の対向する面同士が、対向する寄生容量端子として、機能する。そのため、高周波領域における寄生成分(インダクタンスとキャパシタンス)および不要輻射の増加を招いている。
本発明は、前記従来の課題を解決するもので、高周波領域での寄生成分(インダクタンスとキャパシタンス)と不要輻射を低減させた半導体装置を提供することを目的とする。
上記課題を解決するため、本発明にかかる半導体装置は、対向する一対のリードフレームと、前記一対のリードフレームを覆う封止体と、前記一対のリードフレームの一方に搭載される半導体素子と、前記一対のリードフレームの他方に接続され、前記半導体素子の電極に接続される導電性ワイヤとを備え、前記一対のリードフレームの他方の幅が、少なくとも前記導電性ワイヤが接続された部分において、前記リードフレームの幅方向における前記導電性ワイヤの断面の長さである前記導電性ワイヤの断面の幅と略同一であることを特徴とする。
本発明の半導体装置によれば、高周波領域での寄生成分(インダクタンスとキャパシタンス)および不要輻射を、格段に低減させた半導体装置を提供することができる。
本発明にかかる半導体装置は、一対のリードフレームの他方の幅が、少なくとも導電性ワイヤが接続された部分において、導電性ワイヤの断面の幅と略同一である。この構成により、リードフレームの面積を導電性ワイヤの接続断面積程度に抑えることができる。そのため、リードフレームの対向する面積をより小さくすることができ、寄生成分(インダクタンス、キャパシタンス)を低減することができる。
本発明にかかる半導体装置前記一対のリードフレームにおける少なくとも一方のリードフレームの封止体内方端の形状が、前記半導体素子主面に垂直な方向から見て、R形状またはテーパー形状である。従来技術におけるリードフレーム内方端の形状は、当該リードフレームに搭載された半導体素子主面に垂直な方向から見て、直線形状であった。これにより、本発明によるリードフレームの方が、対向する面積を従来技術と比較して、小さくすることができるため、不要輻射を低減することができる。ここで言う内方端とは、リードフレームの両端のうち、封止体に内包されている方の端部を示す。さらに、外方端とは、リードフレームの両端のうち、封止体に内包されていない方の端部を示し、外部回路接続端子の機能を有する。
本発明にかかる半導体装置は、前記一対のリードフレームの一方の幅が、少なくとも前記半導体素子が搭載された部分において、前記半導体素子の幅と略同一であることが好ましい。リードフレームの幅を、当該半導体素子を搭載できる最低限の幅を有する、リードフレームにすることができる。そのため、リードフレームの対向する面積をより小さくすることができ、寄生成分(インダクタンス、キャパシタンス)をより低減することができる。
本発明にかかる半導体装置によれば、前記一対のリードフレームの一方において前記半導体素子が搭載された部分と、前記一対のリードフレームの他方において前記導電性ワイヤが接続された部分との高さが異なることが好ましい。これにより、寄生成分キャパシタンスをより低減することができる。
本発明にかかる半導体装置によれば、前記一対のリードフレームのうち、少なくとも一方のリードフレームが、前記封止体内に、内方端幅あるいは外方端幅よりも幅の広い幅広部を有することが好ましい。これにより、幅広部が物理的効果(アンカー効果)が高まり、封止体とリードフレームとの接着強度を向上させることができる。
以下、本発明のさらに具体的な実施の形態について、図面を用いて説明する。
(実施の形態1)
本発明の一実施形態にかかる半導体装置について説明する。
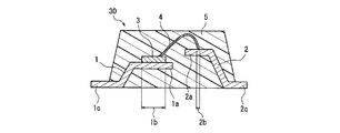
図1(a)は、本実施形態にかかる半導体装置の構成を示す平面図である。また、図1(b)は、図1(a)のA−A´線に沿った断面図である。図2(a)は、本実施形態にかかるリードフレームの形状を示す平面図である。図2(b)、(c)は、本実施形態にかかるリードフレームの形状の他の例を示す平面図である。
本実施形態にかかる半導体装置10は、対向するリードフレーム1、2を備え、封止体5に覆われている。リードフレーム1には、半導体素子3が搭載されている。さらに、半導体装置10は、半導体素子3の電極とリードフレーム2とを導通接続する導電性ワイヤ4を有している。
以下、本実施形態について、さらに具体的に説明する。
リードフレーム1、2は、例えばAuめっきを施したCu合金等を用いて形成する。しかし、本発明のリードフレームは、この一例に限定されるものではなく、金属薄板材等の導電性を有するものであればよい。
図1(a)に示すように、リードフレーム1は、内方端1a、半導体素子搭載部1b、外方端1c、幅広部1dを有している。内方端1aは、リードフレーム1の両端のうち、封止体5に内包されている方の端部を示す。半導体素子搭載部1bは、半導体素子3を搭載する箇所を示す。外方端1cは、リードフレーム1の両端のうち、封止体5に内包されていない方の端部を示す。さらに、外方端1cは、外部回路接続端子の機能も有する。幅広部1dは、内方端1aの幅および外方端1cの幅よりも幅の広い箇所を示す。
リードフレーム2は、内方端2a、導電性ワイヤ接続部2b、外方端2c、幅広部2dを有している。内方端2aは、リードフレーム2の両端のうち、封止体5に内包されている方の端部を示す。導電性ワイヤ接続部2bは、導電性ワイヤ4を接続する箇所を示す。外方端2cは、リードフレーム2の両端のうち、封止体5に内包されていない方の端部を示す。さらに、外方端2cは、外部回路接続端子の機能も有する。幅広部2dは、内方端2aの幅および外方端2cの幅よりも幅の広い箇所を示す。
さらに、図1(b)に示すように、リードフレーム1は、外部からの保護を考慮し、半導体素子搭載部1bと、外方端1cとの間に高低差を設けて、屈曲形成される。同様に、リードフレーム2も、導電性ワイヤ接続部2bと、外方端2cとの間に高低差を設けて、屈曲形成される。
また、図1(a)に示すように、内方端1a、2aは、それぞれ半導体素子3の主面に垂直な方向から見て、R形状になるように形成する。当該内方端1a、2aが有するR形状の曲率は小さいほどよく、曲率を10/mm〜15/mm程度に設計することが、さらに好ましい。
本実施形態にかかる、内方端の形状はR形状としたが、この一例に限定されない。半導体素子3の主面に垂直な方向から見て、内方端の形状が、直線状でなければよい。また、対向するリードフレームの対向する面積同士が小さいほど、一対のリードフレームの内方端の間の不要輻射を低減できるので好ましい。
ここで、図2を使用して、リードフレームの内方端の形状の他の例について説明する。図2(a)は、図1(a)に示したリードフレームと同形状のリードフレームである。
図2(a)に示すリードフレームの内方端は、一部直線状の部分を有している。リードフレームの内方端が、直線状である従来の技術と比較すると、図2(a)のリードフレームは、直線状の部分が減少するため、対向する面積も減少している。このため、不要輻射を低減できる。
また、図2(b)に示すように、リードフレームの内方端は、直線状の部分を持たない半円状であってもよい。この場合のリードフレームも、従来技術と比較すると、対向する面積を減少させることができる。内方端の曲線部の曲率半径をより小さくすることで、対向する面積をより小さくすることができる。
さらに、図2(c)に示すように、内方端は、テーパー形状でもよい。この場合のリードフレームも、従来技術と比較して、対向する面積を小さくすることができるため好ましい。テーパー形状の先端部の角度は、小さいほどよい。
なお、図1(a)では、内方端1a、2aの両方の形状をR形状とした例を示したが、一対のリードフレームのいずれか一方の内方端のみを、R形状またはテーパー形状としてもよい。例えば、一方の内方端の形状がR形状で、他方の内方端の形状は直線状であってもよい。また、両方の内方端が、同一の形状である必要は無く、互いに異なった形状であっても構わない。例えば、一方の内方端がR形状で、他方の内方端がテーパー形状等でもよい。
幅広部1d、2dは、図1(a)に示すように、封止体5内に形成される。リードフレーム1、2の幅方向における幅広部1d、2dの長さは、封止体5との接着強度を高める効果が得られる限りにおいて、任意の長さとすればよい。
また、リードフレーム1、2の長手方向における幅広部1d、2dの長さは、0.1mm〜0.2mm程度であることが好ましい。しかし、リードフレームの長手方向における幅広部の長さは、この一例に限定されるものではなく、封止体5との接着強度を高める範囲であれば構わない。さらに、リードフレームの長手方向における幅広部の長さは、一定でなくてもよい。また、幅広部の厚みは、均一でなくてもよい。例えば、幅広部1d、2dの厚みが、リードフレームの厚みより厚くてもよい。
本実施形態では、幅広部1dは、内方端1aおよび半導体素子搭載部1bと外方端1cとの間の段差部1e(図1(b)参照)に設けられているが、段差部1eよりも内方端1a側または外方端1c側であってもよい。また、幅広部2dは、内方端2aおよび導電性ワイヤ接続部2bと外方端2cとの間の段差部2e(図1(b)参照)に設けられているが、段差部2eよりも内方端2a側または外方端2c側であってもよい。
また、封止体5は、例えば熱硬化性樹脂等を材料として用いてモールド形成する。しかし、本発明の封止体の材料は、この一例に限定されるものではなく、光硬化性樹脂、熱可塑性樹脂等の絶縁性を有するものであればよい。
半導体素子3(例えばダイオード素子等)は、半導体搭載部1bの上面に、導電性接着剤(図示せず)を使用し接続される。しかし、本発明の半導体素子は、ダイオード素子に限定されるものではなく、任意の素子が用いられる。
導電性ワイヤ4は、例えば99.99%以上の高純度Au等で形成され、その一端が導電性ワイヤ接続部2bに接続される。さらに、導電接続を得るために、他端が半導体素子3の電極に接続される。
かかる構成によれば、内方端1a、2aの形状は、当該リードフレーム1に搭載された半導体素子3の主面に垂直な方向から見て、R形状またはテーパー形状である。従って、リードフレーム1、2の対向する面積を小さくすることができるため、不要輻射を低減することができる。
また、リードフレーム1、2に幅広部1d、2dを設けることにより、物理的効果(アンカー効果)を高めることができ、その結果、封止体5とリードフレーム1、2との接着強度が向上する。
さらに、導電性ワイヤ4の接続に、回転制御機構等の特殊な装置を用いる必要がないため、製造コストの上昇を防止することができる。これにより、ワイヤボンディング品質の安定した、低コストの半導体装置を提供することができる。
(実施の形態2)
本発明の第2の実施形態にかかる半導体装置について説明する。
図3は、本発明の実施の形態2における半導体装置の構成を示す平面図である。なお、本実施形態にかかる半導体装置の断面図は、本発明の実施の形態1と同様であるため、説明を省略する。実施の形態1で説明した構成と同一の構成については、同一の符号を付記し、その詳細な説明を省略する。
本実施形態にかかる半導体装置20は、対向するリードフレーム1、2を備え、封止体5に覆われている。リードフレーム1には、半導体素子3が搭載されている。さらに、半導体装置20は、半導体素子3の電極とリードフレーム2とを導通接続する導電性ワイヤ4を有している。
本実施形態の半導体装置20は、リードフレーム1の幅が、半導体素子搭載部1bにおいて、半導体素子3の幅と略同一に形成される点において、実施の形態1にかかる半導体装置10と異なっている。ここで、半導体素子3の幅というのは、リードフレーム1の幅方向における半導体素子3の長さのことである。さらに、本実施形態の半導体装置20は、リードフレーム2の幅が、導電性ワイヤ接続部2bにおいて、導電性ワイヤ4の断面の幅と略同一に形成されている点でも半導体装置10と異なっている。ここで、導電性ワイヤ4の断面の幅というのは、リードフレーム2の幅方向における導電性ワイヤ4の断面の長さである。
本実施形態にかかる、内方端の形状はR形状としたが、この一例に限定されない。半導体素子3の主面に垂直な方向から見て、内方端の形状が、直線状でなければよい。また、対向するリードフレームの対向する面積同士が小さいほど、一対のリードフレームの内方端の間の不要輻射を低減できるので好ましい。
ここで、図2を使用して、リードフレームの内方端の形状の他の例について説明する。図2(a)は、図1(a)に示したリードフレームと同形状のリードフレームである。
図2(a)に示すリードフレームの内方端は、一部直線状の部分を有している。リードフレームの内方端が、直線状である従来の技術と比較すると、図2(a)のリードフレームは、直線状の部分が減少するため、対向する面積も減少している。このため、不要輻射を低減できる。
また、図2(b)に示すように、リードフレームの内方端は、直線状の部分を持たない半円状であってもよい。この場合のリードフレームも、従来技術と比較すると、対向する面積を減少させることができる。内方端の曲線部の曲率半径をより小さくすることで、対向する面積をより小さくすることができる。
さらに、図2(c)に示すように、内方端は、テーパー形状でもよい。この場合のリードフレームも、従来技術と比較して、対向する面積を小さくすることができるため好ましい。テーパー形状の先端部の角度は、小さいほどよい。
なお、図1(a)では、内方端1a、2aの両方の形状をR形状とした例を示したが、一対のリードフレームのいずれか一方の内方端のみを、R形状またはテーパー形状としてもよい。例えば、一方の内方端の形状がR形状で、他方の内方端の形状は直線状であってもよい。また、両方の内方端が、同一の形状である必要は無く、互いに異なった形状であっても構わない。例えば、一方の内方端がR形状で、他方の内方端がテーパー形状等でもよい。
なお、本実施形態にかかるリードフレーム1の幅は、少なくとも半導体素子搭載部1bにおいて、半導体素子3の幅と略同一であればよい。また、リードフレーム2の幅は、少なくとも導電性ワイヤ接続部2bにおいて、導電性ワイヤ4の断面の長さと略同一であればよい。
かかる構成によれば、リードフレーム1、2での高周波領域での寄生成分(インダクタンスとキャパシタンス)および不要輻射を低減できる。
(実施の形態3)
本発明の第3の実施形態にかかる半導体装置について、以下に説明する。なお、本実施形態にかかる半導体装置は、平面図における構成が実施の形態1と同様であるため、図1(a)を用いて説明する。
図1(a)は、本実施形態にかかる半導体装置の構成を示す平面図である。また、図4は、図1(a)のA−A´線に沿った断面図である。各図面において、実施の形態1を同一の部材については、同一の部材番号を付し、詳細な説明を省略する。
本実施形態にかかる半導体装置30は、図4に示すように、リードフレーム1において半導体素子搭載部1bおよび内方端1aを含む部分よりも、リードフレーム2において導電性ワイヤ接続部2bおよび内方端2aを含む部分の高さが、高い位置に形成されている点において実施の形態1と異なっている。なお、図4に示した構成とは逆に、リードフレーム2において導電性ワイヤ接続部2bおよび内方端2aを含む部分の高さよりも、リードフレーム1において半導体素子搭載部1bおよび内方端1aを含む部分の高さが、高い位置に形成されていてもよい。かかる構成によれば、寄生キャパシタンスを低減することができる。
なお、上記では、平面形状が実施の形態1と同様である場合の構成を説明したが、平面形状が実施の形態2と同様であり、且つ断面形状が図4に示すとおりである半導体装置も、本発明の技術範囲に含まれる。
本発明にかかる半導体装置は、高周波領域での寄生成分(インダクタンスとキャパシタンス)および不要輻射を格段に低減させる効果を有し、半導体装置等に関して有用である。
(a)は、本発明の第1および第3の実施形態にかかる半導体装置の構成を示す平面図である。(b)は、本発明の第1の実施形態にかかる半導体装置の構成を示す断面図である。 (a)は、本発明の第1の実施形態にかかるリードフレームの形状を示す平面図である。(b)、(c)は、本発明の第1の実施形態にかかるリードフレームの形状の他の例を示す平面図である。 本発明の第2の実施形態にかかる半導体装置の構成を示す平面図である。 本発明の第3の実施形態にかかる半導体装置の構成を示す断面図である。 (a)は、従来の半導体装置の構成を示す平面図である。(b)は、従来の半導体装置の構成を示す断面図である。
符号の説明
1、2 リードフレーム
1a、2a 内方端
1b 半導体素子搭載部
2b 導電性ワイヤ接続部
1c、2c 外方端
1d、2d 幅広部
1e、2e 段差部
3 半導体素子
4 導電性ワイヤ
5 封止体
101、102 リードフレーム
101c、102c 外部回路接続端子
103 半導体素子
104 半導体素子搭載部
105 半導体素子搭載面
106 導電性ワイヤ
107 導電性ワイヤ接続部
108 導電性ワイヤ接続面
109 封止体
110 半導体装置

Claims (5)

  1. 対向する一対のリードフレームと、
    前記一対のリードフレームを覆う封止体と、
    前記一対のリードフレームの一方に搭載される半導体素子と、
    前記一対のリードフレームの他方に接続され、前記半導体素子の電極に接続される導電性ワイヤとを備え、
    前記一対のリードフレームの他方の幅が、少なくとも前記導電性ワイヤが接続された部分において、前記リードフレームの幅方向における前記導電性ワイヤの断面の長さである前記導電性ワイヤの断面の幅と略同一であることを特徴とする半導体装置。
  2. 前記一対のリードフレームにおける少なくとも一方のリードフレームの封止体内方端の形状が、前記半導体素子主面に垂直な方向から見て、R形状またはテーパー形状である請求項1に記載の半導体装置。
  3. 前記一対のリードフレームの一方の幅が、少なくとも前記半導体素子が搭載された部分において、前記半導体素子の幅と略同一である、請求項1または2に記載の半導体装置。
  4. 前記一対のリードフレームの一方において前記半導体素子が搭載された部分と、前記一対のリードフレームの他方において前記導電性ワイヤが接続された部分との高さが異なる、請求項1〜3のいずれかに記載の半導体装置。
  5. 前記一対のリードフレームのうち、少なくとも一方のリードフレームが、前記封止体内に、内方端幅および外方端幅よりも幅の広い幅広部を有する、請求項1〜4のいずれかに記載の半導体装置。
JP2003434841A 2003-12-26 2003-12-26 半導体装置 Expired - Fee Related JP4414751B2 (ja)

Priority Applications (1)

Application Number Priority Date Filing Date Title
JP2003434841A JP4414751B2 (ja) 2003-12-26 2003-12-26 半導体装置

Applications Claiming Priority (1)

Application Number Priority Date Filing Date Title
JP2003434841A JP4414751B2 (ja) 2003-12-26 2003-12-26 半導体装置

Publications (2)

Publication Number Publication Date
JP2005197270A JP2005197270A (ja) 2005-07-21
JP4414751B2 true JP4414751B2 (ja) 2010-02-10

Family

ID=34815149

Family Applications (1)

Application Number Title Priority Date Filing Date
JP2003434841A Expired - Fee Related JP4414751B2 (ja) 2003-12-26 2003-12-26 半導体装置

Country Status (1)

Country Link
JP (1) JP4414751B2 (ja)

Also Published As

Publication number Publication date
JP2005197270A (ja) 2005-07-21

Similar Documents

Publication Publication Date Title
US6700189B2 (en) Resin sealed semiconductor device
US8637976B2 (en) Semiconductor device with lead terminals having portions thereof extending obliquely
US20010033008A1 (en) Lead frame for fabricating surface mount type semiconductor devices with high reliability
US8952518B2 (en) Semiconductor device housing package, and semiconductor apparatus and electronic apparatus including the same
US11742279B2 (en) Semiconductor device
US5661628A (en) Fused surface mounting type solid electrolytic capacitor
KR102145167B1 (ko) 반도체 장치
US6717260B2 (en) Clip-type lead frame for source mounted die
KR100612165B1 (ko) 전원 회로 장치
JP4414751B2 (ja) 半導体装置
JP4737664B2 (ja) 面実装型固体電解コンデンサとその製造方法
JP2007294884A (ja) 半導体装置
CN112640099B (zh) 功率半导体装置
JP4067472B2 (ja) 電子部品用パッケージ
EP1519643A2 (en) Integrated circuit socket contact
JP7650147B2 (ja) 半導体装置及び接続部材
JP4849802B2 (ja) 半導体装置
JP2003017628A (ja) 樹脂封止型半導体装置
WO2023100754A1 (ja) 半導体装置
JP4759314B2 (ja) 固体撮像装置の製造方法および固体撮像装置
KR100253298B1 (ko) 솔더조인트신뢰성이개선된반도체패키지및그를이용한디바이스
JP2025149011A (ja) 半導体装置
JP2023183440A (ja) 磁気センサ装置
JP2005032753A (ja) チップ部品
CN120998906A (zh) 半导体装置

Legal Events

Date Code Title Description
A621 Written request for application examination

Free format text: JAPANESE INTERMEDIATE CODE: A621

Effective date: 20060116

A977 Report on retrieval

Free format text: JAPANESE INTERMEDIATE CODE: A971007

Effective date: 20080725

A131 Notification of reasons for refusal

Free format text: JAPANESE INTERMEDIATE CODE: A131

Effective date: 20080729

A521 Request for written amendment filed

Free format text: JAPANESE INTERMEDIATE CODE: A523

Effective date: 20080924

A131 Notification of reasons for refusal

Free format text: JAPANESE INTERMEDIATE CODE: A131

Effective date: 20090709

A521 Request for written amendment filed

Free format text: JAPANESE INTERMEDIATE CODE: A523

Effective date: 20090831

TRDD Decision of grant or rejection written
A01 Written decision to grant a patent or to grant a registration (utility model)

Free format text: JAPANESE INTERMEDIATE CODE: A01

Effective date: 20091029

A01 Written decision to grant a patent or to grant a registration (utility model)

Free format text: JAPANESE INTERMEDIATE CODE: A01

A61 First payment of annual fees (during grant procedure)

Free format text: JAPANESE INTERMEDIATE CODE: A61

Effective date: 20091120

FPAY Renewal fee payment (event date is renewal date of database)

Free format text: PAYMENT UNTIL: 20121127

Year of fee payment: 3

R150 Certificate of patent or registration of utility model

Free format text: JAPANESE INTERMEDIATE CODE: R150

LAPS Cancellation because of no payment of annual fees