JP4398581B2 - 使い捨ておむつ - Google Patents
使い捨ておむつ Download PDFInfo
- Publication number
- JP4398581B2 JP4398581B2 JP2000347086A JP2000347086A JP4398581B2 JP 4398581 B2 JP4398581 B2 JP 4398581B2 JP 2000347086 A JP2000347086 A JP 2000347086A JP 2000347086 A JP2000347086 A JP 2000347086A JP 4398581 B2 JP4398581 B2 JP 4398581B2
- Authority
- JP
- Japan
- Prior art keywords
- surface side
- side sheet
- sheet
- diaper
- absorbent body
- Prior art date
- Legal status (The legal status is an assumption and is not a legal conclusion. Google has not performed a legal analysis and makes no representation as to the accuracy of the status listed.)
- Expired - Lifetime
Links
- 230000002745 absorbent Effects 0.000 claims description 40
- 239000002250 absorbent Substances 0.000 claims description 40
- 239000006096 absorbing agent Substances 0.000 claims description 13
- 239000000463 material Substances 0.000 claims description 13
- 230000000630 rising effect Effects 0.000 claims description 12
- 210000002700 urine Anatomy 0.000 description 10
- 230000008602 contraction Effects 0.000 description 6
- 229920003002 synthetic resin Polymers 0.000 description 6
- 239000000057 synthetic resin Substances 0.000 description 6
- 239000000835 fiber Substances 0.000 description 5
- XLYOFNOQVPJJNP-UHFFFAOYSA-N water Substances O XLYOFNOQVPJJNP-UHFFFAOYSA-N 0.000 description 5
- 239000005871 repellent Substances 0.000 description 4
- 238000010521 absorption reaction Methods 0.000 description 3
- 239000007788 liquid Substances 0.000 description 3
- 239000004745 nonwoven fabric Substances 0.000 description 3
- 244000043261 Hevea brasiliensis Species 0.000 description 2
- 210000001015 abdomen Anatomy 0.000 description 2
- 229920003052 natural elastomer Polymers 0.000 description 2
- 229920001194 natural rubber Polymers 0.000 description 2
- 239000002245 particle Substances 0.000 description 2
- 230000002940 repellent Effects 0.000 description 2
- 229920003051 synthetic elastomer Polymers 0.000 description 2
- 239000005061 synthetic rubber Substances 0.000 description 2
- 239000000853 adhesive Substances 0.000 description 1
- 230000001070 adhesive effect Effects 0.000 description 1
- 230000000694 effects Effects 0.000 description 1
- 238000010030 laminating Methods 0.000 description 1
- 229920000642 polymer Polymers 0.000 description 1
- 229920005989 resin Polymers 0.000 description 1
- 239000011347 resin Substances 0.000 description 1
Images
Landscapes
- Orthopedics, Nursing, And Contraception (AREA)
- Absorbent Articles And Supports Therefor (AREA)
Description
【発明の属する技術分野】
本発明は、フイット性に優れた吸収体を有する使い捨ておむつに関する。
【0002】
【従来の技術】
従来、外面側シートと肌面側シートとの間に吸収体が接合された使い捨ておむつが提案されている。
【0003】
そして、上記吸収体をおむつ横幅方向に複数に分割し、その分割した側面に高吸水性ポリマー粒子を主体とする粒子層がのぞくようにして、吸水能力を有効利用するようにしたものが提案されている(第1従来技術…特開平11−216161号公報参照)。
【0004】
また、分割した吸収体が立体的に湾曲するように、吸収体と交差する弾性部材を設けたものも提案されている(第2従来技術…特表平5−50553号公報参照)。
【0005】
【発明が解決しようとする課題】
しかしながら、第1従来技術では、吸収体を複数に分割しただけであって、分割した吸収体が着用者の股間部分にフイットさせるための工夫がないために、尿等の横漏れを有効に防止できなく、また、第2従来技術では、弾性部材で吸収体が立体的に湾曲して尿等の横漏れを阻止できるというものの、着用者の股間部分に対する吸収体のフイット性が必ずしも良くはないために、尿等の横漏れを有効に防止できないという問題があった。
【0006】
本発明は、上記問題を解決するためになされたもので、吸収体のフイット性を高めて尿等の横漏れを有効に防止できる使い捨ておむつを提供することを目的とするものである。
【0007】
【課題を解決するための手段】
上記課題を解決するために、本発明は、外面側シートと肌面側シートとの間に吸収体が接合された使い捨ておむつであって、
上記吸収体は、少なくとも股下部分がおむつ横幅方向に複数に分割され、この分割された吸収体片の間の隙間に弾性糸がおむつ長さ方向に配置され、この弾性糸は、上記外面側シートと肌面側シートとの間に接合されていることを特徴とする使い捨ておむつを提供するものである。
【0008】
本発明によれば、外面側シートと肌面側シートとの間に接合した吸収体をおむつ横幅方向に複数に分割して、この分割した吸収体片の間の隙間におむつ長さ方向に配置した弾性糸を外面側シートと肌面側シートとの間に接合することにより、隙間のある吸収体片が着用者の股間部分にフイットしやすくなるとともに、この吸収体片が弾性糸の収縮力により着用者の股間部分にフイットするようになる。
【0009】
請求項2のように、上記肌面側シートは、外面側シートよりも狭い横幅に形成されるとともに、上記吸収体の両側方には、立体ギャザーを形成する立ち上がり帯材が配置され、この各立ち上がり帯材の基端部は、上記肌面側シートと外面側シートとに跨って接合されている構成とするのが好ましい。
【0010】
【発明の実施の形態】
以下、本発明の実施の形態を図面を参照して詳細に説明する。
【0011】
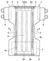
図1は使い捨ておむつの展開状態の正面図、図2は使い捨ておむつの使用状態の正面図、図3は図1のA−A線に相当する略画的断面図、図4は使い捨ておむつ1の分解斜視図である。
【0012】
図1及び図4に示すように、使い捨ておむつ1は、基本的には、外面側シート2と吸収体3と肌面側シート4と左右一対の立ち上がり帯材5とで基本構成されている。
【0013】
上記外面側シート2は、使い捨ておむつ1の外形状に形成されていて、撥水性の合成樹脂繊維製不織布又は不透液性の合成樹脂製フィルム並びにこれらの併用体で成形され、前腹部Pと後背部Qとの間の股部Rの両側にはレッグ開口部Sが形成されている。
【0014】
この外面側シート2の前腹部Pにはフロンタルテープ7が取付けられると共に、後背部Qの両側には、図2に示すように、使用時にフロンタルテープ7に貼付けて、使い捨ておむつ1を立体的に組み立てるためのファスニングテープ8がそれぞれ取付けられている。なお、フロンタルテープ7とファスニングテープ8は、着脱可能な機械式ファスナーであっても良い。
【0015】
上記吸収体3は、天然パルプ繊維、合成樹脂繊維や高吸水性樹脂材料などを混合又は積層したものが扁平に成形されて、外周が薄葉紙で包み込まれている。
【0016】
この吸収体3は、おむつ長さ方向に延在するとともに、おむつ幅方向に複数個(本例では3個)に分割されていて、この分割された吸収体片3aは、一定の隙間Wを隔てて横並びさせた状態で外面側シート2の上面に接着されている。
【0017】
上記吸収体3は、おむつ横幅方向に完全に分割されている必要は必ずしもなく、図4に一部を図示するように、おむつ長さ方向の前端部3bと後端部(不図示)とがつながっていて、股下部分のみがおむつ横幅方向に分割されていても良い。この場合、前・後端部のつながり部分Tは100mm以下が好ましく、100mmを越えると、吸収体用弾性糸9aの収縮力により湾曲状に曲げられにくくなる。
【0018】
上記各吸収体片3aの間の隙間Wには、おむつ長さ方向に吸収体用弾性糸9aがそれぞれ配置され、各吸収体用弾性糸9aは、外面側シート2の上面に接着されている。
【0019】
上記吸収体3の全横幅は30〜80mm程度が好ましく、30mm未満では吸収量が少なく、80mmを越えると吸収体用弾性糸9aの収縮力により湾曲状に曲げられにくくなる。
【0020】
上記隙間Wは、5〜20mm程度が好ましい。5mm未満では外面側シート2と肌面側シート4とに吸収体用弾性糸9aを接着するのが困難であり、20mmを越えると吸収体用弾性糸9aの収縮力により湾曲状に曲げられにくくなる。
【0021】
また、外面側シート2の前腹部Pと後背部Qの上面には、おむつ横幅方向のウェスト用弾性糸9bが添設されている。なお、必要によりボディフイット用弾性糸やレッグギャザー用弾性糸を添設しても良い。この弾性糸9bは、帯状や糸状の天然ゴム又は合成ゴムで成形されている。
【0022】
上記肌面側シート4は、外面側シート2とほぼ同じ長さで、外面側シート2よりも狭い横幅に形成され、親水性の合成樹脂繊維製不織布又は透液性の合成樹脂製フィルムで成形されていて、この肌面側シート4は、吸収体3の上面を覆った状態で、吸収体3と外面側シート2とに接着されている。また、肌面側シート4は、図3に示すように、上記各吸収体片3aの間では各隙間Wに入り込ませて上記各吸収体用弾性糸9aにも接着する。
【0023】
上記左右一対の立ち上がり帯材5は、撥水性の合成樹脂繊維製不織布で成形され、外面側シート2とほぼ同じ長さであり、側面視で略Z字状に折り曲げられて、外向きの基端部5aが肌面側シート4と外面側シート2の上面に跨って接着されているとともに、上端部5bが吸収体3の上面両側を覆って、この上端部5bには、全長に亘って立ち上がり用弾性糸9c(図3参照)が伸長状態で接着されている。この弾性糸9cは、帯状や糸状の天然ゴム又は合成ゴムで成形されて、弾性糸9cの収縮力で立体ギャザーが自然に形成されるようになる。
【0024】
上記のように構成した使い捨ておむつ1においては、外面側シート2と肌面側シート4との間に接着した吸収体3をおむつ横幅方向に複数に分割して、この分割した吸収体片3aの間の隙間Wにおむつ長さ方向に配置した吸収体用弾性糸9aを外面側シート2と肌面側シート4との間に接着することにより、隙間Wのある各吸収体片3aが着用者の股間部分にフイットしやすくなる。
【0025】
また、各吸収体片3aは、吸収体用弾性糸9aの収縮力により湾曲状に曲げられて着用者の股間部分にフイットするので、フイット性が高まって尿等の横漏れを有効に防止できるようになる。
【0026】
さらに、吸収体3を吸収体片3aに分割するとともに吸収体用弾性糸9aを接着するだけであるから、コスト安に製造することができる。
【0027】
さらにまた、立ち上がり帯材5の基端部5aを肌面側シート4と外面側シート2とに跨って接着しているから、立ち上がり帯材5により、尿等の横漏れをより有効に防止できるとともに、撥水性の立ち上がり帯材5と撥水性(又は不透液性)の外面側シート2との間で挟まれた親水性の肌面側シート4の側縁部4aから尿等が滲み出なくなって、肌面側シート4の側縁部4aからの横漏れも防止できる。
【0028】
【発明の効果】
以上の説明からも明らかなように、本発明は、外面側シートと肌面側シートとの間に接合した吸収体をおむつ横幅方向に複数に分割して、この分割した吸収体片の間の隙間におむつ長さ方向に配置した弾性糸を外面側シートと肌面側シートとの間に接合することにより、隙間のある吸収体片が着用者の股間部分にフイットしやすくなるとともに、この吸収体片が弾性糸の収縮力により着用者の股間部分にフイットして、フイット性が高まって尿等の横漏れを有効に防止できるようになる。
【0029】
また、請求項2のように、立ち上がり帯材の基端部を肌面側シートと外面側シートとに跨って接合すれば、立ち上がり帯材により、尿等の横漏れをより有効に防止できるとともに、外面側シートが撥水性(又は不透液性)、立ち上がり帯材が撥水性、肌面側シートが親水性である場合、立ち上がり帯材と外面側シートとの間で挟まれた肌面側シートの側縁部から尿等が滲み出なくなって、肌面側シートの側縁部からの横漏れも防止できる。
【図面の簡単な説明】
【図1】 使い捨ておむつの展開状態の正面図である。
【図2】 使い捨ておむつの使用状態の正面図である。
【図3】 図1のA−A線に相当する略画的断面図である。
【図4】 使い捨ておむつの分解斜視図である。
【符号の説明】
1 使い捨ておむつ
2 外面側シート
3 吸収体
3a 吸収体片
4 肌面側シート
5 立ち上がり帯材
5a 基端部
9a 吸収体用弾性糸
9c 立ち上がり用弾性糸
W 隙間
Claims (1)
- 外面側シートと肌面側シートとの間に吸収体が接合された使い捨ておむつであって、
上記吸収体は、全横幅が30〜80mmであり、少なくとも股下部分がおむつ横幅方向に3個に分割され、
この分割された吸収体片の間の隙間に弾性糸がおむつ長さ方向にそれぞれ配置され、
この弾性糸は、上記外面側シートと肌面側シートとの間に接合され、
上記肌面側シートは、外面側シートよりも狭い横幅に形成されるとともに、
上記吸収体の両側方には、立体ギャザーを形成する立ち上がり帯材が配置され、
この各立ち上がり帯材の基端部は、上記肌面側シートと外面側シートとに跨って接合されていることを特徴とする使い捨ておむつ。
Priority Applications (1)
| Application Number | Priority Date | Filing Date | Title |
|---|---|---|---|
| JP2000347086A JP4398581B2 (ja) | 2000-11-14 | 2000-11-14 | 使い捨ておむつ |
Applications Claiming Priority (1)
| Application Number | Priority Date | Filing Date | Title |
|---|---|---|---|
| JP2000347086A JP4398581B2 (ja) | 2000-11-14 | 2000-11-14 | 使い捨ておむつ |
Publications (2)
| Publication Number | Publication Date |
|---|---|
| JP2002143215A JP2002143215A (ja) | 2002-05-21 |
| JP4398581B2 true JP4398581B2 (ja) | 2010-01-13 |
Family
ID=18820870
Family Applications (1)
| Application Number | Title | Priority Date | Filing Date |
|---|---|---|---|
| JP2000347086A Expired - Lifetime JP4398581B2 (ja) | 2000-11-14 | 2000-11-14 | 使い捨ておむつ |
Country Status (1)
| Country | Link |
|---|---|
| JP (1) | JP4398581B2 (ja) |
Families Citing this family (9)
| Publication number | Priority date | Publication date | Assignee | Title |
|---|---|---|---|---|
| JP4181397B2 (ja) * | 2002-12-13 | 2008-11-12 | 白十字株式会社 | 使い捨て吸収性物品 |
| JP4416431B2 (ja) | 2003-05-09 | 2010-02-17 | 株式会社リブドゥコーポレーション | 使い捨て吸収性物品 |
| JP4883924B2 (ja) * | 2004-04-28 | 2012-02-22 | 花王株式会社 | 使い捨ておむつ |
| JP4159539B2 (ja) * | 2004-11-22 | 2008-10-01 | 花王株式会社 | 使い捨ておむつ |
| JP4741454B2 (ja) * | 2006-12-08 | 2011-08-03 | 花王株式会社 | 使い捨ておむつ |
| JP5070015B2 (ja) * | 2007-11-22 | 2012-11-07 | 花王株式会社 | 吸収性物品の包装体 |
| JP5676901B2 (ja) * | 2010-03-31 | 2015-02-25 | ユニ・チャーム株式会社 | 使い捨てのパンツ型着用物品 |
| JP7334523B2 (ja) * | 2019-07-29 | 2023-08-29 | 王子ホールディングス株式会社 | 吸収性物品 |
| JP7578394B2 (ja) * | 2019-09-27 | 2024-11-06 | 大王製紙株式会社 | 吸収性物品 |
-
2000
- 2000-11-14 JP JP2000347086A patent/JP4398581B2/ja not_active Expired - Lifetime
Also Published As
| Publication number | Publication date |
|---|---|
| JP2002143215A (ja) | 2002-05-21 |
Similar Documents
| Publication | Publication Date | Title |
|---|---|---|
| US10092460B2 (en) | Absorbent article | |
| KR100593270B1 (ko) | 일회용 기저귀 | |
| US4662877A (en) | Shaped disposal diaper | |
| KR940001370B1 (ko) | 통기성 정강이 커프를 가진 일회용 기저귀 | |
| CN101155569B (zh) | 一次性内裤型尿布 | |
| KR100968899B1 (ko) | 일회용 흡수성 물품 | |
| JP4511250B2 (ja) | 使い捨ておむつ | |
| JP3754528B2 (ja) | 体液処理用吸収性物品 | |
| JP2007202575A (ja) | 吸収用積層体および使い捨て吸収性物品 | |
| JP2004350864A (ja) | 使い捨て着用物品 | |
| MX2012011578A (es) | Producto absorbente. | |
| JP4167156B2 (ja) | 吸収性物品及び吸収性物品の製造方法 | |
| JPWO2003103555A1 (ja) | 吸収性物品 | |
| CN101584627A (zh) | 吸收性物品 | |
| JP2007202576A (ja) | 吸収用積層体および使い捨て吸収性物品 | |
| JP4398581B2 (ja) | 使い捨ておむつ | |
| JP4023005B2 (ja) | 吸収性物品 | |
| JP2001212176A (ja) | 使い捨ておむつ | |
| JP4233002B2 (ja) | パンツ型使い捨ておむつ | |
| JP4527305B2 (ja) | 使い捨ておむつカバー | |
| JP5515536B2 (ja) | 吸収性物品 | |
| JPH0559602A (ja) | 使い捨てトレニングパンツ | |
| JP4418549B2 (ja) | 尿取りパッド | |
| JP4163327B2 (ja) | 使い捨ておむつ | |
| JP7169222B2 (ja) | 吸収性物品 |
Legal Events
| Date | Code | Title | Description |
|---|---|---|---|
| A521 | Written amendment |
Free format text: JAPANESE INTERMEDIATE CODE: A523 Effective date: 20040720 |
|
| A621 | Written request for application examination |
Free format text: JAPANESE INTERMEDIATE CODE: A621 Effective date: 20071001 |
|
| A977 | Report on retrieval |
Free format text: JAPANESE INTERMEDIATE CODE: A971007 Effective date: 20080414 |
|
| A131 | Notification of reasons for refusal |
Free format text: JAPANESE INTERMEDIATE CODE: A131 Effective date: 20080422 |
|
| A521 | Written amendment |
Free format text: JAPANESE INTERMEDIATE CODE: A523 Effective date: 20080611 |
|
| A02 | Decision of refusal |
Free format text: JAPANESE INTERMEDIATE CODE: A02 Effective date: 20090106 |
|
| A521 | Written amendment |
Free format text: JAPANESE INTERMEDIATE CODE: A523 Effective date: 20090306 |
|
| A911 | Transfer to examiner for re-examination before appeal (zenchi) |
Free format text: JAPANESE INTERMEDIATE CODE: A911 Effective date: 20090420 |
|
| A131 | Notification of reasons for refusal |
Free format text: JAPANESE INTERMEDIATE CODE: A131 Effective date: 20090901 |
|
| A521 | Written amendment |
Free format text: JAPANESE INTERMEDIATE CODE: A523 Effective date: 20090915 |
|
| TRDD | Decision of grant or rejection written | ||
| A01 | Written decision to grant a patent or to grant a registration (utility model) |
Free format text: JAPANESE INTERMEDIATE CODE: A01 Effective date: 20091020 |
|
| A01 | Written decision to grant a patent or to grant a registration (utility model) |
Free format text: JAPANESE INTERMEDIATE CODE: A01 |
|
| A61 | First payment of annual fees (during grant procedure) |
Free format text: JAPANESE INTERMEDIATE CODE: A61 Effective date: 20091023 |
|
| FPAY | Renewal fee payment (event date is renewal date of database) |
Free format text: PAYMENT UNTIL: 20121030 Year of fee payment: 3 |
|
| R150 | Certificate of patent or registration of utility model |
Ref document number: 4398581 Country of ref document: JP Free format text: JAPANESE INTERMEDIATE CODE: R150 Free format text: JAPANESE INTERMEDIATE CODE: R150 |
|
| FPAY | Renewal fee payment (event date is renewal date of database) |
Free format text: PAYMENT UNTIL: 20121030 Year of fee payment: 3 |
|
| FPAY | Renewal fee payment (event date is renewal date of database) |
Free format text: PAYMENT UNTIL: 20131030 Year of fee payment: 4 |
|
| R250 | Receipt of annual fees |
Free format text: JAPANESE INTERMEDIATE CODE: R250 |
|
| R250 | Receipt of annual fees |
Free format text: JAPANESE INTERMEDIATE CODE: R250 |
|
| R250 | Receipt of annual fees |
Free format text: JAPANESE INTERMEDIATE CODE: R250 |
|
| R250 | Receipt of annual fees |
Free format text: JAPANESE INTERMEDIATE CODE: R250 |
|
| R250 | Receipt of annual fees |
Free format text: JAPANESE INTERMEDIATE CODE: R250 |
|
| R250 | Receipt of annual fees |
Free format text: JAPANESE INTERMEDIATE CODE: R250 |
|
| R250 | Receipt of annual fees |
Free format text: JAPANESE INTERMEDIATE CODE: R250 |
|
| R250 | Receipt of annual fees |
Free format text: JAPANESE INTERMEDIATE CODE: R250 |
|
| R250 | Receipt of annual fees |
Free format text: JAPANESE INTERMEDIATE CODE: R250 |
|
| EXPY | Cancellation because of completion of term |