JP4339070B2 - 排気浄化装置 - Google Patents

排気浄化装置 Download PDF

Info

Publication number
JP4339070B2
JP4339070B2 JP2003354460A JP2003354460A JP4339070B2 JP 4339070 B2 JP4339070 B2 JP 4339070B2 JP 2003354460 A JP2003354460 A JP 2003354460A JP 2003354460 A JP2003354460 A JP 2003354460A JP 4339070 B2 JP4339070 B2 JP 4339070B2
Authority
JP
Japan
Prior art keywords
case
diameter
main body
exhaust
neck
Prior art date
Legal status (The legal status is an assumption and is not a legal conclusion. Google has not performed a legal analysis and makes no representation as to the accuracy of the status listed.)
Expired - Lifetime
Application number
JP2003354460A
Other languages
English (en)
Other versions
JP2004162702A (ja
Inventor
真志 太田
雅善 丹下
Current Assignee (The listed assignees may be inaccurate. Google has not performed a legal analysis and makes no representation or warranty as to the accuracy of the list.)
Sango Co Ltd
Original Assignee
Sango Co Ltd
Priority date (The priority date is an assumption and is not a legal conclusion. Google has not performed a legal analysis and makes no representation as to the accuracy of the date listed.)
Filing date
Publication date
Application filed by Sango Co Ltd filed Critical Sango Co Ltd
Priority to JP2003354460A priority Critical patent/JP4339070B2/ja
Publication of JP2004162702A publication Critical patent/JP2004162702A/ja
Application granted granted Critical
Publication of JP4339070B2 publication Critical patent/JP4339070B2/ja
Anticipated expiration legal-status Critical
Expired - Lifetime legal-status Critical Current

Links

Images

Classifications

    • YGENERAL TAGGING OF NEW TECHNOLOGICAL DEVELOPMENTS; GENERAL TAGGING OF CROSS-SECTIONAL TECHNOLOGIES SPANNING OVER SEVERAL SECTIONS OF THE IPC; TECHNICAL SUBJECTS COVERED BY FORMER USPC CROSS-REFERENCE ART COLLECTIONS [XRACs] AND DIGESTS
    • Y02TECHNOLOGIES OR APPLICATIONS FOR MITIGATION OR ADAPTATION AGAINST CLIMATE CHANGE
    • Y02TCLIMATE CHANGE MITIGATION TECHNOLOGIES RELATED TO TRANSPORTATION
    • Y02T10/00Road transport of goods or passengers
    • Y02T10/10Internal combustion engine [ICE] based vehicles
    • Y02T10/12Improving ICE efficiencies

Landscapes

  • Exhaust Gas After Treatment (AREA)

Description

本発明は排気浄化装置に関するものである。
従来、車両の排気系は、エンジンから排出される排気ガスを車両後方に導く排気管の途中に、大径なケース内に触媒担体やディーゼルパティキュレートフィルタ(以下DPF)などの柱体を収容し排気ガスを浄化する排気浄化装置や、大径なケース内に1以上の消音室を形成した排気騒音を消音する消音器などを接続、配置して構成されている。
このような排気系において、図7に示すように、触媒コンバータと消音器を1つのケース内に収容した排気浄化装置が知られている。該排気浄化装置は、流入口101および流出口102が形成されたケース103の略中央に、絞り通路104を備えた隔壁105が取り付けられて触媒室106と消音室107が形成されているとともに、触媒室106内に触媒担体108が緩衝材109を介して保持されて構成されている。このように構成することで、浄化および消音の作用を奏するとともに、コンパクトで部品点数の少ない排気浄化装置を提供するものである(特許文献1参照)。
実開平2−110224号公報(第3〜4頁、図1)
ところで、排気系部品は、車両の燃費向上などの目的から軽量化が望まれ、消音器のケースの板厚は薄肉化される傾向にある。しかし排気浄化装置は、高温の排気ガス圧力や振動に抗して内部の柱体を長年にわたり保持し続ける必要があるため強大なケース剛性が不可欠であり、消音器のようにケースを薄肉化(低剛性化)することが困難である。
そのため、前記従来のように、排気浄化装置と消音器が1つのケースで構成されているものにおいては、排気浄化装置部分のケース剛性を重視して全体のケース板厚を設定せざるを得ず、消音器部分のケース薄肉化、すなわち軽量化が困難となっていた。
そこで本発明は、浄化機能と消音機能を兼ね備え、かつ、軽量化、コンパクト化、耐熱性、高強度性を図り得る排気浄化装置を提供することを目的とするものである。
前記の課題を解決するために、請求項1記載の第1の発明は、大径な主体部に小径な首部と、主体部と首部とを接続するテーパ部とを一体に形成した筒状の第1ケース内に、外周に緩衝材を巻設した柱体を収容し、前記第1ケースの主体部に、該第1ケースより薄肉に形成された筒状の第2ケースの端部を嵌合して該第2ケース部で消音室を形成したことを特徴とする排気浄化装置である。
請求項2記載の第2の発明は、大径な主体部の両端に小径な首部と、主体部と首部とを接続するテーパ部とを一体に形成した筒状の第1ケース内に、外周に緩衝材を巻設した柱体を収容し、前記第1ケースの主体部に、該第1ケースより薄肉に形成された筒状の第2ケースの端部を嵌合して該第2ケース部で消音室を形成したことを特徴とする排気浄化装置である。
請求項3記載の第3の発明は、前記第1又は第2の発明において、前記第1ケースにおける主体部の少なくとも前記緩衝材を収容する部分を縮径したことを特徴とする排気浄化装置である。
以上のようであるから、本発明によれば、第1ケースの主体部に第2ケースの端部を嵌合することにより、浄化機能と消音機能を兼ね備えたコンパクトな排気浄化装置を提供することができる。
更に、第2ケースの板厚を第1ケースより薄肉に形成したことにより、柱体の保持性能を損ねることなく、車両重量の軽量化に貢献することができる。
更に、第1ケースにおける柱体を保持する主体部と首部を一体に形成したので、該第1ケースの耐熱性、高強度性を確保することができる。
本発明を実施するための最良の形態を図1乃至図6に示す実施例に基づいて説明する。
図1は第1実施例を示す。
本第1実施例は、本発明に係る排気浄化装置1を、エンジンに取り付けるエキゾーストマニホールド12に接続する場合の例を示す。
金属製(例えばステンレス製で板厚が1.2mm)の筒状体よりなる第1ケース2には、大径な主体部3の両端に小径な首部4a,4bと、該主体部3と首部4a,4bとを接続するテーパ部5a,5bがスピニング加工によりネッキング加工されて一体に形成されている。
なお、第1ケース2の板厚は、担体(柱体)6を保持するのに必要なケース剛性と、後述する第2ケース8を嵌合した際の強度とを考慮して設定される。
上記第1ケース2の主体部3の内部には、セラミック繊維をマット状に成形した緩衝材7を外周に巻設したハニカム状のセラミック製の担体6(柱体)が収容されている。担体6内の多数の通路には、触媒が担持されている。緩衝材7は主体部3と担体6に挟持されて圧縮され、その復元力(反発力)によって、担体6は主体部3に強固に保持されるものである。
第2ケース8は、第1ケース2よりも薄肉の金属製(例えばステンレス製で板厚が0.8mm)の筒状体で形成されており、その主体部9は第1ケース2の主体部3と略同径な外径に形成されている。
該第2ケース8の主体部9における上流側は開口され、その上流端9aを第1ケース2の主体部3に設けられた小径の段差部3aに嵌合した後、レーザ溶接など任意の溶接方法により段差部3aに気密に接合して、該第2ケース8により消音室10が形成されている。
第2ケース8の下流端9bは、縮径された首部に形成されている。該下流端9bは主体部9aからテーパ部9cを経て形成されており、該テーパ部9cと下流端9bは、スピニング加工により第2ケースの軸心と傾斜した軸心を有するように縮径加工され、下流端9bには図示しない下流側の排気管を接続するためのフランジ11が設けられている。このような、軸心を傾斜してスピニング加工する加工法は、特許第2957154号公報に記載の工法で行うことができる。
上記のように構成された排気浄化装置1は、その上流側の首部4aを、エンジンの各ポートから排出される排気ガスを集合し下流に導くエキゾーストマニホールド12の下流側管12aに嵌合して溶接などにより接続される。
以上の構成において、エキゾーストマニホールド12から排気浄化装置1に導入された排気ガスは、第1ケース2内に設けた担体6により排気ガス中の有害成分が浄化される。その後、排気ガスと排気騒音は、首部4bを通って第2ケース8により形成された消音室10内に導かれる。このとき、小径の首部4bから大径かつ大容量の消音室10内へ流出する際の拡張によるエネルギー減衰作用により排気騒音が消音される。その後、排気ガスは第2ケース2の下流端9bより図示しない下流側の排気管へ導かれる。
本第1実施例によれば、第1ケース2の主体部3に第2ケース8を嵌合することにより、浄化機能と消音機能を兼ね備えたコンパクトで一体型の排気浄化装置を提供することができる。
また、第2ケース8の板厚を第1ケース2の板厚より薄肉に形成したことにより、第1ケース2による担体6の保持性能を損なうことなく、車両重量の軽量化に貢献することができる。また、上記実施例では採用していないが、耐熱性、耐久性、加工性などに応じて第1ケース2と第2ケース8を異なる材質で構成することも可能であり、これによりコスト低減に貢献することができる。
また、本実施例においては、担体6を通過し高温になった排気ガスが当たる出口側のテーパ部5bが第1ケース2と一体に形成されているため、このテーパ部5bの耐久性が向上し、排気浄化装置の耐久性を高めることができる。
図2は第2実施例を示す。
本第2実施例は、車両の床下に配置する排気浄化装置に本発明を適用した例を示す。
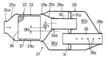
本第2実施例の排気浄化装置21を構成する金属製の筒状体よりなる第1ケース22には、大径な主体部23の両端に小径な首部24a,24bと、該主体部23と首部24a,24bとを接続するテーパ部25a,25bとがスピニング加工により一体に形成されている。
なお、下流側の首部24bは主体部23に対してオフセットOFした偏芯状に形成されている。このような偏芯加工は、例えば特許第2957153号に記載されている偏芯スピニング加工方法を用いることができる。上記第1ケース22の主体部23の内部には、セラミック繊維をマット状に成形した緩衝材27を外周に巻設したハニカム状のセラミック製の担体26(柱体)が収容されている。
上記主体部23の中央部23aは、緩衝材27および担体26をルーズに挿入した後に若干小径に縮径して、緩衝材27を圧縮することで、担体6を強固に保持している。この工法は所謂サイジング(Sizing)工法であり、触媒コンバータの製造においては周知である(例えば特許第2679857号)。
第2ケース28は、上記第1ケース22よりも薄肉の金属製の筒状体で形成されており、その主体部28aは、上記第1ケース22の主体部23より大径な外径に形成されている。更に、第2ケース28の上流端29aは、第2ケース28の軸心とオフセットOFした偏芯状態で縮径され、第1ケース22の主体部23に嵌合した後、レーザ溶接などにより気密に接合されている。更に、第2ケース28の下流端29bは、第2ケース28の軸心に対して上記上流端29aと反対側にオフセットした偏芯状態で縮径されている。
上記第2ケース28内は、多数の小孔31aを備えた仕切り板31により、2つの消音室30a,30bに区画形成されている。更に、第2ケース28内にはインレットパイプ32が、その上流側を第1ケース22の首部24bに嵌合し、下流側を仕切り板31に挿通して設けられている。更に、第2ケース28内にはアウトレットパイプ33が、その下流側を第2ケース28の下流端29bに嵌合し、上流側を上記仕切り板31に挿通して設けられている。該アウトレットパイプ33には、多数の小孔33aが形成されている。
上記のように構成された排気浄化装置21は、車両の床下に配置され、首部24aおよび下流端29bにそれぞれ図示しない排気管が接続される。
本第2実施例においても上記第1実施例と同様の作用、効果を発揮できる上に、第1ケース22と第2ケース28が偏芯OFしているため、車両の床下への配置がしやすくなる。
図3は第3実施例を示す。
本第3実施例は、上記第2実施例における第2ケース28の下流側壁の構造が異なる変形例を示す。
すなわち、排気浄化装置41の第2ケース48を、その下流側が主体部48aと略同径で開口する筒状のシェル50と、該シェル50の下流端49bを閉塞すべく嵌合するとともにレーザ溶接などで気密に接合した端板51で構成したものである。なお、シェル50の上流端49aは前記第2実施例の第2ケース28の上流端29aと同様に形成されている。
その他の構成は上記第2実施例と同様であるため、上記と同一部分には上記と同一の符号を付してその説明を省略する。
以上の構成からなる本第3実施例においても上記第2実施例と同様の作用効果を発揮できる。
図4は第4実施例を示す。
本第4実施例は、排気浄化装置61の第2ケース68を、その両端が主体部68aと略同径で開口する筒状シェル70と、該シェル70の両端を閉塞すべく嵌合するとともにレーザ溶接などで気密に接合した端板71,72で構成したものである。シェル70は薄肉の鋼板(例えばステンレス製で板厚が0.4mmの板)70aを図4(b)で拡大して示すように、2重に巻回し筒状に形成したものである。なお、鋼板70aは2重以上に巻回されていても良いが、トータルの板厚tが第1ケース22の板厚より薄肉であることが望ましい。上流側の端板72の開口した端部72aは、第1ケース22の主体部23に嵌合した後、レーザ溶接などにより気密に接合されている。
その他の構成は上記第2実施例と同様であるため、上記と同一部分には上記と同一の符号を付してその説明を省略する。
本第4実施例においても前記第2実施例と同様の作用効果を発揮できる。
更に、第2ケース68の主体部68aを2重の板材で構成したことにより、第2ケース68からの放射音を抑制することができる。
図5及び図6は第5実施例を示す。
本第5実施例における排気浄化装置81の第1ケース82には、大径な主体部83の上流側である一方の端に形成した小径な首部84aと、該主体部83と首部84aとを接続するテーパ部85aとがスピニング加工により一体に形成されている。一方、主体部83の下流側83bには首部とテーパ部は設けておらず、大径な主体部83が開口している。
第2ケース88は、その両端が主体部88aと略同径で開口する筒状シェル90と、該シェル90の両端を閉塞すべく嵌合するとともにレーザ溶接などで気密に接合した端板91,92で構成したものである。シェル90は図6に示すように断面が楕円形に形成されている。そのため、端板92は、そのテーパ部92bにおいて、横断面を、円形の首部92aから第2ケース88に向かって楕円に除変している。第2ケース88内には、仕切板94により、2つの消音室95a,95bに区画形成されている。更に、多数の小孔96aを備えたアウトレットパイプ96が設けられている。上流側の端板92の開口した端板92aは、第1ケ−ス82の主体部83に嵌合した後、レーザ溶接などにより気密に接合されている。その他の第2実施例と同一部分には上記と同一の符号を付してその説明を省略する。
本第5実施例においても第2実施例と同様の作用効果を発揮できる。
なお、前記第1ケース82の軸芯と第2ケース88の軸芯を相対的に非同軸に設定して、この相対角度差を端板92の変形により吸収してもよい。
以上のように、前記第1乃至第5実施例において、第2ケース8,28,48,68,88を、第1ケース2,22,82の主体部3,23,83における柱体6,26より下流側の端部に嵌合したことにより、柱体6,26の過熱を防止し、柱体6,26の劣化を防止することができる。
なお、第1ケース2,22,82の主体部3,23,83と第2ケース8,28,48,68,88を溶接などで接合する際は、緩衝材7,27と重ならない位置に溶接などで接合することが好ましい。
また、前記第1および第2実施例においても、各第2ケース8,28を、第3乃至第5実施例のように複数の部材から構成してもよい。また、このように第2ケース8,28を複数の部材から構成した場合は、その主体部9,28aの板厚が第1ケース2,22の板厚より薄肉に構成されていればよい。
また、上記各実施例で示した担体6,26は、ハニカム状のセラミックに貴金属を担持したものであるが、この担体の代わりにハニカム状のセラミックの通路の一部を封止し、排気ガス中の微粒子を除去するDPF(ディーゼルパティキュレートフィルタ)などでもよい。また、ハニカム状のセラミック以外にも、多孔質のセラミックを柱状に形成したものを担体あるいはDPFとしてもよい。したがって、本発明では、これらの担体やDPFなどを総称して柱体とした。
また、緩衝材2,27は、上記実施例で示したセラミック繊維を集積しマット状に形成した非熱膨脹性の緩衝材(アルミナマット)の他に、バーミュキライトを添加した熱膨脹製の緩衝材でも良いし、バインダー含有の有無や含有量は問わない。
また、板状緩衝材(マット)を柱状に巻回しても良いし、筒状緩衝材へ柱体を挿入しても構わない。更に、耐熱金属製繊維を波付加工した緩衝材でもよいし、これを上記のセラミック繊維製の緩衝材と併用してもよい。
また、消音室の構造は、上記実施例で示した拡張型の構造の他に、共鳴型、吸音型(吸音材を設置)、干渉型など、周知の消音室構造を採用することができるし、周知の可変バルブ等を組み合わせても構わない。
また、柱体および緩衝材を、軸方向に2個あるいはそれ以上、直列(タンデム)に配置してもよい。また、断面形状も円形に限らず、任意である。前記実施例ではネッキング部をスピニング加工にて一体形成しているが、本発明においては、それ以外の工法で一体形成してもよいし、機能・耐久性を満たせるのであれば、別体のネッキング部を本体に接続しても構わない。更に、本発明においては、上記第1実施例と、第2実施例乃至第5実施例を組み合わせても構わない。
また、本発明は、車両の内燃機関の排気系にのみ適用されるものではなく、燃料電池システムにおける排気系、あるいはヒーター類における排気系等、車両において浄化(改質)と消音の機能を要求される装置に、広く適用可能である。
本発明の第1実施例を示す断面図。 本発明の第2実施例を示す断面図。 本発明の第3実施例を示す断面図。 本発明の第4実施例を示すもので、(a)は排気浄化装置の断面図、(b)は(a)におけるA部の拡大断面図。 本発明の第5実施例を示す断面図。 図5におけるB−B線断面図。 従来の構造を示す断面図。
符号の説明
2,22,28 第1ケース
3,23,83 主体部
4a,4b,24a,24b,84a 首部
5a,5b,25a,25b,85a テーパ部
6,26 柱体
7,27 緩衝材
8,28,48,68,88 第2ケース
9a,29a,49a,72a,92a 端部
10,30a,30b,95a,95b 消音室

Claims (3)

  1. 大径な主体部に小径な首部と、主体部と首部とを接続するテーパ部とを一体に形成した筒状の第1ケース内に、外周に緩衝材を巻設した柱体を収容し、前記第1ケースの主体部に、該第1ケースより薄肉に形成された筒状の第2ケースの端部を嵌合して該第2ケース部で消音室を形成したことを特徴とする排気浄化装置。
  2. 大径な主体部の両端に小径な首部と、主体部と首部とを接続するテーパ部とを一体に形成した筒状の第1ケース内に、外周に緩衝材を巻設した柱体を収容し、前記第1ケースの主体部に、該第1ケースより薄肉に形成された筒状の第2ケースの端部を嵌合して該第2ケース部で消音室を形成したことを特徴とする排気浄化装置。
  3. 前記第1ケースにおける主体部の少なくとも前記緩衝材を収容する部分を縮径したことを特徴とする請求項1又は2記載の排気浄化装置。
JP2003354460A 2002-10-23 2003-10-15 排気浄化装置 Expired - Lifetime JP4339070B2 (ja)

Priority Applications (1)

Application Number Priority Date Filing Date Title
JP2003354460A JP4339070B2 (ja) 2002-10-23 2003-10-15 排気浄化装置

Applications Claiming Priority (2)

Application Number Priority Date Filing Date Title
JP2002308114 2002-10-23
JP2003354460A JP4339070B2 (ja) 2002-10-23 2003-10-15 排気浄化装置

Publications (2)

Publication Number Publication Date
JP2004162702A JP2004162702A (ja) 2004-06-10
JP4339070B2 true JP4339070B2 (ja) 2009-10-07

Family

ID=32828079

Family Applications (1)

Application Number Title Priority Date Filing Date
JP2003354460A Expired - Lifetime JP4339070B2 (ja) 2002-10-23 2003-10-15 排気浄化装置

Country Status (1)

Country Link
JP (1) JP4339070B2 (ja)

Cited By (1)

* Cited by examiner, † Cited by third party
Publication number Priority date Publication date Assignee Title
CN102733993A (zh) * 2011-03-29 2012-10-17 富士重工业株式会社 发动机的自动阻风门装置

Families Citing this family (6)

* Cited by examiner, † Cited by third party
Publication number Priority date Publication date Assignee Title
JP4531576B2 (ja) * 2005-01-27 2010-08-25 中川産業株式会社 車両の排気管
JP4670835B2 (ja) * 2007-05-21 2011-04-13 トヨタ自動車株式会社 車載エンジンの排気管
JP5006740B2 (ja) * 2007-09-13 2012-08-22 ヤンマー株式会社 ディーゼルエンジン用黒煙浄化装置
JP4767236B2 (ja) * 2007-10-01 2011-09-07 本田技研工業株式会社 内燃機関の排ガス浄化装置
JP2010276000A (ja) * 2009-06-01 2010-12-09 Suzuki Motor Corp マフラー及び自動二輪車
WO2021079556A1 (ja) * 2019-10-25 2021-04-29 日本碍子株式会社 消音器及び消音器用ハニカム構造体

Cited By (1)

* Cited by examiner, † Cited by third party
Publication number Priority date Publication date Assignee Title
CN102733993A (zh) * 2011-03-29 2012-10-17 富士重工业株式会社 发动机的自动阻风门装置

Also Published As

Publication number Publication date
JP2004162702A (ja) 2004-06-10

Similar Documents

Publication Publication Date Title
JP5472321B2 (ja) 内燃機関の排気装置
EP0643799B1 (en) Muffler with catalytic converter arrangement
JP3314241B2 (ja) 自動二輪車用エンジンの排気浄化装置
JP3231852B2 (ja) 内燃機関の触媒コンバータに組み込まれたサイレンサ
US5355973A (en) Muffler with catalytic converter arrangement; and method
CZ369598A3 (cs) Zařízení pro tlumení a čištění výfukových plynů
US20060067860A1 (en) Construction for an engine exhaust system component
US8083025B2 (en) Silencer provided on exhaust pipe of vehicle engine
CN105888782B (zh) 柴油机尾气复合净化装置
JP2010255520A (ja) 消音器
JP4339070B2 (ja) 排気浄化装置
CN105781689B (zh) 柴油机尾气复合降噪装置
JP2002235522A (ja) 排気消音装置
JPH06108835A (ja) 触媒マフラ
CN205477849U (zh) 用于柴油机的复合式尾气降噪装置
CN110080855B (zh) 消音器
JPH10115215A (ja) 内燃機関の触媒式排気装置
JP5550957B2 (ja) 排気ガス浄化装置
JP2005290993A (ja) 内燃機関の排気装置
JPH09228832A (ja) 触媒コンバータ
JP2006348896A (ja) 消音器
JPS5822966Y2 (ja) 消音器兼排気浄化装置
JPS595138Y2 (ja) 排気浄化器兼用消音器
JP3306096B2 (ja) 触媒付内燃機関用排気装置
JP2001241315A (ja) 消音器

Legal Events

Date Code Title Description
A621 Written request for application examination

Free format text: JAPANESE INTERMEDIATE CODE: A621

Effective date: 20060920

A977 Report on retrieval

Free format text: JAPANESE INTERMEDIATE CODE: A971007

Effective date: 20090525

TRDD Decision of grant or rejection written
A01 Written decision to grant a patent or to grant a registration (utility model)

Free format text: JAPANESE INTERMEDIATE CODE: A01

Effective date: 20090609

A01 Written decision to grant a patent or to grant a registration (utility model)

Free format text: JAPANESE INTERMEDIATE CODE: A01

A61 First payment of annual fees (during grant procedure)

Free format text: JAPANESE INTERMEDIATE CODE: A61

Effective date: 20090701

R150 Certificate of patent or registration of utility model

Ref document number: 4339070

Country of ref document: JP

Free format text: JAPANESE INTERMEDIATE CODE: R150

Free format text: JAPANESE INTERMEDIATE CODE: R150

FPAY Renewal fee payment (event date is renewal date of database)

Free format text: PAYMENT UNTIL: 20120710

Year of fee payment: 3

FPAY Renewal fee payment (event date is renewal date of database)

Free format text: PAYMENT UNTIL: 20120710

Year of fee payment: 3

S531 Written request for registration of change of domicile

Free format text: JAPANESE INTERMEDIATE CODE: R313532

FPAY Renewal fee payment (event date is renewal date of database)

Free format text: PAYMENT UNTIL: 20120710

Year of fee payment: 3

R360 Written notification for declining of transfer of rights

Free format text: JAPANESE INTERMEDIATE CODE: R360

FPAY Renewal fee payment (event date is renewal date of database)

Free format text: PAYMENT UNTIL: 20120710

Year of fee payment: 3

R370 Written measure of declining of transfer procedure

Free format text: JAPANESE INTERMEDIATE CODE: R370

S531 Written request for registration of change of domicile

Free format text: JAPANESE INTERMEDIATE CODE: R313532

FPAY Renewal fee payment (event date is renewal date of database)

Free format text: PAYMENT UNTIL: 20120710

Year of fee payment: 3

R350 Written notification of registration of transfer

Free format text: JAPANESE INTERMEDIATE CODE: R350

FPAY Renewal fee payment (event date is renewal date of database)

Free format text: PAYMENT UNTIL: 20150710

Year of fee payment: 6

R250 Receipt of annual fees

Free format text: JAPANESE INTERMEDIATE CODE: R250

R250 Receipt of annual fees

Free format text: JAPANESE INTERMEDIATE CODE: R250

R250 Receipt of annual fees

Free format text: JAPANESE INTERMEDIATE CODE: R250

R250 Receipt of annual fees

Free format text: JAPANESE INTERMEDIATE CODE: R250

R250 Receipt of annual fees

Free format text: JAPANESE INTERMEDIATE CODE: R250

R250 Receipt of annual fees

Free format text: JAPANESE INTERMEDIATE CODE: R250

R250 Receipt of annual fees

Free format text: JAPANESE INTERMEDIATE CODE: R250

R250 Receipt of annual fees

Free format text: JAPANESE INTERMEDIATE CODE: R250

EXPY Cancellation because of completion of term