JP4326480B2 - コーヒー飲料製造装置 - Google Patents

コーヒー飲料製造装置 Download PDF

Info

Publication number
JP4326480B2
JP4326480B2 JP2005013868A JP2005013868A JP4326480B2 JP 4326480 B2 JP4326480 B2 JP 4326480B2 JP 2005013868 A JP2005013868 A JP 2005013868A JP 2005013868 A JP2005013868 A JP 2005013868A JP 4326480 B2 JP4326480 B2 JP 4326480B2
Authority
JP
Japan
Prior art keywords
hot water
water tank
coffee
tank
espresso
Prior art date
Legal status (The legal status is an assumption and is not a legal conclusion. Google has not performed a legal analysis and makes no representation as to the accuracy of the status listed.)
Expired - Fee Related
Application number
JP2005013868A
Other languages
English (en)
Other versions
JP2006198213A (ja
Inventor
和弘 高橋
晃 後飯塚
丈夫 五十嵐
Current Assignee (The listed assignees may be inaccurate. Google has not performed a legal analysis and makes no representation or warranty as to the accuracy of the list.)
Sanyo Electric Co Ltd
Original Assignee
Sanyo Electric Co Ltd
Priority date (The priority date is an assumption and is not a legal conclusion. Google has not performed a legal analysis and makes no representation as to the accuracy of the date listed.)
Filing date
Publication date
Application filed by Sanyo Electric Co Ltd filed Critical Sanyo Electric Co Ltd
Priority to JP2005013868A priority Critical patent/JP4326480B2/ja
Publication of JP2006198213A publication Critical patent/JP2006198213A/ja
Application granted granted Critical
Publication of JP4326480B2 publication Critical patent/JP4326480B2/ja
Anticipated expiration legal-status Critical
Expired - Fee Related legal-status Critical Current

Links

Images

Landscapes

  • Apparatus For Making Beverages (AREA)

Description

本発明は、コーヒー挽き豆から成るコーヒー原料粉末からコーヒー液の抽出を行うコーヒー飲料製造装置に関するものである。
従来よりレストラン等においては、コーヒーがソフトドリンクの必須メニューとされており、通常、散湯式ドリップコーヒーが一般的に飲用されている。このドリップ式コーヒーは所定の粒度に粉砕されたコーヒーの挽き豆から成るコーヒー原料粉末を、所定のチャンバー内に収容し、これに上方の散水器から湯を散布してコーヒー液を抽出するものである。
特許第3015249号公報
ところで、従来ではこのようなドリップ式コーヒーを抽出製造するコーヒー飲料製造装置では、散水器に所定温度にまで加熱された湯を散布するため、市水から供給される水道水を一旦給水用湯タンクに貯溜し、当該給水用湯タンクにおいて、所定温度、例えば+70℃にまで加熱した後、散湯用湯タンクに供給し、当該散湯用湯タンクにおいて、散水器に供給するのに適した温度、例えば+95℃にまで更に加熱していた。
この場合、散湯用湯タンクから散水器に供給される湯は、常に、前記所定温度、即ち、約+95℃であることが好ましいため、コーヒー抽出指示に従い、予備加熱された給水用湯タンクの湯を所定量だけ散湯用湯タンクの下方に供給することにより、当該給湯量だけ散湯用湯タンク上方の湯をサイホンにより散水器に送出する方式を採用していた。
これにより、給水用湯タンクにおいて予備加熱された湯は、散湯用湯タンクの下部に供給されることで、当該散湯用湯タンクにおいて所定温度にまで加熱された湯が、サイホンによって散水器に供給されることとなる。そのため、常に所定温度にまで加熱された湯を散水器に供給することができると共に、給水用湯タンクにおいて予備加熱された湯を散湯用湯タンクに供給することで、短時間で、散湯用湯タンク全体の温度を所定温度にまで上昇させることができる。コーヒー抽出指示が複数回連続して行われる場合であっても、供給する湯の加熱時間を短縮することができ、短時間でコーヒー抽出を行うことができる。
しかしながら、上述した如き方式では、給水用湯タンクにおける加熱が所定温度まで行われないうちに、散湯用湯タンクから散水器への湯の供給を行うため、給水用湯タンク内の湯が散湯用湯タンクに供給される場合がある。係る場合には、比較的低い温度の湯が散湯用湯タンクに供給されることから、当該供給された湯が散湯用湯タンクにおいて所定温度にまで加熱されると、水の比容積が増加することとなる。
例えば、1700mlの湯を散湯用湯タンクから散水器へ供給する場合には、給水用湯タンクから当該供給量だけ、即ち、1700mlだけ散湯用湯タンクへ供給することで、サイホンにより散湯用湯タンクから1700ml、散水器に供給されることとなる。しかしながら、給水用湯タンクから例えば+20℃の湯が散湯用湯タンクへ供給された場合には、1700mlの+20℃の湯は、+95℃にまで加熱されることで、比容積が増加し、約1764mlにまで増加する。
これに対し、従来のコーヒー飲料製造装置では、次回の湯の供給時においても、給水用湯タンクから散湯用湯タンクには、所定量の1700mlだけ供給されていた。そのため、係る湯の供給時における給湯量は、前回供給した湯の増加分、即ち、上記においては64mlも同時に、サイホンから散水器に供給されるため、実際に散湯用湯タンクから散水器に供給される湯量は、1700+64mlとなり、抽出されるコーヒー液が所定濃度よりも薄められた状態となる。
そこで、係る水の膨張による増加分が余計に散水器に供給されることを回避するため、給水用湯タンク内の水温に応じて、散湯用タンクへ供給する湯量を流量計での計測に補正を加えることで、散水器に供給される湯量を一定とする試みがなされていた。
しかしながら、流量計は測定対象となる水の温度によって誤差が生じる。そのため、補正を行った場合であっても、流量計による誤差を解消することができないことから、毎回、一定の湯量を散水器に供給することができないという問題があった。
そのため、前回の給水用湯タンクから散湯用湯タンクへ供給される湯の温度によって、次回抽出されるコーヒー液の濃度が変動するという課題は未だ解消することができないこととなり、提供されるコーヒー液の品質を維持することができないという問題がある。
本発明は、係る従来の技術的課題を解決するために成されたものであり、散水器への一回の給湯量を均一に保ち、抽出されるコーヒー液の品質を一定に保持することができるコーヒー飲料製造装置を提供するものである。
本発明のコーヒー飲料製造装置は、ヒータを備えてコーヒー液抽出用の所定温度の湯を生成する散湯用湯タンクと、この散湯用湯タンクの前段に設けられ、供給された水をヒータにより加熱して予め所定温度の湯を生成する給水用湯タンクと、この給水用湯タンク内の湯を散湯用湯タンクに搬送する搬送手段と、散湯用湯タンクからの蒸気及び/又はオーバーフロー湯を排出するための蒸気管と、この蒸気管を開閉する開閉手段とを備え、搬送手段により給水用湯タンク内の湯を散湯用湯タンクに所定量供給することで、当該散湯用湯タンク内の湯を散水器に送出し、散水器からコーヒー原料粉末に湯を散布してコーヒー液を抽出し、散湯用湯タンクから散水器への給湯量を検出するための流量検出手段を当該散湯用湯タンクと散水器の間に設け、流量検出手段の出力に基づいて搬送手段を制御すると共に、常には開閉手段を開放しており、搬送手段の動作中は開閉手段を閉じることを特徴とする。
請求項2の発明のコーヒー飲料製造装置は、上記発明において、搬送手段の出口側に、圧力変化に応じて流量を均一化する手段を設けたことを特徴とする。
本発明によれば、ヒータを備えてコーヒー液抽出用の所定温度の湯を生成する散湯用湯タンクと、この散湯用湯タンクの前段に設けられ、供給された水をヒータにより加熱して予め所定温度の湯を生成する給水用湯タンクと、この給水用湯タンク内の湯を散湯用湯タンクに搬送する搬送手段とを備え、この搬送手段により給水用湯タンク内の湯を散湯用湯タンクに所定量供給することで、当該散湯用湯タンク内の湯を散水器に送出し、散水器からコーヒー原料粉末に湯を散布してコーヒー液を抽出すると共に、散湯用湯タンクから散水器への給湯量を検出するための流量検出手段を当該散湯用湯タンクと散水器の間に設け、流量検出手段の出力に基づいて搬送手段を制御するので、前回の給水用湯タンクから散湯用湯タンクに供給される湯の温度に影響されることなく、抽出されるコーヒー液の濃度を一定に維持することができ、毎回、高品質のコーヒー液を提供することができる。
また、本発明では、散水器に供給される湯の量は散湯用湯タンクから散水器への給湯量を流量検出手段によって検出することで制御される。そのため、流量検出手段が検出対象である湯温によって検出誤差が生じる場合であっても、検出対象である湯を常に一定の温度である散湯用湯タンクからの湯とすることで、かかる検出誤差を最小限に止めることが可能となる。これにより、確実に、散湯用湯タンクから散水器に供給される湯量を所定量に制御することができるようになり、抽出されるコーヒー液の濃度を一定とすることができるようになる。そのため、抽出毎に生じる質のバラツキを是正することが可能となり、均一な質のコーヒー飲料を毎回提供することができるようになる。
特に、散湯用湯タンクからの蒸気及び/又はオーバーフロー湯を排出するための蒸気管と、この蒸気管を開閉する開閉手段を備え、常には開閉手段を開放すると共に、搬送手段の動作中は開閉手段を閉じることから、搬送手段を動作させた際に、前記流量検出手段が抵抗となり、蒸気管から湯が流出する不都合を回避することができる。また、円滑に散湯用湯タンクから散水器へ湯を流出させることが可能となる。
また、請求項2の発明によれば、上記発明において、搬送手段の出口側に、圧力変化に応じて流量を均一化する手段を設けることにより、搬送手段の能力が変更された場合であっても、給水用湯タンクから散湯用湯タンクへの流量を均一とすることが可能となり、安定した給湯を実現することができるようになる。これにより、抽出されるコーヒー液の濃度をより一層、一定に維持することができ、毎回、高品質のコーヒー液を提供することが可能となる。
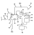
以下、図面に基づき本発明の実施形態を詳述する。図1は本発明のコーヒー飲料製造装置1の正面図、図2のコーヒー飲料製造装置1の側面図、図3及び図4はコーヒー飲料製造装置1の構成図をそれぞれ示している。
実施例のコーヒー飲料製造装置1は、例えばファーストフード店等の厨房やカウンターに設置されるものであり、向かって右側のドリップコーヒー抽出部1Aと、向かって左側のエスプレッソコーヒー抽出部1Bとが一体化されて本体6が構成されている。ドリップコーヒー抽出部1Aでは、コーヒー原料粉末に湯を散布することで抽出されたコーヒー液である散湯式コーヒー、即ち、ドリップコーヒーが製造されると共に、エスプレッソコーヒー抽出部1Bでは、コーヒー原料粉末に湯を加圧供給することで抽出されたコーヒー液である加圧抽出式コーヒー、即ち、エスプレッソコーヒーが製造される。
このエスプレッソコーヒー抽出部1Bの前面中程には、エスプレッソのコーヒー液を排出するコーヒー液ノズル2と、ミルクフォームを排出するミルクフォームノズル3とを一体に備えたノズル部材4が設けられている。そして、このノズル部材4の下方には、抽出されたコーヒー液を受容するカップを載置するカップ支持台7が設けられている。尚、ノズル部材4は、上下に高さ調節可能に構成されている。また、エスプレッソコーヒー抽出部1Bの前面上部には排出する飲料の種類を選択等を行う複数の操作ボタン5・・・が設けられると共に、ノズル部材4の向かって右側にはコーヒー液の抽出に使用された残滓を受容し、前方に引出自在に設けられた残滓受容部8が設けられている。また、9はコーヒー豆を収容する豆貯蔵容器である。
一方、ドリップコーヒー抽出部1Aの前面上部には散水器41が設けられており、この散水器41の下側にはドリップコーヒー用の粉チャンバー42が着脱自在に取り付けられる。更に、この粉チャンバー42の下側には保温ポット43が設けられると共に、この保温ポット43の下方にはデカンタ支持台44が構成され、このデカンタ支持台44上には、保温ポット43の下側に対応して保温デカンタ46が載置される。
この保温ポット43及び保温デカンタ46は、例えばステンレス製の真空二重構造とされており、極めて高い保温性能を有している。また、保温ポット43の取出口43Aには手動式の開閉弁47が設けられている。
次に、図3及び図4を参照してコーヒー飲料製造装置1の内部構成について説明する。尚、図3及び図4はコーヒー飲料製造装置1の本体6の内部構成を示しており、各部を分かり易く拡大して示すために*の箇所にて二分割して図示したものである。先ず、エスプレッソコーヒー抽出部1Bには、二個の給水弁48、49を介して給水管51から給水される給水用湯タンク10と、この給水用湯タンク10と連通されたエスプレッソ用湯タンク11と、エスプレッソ用湯タンク11の底部に取り付けられたエスプレッソ用ポンプ(ギヤポンプ)12と、エスプレッソ抽出メカ13と、ミルクフォーマー61等が設けられている。
給水用湯タンク10は、数リットルの飲料水を貯水可能なタンクであり、内部には当該給水用湯タンク10に貯溜された水を例えば+68℃〜+70℃に加熱保温する電気ヒータ(給水用電気ヒータ)52と水位スイッチ53が設けられると共に、当該給水用湯タンク10の温度を検出する給水用サーミスタ54及び空焚き防止用バイメタルサーモスタット55も取り付けられている。尚、給水用サーミスタ54は、後述するドリップ用湯タンク(散湯用湯タンク)27に接続される連通管(給湯経路)31の当該給水用湯タンク10内の湯中に開口された端部の付近温度又は、給水用タンク10内の全体の温度を検出するものとする。そして、本体6に設けられた制御手段としての制御装置20はサーミスタ54の検出温度に基づき、貯溜水の温度が+68℃まで低下した場合に電気ヒータ52に通電し、+70℃まで上昇した場合に通電を断つ。
また、水位スイッチ53には、満水位及び、当該満水位から所定の水位が下がった位置、本実施例では、エスプレッソコーヒー一杯分の水量、例えば150mlが減少した位置に低水位が設けられており、制御装置20は、当該水位スイッチ53が低水位を検出した場合に給水弁48、49を開き、満水位を検出した場合に閉じる制御を行う。また、本実施例において制御装置20は、給水弁48、49を閉じてから所定期間、例えば15秒間は、給水弁48、49の開放を禁止するものとする。
更に、給水管51の開口下方には水面上で開口し、給水用湯タンク10内下部に降下して開口する降下管50が取り付けられている。尚、56は給水用湯タンク10からの蒸気やオーバーフローした湯が前記残滓受容部8に流出する蒸気管であり、この蒸気管56には沸騰防止用バイメタルサーモスタット59が取り付けられている。そして、万一制御に支障が生じて給水用湯タンク10内の湯が沸騰してしまった場合には、この蒸気管56から出てくる蒸気や湯の温度でバイメタルサーモスタット59を切り、給水用電気ヒータ52の通電を遮断する構成とされている。
そして、この給水用湯タンク10とエスプレッソ用湯タンク11とは連通管57にて連通されている。この場合、連通管57の一端は給水用湯タンク10内上部の湯中にて開口しており、他端はエスプレッソ用湯タンク11の底面に接続されて内部に開口している。尚、58は連通管57の途中に設けられた排水栓である。
このエスプレッソ用湯タンク11も、数リットルの飲料水を貯水可能とされたタンクであり、内部には当該エスプレッソ用湯タンク11に貯溜された水を例えば+94℃〜+97℃に加熱保温(+85℃以上で適温とされ、制御装置20は図示しない適温ランプを点灯する。)する電気ヒータ(加圧抽出用電気ヒータ)70が設けられると共に、空焚き防止用バイメタルサーモスタット71及び当該エスプレッソ用湯タンク11の温度を検出するサーミスタ72も取り付けられている。制御装置20はサーミスタ72の検出温度に基づき、貯溜水の温度が+94℃まで低下すると加圧抽出用電気ヒータ70に通電し、+97℃まで上昇すると通電を断つ。
尚、73はエスプレッソ用湯タンク11からの蒸気やオーバーフローした湯が前記残滓受容部8に流出する蒸気管であり、この蒸気管73も沸騰防止用バイメタルサーモスタット74が取り付けられている。そして、万一制御に支障が生じてエスプレッソ用湯タンク11内の湯が沸騰してしまった場合には、この蒸気管73から出てくる蒸気や湯の温度でバイメタルサーモスタット74を切り、加圧抽出用電気ヒータ70の通電を遮断する構成とされている。
また、エスプレッソ用湯タンク11の底部に設けられたエスプレッソ用ポンプ12は、エスプレッソ用湯タンク11内の湯を加圧して排出するポンプであり、このエスプレッソ用ポンプ12の吸込口はエスプレッソ用湯タンク11内上部の湯中にて開口し、排出口には湯流量計14と、コーヒー抽出電磁弁15とが順次介設された給湯側配管16が接続され、この給湯側配管16の他端にエスプレッソ抽出メカ13が接続されている。
そして、この給湯側配管16には、湯流量計14とコーヒー抽出電磁弁15との間に位置して循環経路を構成する湯循環電磁弁17を備えた循環用配管18が接続されており、この循環用配管18の他端は、エスプレッソ用湯タンク11内に接続されている。19はエスプレッソ用湯タンク11内上部の湯中に一端が開口した給湯管であり、給湯電磁弁21を備えている。この給湯管19の他端に取り付けられたノズル19Aはエスプレッソコーヒー抽出部1Bの前面右側に設けられ、操作スイッチ5の操作により湯のみを吐出する。
他方、エスプレッソ抽出メカ13の上方には、前記豆貯蔵容器9が設置される。この豆貯蔵容器9の下方には、豆貯蔵容器9に貯蔵されたコーヒー豆を高速回転する図示しない粉砕刃によって所定の粒度にまで粉砕するコーヒーミル22が設けられており、更に、このコーヒーミル22の下方には、当該コーヒーミルにおいて粉砕されたコーヒー粉を計量する粉計量器23及び当該計量されたコーヒー粉をエスプレッソ抽出メカ13内に収容するためのシュート24が設けられている。そして、このエスプレッソ抽出メカ13の下部には、コーヒー液の抽出経路を構成する抽出側配管25が接続され、この抽出側配管25には、抽出されたコーヒー液の排出を制御するコーヒー抽出電磁弁26が介設されている。このコーヒー抽出電磁弁26の下流側の抽出側配管25には、前記コーヒー液ノズル2が接続されている。これにより、カップ支持台7に配置された図示しないカップにコーヒー液を注入可能としている。
尚、カップには、コーヒー液の注入と共に顧客の要望により砂糖やクリームが注入されるが、これらの供給系統については図示及び説明を省略する。
このエスプレッソ抽出メカ13は、シュート24に供給される挽き豆を収容するシリンダーと、このシリンダーに挿脱自在とされるピストンと、このピストンを駆動するピストン駆動モータ等を備えており、これらシリンダー、ピストン、ピストン駆動モータ等からシリンダーユニットを構成し、更に、このシリンダーユニット全体を所定の角度に傾斜させるためのユニットや、シリンダーユニットが傾斜した際にシリンダーの上面開口を閉塞する蓋部材等を備えて構成されている。また、コーヒー抽出電磁弁15は、当該電磁弁15内に浸入したコーヒー液を所定圧力以上となるように調整する調整機構を備えている。
次に、前記ミルクフォーマー61は、前記給水用湯タンク10から湯を取り出す湯供給配管62と、ミルクフォーム用電磁ポンプ63と、ミルクフォーム用ヒーターブロック(ミルクフォーム用電気ヒータ)64と、ミルカー65等を備えている。湯供給配管62は、一端が給水用湯タンク10内上部の湯中に開口すると共に、ミルクフォーム用電磁ポンプ63及びミルクフォーム用ヒーターブロック64が順次介設されている。湯供給配管62の他端には、ミルカー65が接続される。また、ミルクフォーム用電磁ポンプ63とミルクフォーム用ヒーターブロック64との間に位置する湯供給配管62には、分岐配管67が設けられ、当該分岐配管67には、所定圧力にて外部に開放する排水電磁弁68が設けられている。
ミルクフォーム用ヒーターブロック64は電気ヒータを内蔵しており、給水用湯タンク10から湯供給配管62及びミルクフォーム用電磁ポンプ63を介して供給された湯を例えば約+170℃に加熱して蒸気を生成し、この蒸気をミルカー65へ供給するものである。また、ミルクフォーム用ヒーターブロック64には図示しない温度センサが設けられており、この温度センサの検出に基づいて設定した蒸気温度となるように制御装置20により温度制御が行われる。
ミルクフォーマー61は、ミルクフォーム用ヒーターブロック64で生成した蒸気をミルカーに吐出することで旋回流起こし、ミルクノズル66から所定の保冷庫69にて保冷されたミルクパック69Aよりミルクを吸引し、これに空気を混合して泡立てる。そして、前記ミルクフォームノズル3から吐出し、当該ノズル3の下方に載置されたカップなどに供給するものである。
次に、ドリップコーヒー抽出部1Aについて説明する。このドリップコーヒー抽出部1Aには、ドリップ用湯タンク(散湯用湯タンク)27と、前記散水器41が設けられている。ドリップ用湯タンク27と前記給水用湯タンク10とは連通管(給湯経路)31にて連通されている。この場合、連通管31の一端は給水用湯タンク10内上部の湯中にて開口しており、他端はドリップ用湯タンク27内の上面に接続されている。ドリップ用湯タンク27には下方に降下してその底部にて開口する接続管33が取り付けられており、前記連通管31はこの接続管33の上端に連通されている。また、連通管31の途中には搬送手段としてのポンプ32及び当該ポンプ32の下流側に位置してフローワッシャー30が設けられている。尚、ポンプ32は、前記制御装置20に接続されており、詳細は後述する如くドリップ用流量計28にて検出された給湯量に基づきポンプ32が運転制御される。
フローワッシャー30は、弾性を有する材料、例えばゴム等により構成されており、略中央に形成された図示しない穴を介して流量を調整するものである。当該フローワッシャー30は、所定の図示しないケースに収容された状態で使用され、前記穴を通過する流体の圧力に応じて穴径が変化する。即ち、ポンプ32の能力が比較的大きい場合には、フローワッシャー30に加わる水圧が大きくなり、穴径は小さくなる。これにより、通過する流量は、水圧に対し、少なくなり、一定量の流量で送出することが可能となる。尚、ポンプ32の能力は比較的小さい場合には、フローワッシャー30の穴径は変化しない。この場合、ポンプ32の能力に応じた流量で送出される。
これにより、ポンプ32の下流側にフローワッシャー30を介在させることで、ポンプ32の能力が変更された場合であっても、給水用湯タンク10からドリップ用湯タンク27への流量を均一化することが可能となり、安定した給湯を実現することができるようになる。
ドリップ用湯タンク27は、数リットルの飲料水を貯水可能とされたタンクであり、内部には当該ドリップ用湯タンク27に貯溜された水を例えば+93℃〜+95℃に加熱保温(+93℃以上で適温とされ、制御装置20は図示しない適温ランプを点灯する。)する加熱用の電気ヒータ34(散湯用電気ヒータ)及び保温用の電気ヒータ35(空焚き防止用バイメタルサーモスタット36を備える。)が設けられると共に、当該ドリップ用湯タンク27の温度を検出するドリップ用サーミスタ37も取り付けられている。このドリップ用サーミスタ37は、後述するサイホン29の一端付近、即ち、ドリップ用湯タンク27の上部の温度を検出するものとする。
制御装置20はドリップ用サーミスタ37の検出温度に基づき、貯溜水の温度が+93℃まで低下すると加熱用の電気ヒータ34に通電し、+95℃まで上昇したら電気ヒータ34の通電を断つ。また、制御装置20は同じくドリップ用サーミスタ37の検出温度に基づき、貯溜水の温度が+93℃まで低下すると保温用の電気ヒータ35に通電し、+95℃まで上昇したら電気ヒータ35の通電を断つ。
38はドリップ用湯タンク27からの蒸気やオーバーフローした湯が流出する蒸気管であり、この蒸気管38には、制御装置20にて、前記ポンプ32の運転時のみ閉鎖し、常には開放する制御が行われる電磁開閉弁(開閉手段)38Aが設けられていると共に、沸騰防止用バイメタルサーモスタット39が取り付けられている。そして、万一制御に支障が生じてドリップ用湯タンク27内の湯が沸騰してしまった場合には、この蒸気管38から出てくる蒸気や湯の温度でバイメタルサーモスタット39を切り、電気ヒータ34、35の通電を遮断する構成とされている。
また、ドリップ用湯タンク27の上部にはドリップ用流量計(流量検出手段)28が介設されたサイホン29の一端が接続され、他端は前記散水器41に接続されている。当該ドリップ用流量計28は、内部に回転子を備え、流入する湯により当該回転子を回転させ、当該回転子の回転速度に応じた周波数パルスを検出することで、給湯量を検出するものである。尚、当該ドリップ用流量計28は、制御装置20に接続されており、当該ドリップ用流量計28の検出に基づき、前記ポンプ32の運転制御が行われる。また、ドリップ用湯タンク27の底面には排水手動弁40Aを備えた配水管40が接続されている。
前記制御装置20は、プログラムやデータを記憶するメモリ、クロック信号を生成するタイマ、前記クロック信号及び前記プログラムに基づいて動作するCPUを備えている。更に、この制御装置20の入力側には、流量計14、28やサーミスタ37、54、72、水位スイッチ53等が接続されると共に、出力側には前記エスプレッソ用ポンプ12、コーヒー抽出電磁弁15、湯循環電磁弁17、給湯電磁弁21、コーヒー抽出電磁弁26、排水電磁弁68、エスプレッソ抽出メカ13、ポンプ32、電気ヒータ52、70、34、35、ミルクフォーム用ヒーターブロック64(実際にはその内部の電気ヒータ)、ミルクフォーム用電磁ポンプ63、給水弁48、49等が接続され、当該制御装置20の出力に基づき制御される。
以上の構成により、本実施例のコーヒー飲料製造装置1の動作について説明する。尚、操作ボタン5の操作が行われる前は、電磁開閉弁38A以外の何れの電磁弁も非通電とされ、閉鎖若しくは、一定圧力以上にて湯の流通を許容する状態とされているものとする。
(1)給水
電源投入後、制御装置20は給水弁48、49に通電して開放し、給水用湯タンク10に給水を行う。このとき、エスプレッソ用湯タンク11は連通管57にて給水用湯タンク10と連通されているので、パスカルの原理でエスプレッソ用湯タンク11にも連通管57を経て給水され、給水用湯タンク10と同水位とされる。また、制御装置20はポンプ32を所定時間運転し、給水用湯タンク10内の水を連通管31からドリップ用湯タンク27内に流入させ、満水位とする。
このようにしてドリップ用湯タンク27が満水位となり、更に水位スイッチ53が給水用湯タンク10(エスプレッソ用湯タンク11)の満水位を検出すると、制御装置20は給水弁48、49を閉じる。
(2)湯の生成
次に、制御装置20は各湯タンク10、11、27内にて湯を生成する。この場合、制御装置20は電気ヒータ52、70、34及びミルクフォーム用ヒーターブロック64のうちの何れか2つを同時に通電しないように制御すると共に、何れか一つと前述したドリップコーヒーやエスプレッソコーヒーの抽出のために必要な機器(ポンプ32、エスプレッソ用ポンプ12、コーヒー抽出電磁弁15、26、エスプレッソ抽出メカ13等。保温用電気ヒータ35も含む。)への通電を可能とする。
また、制御装置20は実施例ではエスプレッソ用湯タンク11の電気ヒータ70とドリップ用湯タンク27の散湯用電気ヒータ34を優先して通電すると共に、操作スイッチ5への入力操作により、エスプレッソ用湯タンク11の電気ヒータ70とドリップ用湯タンク27の散湯用電気ヒータ34の何れを最優先とするかを設定可能とされている。
実施例の店舗ではドリップコーヒーが多く販売されることから散湯用電気ヒータ34が優先設定されたものとすると、制御装置20は電気ヒータ52、70、散湯用電気ヒータ34及びミルクフォーム用ヒーターブロック64のうちの散湯用電気ヒータ34への通電を最初に開始する。そして、ドリップ用湯タンク27内の湯の温度が前述した+93℃まで上昇したら散湯用電気ヒータ34の通電を断ち、以後は保温用電気ヒータ35を前述の如く通電制御してドリップ用湯タンク27内の湯の温度を+93℃〜+95℃に保持する。
次に、制御装置20は散湯用電気ヒータ34への通電を断った時点から今度はエスプレッソ用湯タンク11の電気ヒータ70への通電を開始する。そして、エスプレッソ用湯タンク11内の湯の温度が前述した+97℃まで上昇したら電気ヒータ70の通電を断つ。次に、制御装置20は電気ヒータ70への通電を断った時点から今度は給水用湯タンク10の電気ヒータ52への通電を開始する。そして、給水用湯タンク10内の湯の温度が前述した+70℃まで上昇したら電気ヒータ52の通電を断つ。そして、この電気ヒータ52への通電を断った時点からミルクフォーム用ヒーターブロック64への通電を開始し、前述した温度まで昇温させることになる。
尚、後述するようなドリップコーヒーの抽出によってドリップ用湯タンク27内の湯の温度が+93℃まで低下した場合には再び散湯用電気ヒータ34への通電を開始するが、その際に優先度の低い他の電気ヒータ52、70、ミルクフォーム用ヒーターブロック64に通電されている場合には、それら電気ヒータ52、70、ミルクフォーム用ヒーターブロック64への通電を中断する。同様にエスプレッソコーヒーの抽出によってエスプレッソ用湯タンク11内の湯の温度が+94℃まで低下した場合には再び電気ヒータ70への通電を開始するが、その際に優先度の低い他の電気ヒータ52、ミルクフォーム用ヒーターブロック64に通電されている場合には、それら電気ヒータ52、ミルクフォーム用ヒーターブロック64への通電を中断する。同様に給水用湯タンク10内の湯の温度が+68℃まで低下した場合には再び電気ヒータ52への通電を開始するが、その際に優先度の低いミルクフォーム用ヒーターブロック64に通電されている場合には、当該ミルクフォーム用ヒーターブロック64への通電を中断する。
このようにして、ドリップ用湯タンク27、エスプレッソ用湯タンク11、給水用湯タンク10内に所定量の湯を生成すると共に、ミルクフォーム用ヒーターブロック64を待機温度まで加熱する。
(3)エスプレッソコーヒーの抽出
そして、本体6に設けられた操作ボタン5でエスプレッソコーヒーを選択すると、制御装置20にエスプレッソコーヒーの抽出開始入力が行われる。これにより、制御装置20は湯循環電磁弁17を開放し、所定時間、実施例では4秒間、エスプレッソ用ポンプ12の低速運転を行う配管昇温工程を実行する。これにより、エスプレッソ用湯タンク11内の湯がエスプレッソ用ポンプ12により循環経路を構成する湯循環電磁弁17及び循環用配管18に送出される。
そして、エスプレッソ用ポンプ12とコーヒー抽出電磁弁15との間に位置する給湯側配管16内に滞留する湯は湯循環電磁弁17を介して循環用配管18に圧送され、エスプレッソ用湯タンク11に戻される。これにより、エスプレッソ用湯タンク11から供給される約+94℃乃至+97℃の高温の湯でエスプレッソ用ポンプ12とコーヒー抽出電磁弁15との間に位置する給湯側配管16の昇温を行うことができる。
上記配管昇温工程が開始してから上記所定時間経過後に、制御装置20は、エスプレッソ用ポンプ12の運転を停止し、次いで湯循環電磁弁17を閉鎖し、配管昇温工程を終了する。一方、エスプレッソ抽出メカ13は、前回のコーヒー液の供給工程の終了後に次回の抽出準備工程が行われている。即ち、抽出準備工程では、先ず、制御装置20はエスプレッソ抽出メカ13の前記シリンダーを直立した状態とし、予め豆貯蔵容器9内のコーヒー豆をコーヒーミル22において粉砕し、挽き豆(コーヒー原料粉末)とした状態で、粉計量器23にて計量された所定量のコーヒー粉をシュート24を介して前記シリンダー内に供給する。
その後、挽き豆の供給が終了した時点で、制御装置20はピストン駆動モータに通電して作動させ、シリンダーユニットの全体を下端を中心として下方に回動させ、シリンダーを所定の角度に傾斜させる。その後、制御装置20は蓋部材でシリンダーの上端開口を密封する。このとき、制御装置20はシリンダーユニットの傾斜に同期して蓋部材を下降させ、シリンダー内に挿入し、ピストン駆動モータの駆動を停止する。更に、制御装置20は、ピストン駆動モータを作動させてピストンを押し上げ、シリンダー内の挽き豆を圧縮する。
そして、この状態で制御装置20は、コーヒー液抽出工程に移行し、コーヒー抽出電磁弁15を開放すると共にエスプレッソ用ポンプ12を駆動する。これにより、0.3MPaの圧力で約+94℃乃至+97℃に加熱されたエスプレッソ用湯タンク11内上部の高温の湯がエスプレッソ抽出メカ13のシリンダーに供給される。
その後、制御装置20は蓋部材で密封されたシリンダーに高温且つ加圧された湯を給湯側配管16を介して供給し、圧縮された挽き豆からコーヒー液を抽出する。このとき、シリンダー内には、高温高圧の湯が供給されるため、抽出初期からコーヒー成分を十分に溶出した濃いコーヒー液、即ち、エスプレッソコーヒーが抽出される。
そして、エスプレッソ抽出メカ13のシリンダーにて抽出されたコーヒー液は、抽出側配管25及びコーヒー抽出電磁弁26を介してコーヒー液ノズル2に排出される。ここで、コーヒー抽出電磁弁26は、制御装置20により、一定圧力、例えば0.3MPa以上にてコーヒー液の流通を許容する状態とすることにより、抽出されるコーヒー液に一定圧力(本実施例では、エスプレッソ用ポンプ12にて0.3MPaの圧力が加えられており、シリンダーにおいて膨潤した挽き豆により更に圧力が加えられることから、実際には0.4MPa以上の圧力)を加えることができるようになる。これにより、コーヒー液の液面上にきめ細かい良質な泡を生成することができると共に、濃い芳醇な味と香りのコーヒー液を得ることができ、コーヒー液の品質の向上を図ることができるようになる。
そして、カップ等にコーヒー液の抽出を行っている際に、制御装置20によりミルクフォーム用電磁ポンプ63に通電されると、ミルクフォーマー61が上述した如く作動され、抽出されたコーヒー液の上面に泡立てられたミルクが注がれることになる。
ここで、このようなエスプレッソコーヒーの製造・抽出(一杯分約150ml)によってエスプレッソ用湯タンク11の水位が低下すると、連通管57で連通された給水用湯タンク10の水位は前記低水位にまで低下する。制御装置20は水位スイッチ53で当該低水位を検出すると、給水弁48、49を開いて給水用湯タンク10に飲料水を補充する。補充された水は降下管50を経て給水用湯タンク10内下部に流入する。そして、制御装置20は所定の満水位を検出することで給水弁48、49を閉じるが、この水位上昇分の湯が連通管57を経てエスプレッソ用湯タンク11内下部に流入することになる。尚、上述した如く給水弁48、49は、制御装置20により閉じられてから所定時間、即ち15秒間は、開放が禁止されている。
この場合に給水用湯タンク10からエスプレッソ用湯タンク11に分配供給される湯は、給水用湯タンク10内上部の温度の高い湯であるので(補充される水は降下管50で給水用湯タンク10内下部に流入するため、エスプレッソ用湯タンク11には+70℃程の湯が流入する)、給水用湯タンク10からの湯の補充に起因するエスプレッソ用湯タンク11内の湯の温度低下は最小限に抑えられる。
尚、制御装置20は前述の如くエスプレッソ用湯タンク11内の湯の温度が+94℃まで低下すると電気ヒータ70に通電して昇温させるが、+97℃まで上昇させる時間も短時間で済む。これにより、適温とされる+85℃より低くなる期間をできるだけ無くし、販売ロスの発生を防止する。
(4)ドリップコーヒーの抽出
次に、ドリップコーヒーを抽出する場合には、先ず粉チャンバー42内にドリップ用の挽き豆(コーヒー原料粉末)を所定量(本実施例では8杯分)投入して散水器41下側にセットする。そして、本体6に設けられた操作ボタン5でドリップコーヒーを選択すると、制御装置20にドリップコーヒーの抽出開始入力が行われる。これにより、制御装置20はドリップ用流量計28の出力に基づきポンプ32を運転して給水用湯タンク10からドリップ用湯タンク27に8杯分の湯、本実施例では、1回のドリップ抽出に要する湯量を例えば1700mlとしているため、当該1700mlを補充する。ドリップ用湯タンク27は常時満水とされているので、この補充された分の湯がドリップ用湯タンク27内上部からサイホン29に押し出され、このサイホン29を経て散水器41から粉チャンバー42に散布される。詳しくは、ドリップ用流量計28は、初めの1000パルスにおける流出量を検出し、制御装置20により当該1000パルスにおける流出量に基づきフィードバック制御を行うことで、所定量、即ち、本実施例では1700mlの湯が散水器41に供給されるようにする。
この場合において、給水用湯タンク10からの湯は接続管33下端からドリップ用湯タンク27内下部に流入するので、サイホン29にはドリップ用湯タンク27内上部の+96℃程の温度の高い湯が押し出されることになる。サイホン29に介設されるドリップ用流量計28は、ドリップ用湯タンク27から送出される湯を計測するため、常に、一定の温度、即ち本実施例では+95℃〜+96℃の湯を計測することとなる。これにより、流量計28における検出対象の温度にバラツキが生じないため、流量計28の流量検出の際に温度による検出誤差を最小限とすることができる。そのため、従来の如く流量計を給水用湯タンク10とドリップ用湯タンク27との間に設けていた場合に比して、温度による検出誤差を著しく小さくすることができることから、ドリップ用湯タンク27に供給される温度に影響されることなく、一定量の湯を散水器41に供給することができるようになる。
これにより、抽出毎に生じる質のバラツキを是正することが可能となり、抽出されるコーヒー液の濃度を一定に維持することができる。そのため、毎回、均一な質、高品質のコーヒー液を提供することができる。
尚、かかる場合において、ドリップ用流量計28は、所定の抵抗を有することから、蒸気管38が開放された状態であると、給水用湯タンク10からの給湯により押し出された湯の一部が当該蒸気管38から溢出してしまう。当該高温の湯により前記沸騰防止用バイメタルサーモスタット39が作動し、ポンプ32の運転が停止してしまう。そのため、本実施例では、かかる不都合を抑制するため、ポンプ32の運転時は、前記電磁開閉弁38Aを閉鎖し、当該蒸気管38からの湯の溢出を防止するものとする。これにより、多少、ドリップ用流量計28が抵抗となった場合であっても、蒸気管38から湯が流出し、サーモスタット39の作動によりポンプ32の運転が停止してしまう不都合を回避することができる。また、円滑にドリップ用湯タンク27から散水器41へ湯を流出させることが可能となる。
そして、粉チャンバー42内に上述した如く+95℃程の温度の高い湯が押し出されることで、粉チャンバー42内では挽き豆が十分に蒸されて円滑なコーヒー液の抽出が行われることになる。
この粉チャンバー42内で抽出されたコーヒー液は下端から保温ポット43内に流下して貯溜される。この保温ポット43は1乃至数リットルの容量を有しており、また、真空二重構造とされて高い保温能力を備えているので、保温用のヒーターなしで抽出されたドリップコーヒーを所定期間適温に保温することができる。そして、ドリップコーヒーを提供する際には保温ポット43のコーヒー抽出手動弁47を開放し、保温ポット43内のドリップコーヒーをその下方に配置された保温デカンタ46内に排出して、保温デカンタ46にてカップに注ぐことになる。この保温デカンタ46も真空二重構造とされて高い保温能力を備えているので、保温用のヒーターなしで内部のドリップコーヒーを所定期間適温に保温できる。
尚、実施例ではドリップコーヒーとエスプレッソコーヒーを例にあげて説明したが、散湯式コーヒーや加圧抽出式コーヒーはこれらに限定されるものでは無く、各抽出方式の如何なる名称のコーヒーも含むものとする。
本実施例のコーヒー飲料製造装置の正面図である。 図1のコーヒー飲料製造装置の側面図である。 図1のコーヒー飲料製造装置の内部構成図である。 同じく図1のコーヒー飲料製造装置の内部構成図である。
1 コーヒー飲料製造装置
1A ドリップコーヒー抽出部
1B エスプレッソコーヒー抽出部
5 操作ボタン
6 本体
10 給水用湯タンク
20 制御装置
27 ドリップ用湯タンク(散湯用湯タンク)
28 ドリップ用流量計
29 サイホン
30 フローワッシャー
31 連通管(給湯経路)
33 接続管
34 電気ヒータ(散湯用電気ヒータ)
37 ドリップ用サーミスタ
38 蒸気管
38A 電磁開閉弁
41 散水器
42 粉チャンバー
48、49 給水弁
52 電気ヒータ(給水用電気ヒータ)

Claims (2)

  1. ヒータを備えてコーヒー液抽出用の所定温度の湯を生成する散湯用湯タンクと、
    該散湯用湯タンクの前段に設けられ、供給された水をヒータにより加熱して予め所定温度の湯を生成する給水用湯タンクと、
    該給水用湯タンク内の湯を前記散湯用湯タンクに搬送する搬送手段と
    前記散湯用湯タンクからの蒸気及び/又はオーバーフロー湯を排出するための蒸気管と、
    該蒸気管を開閉する開閉手段とを備え、
    前記搬送手段により前記給水用湯タンク内の湯を前記散湯用湯タンクに所定量供給することで、当該散湯用湯タンク内の湯を散水器に送出し、該散水器からコーヒー原料粉末に湯を散布してコーヒー液を抽出し、
    前記散湯用湯タンクから散水器への給湯量を検出するための流量検出手段を当該散湯用湯タンクと散水器の間に設け、該流量検出手段の出力に基づいて前記搬送手段を制御すると共に、
    常には前記開閉手段を開放しており、前記搬送手段の動作中は前記開閉手段を閉じることを特徴とするコーヒー飲料製造装置。
  2. 前記搬送手段の出口側に、圧力変化に応じて流量を均一化する手段を設けたことを特徴とする請求項1のコーヒー飲料製造装置。
JP2005013868A 2005-01-21 2005-01-21 コーヒー飲料製造装置 Expired - Fee Related JP4326480B2 (ja)

Priority Applications (1)

Application Number Priority Date Filing Date Title
JP2005013868A JP4326480B2 (ja) 2005-01-21 2005-01-21 コーヒー飲料製造装置

Applications Claiming Priority (1)

Application Number Priority Date Filing Date Title
JP2005013868A JP4326480B2 (ja) 2005-01-21 2005-01-21 コーヒー飲料製造装置

Publications (2)

Publication Number Publication Date
JP2006198213A JP2006198213A (ja) 2006-08-03
JP4326480B2 true JP4326480B2 (ja) 2009-09-09

Family

ID=36956709

Family Applications (1)

Application Number Title Priority Date Filing Date
JP2005013868A Expired - Fee Related JP4326480B2 (ja) 2005-01-21 2005-01-21 コーヒー飲料製造装置

Country Status (1)

Country Link
JP (1) JP4326480B2 (ja)

Families Citing this family (4)

* Cited by examiner, † Cited by third party
Publication number Priority date Publication date Assignee Title
US8522668B2 (en) * 2008-08-08 2013-09-03 The Coca-Cola Company Systems and methods for on demand iced tea
JP5199783B2 (ja) * 2008-08-18 2013-05-15 三洋電機株式会社 飲料供給装置
GB2530520A (en) 2014-09-24 2016-03-30 Sean Martin Moran A sprayhead for a coffee brewing machine
CN106361160B (zh) * 2016-10-25 2023-08-25 广东宏日科技股份有限公司 全自动咖啡壶螺旋下水结构

Also Published As

Publication number Publication date
JP2006198213A (ja) 2006-08-03

Similar Documents

Publication Publication Date Title
CA2780698C (en) Beverage preparation machines
EP2303076B1 (en) Device and method for producing a frothed whitened beverage
US20060286262A1 (en) Automatic flavoring dispenser for automated espresso machine
CN106419541B (zh) 饮料供给装置
EP3713458B1 (en) Machine for preparing beverages and method of control
JP7343497B2 (ja) 飲料を調製するための装置及び方法
JP4397341B2 (ja) ミルクフォーマー
JP2006014922A (ja) コーヒー飲料製造装置
JP4326480B2 (ja) コーヒー飲料製造装置
JP4162649B2 (ja) コーヒー飲料製造装置
JP4711747B2 (ja) ミルクフォーマー及びそれを備えたコーヒー飲料製造装置
JP4393414B2 (ja) コーヒー飲料製造装置
US20220183501A1 (en) Beverage-Making Method
JP2007259928A (ja) ミルクフォーマー及びコーヒー飲料製造装置
GB2475290A (en) Nozzle for beverage preparation machines
JP7245991B2 (ja) 飲料供給装置
EP4395613A1 (en) Discharge of rinsing water from a brew chamber of a beverage making device
JP2006158772A (ja) コーヒー飲料製造装置
JPH01285221A (ja) 電気コーヒー沸かし器の制御方法
HK1230898B (en) Beverage preparation machine
JP2011242914A (ja) カップ式自動販売機

Legal Events

Date Code Title Description
A621 Written request for application examination

Free format text: JAPANESE INTERMEDIATE CODE: A621

Effective date: 20071218

A977 Report on retrieval

Free format text: JAPANESE INTERMEDIATE CODE: A971007

Effective date: 20090129

A131 Notification of reasons for refusal

Free format text: JAPANESE INTERMEDIATE CODE: A131

Effective date: 20090203

A521 Written amendment

Free format text: JAPANESE INTERMEDIATE CODE: A523

Effective date: 20090401

TRDD Decision of grant or rejection written
A01 Written decision to grant a patent or to grant a registration (utility model)

Free format text: JAPANESE INTERMEDIATE CODE: A01

Effective date: 20090512

A01 Written decision to grant a patent or to grant a registration (utility model)

Free format text: JAPANESE INTERMEDIATE CODE: A01

A61 First payment of annual fees (during grant procedure)

Free format text: JAPANESE INTERMEDIATE CODE: A61

Effective date: 20090609

FPAY Renewal fee payment (prs date is renewal date of database)

Free format text: PAYMENT UNTIL: 20120619

Year of fee payment: 3

FPAY Renewal fee payment (prs date is renewal date of database)

Free format text: PAYMENT UNTIL: 20120619

Year of fee payment: 3

FPAY Renewal fee payment (prs date is renewal date of database)

Free format text: PAYMENT UNTIL: 20130619

Year of fee payment: 4

LAPS Cancellation because of no payment of annual fees