JP4272018B2 - 診療用照明器のモード表示装置 - Google Patents

診療用照明器のモード表示装置 Download PDF

Info

Publication number
JP4272018B2
JP4272018B2 JP2003317827A JP2003317827A JP4272018B2 JP 4272018 B2 JP4272018 B2 JP 4272018B2 JP 2003317827 A JP2003317827 A JP 2003317827A JP 2003317827 A JP2003317827 A JP 2003317827A JP 4272018 B2 JP4272018 B2 JP 4272018B2
Authority
JP
Japan
Prior art keywords
mode
illuminance
display
lighting
switching means
Prior art date
Legal status (The legal status is an assumption and is not a legal conclusion. Google has not performed a legal analysis and makes no representation as to the accuracy of the status listed.)
Expired - Fee Related
Application number
JP2003317827A
Other languages
English (en)
Other versions
JP2005080959A (ja
Inventor
基央 桜井
徹 高橋
晃 梅影
陽介 清水
Current Assignee (The listed assignees may be inaccurate. Google has not performed a legal analysis and makes no representation or warranty as to the accuracy of the list.)
Takara Belmont Corp
Original Assignee
Takara Belmont Corp
Priority date (The priority date is an assumption and is not a legal conclusion. Google has not performed a legal analysis and makes no representation as to the accuracy of the date listed.)
Filing date
Publication date
Application filed by Takara Belmont Corp filed Critical Takara Belmont Corp
Priority to JP2003317827A priority Critical patent/JP4272018B2/ja
Publication of JP2005080959A publication Critical patent/JP2005080959A/ja
Application granted granted Critical
Publication of JP4272018B2 publication Critical patent/JP4272018B2/ja
Anticipated expiration legal-status Critical
Expired - Fee Related legal-status Critical Current

Links

Images

Landscapes

  • Dental Tools And Instruments Or Auxiliary Dental Instruments (AREA)

Description

本発明は、医療、特に、歯科用治療において患者の口元を照明する照明器において、患者の治療を行うための高い照度時と低い照度時との表示状態と、コンポジットレジンを使用している時の治療時の照度の表示状態を明確に表示することで、外部から照明器に取付けられたモード表示手段を見ることで治療モードを知ることが可能な診療用照明器のモード表示装置に関する。
従来における歯科用治療の時に患者の口元を照明する照明器にあっては、虫歯等の治療を行う時に点灯し、また、該治療が終了した時に消灯するための手段として、赤外線を利用した非接触スイッチを利用し、消灯時に非接触スイッチに手をかざすことで点灯させ、消灯させるためにはもう一度非接触スイッチに手をかざすことで消灯させるといった技術が、例えば、実公平7−1125号公報に開示されている。そして、その効果としては、非接触スイッチにより衛生的であるというものであった。
この公知例にあっては、単に、照明灯の点灯・消灯を制御するだけのものであるため、治療を行う明るさで前記照明灯を点灯した状態で、虫歯予防の治療において治療を行った部分にコンポジットレジンを埋めた場合、治療中のコンポジットレジンが硬化してしまうといった問題がある。
このような問題を解決するために、本出願人は先願の出願である特願2002−104966を出願した。この出願の発明は、照度の高い治療(診療)モードと照度の低いコンポジットモードとの切り換えを非接触スイッチで行うこと、また、該非接触スイッチに手をかざす時間を短くすることで照明灯の点灯・消灯も行えるようにしたこと、さらに、治療モード時の照度をそれぞれ複数記憶させて照度の変更ができるようにした技術である。
実公平7−1125号公報
ところで、前記したような治療モードにおいて照度の切り換えが行えるようにした場合に、医師やアシスタントが照明器より放射される光量を見ただけでは、治療モードの暗い照度であるのか、コンポジットモード時の照度であるのかの判別が難しくなるといった問題があった。
本発明は前記した問題点を解決せんとするもので、その目的とするところは、少なくとも治療モードの照度2つと、また、コンポジットモードとの計少なくとも3つの照度の切り換えが行えるようにし、かつ、前記3つの各モードの状態を表示する表示手段を、照明器の何れからの方向からも認識可能な位置に配置することで、照明器よりの照度が何れのモードであるかの確認を容易に把握できる診療用照明器のモード表示装置を提供せんとするにある。
本発明の診療用照明器のモード表示装置は前記した目的を達成せんとするもので、請求項1の手段は、診療時に施術患部を照明する位置に変位可能な照明装置と、医師やアシスタントが目視できる照明装置の近傍に取付けられ少なくとも2色の色を発光する発光ダイオード等が取付けられた表示用光源と、前記照明装置を低照度での点灯と高照度での点灯の切り換えを行う照度切換手段と、前記照明装置を診療モードとコンポジットモードとを切り換え、診療モード時において照明装置が点灯状態である場合には前記診療モード時の低照度よりも低い照度で前記照明装置を点灯させるコンポジットモードに切り換えるモード切換手段と、前記照度切換手段の操作により前記表示用光源の何れかを選択して点灯させ、また、前記モード切換手段の操作によって前記表示用光源を点滅させる制御回路とを具備したことを特徴とする。
請求項2の手段は、前記した請求項1において、前記表示用光源は、前記照明装置を水平方向に回動自在に取付けるヨークの下端に収容された基板に取付けられ、かつ、該基板には前記照度切換手段が取付けられ、また、前記ヨークには前記表示用光源よりの光を拡散して外部に放射する光拡散レンズが取付けられていることを特徴とする。
請求項3の手段は、前記した請求項1において、前記制御回路への通電が元電源のオフにより遮断されると、前記表示用電源に対する通電が遮断されるようにしたことを特徴とする
請求項4の手段は、前記した請求項1において、前記モード切換手段は、非接触スイッチであり、該非接触スイッチが予め設定された時間より短い時間だけ手の平等を検出した場合には前記照明装置のオン・オフを制御し、前記設定時間より長い時間以上手の平等を検出した場合には前記コンポジットモードに切り換えることを特徴とする。
請求項5の手段は、前記した請求項4において、前記モード切換手段は、前記照明装置におけるブラケットフレームの下面側に取付けられていることを特徴とする。
本発明は前記したように、診療モード時においては照度の違いに応じて表示用光源を選択点灯させることで診療モード時の明るさが表示され、また、コンポジットモード時には前記点灯状態にある表示用光源を点滅させることにより、コンポジットモードであることを表示するので、医師やアシスタントが照明装置よりの照度が如何なる状態であるかを明確に判断でき、従って、診療(治療)時において照明装置からの光を直接目で確認することなく知ることができるので、特に、コンポジットレジンを使用しての治療時にレジンが誤って硬化してしまうなどの恐れが防止できる。
また、制御回路への通電が行われていないランプの消灯状態においては、表示用光源を消灯するので、元電源の投入状態であるか否かの判別が行え、従って、ランプの寿命で交換が必要となるような場合にも、表示用光源の消灯状態からランプへの通電が行われていないことを確認でき、感電することがないものである。
さらに、表示用光源からの光は光拡散レンズを介して照射されるため、何れの方向からも照明装置の点灯状態(照度の状態)を確認できるので、医師やアシスタントによる操作ミスを防止することができる。
また、モード切換手段が非接触スイッチとすることで、頻繁に切り換え操作を行う必要のあるスイッチに手を触れなくともモード切り換えが行え、衛生面でも有利である等の効果を有するものである。
本発明は、少なくとも治療モードの照度2つと、コンポジットモードとの計少なくとも3つの照度の切り換えが行えるようにし、かつ、前記3つの各モードの状態を表示する表示手段を、照明器の何れからの方向からも認識可能な位置に配置した。
以下、本発明に係る診療用照明器のモード表示装置(歯科用に応用した場合)の実施例を図1〜図8と共に説明する。
図1、図2は全体の正面図と側面図とを示し、1は例えば、スピットンボールやアシスタントが使用する器具が装備されている機器から起立されたL字状の起立杆、2は該起立杆1の水平部先端に一端が垂直軸を支点として回動自在に軸支された上下方向に回動するバランスアーム、3は該バランスアーム2の他端に水平軸を支点として回動自在に取付けられたヨークにして、該ヨーク3は前記バランスアーム2の軸支されたヨークジョイント3aと、該ヨークジョイント3aに対して回転自在に形成されたヨーク本体3bとより構成されている。
また、ヨーク本体3bには斜め下方に延長された半円弧状のアーム3cが形成されており、該アーム3cに対して水平軸を支点として回動自在にブラケットフレーム(図示せず)が取付けられ、このブラケットフレームに対して照明装置4が固定されている。そして、照明装置4の左右両側にはハンドル4aが固定されており、該ハンドル4aを操作することで前記した各軸部によって水平方向、垂直方向および左右方向に照明装置4を変位させることができ、これにより、照明装置4より放射される放射光を患者の口元に向けることが可能となっている。なお、41は照明装置4内に収容されたランプ、4bは前記ブラケットフレームの背面を覆うブラケットカバーである。
前記ブラケットフレームの下方には、モード切換手段5である非接触スイッチあるいは手によって操作するトグルスイッチが取付けられ、該モード切換手段5の切り換えによって診療(虫歯の治療等)状態からコンポジット状態への切り換え、あるいは、逆の切り換えが行われる。なお、前記非接触スイッチとしては、例えば、赤外線LEDよりの赤外線を人体(手のひら)で反射させて、該反射された赤外線を検出することでスイッチの切り換えが行われるものである。
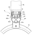
次に、本発明の要部であるモード表示装置6の詳細を図3、図4と共に説明する。 モード表示装置6は前記したヨーク本体3bの下部に取付けられており、該モード表示装置6は表示用光源61aおよび該表示用光源が取付けられた基板61と、前記表示用光源61aよりの光を拡散して外部に放射するアクリル樹脂等からなる光拡散レンズ62とから構成されている。
前記表示用光源61aは1対のチップ型LED等のLEDであって、それぞれのLEDは橙と緑の光を発光する複合型LEDとなっており、また、該表示用光源61aを点灯・消灯あるいは点滅させるための点灯回路が実装されている。なお、1対の表示用光源はそれぞれ橙と緑の一色のみで点灯するものであってもよく、かつ、色としては橙と緑以外かの青等の色、あるいは、赤、緑、青等の混合色であってもよい。
前記基板61には診療モードにおいて、前記表示用光源61aを橙色あるいは緑色に点灯させるためのモーメンタリースイッチ等の照度切換手段63が実装されている。そして、基板61と光拡散レンズ62はネジ止め等の手段によって一体化された状態で前記ヨーク本体3b内に組み込まれ、該組み込んだ状態において光拡散レンズ62はヨーク本体3bの下端に露出した状態となっている。また、照度切換手段63は光拡散レンズ62の中央部分を貫通して下方に突出している。
前記光拡散レンズ62には、前記基板61と一体化した状態において、前記表示用光源61aと対向する位置に、周面方向に表示用光源61aよりの光を放散さるためのレンズ部62aが形成され、かつ、周面と粗面に形成され反射拡散面62bとなっている。
前記光拡散レンズ62の下面にはゴム等の柔軟性材料による椀状のキャップ64が着脱自在に取付けられ、該キャップ64を下方から押すことにより、前記照度切換手段63の操作部63aが押されてスイッチの切り換えが行われ、これにより、H状態のランプがL状態に、また、L状態のランプがH状態に切り換えられ、かつ、点灯中の表示用光源61aの発光色を緑から橙、あるいは、橙から緑に切り換えられる。
次に、前記したモード表示装置6における表示用光源61aの点灯を制御する
ための制御回路を図5のブロック図と共に説明する。なお、制御回路は歯科用ユニット側の例えば、ドクターテーブル等に組み込まれている。
63は前記した診療モード時において照度を切り換えるためのプッシュスイッチである照度切換手段、5は前記した非接触スイッチやトグルスイッチであるモード切換手段、71は歯科ユニットであるドクターテーブル等に組み込まれた電源のオン・オフや前記モード切換手段と同様に扱うためのユニット側操作スイッチ、72はユニット側に設けられている各種のスイッチ(例えば、治療椅子の上下、背凭れの起伏等)を制御用スイッチから、前記ユニット側操作スイッチ71が操作されたことを判断して後述するコンピュータである信号処理回路73に前記電源のオン・オフや前記モード切換手段が操作されたことの信号を送出するユニット側制御部である。
73は図6〜図8に示すフローチャートにて動作制御を行うマイコン信号処理回路、74は前記表示用光源61aが実装された基板61に組み込まれた点灯回路、61aは前記した表示用光源61aにして、前記した信号処理回路73よりの信号によって前記点灯回路74を介して点灯(緑、橙)・点滅制御される。なお、図示していないが、前記したユニットには前記制御回路の電源のオン・オフを行うための元電源スイッチが設けられている。
次に、前記したブロック図の動作を図6〜図8と共に説明する。
先ず、図6の電源投入状態による表示切り換えの動作について説明する。
元電源が投入されているか否かを信号処理回路73は判断して、元電源が投入されていないと判断した場合には点灯されている表示用光源61aがある場合には、該表示用光源61a(以下、単にLED61aという)を消灯し、また、消灯状態であってもステップS1に戻って継続して元電源が投入されるか否かを監視し続ける(ステップS1)。
そして、前記判断において元電源が投入されたと判断した場合には、前回に元電源が遮断された時の照明装置4におけるランプの照度が信号処理回路73に記憶されているので、前回の照度がHであるか否かを信号処理回路73で判断し(ステップS3)、Hであると判断すると緑色のLED61aを点灯させ(ステップS4)、Lであると判断すると橙色のLED61aを点灯させる(ステップS5)。
次に、前記した元電源が投入されている状態において、照度切換手段63の切
り換えを行って診療モード時における施術のためのランプ41の照度を切り換える動作を図7と共に説明する。
先ず、信号処理回路はモーメンタリースイッチである照度切換手段63が操作されたか否かを監視し、操作が行われなかった判断した場合には、照度切換手段63が操作されるまで監視を続ける(ステップS11)。
そして、前記監視において照度切換手段63が操作されたと判断すると、前回の照明装置4におけるランプの照度がH(緑色のLEDが点灯状態)に設定されていたかを判断し(ステップS12)、照度がHである場合には前記ランプの照度をLに切り換えると共に橙色のLEDを点灯させ(ステップS13)、前記判断において前記ランプの照度がHでないと判断した場合には、ランプの照度をHに切り換えると共に緑色のLEDを点灯させる(ステップS14)。
次に、非接触スイッチであるモード切換手段5に手を近づけてモードの切り換え(診療モードからコンポジットモードへ、あるいはその逆モード)および照明装置のランプの点滅制御を図8と共に説明する。
信号処理回路73は非接触スイッチであるモード切換手段5に手が近づけられたと判断されると、近づけている時間が予め設定した時間より短いか否かの判断を行い(ステップS21)、前記設定した時間より短いと判断した場合には、照明装置4におけるランプのオン・オフ制御であると信号処理回路73は判断して、ランプが点灯状態である時には消灯させ、消灯状態である時には点灯させる(ステップS22)。なお、この状態においては、ランプのみの点灯・消灯制御が行われ、表示用光源61aはモード切り換えが行われた状態が維持される。
そして、手近づけられた時間が前記設定した時間より長い判断した場合には、以前におけるランプの点灯状態がHでの点灯状態(LED緑色で点灯)であったか否かを信号処理回路73は判断し(ステップS23)、Hでないと判断すると橙色のLEDをコンポジットモードを示す点滅操作に切り換えると共にランプをコンポジットモードであるLLに切り換え(ステップS2)、また、Hであると判断すると点灯中の緑色LEDをコンポジットモードを示す点滅操作に切り換えると共にランプをコンポジットモードであるLLに切り換える(ステップS2)。
前記した動作においてモード切換手段5である非接触スイッチに手を近づける時間によってランプのオン・オフ制御を行い、また、診療モードからコンポジットモードへの切り換えや逆の切り換えを行うようにしたが、これらの動作はユニットに設けられたユニット側操作スイッチによって行うことも可能である。また、このようにユニット側操作スイッチによって前記動作の切り換えを行う場合には、前記モード切換手段5である非接触スイッチをトグルスイッチに置き換えてもよい。
前記した実施例にあっては、歯科用のモード表示装置として説明したが、その他の診療、例えば、産婦人科、泌尿器科等の診療、治療において、施術患部や医師の作業手元部位を照明するものにも応用できるものである。
診療用照明装置の全体を示す正面図である。 同上の側面図である。 本発明のモード表示装置の要部を示す斜視図である。 同上の断面図である。 モード表示装置の制御回路を示すブロック図である。 電源投入状態による表示切り換え動作を示すフローチャートである。 照度切換手段による表示切り換え動作を示すフローチャートである。 モード切換手段によるモード切り換え動作を示すフローチャートである。
符号の説明
4 照明装置
5 モード切換手段(非接触スイッチ)
6 モード表示装置
61a 表示用光源(LED)
62 光拡散レンズ
63 照度切換手段

Claims (5)

  1. 診療時に施術患部を照明する位置に変位可能な照明装置と、
    医師やアシスタントが目視できる照明装置の近傍に取付けられ少なくとも2色の色を発光する発光ダイオード等が取付けられた表示用光源と、
    前記照明装置を低照度での点灯と高照度での点灯の切り換えを行う照度切換手段と、
    前記照明装置を診療モードとコンポジットモードとを切り換え、診療モード時において照明装置が点灯状態である場合には前記診療モード時の低照度よりも低い照度で前記照明装置を点灯させるコンポジットモードに切り換えるモード切換手段と、
    前記照度切換手段の操作により前記表示用光源の何れかを選択して点灯させ、また、前記モード切換手段の操作によって前記表示用光源を点滅させる制御回路と、
    を具備したことを特徴とする診療用照明器のモード表示装置。
  2. 前記表示用光源は、前記照明装置を水平方向に回動自在に取付けるヨークの下端に収容された基板に取付けられ、かつ、該基板には前記照度切換手段が取付けられ、また、前記ヨークには前記表示用光源よりの光を拡散して外部に放射する光拡散レンズが取付けられていることを特徴とする請求項1記載の診療用照明器のモード表示装置。
  3. 前記制御回路への通電が元電源のオフにより遮断されると、前記表示用電源に対する通電が遮断されるようにしたことを特徴とする請求項1記載の診療用照明器のモード表示装置。
  4. 前記モード切換手段は、非接触スイッチであり、該非接触スイッチが予め設定された時間より短い時間だけ手の平等を検出した場合には前記照明装置のオン・オフを制御し、前記設定時間より長い時間以上手の平等を検出した場合には前記コンポジットモードに切り換えることを特徴とする請求項1記載の診療用照明器のモード表示装置。
  5. 前記モード切換手段は、前記照明装置におけるブラケットフレームの下面側に取付けられていることを特徴とする請求項4記載の診療用照明器のモード表示装置。
JP2003317827A 2003-09-10 2003-09-10 診療用照明器のモード表示装置 Expired - Fee Related JP4272018B2 (ja)

Priority Applications (1)

Application Number Priority Date Filing Date Title
JP2003317827A JP4272018B2 (ja) 2003-09-10 2003-09-10 診療用照明器のモード表示装置

Applications Claiming Priority (1)

Application Number Priority Date Filing Date Title
JP2003317827A JP4272018B2 (ja) 2003-09-10 2003-09-10 診療用照明器のモード表示装置

Publications (2)

Publication Number Publication Date
JP2005080959A JP2005080959A (ja) 2005-03-31
JP4272018B2 true JP4272018B2 (ja) 2009-06-03

Family

ID=34417274

Family Applications (1)

Application Number Title Priority Date Filing Date
JP2003317827A Expired - Fee Related JP4272018B2 (ja) 2003-09-10 2003-09-10 診療用照明器のモード表示装置

Country Status (1)

Country Link
JP (1) JP4272018B2 (ja)

Families Citing this family (2)

* Cited by examiner, † Cited by third party
Publication number Priority date Publication date Assignee Title
US7443296B2 (en) * 2006-07-21 2008-10-28 Alcon, Inc. Smart connector system for surgical machine
JP2008093216A (ja) * 2006-10-12 2008-04-24 Takara Belmont Co Ltd 歯科治療用照明装置

Also Published As

Publication number Publication date
JP2005080959A (ja) 2005-03-31

Similar Documents

Publication Publication Date Title
KR100602515B1 (ko) 외과용 조명 시스템의 인체공학적 제어기
US6902290B2 (en) Finger-mounted light for variable light output
US20070030702A1 (en) Operating Lamp Controls
US8308333B2 (en) Surgical lamp with illuminated handles
KR101471884B1 (ko) 휴대용 핸드피스 레이저 치료 장치
JP2015228347A (ja) 歯科用ヘッドライト装置
JP4272018B2 (ja) 診療用照明器のモード表示装置
JP5843360B2 (ja) 歯科用照明器具
JP4229443B2 (ja) 照明装置付き医療用器具
JP7659921B2 (ja) ネックバンド型医療用ヘッドライトシステム
JP2011218092A (ja) 医療用照明装置及び医療用診断装置
JP3598222B2 (ja) 照明装置
WO2009122698A1 (ja) 歯科診療用照明装置
JP2006288965A (ja) 光線治療器
KR101352977B1 (ko) 조명유닛이 구비된 구강검사경
JP2016087299A (ja) 口腔内照明具およびそのカバー部材
JP2018139642A (ja) 光施療装置および電子機器
JP2007105159A (ja) 照明装置付き人工透析装置
JP3098051U (ja) 医療用照明器具
KR20130034071A (ko) 의료기기에 탈 부착되는 조명장치
CN109140293B (zh) 一种内腔辅助探照灯
JP3054339U (ja) 照明装置
JP3168564U (ja) ローソク電池灯
JP2518263Y2 (ja) 無影灯
JP2007044334A (ja) 電子機器、その殺菌処理方法、および無影灯

Legal Events

Date Code Title Description
A621 Written request for application examination

Free format text: JAPANESE INTERMEDIATE CODE: A621

Effective date: 20050623

A131 Notification of reasons for refusal

Free format text: JAPANESE INTERMEDIATE CODE: A131

Effective date: 20080520

A521 Written amendment

Free format text: JAPANESE INTERMEDIATE CODE: A523

Effective date: 20080625

A131 Notification of reasons for refusal

Free format text: JAPANESE INTERMEDIATE CODE: A131

Effective date: 20081209

A521 Written amendment

Free format text: JAPANESE INTERMEDIATE CODE: A523

Effective date: 20090121

TRDD Decision of grant or rejection written
A01 Written decision to grant a patent or to grant a registration (utility model)

Free format text: JAPANESE INTERMEDIATE CODE: A01

Effective date: 20090217

A01 Written decision to grant a patent or to grant a registration (utility model)

Free format text: JAPANESE INTERMEDIATE CODE: A01

A61 First payment of annual fees (during grant procedure)

Free format text: JAPANESE INTERMEDIATE CODE: A61

Effective date: 20090226

FPAY Renewal fee payment (event date is renewal date of database)

Free format text: PAYMENT UNTIL: 20120306

Year of fee payment: 3

R150 Certificate of patent or registration of utility model

Ref document number: 4272018

Country of ref document: JP

Free format text: JAPANESE INTERMEDIATE CODE: R150

Free format text: JAPANESE INTERMEDIATE CODE: R150

FPAY Renewal fee payment (event date is renewal date of database)

Free format text: PAYMENT UNTIL: 20130306

Year of fee payment: 4

R250 Receipt of annual fees

Free format text: JAPANESE INTERMEDIATE CODE: R250

FPAY Renewal fee payment (event date is renewal date of database)

Free format text: PAYMENT UNTIL: 20130306

Year of fee payment: 4

FPAY Renewal fee payment (event date is renewal date of database)

Free format text: PAYMENT UNTIL: 20140306

Year of fee payment: 5

R250 Receipt of annual fees

Free format text: JAPANESE INTERMEDIATE CODE: R250

R250 Receipt of annual fees

Free format text: JAPANESE INTERMEDIATE CODE: R250

R250 Receipt of annual fees

Free format text: JAPANESE INTERMEDIATE CODE: R250

R250 Receipt of annual fees

Free format text: JAPANESE INTERMEDIATE CODE: R250

R250 Receipt of annual fees

Free format text: JAPANESE INTERMEDIATE CODE: R250

R250 Receipt of annual fees

Free format text: JAPANESE INTERMEDIATE CODE: R250

LAPS Cancellation because of no payment of annual fees