JP4265727B2 - 扉開閉機構 - Google Patents

扉開閉機構 Download PDF

Info

Publication number
JP4265727B2
JP4265727B2 JP2001193340A JP2001193340A JP4265727B2 JP 4265727 B2 JP4265727 B2 JP 4265727B2 JP 2001193340 A JP2001193340 A JP 2001193340A JP 2001193340 A JP2001193340 A JP 2001193340A JP 4265727 B2 JP4265727 B2 JP 4265727B2
Authority
JP
Japan
Prior art keywords
door
locking position
guide
opening
pin
Prior art date
Legal status (The legal status is an assumption and is not a legal conclusion. Google has not performed a legal analysis and makes no representation as to the accuracy of the status listed.)
Expired - Lifetime
Application number
JP2001193340A
Other languages
English (en)
Other versions
JP2003003731A (ja
Inventor
隆司 義川
宏 吉村
Current Assignee (The listed assignees may be inaccurate. Google has not performed a legal analysis and makes no representation or warranty as to the accuracy of the list.)
Sharp Corp
Original Assignee
Sharp Corp
Priority date (The priority date is an assumption and is not a legal conclusion. Google has not performed a legal analysis and makes no representation as to the accuracy of the date listed.)
Filing date
Publication date
Application filed by Sharp Corp filed Critical Sharp Corp
Priority to JP2001193340A priority Critical patent/JP4265727B2/ja
Priority to TW091103302A priority patent/TW521142B/zh
Priority to US10/471,612 priority patent/US7506474B2/en
Priority to EP02705074A priority patent/EP1371923B1/en
Priority to DE60226312T priority patent/DE60226312D1/de
Priority to KR1020037011831A priority patent/KR100691577B1/ko
Priority to CNB028097726A priority patent/CN1289888C/zh
Priority to PCT/JP2002/001985 priority patent/WO2002075229A1/ja
Priority to ES02705074T priority patent/ES2302795T3/es
Priority to HK04108002.5A priority patent/HK1065095B/xx
Publication of JP2003003731A publication Critical patent/JP2003003731A/ja
Application granted granted Critical
Publication of JP4265727B2 publication Critical patent/JP4265727B2/ja
Anticipated expiration legal-status Critical
Expired - Lifetime legal-status Critical Current

Links

Images

Landscapes

  • Wing Frames And Configurations (AREA)
  • Hinges (AREA)
  • Specific Sealing Or Ventilating Devices For Doors And Windows (AREA)
  • Refrigerator Housings (AREA)

Description

【0001】
【発明の属する技術分野】
本発明は、冷蔵庫の貯蔵室等の開口部の中程を境に両側に開閉する扉開閉機構に関する。
【0002】
【従来の技術】
従来の両開きの扉開閉機構は、冷蔵庫の貯蔵室等の開口部の中央に仕切板が設けられ、左右の扉が前記仕切板に当接して開口部が閉じられるようになっている。この仕切板は開口部を通して作業する際に邪魔になるため取り外すと、左右の扉間に隙間が生じる。冷蔵庫等は密閉性を必要とするため両扉間の隙間はパッキン等により塞がれるようになっている。
【0003】
ところが、パッキン等を設けると、一方の扉を開く際に該扉に取付けられたパッキンが他方の扉に取付けられたパッキンに摺動する。このため、摺動による摩擦力によって扉の開閉時に大きな操作力を必要とする問題や、パッキンの破損が発生する問題があった。また、パッキン等を設けない場合であっても、塵埃の侵入防止のために両扉間の隙間を狭くすると、一方の扉の端面が回動する際に他方の扉と干渉する問題があった。
【0004】
この問題を解決するために、特公昭60−24390号公報には一方の扉が回動する前に他方の扉から離れる方向に略直線状にスライドする扉開閉機構が開示されている。この扉開閉機構は、開口部の外壁を形成する筐体から手前に突設された受け部に第1回動軸が設けられる。
【0005】
受け部上にはレバー部材が載置され、第1回動軸にはレバー部材の一端に形成された孔部が嵌合される。レバー部材の他端には第2回動軸が一体に形成され、扉が第2回動軸に枢支されている。また、扉を開くと第1回動軸を中心にレバー部材が回動するように案内部材が設けられ、レバー部材を戻す方向に付勢するバネが設けられている。
【0006】
扉の一方を開くと、案内部材に案内されてレバー部材が回動し、扉がレバー部材の回動に伴って所定量だけ略直線状にスライドする。これにより扉は他方の扉から離れる。その後、扉が開口部から離れ、案内部材の係合が解除されるとレバー部材はバネの付勢力により元の状態に戻る。そして、第2回動軸を中心に扉が回動して開口部か開放される。
【0007】
扉を閉じる際には、扉は第2回動軸を中心に筐体の近傍まで回動する。その後バネの付勢力に抗して案内部材が係合を開始し、レバー部材が第1回動軸を中心に回動して扉が他方の扉から離れる方向にスライドする。そして、案内部材に案内されて扉が閉じられるのに応じてレバー部材がバネの付勢力により元の位置に戻り、扉が閉じられる。
【0008】
【発明が解決しようとする課題】
しかしながら、上記の特公昭60−24390号公報に開示された扉開閉機構によると、レバー部材は受け部と摺動するため扉の重さに応じた摩擦力が加わる。このため、バネの付勢力を該摩擦力よりも大きくしておく必要がある。その結果、扉を開く際にはレバー部材の摩擦力とバネの付勢力に抗した大きな操作力が必要となり、操作性が悪い問題があった。
【0009】
また、レバー部材やバネを必要とするため部品点数が多く組立工数も増加する。このため、扉開閉機構のコスト増加や信頼性低下の問題や、信頼性維持のために量産性が低下する問題もあった。
【0010】
本発明は、操作性を向上することができるとともに、コスト削減、信頼性の向上及び量産性の向上を図ることのできる扉開閉機構を提供することを目的とする。
【0011】
【課題を解決するための手段】
上記目的を達成するために本発明は、機器本体の開口部の中程を境に両側を覆う扉を前記開口部の両端を軸側としてそれぞれ開閉する扉開閉機構において、前記扉の一方の閉成時に第1係止位置をと、前記扉の一方の開成時に前記扉の一方を他方から離して開放側から軸側へスライドさせて第2係止位置をとるカム機構を設け、前記カム機構は、前記第2係止位置で開成時の前記扉を枢支する枢支部を備えるとともに、閉成時の前記扉を前記第1係止位置に位置決めする位置決め部を前記扉の開放側の端部近傍に備えることを特徴としている。
【0012】
この構成によると、カム機構は、扉が閉じたときに第1係止位置をとる。扉を開くとカム機構が第1係止位置から第2係止位置に移動し、それに伴って扉がカム機構により案内されて開放側から軸側へのスライド移動と回転移動とを行う。カム機構が第2係止位置に到達すると扉の回動軸の位置が固定され、扉が回動軸を中心に回動して開口部が開放される。
【0013】
た、扉を閉じると扉の開放側に配された位置決め部により扉が位置決めされ、カム機構が第1係止位置をとる。
【0014】
また本発明は、上記構成の扉開閉機構において、前記枢支部は、前記扉を前記第1、第2係止位置に位置決めするとともに前記第1係止位置から前記第2係止位置に案内して前記第2係止位置で枢支するヒンジ部を前記扉の軸側に備え、前記位置決め部は、前記扉を前記第1係止位置から前記第2係止位置に案内するとともに前記第2係止位置で回動する前記扉を案内するガイド部を備えたことを特徴としている。
【0015】
この構成によると、扉を閉じると扉の軸側に配されたヒンジ部により扉が位置決めされ、カム機構が第1係止位置をとる。扉を開くと扉の軸側に配されたガイド部及び上記ヒンジ部の案内により扉がスライド移動し、ヒンジ部の位置決めによりカム機構が第2係止位置をとる。第2係止位置でヒンジ部により回動軸が支持され、ガイド部により案内されながら扉が回動して開かれる。
【0016】
また本発明は、上記構成の扉開閉機構において、前記第2係止位置で回動する前記扉を案内する補助ガイド部を前記枢支部の近傍に備えたことを特徴としている。この構成によると、扉を開くとガイド部の案内により第1係止位置から第2係止位置へ扉が回動しながらスライド移動し、第2係止位置でガイド部及び補助ガイド部の案内により扉が回動して開かれる。
【0017】
また本発明は、上記構成の扉開閉機構において、前記カム機構は、前記扉の開成時に前記扉の回動軸となるヒンジピンと、前記扉の開放側に配されるガイドピンと、前記ヒンジピンを案内して両端部で係止することにより前記カム機構が前記第1、第2係止位置をとるヒンジ溝と、前記第1係止位置から前記第2係止位置に前記ガイドピンを案内するガイド溝と、前記ヒンジピンと同軸の円弧上に沿って配されるリブと、前記第2係止位置で前記リブと摺接する円筒面を有したボスと、を備えたことを特徴としている。
【0018】
この構成によると、例えば、本体側の一端にヒンジピンが突設され、扉の開放側に対向する本体側にガイドピンがヒンジピンと平行に突設される。扉にはヒンジピンに遊嵌される長孔状のヒンジ溝と、ガイドピンに遊嵌されるガイド溝とが凹設される。扉を閉じた状態ではヒンジ溝の一端でヒンジピンが係止され、ガイド溝の一端でガイドピンが係止されてカム機構は第1係止位置をとる。扉を開き始めると、ヒンジピンがヒンジ溝に案内される。この時、ガイドピンとガイド溝とが係合して扉が回り止めされ、ガイドピンがガイド溝に案内されて扉が回動しながらスライドする。これにより、ヒンジ溝の他端にヒンジピンが係止され、カム機構は第2係止位置をとる。また、本体側にはヒンジピンと同心の例えば円筒状の凹面を有するリブが突設され、リブと第2係止位置で摺接する円筒面を有するボスが扉側に設けられる。扉が更に開かれると、ボスの周面がリブの凹面に摺接してヒンジピンがヒンジ溝の他端に固定され、第2係止位置でヒンジピンを回動軸として扉が回動する。この時、ガイドピンは扉の回動を阻害しない方向に逃げるように、例えばガイド溝に逃げ部が設けられる。尚、ヒンジピンとヒンジ溝、ガイドピンとガイド溝、リブとボスのそれぞれの組み合わせにおいて、本体側及び扉側の一方と他方に設けられていればいずれに設けてもよい。
【0019】
また本発明は、上記構成の扉開閉機構において、前記第1係止位置の前記ヒンジピンを中心とする円周方向に凹設される円弧部を前記ガイド溝の端部に延設したことを特徴としている。この構成によると、ヒンジピンが前記第1係止位置に到達した際に、カム機構の寸法誤差によってガイドピンがガイド溝の一端に到達しない場合であってもガイドピンが円弧部に案内されて相対移動し、扉の開放側を本体側へ更に回動させて扉が確実に閉止される。
【0020】
また本発明は、上記構成の扉開閉機構において、前記第1係止位置から前記第2係止位置に相対移動する前記ガイドピンの移動量よりも、前記ガイド溝の該相対移動の方向の長さを長くしたことを特徴としている。この構成によると、カム機構に寸法誤差があってもガイドピンを前記第1係止位置に到達させることができ、両扉間及び扉と本体との間が確実に閉止される。
【0021】
また本発明は、上記構成の扉開閉機構において、前記第1係止位置から前記第2係止位置に相対移動する前記ガイドピンの移動量よりも、前記ガイド溝の該相対移動の方向の長さを長くしたことを特徴としている。この構成によると、カム機構に寸法誤差があってもヒンジピンを前記第1係止位置に到達させることができ、両扉間及び扉と本体との間が確実に閉止される。
【0022】
【発明の実施の形態】
以下に本発明の実施形態を図面を参照して説明する。図1は一実施形態の扉開閉機構を示す上面断面図である。冷蔵庫等の本体側には筐体1に外壁を形成された開口部1aが設けられる。開口部1aは中程を境に左側を左扉2に覆われ、右側を右扉3に覆われている。左扉2及び右扉3の一端には使用者が把持する把手4、5が設けられている。
【0023】
左扉2及び右扉3の他端は後述するようにカム機構により左扉2及び右扉3に対して相対的にスライド移動する回動軸1b、1cに枢支され、把手4、5を把持して両側に開くようになっている。また、左扉2と右扉3との間の隙間にはそれぞれパッキン6、7が取付けられている。パッキン6、7内には磁石(不図示)が埋め込まれ、互いに吸引して該隙間を密閉するようになっている。
【0024】
左扉2及び右扉3は、前面を覆うドアプレート49、50と背面側に設けられるドアバック47、48とを、上下に配されるドアキャップ55、56(図3参照)及び側面に配される側面板(不図示)により連結して周囲を塞がれる。そして、内部にウレタン発泡剤を注入した後、加熱して発泡ウレタン樹脂が充填される。これにより、本体部の内部を断熱隔離する。
【0025】
図2、図3は左扉2及び右扉3の要部を示す上面図及び背面図である。ドアバック47の一方の側方、上方及び他方の側方にはそれぞれパッキン41、42、43が取り付けられる。パッキン41、42、43は両端を斜めに切断され、互いに熱溶着して一体化されている。図示しないが、ドアバック47の下方にもパッキンが取り付けられ、パッキン41、42、43を上下方向に反転した状態になっている。
【0026】
同様に、ドアバック48の周囲にもパッキン44、45、46(44は図1参照)及び下方のパッキン(不図示)が一体化して取り付けられる。左扉2及び右扉3を閉じると、ドアバック47、48が開口部1a(図1参照)の内部に侵入してパッキン41〜46が筐体1(図1参照)と当接する。パッキン41〜46には可撓性の磁石(不図示)が埋め込まれ、本体側の筐体1を吸引して左扉2及び右扉3と筐体1との密閉状態が保持されるようになっている。
【0027】
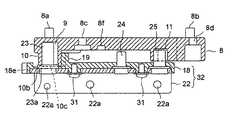
カム機構は左扉2の上部、左扉2の下部、右扉3の上部及び右扉3の下部の4箇所に同様の構造で設けられる。図4は、左扉2の下部に配されるカム機構の一部を示す正面断面図である。カム機構は、左扉2と筐体1とに設けられた部材から成り、左扉2には軸側に配されるスライドカム部材8と、開放側に配されるガイドカム53(図5参照)とが取付けられる。筐体1にはスライドカム部材8と係合するロックカム組品32と、ガイドカム53と係合するガイドピン51(図5参照)とが取付けられる。
【0028】
スライドカム部材8は樹脂成形品から成っており、上面にボス8a、8bが突設され、貫通するネジ孔8c、8dが形成されている。ボス8a、8bを左扉2の下面に設けられたボス孔(不図示)に嵌合し、ネジ孔8c、8dに図中、下方からタッピングネジ(不図示)を挿通してスライドカム部材8が左扉2の下面に取付けられている。また、スライドカム部材8には、後述するロック部材16を位置決めするボス孔8fが形成されている。
【0029】
ロックカム組品32はロックカム部材18とアングル22とがネジ31により一体化され、スライドカム部材8と係合してカム機構の一部を構成する。ロックカム部材18は樹脂成形品から成り、アングル22は左扉2の重量を支えるため金属部材から成っている。
【0030】
アングル22には3箇所にネジ孔22aが形成されている。ネジ孔22aにタッピングネジを挿通してアングル22、即ちロックカム組品32が筐体1に取付けられている。また、例えばステンレス鋼等の金属から成るヒンジピン23、ロックピン24及び補助ガイドピン25がそれぞれかしめてアングル22に一体化されている。ヒンジピン23、ロックピン24、補助ガイドピン25はロックカム部材18をそれぞれ貫通し、図中、上方に突出している。
【0031】
ヒンジピン23の底部には台座部23aが同心に形成されている。スライドカム部材8に突設されるボス10の底面10bは左扉2の閉止時に台座部23a上に乗っている。ボス10には、底面10bに対して下方に突出する段差部10cが形成されている。段差部10cの内周側は台座部23aに沿って形成され、台座部23aの周部に接して面取りされている。
【0032】
カム機構の平面図を図5に示す。同図は左扉2を閉じた状態を示しており、筐体1側に取り付けられる部材には斜線を付している。スライドカム部材8には、ロック部材16が取り付けられている。ロック部材16は樹脂成形品から成り、上面に突設されたボス(不図示)をスライドカム部材8の下面に設けられたボス孔8f(図4参照)に嵌合し、タッピングネジ(不図示)等により取付けられている。
【0033】
ロック部材16の一端にはアーム部16aが延設されている。アーム部16aは、延びた方向に略垂直な方向の荷重に対して弾性変形するようになっている。アーム部16aの端部にはロックピン24と係合する係合部16bが設けられている。ロック部材16の他端には、ロックカム部材18(図4参照)に形成されたストッパ18eに当接して左扉2の回動を規制する規制部16cが設けられている。
【0034】
スライドカム部材8の一端の下面には、長孔状のヒンジ溝9が凹設されている。ヒンジ溝9の周囲には、後述する第2係止位置の時のヒンジピン23を中心とした円筒面10aを有するボス10が突設されている。
【0035】
ヒンジピン23の周囲のロックカム部材18には、ヒンジピン23と同心の円筒状の凹面19aを有するリブ19が突設されている。ヒンジ溝9よりも開口部1a(図1参照)の中央側にはL字型に屈曲した補助ガイド溝11が凹設されている。補助ガイド溝11は後述する第1係止位置から第2係止位置まで補助ガイドピン25を相対的に案内する案内部11aと、第2係止位置で補助ガイドピン25を相対的に逃がす逃げ部11bとを有している。
【0036】
左扉2の開放側に取り付けられるガイドカム53は樹脂成形品から成り、屈曲したガイド溝52が形成されている。筐体1にはガイド溝52に係合する例えばステンレス製のガイドピン51がアングル(不図示)に支持されて取り付けられている。
【0037】
ガイド溝52は後述する第1係止位置から第2係止位置までガイドピン51を相対的に案内する案内部52aと、第2係止位置でガイドピン51を相対的に逃がす逃げ部52bと、案内部52aの端部から第1係止位置のヒンジピン23を中心とする円周方向に延設される円弧部52cとを有している。
【0038】
次に、図5〜図8を参照して、左扉2の下部のカム機構の動作を説明する。他のカム機構についても同様の動作が行われる。尚、これらの図においてカム機構の各部位は本来破線で表すべきであるが、便宜上実線で示している。また、斜線部分は前述したように筐体1側に配される部材を示している。
【0039】
前述したように、図5は左扉2が閉じた状態を示している。左扉2の閉止状態ではヒンジ溝9の一端にヒンジピン23が係止され、カム機構は第1係止位置をとる。第1係止位置では、ガイドピン51はガイド溝52の案内部52aの端部に配置されている。また、補助ガイドピン25は補助ガイド溝11の案内部11aの端部に配置されている。
【0040】
ガイド溝の円弧部52cは第1係止位置のヒンジピン23を中心とする円弧上に形成されているので、第1係止位置でヒンジピン23を回動軸として左扉2は閉じる方向に回動することができる。従って、第1係止位置の左扉2を確実に閉じることができる。この時、補助ガイド溝11の案内部11aと補助ガイドピン25とが当接して左扉2の回動を規制しないように、第1係止位置の時にガイドピン25と案内部11aとの間には溝の長手方向及び幅方向の隙間A1、A2が設けられている。
【0041】
ロックピン24はロック部材16の係合部16bと係合し、アーム部16aの弾性力により左扉2が右扉3(図1参照)の方向に付勢されている。これにより、左扉2と右扉3との間の所定量の隙間を確実に保持するとともに、ヒンジピン23とヒンジ溝9との間の嵌合のための隙間による左扉2の遊動を防止する。従って、カム機構が第1係止位置の状態を保持するとともに左扉2の閉止密閉状態をより確実にしている。
【0042】
把手4(図1参照)を把持して左扉2が開き始めると、左扉2は開成に伴い回動するが、ガイド溝52の案内部52aがガイドピン51と係合するため、第1係止位置のままではヒンジピン23を軸として回動することができない。このため、ヒンジピン23が相対的にヒンジ溝9に案内されるとともにガイドピン51が案内部52aに案内される。また、補助ガイド溝11の案内部11aに設けられた隙間A2により補助ガイドピン25の相対移動が規制されないようになっている。
【0043】
これにより、左扉2は回動しながら右扉3から離れる方向(図中、左方向)へスライド移動する。従って、左扉2に設けられたパッキン6は右扉3に設けられたパッキン7から離れ、パッキン6、7の摺動を回避して損傷を防止するとともに、摺動摩擦の低減によって開成の操作力が軽減される。
【0044】
この時、ボス10の段差部10a(図4参照)が台座部23a(図4参照)に乗り上げて左扉2が持ち上げられる。従って、把手4を引く操作力が働いた場合にのみ左扉2を開くことができ、パッキン41〜43の弾性力によって閉止状態から容易に左扉2が開かれないようになっている。
【0045】
また、ロック部材16のアーム部16aは弾性変形してロックピン24と係合部16bとの係合解除が開始される。この時に把手4を離すと、アーム部16aの弾性力により左扉2は図5の状態に戻る。従って、ロック部材16とロックピン24により自閉機能を有し、左扉2を確実に閉じることができるようになっている。
【0046】
左扉2が回動しながらスライド移動していくと、図6に示すようにヒンジピン23がヒンジ溝9の他端に係止され、カム機構は第2係止位置をとる。また、ボス10の円筒面10aがリブ19の凹面19aに沿って摺動を開始する。
【0047】
この時、ガイドピン51、補助ガイドピン25はそれぞれガイド溝52及び補助ガイド溝11の案内部52a、11aと逃げ部52b、11bとの交差位置に配される。ガイド溝52及び補助ガイド溝11の逃げ部52b、11bは第2係止位置でのヒンジピン23を中心とする円弧状に形成され、ガイドピン51及び補助ガイドピン25を相対的に逃がすとともに左扉2の回動を案内し、第2係止位置を確実に保持するようになっている。
【0048】
更に左扉2を開くと、図7に示すように、ボス10の円筒面10aがリブ19の凹面19aの2箇所で摺動し、ボス10がヒンジ溝9の長手方向に移動できなくなる。これにより、カム機構は第2係止位置の状態を保持し、左扉2が枢支される。リブ19の凹面19aはボス10を案内できればよいので、リブ19に替えて例えばヒンジピン23と同心の円弧上に配列された複数のピン等によって形成してもよい。
【0049】
また、ガイド溝52がガイドピン51を相対的に案内してカム機構が第2係止位置を保持しながら左扉2が回動する。補助ガイド溝11の案内部11aには、補助ガイドピン25との間に隙間A1、A2(図5参照)が設けられているため、ガイド溝52の逃げ部52bとガイドピン51との係合よりも後に補助ガイド溝11の逃げ部11bと補助ガイドピン25との係合が開始される。
【0050】
更に左扉2を開くと、図8に示すように、ガイド溝52とガイドピン51との係合が解除される。その後、カム機構は、補助ガイド溝11が補助ガイドピン25を相対的に案内して第2係止位置を保持し、左扉2が回動する。また、ロックピン24とロック部材16との係合が解除される。
【0051】
ここで、ガイドカム53やガイドピン25の取り付け誤差やガイドカムの寸法誤差により、ガイドピン51と補助ガイドピン25との距離と、対応する位置の逃げ部11b、51b間の距離とが一致しない場合がある。この時、ガイド溝52とガイドピン51との係合と、補助ガイド溝11と補助ガイドピン25との係合とが同時に生じている期間は、該誤差により例えばガイド溝52とガイドピン51との摺動摩擦が大きくなってスムーズに左扉2を開くことができなくなる。
【0052】
このため、逃げ部52bとガイドピン51とが係合している期間は、逃げ部11bと補助ガイドピン25との隙間を大きくし、逃げ部52bとガイドピン51との係合が解除された後の期間は逃げ部11bと補助ガイドピン25との隙間を小さくしている。逃げ部11bと補助ガイドピン25の隙間を可変して取り付け誤差の影響を回避することによって、左扉2をスムーズに回動させることができる。
【0053】
尚、逃げ部11bと補助ガイドピン25の係合が開始される前の逃げ部52bとガイドピン51との隙間を小さくし、逃げ部11bと補助ガイドピン25の係合が開始された後の逃げ部52bとガイドピン51との隙間を大きくしても同様の効果を得ることができる。
【0054】
そして、更に左扉2が開放されるとロック部材16の規制部16cがロックカム部材18(図4参照)に形成されたストッパー18eと当接し、左扉2の回動の範囲が規制される。また、以上に説明した図5〜図8に示す動作と逆の動作により左扉2を閉じることができる。
【0055】
本実施形態によると、左扉2を開き始めた際にカム機構が第1係止位置から第2係止位置に移動して左扉2が回動しながらスライド移動するため、左扉2は右扉3から離れ、パッキン6、7(図1参照)の摺動を回避することができる。従って、パッキン6、7の摺動摩擦が発生しないため左扉2の開閉に大きな力を必要とせず、扉開閉機構の操作性を向上することができる。パッキン6、7を設けない場合に左扉2と右扉3との隙間を狭くしても、回動に伴う左扉2の端部と右扉3との干渉を防止することができる。
【0056】
また、カム機構により案内して左扉2をスライド移動させるため、従来例のようにスライド移動を元に戻すバネを必要とせず部品点数を削減することができる。更に、扉の重量は枢支軸に加わるため接触面積が狭く摺動摩擦が小さくなるとともに弾性力の強いバネを必要としないため、扉開閉に要する操作力を小さくすることができ操作性を更に向上することができる。
【0057】
また、第1係止位置から第2係止位置へのスライド移動を案内するガイドピン51及びガイドカム53は左扉2の開放側に設けられる。ガイド溝52の案内部52aの長手方向C1(図5参照)と、把手4を引く操作力の加わる方向C2(図5参照)との成す角度θ(図5参照)は、ガイドピン51及びガイドカム53を軸側に配置したときよりも小さくなる。このため、ガイドピン51とガイド溝52との摺動摩擦が低減され、扉開閉時の操作力を小さくして扉開閉機構の操作性を向上させることができる。
【0058】
また、左扉2の軸側に設けたヒンジピン23によりヒンジ溝9の係止されるとともに、開放側に設けたガイドピン51とガイド溝52とが係合してカム機構が第1係止位置に位置決めされている。ガイドピン51やガイドカム53の取り付け誤差やガイドカム53の寸法誤差があると、ガイドピン51が案内部52aの端部に配された際に左扉2が所定の閉止位置よりも開いた状態になる場合がある。
【0059】
ガイドピン25及びガイドカム53を軸側に設けると、その位置では左扉2が該誤差分だけ開くが、左扉2の開放側では開く量が拡大される。しかし、ガイドピン51及びガイドカム53が左扉2の開放側に設けられるので、開放側での開く量は該誤差に略等しく、軸側に設けた場合よりも減少する。このため、該誤差により所定の閉止位置よりも開いた分はパッキン41〜43により吸収することができ、密閉状態を確実に保持することができる。
【0060】
この時、前述したように、ガイド溝52に円弧部52c(図5参照)を設けることにより、該誤差があっても第1係止位置で更に左扉2を閉止方向に回動させることができ、左扉2の密閉状態をより確実にすることができる。
【0061】
また、円弧部52cに替えて案内部52aを案内部52aの長手方向C1に延長して形成してもよい。即ち、第1係止位置から第2係止位置へ相対移動するガイドピン51の移動距離よりも案内部52aの長手方向の距離を長くすることにより、通常は第1係止位置のガイドピン51とガイド溝52との間には案内部52aの長手方向C1の隙間が形成される。
【0062】
これにより、ガイドピン51やガイドカム53の取り付け誤差やガイドカム53の寸法誤差があっても、該隙間分だけ左扉2は右扉3の方向及び前後方向に移動してヒンジピン23を所定の第1係止位置に到達させることができる。このため、左扉2と筐体1との密閉状態を確実にすることができるとともに、右扉3との間隔を所定の間隔に維持することができる。
【0063】
更に、図5において破線B1で示すように、ヒンジ溝9を長手方向に延長して形成してもよい。即ち、第1係止位置から第2係止位置へ相対移動するヒンジピン23の移動距離よりもヒンジ溝9の長手方向の距離を長くすることにより、通常は第1係止位置のヒンジピン23とヒンジ溝9との間にはヒンジ溝9の長手方向の隙間が形成される。この時の第1係止位置は、図中、略左右方向はガイドピン51とガイド溝52との係合により位置決めされ、略前後方向はヒンジピン23とヒンジ溝9との係合により位置決めされる。
【0064】
これにより、ガイドピン51やガイドカム53の取り付け誤差やガイドカム53の寸法誤差があっても、該隙間分だけ左扉2は右扉3の方向及び前後方向に移動することができる。このため、左扉2と筐体1との密閉状態を確実にすることができるとともに、右扉3との間隔を所定の間隔に維持することができる。尚、この時にヒンジピン23は所定の第1係止位置に配されず、カム機構の第1係止位置は、パッキン41〜43及びパッキン6、7の弾性力とこれらのパッキン内に配された磁石による磁力とが釣り合う位置になる。
【0065】
以上において左扉2の動作について説明しているが、右扉3についても左扉2と同様のカム機構を有しているので上記と同様の効果を得ることができる。また、ヒンジピン23とヒンジ溝9、ガイドピン51とガイド溝52、リブ19とボス10、補助ガイドピン25と補助ガイド溝11のそれぞれの組み合わせにおいて、筐体側及び扉側の一方と他方に設けられていればいずれに設けてもよい。
【0066】
また、本実施形態は中央部から開閉される扉について説明しているが、開口部の前面に配される1枚の扉により開口部を開閉する扉開閉機構であってもよい。即ち、扉の開く側に壁面や床面等がある場合に、扉の開放に伴って扉がスライド移動して壁面等から離れることにより扉の端部と壁面等との干渉を防止することができる。これにより、扉の開閉が容易となる。
【0067】
更に、扉の開閉方向が左右方向だけでなく、上下方向に開閉する扉や水平面を開閉する扉の場合でも同様の効果が得られ、車のダッシュボードのように軽量なふたの場合にも適用することができる。
【0068】
【発明の効果】
本発明によると、前記扉の一方の閉成時に第1係止位置をと、前記扉の一方の開成時に前記扉の一方を他方から離して開放側から軸側へスライドさせて第2係止位置をとるカム機構を設け、前記カム機構は、前記第2係止位置で開成時の前記扉を枢支する枢支部を備える。このため、両開きの扉の場合には扉が他方の扉から離れ、両扉間に配されたパッキン等の摺動を回避することができる。
【0069】
従って、パッキンの摺動摩擦が発生しないため扉の開閉に大きな力を必要とせず、操作性を向上することができる。パッキン等を設けない場合に防塵等のために両扉の隙間を狭くしても、回動に伴う一方の扉の端部と他方の扉との干渉を防止することができる。
【0070】
また、カム機構により案内して扉をスライド移動させるため、従来例のようにスライド移動を元に戻すバネを必要とせず部品点数を削減することができる。更に、扉の重量は枢支軸に加わるため接触面積が狭く摺動摩擦が小さくなるとともに弾性力の強いバネを必要としないため、扉開閉に要する操作力を小さくすることができ操作性を更に向上することができる。
【0071】
また、第1係止位置に位置決めする位置決め部や第1係止位置から第2係止位置に案内するガイド部を扉の開放側に配することができる。位置決め部を扉の開放側に配することにより、カム機構の取り付け誤差や寸法誤差があっても該誤差により扉の開放側での開く量を位置決め部を軸側に設けた場合よりも減少させることができる。従って、扉の密閉状態を確実に保持することができる。
【0072】
更に、ガイド部を扉の開放側に配し、第2係止位置で扉を枢支するヒンジ部を軸側にすることにより、ガイド部の案内方向と、扉を開く操作力の加わる方向との成す角度がガイド部を軸側に配置する場合よりも小さくなる。このため、ガイド部の摺動摩擦が低減され、扉開閉時の操作力を小さくして扉開閉機構の操作性を向上させることができる。
【0073】
また本発明によると、ヒンジ溝によりヒンジピンを案内するとともにガイド溝によりガイドピンを案内してカム機構が第1係止位置から第2係止位置に移動し、第2係止位置でリブとボスとを摺動させることにより、扉の開成時に第1係止位置から第2係止位置にスライドして第2係止位置で扉を枢支するカム機構を容易に実現することができる。
【0074】
また本発明によると、第1係止位置のヒンジピンを中心とする円周方向に凹設される円弧部をガイド溝の端部に延設することにより、カム機構の取り付け誤差や寸法誤差があっても第1係止位置で更に扉を閉止方向に回動させることができ、扉の密閉状態をより確実にすることができる。
【0075】
また本発明によると、第1係止位置から第2係止位置に相対移動するガイドピンまたはヒンジピンの移動量よりも、ガイド溝またはヒンジ溝の該相対移動の方向の長さを長くすることにより、カム機構の取り付け誤差や寸法誤差があっても、扉は他方の扉の方向及び前後方向に移動してヒンジピンを所定の第1係止位置に到達させることができる。このため、扉と本体との密閉状態を確実にすることができるとともに、他方の扉との間隔を所定の間隔に維持することができる。
【図面の簡単な説明】
【図1】 本発明の実施形態の扉開閉機構を示す上面断面図である。
【図2】 本発明の実施形態の扉開閉機構の要部を示す上面図である。
【図3】 本発明の実施形態の扉開閉機構の要部を示す背面図である。
【図4】 本発明の実施形態の扉開閉機構のカム機構の一部を示す正面断面図である。
【図5】 本発明の実施形態の扉開閉機構のカム機構の動作を示す平面図である。
【図6】 本発明の実施形態の扉開閉機構のカム機構の動作を示す平面図である。
【図7】 本発明の実施形態の扉開閉機構のカム機構の動作を示す平面図である。
【図8】 本発明の実施形態の扉開閉機構のカム機構の動作を示す平面図である。
【符号の説明】
1 筐体
1a 開口部
2 左扉
3 右扉
4、5 把手
6、7、41〜46 パッキン
8 スライドカム部材
9 ヒンジ溝
10 ボス
11 補助ガイド溝
16 ロック部材
18 ロックカム部材
19 リブ
23 ヒンジピン
24 ロックピン
25 補助ガイドピン
32 ロックカム組品
47、48 ドアバック
49、50 ドアプレート
51 ガイドピン
52 ガイド溝
53 ガイドカム

Claims (7)

  1. 機器本体の開口部の中程を境に両側を覆う扉を前記開口部の両端を軸側としてそれぞれ開閉する扉開閉機構において、
    前記扉の一方の閉成時に第1係止位置をと、前記扉の一方の開成時に前記扉の一方を他方から離して開放側から軸側へスライドさせて第2係止位置をとるカム機構を設け、
    前記カム機構は、前記第2係止位置で開成時の前記扉を枢支する枢支部を備えるとともに、閉成時の前記扉を前記第1係止位置に位置決めする位置決め部を前記扉の開放側の端部近傍に備えることを特徴とする扉開閉機構。
  2. 前記枢支部は、前記扉を前記第1、第2係止位置に位置決めするとともに前記第1係止位置から前記第2係止位置に案内して前記第2係止位置で枢支するヒンジ部を前記扉の軸側に備え、
    前記位置決め部は、前記扉を前記第1係止位置から前記第2係止位置に案内するとともに前記第2係止位置で回動する前記扉を案内するガイド部を備えたことを特徴とする請求項1に記載の扉開閉機構。
  3. 前記第2係止位置で回動する前記扉を案内する補助ガイド部を前記枢支部の近傍に備えたことを特徴とする請求項に記載の扉開閉機構。
  4. 前記カム機構は、前記扉の開成時に前記扉の回動軸となるヒンジピンと、前記扉の開放側に配されるガイドピンと、前記ヒンジピンを案内して両端部で係止することにより前記カム機構が前記第1、第2係止位置をとるヒンジ溝と、前記第1係止位置から前記第2係止位置に前記ガイドピンを案内するガイド溝と、前記ヒンジピンと同軸の円弧上に沿って配されるリブと、前記第2係止位置で前記リブと摺接する円筒面を有したボスと、を備えたことを特徴とする請求項1〜請求項のいずれかに記載の扉開閉機構。
  5. 前記第1係止位置の前記ヒンジピンを中心とする円周方向に凹設される円弧部を前記ガイド溝の端部に延設したことを特徴とする請求項に記載の扉開閉機構。
  6. 前記第1係止位置から前記第2係止位置に相対移動する前記ガイドピンの移動量よりも、前記ガイド溝の該相対移動の方向の長さを長くしたことを特徴とする請求項に記載の扉開閉機構。
  7. 前記第1係止位置から前記第2係止位置に相対移動する前記ヒンジピンの移動量よりも、前記ヒンジ溝の該相対移動の方向の長さを長くしたことを特徴とする請求項に記載の扉開閉機構。
JP2001193340A 2001-03-13 2001-06-26 扉開閉機構 Expired - Lifetime JP4265727B2 (ja)

Priority Applications (10)

Application Number Priority Date Filing Date Title
JP2001193340A JP4265727B2 (ja) 2001-06-26 2001-06-26 扉開閉機構
TW091103302A TW521142B (en) 2001-03-13 2002-02-25 Cam mechanism and door opening/closing mechanism
EP02705074A EP1371923B1 (en) 2001-03-13 2002-03-04 Cam mechanism and door opening/closing mechanism
DE60226312T DE60226312D1 (de) 2001-03-13 2002-03-04 Nockenmechanismus und türöffnungs-schliessmechanismus
KR1020037011831A KR100691577B1 (ko) 2001-03-13 2002-03-04 캠 기구 및 도어 개폐 기구
CNB028097726A CN1289888C (zh) 2001-03-13 2002-03-04 凸轮机构及门开闭机构
US10/471,612 US7506474B2 (en) 2001-03-13 2002-03-04 CAM mechanism for shifting a rotary member supported on a base member when the rotary member is opened and closed
PCT/JP2002/001985 WO2002075229A1 (en) 2001-03-13 2002-03-04 Cam mechanism and door opening/closing mechanism
ES02705074T ES2302795T3 (es) 2001-03-13 2002-03-04 Mecanismo de leva y mecanismo de apertura/cierre de puerta.
HK04108002.5A HK1065095B (en) 2001-03-13 2002-03-04 Cam mechanism and door opening/closing mechanism

Applications Claiming Priority (1)

Application Number Priority Date Filing Date Title
JP2001193340A JP4265727B2 (ja) 2001-06-26 2001-06-26 扉開閉機構

Publications (2)

Publication Number Publication Date
JP2003003731A JP2003003731A (ja) 2003-01-08
JP4265727B2 true JP4265727B2 (ja) 2009-05-20

Family

ID=19031646

Family Applications (1)

Application Number Title Priority Date Filing Date
JP2001193340A Expired - Lifetime JP4265727B2 (ja) 2001-03-13 2001-06-26 扉開閉機構

Country Status (1)

Country Link
JP (1) JP4265727B2 (ja)

Families Citing this family (7)

* Cited by examiner, † Cited by third party
Publication number Priority date Publication date Assignee Title
KR100707450B1 (ko) 2005-04-16 2007-04-13 엘지전자 주식회사 냉장고의 도어 개폐 장치
KR100707462B1 (ko) * 2005-06-01 2007-04-13 엘지전자 주식회사 냉장고의 도어 개폐 장치
KR100748969B1 (ko) * 2005-10-25 2007-08-13 엘지전자 주식회사 냉장고의 도어 개폐 장치
JP4827746B2 (ja) * 2007-01-05 2011-11-30 シャープ株式会社 扉開閉機構
JP4904222B2 (ja) * 2007-08-20 2012-03-28 シャープ株式会社 扉開閉機構及び冷蔵庫
EP2159521A1 (en) 2008-08-27 2010-03-03 Panasonic Corporation Refrigerator
CN112282548B (zh) * 2019-07-23 2022-06-24 青岛海尔电冰箱有限公司 冰箱

Also Published As

Publication number Publication date
JP2003003731A (ja) 2003-01-08

Similar Documents

Publication Publication Date Title
CN118774510A (zh) 冷藏库的铰链结构
US7506474B2 (en) CAM mechanism for shifting a rotary member supported on a base member when the rotary member is opened and closed
JP4963258B2 (ja) 保冷箱の開閉装置
US7025225B2 (en) Lid opening-closing mechanism and storage device for vehicle
EP2468577B1 (en) Lid open-close-apparatus
JP7627829B2 (ja) 冷蔵庫
US6131337A (en) Vehicle door closing apparatus
JP4648167B2 (ja) グローブボックス装置
US7017956B2 (en) Lock mechanism and opening-closing device
JP2009097812A (ja) ヒンジ装置及びそのヒンジ装置を用いた冷蔵庫
US7527166B2 (en) Storage apparatus
JP4265727B2 (ja) 扉開閉機構
JP3647385B2 (ja) 扉開閉機構
US20050077308A1 (en) Cover opening and closing mechanism and apparatus provided with the same
KR100737148B1 (ko) 작동방향 반전기구 및 그것을 적용한 덮개개폐장치
JP3689816B2 (ja) 扉開閉機構
JP4342421B2 (ja) 扉開閉機構及びそれを用いた冷蔵庫
JP3599700B2 (ja) カム機構及びそれを用いた扉開閉機構
KR100612562B1 (ko) 도어개폐기구 및 장치
JP4827746B2 (ja) 扉開閉機構
JP2013023159A (ja) ロック装置
JP2008208584A (ja) ドアハンドル装置
JP7724726B2 (ja) コンソールリッド装置
JP2009275360A (ja) 電気機器収納用箱体の扉ストッパ装置
KR20260039286A (ko) 냉장고 및 도어 개폐 장치

Legal Events

Date Code Title Description
A621 Written request for application examination

Free format text: JAPANESE INTERMEDIATE CODE: A621

Effective date: 20051024

A131 Notification of reasons for refusal

Free format text: JAPANESE INTERMEDIATE CODE: A131

Effective date: 20081111

A521 Written amendment

Free format text: JAPANESE INTERMEDIATE CODE: A523

Effective date: 20081226

TRDD Decision of grant or rejection written
A01 Written decision to grant a patent or to grant a registration (utility model)

Free format text: JAPANESE INTERMEDIATE CODE: A01

Effective date: 20090210

A01 Written decision to grant a patent or to grant a registration (utility model)

Free format text: JAPANESE INTERMEDIATE CODE: A01

A61 First payment of annual fees (during grant procedure)

Free format text: JAPANESE INTERMEDIATE CODE: A61

Effective date: 20090210

R150 Certificate of patent or registration of utility model

Ref document number: 4265727

Country of ref document: JP

Free format text: JAPANESE INTERMEDIATE CODE: R150

Free format text: JAPANESE INTERMEDIATE CODE: R150

FPAY Renewal fee payment (event date is renewal date of database)

Free format text: PAYMENT UNTIL: 20120227

Year of fee payment: 3

FPAY Renewal fee payment (event date is renewal date of database)

Free format text: PAYMENT UNTIL: 20120227

Year of fee payment: 3

FPAY Renewal fee payment (event date is renewal date of database)

Free format text: PAYMENT UNTIL: 20130227

Year of fee payment: 4

FPAY Renewal fee payment (event date is renewal date of database)

Free format text: PAYMENT UNTIL: 20130227

Year of fee payment: 4

FPAY Renewal fee payment (event date is renewal date of database)

Free format text: PAYMENT UNTIL: 20140227

Year of fee payment: 5

S531 Written request for registration of change of domicile

Free format text: JAPANESE INTERMEDIATE CODE: R313531

R350 Written notification of registration of transfer

Free format text: JAPANESE INTERMEDIATE CODE: R350

RD03 Notification of appointment of power of attorney

Free format text: JAPANESE INTERMEDIATE CODE: R3D03

EXPY Cancellation because of completion of term