JP4248767B2 - 廃棄物焼却灰の溶融方法および溶融装置 - Google Patents
廃棄物焼却灰の溶融方法および溶融装置 Download PDFInfo
- Publication number
- JP4248767B2 JP4248767B2 JP2001157290A JP2001157290A JP4248767B2 JP 4248767 B2 JP4248767 B2 JP 4248767B2 JP 2001157290 A JP2001157290 A JP 2001157290A JP 2001157290 A JP2001157290 A JP 2001157290A JP 4248767 B2 JP4248767 B2 JP 4248767B2
- Authority
- JP
- Japan
- Prior art keywords
- melting furnace
- slag
- melting
- ash
- burner
- Prior art date
- Legal status (The legal status is an assumption and is not a legal conclusion. Google has not performed a legal analysis and makes no representation as to the accuracy of the status listed.)
- Expired - Lifetime
Links
- 238000002844 melting Methods 0.000 title claims description 169
- 230000008018 melting Effects 0.000 title claims description 169
- 238000004056 waste incineration Methods 0.000 title claims description 27
- 238000000034 method Methods 0.000 title claims description 16
- 239000002893 slag Substances 0.000 claims description 80
- 239000002699 waste material Substances 0.000 claims description 15
- 238000001816 cooling Methods 0.000 claims description 13
- XLYOFNOQVPJJNP-UHFFFAOYSA-N water Substances O XLYOFNOQVPJJNP-UHFFFAOYSA-N 0.000 claims description 12
- 239000002956 ash Substances 0.000 description 75
- 239000007789 gas Substances 0.000 description 19
- 239000000446 fuel Substances 0.000 description 14
- 239000011819 refractory material Substances 0.000 description 13
- QVGXLLKOCUKJST-UHFFFAOYSA-N atomic oxygen Chemical compound [O] QVGXLLKOCUKJST-UHFFFAOYSA-N 0.000 description 10
- 239000001301 oxygen Substances 0.000 description 10
- 229910052760 oxygen Inorganic materials 0.000 description 10
- 239000003350 kerosene Substances 0.000 description 8
- 230000003628 erosive effect Effects 0.000 description 7
- 238000005260 corrosion Methods 0.000 description 6
- 230000007797 corrosion Effects 0.000 description 6
- 239000010881 fly ash Substances 0.000 description 6
- 239000007788 liquid Substances 0.000 description 6
- 229910052698 phosphorus Inorganic materials 0.000 description 6
- 238000012545 processing Methods 0.000 description 6
- 238000010586 diagram Methods 0.000 description 5
- 239000007787 solid Substances 0.000 description 5
- 238000002485 combustion reaction Methods 0.000 description 4
- 239000000428 dust Substances 0.000 description 4
- 229910001385 heavy metal Inorganic materials 0.000 description 4
- 239000011449 brick Substances 0.000 description 3
- 150000002013 dioxins Chemical class 0.000 description 3
- 230000009970 fire resistant effect Effects 0.000 description 3
- 239000000155 melt Substances 0.000 description 3
- 239000000203 mixture Substances 0.000 description 3
- MWUXSHHQAYIFBG-UHFFFAOYSA-N nitrogen oxide Inorganic materials O=[N] MWUXSHHQAYIFBG-UHFFFAOYSA-N 0.000 description 3
- 239000010801 sewage sludge Substances 0.000 description 3
- 230000006641 stabilisation Effects 0.000 description 3
- 238000011105 stabilization Methods 0.000 description 3
- 239000004575 stone Substances 0.000 description 3
- 239000000126 substance Substances 0.000 description 3
- 238000012546 transfer Methods 0.000 description 3
- 239000004566 building material Substances 0.000 description 2
- 238000006555 catalytic reaction Methods 0.000 description 2
- 239000010849 combustible waste Substances 0.000 description 2
- 238000002425 crystallisation Methods 0.000 description 2
- 230000008025 crystallization Effects 0.000 description 2
- 230000000694 effects Effects 0.000 description 2
- 230000006698 induction Effects 0.000 description 2
- 239000002440 industrial waste Substances 0.000 description 2
- 239000000463 material Substances 0.000 description 2
- 150000003839 salts Chemical class 0.000 description 2
- 239000011343 solid material Substances 0.000 description 2
- 231100000331 toxic Toxicity 0.000 description 2
- 230000002588 toxic effect Effects 0.000 description 2
- VEXZGXHMUGYJMC-UHFFFAOYSA-N Hydrochloric acid Chemical compound Cl VEXZGXHMUGYJMC-UHFFFAOYSA-N 0.000 description 1
- 238000009529 body temperature measurement Methods 0.000 description 1
- 238000009835 boiling Methods 0.000 description 1
- AXCZMVOFGPJBDE-UHFFFAOYSA-L calcium dihydroxide Chemical compound [OH-].[OH-].[Ca+2] AXCZMVOFGPJBDE-UHFFFAOYSA-L 0.000 description 1
- 229910001861 calcium hydroxide Inorganic materials 0.000 description 1
- 235000011116 calcium hydroxide Nutrition 0.000 description 1
- 239000000920 calcium hydroxide Substances 0.000 description 1
- 239000013522 chelant Substances 0.000 description 1
- 239000000498 cooling water Substances 0.000 description 1
- 238000001784 detoxification Methods 0.000 description 1
- 230000029087 digestion Effects 0.000 description 1
- 238000007599 discharging Methods 0.000 description 1
- 238000011038 discontinuous diafiltration by volume reduction Methods 0.000 description 1
- 238000010828 elution Methods 0.000 description 1
- 239000002803 fossil fuel Substances 0.000 description 1
- 230000005484 gravity Effects 0.000 description 1
- 238000000265 homogenisation Methods 0.000 description 1
- IXCSERBJSXMMFS-UHFFFAOYSA-N hydrogen chloride Substances Cl.Cl IXCSERBJSXMMFS-UHFFFAOYSA-N 0.000 description 1
- 229910000041 hydrogen chloride Inorganic materials 0.000 description 1
- 229910052751 metal Inorganic materials 0.000 description 1
- 239000002184 metal Substances 0.000 description 1
- 150000002739 metals Chemical class 0.000 description 1
- 238000002156 mixing Methods 0.000 description 1
- 230000002093 peripheral effect Effects 0.000 description 1
- 229920000642 polymer Polymers 0.000 description 1
- 230000005855 radiation Effects 0.000 description 1
- 238000004064 recycling Methods 0.000 description 1
- 239000010865 sewage Substances 0.000 description 1
- 238000004904 shortening Methods 0.000 description 1
- 239000010802 sludge Substances 0.000 description 1
- 239000003381 stabilizer Substances 0.000 description 1
- 238000012360 testing method Methods 0.000 description 1
- 238000005979 thermal decomposition reaction Methods 0.000 description 1
Images
Landscapes
- Gasification And Melting Of Waste (AREA)
- Processing Of Solid Wastes (AREA)
- Furnace Housings, Linings, Walls, And Ceilings (AREA)
- Furnace Details (AREA)
Description
【発明の属する技術分野】
本発明は、都市ゴミや下水汚泥、産業廃棄物等の廃棄物を焼却した廃棄物焼却灰を、減容化、無害化、あるいは再資源化のために溶融して処理するための廃棄物焼却灰の溶融方法および溶融装置に関するものである。
【0002】
【従来の技術】
都市ゴミや下水汚泥、産業廃棄物等の廃棄物を焼却処理した廃棄物の焼却灰については、近年の埋め立て処分地の逼迫からその減容化を図ったり、また埋め立てられた焼却灰からのダイオキシン類や有害重金属の溶出を防いで無害化したりする目的で、これを溶融して処理することが図られている。さらに、こうして溶融した廃棄物焼却灰の溶融スラグは、これを結晶化して石材化したりすることにより、骨材等の建築資材として再資源化が可能となる。
【0003】
ここで、図12および図13は、このような廃棄物焼却灰の溶融を行うための従来の溶融装置を示すものである。この溶融装置において溶融炉1は耐火材2によって略箱形に形成され、その長手方向(図13において左右方向)の一端側(図13において左側)の壁部の幅方向(図12においては左右方向、図13においては上下方向)中央部には廃棄物焼却灰の供給口3が設けられるとともに、長手方向他端側(図13において右側)の壁部の幅方向中央部には溶融した焼却灰のスラグSを排出する出滓口4が設けられている。また、この溶融炉1の天井部には、やはりその幅方向中央部に2つのバーナー座5,5が長手方向に間隔をあけて設けられており、これらのバーナー座5,5に取り付けられた図示されないバーナーから溶融炉1内に垂直下向きに噴射させられるバーナーフレーム(火炎)により、上記供給口3から供給されてスラグSの表面に分散した焼却灰が直接に加熱されて溶融されるようになされている。
【0004】
【発明が解決しようとする課題】
ところが、このような従来の溶融炉1においては、供給口3から溶融炉1内に供給されてスラグS表面に分散した焼却灰が、上記バーナーから垂直下向きに噴射させられたバーナーフレームによって溶融しながら飛散してしまって溶融炉1内の壁部や天井部に付着し、かかる廃棄物焼却灰の溶融物によって壁部や天井部を形成する耐火材2が大きく浸食されてしまうという問題が生じる。そこで、この従来の溶融炉1では、このような耐火材2の浸食を抑えるために、図12および図13に示すように焼却灰の飛散による付着が生じることのない炉床部を除いて溶融炉1の壁部および天井部の外周全体を水冷ジャケット6によって覆って間接水冷構造としているが、このように溶融炉1の壁部および天井部全体を間接水冷構造として冷却すると炉内の温度は低下してしまうため、上記バーナーフレームとして燃焼させられる燃料の使用量を増加させなければ炉内に供給された焼却灰の確実な溶融を行うことができなくなり、エネルギーコストの増大を招く結果となっていた。
【0005】
本発明は、このような背景の下になされたもので、焼却灰の飛散を防いで溶融炉の壁部や天井部の浸食を抑制し、これによって燃料の消費を削減することが可能な低コスト・省エネルギーの廃棄物焼却灰の溶融方法および溶融装置を提供することを提供することを目的としている。
【0006】
【課題を解決するための手段】
上記課題を解決して、このような目的を達成するために、本発明の溶融方法は、炉床部に堰が立設された溶融炉において溶融状態のスラグを保持しつつ、該溶融炉内の上記スラグの表面に廃棄物焼却灰を供給し、上記溶融炉の壁部に備えられた上記廃棄物焼却灰を供給する供給口の中心が上記溶融炉内におけるバーナーフレーム中心線の高さよりも下方に位置させられるように上記壁部に備えられたバーナーにより、このスラグ表面の廃棄物焼却灰を避けるようにバーナーフレームを上記溶融炉内に噴射して該廃棄物焼却灰を溶融することを特徴とする。従って、このような溶融方法によれば、スラグ表面に供給された廃棄物焼却灰は、バーナーフレームに直接晒されて飛散したりすることがなく、このスラグからの伝熱と、上記バーナーフレームおよびこれによって加熱された壁部や天井部からの輻射熱によって溶融させられる。このため、従来のように廃棄物焼却灰が溶融しながら飛散して壁部や天井部に付着することにより浸食が生じることがなく、従ってこれら壁部や天井部の全体を間接水冷構造とする必要もないので、少ない燃料使用量で炉内温度を高温に維持することができる。
【0007】
また、本発明の溶融装置は、このような溶融方法を可能としうるものであって、炉床部に堰が立設されて溶融状態のスラグを保持する溶融炉の壁部に、この溶融炉内の上記スラグの表面に廃棄物焼却灰を供給する供給口と、該溶融炉内にバーナーフレームを噴射するバーナーとを備え、上記供給口の中心が上記溶融炉内におけるバーナーフレーム中心線の高さよりも下方に位置させられていて、上記スラグの表面に供給された上記廃棄物焼却灰を避けるように上記バーナーフレームが上記溶融炉内に噴射させられることを特徴とするものであり、このような構成を採ることにより、溶融炉内に噴射させられるバーナーフレームの中心線は、上記供給口からスラグ表面に供給される焼却灰よりも常に上方に位置することとなるため、このバーナーフレームに焼却灰が直接晒されることがなく、すなわちバーナーフレームが焼却灰を避けるように溶融炉内に噴射させられることとなる。しかも、焼却灰が炉内に投入されてから溶融していく過程では、先ず投入された焼却灰の表面部分が輻射熱により焼結した状態となって飛散を一層防止する役割を果たし、その後にこの焼却灰が炉内にさらに進むことにより高温部に達して溶融し、溶融スラグ中に拡散しながら脱泡して均質化していく。また、このような溶融装置においてその溶融炉の上記壁部は、上述のようにその全体が間接水冷構造とされる必要はなく、溶融炉内に保持された廃棄物焼却灰の溶融スラグのうち最も高温となって浸食性の高い上記スラグの表面レベルに沿った部分のみが間接水冷構造とされていればよい。
【0008】
【発明の実施の形態】
図1ないし図4は、本発明の溶融装置の第1の実施形態を示すものである。このうち図1において符号11で示すのは、廃棄物焼却灰Aを溶融した溶融状態のスラグSを保持する溶融炉であり、以下、符号12で示すのは、この溶融炉11に溶融すべき上記廃棄物焼却灰A、またはこの焼却灰Aに可燃性廃棄物や可燃物の炭化物のような可燃性固形物Bを混合したものを供給するスクリュウフィーダ式の供給機であり、符号13は、このように廃棄物焼却灰Aと可燃性固形物Bとの混合物を供給する場合においてこれら混合する混合機であり、符号14は溶融炉11に燃焼用の酸素含有ガス(高酸素濃度)Cを供給するためのPSA酸素発生装置である。一方、符号15は、溶融炉11から排出された上記スラグAを冷却するためのスラグ冷却器であり、符号16〜20は溶融炉11からの排気を処理するための設備であって、符号16は排ガス冷却塔等のガス冷却器、符号17はバグフィルター等の集塵機、符号18は触媒反応塔、符号19は誘引ファン、符号20は排気中の溶融飛灰の重金属を安定化する飛灰安定化装置である。
【0009】
上記溶融炉11は、図2ないし図4に示すように炉床部11a、断面略円弧状とされた天井部11b、および4つの壁部11c〜11fによって概略直方体の箱形に形成されており、これらはいずれも内側が高耐火度耐火材11Aとされるとともに外側が耐熱耐火材11Bとされている。このうち炉床部11aには、該溶融炉11の長手方向(図2および図3において左右方向)の一端側(図2および図3において右側)寄りに、堰21が当該溶融炉11の幅方向(図2では上下方向、図3では左右方向)に亙って立設されているとともに、この堰21の頂部の上記幅方向中央部には樋状の溶融スラグ排出溝21aが上記長手方向に亙って形成されており、また堰21と上記壁部11cとの間の部分では炉床部11aが開口させられていて、この開口部が上記スラグ冷却器15へのスラグSの排出口22とされている。さらに、この一端側の壁部11c下方の上記堰21の頂部よりも低い位置には、溶融炉11内の排気を上記ガス冷却器16に排出する排気口23が、排出口22内に開口して上記長手方向一端側に延びるように設けられている。
【0010】
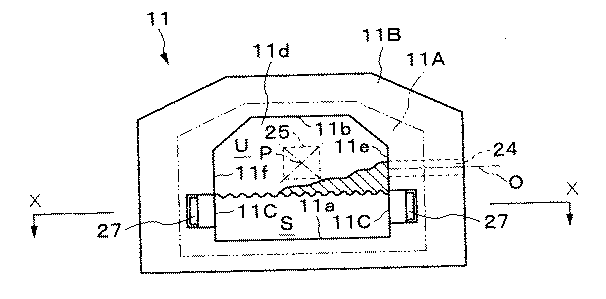
一方、この一端側の壁部11cに対向する溶融炉11の長手方向他端側(図2および図3において左側)の壁部11dには、その上記幅方向略中央部に、上記堰21の頂部よりも高く、しかしながら溶融炉11内に保持されるスラグSの表面よりも300mm未満の高さとなる位置に、上記供給機12に接続されて溶融炉11内の上記スラグS表面に廃棄物焼却灰Aを供給する供給口24が、本実施形態では断面円形をなしてその中心線Oが上記長手方向に水平に延びるように形成されて開口させられている。そして、さらにこれらの壁部11c,11d以外の上記長手方向に延びる一対の壁部11e,11fには、やはり断面円形をなすバーナー座25が上記長手方向に直交する平面に沿って延びるように、すなわち平面視において図2に示すように供給口24の上記中心線Oに直交する方向に延びるようにそれぞれ形成されており、これらのバーナー座25,25には、例えば灯油のような液体燃料Dを上記PSA酸素発生装置14において発生させられた高濃度酸素含有ガスCとともに噴出させて燃焼させることにより、溶融炉11内にバーナーフレームTを噴射するバーナー26が取り付けられていて、本実施形態では、上記供給口24の中心すなわち上記中心線Oが、これらのバーナー26,26から溶融炉11内に噴射させられる上記バーナーフレームT,Tの中心線P,Pよりも下方に位置させられている。
【0011】
ここで、本実施形態では、上記一対の壁部11e,11fに設けられるバーナー座25,25が、互いに等しい高さで、しかしながら溶融炉11の上記長手方向にずらされて配置されており、すなわち図2および図3に示されるように一方の壁部11eのバーナー座25は溶融炉11の上記長手方向他端側の壁部11d寄りに設けられるとともに、他方の壁部11fのバーナー座25はこの壁部11dから上記堰21までの間において上記長手方向他端側に設けられている。さらに、これらのバーナー座25,25は、図4に示すように上記幅方向において溶融炉11の内側に向かうに従い下方に向かうように互いに等しい角度で僅かに傾斜させられており、これに伴いこれらのバーナー座25,25に取り付けられたバーナー26,26から噴射される上記バーナーフレームT,Tの中心線P,Pも同様に幅方向内側に向かうに従い下方に向けて傾斜させられることとなる。ただし、これらの中心線P,Pは、供給口24の上記中心線Oを含んだ仮想垂直面Q上において、図4に示すようにこの中心線Oからの距離Rが50〜500mmの範囲内で該中心線Oの上方に位置するように設定されている。
【0012】
さらにまた、本実施形態では、溶融炉11内においてスラグSの表面に接する上記壁部11d〜11fの内側と上記堰21には、上記溶融スラグ排出溝21aも含めてこのスラグSの表面レベルに沿った部分すなわち上記排出溝21aの高さのレベルに沿った部分に、電鋳レンガ等の耐食性耐火材11Cが配設されており、さらにこの耐蝕性耐火材11Cの外周側には、やはり上記スラグSの表面レベルに沿って周回するように、冷却水供給口27Aと排出口27Bとに連通させられた水冷ジャケット27が形成されて、このスラグSの表面レベルに沿った部分のみが間接水冷構造とされている。なお、本実施形態では、スラグSの表面レベルから上方の気相部Uに向けては10〜50mmの範囲が、反対にこのスラグSの表面レベルから下方の該スラグS内に向けては50〜200mmの範囲が、上記耐食性耐火材11Cが配設されて間接水冷構造とされている。また、この溶融炉11には、当該溶融炉11に保持された上記スラグSの温度を測定する図示されない温度測定センサが備えられている。
【0013】
次に、このような溶融炉11を備えた第1の実施形態の溶融装置によって廃棄物焼却灰Aを溶融させる場合の、本発明の溶融方法の一実施形態について説明する。まず、この溶融装置の運転当初においては、供給機12によって焼却灰Aを供給口24から溶融炉11内に供給するとともに、バーナー26,26から噴射させられたバーナーフレームT,Tによってこれを加熱して溶融し、1300〜1400℃の溶融スラグSを溶融炉11内に形成して保持する。なお、このとき、上述のように混合機13によってこの焼却灰Aに、下水処理汚泥等の可燃性廃棄物や都市ゴミ等の廃棄物を熱分解設備において熱分解した残渣等の可燃物の炭化物のような可燃性固形物Bを混合し、これを溶融炉11に供給するようにしてもよい。また、バーナー26,26からは、上述のように灯油等の液体燃料DとPSA酸素発生装置14で発生させられた望ましくは濃度90%以上の高濃度酸素含有ガスCとが噴出させられて燃焼させられることにより、上記バーナー座25,25に沿って傾斜させられた中心線P,Pを中心として上記バーナーフレームT,Tが溶融炉11内に噴射させられ、これによって溶融炉11内における上記スラグSの上部には、スラグSの温度よりも50℃以上、望ましくは100°℃以上高温の気相部Uが形成される。
【0014】
そして、このように溶融されて溶融炉11内に保持されたスラグSの表面レベルが上記排出溝21aの高さにまで達すると、溶融したスラグSはこの排出溝21aから溢流して上記排出口22に落下し、スラグ冷却器15において冷却させられることにより、当初の焼却灰Aに含有されていたダイオキシン類が分解されたり有害な重金属が安定化させられたりした状態の固化したスラグEとされ、石材や建築資材などの資源として再利用可能となる。一方、この溶融炉11から上記排気口23を経て排出させられた排ガスは、ガス冷却器16において水を噴霧して180〜200℃程度に冷却された後、消石灰Fを供給することによって塩化水素や硫黄酸化物等の酸性ガスが除去され、さらに集塵機17において、焼却灰Aに含まれて溶融炉11で揮散する低沸点物質(塩類や有害重金属)が塩として固定されたものが溶融飛灰として捕集され、こうして飛灰が除去された排気は触媒反応塔18に通過させられてさらにダイオキシン類と窒素酸化物とが同時に処理され、より清浄な排気Gとして誘引ファン19によって大気に排出される。また、集塵機17で捕集された飛灰は、飛灰安定化装置20においてキレート薬品等の安定化薬品Hが添加されて安定化処理され、安定化処理飛灰Iとして処理される。
【0015】
一方、上述のように溶融炉11内に溶融したスラグSが所定の表面レベルに達するように保持された後、上記供給口24からこのスラグSの表面に供給される焼却灰Aは、スラグSとの比重の差によって該スラグSの表面に浮遊しながらスラグSの流動により緩やかに拡散してゆく。そして、上記構成の溶融装置では、その溶融炉11において上記供給口24の中心線Oがこの溶融炉11内に噴射させられるバーナーフレームTの中心線Pの高さよりも下方に位置させられており、従って供給口24の中心もバーナーフレームTの中心線Pより下方に位置することになるため、この供給口24から供給されてスラグS表面に拡散する焼却灰AがバーナーフレームTに直接晒されることがない。すなわち、かかる溶融装置を用いた本実施形態の溶融方法では、バーナーフレームTはスラグS表面の廃棄物焼却灰Aを避けるように溶融炉11内に噴射させられることとなり、焼却灰Aは、このバーナーフレームTによる輻射熱とバーナーフレームTによって加熱された溶融炉11の天井部11bや壁部11c〜11fからの輻射熱、および溶融スラグSからの伝熱によって加熱されて溶融させられる。また、焼却灰Aに可燃性固形物Bが混合されている場合は、これが燃焼する際の燃焼熱によっても加熱されて溶融させられる。なお、こうして焼却灰Aが溶融させられて生じたスラグSは、一定時間溶融炉11内に滞留して脱泡や成分の均一化がなされ、安定した品質のスラグSとなり上述のように排出溝21aから溢流してスラグ冷却器15に出滓させられる。
【0016】
従って、このような焼却灰Aの溶融方法および溶融装置によれば、従来のバーナーフレームによって焼却灰を直接加熱して溶融させる場合のように焼却灰Aが溶融しながら飛散して溶融炉11の天井部11bや壁部11c〜11fに付着することによりこれら天井部11bや壁部11c〜11fを被覆する耐火材が浸食されたりすることがなく、このため溶融炉11自体の寿命の延長を図ることができるのは勿論、これら天井部11bや壁部11c〜11f全体を間接水冷構造として浸食を抑える必要もなくなり、本実施形態の溶融装置のように溶融したスラグSに接する部分のうちスラグSが最も高温となるその表面レベルに沿った部分のみを間接水冷構造とすれば十分となる。このため、溶融炉11内に保持されるスラグSの温度や溶融炉11内においてこのスラグSの上に形成される気相部Uの温度を、この溶融炉11への液体燃料Dの供給量などを抑えながらも高温に維持することができ、低コストかつ省エネルギーを図りつつ確実な焼却灰Aの溶融を促すことが可能となる。
【0017】
また、特に本実施形態の溶融装置では、上述のようにスラグSが最も高温となってその浸食性も高くなる該スラグSの表面レベルに沿った部分のみが間接水冷構造とされており、これによりかかる間接水冷構造を採ることによる溶融炉11内の温度低下を極力抑えながらも、浸食による溶融炉11の寿命短縮は確実に抑えることが可能となる。しかも、本実施形態では、このスラグSの表面レベルに沿った部分の溶融炉11の壁部11d〜11fおよび堰21が、電鋳レンガ等の耐食性耐火材11Cによって形成されており、これによってもより確実に溶融スラグSによる溶融炉11の浸食を防いで、その寿命の一層の延長を図ることが可能となる。なお、この耐食性耐火材11Cとして定形の電鋳レンガを採用すれば、浸食の激しい部分のみを補修時に取り替えることができるので、より効率的である。
【0018】
さらに、本実施形態では、望ましくは90%以上の高濃度の酸素含有ガスCを溶融炉11に供給しており、これにより、排気口23から排出される排ガスによる溶融炉11から持ち出す熱量が小さくなり、また特に焼却灰Aを可燃性固形物Bと混合して供給した場合には、可燃性固形物Bは浮遊しながらガスとチャーになり、高濃度酸素で燃焼され、その燃焼熱が溶融熱に利用できるので、液体燃料Dとして供給される灯油等の化石燃料の使用量を一層少なくできる。従って、このように焼却灰Aに、汚泥(炭化物)等からなる可燃性固形物Bを混合することによってエネルギーコストの一層の低減を図ることができ、場合によってはバーナー26から灯油等の液体燃料Dを供給してバーナーフレームTを形成する代わりに、廃棄物等から発生する消化ガスを利用したりすることにより、エネルギーコストのさらなる低減を図ることも可能である。
【0019】
次に、図5および図6は本発明の溶融装置の第2の実施形態を示すものであり、上述した第1の実施形態と共通する要素には同一の符号を配して説明を簡略化する。すなわち、この第2の実施形態においては、図示のように概略直方体の箱形をなす溶融炉11の排出口22とは反対側の他端側の壁部11dの幅方向中央部にバーナー座25が水平に設けられるとともに、この壁部11dに交差して溶融炉11の長手方向に延びる一方の壁部11eには、上記他端側の壁部11d寄りに焼却灰Aの供給口24がやはり水平に設けられており、この供給口24の中心線Oすなわち該供給口24の中心が、バーナー座25に取り付けられた図示されていないバーナーから溶融炉11内に上記長手方向に沿って水平に噴射されるバーナーフレームTの中心線Pよりも下方に位置させられている。従って、このような第2の実施形態の溶融装置を用いた焼却灰Aの溶融方法においても、焼却灰Aの供給口24の中心がバーナーフレームTの中心線Pより低い位置にあるため、この供給口24から供給されて高さを減じながら溶融スラグS表面に拡散する焼却灰AにバーナーフレームTが接することがなく、このバーナーフレームTが焼却灰Aを避けるように噴射させられるため、第1の実施形態と同様の効果を得ることができる。
【0020】
【実施例】
以下、本発明の溶融方法の実施例について説明する。本実施例では、図5および図6に示した第2の実施形態の溶融装置により、3種類(A,B,C)の高分子系下水焼却灰を用いて、表1に示す条件で溶融を行った。また、それぞれの焼却灰の軟化点、融点、溶流点と出滓スラグの主要成分を表2に示す。
【0021】
【表1】
【0022】
【表2】
【0023】
まず、溶融炉へ焼却灰を供給しない無負荷運転時の溶融炉内温度と燃料消費量との関係を図7に示す。なお、この実施例で用いた燃料は灯油である。この図7に示すように、通常の溶融運転温度となる1450℃では無負荷時の灯油使用量は18l/hrとなった。
【0024】
次に、A,B,Cそれぞれの焼却灰溶融運転時における溶融炉熱収支より算出した出熱割合を図8〜10に示す。図8〜10に示すように、溶融炉の放熱はほぼ一定になるので、負荷の増大とともにスラグ(灰溶融)の受熱割合も増加する。溶融炉の定格値である灰供給量205kg/hr(=5t/日)では、45%〜50%の高い溶融熱効率を示した。図12および図13に示した従来の溶融装置の溶融炉では、溶融熱効率は約30%であったので、本実施例によればこれよりも溶融熱効率が大幅に向上した結果が得られた。
【0025】
上記実施形態のようなスラグバス式の溶融炉においては、スラグは一定時間炉内に滞留することによって灰への伝熱とスラグ組成の均質化が行われる。そこで、B焼却灰の溶融時の各処理負荷における炉内温度、スラグ温度(上層および下層)、スラグ融液の深さを測定した。その結果を表3に示す。ただし、この時の運転は耐火材のスラグ浸食テストの目的もあり、溶融運転温度は通常より高い温度で実施した。
【0026】
【表3】
【0027】
表3に示すように、スラグ融液が実際に流動性をもっている深さは融液表面より約100mm前後で、このスラグ層はほぼ計画値に合致しており、これから計算されるスラグの滞留時間は約2時間である。本実施例では、後工程において溶融スラグの高品質化として結晶化(石材化)炉が設置されており、上述のようにこの滞留時間内に結晶化スラグとして必要とされる脱泡および成分の均一化を行い、安定した品質で出滓される。
【0028】
本実施例では、5ton−灰/日の溶融設備における燃料使用量は灰1ton当たり灯油150lになることが確認できた。この結果をもとに試算した15t/日規模の溶融設備エネルギーコストを、従来の溶融設備と比較して図11に示す(灯油¥40/l、電力¥15/kWhで算出。)。図11より実施例では、エネルギーコストで約60%、燃料コストで約58%へと縮減できることとなり、熱効率の高い省エネルギー型の溶融装置および溶融方法であることが分かる。
【0029】
【発明の効果】
以上説明したように、本発明によれば、例えば溶融炉への廃棄物焼却灰の供給口の中心を、この溶融炉内に噴射されるバーナーフレームの中心線よりも下方に位置させることによって、この焼却灰を避けるようにバーナーフレームを溶融炉内に噴射することにより、焼却灰の飛散によって溶融炉の天井部や壁部に浸食が生じるのを抑えることができ、これにより溶融炉の寿命の延長を図ることができるとともに、これら天井部や壁部の全体を間接冷却構造とする必要がなく、従って溶融炉の熱効率の向上を図って低コストかつ省エネルギーの廃棄物焼却灰の溶融を促すことが可能となる。
【図面の簡単な説明】
【図1】 本発明の溶融装置の第1の実施形態を示す図である。
【図2】 図1に示す第1の実施形態の溶融装置における溶融炉11の横断面図(図3および図4におけるXX断面図)である。
【図3】 図1に示す第1の実施形態の溶融装置における溶融炉11の側断面図(図2および図4におけるYY断面図)である。
【図4】 図1に示す第1の実施形態の溶融装置における溶融炉11の縦断面図(図2および図3におけるZZ断面図)である。
【図5】 本発明の第2の実施形態の溶融装置における溶融炉11の縦断面図である。
【図6】 本発明の第2の実施形態の溶融装置における溶融炉11の横断面図(図5におけるXX断面図)である。
【図7】 本発明の実施例において、無負荷時の炉内温度と燃料消費量の関係を示す図である。
【図8】 本発明の実施例において、各処理量における出熱割合(A焼却灰溶融時)を示す図である。
【図9】 本発明の実施例において、各処理量における出熱割合(B焼却灰溶融時)を示す図である。
【図10】 本発明の実施例において、各処理量における出熱割合(C焼却灰溶融時)を示す図である。
【図11】 本発明の実施例と従来例との溶融設備エネルギーコスト比較(15ton−灰/日)を示す図である。
【図12】 従来の溶融装置における溶融炉1の縦断面図である。
【図13】 従来の溶融装置における溶融炉1の横断面図(図12におけるXX断面図)である。
【符号の説明】
11 溶融炉
11b 溶融炉11の天井部
11c〜11f 溶融炉11の壁部
11A 高耐火度耐火材
11B 断熱耐火材
11C 耐食性耐火材
21 堰
22 排出口
23 排気口
24 供給口
25 バーナー座
26 バーナー
27 水冷ジャケット
A 廃棄物焼却灰
C 酸素含有ガス
D 液体燃料
O 供給口24の中心線
P バーナーフレームTの中心線
S スラグ
T バーナーフレーム
U 気相部
Claims (3)
- 炉床部に堰が立設された溶融炉において溶融状態のスラグを保持しつつ、該溶融炉内の上記スラグの表面に廃棄物焼却灰を供給し、上記溶融炉の壁部に備えられた上記廃棄物焼却灰を供給する供給口の中心が上記溶融炉内におけるバーナーフレーム中心線の高さよりも下方に位置させられるように上記壁部に備えられたバーナーにより、上記スラグ表面の廃棄物焼却灰を避けるようにバーナーフレームを上記溶融炉内に噴射して該廃棄物焼却灰を溶融することを特徴とする廃棄物焼却灰の溶融方法。
- 炉床部に堰が立設されて溶融状態のスラグを保持する溶融炉の壁部に、この溶融炉内の上記スラグの表面に廃棄物焼却灰を供給する供給口と、該溶融炉内にバーナーフレームを噴射するバーナーとを備え、上記供給口の中心が上記溶融炉内におけるバーナーフレーム中心線の高さよりも下方に位置させられていて、上記スラグの表面に供給された上記廃棄物焼却灰を避けるように上記バーナーフレームが上記溶融炉内に噴射させられることを特徴とする廃棄物焼却灰の溶融装置。
- 上記壁部は、上記スラグの表面レベルに沿った部分のみが間接水冷構造とされていることを特徴とする請求項2に記載の廃棄物焼却灰の溶融装置。
Priority Applications (1)
| Application Number | Priority Date | Filing Date | Title |
|---|---|---|---|
| JP2001157290A JP4248767B2 (ja) | 2001-05-25 | 2001-05-25 | 廃棄物焼却灰の溶融方法および溶融装置 |
Applications Claiming Priority (1)
| Application Number | Priority Date | Filing Date | Title |
|---|---|---|---|
| JP2001157290A JP4248767B2 (ja) | 2001-05-25 | 2001-05-25 | 廃棄物焼却灰の溶融方法および溶融装置 |
Publications (2)
| Publication Number | Publication Date |
|---|---|
| JP2002349836A JP2002349836A (ja) | 2002-12-04 |
| JP4248767B2 true JP4248767B2 (ja) | 2009-04-02 |
Family
ID=19001181
Family Applications (1)
| Application Number | Title | Priority Date | Filing Date |
|---|---|---|---|
| JP2001157290A Expired - Lifetime JP4248767B2 (ja) | 2001-05-25 | 2001-05-25 | 廃棄物焼却灰の溶融方法および溶融装置 |
Country Status (1)
| Country | Link |
|---|---|
| JP (1) | JP4248767B2 (ja) |
Families Citing this family (3)
| Publication number | Priority date | Publication date | Assignee | Title |
|---|---|---|---|---|
| JP4722022B2 (ja) * | 2006-12-04 | 2011-07-13 | 大同特殊鋼株式会社 | ガラス溶解炉 |
| CN107830527A (zh) * | 2017-12-04 | 2018-03-23 | 大连易舜绿色科技有限公司 | 废物处理装置及废物处理方法 |
| CN114963192B (zh) * | 2022-05-23 | 2025-09-05 | 北京策菲节能环保技术有限公司 | 一种高效连续式垃圾焚烧发电系统 |
-
2001
- 2001-05-25 JP JP2001157290A patent/JP4248767B2/ja not_active Expired - Lifetime
Also Published As
| Publication number | Publication date |
|---|---|
| JP2002349836A (ja) | 2002-12-04 |
Similar Documents
| Publication | Publication Date | Title |
|---|---|---|
| CN101983087B (zh) | 处理废物的方法和设备 | |
| CN110470139A (zh) | 一种从熔池液面以下加热的飞灰等离子体熔融装置及方法 | |
| CN104073655B (zh) | 连续侧吹炼锡工艺 | |
| RU2699114C2 (ru) | Плавильный аппарат погружного горения | |
| CN101880774A (zh) | 采用底吹熔池熔炼处理除铜渣产出粗铅与铅冰铜的工艺及其装置 | |
| CN113701166A (zh) | 等离子体炉和含金属废物等离子体熔融处理系统及方法 | |
| JP4248767B2 (ja) | 廃棄物焼却灰の溶融方法および溶融装置 | |
| EP3499162B1 (en) | Method for reducing salt usage in aluminum recycling | |
| JP3280265B2 (ja) | 焼却残渣と飛灰の溶融処理装置及びその溶融処理方法 | |
| WO2015196889A1 (zh) | 侧吹炼锡装置 | |
| Pioro et al. | Advanced melting technologies with submerged combustion | |
| CN203602695U (zh) | 侧吹冶炼设备 | |
| JPH09301748A (ja) | 安定なスラグの製造方法 | |
| CN111174213A (zh) | 物料搅动式富氧熔融装置 | |
| CN103555964A (zh) | 侧吹冶炼设备 | |
| RU2802494C1 (ru) | Система плавления золошлаковых отходов мусоросжигающего завода | |
| KR100402844B1 (ko) | 비산재 선회용융시스템 | |
| JP2952248B2 (ja) | 溶融ガラスもしくは溶融スラグから金属を枯渇させる方法および装置 | |
| WO2015196888A1 (zh) | 连续侧吹炼锡装置 | |
| JP4722022B2 (ja) | ガラス溶解炉 | |
| CN219674228U (zh) | 一种固废气化熔融炉 | |
| CN103555965A (zh) | 双侧吹冶炼设备 | |
| CN116085801A (zh) | 一种固废气化熔融炉 | |
| JP3857089B2 (ja) | 灰溶融処理方法及び灰溶融処理装置 | |
| KR20250011102A (ko) | 탄화규소 보유 물질의 처리 방법 |
Legal Events
| Date | Code | Title | Description |
|---|---|---|---|
| A621 | Written request for application examination |
Free format text: JAPANESE INTERMEDIATE CODE: A621 Effective date: 20060928 |
|
| A977 | Report on retrieval |
Free format text: JAPANESE INTERMEDIATE CODE: A971007 Effective date: 20071220 |
|
| A131 | Notification of reasons for refusal |
Free format text: JAPANESE INTERMEDIATE CODE: A131 Effective date: 20080304 |
|
| A521 | Request for written amendment filed |
Free format text: JAPANESE INTERMEDIATE CODE: A523 Effective date: 20080507 |
|
| A02 | Decision of refusal |
Free format text: JAPANESE INTERMEDIATE CODE: A02 Effective date: 20080826 |
|
| A521 | Request for written amendment filed |
Free format text: JAPANESE INTERMEDIATE CODE: A523 Effective date: 20081027 |
|
| A911 | Transfer to examiner for re-examination before appeal (zenchi) |
Free format text: JAPANESE INTERMEDIATE CODE: A911 Effective date: 20081104 |
|
| TRDD | Decision of grant or rejection written | ||
| A01 | Written decision to grant a patent or to grant a registration (utility model) |
Free format text: JAPANESE INTERMEDIATE CODE: A01 Effective date: 20090106 |
|
| A01 | Written decision to grant a patent or to grant a registration (utility model) |
Free format text: JAPANESE INTERMEDIATE CODE: A01 |
|
| A61 | First payment of annual fees (during grant procedure) |
Free format text: JAPANESE INTERMEDIATE CODE: A61 Effective date: 20090114 |
|
| FPAY | Renewal fee payment (event date is renewal date of database) |
Free format text: PAYMENT UNTIL: 20120123 Year of fee payment: 3 |
|
| R150 | Certificate of patent or registration of utility model |
Ref document number: 4248767 Country of ref document: JP Free format text: JAPANESE INTERMEDIATE CODE: R150 Free format text: JAPANESE INTERMEDIATE CODE: R150 |
|
| FPAY | Renewal fee payment (event date is renewal date of database) |
Free format text: PAYMENT UNTIL: 20120123 Year of fee payment: 3 |
|
| FPAY | Renewal fee payment (event date is renewal date of database) |
Free format text: PAYMENT UNTIL: 20130123 Year of fee payment: 4 |
|
| FPAY | Renewal fee payment (event date is renewal date of database) |
Free format text: PAYMENT UNTIL: 20140123 Year of fee payment: 5 |
|
| S531 | Written request for registration of change of domicile |
Free format text: JAPANESE INTERMEDIATE CODE: R313531 |
|
| R350 | Written notification of registration of transfer |
Free format text: JAPANESE INTERMEDIATE CODE: R350 |
|
| EXPY | Cancellation because of completion of term |
