JP4192500B2 - インクジェット記録装置 - Google Patents

インクジェット記録装置 Download PDF

Info

Publication number
JP4192500B2
JP4192500B2 JP2002153291A JP2002153291A JP4192500B2 JP 4192500 B2 JP4192500 B2 JP 4192500B2 JP 2002153291 A JP2002153291 A JP 2002153291A JP 2002153291 A JP2002153291 A JP 2002153291A JP 4192500 B2 JP4192500 B2 JP 4192500B2
Authority
JP
Japan
Prior art keywords
ink
tank
main
ink tank
sub
Prior art date
Legal status (The legal status is an assumption and is not a legal conclusion. Google has not performed a legal analysis and makes no representation as to the accuracy of the status listed.)
Expired - Fee Related
Application number
JP2002153291A
Other languages
English (en)
Other versions
JP2003341103A (ja
Inventor
直純 上野
久 吉村
Current Assignee (The listed assignees may be inaccurate. Google has not performed a legal analysis and makes no representation or warranty as to the accuracy of the list.)
Sharp Corp
Original Assignee
Sharp Corp
Priority date (The priority date is an assumption and is not a legal conclusion. Google has not performed a legal analysis and makes no representation as to the accuracy of the date listed.)
Filing date
Publication date
Application filed by Sharp Corp filed Critical Sharp Corp
Priority to JP2002153291A priority Critical patent/JP4192500B2/ja
Publication of JP2003341103A publication Critical patent/JP2003341103A/ja
Application granted granted Critical
Publication of JP4192500B2 publication Critical patent/JP4192500B2/ja
Anticipated expiration legal-status Critical
Expired - Fee Related legal-status Critical Current

Links

Images

Landscapes

  • Ink Jet (AREA)

Description

【0001】
【発明の属する技術分野】
本発明は、インクジェットプリンタ等のインクジェット記録装置に関し、とくにサブインクタンクと記録ヘッドが一体化してキャリッジ上に搭載され、サブインクタンクとメインインクタンクがチューブ等で接続されており、インクの消費に応じてサブインクタンクと接続されたメインインクタンクを交換可能なインクジェット記録装置に関する。
【0002】
【従来の技術】
記録ヘッドに設けられたインク吐出口からインクを吐出させて記録を行うシリアル型インクジェット記録装置として、従来、記録ヘッド上にインクタンクを搭載したキャリッジを往復走査させて記録を行うものが知られている。
【0003】
このような従来のインクジェット記録装置では、キャリッジ上に複数の種類のインクを収納したインクタンクが搭載される。インクタンクは、記録ヘッドからのインクだれを防止するため、定常状態において負圧に維持される必要がある都合上、インクタンク内にスポンジ等の多孔質負圧発生部材を必要とし、充分なインク量を保持するためには、インクタンクの容積がインクの内容量に対してかなり大きなものとなってしまい、結果としてキャリッジの大型化を招いていた。
【0004】
このような問題を回避するため、装置本体側に固定されたメインインクタンクから柔軟性を有するチューブ等により接続したサブインクタンクを介して記録ヘッドにインクを供給するインク供給系が用いられている。
【0005】
このような方法を用いると、非常に簡単な構成でインク供給系が実現でき、キャリッジ上のサブインクタンクには、スポンジ等の負圧発生部材を必要としない、内容積が1cc程度の小型のサブインクタンクを搭載するだけでよいので、キャリッジの小型化が可能となる。また、メインインクタンクを記録ヘッドの吐出口面より20〜100mm程度低い位置に設けることで、水頭圧差によりメインインクタンク内に前述の負圧発生部材が必要でなくなり、メインインクタンクの容積に対するインク充填効率が向上する。
【0006】
【発明が解決しようとする課題】
メインインクタンクとサブインクタンクを接続する柔軟性のあるチューブは、ゴム製、樹脂製のものが用いられるため、若干のガス透過性を有する。また、チューブ内も記録ヘッドと同等に負圧になっているため、チューブ内には大気からチューブ壁を介して少しづつ空気が進入し、長期放置時等において気泡が発生する。さらに、メインインクタンク交換時にもチューブ内に気泡が進入してしまう。そして、この気泡が記録ヘッドに流れ込むと、正常なインク滴を吐出できなくなり、印字不良が発生する。
【0007】
このような印字不良状態を回避するために、装置の状態や使用者の指示により、吸引回復動作が行われる。
【0008】
吸引回復動作は、記録ヘッドの吐出口面にキャップ部材を押圧し、インク吸引手段を動作させ、吐出口からインクを吸引して、メインインクタンクから記録ヘッドにインクを充填させることで実現される。
【0009】
しかしながら、従来の装置では、この回復動作を確実に行うために、インク吸引手段が記録ヘッドからメインインクタンクまでの全てのインク流路の体積に相当するインクを吸引するように設定されている。このため、インク流路に残存しているインクを全て廃棄することとなり、実際に記録に用いることのできるインク量が減り、インクの使用効率が大幅に低下する。
【0010】
本発明の目的は、上記の問題を解決し、メインインクタンクから記録ヘッドまでのインク流路におけるインクの残存状態に応じたインク量を吸引することにより、廃棄するインク量を最小限にすることができるインクジェット記録装置を提供することにある。
【0011】
【課題を解決するための手段および発明の効果】
本発明によるインクジェット記録装置は、吐出口形成面に形成された吐出口からインクを吐出して記録を行う記録ヘッドと、該記録ヘッドへインクを供給するために前記記録ヘッドと一体状に形成されたサブインクタンクと、前記記録ヘッドおよびサブインクタンクを搭載し所定の記録領域およびその隣接領域を主走査方向に移動可能なキャリッジと、前記サブインクタンクへインクを供給可能なメインインクタンクと、前記サブインクタンクとメインインクタンクを接続し前記メインインクタンクと当接および離脱が可能な接続手段と、前記隣接領域に配設され前記記録ヘッドの吐出口形成面に対して当接および離脱が可能なキャップ部材と、該キャップ部材を介して前記記録ヘッドの吐出口からインクを吸引する吸引手段と、該吸引手段を制御する制御手段とを備えているインクジェット記録装置において、前記サブインクタンク内のインク残量の有無を検知する第1のインク残量検知手段を備えており、前記制御手段は、前記吸引手段に、初期充填時の吸引回復動作と、前記第1のインク残量検知手段の検知結果によってインク吸引量の異なる2つの吸引回復動作とから 1 つを選択して行わせるものであることを特徴とするものである。
【0012】
メインインクタンクは、装置本体側に固定状に設けられる。
【0013】
接続手段は、通常は、メインインクタンクに当接されており、メインインクタンクの交換時に、メインインクタンクから離脱される。
【0014】
吸引回復動作は、回復動作指示があったときに行われる。回復動作指示は、装置の状態によって自動的に出力される。また、使用者の回復動作の操作によっても出力される。
【0015】
たとえば、残量検知手段の検知結果が残量ありの場合は、小回復シーケンスが行われる。これは、記録ヘッド内のインクをリフレッシュするためにごく少量のインクを短時間吸引する回復動作である。残量検知手段の検知結果が残量なしの場合は、中回復シーケンスが行われる。これは、サブインクタンク内に一定量のインクを吸引するために、小回復シーケンスよりは多いが、比較的少量のインクを吸引する回復動作である。
【0016】
また、初期充填時、すなわち、装置を初めて使用する場合や装置が長時間放置された場合は、大回復シーケンスが行われる。これは、長時間インクを吸引し、メインインクタンクから接続手段、サブインクタンクおよび記録ヘッドにインクを充填して、印字が開始できるようにする回復動作である。
【0017】
本発明のインクジェット記録装置によれば、初期充填であるか否かと、第1のインク残量検知手段の検知結果、すなわち、サブインクタンク内のインク残量の有無に応じて、適正なインク吸引動作を行わせることができる。したがって、吸引回復動作によって無駄なインクを廃棄することがなく、インクの使用効率が向上し、メインインクタンクの小型化、廃インクパッドの小型化、コスト削減、ひいてはインクジェット記録装置全体の小型化が可能となる。
【0018】
本発明のインクジェット記録装置において、たとえば、前記メインインクタンク内のインク残量の有無を検知する第2のインク残量検知手段を備え、前記制御手段が、前記第2のインク残量検知手段の検知結果に応じて、前記メインインクタンクの交換を指示するものである。
【0019】
これによれば、メインインクタンクの交換が必要になったときに、確実に交換を指示することができる。
【0020】
本発明のインクジェット記録装置において、たとえば、前記接続手段の前記メインインクタンクと当接する部分に、前記メインインクタンク離脱時に前記接続手段への空気の進入を防止するフィルタ部材が設けられている。
【0021】
これによれば、フィルタ部材にインク膜が形成されるため、メインインクタンク交換のために接続手段からメインインクタンクを離脱したときに、接続手段に空気が進入することがない。したがって、メインインクタンクを交換した後に、必ずしも吸引回復動作を行う必要がなく、インクの廃棄量をさらに少なくすることができる。
【0022】
たとえば、記録ヘッドに、複数のサブインクタンクが一体化され、各サブインクタンクにそれぞれ対応する複数の吐出口が形成されている。
【0023】
また、たとえば、記録ヘッドは、分極された圧電部材に電界を作用させることにより、圧電部材に剪断変形を生じさせ、インク室に充填されたインクに圧力波を作用させてインクを吐出するものである。
【0024】
【発明の実施の形態】
以下、図面を参照して、本発明をインクジェットプリンタに適用した実施形態について説明する。
【0025】
図1はプリンタの印字部を記録用紙の搬送方向後側(上流側)から見た部分切欠き背面図、図2は同部分切欠き平面図である。実施形態の説明において、前後左右は印字部における記録用紙の搬送方向についていうものとする。印字部において、記録用紙は図1の紙面表側から紙面裏側に搬送されるので、図2の上側(図1の紙面裏側)が前、図2の下側(図1の紙面表側)が後であり、図1および図2の左右が左右である。
【0026】
図1および図2に示すように、プリンタの印字部には、装置本体の筐体(1)に固定されて主走査方向である左右方向にのびるガイド棒(2)が設けられ、これにキャリッジ(3)が取り付けられている。キャリッジ(3)は、図示しない適宜の駆動手段により、ガイド棒(2)に沿って左右方向に移動させられる。キャリッジ(3)の移動領域のうち、右端部を除く領域が、印字時にキャリッジ(3)が往復移動する記録領域、記録領域に隣接する右端部の領域がメンテナンス領域となっている。
【0027】
キャリッジ(3)には、記録ヘッド(4)と複数(この例では4つ)のサブインクタンク(5a)(5b)(5c)(5d)が搭載されている。サブインクタンクは、符号(5)で総称する。サブタンク(5)は、記録ヘッド(4)の上に一体状に設けられている。
【0028】
図示は省略したが、記録ヘッド(4)の下面の吐出口形成面に、各サブタンク(5)にそれぞれ対応する複数の吐出口が形成されている。そして、記録ヘッド(4)は、分極された圧電部材に電界を作用させることにより、圧電部材に剪断変形を生じさせ、インク室に充填されたインクに圧力波を作用させてインクを吐出するようになっている。
【0029】
筐体(1)内の下部に、サブタンク(5)と同数のメインインクタンク(6a)(6b)(6c)(6d)が着脱可能に設けられている。メインインクタンクは、符号(6)で総称する。そして、メインタンク(6)とサブタンク(5)の対応するもの同士が、接続手段を構成する接続装置(7)により接続されている。図示は省略したが、メインタンク(6)は、筐体(1)に設けられたホルダに装着され、それにより、接続装置(7)に当接して、対応するサブタンク(5)に接続される。
【0030】
サブタンク(5)の詳細が図3に、メインタンク(6)の詳細が図4に、接続装置(7)の詳細が図5に示されている。
【0031】
接続装置(7)は、筐体(1)に固定状に設けられてメインタンク(6)と当接および離脱が可能な接続ブロック(8)と、接続ブロック(8)とサブタンク(5)を接続するチューブ(9)とから構成されている。詳細な図示は省略したが、チューブ(9)はカバー部材によって束ねられて、保護され、キャリッジ(3)の移動の妨げにならないようになっている。
【0032】
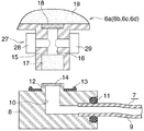
図5に示すように、接続ブロック(8)は直方体状をなし、1つの側面から上面に達するインク流路(10)が形成されている。流路(10)の側面側には、チューブ(9)の端部が挿入されて、固定され、シール部材(11)により密封されている。流路(10)の上面開口部には、短い円筒部(12)が一体に形成されている。円筒部(12)の周囲のブロック(8)の上面に、シール部材(13)が設けられている。円筒部(12)の量路(10)の上端開口には、フィルタ部材(14)が設けられている。
【0033】
図4に示すように、メインタンク(6)は、略直方体状をなし、その下面に円柱部(15)が一体に形成されている。円柱部(15)には、それを上下に貫通してメインタンク(6)の内部と連通するインク流路(16)が形成されている。流路(16)の下端開口部は他の部分より内径が大きくなっており、この部分にスポンジ等の多孔質部材(17)がはめ入れられている。また、流路(16)の上端部とメインタンク(6)の内部との間には、フィルタ部材(18)が設けられている。
【0034】
メインタンク(6)内には、負圧を発生させるためのスポンジ等の多孔質部材(19)が充填されており、メインタンク(6)の上壁には、大気連通穴(20)が形成されている。
【0035】
図3に示すように、サブタンク(5)の1側面の下部に、サブタンク(5)の内部と連通する中空状の突出部(21)が形成され、この突出部(21)の先端部にチューブ(9)が接続されている。通常、サブタンク(5)の下側約半分の部分にインクが充填され、上側の約半分の部分が空気層となっている。サブタンク(5)の底壁に、記録ヘッド(4)へのインク供給穴(22)が形成されている。サブタンク(5)内のインク供給穴(22)が形成された部分と、突出部(21)側の部分との間に、キャリッジ(3)の動作によるインクの流動が直接記録ヘッド(4)に伝わることを防止する仕切壁(23)が設けられている。空気層と仕切壁(23)により、キャリッジ(3)の加減速時のインクの流動の影響を最小限にしている。
【0036】
メインタンク(6)の内容量は、サブタンク(5)の内容量より充分大きい。サブタンク(5)の少なくとも突出部(21)は、透明プラスチックス等の透光性材料で作られている。たとえば、サブタンク(5)全体が透光性材料で作られている。そして、突出部(21)に、第1のインク残量検知手段を構成する第1のインク残量センサ(24)が設けられている。このセンサ(24)は、突出部(21)を挟んで対向状に配置された発光素子(25)と受光素子(26)とからなり、受光素子(26)から突出部(21)内すなわちサブタンク(5)内のインク残量に応じた電気信号が出力される。そして、これにより、サブタンク(5)内のインク残量の有無が検知される。メインタンク(6)の円柱部(15)に、第2のインク残量検知手段を構成する第2のインク残量センサ(27)が設けられている。このセンサ(27)は、流路(16)を挟むように円柱部(15)の両外側面に1対の電極(28)(29)より構成されている。図示は省略したが、メインタンク(6)がホルダに装着されたときに、センサ(27)の電極(28)(29)がホルダ側に設けられた電極に接触し、電極(28)(29)間に交流電圧が印加される。そして、電極(28)(29)間の容量を検知することにより、流路(16)内のインク残量の有無が検知される。
【0037】
メンテナンス領域に、吸引回復動作を行うためのキャップ部材(30)が上下動可能に設けられている。筐体(1)の下部に廃インク溜め(31)が設けられ、廃インク溜め(31)とキャップ部材(30)との間に、吸引手段を構成する吸引ポンプ(32)が設けられている。
【0038】
図6は、プリンタの電気的構成の主要部の1例を示している。
【0039】
プリンタは、プリンタ全体を制御するための制御部(33)を備えている。制御部(33)には、電源投入スイッチ(34)、内蔵タイマ(35)等が接続され、2つのインク残量センサ(24)(27)の出力、メンテナンス指示信号等が制御部(33)に入力する。制御部(33)は、後述するように、メンテナンス時に、メンテナンス指示信号、センサ(24)(27)の出力、内蔵タイマ(35)等に基づいて、吸引ポンプ(32)を駆動する駆動モータ(36)を制御し、これにより、吸引回復動作を制御する。
【0040】
上記のプリンタの使用を開始するとき、メインタンク(6)がホルダに装着され、これにより、メインタンク(6)の円柱部(15)がブロック(8)の円筒部(12)の外側にはまって、シール部材(13)に圧接し、これらの間が密閉される。そして、キャリッジ(3)がメンテナンス領域の所定のメンテナンス位置に停止させられ、キャップ部材(30)が上昇して、記録ヘッド(4)の吐出口形成面に当接することにより、吐出口が塞がれ、ポンプ(32)が駆動されることにより、メインタンク(6)から接続装置(7)を通してサブタンク(5)および記録ヘッド(4)にインクが充填される。
【0041】
通常の使用時には、キャリッジ(3)が記録領域を往復移動している間に、前記のように記録ヘッド(4)の吐出口からインクが吐出されることにより、記録が行われる。そして、印字のための記録ヘッド(4)からのインク吐出によりサブタンク(6)内のインクが消費されても、記録ヘッド(4)の吐出口の毛細管力により、消費された分のインクが自動的に補充され、サブタンク(5)内および接続装置(7)内が空になることはない。
【0042】
メンテナンスを行うときには、メンテナンス位置に停止したキャリッジ(3)の記録ヘッド(4)の吐出口形成面にキャップ部材(30)が当接し、ポンプ(32)が駆動されることにより、吐出口からインクが吸引されて、サブタンク(5)および記録ヘッド(4)にインクが充填される。ポンプ(32)により吸引されたインクは、廃インク溜め(31)に溜められる。
【0043】
メインタンク(6)が空になると、そのメインタンク(6)がホルダから取り外され、新しいメインタンク(6)が装着される。メインタンク(6)をホルダから取り外すと、メインタンク(6)がブロック(8)から離脱するが、ブロック(8)のフィルタ部材(14)の部分に毛細管力によってインク膜が形成され、接続装置(7)内への空気の進入が防止される。そして、新しいメインタンク(6)がホルダに装着されると、インクが充満したメインタンク(6)の多孔質部材(17)とブロック(8)のフィルタ部材(14)が密着し、毛細管力により再度インクの供給が可能となる。このため、メインタンク(6)を交換したときに、必ずしもメンテナンスを行う必要がない。なお、メインタンク(6)の多孔質部材(17)には、記録用紙1ページの印字ができる量のインクが保持されている。このため、流路(16)内にインクがなくなっても、多孔質部材(17)に保持されているインクで印字が可能である。
【0044】
制御部(33)は、吸引回復動作の実行指示を受けたとき、たとえば、プリンタが長時間放置されていたことを検知した場合や、使用者からの指示があった場合に、メンテナンスを行う。このとき、制御部(33)は、2つのインク残量センサ(24)(27)によるインク残量の有無の検知結果に基づいて、予め設定した動作時間または動作回数の異なる複数種類の吸引回復動作から最適な吸引回復動作を選択し、インク吸引量の異なる吸引回復動作を行う。
【0045】
次に、図7のフローチャートを参照して、メンテナンス時の動作の1例について説明する。
【0046】
メンテナンス指示があると、まず、初期充填であるか否かが調べられ(S1)、そうであれば、大回復シーケンスが行われ(S2)、処理を終了する。初期充填であるか否かの判断は、メモリの初期充填動作フラグを参照して行われる。このフラグがセットされていると、初期充填であると判断されて、大回復シーケンスが行われ、一度大回復シーケンスが行われると、初期充填フラグはクリアされる。また、長時間プリンタが放置された場合は、内蔵タイマ(35)によって、再び初期充填フラグがセットされる。大回復シーケンスは、ポンプ(32)により長時間インクの吸引を行って、メインタンク(6)からブロック(8)、チューブ(9)、サブタンク(5)および記録ヘッド(4)までインクを充填して、印字が開始できるようにする回復動作である。
【0047】
S1において、初期充填でなかった場合は、第2のセンサ(27)の出力より、メインタンク(6)のインク残量の有無が調べられ(S3)、残量がない場合は、使用者に対してメインタンク(6)の交換指示が行われ(S4)、使用者によるメインタンク(6)の交換が完了するまで待機し(S5)、交換が完了すると、処理を終了する。
【0048】
S3において、メインタンク(6)のインク残量がある場合は、第1のセンサ(24)の出力より、サブタンク(5)のインク残量の有無が調べられ(S6)、残量がない場合は、中回復シーケンスが行われ(S7)、処理を終了する。中回復シーケンスは、サブタンク(5)内に一定量のインクを充填するための回復動作であり、インク吸引量は、大回復シーケンスの場合より少ない。
【0049】
S6において、サブタンク(5)のインク残量がある場合は、小回復シーケンスが行われ(S8)、処理を終了する。小回復シーケンスは、記録ヘッド(4)内のインクをリフレッシュするための回復動作であり、インク吸引量は最も少ない。
【0050】
上記のようにメインタンク(6)の交換を行った場合、使用者からの指示がない限り、吸引回復動作は行われない。前記のように、メインタンク(6)を取り外しても、フィルタ部材(14)に形成されたインク膜により接続装置(7)内に空気が進入することを防止できるため、回復動作を行う必要がないからである。使用者から回復動作の指示があった場合は、図7のフローチャートが実行され、上記のように、中回復シーケンスおよび小回復シーケンスのいずれかが選択されて、実行される。
【0051】
なお、印字の途中でメインタンク(6)のインク残量がなくなっても、前記のように、センサ(27)より記録ヘッド(4)側の多孔質部材(17)の部分に記録用紙1ページ分以上のインクが残るようになっているため、印字を中断することなく、印字終了後にメインタンク(6)の交換を指示することが可能である。
【0052】
上記の実施形態では、メインタンク(6)内に多孔質部材(19)が設けられて、負圧を発生するようになっているが、サブタンク(5)よりも充分に下方に設置される場合、たとえば、サブタンク(5)より100mm以上下方に設置されるような場合は、多孔質部材は不要である。
【0053】
また、上記の実施形態では、メインタンク(6)がサブタンク(7)よりも下方に設置されているが、メインタンクはサブタンクよりも上方に設置されてもよい。
【図面の簡単な説明】
【図1】図1は、本発明の実施形態を示すインクジェットプリンタの印字部の概略垂直断面図である。
【図2】図2は、図1のインクジェットプリンタの印字部の概略平面図である。
【図3】図3は、サブインクタンクの部分の垂直断面図である。
【図4】図4は、メインインクタンクの部分の垂直断面図である。
【図5】図5は、接続装置の接続ブロックの部分の垂直断面図である。
【図6】図6は、インクジェットプリンタの電気的構成の主要部の1例を示すブロック図である。
【図7】図7は、回復動作の例を示すフローチャートである。
【符号の説明】
(3) キャリッジ
(4) 記録ヘッド
(5a)(5b)(5c)(5d) サブインクタンク
(6a)(6b)(6c)(6d) メインインクタンク
(7) 接続装置
(14) フィルタ部材
(24) 第1のインク残量センサ
(27) 第2のインク残量センサ

Claims (3)

  1. 吐出口形成面に形成された吐出口からインクを吐出して記録を行う記録ヘッドと、該記録ヘッドへインクを供給するために前記記録ヘッドと一体状に形成されたサブインクタンクと、前記記録ヘッドおよびサブインクタンクを搭載し所定の記録領域およびその隣接領域を主走査方向に移動可能なキャリッジと、前記サブインクタンクへインクを供給可能なメインインクタンクと、前記サブインクタンクとメインインクタンクを接続し前記メインインクタンクと当接および離脱が可能な接続手段と、前記隣接領域に配設され前記記録ヘッドの吐出口形成面に対して当接および離脱が可能なキャップ部材と、該キャップ部材を介して前記記録ヘッドの吐出口からインクを吸引する吸引手段と、該吸引手段を制御する制御手段とを備えているインクジェット記録装置において、
    前記サブインクタンク内のインク残量の有無を検知する第1のインク残量検知手段を備えており、前記制御手段は、前記吸引手段に、初期充填時の吸引回復動作と、前記第1のインク残量検知手段の検知結果によってインク吸引量の異なる2つの吸引回復動作とから 1 つを選択して行わせるものであることを特徴とするインクジェット記録装置。
  2. 前記メインインクタンク内のインク残量の有無を検知する第2のインク残量検知手段を備え、前記制御手段が、前記第2のインク残量検知手段の検知結果に応じて、前記メインインクタンクの交換を指示するものであることを特徴とする請求項1のインクジェット記録装置。
  3. 前記接続手段の前記メインインクタンクと当接する部分に、前記メインインクタンク離脱時に前記接続手段への空気の進入を防止するフィルタ部材が設けられていることを特徴とする請求項1または2のインクジェット記録装置。
JP2002153291A 2002-05-28 2002-05-28 インクジェット記録装置 Expired - Fee Related JP4192500B2 (ja)

Priority Applications (1)

Application Number Priority Date Filing Date Title
JP2002153291A JP4192500B2 (ja) 2002-05-28 2002-05-28 インクジェット記録装置

Applications Claiming Priority (1)

Application Number Priority Date Filing Date Title
JP2002153291A JP4192500B2 (ja) 2002-05-28 2002-05-28 インクジェット記録装置

Publications (2)

Publication Number Publication Date
JP2003341103A JP2003341103A (ja) 2003-12-03
JP4192500B2 true JP4192500B2 (ja) 2008-12-10

Family

ID=29770355

Family Applications (1)

Application Number Title Priority Date Filing Date
JP2002153291A Expired - Fee Related JP4192500B2 (ja) 2002-05-28 2002-05-28 インクジェット記録装置

Country Status (1)

Country Link
JP (1) JP4192500B2 (ja)

Cited By (1)

* Cited by examiner, † Cited by third party
Publication number Priority date Publication date Assignee Title
US9517628B2 (en) 2014-08-25 2016-12-13 Canon Kabushiki Kaisha Printing apparatus, method, and non-transitory storage medium

Families Citing this family (4)

* Cited by examiner, † Cited by third party
Publication number Priority date Publication date Assignee Title
JP4801395B2 (ja) * 2005-08-22 2011-10-26 株式会社梅谷製作所 印刷機
JP5867378B2 (ja) * 2012-12-11 2016-02-24 セイコーエプソン株式会社 液体噴射装置
JP6056880B2 (ja) * 2015-01-19 2017-01-11 セイコーエプソン株式会社 液体噴射装置
JP2024035985A (ja) 2022-09-05 2024-03-15 キヤノン株式会社 記録装置およびその制御方法

Cited By (1)

* Cited by examiner, † Cited by third party
Publication number Priority date Publication date Assignee Title
US9517628B2 (en) 2014-08-25 2016-12-13 Canon Kabushiki Kaisha Printing apparatus, method, and non-transitory storage medium

Also Published As

Publication number Publication date
JP2003341103A (ja) 2003-12-03

Similar Documents

Publication Publication Date Title
US6102517A (en) Ink-jet recording apparatus for ink cartridge
US5903294A (en) Ink container, ink cartridge, ink jet apparatus, and manufacturing method therefor
US10308033B2 (en) Image recording apparatus capable of restraining entry of air to recording portion
US20210331484A1 (en) Image-recording apparatus including first tank, second tank connectable to first tank, and head for ejecting liquid supplied from second tank
JP6922216B2 (ja) 画像記録装置
JP4192500B2 (ja) インクジェット記録装置
JP2001199080A (ja) インクジェット式記録装置および同装置におけるサブタンクへのインク補給制御方法
JP4985229B2 (ja) 液体吐出装置
JPH06226990A (ja) インクタンクおよびインクジェット記録装置
JP2001199084A (ja) インクジェット式記録装置
CN109318590B (zh) 图像记录装置
JP2022116363A (ja) 液体吐出装置およびその制御方法
US10647121B2 (en) Inkjet recording apparatus including switch capable of switching communication state between damper chamber and pump
JP2001253093A (ja) インクジェット式記録装置
JP2018108667A (ja) インクジェット記録装置
JP2006007493A (ja) バルブ、液体噴射装置及び液体噴射装置の液体噴射ヘッドクリーニング方法
JP2002019140A (ja) インクジェット式記録装置
US10737499B2 (en) Liquid-consumption apparatus having semipermeable membrane positioned in storage chamber of tank at position avoiding wetting
JP2018103592A (ja) 画像記録装置
CN109318597B (zh) 图像记录装置
JP5071153B2 (ja) 流体噴射装置、流体収容容器および流体収容容器の封止方法
JP2010131851A (ja) 液体噴射記録装置
JP2005262582A (ja) 液体回収方法、液体噴射装置及び液体収容体
JPH07314725A (ja) インクジェット記録装置および排インクタンク
JP2003136699A (ja) インクジェット式記録装置

Legal Events

Date Code Title Description
A621 Written request for application examination

Free format text: JAPANESE INTERMEDIATE CODE: A621

Effective date: 20050225

A977 Report on retrieval

Free format text: JAPANESE INTERMEDIATE CODE: A971007

Effective date: 20071121

A131 Notification of reasons for refusal

Free format text: JAPANESE INTERMEDIATE CODE: A131

Effective date: 20080129

A521 Written amendment

Free format text: JAPANESE INTERMEDIATE CODE: A523

Effective date: 20080328

A521 Written amendment

Free format text: JAPANESE INTERMEDIATE CODE: A523

Effective date: 20080415

RD03 Notification of appointment of power of attorney

Free format text: JAPANESE INTERMEDIATE CODE: A7423

Effective date: 20080415

A521 Written amendment

Free format text: JAPANESE INTERMEDIATE CODE: A821

Effective date: 20080415

TRDD Decision of grant or rejection written
A01 Written decision to grant a patent or to grant a registration (utility model)

Free format text: JAPANESE INTERMEDIATE CODE: A01

Effective date: 20080812

A01 Written decision to grant a patent or to grant a registration (utility model)

Free format text: JAPANESE INTERMEDIATE CODE: A01

A61 First payment of annual fees (during grant procedure)

Free format text: JAPANESE INTERMEDIATE CODE: A61

Effective date: 20080908

R150 Certificate of patent or registration of utility model

Ref document number: 4192500

Country of ref document: JP

Free format text: JAPANESE INTERMEDIATE CODE: R150

Free format text: JAPANESE INTERMEDIATE CODE: R150

FPAY Renewal fee payment (event date is renewal date of database)

Free format text: PAYMENT UNTIL: 20111003

Year of fee payment: 3

FPAY Renewal fee payment (event date is renewal date of database)

Free format text: PAYMENT UNTIL: 20121003

Year of fee payment: 4

FPAY Renewal fee payment (event date is renewal date of database)

Free format text: PAYMENT UNTIL: 20131003

Year of fee payment: 5

LAPS Cancellation because of no payment of annual fees