JP4183116B2 - 糖化タンパク質測定用検量物質および標準測定法 - Google Patents
糖化タンパク質測定用検量物質および標準測定法 Download PDFInfo
- Publication number
- JP4183116B2 JP4183116B2 JP2002318747A JP2002318747A JP4183116B2 JP 4183116 B2 JP4183116 B2 JP 4183116B2 JP 2002318747 A JP2002318747 A JP 2002318747A JP 2002318747 A JP2002318747 A JP 2002318747A JP 4183116 B2 JP4183116 B2 JP 4183116B2
- Authority
- JP
- Japan
- Prior art keywords
- glycated
- albumin
- protein
- concentration
- amino acid
- Prior art date
- Legal status (The legal status is an assumption and is not a legal conclusion. Google has not performed a legal analysis and makes no representation as to the accuracy of the status listed.)
- Expired - Lifetime
Links
- 238000005259 measurement Methods 0.000 title claims description 42
- 238000000691 measurement method Methods 0.000 title claims description 39
- 108091005996 glycated proteins Proteins 0.000 title description 101
- 239000000463 material Substances 0.000 title description 7
- 238000000034 method Methods 0.000 claims description 176
- 150000001413 amino acids Chemical class 0.000 claims description 124
- 108010004903 glycosylated serum albumin Proteins 0.000 claims description 112
- 239000000126 substance Substances 0.000 claims description 87
- 108010088751 Albumins Proteins 0.000 claims description 65
- 102000009027 Albumins Human genes 0.000 claims description 65
- WQZGKKKJIJFFOK-GASJEMHNSA-N Glucose Natural products OC[C@H]1OC(O)[C@H](O)[C@@H](O)[C@@H]1O WQZGKKKJIJFFOK-GASJEMHNSA-N 0.000 claims description 17
- 239000008103 glucose Substances 0.000 claims description 17
- 102000008946 Fibrinogen Human genes 0.000 claims description 15
- 108010049003 Fibrinogen Proteins 0.000 claims description 15
- 229940012952 fibrinogen Drugs 0.000 claims description 15
- 239000003381 stabilizer Substances 0.000 claims description 6
- 229930006000 Sucrose Natural products 0.000 claims description 4
- CZMRCDWAGMRECN-UGDNZRGBSA-N Sucrose Chemical compound O[C@H]1[C@H](O)[C@@H](CO)O[C@@]1(CO)O[C@@H]1[C@H](O)[C@@H](O)[C@H](O)[C@@H](CO)O1 CZMRCDWAGMRECN-UGDNZRGBSA-N 0.000 claims description 4
- 239000005720 sucrose Substances 0.000 claims description 4
- 238000002360 preparation method Methods 0.000 claims description 3
- 229940024606 amino acid Drugs 0.000 description 121
- 235000001014 amino acid Nutrition 0.000 description 121
- 102000004169 proteins and genes Human genes 0.000 description 65
- 108090000623 proteins and genes Proteins 0.000 description 65
- 235000018102 proteins Nutrition 0.000 description 58
- 108090000765 processed proteins & peptides Proteins 0.000 description 56
- 108091005804 Peptidases Proteins 0.000 description 48
- 239000004365 Protease Substances 0.000 description 48
- 238000006243 chemical reaction Methods 0.000 description 43
- 102100037486 Reverse transcriptase/ribonuclease H Human genes 0.000 description 42
- 230000036252 glycation Effects 0.000 description 33
- 102000004190 Enzymes Human genes 0.000 description 27
- 108090000790 Enzymes Proteins 0.000 description 27
- 238000004128 high performance liquid chromatography Methods 0.000 description 24
- 235000000346 sugar Nutrition 0.000 description 24
- 239000000243 solution Substances 0.000 description 22
- KDXKERNSBIXSRK-UHFFFAOYSA-N Lysine Natural products NCCCCC(N)C(O)=O KDXKERNSBIXSRK-UHFFFAOYSA-N 0.000 description 21
- 108010044091 Globulins Proteins 0.000 description 17
- 102000006395 Globulins Human genes 0.000 description 17
- 239000004472 Lysine Substances 0.000 description 17
- 239000000306 component Substances 0.000 description 16
- 210000002966 serum Anatomy 0.000 description 16
- 238000002649 immunization Methods 0.000 description 14
- 230000003053 immunization Effects 0.000 description 14
- 239000000047 product Substances 0.000 description 13
- KDXKERNSBIXSRK-YFKPBYRVSA-N L-lysine Chemical compound NCCCC[C@H](N)C(O)=O KDXKERNSBIXSRK-YFKPBYRVSA-N 0.000 description 12
- 229910021645 metal ion Inorganic materials 0.000 description 12
- 210000004369 blood Anatomy 0.000 description 11
- 239000008280 blood Substances 0.000 description 11
- 230000008859 change Effects 0.000 description 11
- 238000006460 hydrolysis reaction Methods 0.000 description 11
- 238000000746 purification Methods 0.000 description 11
- 238000003860 storage Methods 0.000 description 11
- 238000002835 absorbance Methods 0.000 description 10
- 230000009471 action Effects 0.000 description 10
- KGBXLFKZBHKPEV-UHFFFAOYSA-N boric acid Chemical compound OB(O)O KGBXLFKZBHKPEV-UHFFFAOYSA-N 0.000 description 9
- 239000004327 boric acid Substances 0.000 description 9
- 238000004587 chromatography analysis Methods 0.000 description 9
- 230000007062 hydrolysis Effects 0.000 description 9
- 239000000137 peptide hydrolase inhibitor Substances 0.000 description 9
- KXGVEGMKQFWNSR-UHFFFAOYSA-N deoxycholic acid Natural products C1CC2CC(O)CCC2(C)C2C1C1CCC(C(CCC(O)=O)C)C1(C)C(O)C2 KXGVEGMKQFWNSR-UHFFFAOYSA-N 0.000 description 8
- 108010054147 Hemoglobins Proteins 0.000 description 7
- 102000001554 Hemoglobins Human genes 0.000 description 7
- OUYCCCASQSFEME-QMMMGPOBSA-N L-tyrosine Chemical compound OC(=O)[C@@H](N)CC1=CC=C(O)C=C1 OUYCCCASQSFEME-QMMMGPOBSA-N 0.000 description 7
- 229940124158 Protease/peptidase inhibitor Drugs 0.000 description 7
- 239000003153 chemical reaction reagent Substances 0.000 description 7
- KXGVEGMKQFWNSR-LLQZFEROSA-N deoxycholic acid Chemical compound C([C@H]1CC2)[C@H](O)CC[C@]1(C)[C@@H]1[C@@H]2[C@@H]2CC[C@H]([C@@H](CCC(O)=O)C)[C@@]2(C)[C@@H](O)C1 KXGVEGMKQFWNSR-LLQZFEROSA-N 0.000 description 7
- 150000003242 quaternary ammonium salts Chemical class 0.000 description 7
- DHMQDGOQFOQNFH-UHFFFAOYSA-N Glycine Chemical compound NCC(O)=O DHMQDGOQFOQNFH-UHFFFAOYSA-N 0.000 description 6
- VEXZGXHMUGYJMC-UHFFFAOYSA-N Hydrochloric acid Chemical compound Cl VEXZGXHMUGYJMC-UHFFFAOYSA-N 0.000 description 6
- 102000035195 Peptidases Human genes 0.000 description 6
- 108090000631 Trypsin Proteins 0.000 description 6
- 102000004142 Trypsin Human genes 0.000 description 6
- 238000005251 capillar electrophoresis Methods 0.000 description 6
- 238000000502 dialysis Methods 0.000 description 6
- 230000000694 effects Effects 0.000 description 6
- 238000006911 enzymatic reaction Methods 0.000 description 6
- 150000002500 ions Chemical class 0.000 description 6
- 239000000203 mixture Substances 0.000 description 6
- 239000012588 trypsin Substances 0.000 description 6
- 229960004441 tyrosine Drugs 0.000 description 6
- -1 Arg-C Proteins 0.000 description 5
- 229960003964 deoxycholic acid Drugs 0.000 description 5
- 230000029087 digestion Effects 0.000 description 5
- 239000012634 fragment Substances 0.000 description 5
- 239000007788 liquid Substances 0.000 description 5
- 125000003588 lysine group Chemical group [H]N([H])C([H])([H])C([H])([H])C([H])([H])C([H])([H])C([H])(N([H])[H])C(*)=O 0.000 description 5
- 238000004949 mass spectrometry Methods 0.000 description 5
- 102000004196 processed proteins & peptides Human genes 0.000 description 5
- 238000011002 quantification Methods 0.000 description 5
- 238000004366 reverse phase liquid chromatography Methods 0.000 description 5
- 150000008163 sugars Chemical class 0.000 description 5
- OUYCCCASQSFEME-UHFFFAOYSA-N tyrosine Natural products OC(=O)C(N)CC1=CC=C(O)C=C1 OUYCCCASQSFEME-UHFFFAOYSA-N 0.000 description 5
- RVBUGGBMJDPOST-UHFFFAOYSA-N 2-thiobarbituric acid Chemical compound O=C1CC(=O)NC(=S)N1 RVBUGGBMJDPOST-UHFFFAOYSA-N 0.000 description 4
- QAOWNCQODCNURD-UHFFFAOYSA-N Sulfuric acid Chemical compound OS(O)(=O)=O QAOWNCQODCNURD-UHFFFAOYSA-N 0.000 description 4
- 239000007983 Tris buffer Substances 0.000 description 4
- 238000001514 detection method Methods 0.000 description 4
- 239000000706 filtrate Substances 0.000 description 4
- 238000004255 ion exchange chromatography Methods 0.000 description 4
- 238000004895 liquid chromatography mass spectrometry Methods 0.000 description 4
- 238000004519 manufacturing process Methods 0.000 description 4
- 239000012085 test solution Substances 0.000 description 4
- 238000004809 thin layer chromatography Methods 0.000 description 4
- LENZDBCJOHFCAS-UHFFFAOYSA-N tris Chemical compound OCC(N)(CO)CO LENZDBCJOHFCAS-UHFFFAOYSA-N 0.000 description 4
- BHQCQFFYRZLCQQ-UHFFFAOYSA-N (3alpha,5alpha,7alpha,12alpha)-3,7,12-trihydroxy-cholan-24-oic acid Natural products OC1CC2CC(O)CCC2(C)C2C1C1CCC(C(CCC(O)=O)C)C1(C)C(O)C2 BHQCQFFYRZLCQQ-UHFFFAOYSA-N 0.000 description 3
- QTBSBXVTEAMEQO-UHFFFAOYSA-N Acetic acid Chemical compound CC(O)=O QTBSBXVTEAMEQO-UHFFFAOYSA-N 0.000 description 3
- CSCPPACGZOOCGX-UHFFFAOYSA-N Acetone Chemical compound CC(C)=O CSCPPACGZOOCGX-UHFFFAOYSA-N 0.000 description 3
- KWIUHFFTVRNATP-UHFFFAOYSA-N Betaine Natural products C[N+](C)(C)CC([O-])=O KWIUHFFTVRNATP-UHFFFAOYSA-N 0.000 description 3
- 239000004380 Cholic acid Substances 0.000 description 3
- FBPFZTCFMRRESA-JGWLITMVSA-N D-glucitol Chemical compound OC[C@H](O)[C@@H](O)[C@H](O)[C@H](O)CO FBPFZTCFMRRESA-JGWLITMVSA-N 0.000 description 3
- LFQSCWFLJHTTHZ-UHFFFAOYSA-N Ethanol Chemical compound CCO LFQSCWFLJHTTHZ-UHFFFAOYSA-N 0.000 description 3
- PEDCQBHIVMGVHV-UHFFFAOYSA-N Glycerine Chemical compound OCC(O)CO PEDCQBHIVMGVHV-UHFFFAOYSA-N 0.000 description 3
- 239000004471 Glycine Substances 0.000 description 3
- 108010061951 Methemoglobin Proteins 0.000 description 3
- KWIUHFFTVRNATP-UHFFFAOYSA-O N,N,N-trimethylglycinium Chemical compound C[N+](C)(C)CC(O)=O KWIUHFFTVRNATP-UHFFFAOYSA-O 0.000 description 3
- FAPWRFPIFSIZLT-UHFFFAOYSA-M Sodium chloride Chemical compound [Na+].[Cl-] FAPWRFPIFSIZLT-UHFFFAOYSA-M 0.000 description 3
- 229910052782 aluminium Inorganic materials 0.000 description 3
- 229960003237 betaine Drugs 0.000 description 3
- 230000015572 biosynthetic process Effects 0.000 description 3
- 239000012503 blood component Substances 0.000 description 3
- 239000003093 cationic surfactant Substances 0.000 description 3
- 150000001768 cations Chemical class 0.000 description 3
- BHQCQFFYRZLCQQ-OELDTZBJSA-N cholic acid Chemical compound C([C@H]1C[C@H]2O)[C@H](O)CC[C@]1(C)[C@@H]1[C@@H]2[C@@H]2CC[C@H]([C@@H](CCC(O)=O)C)[C@@]2(C)[C@@H](O)C1 BHQCQFFYRZLCQQ-OELDTZBJSA-N 0.000 description 3
- 235000019416 cholic acid Nutrition 0.000 description 3
- 229960002471 cholic acid Drugs 0.000 description 3
- 238000001212 derivatisation Methods 0.000 description 3
- 238000010790 dilution Methods 0.000 description 3
- 239000012895 dilution Substances 0.000 description 3
- 239000012263 liquid product Substances 0.000 description 3
- 238000001819 mass spectrum Methods 0.000 description 3
- 210000002381 plasma Anatomy 0.000 description 3
- 239000002244 precipitate Substances 0.000 description 3
- 238000001556 precipitation Methods 0.000 description 3
- 239000001294 propane Substances 0.000 description 3
- 238000004445 quantitative analysis Methods 0.000 description 3
- 239000013558 reference substance Substances 0.000 description 3
- 239000011347 resin Substances 0.000 description 3
- 229920005989 resin Polymers 0.000 description 3
- 239000007921 spray Substances 0.000 description 3
- 239000012086 standard solution Substances 0.000 description 3
- 238000012360 testing method Methods 0.000 description 3
- IYLLULUTZPKQBW-UHFFFAOYSA-N Acrinol Chemical compound CC(O)C(O)=O.C1=C(N)C=CC2=C(N)C3=CC(OCC)=CC=C3N=C21 IYLLULUTZPKQBW-UHFFFAOYSA-N 0.000 description 2
- 238000008941 Albumin Reagent Methods 0.000 description 2
- CIWBSHSKHKDKBQ-JLAZNSOCSA-N Ascorbic acid Chemical compound OC[C@H](O)[C@H]1OC(=O)C(O)=C1O CIWBSHSKHKDKBQ-JLAZNSOCSA-N 0.000 description 2
- FRPHFZCDPYBUAU-UHFFFAOYSA-N Bromocresolgreen Chemical compound CC1=C(Br)C(O)=C(Br)C=C1C1(C=2C(=C(Br)C(O)=C(Br)C=2)C)C2=CC=CC=C2S(=O)(=O)O1 FRPHFZCDPYBUAU-UHFFFAOYSA-N 0.000 description 2
- 108010062580 Concanavalin A Proteins 0.000 description 2
- FBPFZTCFMRRESA-FSIIMWSLSA-N D-Glucitol Natural products OC[C@H](O)[C@H](O)[C@@H](O)[C@H](O)CO FBPFZTCFMRRESA-FSIIMWSLSA-N 0.000 description 2
- 241000282414 Homo sapiens Species 0.000 description 2
- MHAJPDPJQMAIIY-UHFFFAOYSA-N Hydrogen peroxide Chemical compound OO MHAJPDPJQMAIIY-UHFFFAOYSA-N 0.000 description 2
- XEEYBQQBJWHFJM-UHFFFAOYSA-N Iron Chemical compound [Fe] XEEYBQQBJWHFJM-UHFFFAOYSA-N 0.000 description 2
- TWRXJAOTZQYOKJ-UHFFFAOYSA-L Magnesium chloride Chemical compound [Mg+2].[Cl-].[Cl-] TWRXJAOTZQYOKJ-UHFFFAOYSA-L 0.000 description 2
- PXHVJJICTQNCMI-UHFFFAOYSA-N Nickel Chemical compound [Ni] PXHVJJICTQNCMI-UHFFFAOYSA-N 0.000 description 2
- 229940124639 Selective inhibitor Drugs 0.000 description 2
- CDBYLPFSWZWCQE-UHFFFAOYSA-L Sodium Carbonate Chemical compound [Na+].[Na+].[O-]C([O-])=O CDBYLPFSWZWCQE-UHFFFAOYSA-L 0.000 description 2
- PXIPVTKHYLBLMZ-UHFFFAOYSA-N Sodium azide Chemical compound [Na+].[N-]=[N+]=[N-] PXIPVTKHYLBLMZ-UHFFFAOYSA-N 0.000 description 2
- 101710120037 Toxin CcdB Proteins 0.000 description 2
- 230000002159 abnormal effect Effects 0.000 description 2
- 238000010521 absorption reaction Methods 0.000 description 2
- XAGFODPZIPBFFR-UHFFFAOYSA-N aluminium Chemical compound [Al] XAGFODPZIPBFFR-UHFFFAOYSA-N 0.000 description 2
- HTZCNXWZYVXIMZ-UHFFFAOYSA-M benzyl(triethyl)azanium;chloride Chemical compound [Cl-].CC[N+](CC)(CC)CC1=CC=CC=C1 HTZCNXWZYVXIMZ-UHFFFAOYSA-M 0.000 description 2
- 238000010876 biochemical test Methods 0.000 description 2
- 230000023555 blood coagulation Effects 0.000 description 2
- ABIUHPWEYMSGSR-UHFFFAOYSA-N bromocresol purple Chemical compound BrC1=C(O)C(C)=CC(C2(C3=CC=CC=C3S(=O)(=O)O2)C=2C=C(Br)C(O)=C(C)C=2)=C1 ABIUHPWEYMSGSR-UHFFFAOYSA-N 0.000 description 2
- UDSAIICHUKSCKT-UHFFFAOYSA-N bromophenol blue Chemical compound C1=C(Br)C(O)=C(Br)C=C1C1(C=2C=C(Br)C(O)=C(Br)C=2)C2=CC=CC=C2S(=O)(=O)O1 UDSAIICHUKSCKT-UHFFFAOYSA-N 0.000 description 2
- 239000000872 buffer Substances 0.000 description 2
- 239000007979 citrate buffer Substances 0.000 description 2
- 238000004040 coloring Methods 0.000 description 2
- 229940009976 deoxycholate Drugs 0.000 description 2
- 206010012601 diabetes mellitus Diseases 0.000 description 2
- 238000003745 diagnosis Methods 0.000 description 2
- 229940042399 direct acting antivirals protease inhibitors Drugs 0.000 description 2
- 238000002795 fluorescence method Methods 0.000 description 2
- 108010074605 gamma-Globulins Proteins 0.000 description 2
- 239000011521 glass Substances 0.000 description 2
- UFFSXJKVKBQEHC-UHFFFAOYSA-N heptafluorobutyric anhydride Chemical compound FC(F)(F)C(F)(F)C(F)(F)C(=O)OC(=O)C(F)(F)C(F)(F)C(F)(F)F UFFSXJKVKBQEHC-UHFFFAOYSA-N 0.000 description 2
- 238000000589 high-performance liquid chromatography-mass spectrometry Methods 0.000 description 2
- 230000003345 hyperglycaemic effect Effects 0.000 description 2
- 230000001900 immune effect Effects 0.000 description 2
- 238000011534 incubation Methods 0.000 description 2
- STZCRXQWRGQSJD-GEEYTBSJSA-M methyl orange Chemical compound [Na+].C1=CC(N(C)C)=CC=C1\N=N\C1=CC=C(S([O-])(=O)=O)C=C1 STZCRXQWRGQSJD-GEEYTBSJSA-M 0.000 description 2
- 229940012189 methyl orange Drugs 0.000 description 2
- FEMOMIGRRWSMCU-UHFFFAOYSA-N ninhydrin Chemical compound C1=CC=C2C(=O)C(O)(O)C(=O)C2=C1 FEMOMIGRRWSMCU-UHFFFAOYSA-N 0.000 description 2
- 239000002504 physiological saline solution Substances 0.000 description 2
- 230000002797 proteolythic effect Effects 0.000 description 2
- 230000035484 reaction time Effects 0.000 description 2
- 238000000926 separation method Methods 0.000 description 2
- GEHJYWRUCIMESM-UHFFFAOYSA-L sodium sulfite Chemical compound [Na+].[Na+].[O-]S([O-])=O GEHJYWRUCIMESM-UHFFFAOYSA-L 0.000 description 2
- 239000000600 sorbitol Substances 0.000 description 2
- 239000012089 stop solution Substances 0.000 description 2
- 239000000758 substrate Substances 0.000 description 2
- XLYOFNOQVPJJNP-UHFFFAOYSA-N water Substances O XLYOFNOQVPJJNP-UHFFFAOYSA-N 0.000 description 2
- HDTRYLNUVZCQOY-UHFFFAOYSA-N α-D-glucopyranosyl-α-D-glucopyranoside Natural products OC1C(O)C(O)C(CO)OC1OC1C(O)C(O)C(O)C(CO)O1 HDTRYLNUVZCQOY-UHFFFAOYSA-N 0.000 description 1
- GEYOCULIXLDCMW-UHFFFAOYSA-N 1,2-phenylenediamine Chemical compound NC1=CC=CC=C1N GEYOCULIXLDCMW-UHFFFAOYSA-N 0.000 description 1
- PQMRRAQXKWFYQN-UHFFFAOYSA-N 1-phenyl-2-sulfanylideneimidazolidin-4-one Chemical compound S=C1NC(=O)CN1C1=CC=CC=C1 PQMRRAQXKWFYQN-UHFFFAOYSA-N 0.000 description 1
- ISYLVKCGXLBQOU-UHFFFAOYSA-N 2-[(2-hydroxyphenyl)diazenyl]benzoic acid Chemical compound OC(=O)c1ccccc1N=Nc1ccccc1O ISYLVKCGXLBQOU-UHFFFAOYSA-N 0.000 description 1
- BFSVOASYOCHEOV-UHFFFAOYSA-N 2-diethylaminoethanol Chemical group CCN(CC)CCO BFSVOASYOCHEOV-UHFFFAOYSA-N 0.000 description 1
- BMUDPLZKKRQECS-UHFFFAOYSA-K 3-[18-(2-carboxyethyl)-8,13-bis(ethenyl)-3,7,12,17-tetramethylporphyrin-21,24-diid-2-yl]propanoic acid iron(3+) hydroxide Chemical compound [OH-].[Fe+3].[N-]1C2=C(C)C(CCC(O)=O)=C1C=C([N-]1)C(CCC(O)=O)=C(C)C1=CC(C(C)=C1C=C)=NC1=CC(C(C)=C1C=C)=NC1=C2 BMUDPLZKKRQECS-UHFFFAOYSA-K 0.000 description 1
- 241000193830 Bacillus <bacterium> Species 0.000 description 1
- 101100512078 Caenorhabditis elegans lys-1 gene Proteins 0.000 description 1
- VEXZGXHMUGYJMC-UHFFFAOYSA-M Chloride anion Chemical compound [Cl-] VEXZGXHMUGYJMC-UHFFFAOYSA-M 0.000 description 1
- RYGMFSIKBFXOCR-UHFFFAOYSA-N Copper Chemical compound [Cu] RYGMFSIKBFXOCR-UHFFFAOYSA-N 0.000 description 1
- FBPFZTCFMRRESA-KVTDHHQDSA-N D-Mannitol Chemical compound OC[C@@H](O)[C@@H](O)[C@H](O)[C@H](O)CO FBPFZTCFMRRESA-KVTDHHQDSA-N 0.000 description 1
- GUBGYTABKSRVRQ-WFVLMXAXSA-N DEAE-cellulose Chemical compound OC1C(O)C(O)C(CO)O[C@H]1O[C@@H]1C(CO)OC(O)C(O)C1O GUBGYTABKSRVRQ-WFVLMXAXSA-N 0.000 description 1
- XPDXVDYUQZHFPV-UHFFFAOYSA-N Dansyl Chloride Chemical compound C1=CC=C2C(N(C)C)=CC=CC2=C1S(Cl)(=O)=O XPDXVDYUQZHFPV-UHFFFAOYSA-N 0.000 description 1
- YZCKVEUIGOORGS-OUBTZVSYSA-N Deuterium Chemical compound [2H] YZCKVEUIGOORGS-OUBTZVSYSA-N 0.000 description 1
- 229930091371 Fructose Natural products 0.000 description 1
- 239000005715 Fructose Substances 0.000 description 1
- RFSUNEUAIZKAJO-ARQDHWQXSA-N Fructose Chemical compound OC[C@H]1O[C@](O)(CO)[C@@H](O)[C@@H]1O RFSUNEUAIZKAJO-ARQDHWQXSA-N 0.000 description 1
- CEAZRRDELHUEMR-URQXQFDESA-N Gentamicin Chemical compound O1[C@H](C(C)NC)CC[C@@H](N)[C@H]1O[C@H]1[C@H](O)[C@@H](O[C@@H]2[C@@H]([C@@H](NC)[C@@](C)(O)CO2)O)[C@H](N)C[C@@H]1N CEAZRRDELHUEMR-URQXQFDESA-N 0.000 description 1
- 229930182566 Gentamicin Natural products 0.000 description 1
- 108010051815 Glutamyl endopeptidase Proteins 0.000 description 1
- 102000017011 Glycated Hemoglobin A Human genes 0.000 description 1
- SQUHHTBVTRBESD-UHFFFAOYSA-N Hexa-Ac-myo-Inositol Natural products CC(=O)OC1C(OC(C)=O)C(OC(C)=O)C(OC(C)=O)C(OC(C)=O)C1OC(C)=O SQUHHTBVTRBESD-UHFFFAOYSA-N 0.000 description 1
- 108091006905 Human Serum Albumin Proteins 0.000 description 1
- 102000008100 Human Serum Albumin Human genes 0.000 description 1
- XUJNEKJLAYXESH-REOHCLBHSA-N L-Cysteine Chemical compound SC[C@H](N)C(O)=O XUJNEKJLAYXESH-REOHCLBHSA-N 0.000 description 1
- PWKSKIMOESPYIA-BYPYZUCNSA-N L-N-acetyl-Cysteine Chemical compound CC(=O)N[C@@H](CS)C(O)=O PWKSKIMOESPYIA-BYPYZUCNSA-N 0.000 description 1
- KZSNJWFQEVHDMF-BYPYZUCNSA-N L-valine Chemical compound CC(C)[C@H](N)C(O)=O KZSNJWFQEVHDMF-BYPYZUCNSA-N 0.000 description 1
- 108090001090 Lectins Proteins 0.000 description 1
- 102000004856 Lectins Human genes 0.000 description 1
- AIMGJYMCTAABEN-GVXVVHGQSA-N Leu-Val-Glu Chemical compound [H]N[C@@H](CC(C)C)C(=O)N[C@@H](C(C)C)C(=O)N[C@@H](CCC(O)=O)C(O)=O AIMGJYMCTAABEN-GVXVVHGQSA-N 0.000 description 1
- HEWWNLVEWBJBKA-WDCWCFNPSA-N Lys-Gln-Thr Chemical compound C[C@@H](O)[C@@H](C(O)=O)NC(=O)[C@H](CCC(N)=O)NC(=O)[C@@H](N)CCCCN HEWWNLVEWBJBKA-WDCWCFNPSA-N 0.000 description 1
- 101001018085 Lysobacter enzymogenes Lysyl endopeptidase Proteins 0.000 description 1
- 229930195725 Mannitol Natural products 0.000 description 1
- YBAFDPFAUTYYRW-UHFFFAOYSA-N N-L-alpha-glutamyl-L-leucine Natural products CC(C)CC(C(O)=O)NC(=O)C(N)CCC(O)=O YBAFDPFAUTYYRW-UHFFFAOYSA-N 0.000 description 1
- 125000001429 N-terminal alpha-amino-acid group Chemical group 0.000 description 1
- VEQPNABPJHWNSG-UHFFFAOYSA-N Nickel(2+) Chemical compound [Ni+2] VEQPNABPJHWNSG-UHFFFAOYSA-N 0.000 description 1
- 102000004316 Oxidoreductases Human genes 0.000 description 1
- 108090000854 Oxidoreductases Proteins 0.000 description 1
- 108010064719 Oxyhemoglobins Proteins 0.000 description 1
- 102000003992 Peroxidases Human genes 0.000 description 1
- 229920001213 Polysorbate 20 Polymers 0.000 description 1
- 108010045362 Serum Globulins Proteins 0.000 description 1
- 102000005686 Serum Globulins Human genes 0.000 description 1
- DWAQJAXMDSEUJJ-UHFFFAOYSA-M Sodium bisulfite Chemical compound [Na+].OS([O-])=O DWAQJAXMDSEUJJ-UHFFFAOYSA-M 0.000 description 1
- 241000187747 Streptomyces Species 0.000 description 1
- ATJFFYVFTNAWJD-UHFFFAOYSA-N Tin Chemical compound [Sn] ATJFFYVFTNAWJD-UHFFFAOYSA-N 0.000 description 1
- HDTRYLNUVZCQOY-WSWWMNSNSA-N Trehalose Natural products O[C@@H]1[C@@H](O)[C@@H](O)[C@@H](CO)O[C@@H]1O[C@@H]1[C@H](O)[C@@H](O)[C@@H](O)[C@@H](CO)O1 HDTRYLNUVZCQOY-WSWWMNSNSA-N 0.000 description 1
- KZSNJWFQEVHDMF-UHFFFAOYSA-N Valine Natural products CC(C)C(N)C(O)=O KZSNJWFQEVHDMF-UHFFFAOYSA-N 0.000 description 1
- HCHKCACWOHOZIP-UHFFFAOYSA-N Zinc Chemical compound [Zn] HCHKCACWOHOZIP-UHFFFAOYSA-N 0.000 description 1
- 238000000862 absorption spectrum Methods 0.000 description 1
- 230000021736 acetylation Effects 0.000 description 1
- 238000006640 acetylation reaction Methods 0.000 description 1
- 229960004308 acetylcysteine Drugs 0.000 description 1
- HDTRYLNUVZCQOY-LIZSDCNHSA-N alpha,alpha-trehalose Chemical compound O[C@@H]1[C@@H](O)[C@H](O)[C@@H](CO)O[C@@H]1O[C@@H]1[C@H](O)[C@@H](O)[C@H](O)[C@@H](CO)O1 HDTRYLNUVZCQOY-LIZSDCNHSA-N 0.000 description 1
- WQZGKKKJIJFFOK-PHYPRBDBSA-N alpha-D-galactose Chemical compound OC[C@H]1O[C@H](O)[C@H](O)[C@@H](O)[C@H]1O WQZGKKKJIJFFOK-PHYPRBDBSA-N 0.000 description 1
- 125000003277 amino group Chemical group 0.000 description 1
- BFNBIHQBYMNNAN-UHFFFAOYSA-N ammonium sulfate Chemical compound N.N.OS(O)(=O)=O BFNBIHQBYMNNAN-UHFFFAOYSA-N 0.000 description 1
- 229910052921 ammonium sulfate Inorganic materials 0.000 description 1
- 238000012870 ammonium sulfate precipitation Methods 0.000 description 1
- 235000011130 ammonium sulphate Nutrition 0.000 description 1
- 238000004458 analytical method Methods 0.000 description 1
- 238000005349 anion exchange Methods 0.000 description 1
- 238000005571 anion exchange chromatography Methods 0.000 description 1
- 150000001450 anions Chemical class 0.000 description 1
- 230000002421 anti-septic effect Effects 0.000 description 1
- 239000003963 antioxidant agent Substances 0.000 description 1
- 235000006708 antioxidants Nutrition 0.000 description 1
- 229940064004 antiseptic throat preparations Drugs 0.000 description 1
- 235000010323 ascorbic acid Nutrition 0.000 description 1
- 229960005070 ascorbic acid Drugs 0.000 description 1
- 239000011668 ascorbic acid Substances 0.000 description 1
- 238000003556 assay Methods 0.000 description 1
- 150000001540 azides Chemical class 0.000 description 1
- VJGNLOIQCWLBJR-UHFFFAOYSA-M benzyl(tributyl)azanium;chloride Chemical compound [Cl-].CCCC[N+](CCCC)(CCCC)CC1=CC=CC=C1 VJGNLOIQCWLBJR-UHFFFAOYSA-M 0.000 description 1
- WQZGKKKJIJFFOK-VFUOTHLCSA-N beta-D-glucose Chemical compound OC[C@H]1O[C@@H](O)[C@H](O)[C@@H](O)[C@@H]1O WQZGKKKJIJFFOK-VFUOTHLCSA-N 0.000 description 1
- 210000000601 blood cell Anatomy 0.000 description 1
- 239000007853 buffer solution Substances 0.000 description 1
- 238000000738 capillary electrophoresis-mass spectrometry Methods 0.000 description 1
- 150000001720 carbohydrates Chemical class 0.000 description 1
- 230000015556 catabolic process Effects 0.000 description 1
- 238000005277 cation exchange chromatography Methods 0.000 description 1
- 239000013522 chelant Substances 0.000 description 1
- 238000002144 chemical decomposition reaction Methods 0.000 description 1
- 239000003795 chemical substances by application Substances 0.000 description 1
- 229940099352 cholate Drugs 0.000 description 1
- 230000015271 coagulation Effects 0.000 description 1
- 238000005345 coagulation Methods 0.000 description 1
- 239000003245 coal Substances 0.000 description 1
- 229910001429 cobalt ion Inorganic materials 0.000 description 1
- XLJKHNWPARRRJB-UHFFFAOYSA-N cobalt(2+) Chemical compound [Co+2] XLJKHNWPARRRJB-UHFFFAOYSA-N 0.000 description 1
- 238000004440 column chromatography Methods 0.000 description 1
- 238000012790 confirmation Methods 0.000 description 1
- 238000011109 contamination Methods 0.000 description 1
- 229910052802 copper Inorganic materials 0.000 description 1
- 239000010949 copper Substances 0.000 description 1
- 238000012937 correction Methods 0.000 description 1
- ATDGTVJJHBUTRL-UHFFFAOYSA-N cyanogen bromide Chemical compound BrC#N ATDGTVJJHBUTRL-UHFFFAOYSA-N 0.000 description 1
- XUJNEKJLAYXESH-UHFFFAOYSA-N cysteine Natural products SCC(N)C(O)=O XUJNEKJLAYXESH-UHFFFAOYSA-N 0.000 description 1
- 235000018417 cysteine Nutrition 0.000 description 1
- 229960002433 cysteine Drugs 0.000 description 1
- 230000003247 decreasing effect Effects 0.000 description 1
- 238000006731 degradation reaction Methods 0.000 description 1
- 230000000593 degrading effect Effects 0.000 description 1
- 238000011033 desalting Methods 0.000 description 1
- 229910052805 deuterium Inorganic materials 0.000 description 1
- VHJLVAABSRFDPM-QWWZWVQMSA-N dithiothreitol Chemical compound SC[C@@H](O)[C@H](O)CS VHJLVAABSRFDPM-QWWZWVQMSA-N 0.000 description 1
- DDXLVDQZPFLQMZ-UHFFFAOYSA-M dodecyl(trimethyl)azanium;chloride Chemical compound [Cl-].CCCCCCCCCCCC[N+](C)(C)C DDXLVDQZPFLQMZ-UHFFFAOYSA-M 0.000 description 1
- SYELZBGXAIXKHU-UHFFFAOYSA-N dodecyldimethylamine N-oxide Chemical compound CCCCCCCCCCCC[N+](C)(C)[O-] SYELZBGXAIXKHU-UHFFFAOYSA-N 0.000 description 1
- 238000005516 engineering process Methods 0.000 description 1
- 210000003743 erythrocyte Anatomy 0.000 description 1
- 238000012869 ethanol precipitation Methods 0.000 description 1
- DNJIEGIFACGWOD-UHFFFAOYSA-N ethyl mercaptane Natural products CCS DNJIEGIFACGWOD-UHFFFAOYSA-N 0.000 description 1
- 230000007717 exclusion Effects 0.000 description 1
- 238000002474 experimental method Methods 0.000 description 1
- 235000013305 food Nutrition 0.000 description 1
- 238000013467 fragmentation Methods 0.000 description 1
- 238000006062 fragmentation reaction Methods 0.000 description 1
- 238000004108 freeze drying Methods 0.000 description 1
- 239000004023 fresh frozen plasma Substances 0.000 description 1
- FBPFZTCFMRRESA-GUCUJZIJSA-N galactitol Chemical compound OC[C@H](O)[C@@H](O)[C@@H](O)[C@H](O)CO FBPFZTCFMRRESA-GUCUJZIJSA-N 0.000 description 1
- 229930182830 galactose Natural products 0.000 description 1
- 229910052733 gallium Inorganic materials 0.000 description 1
- 238000002290 gas chromatography-mass spectrometry Methods 0.000 description 1
- 238000002523 gelfiltration Methods 0.000 description 1
- 229960002518 gentamicin Drugs 0.000 description 1
- 108091005995 glycated hemoglobin Proteins 0.000 description 1
- 229960000789 guanidine hydrochloride Drugs 0.000 description 1
- PJJJBBJSCAKJQF-UHFFFAOYSA-N guanidinium chloride Chemical compound [Cl-].NC(N)=[NH2+] PJJJBBJSCAKJQF-UHFFFAOYSA-N 0.000 description 1
- 238000010438 heat treatment Methods 0.000 description 1
- 229940109738 hematin Drugs 0.000 description 1
- 230000005764 inhibitory process Effects 0.000 description 1
- CDAISMWEOUEBRE-GPIVLXJGSA-N inositol Chemical compound O[C@H]1[C@H](O)[C@@H](O)[C@H](O)[C@H](O)[C@@H]1O CDAISMWEOUEBRE-GPIVLXJGSA-N 0.000 description 1
- 229960000367 inositol Drugs 0.000 description 1
- 238000007689 inspection Methods 0.000 description 1
- 230000003993 interaction Effects 0.000 description 1
- 230000002452 interceptive effect Effects 0.000 description 1
- PGLTVOMIXTUURA-UHFFFAOYSA-N iodoacetamide Chemical compound NC(=O)CI PGLTVOMIXTUURA-UHFFFAOYSA-N 0.000 description 1
- 229910052742 iron Inorganic materials 0.000 description 1
- 239000002523 lectin Substances 0.000 description 1
- 238000004811 liquid chromatography Methods 0.000 description 1
- 229910001629 magnesium chloride Inorganic materials 0.000 description 1
- 239000000594 mannitol Substances 0.000 description 1
- 235000010355 mannitol Nutrition 0.000 description 1
- 231100000783 metal toxicity Toxicity 0.000 description 1
- 230000011987 methylation Effects 0.000 description 1
- 238000007069 methylation reaction Methods 0.000 description 1
- 244000005700 microbiome Species 0.000 description 1
- 239000002808 molecular sieve Substances 0.000 description 1
- 229910052759 nickel Inorganic materials 0.000 description 1
- 229910001453 nickel ion Inorganic materials 0.000 description 1
- FSVCQIDHPKZJSO-UHFFFAOYSA-L nitro blue tetrazolium dichloride Chemical compound [Cl-].[Cl-].COC1=CC(C=2C=C(OC)C(=CC=2)[N+]=2N(N=C(N=2)C=2C=CC=CC=2)C=2C=CC(=CC=2)[N+]([O-])=O)=CC=C1[N+]1=NC(C=2C=CC=CC=2)=NN1C1=CC=C([N+]([O-])=O)C=C1 FSVCQIDHPKZJSO-UHFFFAOYSA-L 0.000 description 1
- 230000003287 optical effect Effects 0.000 description 1
- 230000007170 pathology Effects 0.000 description 1
- 238000012510 peptide mapping method Methods 0.000 description 1
- 230000000737 periodic effect Effects 0.000 description 1
- 239000012466 permeate Substances 0.000 description 1
- 108040007629 peroxidase activity proteins Proteins 0.000 description 1
- 239000008363 phosphate buffer Substances 0.000 description 1
- 239000000256 polyoxyethylene sorbitan monolaurate Substances 0.000 description 1
- 235000010486 polyoxyethylene sorbitan monolaurate Nutrition 0.000 description 1
- 238000002203 pretreatment Methods 0.000 description 1
- KCXFHTAICRTXLI-UHFFFAOYSA-N propane-1-sulfonic acid Chemical compound CCCS(O)(=O)=O KCXFHTAICRTXLI-UHFFFAOYSA-N 0.000 description 1
- 238000002731 protein assay Methods 0.000 description 1
- 238000011403 purification operation Methods 0.000 description 1
- 125000001453 quaternary ammonium group Chemical class 0.000 description 1
- 230000009467 reduction Effects 0.000 description 1
- 239000012266 salt solution Substances 0.000 description 1
- 238000003118 sandwich ELISA Methods 0.000 description 1
- CDAISMWEOUEBRE-UHFFFAOYSA-N scyllo-inosotol Natural products OC1C(O)C(O)C(O)C(O)C1O CDAISMWEOUEBRE-UHFFFAOYSA-N 0.000 description 1
- URGAHOPLAPQHLN-UHFFFAOYSA-N sodium aluminosilicate Chemical compound [Na+].[Al+3].[O-][Si]([O-])=O.[O-][Si]([O-])=O URGAHOPLAPQHLN-UHFFFAOYSA-N 0.000 description 1
- 229910000029 sodium carbonate Inorganic materials 0.000 description 1
- 239000011780 sodium chloride Substances 0.000 description 1
- 229940079827 sodium hydrogen sulfite Drugs 0.000 description 1
- 235000010267 sodium hydrogen sulphite Nutrition 0.000 description 1
- 229940001482 sodium sulfite Drugs 0.000 description 1
- 235000010265 sodium sulphite Nutrition 0.000 description 1
- 230000006641 stabilisation Effects 0.000 description 1
- 238000013112 stability test Methods 0.000 description 1
- 238000011105 stabilization Methods 0.000 description 1
- 238000010561 standard procedure Methods 0.000 description 1
- 239000004094 surface-active agent Substances 0.000 description 1
- 229910052723 transition metal Inorganic materials 0.000 description 1
- 229910001428 transition metal ion Inorganic materials 0.000 description 1
- 150000003624 transition metals Chemical class 0.000 description 1
- 238000005583 trifluoroacetylation reaction Methods 0.000 description 1
- 238000006227 trimethylsilylation reaction Methods 0.000 description 1
- 238000000108 ultra-filtration Methods 0.000 description 1
- 239000004474 valine Substances 0.000 description 1
- 229910052725 zinc Inorganic materials 0.000 description 1
- 239000011701 zinc Substances 0.000 description 1
- DGVVWUTYPXICAM-UHFFFAOYSA-N β‐Mercaptoethanol Chemical compound OCCS DGVVWUTYPXICAM-UHFFFAOYSA-N 0.000 description 1
Images
Landscapes
- Measuring Or Testing Involving Enzymes Or Micro-Organisms (AREA)
- Investigating Or Analysing Biological Materials (AREA)
Description
【発明の属する技術分野】
本発明は、糖化タンパク質の割合の測定に有用な検量物質およびそれを用いた糖化タンパク質割合の測定方法、さらに検量物質の表示値の決定および糖化アルブミンの測定に有用な標準測定法に関する。本発明における検量物質、それを用いた測定方法、及び標準測定法は臨床検査に用いられる。
【0002】
【従来の技術】
糖尿病の診断及び管理を行う上で糖化タンパク質の測定は非常に重要であり、過去約1〜2ヶ月の平均血糖値を反映するヘモグロビンA1c(HbA1c)、過去約2週間の平均血糖値を反映する糖化アルブミン(GA)等が日常的に測定されている。
HbA1cの測定法にはHPLC法、免疫法等が知られているが、方法間で測定しているものが多少異なり国際臨床化学連合(IFCC)による標準化が試みられている(非特許文献1)。IFCCはHbA1c、β鎖N末端のアミノ酸バリンの糖化物をHbA1cと定義した。HbA1cの検量物質としてはヘモグロビンA1cのN末端ヘキサペプチド(糖化、非糖化)が提案され使用されている。
一方糖化アルブミンの場合はアルブミン分子当たり主な糖化部位は少なくとも4箇所存在することが知られており(非特許文献2)HbA1cよりも複雑である。GAの定義及び検量物質(標準品)及び標準測定法は決定されていない。
【0003】
GAの測定方法にはGAがGA分子の濃度として測定されると考えられるHPLC法(非特許文献3)、 GAがGA分子中に存在する総アミノ酸濃度として測定されると考えられるチオバルビツール酸を用いる方法(非特許文献4)、酵素標識ホウ酸を用いた免疫法(非特許文献5)、酵素法(特許文献1)、 GAがGA分子中に存在する525位リシンの糖化体の濃度として測定されると考えられる免疫法(非特許文献6)等が知られている。これらの方法は、それぞれの方法によって測定対象や表示方法が異なり、健常者の基準範囲が方法間で大きく異なっており、標準物質を用いた標準化及び標準測定法の設定が待たれている。
また、糖化タンパク質は糖とタンパク質が非酵素的に結合したものであるから、一般的に不安定であり液状で供給されているものはない。
【0004】
さらに、HbA1c、GAはタンパク質あたりの糖化タンパク質の割合、つまり糖化率で示される。糖化率を測定する場合には、糖化タンパク質を測定し、別途タンパク質を測定し糖化率を計算する方法が一般的である。糖化タンパク質の検量物質とタンパク質の検量物質は試薬が異なることから通常別々に準備する。検量物質は自動分析計等で測定を行う場合には開放状態で用いることが多く、その状態で時間が経つと検量物質が濃縮され正確な値が得られなくなる。検量物質が別々存在する場合、濃縮の度合いが検量物質の種類により異なる可能性もあり、さらに正確な値が得られなくなる。割合換算をする検量物質で糖化タンパク質濃度及び/又は糖化アミノ酸濃度およびタンパク質濃度を表示した検量物質はこれまでなかった。
【0005】
また、糖化タンパク質の測定に有用な定量方法としては、特許第2920092号公報の“グリケートされたタンパク質の定量的測定方法”が知られており、試料をプロテアーゼと反応させてグリケートされたペプチドとグリケートされていないペプチドを生成させ、これを分離、定量し、該グリケートされていないタンパク質に対する該グリケートされたタンパク質を測定する方法が知られている。
【0006】
但しこの特許は実際にはグリコヘモグロビンの測定方法にしか触れておらず、以下に示す点で測定が困難な糖化アルブミンの測定についてはなんら説明もなく、実際に糖化アルブミンを測定することは困難である。糖化アルブミンがグリコヘモグロビンの測定に比して困難な点は、1)糖化部位がグリコヘモグロビンは1箇所であるのに対し糖化アルブミンには少なくとも4箇所の糖化部位が存在し、単純にプロテアーゼで処理して1箇所を見るだけでは不十分な場合がある。2)血球試料中ではヘモグロビンはタンパク質の約95%を占め、他のタンパク質へのプロテアーゼの作用を考慮する必要はないが、アルブミンは血清中のタンパク質の6割を占めるに過ぎず、共存する他タンパク質の影響を小さくする必要があることである。
これらの困難な点を解決した糖化アルブミンを正確に測定する標準測定法についてはこれまで知られていない。
【0007】
特許文献
特許文献1 特開2001-54389号公報
特許文献2 特許第2920092号公報
非特許文献
非特許文献1 検査と技術、vol.29, No.5 p415-420(2001)
非特許文献2 J.B.C., vol.261, No.29, p13542-13545(1986)
非特許文献3 Diabetologia, 31, p627-631, 1988
非特許文献4 C.C.A. 112, p197-204, 1981
非特許文献5 Clinical Chemistry, 44, p256-263, 1998
非特許文献6 C.C.A. 169, p229-238, 1987
【0008】
【発明が解決しようとする課題】
本発明の目的は、糖化タンパク質の糖化率を測定する場合に、1)正確な測定値を算出するために有用であり、かつ各方法間の値を統一するために有用である、2)長期間安定である、3)検量物質の濃縮の影響を小さくすることが可能である検量物質及びその測定法を提供することにある。
また、検量物質の表示値の決定に有用である糖化アルブミンの標準測定法を提供することにある。
さらに具体的には、臨床生化学検査における有用なタンパク質糖化率測定用検量物質、それを用いたタンパク質糖化率測定法及び糖化アルブミンの標準測定法を提供し、糖化アルブミン測定値の値の標準化を容易にすることにある。
【0009】
【課題を解決するための手段】
上記の目的を達成するためには、検量物質の設定および標準測定法の設定が必要である。具体的には検量物質としては、1)測定法間の測定対象を考慮し、測定法間の値の不一致を統一しうる値を検量物質に表示し、2)検量物質の安定性を損ねる物質を除去し、かつ安定性を向上させる物質を添加し、長期間安定な検量物質を開発し、3)タンパク質濃度及び糖化タンパク質濃度及び/又は糖化アミノ酸濃度を1つの検量物質に表示することで検量物質の濃縮の影響を小さくすればよい。また標準測定法としては4)主糖化部位を測定する糖化アルブミンの定量方法であり、5)アルブミン以外のタンパク質の影響が小さい測定法であり、6)測定操作時の誤差の少ない方法であることが条件である。しかしながら、特に測定法間の測定値の不一致を統一しうる検量物質、標準測定法については検討開始当初何がよいのか、皆目見当もつかなかった。
【0010】
ところが、本発明者らは鋭意検討の結果、
1)糖化タンパク質濃度と、糖化タンパク質中の総糖化アミノ酸濃度及び特定部位の糖化アミノ酸濃度に比例関係が存在すること、さらにこの関係を利用し、適切な表示をした検量物質をおくことにより、各方法間の値の乖離を補正することができること、
2)検量物質の調製時にフィブリノーゲンやグルコース濃度をあるレベル以上に低下させることにより、また安定化剤として非還元糖を処方することにより、飛躍的に検量物質の安定性が向上すること、
3)タンパク質濃度及び糖化タンパク質濃度及び/又は糖化アミノ酸濃度を1つの検量物質に表示することにより、想像以上に検量物質の濃縮の影響を小さくすることができること、を見出した。
【0011】
また、糖化アルブミンの標準測定法としては、4)アルブミンに特異性の高いプロテアーゼの反応によりアルブミンを分解し、出てきた糖化アミノ酸と非糖化アミノ酸もしくは糖化ペプチドと非糖化ペプチドを測定することにより、糖化アルブミンの主要糖化部位の測定が可能であること、および5)糖化アミノ酸と非糖化アミノ酸もしくは糖化ペプチドと非糖化ペプチドの比を取ることにより測定操作の誤差を限りなく小さくできることを見出し、本発明の完成に至った。
【0012】
すなわち、本発明は、タンパク質濃度及び以下の1)〜4)のうち少なくとも1つを表示することを特徴とする糖化タンパク質検量物質に関する。
1) 糖化タンパク質濃度
2) 糖化タンパク質中の総糖化アミノ酸濃度
3) 糖化タンパク質1分子当たりの平均糖結合数
4) 糖化タンパク質中の特定の1箇所のアミノ酸の糖化量。
本発明における検量物質は、糖化タンパク質1分子当りの平均糖結合数が1〜3であるもの、あるいは少なくとも、2個の糖化アミノ酸を含む糖化タンパク質が主成分であるものが望ましい。本発明において主成分とは全体の質量の60%以上を占めることを意味する。さらに、タンパク質はアルブミンであるもの、上記特定の1箇所のアミノ酸がアルブミンの525位のリシンであるもの、あるいは525位のリシンの糖化量がアルブミン中の総糖化アミノ酸の糖化量の30%以下であるものが望ましい。またさらに、検量物質はその調製時に、フィブリノーゲン濃度40mg/dl以下、及び/又はグルコース濃度が10mg/dl以下であるもの、安定化剤として非還元糖を含むもの、あるいは液状品であることが望ましい。
【0013】
また、本発明は、タンパク質濃度及び以下の1)〜4)のうち少なくとも1つを表示した検量物質を用いて糖化タンパク質を測定する方法に関する。
1) 糖化タンパク質濃度
2) 糖化タンパク質中の総糖化アミノ酸濃度
3) 糖化タンパク質1分子当りの平均糖結合数
4) 糖化タンパク質中の特定の1箇所のアミノ酸の糖化量。
上記の方法において、糖化タンパク質1分子当りの平均糖結合数が1〜3である検量物質を用いたり、あるいは糖化タンパク質が少なくとも2個の糖化アミノ酸を含む糖化タンパク質が主成分である検量物質を用いることが望ましい。さらに、タンパク質がアルブミンであるものや、上記特定の1箇所のアミノ酸がアルブミンの525位のリシンであるもの、あるいは525位のリシンの糖化量がアルブミン中の総糖化アミノ酸の糖化量の30%以下であるものを用いることが望ましい。またさらに、検量物質は、その調製時に、フィブリノーゲン濃度40mg/dl以下、及び/又はグルコース濃度が10mg/dl以下であるものを用いたり、安定剤として非還元糖を含むものを用いたり、あるいは液状品を用いることが望ましい。
【0014】
また本発明は、アルブミン中の糖化アルブミン濃度を求める方法であって、アルブミンを含む試料をアルブミンに特異性の高いプロテアーゼにより水解して糖化アミノ酸と非糖化アミノ酸又は糖化ペプチドと非糖化ペプチドを得、両者の比を定量することを特徴とする糖化アルブミンの測定法に関する。
【0015】
本発明の測定方法において、プロテアーゼが少なくとも主要糖化部位1箇所又は2箇所に主として作用するプロテアーゼを用いたり、糖化アミノ酸と非糖化アミノ酸または非糖化ペプチドと糖化ペプチドとの比の定量をアミノ酸についてはクロマトグラフィーまたは高速液体クロマトグラフィーで行い、ペプチドについてはキャピラリー電気泳動法で行ったりすることが望ましく、またこれらの定量法を液体クロマトグラフィー質量分析法で行ってもよい。
また、上記測定方法において、プロテアーゼによる水解の後、精製を行うことが望ましく、プロテアーゼの水解反応の生成物が糖化アミノ酸と非糖化アミノ酸である場合は、精製を薄層クロマトグラフィーで行ったり、あるいは生成物が糖化ペプチドと非糖化ペプチドの場合は、逆相液体クロマトグラフィーで行ってもよい。また、このペプチドが主要糖化部位の水解生成物であり、それぞれの糖化ペプチドと非糖化ペプチドとを定量してもよい。
【0016】
さらに本発明は、プロテアーゼによる水解を、試料と参照物質を同時に、同一条件でかつ収率が80%以上となる時間の間反応を行った後、糖化アミノ酸又は糖化ペプチドの安定同位体を加えて糖化アミノ酸又は糖化ペプチドとその安定同位体との比を質量分析法で定量することよりなる糖化アルブミンの測定方法に関する。
上記糖化アルブミンの測定方法においては、ペプチドが主要糖化部位の水解生成物であり、それぞれの糖化ペプチドを定量するとよい。
またさらに、本発明のこれらの糖化アルブミンの測定方法において、プロテアーゼによる水解反応において、グロブリン選択的なプロテアーゼ阻害剤を共存させるとことが好ましい。このようなグロブリン選択的なプロテアーゼ阻害剤としては、例えば金属イオン、プロテインG、プロテインA、デオキシコール酸、デオキシコール酸アミド、コール酸アミド、第四級アンモニウム塩、第四級アンモニウム塩型陽イオン、界面活性剤、コジカナバリンA、及びベタインが挙げられ、これらから選択される少なくともいずれか1つを共存させることができる。
【0017】
また、本発明は、糖化アミノ酸もしくは糖化ペプチドである糖化アルブミン検量物質あるいはこの物質を用いる糖化アルブミンの測定方法に関する。
【0018】
本発明は、臨床生化学検査における糖化タンパク質の測定に有用な検量物質及びそれを用いた測定方法、及び検量物質の表示値の決定に有用である糖化アルブミンの標準測定方法に関する。
【0019】
以下、この発明の構成及び好ましい形態について更に詳しく説明する。
本発明に使用しうる糖化タンパク質としては、生体内に存在するいかなる糖化タンパク質を対象としてもよいが、具体的にはアルブミン、ヘモグロビンが挙げられる。
本発明に使用しうるタンパク質濃度の測定方法としては、タンパク質濃度が測定できる方法であれば、いかなる方法を用いてもよいが、例えば、クロマトグラフィーを用いて目的とするタンパク質を試料より分離し、分離されたタンパク質を公知の方法で定量すればよく、また直接抗体や発色色素を用いて測定してもよい。
【0020】
例えば対象となるタンパク質がアルブミンである場合には、公知のアルブミンを測定する方法であればいかなる方法を用いてもよい。このような方法には、例えばブロムクレゾールグリーン(BCG)、ブロムクレゾールパープル(BCP)、ブロモフェノールブルー(BPB)、メチルオレンジ(MO)、または2-(4'- ヒドロキシベンゼンアゾ)安息香酸(HABA)等のアルブミン特異的な色素を用いる方法等が挙げられる。さらにまた、対象となるタンパク質がヘモグロビンである場合には、公知のヘモグロビンを測定する方法であればいかなる方法を用いてもよい。このような方法には、例えばメトへモグロビン法、シアンメトヘモグロビン法、アザイドメトヘモグロビン法、緑色発色団形成法またはオキシヘモグロビン法等が挙げられる。緑色発色団形成法とは、緑色発色団形成試薬とヘモグロビンを反応せしめ、安定な生成物(緑色発色団)を形成する方法であり、緑色発色団は英国特許公開第2052056号公報に記述されるアルカリ性ヘマチンD-575と同様な吸収スペクトルを有する。
【0021】
本発明に使用しうる糖化タンパク質濃度の測定方法としては、糖化タンパク質濃度が測定できる方法であれば、いかなる方法を用いてもよいが、例えば、クロマトグラフィーを用いて目的とするタンパク質を試料より分離し、分離されたタンパク質中の糖化タンパク質濃度を、ホウ酸結合カラムやレクチンカラム等で糖化タンパク質、非糖化タンパク質に分離し、タンパク質の定量をそれぞれに行えばよい。タンパク質の定量方法としてはUV吸収や蛍光などの光学的性質を利用する方法、ビューレット法などの化学的定量法、免疫学的方法、酵素法などがある。
【0022】
例えばタンパク質がアルブミンである場合には、陰イオン交換カラム、例えばDEAE基をもつ樹脂を充填したカラムを用いてアルブミンのみを分離し、ホウ酸結合カラムを用いて糖化アルブミンを分離し、UV吸収の測定等の方法を用いてタンパク質を定量すればよい。また、その他、タンパク質の抗体、糖化タンパク質の抗体を用いた免疫法や酵素法、HPLC法が糖化アルブミンやHbA1cの測定法として知られており、これらの方法を用いて糖化タンパク質を測定してもよい。
【0023】
本発明に使用しうる糖化アミノ酸濃度の測定方法としては、糖化アミノ酸濃度が測定できる方法であれば、いかなる方法を用いてもよい。糖化アミノ酸濃度の測定方法には、タンパク質中の総糖化アミノ酸濃度を測定する方法、及びタンパク質分子中の特定の1箇所の糖化アミノ酸量を測定する方法の2つの方法がある。
【0024】
タンパク質中の総糖化アミノ酸濃度を測定する方法としては、前記糖化タンパク質の測定と同様、例えば、クロマトグラフィーを用いて目的とするタンパク質を試料より分離し、分離されたタンパク質中の糖化アミノ酸濃度を、直接化学的もしくは免疫学的に測定するか、アミノ酸配列に特異性の低いプロテアーゼを作用させ、糖化タンパク質をアミノ酸レベルまで分解し、糖化アミノ酸の測定を行えばよい。糖化アミノ酸を測定する方法としては、チオバルビツール酸やニトロテトラゾリウムブルーなどを用いる化学法、ホウ酸結合カラム等を用いるカラム法、糖化アミノ酸に作用する酵素を用いた酵素法及び免疫学的な方法等が用いることができる。また、特定タンパク質のみに選択的にプロテアーゼ分解が可能であれば、特定のタンパク質を予め分離する必要はない。
【0025】
タンパク質分子中の特定の1箇所の糖化アミノ酸量を測定する方法としては、例えば、目的とするタンパク質を分離後、糖化タンパク質をアミノ酸配列に特異性の高い、例えばエンドプロティナーゼGlu-C、Arg-C、Lys-C、Asp-N(以上シグマ社製)、やトリプシン等のプロテアーゼで分解する方法や、ブロモシアンを用いた化学的な分解方法にて切断し、特定の1箇所のアミノ酸に糖化が起こっているかどうか確認すればよい。確認の方法は公知のペプチドマッピング法、マススペクトルを用いる方法、アミノ酸分析を行う方法及びキャピラリー電気泳動等を用いることができる。
【0026】
本発明に使用しうる糖化タンパク質1分子当たりの平均糖結合数を測定する方法としては、前記糖化タンパク質中の糖化アミノ酸濃度を前記糖化タンパク質濃度で除することにより計算することができる。またイオンスプレーを用いたマススペクトル等を取ることにより、直接定量することも可能である。前者では平均糖結合数が計算されるが、後者では糖結合数により分子量が異なることから、各糖結合数の糖化タンパク質の比率も測定することができる。
【0027】
本発明に使用しうる検量物質としては、糖化タンパク質を含有するものであれば、いかなるものでも使用することができるが、健常者レベル、患者レベル(異常値)の2点以上を用意するか、適当なレベルの1点以上を調整すればよい。使用する材料としては、健常者レベルとしては健常者の血液、高血糖者の血液から糖化タンパク質を除去したものを使用することができ、異常値としては健常者等の血液から精製した糖化タンパク質、高血糖者の血液、人工的に糖化反応を行った血液等を用いることができる。糖化タンパク質の精製はホウ酸や亜鉛と糖のキレートを用いたクロマト法で精製が可能である。人工的な糖化反応はグルコースと、例えば37℃にてインキュベーションすることにより得ることができる。通常は2週間程度でよいが、それ以上の時間反応させてもよい。
【0028】
検量物質は純粋な糖化タンパク質、非糖化タンパク質、あるいはその混合品でも良く、また血液成分を含む糖化タンパク質含有物質、血液成分を含む非糖化タンパク質含有物質、あるいはその混合品でもよい。また、例えば液状品及び液状品の凍結物あるいは凍結乾燥品として提供できる。
【0029】
さらに本発明に基づく糖化タンパク質測定用検量物質の組成には、例えば検量物質の保存安定性を悪くする物質を除去し、あるいは保存安定性を改善する物質を添加してもよい。
例えば、検量物質の保存安定性を悪くする物質としては、糖化反応を引き起こす還元糖、例えば、グルコース、ガラクトース、フルクトース等が、また濁りを引き起こす血液凝固系のタンパク質、例えばフィブリノーゲン等が挙げられ、極力除去することが好ましい。除去の程度の確認のためには市販の測定キットを用い、保存安定性を悪くする物質の含有量を測定すればよい。除去の目標は、例えばグルコースであれば50mg/dl以下、フィブリノーゲンであれば100mg/dl以下で、好ましくはグルコースであれば10mg/dl以下、フィブリノーゲンであれば40mg/dl以下であり、最も好ましくは市販のキットで測定限界以下で、実質的にグルコース、フィブリノーゲンを含まないものである。除去の方法としてはグルコースに代表される還元糖のような低分子を除去するには、例えば透析、分子ふるいを用いた低分子除去、クロマトグラフィーを用いた分離等を用いることかできる。フィブリノーゲンの様に凝固に関するタンパク質を除去するには、血液の凝固反応を十分に行うか、カラム法や硫安沈殿、エタノール沈殿、アセトン沈殿等の沈殿法が有効である。
【0030】
また保存安定性を改善する物質としては、非還元糖であるグルシトール、ガラクチトール、マンニトール、トレハロース、ソルビトール、スクロース、イノシトール、グリセロール等が挙げられ、これらの物質の添加が効果的であるが、これら以外の安定化剤を添加しても問題はない。
【0031】
安定化剤の添加量としては、好ましくは0.1〜50%、さらに好ましくは0.2〜30%である。また、例えばゲンタマイシン、ケーソン、アジ化ナトリウム等の防腐剤、アスコルビン酸、亜硫酸水素ナトリウム、亜硫酸ナトリウム、システイン、Nアセチルシステイン、メルカプトエタノール等の酸化防止剤も保存安定性を改善する物質と考えられる。
【0032】
本発明に使用しうる糖化タンパク質測定方法は、本発明の糖化タンパク質検量物質を用いた測定方法であればいかなる方法を用いてもよい。例えばHbA1cの測定方法としては、HPLC法、免疫法等が挙げられ、GAの測定方法としてはHPLC法、チオバルビツール酸を用いる方法 、酵素標識ホウ酸を用いた免疫法、酵素法、免疫法等が挙げられる。
【0033】
各測定方法間の値の整合性を取るには、糖化タンパク質1分子当たりの平均糖結合数が健常者域から患者域まで広く一定であることが分かればよい。その場合、糖化タンパク質濃度を測定する方法と糖化タンパク質中の総糖化アミノ酸濃度を測定する方法間の換算が可能である。また、糖化タンパク質中の特定の1箇所のアミノ酸の糖化量が、健常者域から患者域まで広く一定であることが分かれば、糖化タンパク質濃度を測定する方法と糖化タンパク質中の特定の1箇所のアミノ酸の糖化量を測定する方法との間の換算が可能になる。さらにこれらの組み合わせにより、糖化タンパク質濃度を測定する方法、糖化タンパク質中の総糖化アミノ酸濃度を測定する方法及び糖化タンパク質中の特定の1箇所のアミノ酸の糖化量を測定する方法との間の換算が可能になる。
【0034】
GAを例にとると、例えばGA1分子当たりの平均糖結合数が約2個であり、かつ健常者域から患者域まで広く一定であった場合には、GA濃度を測定する方法であるHPLC法とGA中の総糖化アミノ酸濃度を測定する酵素法間の換算は、HPLC法=酵素法/2とすることができる。さらに、例えばGA中の525位のリシンの糖化量がGA中の総糖化アミノ酸量の約1/5であり、かつ健常者域から患者域まで広く一定であった場合には、GA中の525位リシンの糖化量を測定する免疫法とGA中の総糖化アミノ酸濃度を測定する酵素法間の換算は、免疫法=酵素法/5とすることができる。これらの関係が成立している場合にはさらにHPLC法=5/2×免疫法とすることができる。
【0035】
本発明に使用し得る検量物質の濃縮の影響を小さくするには、検量物質に糖化タンパク質濃度及び/又は糖化アミノ酸濃度、およびタンパク質濃度を表示し、糖化タンパク質濃度及び/又は糖化アミノ酸濃度の検量物質とタンパク質濃度の検量物質を1つにし、たとえ濃縮が起こったとしても、糖化タンパク質割合が変化しないようにすればよい。
【0036】
本発明は、糖化タンパク質に前記表示値を付して糖化タンパク質の検量材として使用するものであって、糖化タンパク質の新規用途を見出した点に特徴を有する。
【0037】
本発明の測定法の対象となる被検液は、いかなるものを用いてもよいが、好ましい被検液としては血液成分、例えば血清、血漿、血球、全血等が挙げられる。また分離された赤血球も好ましい被検液として用いることができる。
【0038】
本発明に使用しうる糖化アルブミンの標準測定法は、糖化アルブミンの主要糖化部位の糖化率を測定できるものであり、その他のタンパク質の影響が少なく、かつ測定操作時の誤差が少ない方法であればいかなる方法を用いてもよい。たとえば、アルブミンに特定なプロテアーゼ反応により生じた糖化アミノ酸と非糖化アミノ酸もしくは糖化ペプチドと非糖化ペプチドの比を測定する方法が好ましい。
【0039】
まず、試料は一般に糖化アルブミンと非糖化アルブミンとからなるので、この2つをアルブミンに特異性の高いプロテアーゼにより水解して、糖化アミノ酸と非糖化アミノ酸又は糖化ペプチドと非糖化ペプチドを得、両者の比を定量する。ここで、アルブミンに特異性の高いプロテアーゼはアルブミンを水解してアミノ酸又はペプチドを生成する酵素であり、かつ、その他のタンパク質に対する作用が小さいものを言い、本発明には、プロテアーゼのうち、アルブミンの主要糖化部位である2箇所の両方に作用するものが医療診断の目的からは好ましい。
【0040】
次に、本発明によるとなぜ操作誤差を消去できるかについて説明すると、プロテアーゼ水解率は、わずかな条件変化により変化してしまうが、糖化アルブミンと非糖化アルブミンの比であれば、そのような変動は補償されるわけである。さらに、精製操作において目的成分の損失も生じるが、2者の比を測定することにより補償される。又、定量操作においても同じことがいえ、2者の比率の変動は極めて小さくなる。
【0041】
比率の定量法としては公知のいかなる方法を用いてもよいが、例えば、アミノ酸/糖化アミノ酸の比率を測定する場合にはクロマトグラフィー、交換高速液体クロマトグラフィー、液体クロマトグラフィー質量分析法の3つが挙げられる。ペプチド/糖化ペプチドの比率を測定する場合にはキャピラリー電気泳動法及び、液体クロマトグラフィー質量分析法(LC/MS)があげられる。LC/MSは精製機能を有しているので、別個に精製は不要という優れた特徴がある(ただし、イオン源の汚染防止のため精製を行ってもよい)。
【0042】
LC/MS以外の方法では、水解後種々の方法にて精製を行うのが望ましく、精製によりブランクが除去され、かつ定量の安定化を図ることができる。精製法としては、水解後生成した糖化アミノ酸と非糖化アミノ酸又は糖化ペプチドと非糖化ペプチドを、他の妨害成分から分離する方法であればいかなる方法を用いてもよい。例えば、アミノ酸の精製を行う目的には透析法、ゲルろ過法、限外ろ過法、薄層クロマトグラフィーなどが好ましく、ペプチドの精製を行う目的には逆相液体クロマトグラフィー、薄層クロマトグラフィーなどが好ましい。
【0043】
アミノ酸/糖化アミノ酸の比率を測定する場合において、クロマトグラフィーを用いる場合では、糖化リシンと非糖化リシンとを定量することができるものであればいかなる方法を用いてもよい。リシンにはアミノ基が2つあり、糖化リシンにもαアミノ基が1つあるので、陽イオン又は陰イオンの両方のイオンクロマトグラフィーが可能である。また、通常のイオンクロマトグラフィーの他にイオン排除型イオンクロマトグラフィーあるいは逆相型クロマトグラフィーが適用可能である。検出には、ポストカラム誘導化蛍光法、ニンヒドリン発色法なども適用できる。
【0044】
高速液体クロマトグラフィーを用いる場合においても、陽イオン又は陰イオン交換クロマトグラフィーのいずれも適用可能であり、検出にはポストカラム蛍光法の他、ニンヒドリン反応、ダンシルクロライド反応、ダブシルクロライド反応、2,4−ジニトロフェニル化反応などにより誘導体化後カラムに注入し、紫外又は可視検出する方法を用いることができる。
【0045】
ペプチド/糖化ペプチドの比率を測定する場合において、精製を要する定量法としては、キャピラリー電気泳動法がある。精製は前記アミノ酸/糖化アミノ酸の比率を測定する場合と同様の方法を用いることができる。キャピラリー電気泳動法では糖化ペプチドと非糖化ペプチドを分離でき、UV吸収法により両者の比を定量すればよい。
【0046】
次に、水解における誤差を消去する別の方法として本発明者らは、水解反応の収率が80%以上となるように反応条件を設計し、かつ、試料と参照物質とを同時に、同一条件で、反応させる方法を考えた。こうすることにより試料の反応収率が何らかの原因で変動しても、それは参照物質も変動するので補償される。反応の時間を、収率が80%以上とするのは、収率がこれ以上低いと、変動が極めて大きくなることによる。
【0047】
かくして、生成した糖化アミノ酸又は糖化ペプチドに着目し、安定同位体の糖化アミノ酸又は糖化ペプチドを溶液に加え、質量分析により両者の比率を測定する。安定同位体の糖化アミノ酸は重水素又は13Cが2個以上のものを用いる。質量分析法としては、液体クロマトグラフィー質量分析法が好ましい。糖化アミノ酸については誘導体化後、ガスクロマトグラフィー質量分析法を適用することもできる。誘導体化には、メチル化、アセチル化、トリメチルシリル化、トリフルオロアセチル化などが適用できる。代表的試薬をあげると、ACF(alkylchloroformate)-ジアゾメタン、トリメチルシリル化剤、PTH (phenylthiohydantoin)、HFBA(heptafluorobutyricanhydride)、などである。
【0048】
本発明で用いることができるアルブミンに特異性の高いプロテアーゼとしては、特開2001-54398号公報に記載されているが、糖化アルブミンを対象とするので、バチルス属及びストレプトマイセス属の微生物由来プロテアーゼが好ましく、 GAに対する特異性及び液状での安定性の点で例えばプロテアーゼタイプXXVII(シグマ社製)もしくは結晶プロテアーゼNAK(ナガセケムテックス社製)が最も好ましい。またこれらのプロテアーゼはアルブミンの糖化部位4箇所のうち、少なくとも主要部位2箇所を水解するプロテアーゼである。
【0049】
本発明に用いることのできるプロテアーゼの活性測定法を下記に示す。
<<プロテアーゼの活性測定方法>>
下記の測定条件で30℃、1 分間に1μgチロシンに相当する呈色を示すプロテアーゼ活性度を1PU(ProteolyticUnit)と表示する。
【0050】
<操作>
プロテアーゼ溶液を10〜20PU/mlになるように酵素希釈溶液にて溶解し、この液1mlを試験管に取り30℃に加温する。あらかじめ30℃に加温しておいた基質溶液5ml を加え正確に10分後反応停止液5ml を添加し反応を停止する。そのまま30℃30分加温を続け沈殿を凝集させ、東洋ろ紙N0.131(9cm)でろ過を行い、ろ液を得る。ブランク測定はプロテアーゼ溶液1ml を試験管に取り30℃に加温し、まず反応停止液5ml を添加し続いて基質溶液5ml を添加後同様に凝集、ろ過を行う。ろ液2mlを0.55M 炭酸ナトリウム溶液5ml 、3 倍希釈フォリン試薬1ml を加え30℃、30分反応後660nm の吸光度を測定する。酵素作用を行った吸光度からブランク測定の吸光度を差し引いた吸光度変化を求め、別に作成した作用標準曲線より酵素活性を求める。
【0051】
<作用標準曲線作成法>
約50PU/ml に調整した酵素溶液を希釈し2〜50PU/ml の一連の希釈倍率を持った酵素溶液を作成し上記操作を行い、得られた吸光度変化を縦軸に希釈倍数を横軸にプロットする。一方、L-チロシンを0.2N塩酸に0.01%の濃度に溶解しその1mlに0.2N塩酸10ml加えたものを標準チロシン溶液とする(チロシン濃度9.09μg/ml )。標準チロシン溶液2ml と0.2N塩酸2mlについてそれぞれ上記測定操作を行い、得られた吸光度変化がチロシン18.2μgに相当する。この吸光度変化を前記グラフ上にとり、その点から横軸に垂線を下ろし横軸との交点が10PU/mlに相当する。
【0052】
また、これらのプロテアーゼの使用濃度としては、目的とするタンパク質を一定の時間で効率よく切断できる濃度であれば良く、例えば通常1〜100000PU/ml、好ましくは10〜10000PU/mlの濃度で用いればよい。
【0053】
アルブミンのプロテアーゼ反応から、2つの主要糖化部位から生成したものがアミノ酸である場合は、糖化リシンと非糖化リシンの比を定量すれば2つの主要糖化部位が定量されたことになる。しかし、生成物がペプチドの場合、2つの糖化部位ではペプチドの種類が異なるので、それぞれのペプチドについて糖化ペプチドと非糖化ペプチドの比を求めて合計する必要がある。医療診断上の目的からは、この2つの比の合計を求めることが重要である。
【0054】
本発明のタンパク質の断片化法では、グロブリンをも水解して干渉成分を生成する場合がある。そこで、グロブリンの水解を抑制するために、グロブリンに選択的なプロテアーゼ阻害剤を用いるのが好ましい。被検液を、グロブリンに選択的なプロテアーゼ阻害剤の存在下で作用せしめる。その例として、金属イオン、プロテインA、プロテインG、デオキシコール酸、デオキシコール酸アミド、コール酸アミド、第四級アンモニウム塩、第四級アンモニウム塩型陽イオン界面活性剤、コンカナバリンAもしくはベタインのなかから選ばれるグロブリン成分選択的なプロテアーゼ阻害剤が挙げられる。
【0055】
金属イオンとしては、例えば、遷移金属、周期表III族、IV族の金属のイオンが好ましく、遷移金属イオンとしては、亜鉛、ニッケル、鉄、銅、コバルトイオンがより好ましく、III族金属イオンとしてはアルミニウム、ガリウムイオンがより好ましく、IV族金属イオンとしては錫、鉛イオンがより好ましい。さらに金属の毒性、血清との相互作用による沈殿の生成等を考慮すると、アルミニウムもしくはニッケルイオンが最も好ましい。なお、これらの金属イオンは単独若しくは組合せて用いてもよい。
【0056】
また、使用しうる金属イオンの濃度としては、特定タンパク質へのプロテアーゼ作用を阻害することができる金属イオン濃度であればいかなる濃度のものを用いてもよいが、例えば、グロブリン成分へのプロテアーゼ作用阻害することができる金属イオン濃度としては10μM〜1.0M程度が好ましく、50μM〜100mM程度がより好ましい。また、金属イオンを添加するには例えば、その金属イオン放出能力のある塩の水溶液を用いればよい。
【0057】
デオキシコール酸アミドとしては、例えばビスグルコナミドプロピルデオキシコーラミド(N,N-Bis(3-D-gluconamidopropyl)deoxycholamido)等が好ましく、コール酸アミドとしては、例えば、硫酸-3-[(コールアミドプロピル)ジメチルアンモニオ]-1-プロパン(3-[(3-Cholamidopropyl)dimethylammonio]propanesulfonicacid)、硫酸-3-[(コールアミドプロピル)ジメチルアンモニオ]-2-ハイドロキシ-1-プロパン(3-[(3-Cholamidopropyl)dimethylammonio]-2-hydroxypropanesulfonic acid)もしくはビスグルコナミドプロピルコーラミド(N,N-Bis(3-D-gluconamido propyl)cholamido)等が好ましい。
【0058】
第四級アンモニウム塩としては、例えば塩化ベンジルトリエチルアンモニウム、塩化ベンジルトリ-n-ブチルアンモニウム等が好ましく、第四級アンモニウム塩型陽イオン界面活性剤としては、例えば塩化ラウリルトリメチルアンモニウム若しくはラウリルジメチルアミンオキサイド等が好ましい。
これらのグロブリン成分選択的な阻害剤は単独もしくは組み合わせて用いてもよい。
【0059】
また、これらのグロブリン成分選択的な阻害剤の使用濃度としては、プロテアーゼ作用中にグロブリン成分への作用を十分抑えられる量であればよく、例えばデオキシコ−ル酸、デオキシコール酸アミド、コール酸アミド、第四級アンモニウム塩もしくは第四級アンモニウム塩型陽イオン界面活性剤を用いる場合には0.01〜20%程度の濃度で使用することが好ましく、さらに好ましくは0.05〜10%であり、またこれ以外の濃度を用いることもできる。
【0060】
また同様に例えばコンカナバリンA、ベタインを用いる場合にはそれぞれ0.01〜10mg/ml、0.005〜5%の濃度で使用することができ、またそれぞれ0.02〜2mg/ml、0.01〜2%の濃度で使用することが好ましく、これ以外の濃度を用いることもできる。
【0061】
主に特定タンパク質以外のタンパク質を選択的に断片化する反応の液組成については、使用するプロテアーゼの至適pHを考慮し、反応が効率よく進行するようにpH及びプロテアーゼ濃度を決定し、その後特定タンパク質選択的なプロテアーゼ阻害剤を有効な濃度になるよう適宜調整して添加すればよい。
例えば、前記プロテアーゼ−タイプ−XXVIIは、pHが7〜10付近でタンパク質分解活性が強く、反応のpHは7〜10選択できる。またプロテアーゼ添加濃度は実際に使用される反応時間中に被検体液中のタンパク質を十分に分解し得る濃度であればよい。
【0062】
特定タンパク質選択的なプロテアーゼ阻害剤として、例えば、グロブリン成分選択的なプロテアーゼ阻害剤であるアルミニウムイオンを使用する場合、フルクトシルアミンオキシダーゼを用いてグロブリン成分の断片化溶液中の糖化アミノ酸及びまたは糖化ペプチドを検出すると、0.05mM以上でグロブリン成分選択的なプロテアーゼ阻害作用が確認され、さらに0.3mM以上で実質的にグロブリン成分から糖化アミノ酸及びまたは糖化ペプチドが検出できなくなること、及び10mM以上において試料の白濁が観察されることから0.05〜100mMが好ましく、0.3〜10mMがより好ましい。
【0063】
【発明の実施の形態】
次に、本発明の実施例を詳しく述べるが、本発明はこれにより何ら限定されるものではない。
【実施例1】
<糖化タンパク質測定用検量物質の調製及び値の表示>
1)糖化、非糖化アルブミンの精製
血清、血漿(オフクロット血清、フレッシュフローズンプラズマ;ベリタス社製)からアルブミンを松田らの方法(アルブミン測定に於ける標準物質、臨床病理、vol.23, p889-894, 1975)に従い、Euglobulinの除去、リバノールによるアルブミンの沈殿、リバノールの除去、硫安によるグロブリンの除去、DEAEセルロースによるカラムクロマトグラムの手順でおこなった。
【0064】
非糖化、糖化アルブミンの分離はホウ酸結合カラムを用いて以下の手順で行った。1gのアルブミンを100mlの20mMの塩化マグネシウムを含むグリシン緩衝液(50mM、pH8.5)に溶解し、ホウ酸結合樹脂70mlと4℃にて30分間攪拌する。反応はグラスフィルターでろ過し、ろ液を非糖化アルブミン溶液とする。
続いてホウ酸結合樹脂を30mlの150mMのソルビトールを含むトリス緩衝液(50mM、pH8.5)に懸濁し、4℃にて30分攪拌する。溶液をグラスフィルターでろ過し、ろ液を糖化アルブミン溶液とする。
【0065】
この操作を数回繰り返し、脱塩及び凍乾を行い、糖化、非糖化アルブミンの純品を得た。
2)糖化、非糖化アルブミンの値の表示
2−1.タンパク質濃度;
タンパク質濃度はローリー法を用いて決定した。試薬はDCプロテインアッセイ(バイオラッド社製)を用いた。
【0066】
2−2.糖化タンパク質濃度;
糖化タンパク質濃度は前記ローリー法及びHPLC法を用い、精製された糖化アルブミンのタンパク質濃度を測定した。HPLC法はHi-AUTO GAA(GAA-2000)(アーク レイ社製)を用いて測定した。アルブミンを重量からモルに計算する場合の分子量は66438(Geisow MJ et. Al. In: Villafranca JJ, ed. Techniques in proteinchemistry. San Diego, CA: Academic Press, 1991: 576-572)を用いた。
【0067】
2−3.糖化タンパク質中の総糖化アミノ酸濃度;
糖化タンパク質中の総糖化アミノ酸濃度は標準化されたチオバルビツール酸を用いる方法(Analytical Biochemistry, The standardization of the tiobarbituricacid assay for nonenzymatic glucosylation of human serum albumin. 118, 294-300,1981)及び酵素法を用いて決定した。
【0068】
【0069】
240μlのアルブミン分解試薬に6μlのサンプルを添加し、37℃-5分間インキュベーションする。正確に5分後、糖化アミノ酸定量試薬80μlを添加し、37℃-5分間インキュベーション後、546nmの吸光℃を測定する。糖化アミノ酸定量試薬添加前及び添加5分後の吸光度変化を、標準糖化アミノ酸と比較することにより糖化アミノ酸濃度を求める。標準糖化アミノ酸としてはαカルボベンズオキシ- ε-D- フルクトシル-L- リシン(ハシバらの方法に基づき合成、精製した。HashibaH, J. Agric. Food Chem.24:70、1976)を用いた。
【0070】
アルブミン中の糖化アミノ酸濃度換算は以下の式を用いて行った。
アルブミン中の糖化アミノ酸濃度 = 測定された糖化アミノ酸濃度 × プロテアーゼ反応による糖化アミノ酸生成率
【0071】
プロテアーゼ反応による糖化アミノ酸生成率は上記プロテアーゼ作用時間を5分から48時間まで変化させることにより求めた。48時間反応した試料にさらにプロテアーゼを追加しても定量値に変化がないことから、48間反応を100%として上記反応条件に於ける糖化アミノ酸生成率は80%であることが分かった。
【0072】
よってアルブミン中の糖化アミノ酸濃度は以下の式を用いて計算した。
アルブミン中の糖化アミノ酸濃度 = 測定された糖化アミノ酸濃度 × 0.8
【0073】
2−4. 糖化タンパク質1分子当たりの平均糖結合数
2−3で得られた糖化タンパク質中の総糖化アミノ酸濃度を、2−2で得られた糖化タンパク質濃度で除して求めた。また値の正当性の確認はイオンスプレーイオニゼーション-QTOF-MASS(QSTAR;アプライドバイオシステム社製)を用いて行った。
【0074】
2−5. 糖化タンパク質中の特定の1箇所のアミノ酸の糖化量
糖化アルブミン、非糖化アルブミンの還元カルボキシメチル化を行い、トリプシン消化(シグマ社製)を行い、下記の条件でLC/MSでフラグメントの測定を行った。
還元カルボキシメチル化;サンプルに終濃度6Mになるように塩酸グアニジン(シグマ社製)を添加し、pH8.2にあわせ50℃-30分反応させた。アルブミン10mgあたりに5mgのジチオスレイトール(シグマ社製)を加え1時間反応を行った。反応溶液を室温に戻しアルブミン10mgあたりに25mgのヨードアセトアミドを添加し、1時間反応を行った。反応終了後、反応液は透析、濃縮した。
トリプシン消化;90mgのアルブミン溶液を100℃5分加熱し、1.6mgのトリプシンを添加した。37℃-8時間反応を行い、100℃に加熱して反応を止めた。
【0075】
【0076】
結果;得られた糖化アルブミン、非糖化アルブミンを4g/dlになるように溶解した。溶解したサンプルの測定結果は表1に示す通りであった。
【0077】
【表1】
【0078】
また、糖化タンパク質1分子あたりの平均糖結合数が妥当であるかどうか確認する目的で、イオンスプレーイオニゼーション−QTOF-MASS(QSTAR;アプライドバイオシステム社製)を用いて調整した糖化、非糖化アルブミンを測定した結果を図1に示す。
非糖化アルブミン中には糖が結合した分子量は確認されず、非糖化−還元型アルブミン(NGA;66439)、非糖化−酸化型アルブミン(NGAox;66563)のみが検出された。一方糖化アルブミンの中には非糖化アルブミンは観察されず、還元型アルブミンに1個(GA-1;66604)、2個(GA-2;66771)、3個( GA-2;66930)の糖が結合した糖化アルブミンが検出され、酸化型アルブミンに1個(GAox-1;66728)、2個(GAox-2;66883)、3個( GAox-2;67046)の糖が結合した糖化アルブミンが検出された。糖化アルブミンの主成分は2個糖が結合したものであった。ローリー法と酵素法から求められた糖化タンパク質1分子あたりの平均糖結合数2.0は問題ない数字であることが確認された。
【0079】
2−5・ 糖化タンパク質中の特定の1箇所のアミノ酸の糖化量の測定
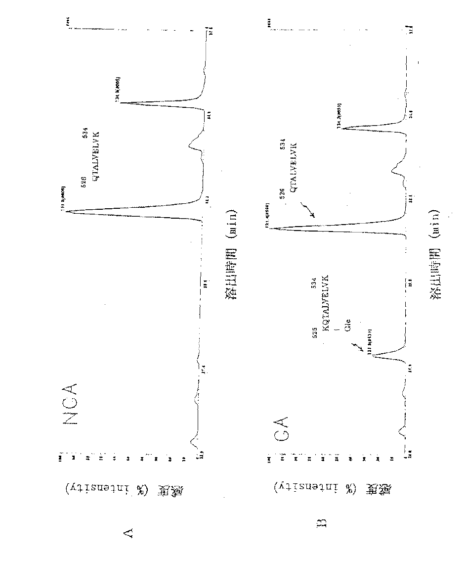
アルブミン525位糖化量の測定結果を図2に示す。
図2は還元カルボキシメチル化しトリプシン消化した糖化アルブミン及び非糖化アルブミンをLC/MSにかけた場合のクロマトグラムである。糖化アルブミンのトリプシン消化では糖化された525〜534位のフラグメント(糖化KQTALVELVK)(一文字表記によるアミノ酸を示す。以下同じ。)及び、糖化されていない525〜534位のフラグメント(KQTALVELVK)が切り出されてくることから、これらの分子量に相当する分子量のみを検出した。糖化された525〜534位のフラグメント(糖化KQTALVELVK)は糖化アルブミンのみから検出され、糖化アルブミン中の252位の糖化量はMASSのピーク高さから計算して約20%であった。
【0080】
この測定をより定量的に行うには、別途目的とするペプチドのイオン化率を測定することが好ましく、例えば安定同位体の糖化アミノ酸/糖化ぺプチドを同時に測定し、イオン化率を補正するとよい。
【0081】
さらに、この方法は、アルブミンを含む試料をプロテアーゼにより水解して、糖化アミノ酸と非糖化アミノ酸又は糖化ペプチドと非糖化ペプチドを得、両者の比を液体クロマトグラフィー質量分析法で定量することを特徴とする糖化アルブミンの測定法の1例である。測定の前処理は不要であるが、液体クロマトグラフィー質量分析法としては逆相カラムクロマト質量分析法で行ったことから、実質的には逆相液体クロマトグラフィーで前処理しているのと同等である。このことから検出の前処理として逆相液体クロマトグラフィーは有用である。このカラム操作は必要に応じて各種クロマトグラフィー、たとえば薄層クロマト等を用いてもよいことは容易に類推できる。
【0082】
糖化アルブミン中の525位のLysの糖化量の測定は4重測定の結果、糖化アミノ酸と非糖化アミノ酸又は糖化ペプチドと非糖化ペプチドの比を取らない場合は再現性が悪かったが、比を取った場合には良好な再現性が得られた。このことから、糖化アミノ酸と非糖化アミノ酸又は糖化ペプチドと非糖化ペプチドを得、両者の比を定量することにより優位に測定誤差が低減されている事が明白であった。また、糖化-非糖化のアミノ酸やペプチドを測定する方法としてはLC/MSの他にキャピラリー電気泳動で測定することが一般的であり、LC/MSの変わりにキャピラリー電気泳動で測定できることは言うまでもない。
【0083】
【実施例2】
<糖化タンパク質測定用検量物質を用いた場合の値乖離の補正>
A)糖化タンパク質濃度を測定する方法と糖化タンパク質中の総糖化アミノ酸濃度を測定する方法
実施例1の検量物質を用いて健常者血清35検体、患者血清35検体を測定した。糖化タンパク質濃度を測定する方法としてHPLC法はHi-AUTO GAA(GAA-2000)(アークレイ社製)を、糖化タンパク質中の総糖化アミノ酸濃度を測定する方法は実施例1の酵素法を用いた。酵素法は糖化アルブミン中の糖化アミノ酸濃度、及び糖化タンパク質濃度の表示値を用いて計算した。酵素法は別途アルブミンをアルブミン試薬を用いて測定し、割合に変換した。アルブミン試薬にはアルブミン測定キット(アルブミンII-HAテストワコー; 和光純薬社製)を用いた。HPLC法は検量物質の糖化タンパク質濃度をアルブミン濃度で除して糖化アルブミン割合として計算した。測定結果を図3に示す。
【0084】
図3から分かるように酵素法で測定した糖化アミノ酸濃度/アルブミン濃度×100とHPLC法で求めた糖化アルブミン割合の間には良好な直線関係(r2=0.995)が認められ、その傾きは1.98であった。また酵素法で測定した糖化アルブミン濃度/アルブミン濃度×100とHPLC法で求めた糖化アルブミン割合の間には良好な直線関係(r2=0.995)が認められ、その傾きは1.00であった。このことから、糖化アルブミン中の総糖化アミノ酸濃度と糖化アルブミン濃度の間には糖化アルブミン中の総糖化アミノ酸濃度=糖化アルブミン濃度×1.97の関係が健常者、患者を問わず存在していることが分かる。実試料においても糖化アルブミン中の平均糖結合数は約2と考えられ、検量物質の測定値に一致した。さらに、糖化アミノ酸を検量物質として用いても糖化アルブミンは測定できることが明らかであった。
【0085】
これは、使用したプロテアーゼが主要糖化部位の2箇所以上に作用していることを示している。このことから、この酵素測定方法は少なくとも主要糖化部位の2箇所以上に作用しているプロテアーゼを用いて糖化アルブミン及びアルブミンを含む試料を水解し糖化アミノ酸と非糖化アミノ酸若しくは糖化ペプチドと非糖化ペプチドが得られていることは明白である。また、今回プロテアーゼの反応には硫酸 -3-[(コールアミドプロピル) ジメチルアンモニオ]-2-ハイドロキシ-1-プロパンを、プロテアーゼのグロブリン成分への作用を減らす目的で追加したが、その他のグロブリン選択的プロテアーゼ阻害剤を用いてもよい。
さらに検量物質の糖化アルブミン濃度を用いるとHPLC法との相関の傾きが1.0になることから、測定方法間の値の補正が可能であることが明らかであった。
【0086】
B) 糖化タンパク質濃度を測定する方法と糖化タンパク質中の特定の1箇所のアミノ酸の糖化量を測定する方法。
実施例1の検量物質を用いて健常者血清35検体を測定した。糖化タンパク質濃度を測定する方法はHPLC法(実施例2、Aに同じ)を、糖化タンパク質中の特定の1箇所のアミノ酸の糖化量を測定する方法はアルブミンの525位のLys糖化物に対する抗体(Clinica Chimica Acta, vol.169, p229-238, 1987)を用い、サンドイッチ法で測定した。
【0087】
方法
試料の前処理;20μlの血清に200μlの50mMクエン酸緩衝液(pH5.5)を添加し37℃1時間インキュベーションする。1mlの99%エタノールを加え、沈殿を500μlの0.15Mの食塩、0.05MのNaBH4を含む0.1Mトリス緩衝液(pH8.2)に溶解する。室温で30分反応後100μlの酢酸を加え反応を止め、500μlの緩衝液を加える。
【0088】
サンドイッチELISA;前処理した試料20μl及び0.05%Tween20を含む10mM燐酸緩衝液(pH7.4)50μlを抗HSA抗体を固定化した96穴マイクロタイタープレートにとり室温で20分間反応させる。生理的食塩水で3回洗浄し、パーオキシダーゼを結合した抗体を含む100mMグリシン緩衝液(pH9.0)を添加し、室温で20分間反応させる。生理的食塩水で3回洗浄し、1g/Lのo-フェニレンジアミン、4.4mMの過酸化水素を含むクエン酸緩衝液(pH5.8)を50μl加え、室温20分間反応させ、50μlの2M硫酸を加えて反応を停止した。プレートリーダーを用いて492nmの吸光度を測定する。
【0089】
測定の結果、健常者血清35検体の平均値は免疫法で6.2%、HPLC法では15.7%であった。糖化アルブミンの平均糖結合数は2個であり、うち20%が525位の Lysに結合していると考えると、HPLC法=酵素法/2、免疫法=酵素法/5となりこの式からHPLC法=免疫法×5/2=免疫法×2.5となる。実際健常者の測定値の平均値6.2%を2.5倍すると15.5%となり、HPLC測定値にほぼ一致した。
【0090】
つまり糖化アルブミン濃度を測定する方法と糖化アルブミン中525位のLysの糖化量を測定する方法との間には、糖化アルブミン濃度=糖化アルブミン中525位のLysの糖化量×2.5の関係が存在すると推定され、測定方法間の値の補正が可能であることが明らかであった。但しこれらの数式は基準とする測定方法や原理によって変化することも予想され、各方法間の値の整合性を確保することができるのであれば、必ずしも今回の数式を用いなくともよい。
【0091】
【実施例3】
<糖化アルブミンの標準測定方法>
実施例1で作成した非糖化−糖化アルブミンに分ける前のアルブミン(4.5g/dl)の試料を調製した。10mMトリス緩衝液(pH8.5)、1×104PU/mlプロテアーゼタイプXXVII(シグマ社製)、1% 硫酸 -3-[(コールアミドプロピル) ジメチルアンモニオ]-2-ハイドロキシ-1-プロパンを含む液500μlに、試料50μlを添加し、混ぜながら37℃にて10時間反応させた。実験では、反応時間6時間で98%が水解し、18時間で99.5%以上が水解した。反応液をミリポア製限外ろ過器(分子量5000)による精製によりプロテアーゼ、グロブリン及びペプチドの一部を除去した。透過液を水で定容した。この液をイオン交換液体クロマトグラフィーアミノ酸分析装置に注入し、糖化リシンと非糖化リシンを定量し、両者の面積比から比率を測定した。測定値は15.5%であった。HPLC法の測定値は15.3%であり、値は良く一致した。また、実施例1に示した総糖化アミノ酸濃度/アルブミン濃度×100で求めた酵素法の割合は30.9%でありほぼ倍の値を示した。本測定法の値は市販のγグロブリンを最終濃度2g/dlになるまで添加しても変化が無かった。このことから本測定法は、主要2箇所の糖化アミノ酸をプロテアーゼにより切り出していると考えられ、かつγグロブリンの影響を受けていないことから糖化アルブミンの測定方法として有用であることが示された。
【0092】
【実施例4】
<糖化タンパク質測定用検量物質の安定性試験>
本検量物質の糖化アルブミンを糖尿病患者血清(血糖1.6g/L、アルブミン濃度40g/l)に1g/mlになるように添加した。添加した血液に以下の処理を行い、密栓し37℃-1週間保存した。またコントロールとして未処理のものを凍結にて1週間保存した。1週間後試料をHPLC法にて測定し糖化アルブミン割合を求めた。
1;未処理
2;0.9%NaClを含む50mMトリス緩衝液(pH7.5)に対して透析。(透析後のグルコース、フィブリノーゲンの測定値はそれぞれ検出限界以下であり、10mg/dl、40mg/dl以下であった。)
3;2にフィブリノーゲン(シグマ社製)を100mg/mlになるように添加
4;2にスクロースを5%になるように添加
結果を表2に示す。
【0093】
【表2】
【0094】
表2から分かるように未処理の血清はグルコースを除去していないことから、保存中に糖化反応が進行し、GA値が上昇した。一方透析を行いグルコース等の低分子を除去した血清、及び透析後フィブリノーゲンを添加した血清は保存によりGA値が低下し、糖化部位が化学的に変化したと考えられた。さらに、フィブリノーゲンを添加した血清は保存により濁りが生じ、未添加では生じていないことから、保存状態を良好に保つためにはフィブリノーゲンの除去も必要であった。
グルコース、フィブリノーゲンを含まず、非還元糖であるスクロースを添加した血清は37℃1週間の保存でもGA値は変化しなかった。非還元糖の添加は糖化部位の保護に有効であった。
【0095】
【実施例5】
<糖化タンパク質測定用検量物質の濃縮の影響>
実施例1の検量物質および市販のアルブミン標準溶液(和光純薬社製)をサンプルカップにとり、酵素法を用いて管理血清の糖化アルブミン割合を測定した。キャリブレーション1は糖化タンパク質濃度およびアルブミン濃度の表示された実施例1の検量物質をキャリブレーターに用いた。キャリブレーション2の糖化タンパク質濃度は実施例1の検量物質から算出し、アルブミン濃度は市販のアルブミン標準溶液を用いて算出した。
測定は検量物質及びアルブミン標準溶液をサンプルカップに100μlづつ移し、直後および装置にセットしたまま8時間経過した後再度測定を行った。結果を表3に示す。
【0096】
【表3】
【0097】
表3から分かるように、タンパク質濃度および糖化タンパク質濃度、糖化タンパク質中の総糖化アミノ酸濃度等を一つの検量物質に表示すれば、別々の検量物質を用意する場合に比べて、万が一検量物質の濃縮が起こった場合にも糖化アルブミン割合は変化せず、有用である。
【0098】
【配列表】
SEQUENCE LISTING<110> Asahi Kasei Kabusiki Kaisha<120> 糖化タンパク質測定用検量物質および標準測定法<130> X1020886<160> 1<210> 1<211> 10<212> PRT<213> Homo sapiens <400>Lys Gln Thr Ala Leu Val Glu Leu Val Lys1 5 10
【図面の簡単な説明】
【図1】本発明の実施例1に基づく検量物質ノMASSスペクトルである。A:非糖化アルブミン、B:糖化アルブミン
【図2】本発明の実施例1に基づく糖化アルブミン、非糖化アルブミン中の525位のリシンの糖化量の測定を行った、LC/MSのクロマトグラムである。A:非糖化アルブミン、B:糖化アルブミン
【図3】本発明の実施例2に基づく検量物質を用いた場合の酵素法とHPLCの相関である。
A:酵素法による測定にアルブミン中の総糖化アミノ酸濃度を用いた場合を示す。
B:酵素法による測定に糖化アルブミン濃度を用いた場合を示す。
Claims (2)
- 糖化アルブミンの糖化率を測定する場合に複数の測定方法間の測定値を統一するための検量物質であって、検量物質の濃縮の影響を回避する目的で、アルブミン濃度及び糖化アルブミン中の総糖化アミノ酸濃度を表示すること、および、調製時のフィブリノーゲン濃度が40mg/dl以下、及び/又はグルコース濃度が10mg/dl以下であり、安定化剤としてスクロースを含むことを特徴とする糖化アルブミン検量物質。
- 請求項1に記載の検量物質を用いることを特徴とする糖化アルブミン測定方法。
Priority Applications (1)
| Application Number | Priority Date | Filing Date | Title |
|---|---|---|---|
| JP2002318747A JP4183116B2 (ja) | 2002-06-18 | 2002-10-31 | 糖化タンパク質測定用検量物質および標準測定法 |
Applications Claiming Priority (2)
| Application Number | Priority Date | Filing Date | Title |
|---|---|---|---|
| JP2002176694 | 2002-06-18 | ||
| JP2002318747A JP4183116B2 (ja) | 2002-06-18 | 2002-10-31 | 糖化タンパク質測定用検量物質および標準測定法 |
Related Child Applications (2)
| Application Number | Title | Priority Date | Filing Date |
|---|---|---|---|
| JP2005277222A Division JP4183197B2 (ja) | 2002-06-18 | 2005-09-26 | 糖化アルブミンの測定方法 |
| JP2007059367A Division JP5069023B2 (ja) | 2002-06-18 | 2007-03-09 | 糖化タンパク質測定用検量物質および標準測定法 |
Publications (2)
| Publication Number | Publication Date |
|---|---|
| JP2004077457A JP2004077457A (ja) | 2004-03-11 |
| JP4183116B2 true JP4183116B2 (ja) | 2008-11-19 |
Family
ID=32032454
Family Applications (1)
| Application Number | Title | Priority Date | Filing Date |
|---|---|---|---|
| JP2002318747A Expired - Lifetime JP4183116B2 (ja) | 2002-06-18 | 2002-10-31 | 糖化タンパク質測定用検量物質および標準測定法 |
Country Status (1)
| Country | Link |
|---|---|
| JP (1) | JP4183116B2 (ja) |
Cited By (1)
| Publication number | Priority date | Publication date | Assignee | Title |
|---|---|---|---|---|
| EP2352020A2 (en) | 2010-01-19 | 2011-08-03 | Arkray, Inc. | Method for analyzing sample by electrophoresis and use of the same |
Families Citing this family (12)
| Publication number | Priority date | Publication date | Assignee | Title |
|---|---|---|---|---|
| JP4931332B2 (ja) * | 2004-03-31 | 2012-05-16 | 株式会社日立ハイテクノロジーズ | 糖の除去方法 |
| JP2007107950A (ja) * | 2005-10-12 | 2007-04-26 | Bml Inc | 糖化アルブミンの管理試料 |
| JP4835933B2 (ja) * | 2005-11-10 | 2011-12-14 | 一般社団法人 検査医学標準物質機構 | 構成アミノ酸による蛋白質・ペプチドの定量方法 |
| JP4826293B2 (ja) * | 2006-03-09 | 2011-11-30 | 日東紡績株式会社 | 総蛋白質の定量方法およびそれに用いる総蛋白質定量用キット |
| US8361292B2 (en) | 2007-04-27 | 2013-01-29 | Arkray, Inc. | Method for analyzing hemoglobin by capillary electrophoresis and additive used therein |
| JP5462841B2 (ja) * | 2010-08-16 | 2014-04-02 | アークレイ株式会社 | ヘモグロビンの分析方法 |
| JP6657003B2 (ja) * | 2016-04-20 | 2020-03-04 | アークレイ株式会社 | 糖化ヘモグロビン測定方法、糖化ヘモグロビン測定装置、及び糖化ヘモグロビン測定プログラム |
| CN106226425B (zh) * | 2016-07-15 | 2019-04-23 | 首都医科大学附属北京朝阳医院 | 血清糖化白蛋白检测方法及其专用候选标准物质 |
| JP6720311B2 (ja) * | 2016-07-28 | 2020-07-08 | 旭化成ファーマ株式会社 | 糖化アルブミンの測定方法 |
| CN112334767B (zh) * | 2018-09-12 | 2024-01-09 | 积水医疗株式会社 | 血红蛋白类测定用试剂以及血红蛋白类的测定方法 |
| CN114112587A (zh) * | 2021-11-25 | 2022-03-01 | 青岛汉唐生物科技有限公司 | 糖化白蛋白校准品或质控品的制备方法 |
| CN114112595B (zh) * | 2021-12-03 | 2024-08-20 | 威海威高生物科技有限公司 | 一种果糖胺测定试剂盒液体校准品的制备方法 |
-
2002
- 2002-10-31 JP JP2002318747A patent/JP4183116B2/ja not_active Expired - Lifetime
Cited By (1)
| Publication number | Priority date | Publication date | Assignee | Title |
|---|---|---|---|---|
| EP2352020A2 (en) | 2010-01-19 | 2011-08-03 | Arkray, Inc. | Method for analyzing sample by electrophoresis and use of the same |
Also Published As
| Publication number | Publication date |
|---|---|
| JP2004077457A (ja) | 2004-03-11 |
Similar Documents
| Publication | Publication Date | Title |
|---|---|---|
| JP4183116B2 (ja) | 糖化タンパク質測定用検量物質および標準測定法 | |
| JP5568636B2 (ja) | キャピラリー電気泳動による糖化ヘモグロビンの分析およびアッセイ、緩衝組成物およびキャピラリー電気泳動のためのキット | |
| Cohen | Diabetes and protein glycosylation: measurement and biologic relevance | |
| Kisugi et al. | Structural and glycation site changes of albumin in diabetic patient with very high glycated albumin | |
| Kohzuma et al. | Basic performance of an enzymatic method for glycated albumin and reference range determination | |
| John | Haemoglobin A1c: analysis and standardisation | |
| EP2047279B1 (en) | A reagent for digestion of hemoglobin | |
| Mosca et al. | Plasma protein glycation as measured by fructosamine assay. | |
| AU3418793A (en) | Immunochemical detection of (in vivo) advanced glycosylation endproducts | |
| Kumari et al. | Glycation of albumin and its implication in Diabetes: A comprehensive analysis using mass spectrometry | |
| Smolkova et al. | Labeling strategies for analysis of oligosaccharides and glycans by capillary electrophoresis | |
| EP2451966B1 (en) | Methods for early detection of blood disorders | |
| JP5069023B2 (ja) | 糖化タンパク質測定用検量物質および標準測定法 | |
| Shimizu et al. | Detection and characterization of variant and modified structures of proteins in blood and tissues by mass spectrometry | |
| JP4183197B2 (ja) | 糖化アルブミンの測定方法 | |
| DE602004011228T2 (de) | Verfahren und zusammensetzungen zur bestimmung glyzierter proteine | |
| US8637275B2 (en) | Postprandial hyperglycemia marker, method of measuring the same, and usage thereof | |
| US20040048387A1 (en) | Method of detecting saccharified albumin | |
| JPH0783922A (ja) | 糖化蛋白の測定方法 | |
| JP5289280B2 (ja) | 糖化アミノ酸及び/又は糖化ペプチドの製造方法 | |
| Mishra et al. | Estimation of HbA1c and Impact of Continuous Glucose Monitoring in Hypoglycemic States | |
| CN113214386B (zh) | 一种糖尿病早期诊断多肽标志物及其应用 | |
| Bandara et al. | Glycated Haemoglobin A1c in Contrast to Conventional and Novel Biomarkers in the Diagnosis of Diabetes and Monitoring of Glycemic Control: A Review | |
| Neelofar et al. | Clinical and Diagnostic Implications of Glycated Albumin in Diabetes Mellitus: An Update | |
| Rose et al. | A hemoglobin A1C immunoassay method not affected by carbamylated hemoglobin |
Legal Events
| Date | Code | Title | Description |
|---|---|---|---|
| A621 | Written request for application examination |
Free format text: JAPANESE INTERMEDIATE CODE: A621 Effective date: 20040415 |
|
| A977 | Report on retrieval |
Free format text: JAPANESE INTERMEDIATE CODE: A971007 Effective date: 20050727 |
|
| A131 | Notification of reasons for refusal |
Free format text: JAPANESE INTERMEDIATE CODE: A131 Effective date: 20050802 |
|
| A521 | Request for written amendment filed |
Free format text: JAPANESE INTERMEDIATE CODE: A523 Effective date: 20050926 |
|
| A02 | Decision of refusal |
Free format text: JAPANESE INTERMEDIATE CODE: A02 Effective date: 20070109 |
|
| A521 | Request for written amendment filed |
Free format text: JAPANESE INTERMEDIATE CODE: A523 Effective date: 20070309 |
|
| A911 | Transfer to examiner for re-examination before appeal (zenchi) |
Free format text: JAPANESE INTERMEDIATE CODE: A911 Effective date: 20070418 |
|
| TRDD | Decision of grant or rejection written | ||
| A01 | Written decision to grant a patent or to grant a registration (utility model) |
Free format text: JAPANESE INTERMEDIATE CODE: A01 Effective date: 20080828 |
|
| A01 | Written decision to grant a patent or to grant a registration (utility model) |
Free format text: JAPANESE INTERMEDIATE CODE: A01 |
|
| A61 | First payment of annual fees (during grant procedure) |
Free format text: JAPANESE INTERMEDIATE CODE: A61 Effective date: 20080828 |
|
| FPAY | Renewal fee payment (event date is renewal date of database) |
Free format text: PAYMENT UNTIL: 20110912 Year of fee payment: 3 |
|
| R150 | Certificate of patent or registration of utility model |
Ref document number: 4183116 Country of ref document: JP Free format text: JAPANESE INTERMEDIATE CODE: R150 Free format text: JAPANESE INTERMEDIATE CODE: R150 |
|
| FPAY | Renewal fee payment (event date is renewal date of database) |
Free format text: PAYMENT UNTIL: 20110912 Year of fee payment: 3 |
|
| FPAY | Renewal fee payment (event date is renewal date of database) |
Free format text: PAYMENT UNTIL: 20120912 Year of fee payment: 4 |
|
| FPAY | Renewal fee payment (event date is renewal date of database) |
Free format text: PAYMENT UNTIL: 20130912 Year of fee payment: 5 |
|
| S531 | Written request for registration of change of domicile |
Free format text: JAPANESE INTERMEDIATE CODE: R313531 |
|
| R350 | Written notification of registration of transfer |
Free format text: JAPANESE INTERMEDIATE CODE: R350 |
|
| EXPY | Cancellation because of completion of term |
