JP4176397B2 - マット洗浄機 - Google Patents
マット洗浄機 Download PDFInfo
- Publication number
- JP4176397B2 JP4176397B2 JP2002188666A JP2002188666A JP4176397B2 JP 4176397 B2 JP4176397 B2 JP 4176397B2 JP 2002188666 A JP2002188666 A JP 2002188666A JP 2002188666 A JP2002188666 A JP 2002188666A JP 4176397 B2 JP4176397 B2 JP 4176397B2
- Authority
- JP
- Japan
- Prior art keywords
- lever
- mat
- water
- amount
- valve
- Prior art date
- Legal status (The legal status is an assumption and is not a legal conclusion. Google has not performed a legal analysis and makes no representation as to the accuracy of the status listed.)
- Expired - Lifetime
Links
- 238000005406 washing Methods 0.000 title description 8
- 230000007246 mechanism Effects 0.000 claims description 46
- 238000004140 cleaning Methods 0.000 claims description 24
- 239000007788 liquid Substances 0.000 claims description 24
- 230000007723 transport mechanism Effects 0.000 claims description 11
- XLYOFNOQVPJJNP-UHFFFAOYSA-N water Substances O XLYOFNOQVPJJNP-UHFFFAOYSA-N 0.000 description 94
- 238000010521 absorption reaction Methods 0.000 description 12
- 238000003825 pressing Methods 0.000 description 6
- 230000000694 effects Effects 0.000 description 5
- 239000000463 material Substances 0.000 description 4
- 238000002788 crimping Methods 0.000 description 3
- 239000012530 fluid Substances 0.000 description 3
- 238000002347 injection Methods 0.000 description 2
- 239000007924 injection Substances 0.000 description 2
- 238000010586 diagram Methods 0.000 description 1
- 238000000034 method Methods 0.000 description 1
- 230000032258 transport Effects 0.000 description 1
- 125000000391 vinyl group Chemical group [H]C([*])=C([H])[H] 0.000 description 1
- 229920002554 vinyl polymer Polymers 0.000 description 1
Images
Landscapes
- Cleaning In General (AREA)
- Cleaning By Liquid Or Steam (AREA)
Description
【発明の属する技術分野】
本発明は、例えば自動車の床用マット、玄関マットなどを洗浄するためのマット洗浄機に係り、特に、洗浄のための液量調節に改良を施したマット洗浄機に関する。
【0002】
【従来の技術】
従来から、自動車の床用マット等の水洗いを行うマット洗浄機が、ガソリンスタンド等において広く使用されている。この種のマット洗浄機は、送りローラによって内部に送り込まれたマットを、回転するローラ状のブラシによって水洗いするものである。
【0003】
このようなマット洗浄機の一例を、図8を参照して説明する。すなわち、このマット洗浄機は、マットの入口11と出口12を有するケース10の内部に、搬送機構20、洗浄機構30、バルブ40、絞り機構50及び駆動機構60を備えている。搬送機構20は、入口11から挿入されたマットを、回転する送りローラ21と押さえローラ22との間に挟持して、出口12側へ搬送する機構である。押さえローラ22の軸は、送りローラ21に接離する方向に移動可能に設けられ、ケース10側に回動可能に設けられた付勢プレート23と引きバネ24によって、押さえローラ22が送りローラ21に圧着する方向に付勢されている。洗浄機構30は、搬送機構20によって搬送されているマットを、ノズル31から噴射される水と回転するローラ状のブラシ32によって洗浄する機構である。
【0004】
バルブ40は、供給源(図示せず)から供給路41を介してノズル31へ供給される水の供給量を調整するものであり、上下に回動する水量レバー42によってその開閉量を調整可能に設けられている。絞り機構50は、回転する一対の吸水ローラ51,52の間にマットを挟持して、水を絞り取る機構である。吸水ローラ51の軸は、吸水ローラ52に接離する方向に移動可能に設けられ、ケース10側に回動可能に設けられた付勢プレート53と引きバネ54によって、吸水ローラ51が吸水ローラ52に圧着する方向に付勢されている。
【0005】
駆動機構60は、図示しないモータによって回動可能に設けられた内径ギア61及び外径ギア62を有している。内径ギア61は、チェーン63を介して送りローラ21及び吸水ローラ52を回転させるように構成されている。外径ギア62は、チェーン64を介してブラシ32を回転させるように構成されている。
【0006】
以上のような構成を有するマット洗浄機は、以下のように使用する。すなわち、駆動機構60が作動することによって、内径ギア61及び外径ギア62が、図中矢印方向に回転すると、送りローラ21、ブラシ32及び吸水ローラ52が、図中矢印方向に回転する。また、水量レバー42を操作することによって、バルブ40を開くと、ノズル31から水が噴射される。
【0007】
この状態で、入口11からマットを挿入すると、マットの端部が、回転する送りローラ21と押さえローラ22との間に挟持されて引き込まれる。そして、マットは、ノズル31から吹き付けられる水と、回転するブラシ32によって洗浄されて出口12側へ移動し、吸水ローラ51,52によって挟持されながら水分が絞り取られて、出口12から排出される。
【0008】
【発明が解決しようとする課題】
ところで、上記のようなマット洗浄機においては、駆動機構60を作動させると同時に、バルブ40が開となってノズル31から水が噴射させることができれば、操作の手間が省けて便利である。このため、例えば、図8に示した水量レバー42によって、駆動機構60のスイッチをON、OFFできるようにして、駆動機構60の作動とバルブ40の開閉とをリンクさせる構成としたものが開発されている。しかし、かかる構成とした場合には、駆動機構60のスイッチのON、OFFとバルブ40の開閉が連動してしまうので、マットの種類に応じたバルブ40の水量調節ができなくなる。従って、ゴム製やビニール製等の比較的吸水性に乏しい素材よりなるマットの場合には、洗浄水を充分に供給する必要があり、じゅうたんマットのように吸水性に富み脱水性の悪い素材の場合からなるマットの場合には、洗浄水の供給を減少させる必要があるが、かかる要求に応えることができない。
【0009】
これに対処するため、実開昭59−142088号公報に開示されているように、マット洗浄機を作動させる操作ハンドルと水量調節弁を開閉する水量調節レバーとをリンクさせるとともに、操作ハンドルが作動位置にあるときであっても、水量調節レバーを操作して水量調節を行なうことができる洗浄水量調節装置も開発されている。しかしながら、かかる洗浄水量調節装置は、作動時に、ばねの牽引力によって機枠から突出している水量調節レバーを、ばねの牽引力に抗して押し戻し、水量調節レバーの上縁に設けられた係合凹部を、機枠の開口の上測縁に係合させることによって、水量調節弁を半開位置にのみ固定できるものである。従って、例えば、じゅうたんマットであっても、その材質や大きさに応じて供給水量を微妙に変化させたい場合や、水道等の水の供給源からの水圧が異なっていても一定の供給量を確保したい場合に対処することができない。
【0010】
また、上記の従来技術は、作動時における水量調節レバーがばねの牽引力によって機枠から突出しており、半開位置への固定は係合凹部と上測縁との係合によって行なっている。このため、水量調節レバーが半開位置にあるときに、作業者が水量調節レバーに触ったり、装置に衝撃が加わったりした場合に、係合凹部と上測縁との係合が外れてばねの牽引力が突然解放され、水量調節レバーが機枠から突出して作業者にぶつかったり、弁開状態となって水量が突然増える等の可能性がある。
【0011】
さらに、ばねは、装置内部においてその両端を支持するための部材とそのスペースを必要とするとともに、操作のためにその牽引力に抗する力を必要とする。このため、水量調節弁や水量調節レバーに対して一定の牽引力を与えるばね及びその他の箇所のばねを数多く使用する構成では、部品点数が多く構成が複雑となるとともに、作業者の操作負担が大きい。
【0012】
本発明は、上記のような従来技術の問題点を解決するために提案されたものであり、その目的は、簡素な構成と少ない操作負担で、運転、停止等の機能の切り替えとバルブの開閉とを連動させることができるとともに、バルブによる運転中の水量調節を無段階に行なうことが可能なマット洗浄機を提供することにある。
【0013】
【課題を解決するための手段】
上記の目的を達成するために、本発明は、マットの入口と出口を有するケースの内部に、前記入口から挿入されたマットを前記出口側へ搬送する搬送機構と、前記搬送機構によって搬送されているマットを液体によって洗浄する洗浄機構と、前記洗浄機構への液体の供給量を調整するバルブと、前記送り機構を駆動源の動力により駆動する駆動機構とを備えたマット洗浄機において、以下のような技術的特徴を有する。
【0016】
請求項1記載の発明は、マットの入口と出口を有するケースの内部に、前記入口から挿入されたマットを前記出口側へ搬送する搬送機構と、前記搬送機構によって搬送されているマットを液体によって洗浄する洗浄機構と、前記洗浄機構への液体の供給量を調整するバルブと、前記搬送機構を駆動源の動力により駆動する駆動機構とを備えたマット洗浄機において、前記駆動機構の動作を切り替える操作レバーと、前記バルブの開閉量を操作する液量レバーと、前記操作レバーの移動に従って前記液量レバーが連動可能となるとともに、前記液量レバーが前記操作レバーから独立して無段階移動可能となるように、前記操作レバーと前記液量レバーとを連結する操作リンク機構と、を備え、前記操作リンク機構は、前記操作レバーの回動に従って前記液量レバーが回動するように、一端が前記操作レバーに直接若しくは間接に回動可能に設けられ、他端が前記液量レバーに直接若しくは間接に回動可能に設けられた操作リンクプレートを有し、前記操作リンクプレートにおける少なくとも一方の端部は、前記液量レバーの回動に従って前記操作レバーが回動しないように、スライド移動可能に設けられていることを特徴とする。
以上のような請求項1記載の発明では、端部が回動するとともにスライド移動する操作リンクプレートによって、操作リンク機構を実現しているので、部品点数が少なく簡素な構成で、作業者の操作負担が少なく、液量レバー等が突然突出したり、突然水量が変化する等の可能性がなく安全である。
【0019】
【発明の実施の形態】
[実施の形態の構成]
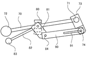
本発明の具体的な実施の形態を、図1〜図6を参照して以下に説明する。なお、図1及び図2は、本実施の形態によるマット洗浄機の外観図であり、図1は正面図、図2は側面図を示す。図3、図4及び図6は、操作レバー70、水量レバー82及び操作リンクプレート90の構成を示す側面図であり、図3は停止時、図4は運転時、図6は水量調節時を示す。図5は操作リンクプレート90を示す平面図である。
【0020】
すなわち、本実施形態は、図1及び図2に示すように、ケース10の正面側に突出した操作レバー70及び水量レバー82を備えている。バルブ80には、図3に示すように、回動によりバルブ80を開閉する開閉プレート81が設けられ、この開閉プレート81に水量レバー82の一端が固定されている。水量レバー82の他端には、球状の握り部83が設けられている。一方、この水量レバー82の近傍には、操作レバー70が設けられている。この操作レバー70は、軸部71を中心に回動可能となるように、ケース10側に取り付けられている。そして、操作レバー70の一端には、球状の握り部72が設けられている。また、操作レバー70は、その回動により、駆動機構60の駆動源のスイッチ(図示せず)を開閉するように構成されている。また、操作レバー70の軸部71には、接続プレート73が固定されている。
【0021】
そして、開閉プレート81及び接続プレート73の間には、操作リンクプレート90が設けられている。この操作リンクプレート90は、その一端が開閉プレート81に軸部84を中心に回動可能に連結されている。操作リンクプレート90の他端は、接続プレート73の端部に回動可能に且つスライド移動可能に連結されている。つまり、操作リンクプレート90の他端には、長手方向の長穴91が形成されており、これに接続プレート73の端部に固定された軸部74がスライド移動可能に挿入されている。軸部74は、図5に示すように、ワッシャ74a及びバネ75に挿入されており、このバネ75によって、操作リンクプレート90が接続プレート73に対してワッシャ74aを介して所定の圧力で付勢されている。
【0022】
操作レバー70を回動させるには、水量レバー82よりも大きな力を必要とするように設定されており、図6に示すように、操作レバー70が立上げられているときには、水量レバー82を回動させると、操作リンクプレート90が、その長穴91のために接続プレート73を回動させずにスライド移動する。従って、操作レバー70から独立して、水量レバー82を回動させることができる。
【0023】
[実施の形態の作用]
以上のような構成を有する本実施の形態におけるマットの洗浄作業は、以下のように行なわれる。まず、停止時には、図3に示すように、操作レバー70、水量レバー82ともに下方に回動しており、駆動源のスイッチはOFFとなっている。この状態から、図4に示すように、操作レバー70を上方に回動させると、バネ75によって操作リンクプレート90と接続プレート73とが所定の圧力で圧着されており、水量レバー82は、操作レバー70よりも軽い力で回動するので、操作リンクプレート90を介して開閉プレート81が開方向に回動するとともに、水量レバー82が上方に立ち上がる
【0024】
このように、操作レバー70を上方に回動させると、駆動源のスイッチがONとなるので、駆動機構60が作動して、送りローラ21、ブラシ32及び吸水ローラ52が回転する。同時に、開閉プレート81の回動によってバルブ80が開となるので、ノズル31から水が噴射される。この状態で、入口11からマットを挿入すると、マットの端部が、送りローラ21と押さえローラ22との間に挟持されて引き込まれる。そして、マットは、ノズル31から吹き付けられる水と、回転するブラシ32によって洗浄されて出口12側へ移動し、吸水ローラ51,52によって挟持されながら水分が絞り取られて、出口12から排出される。
【0025】
このような運転中に、水量を調整したい場合には、図6に示すように、水量レバー82を所望の量だけ無段階に回動させることによって、開閉プレート81の角度を変えて、バルブ80の開閉量を細かく調節する。このとき、回動する開閉プレート81によって、操作リンクプレート90が付勢されるが、操作レバー70を回動させるには、水量レバー82よりも大きな力を必要とするため、軸部74が挿入された長穴91のスライド移動が生じて、操作リンクプレート90のみが移動する。従って、接続プレート73及び操作レバー70は回動しない。また、かかる操作リンクプレート90は、所望の位置に保持されるので、水量レバー82も所望の角度に保持され、細かく調整したバルブ80の所望の開閉量を維持させることができる。
【0026】
さらに、運転を停止させる際には、操作レバー70を下方に回動させる。すると、接続プレート73が回動するとともに、軸部74が操作リンクプレート90の長穴91の端部を付勢するので、操作リンクプレート90が移動して、開閉プレート81をバルブ80が閉じる方向に回動させるとともに、水量レバー82を下方に回動させる。このように、操作レバー70を下方に回動させると、駆動源のスイッチがOFFとなるので、駆動機構60が停止して、送りローラ21、ブラシ32及び吸水ローラ52が停止する。同時に、開閉プレート81の回動によって、バルブ80が閉となるので、ノズル31からの水の噴射が停止する。
【0027】
[実施の形態の効果]
以上のような本実施の形態によれば、操作レバー70による運転、停止の切り替えと、バルブ80の開閉とを連動させることができるとともに、以下のような効果が得られる。
【0028】
すなわち、運転中に、水量レバー82を操作レバー70から独立して無段階に操作することができるので、洗浄対象となるマットに応じて、水量レバー82を操作することによって、マットへの水の噴射量が最適となるように細かく調整することができる。従って、例えば、じゅうたんマットの材質や大きさに応じて供給水量を微妙に変化させたい場合や、水道等の水の供給源からの水圧に左右されずに一定の供給量を確保したい場合に対処することができる。
【0029】
また、水量レバー82の操作に応じて、操作リンクプレート90がその長穴91によってスライド移動してその位置で保持されるので、牽引力を与えるばねを使用する必要がなく、少ない部品点数からなる簡素な構成で、バルブ80の開閉量の微妙な無段階調節とその状態の保持が可能となる。従って、作業者が水量レバー82に触れたり、振動が加わったりした際に、操作リンクプレート90が突然移動して水量レバー82が回動したり、突然水量が変化するといったことがなく、安全である。さらに、水量レバー82を操作する際に、ばねの付勢力に抗する力が必要ないので、作業者の操作負担が少ない。
【0030】
[他の実施の形態]
なお、本発明は、上述した実施の形態に限定されるものではなく、具体的な各部材の大きさ、形状、数量、配置、あるいは各々の取り付け位置及び方法等は、適宜変更可能である。例えば、操作リンクプレートと液量レバー及び操作レバーとの連結構造は、液量レバー側をスライド移動可能に設けても、液量レバー側及び操作レバー側双方をスライド移動可能に設けてもよい。例えば、図7に示すように、上記の実施の形態における操作リンクプレート90の長穴91を、水量レバー82側に設け、軸部84を、図5における軸部74と同様に構成しても、上記の実施の形態と同様の作用効果が得られる。
【0031】
また、操作レバーの回動と吸水ローラの開閉とをリンクさせる機構を設け、運転停止時には、吸水ローラを開離状態とすることによって、吸水ローラの圧着による変形を防止することもできる。
【0032】
また、例えば、搬送機構におけるローラの数、洗浄機構におけるブラシの数や形状、ノズルの数等は自由である。駆動機構の構造も自由であり、例えば、チェーンとギアの組み合わせではなくベルトとローラの組み合わせによって駆動させる機構であってもよい。また、噴射する液体の種類も、水には限定されず、他の洗浄用の液体であってもよい。吸水部材の具体的な構成も、吸水ローラには限定されない。例えば、無端状に移動する一対のベルト状の吸水部材の間に挟持する構成とすれば、給水運転時のマットとの接触面積が大きくなり、より吸水効果が高くなる。
【0033】
また、操作レバーの形状は、棒状には限定されず、略コの字状等のハンドル形状とするなど、他の形状であってもよい。操作レバーの回動方向とこれに対応する装置の状態も自由に設定可能である。さらに、操作レバー及び液量レバーのいずれか一方若しくは双方を、スイッチにより作動するモータ及び駆動機構によって移動可能に設けることによって、一部若しくは全部の操作をモータ駆動として、操作者の労力の軽減を図ってもよい。
【0034】
【発明の効果】
以上説明したように、本発明によれば、運転、停止等の機能の切り替えとバルブの開閉とを連動させることができるとともに、バルブによる運転中の水量調節を無段階に行なうことが可能なマット洗浄機を提供することができる。
【図面の簡単な説明】
【図1】本発明の実施の形態の外観を示す正面図である。
【図2】図1の側面図である。
【図3】図1の実施の形態における操作レバーと水量レバーとを連動させる機構の停止時を示す側面図である。
【図4】図3の運転時を示す側面図である。
【図5】図3の一部を示す平面図である。
【図6】図3の水量調節時を示す側面図である。
【図7】本発明の他の実施形態における操作レバーと水量レバーとを連動させる機構の停止時を示す側面図である。
【図8】従来のマット洗浄機の一例を示す内部構造図である。
【符号の説明】
10…ケース
11…入口
12…出口
20…搬送機構
21…送りローラ
22…押さえローラ
23,53…付勢プレート
24,54…引きバネ
30…洗浄機構
31…ノズル
32…ブラシ
40,80…バルブ
41…供給路
42…水量レバー
50…絞り機構
51,52…吸水ローラ
60…駆動機構
61…内径ギア
62…外径ギア
63,64…チェーン
70…操作レバー
71,74,84…軸部
72,83…握り部
73…接続プレート
74a…ワッシャ
75…バネ
81…開閉プレート
82…水量レバー
90…操作リンクプレート
91…長穴
Claims (1)
- マットの入口と出口を有するケースの内部に、前記入口から挿入されたマットを前記出口側へ搬送する搬送機構と、前記搬送機構によって搬送されているマットを液体によって洗浄する洗浄機構と、前記洗浄機構への液体の供給量を調整するバルブと、前記搬送機構を駆動源の動力により駆動する駆動機構とを備えたマット洗浄機において、
前記駆動機構の動作を切り替える操作レバーと、
前記バルブの開閉量を操作する液量レバーと、
前記操作レバーの移動に従って前記液量レバーが連動可能となるとともに、前記液量レバーが前記操作レバーから独立して無段階移動可能となるように、前記操作レバーと前記液量レバーとを連結する操作リンク機構と、を備え、
前記操作リンク機構は、前記操作レバーの回動に従って前記液量レバーが回動するように、一端が前記操作レバーに直接若しくは間接に回動可能に設けられ、他端が前記液量レバーに直接若しくは間接に回動可能に設けられた操作リンクプレートを有し、
前記操作リンクプレートにおける少なくとも一方の端部は、前記液量レバーの回動に従って前記操作レバーが回動しないように、スライド移動可能に設けられていることを特徴とするマット洗浄機。
Priority Applications (1)
| Application Number | Priority Date | Filing Date | Title |
|---|---|---|---|
| JP2002188666A JP4176397B2 (ja) | 2002-06-27 | 2002-06-27 | マット洗浄機 |
Applications Claiming Priority (1)
| Application Number | Priority Date | Filing Date | Title |
|---|---|---|---|
| JP2002188666A JP4176397B2 (ja) | 2002-06-27 | 2002-06-27 | マット洗浄機 |
Publications (2)
| Publication Number | Publication Date |
|---|---|
| JP2004025124A JP2004025124A (ja) | 2004-01-29 |
| JP4176397B2 true JP4176397B2 (ja) | 2008-11-05 |
Family
ID=31183344
Family Applications (1)
| Application Number | Title | Priority Date | Filing Date |
|---|---|---|---|
| JP2002188666A Expired - Lifetime JP4176397B2 (ja) | 2002-06-27 | 2002-06-27 | マット洗浄機 |
Country Status (1)
| Country | Link |
|---|---|
| JP (1) | JP4176397B2 (ja) |
Cited By (1)
| Publication number | Priority date | Publication date | Assignee | Title |
|---|---|---|---|---|
| CN108499946A (zh) * | 2017-12-15 | 2018-09-07 | 青岛日森机电有限公司 | 一种脚垫机 |
-
2002
- 2002-06-27 JP JP2002188666A patent/JP4176397B2/ja not_active Expired - Lifetime
Cited By (1)
| Publication number | Priority date | Publication date | Assignee | Title |
|---|---|---|---|---|
| CN108499946A (zh) * | 2017-12-15 | 2018-09-07 | 青岛日森机电有限公司 | 一种脚垫机 |
Also Published As
| Publication number | Publication date |
|---|---|
| JP2004025124A (ja) | 2004-01-29 |
Similar Documents
| Publication | Publication Date | Title |
|---|---|---|
| US7062816B2 (en) | Surface cleaner with power drive | |
| KR101779161B1 (ko) | 스트랩을 위한 배터리 전력형 텐셔닝 툴 | |
| CN206935848U (zh) | 注液口清洁装置 | |
| WO2008054913A1 (en) | Automatic chute opening system for strapping machine | |
| JPH07148391A (ja) | 洗濯機のドア開閉装置 | |
| CN101190657A (zh) | 工作机的操作机构 | |
| JP4176397B2 (ja) | マット洗浄機 | |
| WO2025194677A1 (zh) | 一种清洁装置 | |
| JP2005500112A (ja) | ズボン用のコンパクトな自動アイロンプレス | |
| US8185995B2 (en) | Portable surface treating apparatus | |
| CN210681942U (zh) | 一种垃圾桶的开盖机构 | |
| JP2004025125A (ja) | マット洗浄方法及びマット洗浄機 | |
| JPH0929195A (ja) | マット洗浄機 | |
| CN112971599B (zh) | 用于清洁设备的地刷组件和具有其的清洁设备 | |
| CN211299800U (zh) | 用于清洁设备的地刷组件和具有其的清洁设备 | |
| CN210681944U (zh) | 一种垃圾桶的自动套袋机构 | |
| JP4597533B2 (ja) | マット洗浄機 | |
| JP2004097905A (ja) | 椅子の洗浄装置 | |
| JP4499858B2 (ja) | 動力噴霧機用ホース巻取機構 | |
| JP2852569B2 (ja) | ホース洗浄装置 | |
| JP3697451B2 (ja) | ベルト式クラッチ機構 | |
| JPH0736674Y2 (ja) | ホース洗浄装置 | |
| JP2609553B2 (ja) | ホース洗浄装置 | |
| US20060117473A1 (en) | Automatically-cleaning sanitary module comprising a bowl and a seat back that are tiltable | |
| CN210681941U (zh) | 一种自动套袋垃圾桶的袋子盒安装结构 |
Legal Events
| Date | Code | Title | Description |
|---|---|---|---|
| A621 | Written request for application examination |
Free format text: JAPANESE INTERMEDIATE CODE: A621 Effective date: 20050622 |
|
| A131 | Notification of reasons for refusal |
Free format text: JAPANESE INTERMEDIATE CODE: A131 Effective date: 20080520 |
|
| A521 | Request for written amendment filed |
Free format text: JAPANESE INTERMEDIATE CODE: A523 Effective date: 20080718 |
|
| TRDD | Decision of grant or rejection written | ||
| A01 | Written decision to grant a patent or to grant a registration (utility model) |
Free format text: JAPANESE INTERMEDIATE CODE: A01 Effective date: 20080812 |
|
| A01 | Written decision to grant a patent or to grant a registration (utility model) |
Free format text: JAPANESE INTERMEDIATE CODE: A01 |
|
| A61 | First payment of annual fees (during grant procedure) |
Free format text: JAPANESE INTERMEDIATE CODE: A61 Effective date: 20080820 |
|
| FPAY | Renewal fee payment (event date is renewal date of database) |
Free format text: PAYMENT UNTIL: 20110829 Year of fee payment: 3 |
|
| R150 | Certificate of patent or registration of utility model |
Ref document number: 4176397 Country of ref document: JP Free format text: JAPANESE INTERMEDIATE CODE: R150 Free format text: JAPANESE INTERMEDIATE CODE: R150 |
|
| FPAY | Renewal fee payment (event date is renewal date of database) |
Free format text: PAYMENT UNTIL: 20120829 Year of fee payment: 4 |
|
| R250 | Receipt of annual fees |
Free format text: JAPANESE INTERMEDIATE CODE: R250 |
|
| FPAY | Renewal fee payment (event date is renewal date of database) |
Free format text: PAYMENT UNTIL: 20120829 Year of fee payment: 4 |
|
| S111 | Request for change of ownership or part of ownership |
Free format text: JAPANESE INTERMEDIATE CODE: R313113 |
|
| FPAY | Renewal fee payment (event date is renewal date of database) |
Free format text: PAYMENT UNTIL: 20120829 Year of fee payment: 4 |
|
| R360 | Written notification for declining of transfer of rights |
Free format text: JAPANESE INTERMEDIATE CODE: R360 |
|
| R360 | Written notification for declining of transfer of rights |
Free format text: JAPANESE INTERMEDIATE CODE: R360 |
|
| R371 | Transfer withdrawn |
Free format text: JAPANESE INTERMEDIATE CODE: R371 |
|
| S111 | Request for change of ownership or part of ownership |
Free format text: JAPANESE INTERMEDIATE CODE: R313113 |
|
| R350 | Written notification of registration of transfer |
Free format text: JAPANESE INTERMEDIATE CODE: R350 |
|
| FPAY | Renewal fee payment (event date is renewal date of database) |
Free format text: PAYMENT UNTIL: 20130829 Year of fee payment: 5 |
|
| R250 | Receipt of annual fees |
Free format text: JAPANESE INTERMEDIATE CODE: R250 |
|
| R250 | Receipt of annual fees |
Free format text: JAPANESE INTERMEDIATE CODE: R250 |
|
| R250 | Receipt of annual fees |
Free format text: JAPANESE INTERMEDIATE CODE: R250 |
|
| R250 | Receipt of annual fees |
Free format text: JAPANESE INTERMEDIATE CODE: R250 |
|
| R250 | Receipt of annual fees |
Free format text: JAPANESE INTERMEDIATE CODE: R250 |
|
| R250 | Receipt of annual fees |
Free format text: JAPANESE INTERMEDIATE CODE: R250 |
|
| R250 | Receipt of annual fees |
Free format text: JAPANESE INTERMEDIATE CODE: R250 |
|
| EXPY | Cancellation because of completion of term |