JP4150239B2 - 移動通信システム、基地局、移動局、及びセル制御方法 - Google Patents

移動通信システム、基地局、移動局、及びセル制御方法 Download PDF

Info

Publication number
JP4150239B2
JP4150239B2 JP2002291316A JP2002291316A JP4150239B2 JP 4150239 B2 JP4150239 B2 JP 4150239B2 JP 2002291316 A JP2002291316 A JP 2002291316A JP 2002291316 A JP2002291316 A JP 2002291316A JP 4150239 B2 JP4150239 B2 JP 4150239B2
Authority
JP
Japan
Prior art keywords
cell
base station
power value
reference signal
control information
Prior art date
Legal status (The legal status is an assumption and is not a legal conclusion. Google has not performed a legal analysis and makes no representation as to the accuracy of the status listed.)
Expired - Fee Related
Application number
JP2002291316A
Other languages
English (en)
Other versions
JP2004128966A (ja
Inventor
秀樹 藤部
英俊 加山
成視 梅田
Current Assignee (The listed assignees may be inaccurate. Google has not performed a legal analysis and makes no representation or warranty as to the accuracy of the list.)
NTT Docomo Inc
Original Assignee
NTT Docomo Inc
Priority date (The priority date is an assumption and is not a legal conclusion. Google has not performed a legal analysis and makes no representation as to the accuracy of the date listed.)
Filing date
Publication date
Application filed by NTT Docomo Inc filed Critical NTT Docomo Inc
Priority to JP2002291316A priority Critical patent/JP4150239B2/ja
Priority to DE2003601533 priority patent/DE60301533T2/de
Priority to EP03022514A priority patent/EP1406418B1/en
Priority to US10/677,431 priority patent/US7239619B2/en
Priority to CNB2003101007550A priority patent/CN100444647C/zh
Publication of JP2004128966A publication Critical patent/JP2004128966A/ja
Application granted granted Critical
Publication of JP4150239B2 publication Critical patent/JP4150239B2/ja
Anticipated expiration legal-status Critical
Expired - Fee Related legal-status Critical Current

Links

Images

Classifications

    • HELECTRICITY
    • H04ELECTRIC COMMUNICATION TECHNIQUE
    • H04WWIRELESS COMMUNICATION NETWORKS
    • H04W16/00Network planning, e.g. coverage or traffic planning tools; Network deployment, e.g. resource partitioning or cells structures
    • H04W16/02Resource partitioning among network components, e.g. reuse partitioning
    • H04W16/06Hybrid resource partitioning, e.g. channel borrowing
    • HELECTRICITY
    • H04ELECTRIC COMMUNICATION TECHNIQUE
    • H04MTELEPHONIC COMMUNICATION
    • H04M15/00Arrangements for metering, time-control or time indication ; Metering, charging or billing arrangements for voice wireline or wireless communications, e.g. VoIP
    • H04M15/80Rating or billing plans; Tariff determination aspects
    • H04M15/8016Rating or billing plans; Tariff determination aspects based on quality of service [QoS]
    • HELECTRICITY
    • H04ELECTRIC COMMUNICATION TECHNIQUE
    • H04WWIRELESS COMMUNICATION NETWORKS
    • H04W4/00Services specially adapted for wireless communication networks; Facilities therefor
    • H04W4/24Accounting or billing
    • HELECTRICITY
    • H04ELECTRIC COMMUNICATION TECHNIQUE
    • H04WWIRELESS COMMUNICATION NETWORKS
    • H04W52/00Power management, e.g. Transmission Power Control [TPC] or power classes
    • H04W52/04Transmission power control [TPC]
    • H04W52/30Transmission power control [TPC] using constraints in the total amount of available transmission power
    • H04W52/32TPC of broadcast or control channels
    • H04W52/322Power control of broadcast channels
    • HELECTRICITY
    • H04ELECTRIC COMMUNICATION TECHNIQUE
    • H04WWIRELESS COMMUNICATION NETWORKS
    • H04W52/00Power management, e.g. Transmission Power Control [TPC] or power classes
    • H04W52/04Transmission power control [TPC]
    • H04W52/38TPC being performed in particular situations
    • H04W52/40TPC being performed in particular situations during macro-diversity or soft handoff
    • HELECTRICITY
    • H04ELECTRIC COMMUNICATION TECHNIQUE
    • H04MTELEPHONIC COMMUNICATION
    • H04M2215/00Metering arrangements; Time controlling arrangements; Time indicating arrangements
    • H04M2215/20Technology dependant metering
    • H04M2215/2026Wireless network, e.g. GSM, PCS, TACS
    • HELECTRICITY
    • H04ELECTRIC COMMUNICATION TECHNIQUE
    • H04MTELEPHONIC COMMUNICATION
    • H04M2215/00Metering arrangements; Time controlling arrangements; Time indicating arrangements
    • H04M2215/32Involving wireless systems
    • HELECTRICITY
    • H04ELECTRIC COMMUNICATION TECHNIQUE
    • H04MTELEPHONIC COMMUNICATION
    • H04M2215/00Metering arrangements; Time controlling arrangements; Time indicating arrangements
    • H04M2215/74Rating aspects, e.g. rating parameters or tariff determination apects
    • H04M2215/7414QoS
    • HELECTRICITY
    • H04ELECTRIC COMMUNICATION TECHNIQUE
    • H04WWIRELESS COMMUNICATION NETWORKS
    • H04W36/00Hand-off or reselection arrangements
    • H04W36/16Performing reselection for specific purposes
    • H04W36/18Performing reselection for specific purposes for allowing seamless reselection, e.g. soft reselection
    • HELECTRICITY
    • H04ELECTRIC COMMUNICATION TECHNIQUE
    • H04WWIRELESS COMMUNICATION NETWORKS
    • H04W48/00Access restriction; Network selection; Access point selection
    • H04W48/08Access restriction or access information delivery, e.g. discovery data delivery
    • H04W48/12Access restriction or access information delivery, e.g. discovery data delivery using downlink control channel

Landscapes

  • Engineering & Computer Science (AREA)
  • Computer Networks & Wireless Communication (AREA)
  • Signal Processing (AREA)
  • Business, Economics & Management (AREA)
  • Accounting & Taxation (AREA)
  • Quality & Reliability (AREA)
  • Mobile Radio Communication Systems (AREA)
  • Small-Scale Networks (AREA)

Description

【0001】
【発明の属する技術分野】
本発明は、移動通信システムに関するものである。
【0002】
【従来の技術】
移動通信システムは、複数の基地局がそれぞれセル選択基準信号を報知することによってセルを形成している。また、それぞれの基地局は指向性をもつセル選択基準信号を複数の方向に報知することによって、複数のセクタセル(本明細書では、セクタセルも「セル」と呼ぶ)を形成する場合もある。これらのセルのサイズは、基地局によって送信されるセル選択基準信号の送信電力によって決定されるものであり、セル選択基準信号を所定の電力値で受信できるエリアの大きさが、セルのサイズとなる。そして、移動局は最大の強度のセル選択基準信号を受信できる基地局に接続することによって通信を行なう。このような移動通信システムに新たに基地局が配置される場合、この新たな基地局は、隣接する基地局から送信されるセル選択基準信号の送信電力値の通知を、この隣接する基地局から受けると共に、隣接する基地局から送信されるセル選択基準信号の受信電力値を計測する。そして、この新たな基地局は、隣接する基地局から送信されるセル選択基準信号の送信電力値と受信電力値から、セル選択基準信号の伝搬ロスを計算することによって、隣接する基地局のセルの境界を見積もり、見積もった隣接する基地局のセルの境界に応じて、自局が報知するセル選択基準信号の送信電力値を制御することによって、自局が形成するセルのサイズを自律的に調整している(例えば、非特許文献1)。
【0003】
【非特許文献1】
藤部秀樹他、「基地局配置に基づいた自律セル形成法の提案」、電子情報通信学会総合大会、B−5−70、2002年3月、p.520
【0004】
【発明が解決しようとする課題】
しかしながら、上述したように基地局が新たに配置される場合、隣接する基地局が既に形成しているセルの境界に応じて、新たに配置される基地局のセルのサイズが決定されるため、それぞれの基地局が形成するセルのサイズが異なることとなる。ここで、大きいサイズのセルを形成する基地局と、これに隣接する小さいサイズのセルを形成する基地局のそれぞれによって形成されるセルが、それぞれの境界で重複しているとする。このようにセルが重複している位置に移動局が存在して、大きいサイズのセルをもつ基地局に接続している場合、移動局からその基地局への上り回線の送信電力は、基地局までの距離が長いため、大きくなる。したがって、移動局から送信する電波が、上記の小さいセルサイズを形成する基地局に干渉をもたらすので、上り回線の通信品質が劣化する。一方、このような上り回線での干渉を軽減するため、新たに配置される基地局のセルのサイズを、隣接する基地局が既に形成しているセルのサイズと同等にすると、両基地局がそれぞれ形成するセルが重複する領域が増大する。この場合、基地局から移動局への下り回線の通信品質が干渉により劣化する。このように、従来の移動通信システムでは、基地局が自律的にセルを形成できるものの、上述したように劣化する通信品質を改善することが望まれている。
【0005】
そこで、本発明は、移動局から隣接する基地局への上り回線における干渉や、隣接する基地局から移動局への下り回線における干渉を低減して、良好な通信品質を実現することを課題としている。
【0006】
【課題を解決するための手段】
上記課題を解決するため、本発明の移動通信システムは、移動局と、複数の基地局とを備える移動通信システムであって、上記移動局は、それぞれの上記基地局によって報知される当該基地局及び当該基地局の形成するセルを識別する識別情報を含むセル選択基準信号のうち、当該移動局が接続する基地局を第1の上記基地局から第2の上記基地局へ切り替えるハンドオーバ時に、当該第1の基地局による第1の上記セル選択基準信号と、当該第2の基地局による第2の上記セル選択基準信号とを受信するセル選択基準信号受信手段と、上記セル選択基準信号受信手段によって受信される上記第1及び第2のセル選択基準信号の受信電力値をそれぞれ計測するセル選択基準信号受信電力計測手段と、当該移動局から上記第1及び第2の基地局それぞれへの上り回線の送信電力である第1の上り回線送信電力値と第2の上り回線送信電力値を取得する上り回線送信電力取得手段と、少なくとも上記第1のセル選択基準信号の受信電力値と、上記第1及び第2の上り回線送信電力値と、上記第1のセル選択基準信号に含まれる第1の上記識別情報とに基づく第1のセル制御情報を上記第1の基地局に送信すると共に、少なくとも上記第2のセル選択基準信号の受信電力値と、上記第1及び第2の上り回線送信電力値と、上記第2のセル選択基準信号に含まれる第2の上記識別情報とに基づく第2のセル制御情報を上記第2の基地局へ送信するセル制御情報送信手段とを備え、上記基地局は上記セル選択基準信号を報知するセル選択基準信号報知手段と、上記移動局の上記セル制御情報送信手段によって自局へ送信される上記セル制御情報を取得すると共に、当該セル制御情報に基づいて、上記第1及び第2の上り回線送信電力値が略同一となり、自局が報知する上記セル選択基準信号の上記移動局における受信電力値が所定の基準電力値と略同一となるように、当該セル制御情報に含まれる上記識別情報によって特定される自局が形成する上記セルに上記セル選択基準信号報知手段が報知する上記セル選択基準信号の電力を制御するセル制御手段とを備えることを特徴としている。
【0007】
また、上記課題を解決するため、本発明の基地局は、複数の基地局を備える移動通信システムにおける上記基地局であって、当該基地局及び当該基地局の形成するセルを識別する識別情報を含むセル選択基準信号を報知するセル選択基準信号報知手段と、ハンドオーバ時の前後に移動局によって接続される第1の上記基地局と第2の上記基地局の一方に自局が該当する場合に、上記移動局によって上記第1の基地局へ送信される、上記第1の基地局が報知した当該移動局におけるセル選択基準信号の受信電力値と、上記移動局から第1及び第2の基地局それぞれへの第1及び第2の上り回線送信電力値と、上記第1のセル選択基準信号に含まれる第1の上記識別情報とに少なくとも基づく第1のセル制御情報と、上記移動局によって上記第2の基地局へ送信される、上記第2の基地局が報知した当該移動局におけるセル選択基準信号の受信電力値と、上記第1及び第2の上り回線送信電力値と、上記第2のセル選択基準信号に含まれる第2の上記識別情報とに少なくとも基づく第2のセル制御情報と、のうち一方の上記セル制御情報を取得し、当該一方のセル制御情報に基づいて、上記第1及び第2の上り回線送信電力値が略同一となり、自局が報知する上記セル選択基準信号の上記移動局における受信電力値が所定の基準電力値と略同一となるように、当該一方のセル制御情報に含まれる上記識別情報によって特定される自局が形成する上記セルに上記セル選択基準信号報知手段が報知する上記セル選択基準信号の電力を制御するセル制御手段とを備えることを特徴としている。
【0008】
また、上記課題を解決するため、本発明の移動局は、移動局と、複数の基地局とを備える移動通信システムにおける上記移動局であって、それぞれの上記基地局によって報知される当該基地局及び当該基地局の形成するセルを識別する識別情報を含むセル選択基準信号のうち、当該移動局が接続する基地局を第1の上記基地局から第2の上記基地局へ切り替えるハンドオーバ時に、当該第1の基地局による第1の上記セル選択基準信号と、当該第2の基地局による第2の上記セル選択基準信号とを受信するセル選択基準信号受信手段と、上記セル選択基準信号受信手段によって受信される上記第1及び第2のセル選択基準信号の受信電力値をそれぞれ計測するセル選択基準信号受信電力計測手段と、当該移動局から上記第1及び第2の基地局それぞれへの上り回線の送信電力である第1の上り回線送信電力値と第2の上り回線送信電力値を取得する上り回線送信電力取得手段と、少なくとも上記第1のセル選択基準信号の受信電力値と、上記第1及び第2の上り回線送信電力値と、上記第1のセル選択基準信号に含まれる第1の上記識別情報とに基づく第1のセル制御情報を上記第1の基地局に送信すると共に、少なくとも上記第2のセル選択基準信号の受信電力値と、上記第1及び第2の上り回線送信電力値と、上記第2のセル選択基準信号に含まれる第2の上記識別情報とに基づく第2のセル制御情報を上記第2の基地局へ送信するセル制御情報送信手段とを備えることを特徴としている。
【0009】
また、上記課題を解決するため、本発明のセル制御方法は、複数の基地局それぞれが形成するセルを制御するセル制御方法であって、上記各基地局が備えるセル選択基準信号報知手段が、当該基地局及び当該基地局の形成するセルを識別する識別情報を含むセル選択基準信号を報知するセル選択基準信号報知ステップと、移動局が備えるセル選択基準信号受信手段が、それぞれの基地局によって報知される当該基地局及び当該基地局の形成するセルを識別する識別情報を含むセル選択基準信号のうち、当該移動局が接続する基地局を第1の上記基地局から第2の上記基地局へ切り替えるハンドオーバ時に、当該第1の基地局による第1の上記セル選択基準信号と、当該第2の基地局による第2の上記セル選択基準信号とを受信するセル選択基準信号受信ステップと、上記移動局が備えるセル選択基準信号受信電力計測手段が、上記セル選択基準信号受信手段によって受信される上記第1及び第2のセル選択基準信号の受信電力値をそれぞれ計測するセル選択基準信号受信電力計測ステップと、上記移動局が備える上り回線送信電力取得手段が、セル当該移動局から上記第1及び第2の基地局それぞれへの上り回線の送信電力である第1の上り回線送信電力値と第2の上り回線送信電力値を取得する上り回線送信電力取得ステップと、上記移動局が備えるセル制御情報送信手段が、少なくとも上記第1のセル選択基準信号の受信電力値と、上記第1及び第2の上り回線送信電力値と、上記第1のセル選択基準信号に含まれる第1の上記識別情報とに基づく第1のセル制御情報を上記第1の基地局に送信すると共に、少なくとも上記第2のセル選択基準信号の受信電力値と、上記第1及び第2の上り回線送信電力値と、上記第2のセル選択基準信号に含まれる第2の上記識別情報とに基づく第2のセル制御情報を上記第2の基地局へ送信するセル制御情報送信ステップと、上記基地局が備えるセル制御手段が、上記移動局の上記セル制御情報送信手段によって自局へ送信される上記セル制御情報を取得すると共に、当該セル制御情報に基づいて、上記第1及び第2の上り回線送信電力値が略同一となり、自局が報知する上記セル選択基準信号の上記移動局における受信電力値が所定の基準電力値と略同一となるように、当該セル制御情報に含まれる上記識別情報によって特定される自局が形成する上記セルに上記セル選択基準信号報知手段が報知する上記セル選択基準信号の電力を制御するセル制御ステップとを備えることを特徴としている。
【0010】
これらの発明によれば、複数の基地局がそれぞれ、自局及び自局の形成するセルを識別する識別情報を含むセル選択基準信号を、自局が形成するセル内へ報知する。移動局は、これら複数の基地局のうち接続する基地局を第1の基地局から第2の基地局へ切り替えるハンドオーバ時に、第1及び第2の基地局によって報知される第1及び第2のセル選択基準信号を受信する。移動局は、これら第1及び第2のセル選択基準信号の受信電力値を計測する。また、移動局は、第1及び第2の基地局への上り回線送信電力値を取得する。そして、移動局は、第1の基地局へ、少なくとも第1のセル選択基準信号の受信電力値と、第1及び第2の上り回線送信電力値と、第1のセル選択基準信号に含まれる第1の識別情報とに基づく第1のセル制御情報を送信する。また、移動局は、第2の基地局へ、少なくとも第2のセル選択基準信号の受信電力値と、第1及び第2の上り回線送信電力値と、第2のセル選択基準信号に含まれる第2の識別情報とに基づく第2のセル制御情報を送信する。各基地局は、第1の基地局または第2の基地局の一方に該当する場合に、移動局によって送信される上記のセル制御情報を取得する。基地局は、このセル制御情報に含まれる識別情報によって自局が形成するセルを特定する。基地局は、取得したセル制御情報に基づいて、第1及び第2の上り回線送信電力値が略同一となり、自局が報知するセル選択基準信号の移動局における受信電力値が所定の基準電力値と略同一となるように、上記の特定したセルに報知するセル選択基準信号の電力を制御する。すなわち、ハンドオーバ時の前後に移動局によって接続される基地局は、それぞれの形成するセルがハンドオーバ時に移動局が存在する位置で重複しており、この位置における移動局からそれぞれの基地局への上り回線送信電力を略同一となるように、それぞれの基地局が形成するセルへ各基地局が報知するセル選択基準信号の電力を制御することによって、それぞれの基地局が形成するセルの半径は略同一となる。また、上記の位置において、移動局がそれぞれの基地局から受信するセル選択基準信号の受信電力値が所定の基準電力値と略同一なるように、それぞれの基地局が形成するセルへ各基地局が報知するセル選択基準信号の電力を制御することによって、上記のセルの重複を調整することができる。その結果、移動局から隣接する基地局への上り回線における干渉や、隣接する基地局から移動局への下り回線における干渉を、低減して、良好な通信品質を実現することができる。
【0011】
また、本発明の移動通信システムにおいては、上記基地局は、複数のセルを形成し、上記基地局が備える上記セル選択基準信号報知手段は、当該基地局が形成する各セルに、当該基地局を識別する基地局識別子と当該セルを識別するセル識別子とを有する上記識別情報含む上記セル選択基準信号を報知することを特徴とすることが好ましい。
【0012】
また、本発明の基地局においては、上記基地局は、複数のセルを形成し、 上記基地局が備える上記セル選択基準信号報知手段は、当該基地局が形成する各セルに、当該基地局を識別する基地局識別子と当該セルを識別するセル識別子とを有する上記識別情報を含む上記セル選択基準信号を報知することを特徴とすることが好ましい。
【0013】
また、本発明のセル制御方法においては、上記基地局は、複数のセルを形成し、上記セル選択基準信号報知ステップにおいて、上記基地局が備える上記セル選択基準信号報知手段は、当該基地局が形成する各セルに、当該基地局を識別する基地局識別子と当該セルを識別するセル識別子とを有する上記識別情報を含む上記セル選択基準信号を報知することを特徴とすることが好ましい。
【0014】
これらの発明によれば、各基地局は複数のセル、すなわちセクタに分割された複数のセクタセルを形成する。各基地局は、複数形成したそれぞれのセルへ自局を識別する基地局識別子と各セルを識別するセル識別子とを有する識別情報を含むセル選択基準信号を報知する。したがって、移動局は、ハンドオーバ時の前後に接続する基地局それぞれから上記のセル選択基準信号を受信することによって、上記のセル制御情報をそれぞれの基地局へ報知するので、このセル制御情報を取得する基地局は、セル制御情報に含まれる識別情報のセル識別子を参照することによって、自局が形成する複数のセルのサイズをそれぞれ独立に制御することが可能となる。
【0015】
また、本発明の移動通信システムにおいては、上記移動局が備える上記セル制御情報送信手段は、少なくとも上記第1のセル選択基準信号の受信電力値と、上記第1及び第2の上り回線送信電力値と、上記第1の識別情報とを含む上記第1のセル制御情報を上記第1の基地局に送信すると共に、少なくとも上記第2のセル選択基準信号の受信電力値と、上記第1及び第2の上り回線送信電力値と、上記第2の識別情報とを含む上記第2のセル制御情報を上記第2の基地局に送信することを特徴とすることが好ましい。
【0016】
また、本発明の基地局においては、上記セル制御手段は、自局が上記第1または第2の基地局の一方に該当する場合に、上記移動局によって上記第1の基地局へ送信される、少なくとも上記第1のセル選択基準信号の受信電力値と、上記第1及び第2の上り回線送信電力値と、上記第1の識別情報とを含む上記第1のセル制御情報と、上記移動局によって上記第2の基地局へ送信される、少なくとも上記第2のセル選択基準信号の受信電力値と、上記第1及び第2の上り回線送信電力値と、上記第2の識別情報とを含む上記第2のセル制御情報と、のうち一方の上記セル制御情報を取得することを特徴とすることが好ましい。
【0017】
また、本発明の移動局においては、上記セル制御情報送信手段は、少なくとも上記第1のセル選択基準信号の受信電力値と、上記第1及び第2の上り回線送信電力値と、上記第1の識別情報とを含む上記第1のセル制御情報を上記第1の基地局に送信すると共に、少なくとも上記第2のセル選択基準信号の受信電力値と、上記第1及び第2の上り回線送信電力値と、上記第2の識別情報とを含む上記第2のセル制御情報を上記第2の基地局に送信することを特徴とすることが好ましい。
【0018】
また、本発明のセル制御方法においては、上記セル制御情報送信ステップにおいて、上記移動局が備える上記セル制御情報送信手段は、少なくとも上記第1のセル選択基準信号の受信電力値と、上記第1及び第2の上り回線送信電力値と、上記第1の識別情報とを含む上記第1のセル制御情報を上記第1の基地局に送信すると共に、少なくとも上記第2のセル選択基準信号の受信電力値と、上記第1及び第2の上り回線送信電力値と、上記第2の識別情報とを含む上記第2のセル制御情報を上記第2の基地局に送信することを特徴とすることが好ましい。
【0019】
これらの発明によれば、移動局は、少なくとも第1のセル選択基準信号の受信電力値と、第1及び第2の上り回線送信電力値と、第1の識別情報とを含む第1のセル制御情報を第1の基地局に送信する。また、移動局は、少なくとも第2のセル選択基準信号の受信電力値と、第1及び第2の上り回線送信電力値と、第2の識別情報とを含む第2のセル制御情報を第2の基地局に送信する。したがって、第1の基地局又は第2の基地局の一方に該当する基地局は、これらのセル制御情報を受信することによって、上述したように自局が形成するセルへ報知するセル選択基準信号の電力を制御することができる。その結果、自局が形成するセルの半径を、第1の基地局又は第2の基地局の他方の基地局が形成するセルの半径と略同一とできる。また、自局が形成するセルと、上記の他方の基地局が形成するセルとの重複を調整することができる。その結果、移動局から隣接する基地局への上り回線における干渉や、隣接する基地局から移動局への下り回線における干渉を、低減して、良好な通信品質を実現することができる。
【0020】
また、本発明の移動通信システムにおいては、上記基地局が備える上記セル制御手段は、自局が上記第1または第2の基地局の一方に該当する場合に、上記移動局の上記セル制御情報送信手段によって送信される上記セル制御情報に基づいて、上記第1及び第2の上り回線送信電力値のうち自局に対する上記上り回線送信電力値が、上記第1及び第2の上り回線送信電力値のうち他方の基地局に対する上記上り回線送信電力値より大きく、自局が送信した上記移動局における上記セル選択基準信号の受信電力値が上記所定の基準電力値より大きい場合、当該セル制御情報に含まれる上記識別情報によって特定される自局が形成する上記セルに上記セル選択基準信号報知手段が報知する上記セル選択基準信号の電力を所定量減少させ、上記第1及び第2の上り回線送信電力値のうち自局に対する上記上り回線送信電力値が、上記第1及び第2の上り回線送信電力値のうち他方の基地局に対する上記上り回線送信電力値より小さく、自局が送信した上記移動局における上記セル選択基準信号の受信電力値が上記所定の基準電力値以下の場合、当該セル制御情報に含まれる上記識別情報によって特定される自局が形成する上記セルに上記セル選択基準信号報知手段が報知する上記セル選択基準信号の電力を所定量増加させることを特徴とすることが好ましい。
【0021】
また、本発明の基地局においては、上記セル制御手段は、自局が上記第1または第2の基地局の一方に該当する場合に、上記移動局によって送信される上記セル制御情報に基づいて、上記第1及び第2の上り回線送信電力値のうち自局に対する上記上り回線送信電力値が、上記第1及び第2の上り回線送信電力値のうち他方の基地局に対する上記上り回線送信電力値より大きく、自局が送信した上記移動局における上記セル選択基準信号の受信電力値が上記所定の基準電力値より大きい場合、当該セル制御情報に含まれる上記識別情報によって特定される自局が形成する上記セルに上記セル選択基準信号報知手段が報知する上記セル選択基準信号の電力を所定量減少させ、上記第1及び第2の上り回線送信電力値のうち自局に対する上記上り回線送信電力値が、上記第1及び第2の上り回線送信電力値のうち他方の基地局に対する上記上り回線送信電力値より小さく、自局が送信した上記移動局における上記セル選択基準信号の受信電力値が上記所定の基準電力値以下の場合、当該セル制御情報に含まれる上記識別情報によって特定される自局が形成する上記セルに上記セル選択基準信号報知手段が報知する上記セル選択基準信号の電力を所定量増加させることを特徴とすることが好ましい。
【0022】
また、本発明のセル制御方法においては、上記セル制御ステップにおいて、上記基地局が備える上記セル制御手段は、自局が上記第1または第2の基地局の一方に該当する場合に、上記移動局の上記セル制御情報送信手段によって送信される上記セル制御情報に基づいて、上記第1及び第2の上り回線送信電力値のうち自局に対する上記上り回線送信電力値が、上記第1及び第2の上り回線送信電力値のうち他方の基地局に対する上記上り回線送信電力値より大きく、自局が送信した上記移動局における上記セル選択基準信号の受信電力値が上記所定の基準電力値より大きい場合、当該セル制御情報に含まれる上記識別情報によって特定される自局が形成する上記セルに上記セル選択基準信号報知手段が報知する上記セル選択基準信号の電力を所定量減少させ、上記第1及び第2の上り回線送信電力値のうち自局に対する上記上り回線送信電力値が、上記第1及び第2の上り回線送信電力値のうち他方の基地局に対する上記上り回線送信電力値より小さく、自局が送信した上記移動局における上記セル選択基準信号の受信電力値が上記所定の基準電力値以下の場合、当該セル制御情報に含まれる上記識別情報によって特定される自局が形成する上記セルに上記セル選択基準信号報知手段が報知する上記セル選択基準信号の電力を所定量増加させることを特徴とすることが好ましい。
【0023】
これらの発明によれば、第1または第2の基地局の一方に該当する基地局は、上記のセル制御情報を取得し、このセル制御情報を参照して、自局に対する上り回線送信電力値が、第1及び第2の上り回線送信電力値のうち他方の基地局に対する上り回線送信電力値より大きく、自局が送信した移動局におけるセル選択基準信号の受信電力値が所定の基準電力値より大きい場合に、セル制御情報に含まれる識別情報によって特定される自局が形成するセルに報知するセル選択基準信号の電力を所定量減少させる。逆に、自局に対する上り回線送信電力値が、上記の他方の基地局に対する上り回線送信電力値より小さく、自局が送信した移動局におけるセル選択基準信号の受信電力値が所定の基準電力値以下の場合、セル制御情報に含まれる識別情報によって特定される自局が形成するセルに報知するセル選択基準信号の電力を所定量増加させる。このようにハンドオーバ時の前後に移動局によって接続される基地局は、移動局から送信されるセル制御情報に基づいて、それぞれの形成するセルに報知するセル選択基準信号の電力を減少または増加させることによって、それらのセルのサイズを均等にできると共に、互いのセルの重複を調整することができる。その結果、移動局から隣接する基地局への上り回線における干渉や、隣接する基地局から移動局への下り回線における干渉を、低減して、良好な通信品質を実現することができる。
【0024】
また、本発明の移動通信システムにおいては、上記移動局が備える上記セル制御情報送信手段は、少なくとも上記所定の基準電力値と上記第1のセル選択基準信号の受信電力値との差である第1の受信電力値差と、上記第1及び第2の上り回線送信電力値の差と、上記第1の識別情報とを含む上記第1のセル制御情報を上記第1の基地局へ送信すると共に、上記所定の基準電力値と上記第2のセル選択基準信号の受信電力値との差である第2の受信電力値差と、上記第1及び第2の上り回線送信電力値の差と、上記第2の識別情報とを含む上記第2のセル制御情報を上記第2の基地局へ送信し、上記基地局が備える上記セル制御手段は、自局が上記第1または第2の基地局の一方に該当する場合に、上記移動局の上記セル制御情報送信手段によって送信される上記セル制御情報に基づいて、上記第1及び第2の上り回線送信電力値の差が第1の所定範囲に含まれ、自局が報知した上記移動局における上記セル選択基準信号の受信電力値と上記所定の基準電力値との差からなる上記受信電力値差が、第2の所定範囲に含まれるよう、上記セル制御情報に含まれる上記識別情報によって特定される自局が形成する上記セルに上記セル選択基準信号報知手段が報知する上記セル選択基準信号の電力を制御することを特徴とすることが好ましい。
【0025】
また、本発明の基地局においては、上記セル制御手段は、上記移動局によって上記第1の基地局へ送信される、少なくとも上記所定の基準電力値と上記第1のセル選択基準信号の受信電力値との差である第1の受信電力値差と、上記第1及び第2の上り回線送信電力値の差と、上記第1の識別情報とを含む上記第1のセル制御情報と、上記移動局によって上記第2の基地局へ送信される、少なくとも上記所定の基準電力値と上記第2のセル選択基準信号の受信電力値との差である第2の受信電力値差と、上記第1及び第2の上り回線送信電力値の差と、上記第2の識別情報とを含む上記第2のセル制御情報と、のうち一方の上記セル制御情報を取得することを特徴とすることが好ましい。
【0026】
また、本発明の移動局においては、上記セル制御情報送信手段は、少なくとも上記所定の基準電力値と上記第1のセル選択基準信号の受信電力値との差である第1の受信電力値差と、上記第1及び第2の上り回線送信電力値の差と、上記第1の識別情報とを含む上記第1のセル制御情報を上記第1の基地局へ送信すると共に、上記所定の基準電力値と上記第2のセル選択基準信号の受信電力値との差である第2の受信電力値差と、上記第1及び第2の上り回線送信電力値の差と、上記第2の識別情報とを含む上記第2のセル制御情報を上記第2の基地局へ送信することを特徴とすることが好ましい。
【0027】
また、本発明のセル制御方法においては、上記セル制御情報送信ステップにおいて、上記移動局が備える上記セル制御情報送信手段は、少なくとも上記所定の基準電力値と上記第1のセル選択基準信号の受信電力値との差である第1の受信電力値差と、上記第1及び第2の上り回線送信電力値の差と、上記第1の識別情報とを含む上記第1のセル制御情報を上記第1の基地局へ送信すると共に、上記所定の基準電力値と上記第2のセル選択基準信号の受信電力値との差である第2の受信電力値差と、上記第1及び第2の上り回線送信電力値の差と、上記第2の識別情報とを含む上記第2のセル制御情報を上記第2の基地局へ送信し、上記セル制御ステップにおいて、上記基地局が備える上記セル制御手段は、自局が上記第1または第2の基地局の一方に該当する場合に、上記移動局の上記セル制御情報送信手段によって送信される上記セル制御情報に基づいて、上記第1及び第2の上り回線送信電力値の差が第1の所定範囲に含まれ、自局が報知した上記移動局における上記セル選択基準信号の受信電力値と上記所定の基準電力値との差からなる上記受信電力値差が、第2の所定範囲に含まれるよう、上記セル制御情報に含まれる上記識別情報によって特定される自局が形成する上記セルに上記セル選択基準信号報知手段が報知する上記セル選択基準信号の電力を制御することを特徴とすることが好ましい。
【0028】
これらの発明によれば、移動局は、所定の基準電力値と第1のセル選択基準信号の受信電力値との差である第1の受信電力値差と、第1及び第2の上り回線送信電力値の差と、第1の識別情報とを含む第1のセル制御情報を第1の基地局へ送信する。また、移動局は、所定の基準電力値と第2のセル選択基準信号の受信電力値との差である第2の受信電力値差と、第1及び第2の上り回線送信電力値の差と、第2の識別情報とを含む第2のセル制御情報を第2の基地局へ送信する。第1又は第2の基地局の一方に該当する基地局は、上記のセル制御情報を取得して、移動局から自局への上り回線送信電力値と他方の基地局への上り回線送信電力値との差が第1の所定範囲に含まれ、自局が報知したセル選択基準信号の移動局における受信電力値と所定の基準電力値との差が、第2の所定範囲に含まれるように、上記のセル制御情報に含まれる識別情報によって特定される自局が形成するセルに報知するセル選択基準信号の電力を制御する。したがって、第1の基地局又は第2の基地局の一方に該当する基地局は、これらのセル制御情報を受信することによって、上述したように自局が形成するセルへ報知するセル選択基準信号の電力を制御することができる。その結果、自局が形成するセルの半径を、第1の基地局又は第2の基地局の他方の基地局が形成するセルの半径と略同一とできる。また、自局が形成するセルと、上記の他方の基地局が形成するセルとの重複を調整することができる。その結果、移動局から隣接する基地局への上り回線における干渉や、隣接する基地局から移動局への下り回線における干渉を、低減して、良好な通信品質を実現することができる。更に、上記した発明に比べて、移動局から基地局へ送信されるセル制御情報は、差に基づく情報によって構成されるので、その容量が小さくなる。
【0029】
また、本発明の移動通信システムにおいては、上記基地局が備える上記セル制御手段は、自局が上記第1または第2の基地局の一方に該当する場合に、上記移動局の上記セル制御情報送信手段によって送信される上記セル制御情報を取得し、上記セル制御情報に含まれる上記第1及び第2の上り回線送信電力値差に基づいて、自局に対する上記上り回線送信電力値が、上記第1及び第2の上り回線送信電力値のうち他方の基地局に対する上記上り回線送信電力値より大きく、上記セル制御情報に含まれる上記受信電力値差に基づいて、自局が送信した上記移動局における上記セル選択基準信号の受信電力値が上記所定の基準電力値より大きいと判断する場合に、上記セル制御情報に含まれる上記識別情報によって特定される自局が形成する上記セルに上記セル選択基準信号報知手段が報知する上記セル選択基準信号の電力を所定量減少させ、上記セル制御情報に含まれる上記第1及び第2の上り回線送信電力値差に基づいて、自局に対する上記上り回線送信電力値が、上記第1及び第2の上り回線送信電力値のうち他方の基地局に対する上り回線送信電力値より小さく、上記セル制御情報に含まれる上記受信電力値差に基づいて、自局が送信した上記移動局における上記セル選択基準信号の受信電力値が上記所定の基準電力値以下と判断する場合に、上記セル制御情報に含まれる上記識別情報によって特定される自局が形成する上記セルに上記セル選択基準信号報知手段が報知する上記セル選択基準信号の電力を所定量増加させることを特徴とすることが好ましい。
【0030】
また、本発明の基地局においては、上記セル制御手段は、自局が上記第1または第2の基地局の一方に該当する場合に、上記移動局の上記セル制御情報送信手段によって送信される上記セル制御情報を取得し、上記セル制御情報に含まれる上記第1及び第2の上り回線送信電力値差に基づいて、自局に対する上記上り回線送信電力値が、上記第1及び第2の上り回線送信電力値のうち他方の基地局に対する上記上り回線送信電力値より大きく、上記セル制御情報に含まれる上記受信電力値差に基づいて、自局が送信した上記移動局における上記セル選択基準信号の受信電力値が上記所定の基準電力値より大きいと判断する場合に、上記セル制御情報に含まれる上記識別情報によって特定される自局が形成する上記セルに上記セル選択基準信号報知手段が報知する上記セル選択基準信号の電力を所定量減少させ、上記セル制御情報に含まれる上記第1及び第2の上り回線送信電力値差に基づいて、自局に対する上記上り回線送信電力値が、上記第1及び第2の上り回線送信電力値のうち他方の基地局に対する上り回線送信電力値より小さく、上記セル制御情報に含まれる上記受信電力値差に基づいて、自局が送信した上記移動局における上記セル選択基準信号の受信電力値が上記所定の基準電力値以下と判断する場合に、上記セル制御情報に含まれる上記識別情報によって特定される自局が形成する上記セルに上記セル選択基準信号報知手段が報知する上記セル選択基準信号の電力を所定量増加させることを特徴とすることが好ましい。
【0031】
また、本発明のセル制御方法においては、上記セル制御ステップにおいて、上記基地局が備える上記セル制御手段は、自局が上記第1または第2の基地局の一方に該当する場合に、上記移動局の上記セル制御情報送信手段によって送信される上記セル制御情報を取得し、上記セル制御情報に含まれる上記第1及び第2の上り回線送信電力値差に基づいて、自局に対する上記上り回線送信電力値が、上記第1及び第2の上り回線送信電力値のうち他方の基地局に対する上記上り回線送信電力値より大きく、上記セル制御情報に含まれる上記受信電力値差に基づいて、自局が送信した上記移動局における上記セル選択基準信号の受信電力値が上記所定の基準電力値より大きいと判断する場合に、上記セル制御情報に含まれる上記識別情報によって特定される自局が形成する上記セルに上記セル選択基準信号報知手段が報知する上記セル選択基準信号の電力を所定量減少させ、上記セル制御情報に含まれる上記第1及び第2の上り回線送信電力値差に基づいて、自局に対する上記上り回線送信電力値が、上記第1及び第2の上り回線送信電力値のうち他方の基地局に対する上り回線送信電力値より小さく、上記セル制御情報に含まれる上記受信電力値差に基づいて、自局が送信した上記移動局における上記セル選択基準信号の受信電力値が上記所定の基準電力値以下と判断する場合に、上記セル制御情報に含まれる上記識別情報によって特定される自局が形成する上記セルに上記セル選択基準信号報知手段が報知する上記セル選択基準信号の電力を所定量増加させることを特徴とすることが好ましい。
【0032】
これらの発明によれば、第1または第2の基地局の一方に該当する基地局は、上記のセル制御情報を取得する。この基地局は、セル制御情報に含まれる第1及び第2の上り回線送信電力値差を参照して、自局に対する上り回線送信電力値が、第1及び第2の上り回線送信電力値のうち他方の基地局に対する上り回線送信電力値より大きく、自局が送信した移動局におけるセル選択基準信号と所定の基準電力値との差に基づく電力値差を参照して、自局が送信した移動局におけるセル選択基準信号の受信電力値が所定の基準電力値より大きい場合に、セル制御情報に含まれる識別情報によって特定される自局が形成するセルに報知するセル選択基準信号の電力を所定量減少させる。逆に、この基地局は、セル制御情報に含まれる第1及び第2の上り回線送信電力値差を参照して、自局に対する上り回線送信電力値が、第1及び第2の上り回線送信電力値のうち他方の基地局に対する上り回線送信電力値より小さく、自局が送信した移動局におけるセル選択基準信号と所定の基準電力値との差に基づく電力値差を参照して、自局が送信した移動局におけるセル選択基準信号の受信電力値が所定の基準電力値以下の場合に、セル制御情報に含まれる識別情報によって特定される自局が形成するセルに報知するセル選択基準信号の電力を所定量減少させる。このようにハンドオーバ時の前後に移動局によって接続される基地局は、移動局から送信されるセル制御情報に基づいて、それぞれの形成するセルに報知するセル選択基準信号の電力を減少または増加させることによって、それらのセルのサイズを均等にできると共に、互いのセルの重複を調整することができる。その結果、移動局から隣接する基地局への上り回線における干渉や、隣接する基地局から移動局への下り回線における干渉を、低減して、良好な通信品質を実現することができる。更に、上り回線送信電力値などの個々の電力値を情報として送信するのに比して、移動局から基地局へ送信されるセル制御情報は、差に基づく情報によって構成されるので、その容量が小さくなる。
【0033】
また、本発明の移動通信システムにおいては、上記移動局が備える上記セル制御情報送信手段は、少なくとも上記所定の基準電力値と上記第1のセル選択基準信号の受信電力値との比である第1の受信電力値比と、上記第1及び第2の上り回線送信電力値の比と、上記第1の識別情報とを含む上記第1のセル制御情報を上記第1の基地局へ送信すると共に、上記所定の基準電力値と上記第2のセル選択基準信号の受信電力値との差である第2の受信電力値比と、上記第1及び第2の上り回線送信電力値の比と、上記第2の識別情報とを含む上記第2のセル制御情報を上記第2の基地局へ送信し、上記基地局が備える上記セル制御手段は、自局が上記第1または第2の基地局の一方に該当する場合に、上記移動局の上記セル制御情報送信手段によって送信される上記セル制御情報に基づいて、上記第1及び第2の上り回線送信電力値の差が第1の所定範囲に含まれ、自局が報知した上記移動局における上記セル選択基準信号の受信電力値と上記所定の基準電力値との比からなる上記受信電力値差が、第2の所定範囲に含まれるよう、上記セル制御情報に含まれる上記識別情報によって特定される自局が形成する上記セルに上記セル選択基準信号報知手段が報知する上記セル選択基準信号の電力を制御することを特徴とすることが好ましい。
【0034】
また、本発明の基地局においては、上記セル制御手段は、上記移動局によって上記第1の基地局へ送信される、少なくとも上記所定の基準電力値と上記第1のセル選択基準信号の受信電力値との比である第1の受信電力値比と、上記第1及び第2の上り回線送信電力値の比と、上記第1の識別情報とを含む上記第1のセル制御情報と、上記移動局によって上記第2の基地局へ送信される、少なくとも上記所定の基準電力値と上記第2のセル選択基準信号の受信電力値との比である第2の受信電力値比と、上記第1及び第2の上り回線送信電力値の比と、上記第2の識別情報とを含む上記第2のセル制御情報と、のうち一方の上記セル制御情報を取得することを特徴とすることが好ましい。
【0035】
また、本発明の移動局においては、上記セル制御情報送信手段は、少なくとも上記所定の基準電力値と上記第1のセル選択基準信号の受信電力値との比である第1の受信電力値比と、上記第1及び第2の上り回線送信電力値の比と、上記第1の識別情報とを含む上記第1のセル制御情報を上記第1の基地局へ送信すると共に、上記所定の基準電力値と上記第2のセル選択基準信号の受信電力値との差である第2の受信電力値比と、上記第1及び第2の上り回線送信電力値の比と、上記第2の識別情報とを含む上記第2のセル制御情報を上記第2の基地局へ送信することを特徴とすることが好ましい。
【0036】
また、本発明のセル制御方法においては、記セル制御情報送信ステップにおいて、上記移動局が備える上記セル制御情報送信手段は、少なくとも上記所定の基準電力値と上記第1のセル選択基準信号の受信電力値との比である第1の受信電力値比と、上記第1及び第2の上り回線送信電力値の比と、上記第1の識別情報とを含む上記第1のセル制御情報を上記第1の基地局へ送信すると共に、上記所定の基準電力値と上記第2のセル選択基準信号の受信電力値との差である第2の受信電力値比と、上記第1及び第2の上り回線送信電力値の比と、上記第2の識別情報とを含む上記第2のセル制御情報を上記第2の基地局へ送信し、上記セル制御ステップにおいて、上記基地局が備える上記セル制御手段は、自局が上記第1または第2の基地局の一方に該当する場合に、上記移動局の上記セル制御情報送信手段によって送信される上記セル制御情報に基づいて、上記第1及び第2の上り回線送信電力値の差が第1の所定範囲に含まれ、自局が報知した上記移動局における上記セル選択基準信号の受信電力値と上記所定の基準電力値との比からなる上記受信電力値差が、第2の所定範囲に含まれるよう、上記セル制御情報に含まれる上記識別情報によって特定される自局が形成する上記セルに上記セル選択基準信号報知手段が報知する上記セル選択基準信号の電力を制御することを特徴とすることが好ましい。
【0037】
これらの発明によれば、これらの発明によれば、移動局は、所定の基準電力値と第1のセル選択基準信号の受信電力値との比である第1の受信電力値比と、第1及び第2の上り回線送信電力値の比と、第1の識別情報とを含む第1のセル制御情報を第1の基地局へ送信する。また、移動局は、所定の基準電力値と第2のセル選択基準信号の受信電力値との比である第2の受信電力値比と、第1及び第2の上り回線送信電力値の比と、第2の識別情報とを含む第2のセル制御情報を第2の基地局へ送信する。第1又は第2の基地局の一方に該当する基地局は、上記のセル制御情報を取得して、移動局から自局への上り回線送信電力値と他方の基地局への上り回線送信電力値との比が第1の所定範囲に含まれ、自局が報知したセル選択基準信号の移動局における受信電力値と所定の基準電力値との比が、第2の所定範囲に含まれるように、上記のセル制御情報に含まれる識別情報によって特定される自局が形成するセルに報知するセル選択基準信号の電力を制御する。このように、上述した発明では、第1及び第2の上り回線送信電力値の差などの電力値の差に基づく情報を用いて、基地局が報知するセル選択基準信号の電力が制御されたが、これに代えて、電力値の比に基づく情報によって基地局が報知するセル選択基準信号の電力を制御することも可能となる。
【0038】
また、本発明の移動通信システムにおいては、上記基地局が備える上記セル制御手段は、自局が上記第1または第2の基地局の一方に該当する場合に、上記移動局の上記セル制御情報送信手段によって送信される上記セル制御情報を取得し、上記セル制御情報に含まれる上記第1及び第2の上り回線送信電力値比に基づいて、自局に対する上記上り回線送信電力値が、上記第1及び第2の上り回線送信電力値のうち他方の基地局に対する上記上り回線送信電力値より大きく、上記セル制御情報に含まれる上記受信電力値比に基づいて、自局が送信した上記移動局における上記セル選択基準信号の受信電力値が上記所定の基準電力値より大きいと判断する場合に、上記セル制御情報に含まれる上記識別情報によって特定される自局が形成する上記セルに上記セル選択基準信号報知手段が報知する上記セル選択基準信号の電力を所定量減少させ、上記セル制御情報に含まれる上記第1及び第2の上り回線送信電力値比に基づいて、自局に対する上記上り回線送信電力値が、上記第1及び第2の上り回線送信電力値のうち他方の基地局に対する上り回線送信電力値より小さく、上記セル制御情報に含まれる上記受信電力値比に基づいて、自局が送信した上記移動局における上記セル選択基準信号の受信電力値が上記所定の基準電力値以下と判断する場合に、上記セル制御情報に含まれる上記識別情報によって特定される自局が形成する上記セルに上記セル選択基準信号報知手段が報知する上記セル選択基準信号の電力を所定量増加させることを特徴とすることが好ましい。
【0039】
また、本発明の基地局においては、上記セル制御手段は、自局が上記第1または第2の基地局の一方に該当する場合に、上記移動局の上記セル制御情報送信手段によって送信される上記セル制御情報を取得し、上記セル制御情報に含まれる上記第1及び第2の上り回線送信電力値比に基づいて、自局に対する上記上り回線送信電力値が、上記第1及び第2の上り回線送信電力値のうち他方の基地局に対する上記上り回線送信電力値より大きく、上記セル制御情報に含まれる上記受信電力値比に基づいて、自局が送信した上記移動局における上記セル選択基準信号の受信電力値が上記所定の基準電力値より大きいと判断する場合に、上記セル制御情報に含まれる上記識別情報によって特定される自局が形成する上記セルに上記セル選択基準信号報知手段が報知する上記セル選択基準信号の電力を所定量減少させ、上記セル制御情報に含まれる上記第1及び第2の上り回線送信電力値比に基づいて、自局に対する上記上り回線送信電力値が、上記第1及び第2の上り回線送信電力値のうち他方の基地局に対する上り回線送信電力値より小さく、上記セル制御情報に含まれる上記受信電力値比に基づいて、自局が送信した上記移動局における上記セル選択基準信号の受信電力値が上記所定の基準電力値以下と判断する場合に、上記セル制御情報に含まれる上記識別情報によって特定される自局が形成する上記セルに上記セル選択基準信号報知手段が報知する上記セル選択基準信号の電力を所定量増加させることを特徴とすることが好ましい。
【0040】
また、本発明のセル制御方法においては、上記セル制御ステップにおいて、上記基地局が備える上記セル制御手段は、自局が上記第1または第2の基地局の一方に該当する場合に、上記移動局の上記セル制御情報送信手段によって送信される上記セル制御情報を取得し、上記セル制御情報に含まれる上記第1及び第2の上り回線送信電力値比に基づいて、自局に対する上記上り回線送信電力値が、上記第1及び第2の上り回線送信電力値のうち他方の基地局に対する上記上り回線送信電力値より大きく、上記セル制御情報に含まれる上記受信電力値比に基づいて、自局が送信した上記移動局における上記セル選択基準信号の受信電力値が上記所定の基準電力値より大きいと判断する場合に、上記セル制御情報に含まれる上記識別情報によって特定される自局が形成する上記セルに上記セル選択基準信号報知手段が報知する上記セル選択基準信号の電力を所定量減少させ、上記セル制御情報に含まれる上記第1及び第2の上り回線送信電力値比に基づいて、自局に対する上記上り回線送信電力値が、上記第1及び第2の上り回線送信電力値のうち他方の基地局に対する上り回線送信電力値より小さく、上記セル制御情報に含まれる上記受信電力値比に基づいて、自局が送信した上記移動局における上記セル選択基準信号の受信電力値が上記所定の基準電力値より以下と判断する場合に、上記セル制御情報に含まれる上記識別情報によって特定される自局が形成する上記セルに上記セル選択基準信号報知手段が報知する上記セル選択基準信号の電力を所定量増加させることを特徴とすることが好ましい。
【0041】
これらの発明によれば、第1または第2の基地局の一方に該当する基地局は、上記のセル制御情報を取得する。この基地局は、セル制御情報に含まれる第1及び第2の上り回線送信電力値比を参照して、自局に対する上り回線送信電力値が、第1及び第2の上り回線送信電力値のうち他方の基地局に対する上り回線送信電力値より大きく、自局が送信した移動局におけるセル選択基準信号と所定の基準電力値との比に基づく電力値比を参照して、自局が送信した移動局におけるセル選択基準信号の受信電力値が所定の基準電力値より大きい場合に、セル制御情報に含まれる識別情報によって特定される自局が形成するセルに報知するセル選択基準信号の電力を所定量減少させる。逆に、この基地局は、セル制御情報に含まれる第1及び第2の上り回線送信電力値比を参照して、自局に対する上り回線送信電力値が、第1及び第2の上り回線送信電力値のうち他方の基地局に対する上り回線送信電力値より小さく、自局が送信した移動局におけるセル選択基準信号と所定の基準電力値との差に基づく電力値比を参照して、自局が送信した移動局におけるセル選択基準信号の受信電力値が所定の基準電力値以下の場合に、セル制御情報に含まれる識別情報によって特定される自局が形成するセルに報知するセル選択基準信号の電力を所定量減少させる。このように、上述した発明では、第1及び第2の上り回線送信電力値の差などの電力値の差に基づく情報を用いて、基地局が報知するセル選択基準信号の電力が制御されたが、これに代えて、電力値の比に基づく情報によって基地局が報知するセル選択基準信号の電力を制御することも可能となる。
【0042】
また、本発明の移動通信システムにおいては、上記移動局が備える上記セル制御情報送信手段は、上記第1の基地局または第2の基地局の一方の基地局が送信した上記セル選択基準信号の受信電力値が上記所定の基準電力値より大きく、上記一方の基地局に対する上記上り回線送信電力値が、上記第1の基地局または第2の基地局の他方の基地局に対する上記上り回線送信電力値より大きい場合に、上記一方の基地局が送信した上記セル選択基準信号に含まれる上記識別情報によって特定される当該一方の基地局が形成する上記セルのサイズを縮小する旨を要求するセル変更情報を、上記一方の基地局が送信した上記セル選択基準信号に含まれる上記識別情報に対応付けた上記セル制御情報を上記一方の基地局に送信し、上記一方の基地局が送信した上記セル選択基準信号の受信電力値が上記所定の基準電力値より小さく、上記一方の基地局に対する上記上り回線送信電力値が、上記他方の基地局に対する上記上り回線送信電力値以下の場合に、上記一方の基地局が送信した上記セル選択基準信号に含まれる上記識別情報によって特定される当該一方の基地局が形成する上記セルのサイズを拡大する旨を要求するセル変更情報を、上記一方の基地局が送信した上記セル選択基準信号に含まれる上記識別情報に対応付けた上記セル制御情報を上記一方の基地局に送信し、上記複数の基地局それぞれが備える上記セル制御手段は、自局が上記第1または第2の基地局の一方に該当する場合に、上記移動局の上記セル制御情報送信手段によって送信される上記セル制御情報を取得すると共に、当該セル制御情報に含まれる上記セル変更情報がセルのサイズを縮小する旨を示す場合に、上記セル制御情報に含まれる上記識別情報によって特定される自局が形成する上記セルに上記セル選択基準信号報知手段が報知する上記セル選択基準信号の電力を所定量減少させ、一方、上記セル制御情報に含まれる上記セル変更情報がセルのサイズを拡大する旨を示す場合に、上記セル制御情報に含まれる上記識別情報によって特定される自局が形成する上記セルに上記セル選択基準信号報知手段が報知する上記セル選択基準信号の電力を、所定量増加させることを特徴とすることが好ましい。
【0043】
また、本発明の基地局においては、上記セル制御手段は、自局が上記第1または第2の基地局の一方に該当する場合に、自局が送信した上記移動局における上記セル選択基準信号の受信電力値が上記所定の基準電力値より大きく、自局に対する上記移動局からの上記上り回線送信電力値が、上記第1の基地局または第2の基地局の他方の基地局に対する上記上り回線送信電力値より大きい場合に、上記移動局によって送信される、自局が送信した上記セル選択基準信号に含まれる上記識別情報によって特定される自局が形成する上記セルのサイズを縮小する旨を要求するセル変更情報と、当該セル変更情報に対応付けられた自局が送信した上記セル選択基準信号に含まれる上記識別情報とを含む上記セル制御情報を取得し、自局が送信した上記移動局における上記セル選択基準信号の受信電力値が上記所定の基準電力値より小さく、自局に対する上記移動局からの上記上り回線送信電力値が、上記第1の基地局または第2の基地局の他方の基地局に対する上記上り回線送信電力値以下の場合に、上記移動局によって送信される、自局が送信した上記セル選択基準信号に含まれる上記識別情報によって特定される自局が形成する上記セルのサイズを拡大する旨を要求するセル変更情報と、当該セル変更情報に対応付けられた自局が送信した上記セル選択基準信号に含まれる上記識別情報とを含む上記セル制御情報を取得し、上記セル制御情報に含まれる上記セル変更情報がセルのサイズを縮小する旨を示す場合に、上記セル制御情報に含まれる上記識別情報によって特定される自局が形成する上記セルに上記セル選択基準信号報知手段が報知する上記セル選択基準信号の電力を所定量減少させ、一方、上記セル制御情報に含まれる上記セル変更情報がセルのサイズを拡大する旨を示す場合に、上記セル制御情報に含まれる上記識別情報によって特定される自局が形成する上記セルに上記セル選択基準信号報知手段が報知する上記セル選択基準信号の電力を所定量増加させることを特徴とすることが好ましい。
【0044】
また、本発明の移動局においては、上記セル制御情報送信手段は、上記第1の基地局または第2の基地局の一方の基地局が送信した上記セル選択基準信号の受信電力値が上記所定の基準電力値より大きく、上記一方の基地局に対する上記上り回線送信電力値が、上記第1の基地局または第2の基地局の他方の基地局に対する上記上り回線送信電力値より大きい場合に、上記一方の基地局が送信した上記セル選択基準信号に含まれる上記識別情報によって特定される当該一方の基地局が形成する上記セルのサイズを縮小する旨を要求するセル変更情報を、上記一方の基地局が送信した上記セル選択基準信号に含まれる上記識別情報に対応付けた上記セル制御情報を上記一方の基地局に送信し、上記一方の基地局が送信した上記セル選択基準信号の受信電力値が上記所定の基準電力値より小さく、上記一方の基地局に対する上記上り回線送信電力値が、上記他方の基地局に対する上記上り回線送信電力値以下の場合に、上記一方の基地局が送信した上記セル選択基準信号に含まれる上記識別情報によって特定される当該一方の基地局が形成する上記セルのサイズを拡大する旨を要求するセル変更情報を、上記一方の基地局が送信した上記セル選択基準信号に含まれる上記識別情報に対応付けた上記セル制御情報を上記一方の基地局に送信することを特徴とすることが好ましい。
【0045】
また、本発明のセル制御方法においては、上記セル制御情報送信ステップにおいて、上記移動局が備える上記セル制御情報送信手段は、上記第1の基地局または第2の基地局の一方の基地局が送信した上記セル選択基準信号の受信電力値が上記所定の基準電力値より大きく、上記一方の基地局に対する上記上り回線送信電力値が、上記第1の基地局または第2の基地局の他方の基地局に対する上記上り回線送信電力値より大きい場合に、上記一方の基地局が送信した上記セル選択基準信号に含まれる上記識別情報によって特定される当該一方の基地局が形成する上記セルのサイズを縮小する旨を要求するセル変更情報を、上記一方の基地局が送信した上記セル選択基準信号に含まれる上記識別情報に対応付けた上記セル制御情報を上記一方の基地局に送信し、上記一方の基地局が送信した上記セル選択基準信号の受信電力値が上記所定の基準電力値より小さく、上記一方の基地局に対する上記上り回線送信電力値が、上記他方の基地局に対する上記上り回線送信電力値以下の場合に、上記一方の基地局が送信した上記セル選択基準信号に含まれる上記識別情報によって特定される当該一方の基地局が形成する上記セルのサイズを拡大する旨を要求するセル変更情報を、上記一方の基地局が送信した上記セル選択基準信号に含まれる上記識別情報に対応付けた上記セル制御情報を上記一方の基地局に送信し、上記セル制御ステップにおいて、上記複数の基地局それぞれが備える上記セル制御手段は、自局が上記第1または第2の基地局の一方に該当する場合に、上記移動局の上記セル制御情報送信手段によって送信される上記セル制御情報を取得すると共に、当該セル制御情報に含まれる上記セル変更情報がセルのサイズを縮小する旨を示す場合に、上記セル制御情報に含まれる上記識別情報によって特定される自局が形成する上記セルに上記セル選択基準信号報知手段が報知する上記セル選択基準信号の電力を所定量減少させ、一方、上記セル制御情報に含まれる上記セル変更情報がセルのサイズを拡大する旨を示す場合に、上記セル制御情報に含まれる上記識別情報によって特定される自局が形成する上記セルに上記セル選択基準信号報知手段が報知する上記セル選択基準信号の電力を、所定量増加させることを特徴とすることが好ましい。
【0046】
これらの発明によれば、移動局は、第1の基地局または第2の基地局の一方の基地局が送信したセル選択基準信号の受信電力値が所定の基準電力値より大きく、一方の基地局に対する上り回線送信電力値が、第1の基地局または第2の基地局の他方の基地局に対する上り回線送信電力値より大きい場合に、その一方の基地局が形成するセルのサイズを縮小する旨を要求するセル変更情報を、そのセル選択基準信号に含まれる識別情報に対応付けたセル制御情報を送信する。このセル制御情報を取得する上記の基地局は、上記のセル制御情報に含まれる識別情報を参照して、セルを特定するとともに、このセル制御情報に含まれるセル変更情報を参照して、セルのサイズを縮小する旨の要求が含まれていた場合に、上記の特定されたセルに報知するセル選択基準信号の送信電力を所定量減少させる。逆に、上記の一方の基地局が送信したセル選択基準信号の受信電力値が所定の基準電力値より小さく、その一方の基地局に対する上り回線送信電力値が、他方の基地局に対する上り回線送信電力値以下の場合に、その一方の基地局にセルのサイズを拡大する旨を要求するセル変更情報を、そのセル選択基準信号に含まれる識別情報に対応付けたセル制御情報を移動局は送信する。このセル制御情報を取得する上記の基地局は、上記のセル制御情報に含まれる識別情報を参照して、セルを特定するとともに、このセル制御情報に含まれるセル変更情報を参照して、セルのサイズを拡大する旨の要求が含まれていた場合に、特定されたセルに報知するセル選択基準信号の送信電力を所定量増加させる。これらの発明によれば、移動局から基地局へ送信するセル制御情報は、セルを特定するための識別情報と、そのセルにおけるセル選択基準信号の電力の増加又は減少を指示する指示情報だけとなるため、上述した発明に比べて、更に移動局から基地局へ送信する情報が軽減される。
【0047】
【発明の実施の形態】
(第1実施形態)
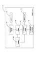
本発明の第1実施形態にかかる移動通信システム1について添付の図面を参照して説明する。図1は移動通信システム1の構成を示す図である。図1に示すように、移動通信システム1は、移動局(MS)10と、複数の基地局(BS)20,21・・・(図1においては、基地局20及び21だけを図示している。)を備えて構成される。移動局10と基地局20,21・・・とは、CDMA(Code Division Multiple Access)通信を行う。図1においては、2つの基地局20及び21が示されている。基地局20及び21はそれぞれ、6つのセクタセル(セル)を有しており、それぞれのセルには基地局20及び21において固有のセル識別子が付されている。これらセルのサイズは、基地局20,21によってそれぞれのセルへ報知されるセル選択基準信号が、所定の電力で到達する範囲で決定される。移動局10は、基地局20及び21によってそれぞれ形成されるセルが重複する領域において、上記のセル選択基準信号を最大強度で受信できる基地局に接続を切り替えるハンドオーバを行う。図1においては、基地局20によって形成されるセル識別子「4」のセルと、基地局21によって形成されるセル識別子「1」のセルとが重複しており、この重複した領域において、移動局10は、ハンドオーバを行う。以下、移動局10及び基地局20,21・・・の詳細について説明する。
【0048】
移動局10は、CDMA通信を行う携帯電話等の移動通信端末である。移動局10は、物理的には、CPU(中央処理装置)と、メモリといった記憶装置と、プッシュボタンといった入力装置と、ディスプレイといった表示装置と、通信装置などを備えて構成される。
【0049】
図2は移動局10の機能的な構成を示すブロック図である。移動局10は、受信アンテナ101と、基地局信号検出部(セル選択基準信号受信手段)102と、電力計測部(セル選択基準信号受信電力計測手段)103と、ハンドオーバ制御部104と、上り回線電力取得部(上り回線電力取得手段)105と、セル制御情報送信部(セル制御情報送信手段)106と、送信アンテナ107とを備えて構成される。以下、移動局10が備えるそれぞれの機能的な構成要素について詳細に説明する。
【0050】
受信アンテナ101は、基地局20,21・・・から送信される電波を受信する。送信アンテナ107は、移動局10から基地局20,21・・・それぞれに電波を送信する。
【0051】
基地局信号検出部102は、基地局20,21・・・からセル選択基準信号を受信した場合、これを電力計測部103に出力する。また、基地局信号検出部102は、基地局20,21・・・それぞれからセルのサイズを変更する処理を終了する旨のセル変更終了通知を受信した場合、これをセル制御情報送信部106に出力する。ここで、基地局が報知するセル選択基準信号と、セル変更終了通知の信号形式について説明する。図3(a)は、基地局20がセル識別子「4」のセルに報知するセル選択基準信号の信号形式を示し、図3(b)は、基地局21がセル識別子「1」のセルに報知するセル選択基準信号の信号形式を示す。図3(a)及び図3(b)に示すように、基地局20及び21は、それぞれが形成するセルに、基地局を識別するための基地局識別子と、セルを識別するためのセル識別子とを含むセル選択基準信号を、そのセル識別子をもつセルに報知する。図3(a)に示すように、基地局20は、セル識別子「4」のセルに、基地局20を特定するための基地局識別子「1」と、そのセルを特定するためのセル識別子「4」を含むセル選択基準信号を報知する。一方、図3(b)に示すように、基地局21は、セル識別子「1」のセルに、基地局21を特定するための基地局識別子「2」と、そのセルを特定するためのセル識別子「1」を含むセル選択基準信号を報知する。図4は、セル変更終了通知の信号形式を示す。図4に示すように、それぞれの基地局から報知されるセル変更終了通知は、宛先移動局識別子と通知情報とを含む信号である。移動局識別子は、このセル変更終了通知を受信することよって、基地局にセルのサイズ変更にかかる情報を送信する処理を終了すべき対象となる移動局を識別するための情報である。図4に示すように、移動局識別子として「全MS」である旨が含まれる場合、全ての移動局がこの通知の対象となる。通知情報は、移動局に通知する命令の種別を示しており、図4において、この通知情報には、セルのサイズ変更にかかる情報を送信する処理を移動局が終了すべき旨を示す「変更終了」が含まれている。このようなセル変更終了通知を、基地局信号検出部102が受信した場合、基地局信号検出部102は、セル変更にかかる情報を基地局へ送信する処理の中止を、セル制御情報送信部106に出力する。これによって、セル制御情報送信部106は、基地局へセル制御情報を送信する処理を終了する。このセル制御情報については、後述する。
【0052】
電力計測部103は、基地局信号検出部102によって受信されるセル選択基準信号の受信電力を計測する。
【0053】
ハンドオーバ制御部104は、電力計測部103によって計測されるセル選択基準信号の受信電力のうち、最大強度の受信電力となるセル選択基準信号を報知する基地局が現行の基地局から他の基地局に変わった場合に、移動局10が接続する基地局を、その最大強度の受信電力が得られたセル選択基準信号を報知した基地局に切り替えるハンドオーバを行う。
【0054】
上り回線送信電力取得部105は、移動局10から基地局20,21・・・それぞれへの上り回線の電波の電力、すなわち上り回線送信電力値を取得して、それぞれの上り回線送信電力値を記憶する。
【0055】
セル制御情報送信部106は、ハンドオーバ制御部104によってハンドオーバが行われる時の前後において移動局10が接続する基地局に、セル制御情報を送信する。すなわち、図1に示すように、移動局10が、基地局21によって形成されるセル識別子「1」のセルから、基地局20によって形成されるセル識別子「4」のセルに向かう方向に移動して、ハンドオーバ制御部104によってハンドオーバが行なわれる時に、セル制御情報送信部106は、基地局20と基地局21のそれぞれに、セル制御情報を送信する。図5(a)及び(b)はそれぞれ、セル制御情報送信部106によって基地局20と21のそれぞれに送信されるセル制御情報の形式を示す図である。図5(a)及び(b)に示すように、セル制御情報は、基地局識別子と、セル識別子と、宛先BS上り回線送信電力値と、他方BS上り回線送信電力値と、セル選択基準信号受信電力値とを含む。基地局識別子は、このセル制御情報の送信先となる基地局を特定する情報であり、図5(a)に示すセル制御情報には、基地局20を特定する基地局識別子「1」が含められている。一方、図5(b)に示すセル制御情報には、このセル制御情報の送信先となる基地局21の基地局識別子「2」が含められている。セル識別子は、このセル制御情報に含まれるセル選択基準信号受信電力値が、それぞれの基地局のどのセルにおいて移動局10によって受信されたセル選択基準信号に基づくものかを特定するための情報であり、図5(a)に示すセル制御情報には、基地局20によって形成されるセルを特定するセル識別子「4」が含められている。一方、図5(b)に示すセル制御情報には、基地局21によって形成されるセルを特定するセル識別子「1」が含められている。宛先BS上り回線送信電力値は、移動局10がハンドオーバ時の前後に接続した基地局のうち、一方の基地局への移動局10からの上り回線送信電力の電力値を示す情報である。すなわち、このセル制御情報を受信する基地局への移動局10からの上り回線送信電力の電力値を示す情報である。また、他方BS上り回線送信電力値は、移動局10がハンドオーバ時の前後に接続した基地局のうち、他方の基地局への移動局10からの上り回線送信電力の電力値を示す情報である。図5(a)に示すセル制御情報には、移動局10から基地局20への上り回線送信電力値「P1」が宛先BS上り回線送信電力値として含められており、移動局10から基地局21への上り回線送信電力値「P2」が他方BS上り回線送信電力値として含められている。一方、図5(b)に示すセル制御情報には、移動局10から基地局21への上り回線送信電力値「P2」が宛先BS上り回線送信電力値として含められており、移動局10から基地局20への上り回線送信電力値「P1」が他方BS上り回線送信電力値として含められている。セル選択基準信号受信電力値は、基地局20と21のそれぞれから送信されるセル選択基準信号の移動局10における電力値を示す情報である。図5(a)に示すセル制御情報には、基地局20によって形成されるセル識別子「4」のセルにおいて、移動局10によって受信されたセル選択基準信号の受信電力値「R1」が、セル選択基準信号受信電力値として含められている。一方、図5(b)に示すセル制御情報には、基地局21によって形成されるセル識別子「1」のセルにおいて、移動局10によって受信されたセル選択基準信号の受信電力値「R2」が、セル選択基準信号受信電力値として含められている。セル制御情報送信部106は、このようにハンドオーバ時の前後に接続する基地局それぞれを送信先として生成したセル制御情報を、それぞれの送信先となる基地局へ送信する。
【0056】
次に、基地局20、21・・・について詳細に説明する。図6は、基地局20の機能的な構成を示すブロック図である。他の基地局21・・・も基地局20と同様の機能的な構成を有する。図6に示すように、基地局20は、送信アンテナ201〜206と、セル選択基準信号報知部(セル選択基準信号報知手段)207と、セル制御部(セル制御手段)208と、受信アンテナ211〜216とを備えて構成される。
【0057】
送信アンテナ201〜206は、基地局20の形成するセル識別子「1」〜「6」のそれぞれのセルへ基地局20からの電波を送信するアンテナである。送信アンテナ201〜206は、セル選択基準信号報知部207によって生成されるセル選択基準信号を、基地局20が形成するセル識別子「1」〜「6」のそれぞれのセルへ報知する場合にも用いられる。
【0058】
受信アンテナ211〜216は、基地局20の形成するセル識別子「1」〜「6」のそれぞれのセルにおいて、移動局10から送信される電波を受信するアンテナである。受信アンテナ211〜216は、それぞれのセルにおいて、移動局10から送信されるセル制御情報を受信する場合にも用いられる。
【0059】
セル選択基準信号報知部207は、基地局20が形成するそれぞれのセルへ報知する上述した信号形式のセル選択基準信号を生成する。そして、セル選択基準信号報知部207は、生成した各セル選択基準信号をセル制御部208によって制御される電力で、それぞれのセルごとに設けた送信アンテナ201〜206を用いて報知する。
【0060】
セル制御部208は、移動局10によって送信され、受信アンテナ211〜216のうちいずれかによって受信されるセル制御情報を取得する。そして、セル制御部208は、取得したセル制御情報に含まれる基地局識別子を確認して、自局に送信されたセル制御情報であるか否かを確認する。そして、セル制御部208は、取得したセル制御情報が自局に送信されたものであることを確認すると、そのセル制御情報に含まれるセル識別子を参照して、自局が形成するセルを特定する。そして、セル制御部208は、そのセル制御情報に含まれる宛先BS上り回線送信電力値と、他方BS上り回線送信電力値と、セル選択基準信号受信電力値と、予め定められたセル選択基準信号の基準電力値R0とに基づいて、上述のように特定されたセルに報知するセル選択基準信号の電力値を所定量づつ段階的に制御する。
【0061】
この制御において、セル制御部208は、セル制御情報に含まれる宛先BS上り回線送信電力値から他方BS上り回線送信電力値を差し引いて、この値をKとして算出する。また、セル制御部208は、セル制御情報に含まれるセル選択基準信号受信電力値から上記の基準電力値R0を差し引いて、この値をLとして算出する。そして、セル制御部208は、K<0かつL=0の場合、セル制御情報に含まれるセル識別子によって特定されるセルに報知するセル選択基準信号の電力を、所定量増加させる。一方、K>0かつL>0の場合には、セル制御情報に含まれるセル識別子によって特定されるセルに報知するセル選択基準信号の電力を所定量減少させる。これらの条件以外の場合には、セル制御部208はセル選択基準信号の電力を変更する処理を行なわない。
【0062】
以下、図7(a)〜(d)を参照して、基地局20及び21がそれぞれ形成するセルのサイズを変更する動作の一例を説明する。図7(a)〜(d)は、基地局20及び21が、それぞれ形成するセルのサイズを変更する動作を段階的に示す図である。まず、図7(a)に示すように、既に配置された基地局20に基地局21が隣接して配置され、基地局20が形成する基地局識別子「4」のセルと、基地局21が形成する基地局識別子「1」のセルがそれらの境界において重複しているとする。また、このとき、基地局20が形成する基地局識別子「4」のセルのサイズに比べて、基地局21が形成する基地局識別子「1」のセルはサイズが小さいとする。図7(a)では、移動局10が、基地局21が形成する基地局識別子「1」のセル内からその境界に移動し、基地局21が形成する基地局識別子「1」のセルと基地局20が形成する基地局識別子「4」のセルが重複する位置に存在する。この場合に、移動局10によって受信される基地局21からのセル選択基準信号の受信電力値より、基地局20からのセル選択基準信号の受信電力値の方が大きくなると、移動局10は接続する基地局を基地局21から基地局20へ変更するハンドオーバを行なう。このとき、移動局10から基地局20への距離に比して、移動局10から基地局21への距離が短いので、移動局10から基地局20への上り回線の電波が大きくなるため、この電波が基地局21において干渉する。このような、ハンドオーバ時の前後において、移動局10はハンドオーバ時の前後にそれぞれ接続する基地局21と基地局20に対する上り回線送信電力値と、セル選択基準信号の受信電力値を取得する。移動局10は、このように取得した上り回線送信電力値と、セル選択基準信号の受信電力値とを含めたセル制御情報を基地局20及び基地局21へ送信する。この場合に移動局10が送信するセル制御情報は、基地局20に対しては図5(a)に示す形式となり、基地局21に対しては、図5(b)に示す形式となる。基地局20及び基地局21はそれぞれ、これらのセル制御情報を受信する。基地局21において、受信されるセル制御情報では、図7(a)に示す状態の場合、移動局10から基地局21への上り回線基準電力値P2が基地局20への上り回線基準電力値P1より小さく、K<0となる。また、基地局21によって報知され、移動局10によって計測されるセル選択基準信号の受信電力値R2は、基準電力値R0と略等しい値となり、L=0となる。したがって、基地局21は、セル制御情報に含まれるセル識別子「1」によって特定されるセルに報知するセル選択基準信号の電力値を所定量増加させる。すると、図7(b)に示すように、基地局21が形成するセル識別子「1」のセルのサイズは大きくなる。
【0063】
次に、図7(c)に示すように、移動局10が基地局21から離れて、更に基地局20へ近づくように移動した場合に、移動局10が基地局21から基地局20へ接続する基地局を変更するハンドオーバが行なわれる。このとき、移動局10は、上述したように基地局20と基地局21へ送信するためのセル制御情報を生成して、それらのセル制御情報をそれぞれ基地局20と基地局21へ送信する。図7(c)に示す状態では、移動局10から基地局20に送信されるセル制御情報から、移動局10から基地局20への上り回線送信電力値P1は、移動局10から基地局21への上り回線送信電力値P2より、大きくなるため、K>0となる。また、基地局20がセル識別子「4」のセルに報知するセル選択基準信号の移動局10における受信電力値R1は、基準電力値R0より大きくなるため、L>0となる。したがって、基地局20は、セル識別子「4」のセルに報知するセル選択基準信号の電力値を所定量減少させるので、基地局20が形成するセル識別子「4」のセルのサイズは小さくなる。以上のような動作を繰り返すことによって、基地局20がセル識別子「4」のセルに報知するセル選択基準信号の電力と、基地局21がセル識別子「1」のセルに報知するセル選択基準信号の電力値と略同一となるため、基地局20が形成するセル識別子「4」のセルと、基地局21が形成するセル識別子「1」のセルは、サイズが略同一となる。また、移動局10が基地局20と基地局21との間で接続する基地局を切り替えるハンドオーバ時に、基地局20が形成するセル識別子「4」において報知されるセル選択基準信号と、基地局21が形成するセル識別子「1」において報知されるセル選択基準信号のそれぞれの受信電力値を移動局10が計測し、これらの受信電力値を基準電力値R0と略同一となるように、それぞれのセル選択基準信号の電力値が制御されることによって、基地局20が形成するセル識別子「4」のセルと、基地局21が形成するセル識別子「1」のセルは、それらの境界での重複が調整される。なお、このように行われる基地局が報知するセル選択基準信号の電力の制御は、ハンドオーバ時の前後に移動局10が接続する基地局それぞれへの上り回線送信電力値の差が所定の範囲内となり、ハンドオーバ時の前後に移動局10が接続する基地局それぞれから報知されるセル選択基準信号の移動局10における受信電力値と基準電力値R0との差が所定の範囲内となるよう、それぞれの基地局が報知するセル選択基準信号の電力が制御されれば良い。
【0064】
以下、本実施形態にかかる移動通信システム1によるセル制御方法について説明する。まず、このセル制御方法における移動局10の処理について図8を参照して説明する。図8は、本実施形態にかかるセル制御方法における移動局10の処理を示すフローチャートである。図8に示すように、移動局10は、その存在位置においてセルを形成する基地局から送信される電波を受信アンテナ101によって受信する。そして、基地局信号検出部102が、受信アンテナ101によって受信された電波のうち、セル選択基準信号またはセル変更終了通知にかかる信号を検出する(ステップS11)。次に、電力計測部103は、基地局信号検出部102によって検出されたセル選択基準信号の電力値を計測する(ステップS12)。そして、ハンドオーバ制御部104が、電力計測部103によって計測される電力値に基づいて、現在接続している基地局からのセル選択基準信号の受信電力値より、他方の基地局からのセル選択基準信号の受信電力値が大きくなったか否かを判断することによって、ハンドオーバエリアに移動局10が存在するか否かを判断する(ステップS13)。この判断の結果、ハンドオーバ制御部104は、現在接続している基地局からのセル選択基準信号の受信電力値が、他方の基地局からのセル選択基準信号の受信電力値以上の場合には、接続する基地局を切り替えず処理を終了する。一方、ハンドオーバ制御部104は、現在接続している基地局からのセル選択基準信号の受信電力値より、他方の基地局からのセル選択基準信号の受信電力値が大きくなった場合に、ハンドオーバを行なうと共に、セル制御情報送信部106に、セル制御情報をハンドオーバ時の前後に接続する基地局へ送信するよう指示する。この指示に基づいて、セル制御情報送信部106は、まず、基地局信号検出部102によって、上記のハンドオーバ時の前後に接続する基地局から送信されるセル変更終了通知が未だ検出されていないか否かを判断する(ステップS14)。この判断の結果、基地局信号検出部102が、既に上記のセル変更終了通知を検出していた場合には、セル制御情報送信部106は処理を終了する。一方、基地局信号検出部102が、未だ上記のセル変更終了通知を検出していない場合に、セル制御情報送信部106は、上り回線送信電力取得部105によって記憶されている上記のハンドオーバ時の前後に接続する基地局それぞれへの移動局10からの上り回線送信電力値を取得する(ステップS15)。そして、上述したように、セル制御情報送信部106は、上記のハンドオーバ時の前後に接続する基地局それぞれへ送信するセル制御情報を生成すると共に、それら制御情報をそれぞれの基地局に送信する(ステップS16)。以上の処理を移動局10は繰り返す。
【0065】
次に、図9及び図10を参照して、本実施形態にかかるセル制御方法における基地局20,21・・・の処理を説明する。図9は、本実施形態にかかるセル制御方法における基地局20,21・・・よって行なわれる処理のフローチャートである。また、図10は、図9に示すフローチャートにおけるセル制御情報処理のフローチャートである。まず、図9に示すように、移動局10によって接続される基地局は、移動局10からセル制御情報が送信された場合、図10に示すセル制御情報処理を行なう(ステップS21)。図10に示すように、このセル制御情報処理において、移動局10によって接続される基地局のセル制御部208は、移動局10から送信されるセル制御情報の内容を参照して、自局への上り回線送信電力値と、ハンドオーバ時の前後に移動局が接続する基地局のうち、他方の基地局(相手先)への送信電力値との差Kを算出する(ステップS22)。また、セル制御部208は、移動局10から送信されるセル制御情報の内容を参照して、自局が報知したセル選択基準信号の移動局10における受信電力値と、基準電力値R0との差Lを算出する(ステップS23)。
【0066】
図9に戻り、セル制御部208は、上記のK及びLを用いて、「K>0かつL=0」または「K>0かつL>0」の条件を満たすか否かを判断する(ステップS24)。この判断の結果、セル制御部208は、「K<0かつL=0」であると判断する場合、セル制御部208は上記のセル制御情報に含まれるセル識別子によって特定されるセルにおいて報知するセル選択基準信号の現行の電力値に予め定められた規定電力値を加算して、再設定電力値とする(ステップS25)。一方、上記の判断の結果、セル制御部208は、「K>0かつL>0」であると判断する場合、上記のセル制御情報に含まれるセル識別子によって特定されるセルにおいて報知するセル選択基準信号の現行の電力値から規定電力値を差し引いて、この値を再設定電力値とする(ステップS26)。また、セル制御部208は、上記以外の条件に該当すると判断する場合は、処理を終了する。
【0067】
次に、セル制御部208は、上述のごとく設定した再設定電力値が、セル選択基準信号報知部207によって報知されるセル選択基準信号の送信電力値として設定可能な最大値より大きいか否かを判断する(ステップS27)。この判断の結果、再設定電力値が上記の送信電力の最大値以下の場合に、セル制御部208は、セル制御情報に含まれるセル識別子によって特定されるセルに報知するセル選択基準信号の電力値を上記の再設定電力値に再設定する(ステップS28)。一方、再設定電力値が上記の送信電力の最大値より大きい場合に、セル制御部208は、上述したセル変更終了通知を移動局10に送信する(ステップS29)。
【0068】
以下、本実施形態にかかる移動通信システム1の作用及び効果を説明する。本実施形態にかかる移動通信システム1では、複数の基地局20,21・・・がそれぞれ、自局を特定するための基地局識別子及び自局が形成するセルを特定するためのセル識別子を含むセル選択基準信号を、セル識別子によって特定されるセルへ報知する。移動局10は、これら複数の基地局のうち接続する基地局を切り替えるハンドオーバ時に、この切り替え前後に接続する基地局それぞれによって報知されるセル選択基準信号を受信する。移動局10は、それらのセル選択基準信号の受信電力値をそれぞれ計測する。また、移動局10は、上記の切り替え前後に接続する基地局への上り回線送信電力値をそれぞれ取得する。そして、移動局10は、上記の切り替え前後に接続する基地局の一方には、その基地局を特定する基地局識別子、セルを特定するセル識別子、その基地局への上り回線送信電力値、他方の基地局への上り回線送信電力値、及びその基地局から報知されたセル選択基準信号の受信電力値を含むセル制御情報を送信する。また、移動局10は、上記の切り替え前後に接続する基地局の他方の基地局には、その基地局を特定する基地局識別子、セルを特定するセル識別子、その基地局への上り回線送信電力値、上記の一方の基地局への上り回線送信電力値、及びその基地局から報知されたセル選択基準信号の受信電力値を含むセル制御情報を送信する。移動局10によって送信されるセル制御情報を受信する各基地局は、受信したセル制御情報に含まれるセル識別子を参照して自局が形成するセルを特定する。また、各基地局は受信したセル制御情報を参照して、移動局10から自局に対する上り回線送信電力値が、上記の他方の基地局に対する上り回線送信電力値大きく、自局が送信したセル選択基準信号の移動局10における受信電力値が所定の基準電力値R0より大きい場合に、上記のように特定された自局が形成するセルに報知するセル選択基準信号の電力を所定量減少させる。逆に、各基地局は、移動局10から自局への上り回線送信電力値が、上記の他方の基地局への上り回線送信電力値より小さく、自局が報知したセル選択基準信号の移動局における受信電力値が所定の基準電力値以下の場合、上記のように特定された自局が形成するセルに報知するセル選択基準信号の電力を所定量増加させる。このようにハンドオーバ時の前後に移動局10によって接続されるそれぞれの基地局は、移動局から送信されるセル制御情報によって、それぞれの形成するセルに報知するセル選択基準信号の電力を減少または増加させ、ハンドオーバ時の前後に移動局10が位置した各セルに報知するセル選択基準信号の送信電力値を略同一にする。その結果、ハンドオーバ時の前後に移動局10が位置した各セルのサイズを同等にできる。また、移動局10が、ハンドオーバ時の前後に受信するセル選択基準信号の受信電力値が基準電力値R0と略同一となるよう、ハンドオーバ時の前後に移動局10が位置したセルに報知するセル選択基準信号の電力値を制御する。その結果、ハンドオーバ時の前後に移動局10によって接続される基地局が形成するセルのそれぞれの境界での重複が調整される。これによって、移動局10から基地局への上り回線の干渉や、基地局から移動局10への下り回線の干渉が低減され、より通信品質の良い通信が実現される。
【0069】
なお、本発明は上記した本実施形態に限定されることなく種々の変形が可能である。例えば、セル制御情報送信部106が、ハンドオーバ時の前後に移動局10によって接続される基地局それぞれへ送信するセル制御情報は、ハンドオーバ時の前後に移動局10によって接続される基地局のうち、そのセル制御情報の送信先である基地局によって報知されたセル選択基準信号の受信電力値と基準電力値R0との差Lと、その基地局への移動局10からの上り回線送信電力値と、他方の基地局への移動局10からの上り回線送信電力値との差Kと、上述した基地局識別子、及びセル識別子を含めたセル制御情報としても良い。このようなセル制御情報を受信する各基地局は、セル制御情報に含まれるKとLとを、本実施形態において説明した上記の条件に当てはめることによって、本実施形態の移動通信システム1と同様に、セルのサイズを他方の基地局のセルのサイズと略同一にできると共に、各基地局が形成するセル同士の重複を調整することができる。したがって、移動局10から基地局への上り回線の干渉や、基地局から移動局10への下り回線の干渉をなくし、より通信品質の良い通信が実現される。また、上述した第1実施形態にかかるセル制御情報のように、上り回線送信電力値などの個々の電力値を情報として送信するのに比して、移動局10から基地局へ送信されるセル制御情報は、差に基づく情報によって構成されるので、その容量が小さくなる。
【0070】
また、セル制御情報送信部106が、ハンドオーバ時の前後に移動局10によって接続される基地局それぞれへ送信するセル制御情報は、ハンドオーバ時の前後に移動局10によって接続される基地局のうち、そのセル制御情報の送信先である基地局によって報知されたセル選択基準信号の受信電力値と基準電力値R0との比Lと、その基地局への移動局10からの上り回線送信電力値と、他方の基地局への移動局10からの上り回線送信電力値との比Kと、上述した基地局識別子、及びセル識別子を含めたセル制御情報としても良い。このようなセル制御情報を受信する各基地局は、セル制御情報に含まれるKが予め定められた範囲を超え、Lが予め定められた範囲を超える場合に、そのセル制御情報に含まれるセル識別子によって特定されるセルに報知するセル選択基準信号の電力を所定量減少させる。一方、セル制御情報に含まれるKが予め定められた範囲を下回り、Lが予め定められた範囲を下回る場合に、そのセル制御情報に含まれるセル識別子によって特定されるセルに報知するセル選択基準信号の電力を所定量増加させる。このように上り回線送信電力値等の電力値の比に基づく情報を用いても、本実施形態の移動通信システム1と同様に、セルのサイズを他方の基地局のセルサイズと略同一にできると共に、各基地局が形成するセル同士の重複を調整することができる。したがって、移動局10から基地局への上り回線の干渉や、基地局から移動局10への下り回線の干渉をなくし、より通信品質の良い通信が実現される。また、上述した第1実施形態にかかるセル制御情報のように、上り回線送信電力値などの個々の電力値を情報として送信するのに比して、移動局10から基地局へ送信されるセル制御情報は、比に基づく情報によって構成されるので、その容量が小さくなる。
【0071】
(第2実施形態)
次に本発明の第2実施形態にかかる移動通信システム2について説明する。図11は移動通信システム2の構成を示す図である。図11に示すように移動通信システム2は、移動局12と、複数の基地局30,31・・・(図11においては、基地局30及び31だけを図示している。)とを備えて構成される。移動局12と、複数の基地局30,31・・・は第1実施形態と同様にCDMA通信を行ない、それぞれが形成するセルの数も第1実施形態と同様である。以下、移動局12と、基地局30,31・・・について詳細に説明する。
【0072】
移動局12は、物理的には第1実施形態と同様の構成を有する。図12は、移動局12の機能的な構成を示すブロック図である。図12に示すように、受信アンテナ121と、基地局信号検出部(セル選択基準信号受信手段)122と、電力計測部(セル選択基準信号受信電力計測手段)123と、ハンドオーバ制御部124と、上り回線電力取得部(上り回線電力取得手段)125と、セル制御情報送信部(セル制御情報送信手段)126と、送信アンテナ127とを備えて構成される。以下、移動局12が備えるそれぞれの機能的な構成要素について詳細に説明する。受信アンテナ121及び送信アンテナ127はそれぞれ第1実施形態において説明した受信アンテナ101及び送信アンテナ107と同様の構成を有する。また、基地局信号検出部122と、電力計測部123と、ハンドオーバ制御部124と、上り回線送信電力取得部125も、それぞれ第1実施形態において説明した基地局信号検出部102と、電力計測部103と、ハンドオーバ制御部104と、上り回線送信電力取得部105と同様の構成を有する。
【0073】
次に、セル制御情報送信部126について説明する。セル制御情報送信部126は、ハンドオーバ制御部124によってハンドオーバが行われる時の前後において移動局12が接続する基地局に、セル制御情報を送信して、このセル制御情報を受信する基地局へセルのサイズ変更を要求する。図11に示すように、移動局12が、基地局21によって形成されるセル識別子「1」のセルから、基地局20によって形成されるセル識別子「4」のセルに移動して、ハンドオーバ制御部124によってハンドオーバが行なわれる場合に、セル制御情報送信部126は、以下に説明するセル制御情報を、セルのサイズを変更すべき基地局へ送信する。図13は、セル制御情報送信部126によって送信されるセル制御情報の形式を示す図である。図13に示すように、セル制御情報は、基地局識別子と、セル識別子と、セル変更情報とを含む。基地局識別子は、このセル制御情報の送信先となる基地局を特定する情報であり、図13に示すセル制御情報には、基地局20を特定する基地局識別子「1」が含められている。セル識別子は、このセル制御情報によってセルのサイズを変更するセルを特定する情報である。図13に示すセル制御情報には、基地局20によって形成されるセルを特定するセル識別子「4」が含められている。セル変更情報は、このセル変更情報を含むセル制御情報を送信された基地局が、上記のセル識別子によって特定されるセルのサイズを「拡大」または「縮小」の何れに変更すべきかを示す情報である。図13に示すセル制御情報の例には、セルのサイズを「拡大」する旨を示す情報がセル変更情報として含められている。
【0074】
上記のセル変更情報は、以下のようにして定められる。セル制御情報送信部126は、ハンドオーバ時の前後に接続する基地局の一方への移動局12からの上り回線の電波の送信電力値である上り回線送信電力値と、他方の基地局への移動局12からの上り回線送信電力値を比較する。また、セル制御情報送信部126は、上記の一方の基地局から送信されるセル選択基準信号の受信電力値と基準電力値R0とを比較する。セル制御情報送信部126は、上述のように比較した上り回線送信電力値に差があり、かつ、上述のように比較した受信電力値と基準電力値R0が略同一の場合には、上り回線送信電力の大きい方の基地局が形成するセルのうち、セル識別子によって特定されるセルのサイズの「縮小」を要求する旨の情報を、セル変更情報とする。このセル変更情報が含められたセル制御情報を受信する基地局は、セル制御情報に含まれるセル識別子によって特定されるセルに報知するセル選択基準信号の電力を、所定量減少させることによって、セルのサイズを縮小する。一方、セル制御情報送信部126は、上述のように比較した上り回線送信電力値に差があり、かつ、上述のように比較した受信電力値が基準電力値R0より大きい場合には、上り回線送信電力の小さい方の基地局が形成するセルのうち、セル識別子によって特定されるセルのサイズの「拡大」を要求する旨の情報を、セル変更情報とする。このセル変更情報が含められたセル制御情報を受信する基地局は、セル制御情報に含まれるセル識別子によって特定されるセルに報知するセル選択基準信号の電力を、所定量増加させることによって、セルのサイズを拡大する。また、上記の条件が満たされない場合には、セル制御情報送信部126は、セル制御情報を送信しない。このように作成されるセル変更情報は、ハンドオーバ時の前後に移動局10が接続する基地局それぞれへの上り回線送信電力値の差が所定の範囲内となり、ハンドオーバ時の前後に移動局10が接続する基地局それぞれから報知されるセル選択基準信号の移動局10における受信電力値と基準電力値R0との差が所定の範囲内となるよう、それぞれの基地局へ送信するセル変更情報に「拡大」あるいは「縮小」を示す情報が含められれば良い。
【0075】
次に、基地局30,31・・・について説明する。図14は、基地局30の機能的な構成を示すブロック図である。他の基地局31・・・も基地局30と同様の機能的な構成を有する。図14に示すように、基地局30は、送信アンテナ221〜226と、セル選択基準信号報知部(セル選択基準信号報知手段)227と、セル制御部(セル制御手段)228と、受信アンテナ231〜236とを備えて構成される。送信アンテナ221〜226と、受信アンテナ231〜236はそれぞれ、第1実施形態において説明した送信アンテナ201〜206と、受信アンテナ211〜216と同様の構成を有する。また、セル選択基準信号報知部227も、第1実施形態において説明したセル選択基準信号報知部207と同様の構成を有する。
【0076】
セル制御部228は、移動局12によって送信され、受信アンテナ231〜236のうちいずれかによって受信されるセル制御情報を取得する。そして、セル制御部228は、取得したセル制御情報に含まれる基地局識別子を確認して、自局に送信されたセル制御情報であるか否かを確認する。そして、セル制御部228は、取得したセル制御情報が自局に送信されたものであることを確認すると、そのセル制御情報に含まれるセル識別子を参照して、自局の形成するセルを特定する。そして、セル制御部228は、そのセル制御情報に含まれるセル変更情報よって特定される要求に応じて、上述のように特定されたセルのサイズを変更する。すなわち、セル制御部228は、セル制御情報に「拡大」を示す要求のセル変更情報が含められている場合に、上述のように特定されたセルに報知するセル選択基準信号の電力値を所定量増加させることによって、そのセルのサイズを拡大する。一方、セル制御部228は、セル制御情報に「縮小」を示す要求のセル変更情報が含められている場合に、上述のように特定されたセルに報知するセル選択基準信号の電力値を所定量増加させることによって、そのセルのサイズを縮小する。
【0077】
以下、本実施形態にかかる移動通信システム2によるセル制御方法について説明する。まず、このセル制御方法における移動局12の処理について図15を参照して説明する。図15は、本実施形態にかかるセル制御方法における移動局12による処理のフローチャートである。図15に示すように、移動局12は、その存在位置においてセルを形成する基地局から送信される電波を受信アンテナ121によって受信する。そして、基地局信号検出部122が、受信アンテナ121によって受信された電波のうち、セル選択基準信号またはセル変更終了通知にかかる信号を検出する(ステップS101)。次に、電力計測部123は、基地局信号検出部122によって検出されたセル選択基準信号の電力値を計測する(ステップS102)。そして、ハンドオーバ制御部124が、電力計測部123によって計測される電力値に基づいて、現在接続している基地局からのセル選択基準信号の受信電力値より、他の基地局からのセル選択基準信号の受信電力値が大きくなったか否かを判断することによって、ハンドオーバエリアに移動局12が存在するか否かを判断する(ステップS103)。この判断の結果、ハンドオーバ制御部124は、現在接続している基地局からのセル選択基準信号の受信電力値が、他の基地局からのセル選択基準信号の受信電力値以上の場合には、接続する基地局を切り替えず処理を終了する。一方、ハンドオーバ制御部124は、現在接続している基地局からのセル選択基準信号の受信電力値より、他の基地局からのセル選択基準信号の受信電力値が大きくなった場合に、ハンドオーバを行なうと共に、セル制御情報送信部126に、セル制御情報をハンドオーバ時の前後に接続する基地局へ送信するよう指示する。この指示に基づいて、セル制御情報送信部126は、基地局信号検出部122によって、上記のハンドオーバ時の前後に接続する基地局から送信されるセル変更終了通知が未だ検出されていないか否かを判断する(ステップS104)。この判断の結果、基地局検出部122が、既に上記のセル変更終了通知を検出していた場合には、セル制御情報送信部126は処理を終了する。一方、基地局検出部122が、未だ上記のセル変更終了通知を検出していない場合に、セル制御情報送信部126は、上り回線送信電力取得部125によって記憶されている上記のハンドオーバ時の前後に接続する基地局それぞれへの移動局12からの上り回線送信電力を取得する(ステップS105)。そして、セル制御情報送信部126は、ハンドオーバ時の前後に接続する基地局の一方への移動局12からの上り回線の電波の送信電力値である上り回線送信電力値と、他方の基地局への移動局12からの上り回線送信電力値を比較する。また、セル制御情報送信部126は、上記の一方の基地局から送信されるセル選択基準信号の受信電力値と基準電力値R0を比較する。この比較において、セル制御情報送信部126は、条件(1)として、上述のように比較した上り回線送信電力値に差があり、かつ、上述のように比較した受信電力値と基準電力値R0が略同一であるか、または、条件(2)として、上述のように比較した上り回線送信電力値に差があり、かつ、上述のように比較した受信電力値が基準電力値R0より大きいか否かを判断する(ステップS106)。この判断の結果、条件(1)を満たす場合に、セル制御情報送信部126は、上り回線送信電力の大きい方の基地局が形成するセルのうち、セル識別子によって特定されるセルのサイズの「縮小」を要求する旨の情報をセル変更情報としてセル制御情報を生成し、このセル制御情報を、上記の上り回線送信電力の大きい方の基地局へ送信する(ステップS107)。一方、この判断の結果、条件(2)を満たす場合に、セル制御情報送信部126は、上り回線送信電力の小さい方の基地局が形成するセルのうち、セル識別子によって特定されるセルのサイズの「拡大」を要求する旨の情報をセル変更情報としてセル制御情報を生成し、このセル制御情報を、上記の上り回線送信電力の小さい方の基地局へ送信する(ステップS108)。また、条件(1)及び(2)の両者を満たさない場合に、セル制御情報送信部126は、セル制御情報を送信しない。以上の処理を、移動局12は繰り返す。
【0078】
次に、図16を参照して、本実施形態にかかるセル制御方法における基地局30,31・・・の処理を説明する。図16は、本実施形態にかかるセル制御方法における基地局30,31・・・よって行なわれる処理のフローチャートである。図16に示すように、ハンドオーバ時の前後に移動局12によって接続される基地局のセル制御部228は、移動局12から送信されるセル制御情報を受信する(ステップS201)。そして、セル制御部228は、受信したセル制御情報に含まれるセル変更情報がセルのサイズを「拡大」する旨を要求する情報か、「縮小」する旨を要求する情報かを判断する(ステップS202)。この判断の結果、セル変更情報がセルのサイズを「拡大」する旨を要求する情報である場合、セル制御部228は、上記のセル制御情報に含まれるセル識別子によって特定される自局が形成するセルに報知するセル選択基準信号の現行の電力値に予め定められた規定電力値を加算して再設定電力値とする(ステップS203)。一方、セル変更情報がセルのサイズを「縮小」する旨を要求する情報である場合、セル制御部228は、上記のセル制御情報に含まれるセル識別子によって特定される自局が形成するセルに報知するセル選択基準信号の現行の電力値から予め定められた規定電力値を差し引いて再設定電力値とする(ステップS204)。そして、セル制御部228は、このように算出された再設定電力値が、上記のように特定されたセルに報知するセル選択基準信号の送信電力値として設定可能な最大値より大きいか否かを判断する(ステップS207)。この判断の結果、上記の再設定電力値が、上記のように特定されたセルに報知するセル選択基準信号の送信電力値として設定可能な最大値以下の場合、セル制御部228は、セル制御情報に含まれるセル識別子によって特定されるセルに報知するセル選択基準信号の電力値を上記の再設定電力値に再設定する(ステップS208)。一方、再設定電力値が上記の送信電力の最大値より大きい場合に、セル制御部228は、上述したセル変更終了通知を移動局10に送信する。
【0079】
以下、本実施形態にかかる移動通信システム2の作用及び効果を説明する。本実施形態にかかる移動通信システム2では、移動局12が、ハンドオーバ時の前後に接続する基地局によって形成されるセルについて、上述した条件の下、これらのセルのサイズを拡大または縮小する要求を示すセル変更情報を含むセル制御情報を生成する。そして、移動局12はこのセル制御情報を、セルのサイズを変更すべきセルを形成する基地局に送信する。基地局は、移動局12によって送信されるセル制御情報に含まれるセル変更情報を参照して、セル制御情報に含まれるセル識別子によって特定されるセルのサイズを、そのセルに報知するセル選択基準信号の送信電力を制御することによって、変更する。このようにして、第1実施形態で説明した移動通信システム1と同様に、ハンドオーバ時の前後に移動局12が位置した各セルに報知するセル選択基準信号の送信電力値が略同一とされる。その結果、ハンドオーバ時の前後に移動局12が位置した各セルのサイズを均等にできる。また、移動局12が、ハンドオーバ時の前後に受信するセル選択基準信号の受信電力値が基準電力値R0と略同一となるよう、それぞれの基地局から報知されるセル選択基準信号の電力が制御される。その結果、ハンドオーバ時の前後に移動局12によって接続される基地局が形成するセルのそれぞれの境界での重複が調整される。
【0080】
また、移動局12によって基地局へ送信されるセル制御情報は、基地局識別子と、セル識別子と、セル変更情報のみによって構成されるので、第1実施形態で説明した移動通信システム1おいて移動局10が送信するセル制御情報に比して、その容量が小さくなる。
【0081】
更に、基地局は、移動局12によって送信されるセル制御情報に含まれるセル変更情報に応じて、セルの拡大または縮小を制御するだけでよく、第1実施形態で説明した移動通信システム1における基地局による処理より、基地局が行なうべき処理の負担が軽減される。
【0082】
【発明の効果】
本発明によれば、ハンドオーバが行われる前後に移動局によって接続される各基地局が、移動局によって送信されるセル制御情報に基づいて、このハンドオーバが行われる前後に移動局が存在した位置に形成するセルを、他方の基地局が形成するセルのサイズと略同一とできると共に、それらのセルの重複を調整できる。したがって、移動局から隣接する基地局への上り回線における干渉や、隣接する基地局から移動局への下り回線における干渉を、低減して、良好な通信品質を実現することができる。
【図面の簡単な説明】
【図1】図1は、第1実施形態にかかる移動通信システムの構成を示す図である。
【図2】図2は、第1実施形態にかかる移動局の機能的な構成を示すブロック図である。
【図3】図3(a)は、第1実施形態にかかる基地局がセルに報知するセル選択基準信号の信号形式を示す図である。
図3(b)は、第1実施形態にかかる基地局がセルに報知するセル選択基準信号の信号形式を示す図である。
【図4】図4は、セル変更終了通知の信号形式を示す図である。
【図5】図5(a)は、第1実施形態にかかるセル制御情報の形式を示す図である。
図5(b)は、第1実施形態にかかるセル制御情報の形式を示す図である。
【図6】図6は、第1実施形態にかかる基地局の機能的な構成を示すブロック図である。
【図7】図7(a)は、基地局が形成するセルのサイズを変更する動作の一例を説明する図である。
図7(b)は、基地局が形成するセルのサイズを変更する動作の一例を説明する図である。
図7(c)は、基地局が形成するセルのサイズを変更する動作の一例を説明する図である。
図7(d)は、基地局が形成するセルのサイズを変更する動作の一例を説明する図である。
【図8】図8は、第1実施形態にかかるセル制御方法における移動局の処理を示すフローチャートである
【図9】図9は、第1実施形態にかかるセル制御方法における基地局よって行なわれる処理のフローチャートである
【図10】図10は、図9に示すフローチャートにおけるセル制御情報処理のフローチャートである。
【図11】図11は、第2実施形態にかかる移動通信システムの構成を示す図である。
【図12】図12は、第2実施形態にかかる移動局の機能的な構成を示すブロック図である。
【図13】図13は、第2実施形態にかかるセル制御情報送信部によって送信されるセル制御情報の形式を示す図である。
【図14】図14は、第2実施形態にかかる基地局の機能的な構成を示すブロック図である。
【図15】図15は、第2実施形態にかかるセル制御方法における移動局による処理のフローチャートである。
【図16】図16は、第2実施形態にかかるセル制御方法における基地局によって行なわれる処理のフローチャートである。
【符号の説明】
1,2…移動通信システム、10,12…移動局、20,21,30,31…基地局、101,121…受信アンテナ、102,122…基地局信号検出部、103,123…電力計測部、104,124…ハンドオーバ制御部、105,125…上り回線送信電力取得部、106,126…セル制御情報送信部、107,127…送信アンテナ、201〜206,221〜226…送信アンテナ、207,227…セル選択基準信号報知部、208,228…セル制御部、211〜216,231〜236…受信アンテナ

Claims (32)

  1. 移動局と、複数の基地局とを備える移動通信システムであって、
    前記移動局は、
    それぞれの前記基地局によって報知される当該基地局及び当該基地局の形成するセルを識別する識別情報を含むセル選択基準信号のうち、当該移動局が接続する基地局を第1の前記基地局から第2の前記基地局へ切り替えるハンドオーバ時に、当該第1の基地局による第1の前記セル選択基準信号と、当該第2の基地局による第2の前記セル選択基準信号とを受信するセル選択基準信号受信手段と、前記セル選択基準信号受信手段によって受信される前記第1及び第2のセル選択基準信号の受信電力値をそれぞれ計測するセル選択基準信号受信電力計測手段と、
    当該移動局から前記第1及び第2の基地局それぞれへの上り回線の送信電力である第1の上り回線送信電力値と第2の上り回線送信電力値を取得する上り回線送信電力取得手段と、
    少なくとも前記第1のセル選択基準信号の受信電力値と、前記第1及び第2の上り回線送信電力値と、前記第1のセル選択基準信号に含まれる第1の前記識別情報とに基づく第1のセル制御情報を前記第1の基地局に送信すると共に、少なくとも前記第2のセル選択基準信号の受信電力値と、前記第1及び第2の上り回線送信電力値と、前記第2のセル選択基準信号に含まれる第2の前記識別情報とに基づく第2のセル制御情報を前記第2の基地局へ送信するセル制御情報送信手段と
    を備え、
    前記基地局は
    前記セル選択基準信号を報知するセル選択基準信号報知手段と、
    前記移動局の前記セル制御情報送信手段によって自局へ送信される前記セル制御情報を取得すると共に、当該セル制御情報に基づいて、前記第1及び第2の上り回線送信電力値が略同一となり、自局が報知する前記セル選択基準信号の前記移動局における受信電力値が所定の基準電力値と略同一となるように、当該セル制御情報に含まれる前記識別情報によって特定される自局が形成する前記セルに前記セル選択基準信号報知手段が報知する前記セル選択基準信号の電力を制御するセル制御手段と
    を備えることを特徴とする移動通信システム。
  2. 前記基地局は、複数のセルを形成し、
    前記基地局が備える前記セル選択基準信号報知手段は、当該基地局が形成する各セルに、当該基地局を識別する基地局識別子と当該セルを識別するセル識別子とを有する前記識別情報とを含む前記セル選択基準信号を報知することを特徴とする請求項1に記載の移動通信システム。
  3. 前記移動局が備える前記セル制御情報送信手段は、少なくとも前記第1のセル選択基準信号の受信電力値と、前記第1及び第2の上り回線送信電力値と、前記第1の識別情報とを含む前記第1のセル制御情報を前記第1の基地局に送信すると共に、少なくとも前記第2のセル選択基準信号の受信電力値と、前記第1及び第2の上り回線送信電力値と、前記第2の識別情報とを含む前記第2のセル制御情報を前記第2の基地局に送信することを特徴とする請求項1又は2に記載の移動通信システム。
  4. 前記基地局が備える前記セル制御手段は、自局が前記第1または第2の基地局の一方に該当する場合に、前記移動局の前記セル制御情報送信手段によって送信される前記セル制御情報に基づいて、
    前記第1及び第2の上り回線送信電力値のうち自局に対する前記上り回線送信電力値が、前記第1及び第2の上り回線送信電力値のうち他方の基地局に対する前記上り回線送信電力値より大きく、自局が送信した前記移動局における前記セル選択基準信号の受信電力値が前記所定の基準電力値より大きい場合、当該セル制御情報に含まれる前記識別情報によって特定される自局が形成する前記セルに前記セル選択基準信号報知手段が報知する前記セル選択基準信号の電力を所定量減少させ、
    前記第1及び第2の上り回線送信電力値のうち自局に対する前記上り回線送信電力値が、前記第1及び第2の上り回線送信電力値のうち他方の基地局に対する前記上り回線送信電力値より小さく、自局が送信した前記移動局における前記セル選択基準信号の受信電力値が前記所定の基準電力値以下の場合、当該セル制御情報に含まれる前記識別情報によって特定される自局が形成する前記セルに前記セル選択基準信号報知手段が報知する前記セル選択基準信号の電力を所定量増加させる
    ことを特徴とする請求項3に記載の移動通信システム。
  5. 前記移動局が備える前記セル制御情報送信手段は、少なくとも前記所定の基準電力値と前記第1のセル選択基準信号の受信電力値との差である第1の受信電力値差と、前記第1及び第2の上り回線送信電力値の差と、前記第1の識別情報とを含む前記第1のセル制御情報を前記第1の基地局へ送信すると共に、前記所定の基準電力値と前記第2のセル選択基準信号の受信電力値との差である第2の受信電力値差と、前記第1及び第2の上り回線送信電力値の差と、前記第2の識別情報とを含む前記第2のセル制御情報を前記第2の基地局へ送信し、
    前記基地局が備える前記セル制御手段は、自局が前記第1または第2の基地局の一方に該当する場合に、前記移動局の前記セル制御情報送信手段によって送信される前記セル制御情報に基づいて、前記第1及び第2の上り回線送信電力値の差が第1の所定範囲に含まれ、自局が報知した前記移動局における前記セル選択基準信号の受信電力値と前記所定の基準電力値との差からなる前記受信電力値差が、第2の所定範囲に含まれるよう、前記セル制御情報に含まれる前記識別情報によって特定される自局が形成する前記セルに前記セル選択基準信号報知手段が報知する前記セル選択基準信号の電力を制御する
    ことを特徴とする請求項1及び2に記載の移動通信システム。
  6. 前記基地局が備える前記セル制御手段は、自局が前記第1または第2の基地局の一方に該当する場合に、前記移動局の前記セル制御情報送信手段によって送信される前記セル制御情報を取得し、
    前記セル制御情報に含まれる前記第1及び第2の上り回線送信電力値差に基づいて、自局に対する前記上り回線送信電力値が、前記第1及び第2の上り回線送信電力値のうち他方の基地局に対する前記上り回線送信電力値より大きく、前記セル制御情報に含まれる前記受信電力値差に基づいて、自局が送信した前記移動局における前記セル選択基準信号の受信電力値が前記所定の基準電力値より大きいと判断する場合に、前記セル制御情報に含まれる前記識別情報によって特定される自局が形成する前記セルに前記セル選択基準信号報知手段が報知する前記セル選択基準信号の電力を所定量減少させ、
    前記セル制御情報に含まれる前記第1及び第2の上り回線送信電力値差に基づいて、自局に対する前記上り回線送信電力値が、前記第1及び第2の上り回線送信電力値のうち他方の基地局に対する上り回線送信電力値より小さく、前記セル制御情報に含まれる前記受信電力値差に基づいて、自局が送信した前記移動局における前記セル選択基準信号の受信電力値が前記所定の基準電力値以下と判断する場合に、前記セル制御情報に含まれる前記識別情報によって特定される自局が形成する前記セルに前記セル選択基準信号報知手段が報知する前記セル選択基準信号の電力を所定量増加させる
    ことを特徴とする請求項5に記載の移動通信システム。
  7. 前記移動局が備える前記セル制御情報送信手段は、少なくとも前記所定の基準電力値と前記第1のセル選択基準信号の受信電力値との比である第1の受信電力値比と、前記第1及び第2の上り回線送信電力値の比と、前記第1の識別情報とを含む前記第1のセル制御情報を前記第1の基地局へ送信すると共に、前記所定の基準電力値と前記第2のセル選択基準信号の受信電力値との差である第2の受信電力値比と、前記第1及び第2の上り回線送信電力値の比と、前記第2の識別情報とを含む前記第2のセル制御情報を前記第2の基地局へ送信し、
    前記基地局が備える前記セル制御手段は、自局が前記第1または第2の基地局の一方に該当する場合に、前記移動局の前記セル制御情報送信手段によって送信される前記セル制御情報に基づいて、前記第1及び第2の上り回線送信電力値の差が第1の所定範囲に含まれ、自局が報知した前記移動局における前記セル選択基準信号の受信電力値と前記所定の基準電力値との比からなる前記受信電力値差が、第2の所定範囲に含まれるよう、前記セル制御情報に含まれる前記識別情報によって特定される自局が形成する前記セルに前記セル選択基準信号報知手段が報知する前記セル選択基準信号の電力を制御する
    ことを特徴とする請求項1及び2に記載の移動通信システム。
  8. 前記基地局が備える前記セル制御手段は、自局が前記第1または第2の基地局の一方に該当する場合に、前記移動局の前記セル制御情報送信手段によって送信される前記セル制御情報を取得し、
    前記セル制御情報に含まれる前記第1及び第2の上り回線送信電力値比に基づいて、自局に対する前記上り回線送信電力値が、前記第1及び第2の上り回線送信電力値のうち他方の基地局に対する前記上り回線送信電力値より大きく、前記セル制御情報に含まれる前記受信電力値比に基づいて、自局が送信した前記移動局における前記セル選択基準信号の受信電力値が前記所定の基準電力値より大きいと判断する場合に、前記セル制御情報に含まれる前記識別情報によって特定される自局が形成する前記セルに前記セル選択基準信号報知手段が報知する前記セル選択基準信号の電力を所定量減少させ、
    前記セル制御情報に含まれる前記第1及び第2の上り回線送信電力値比に基づいて、自局に対する前記上り回線送信電力値が、前記第1及び第2の上り回線送信電力値のうち他方の基地局に対する上り回線送信電力値より小さく、前記セル制御情報に含まれる前記受信電力値比に基づいて、自局が送信した前記移動局における前記セル選択基準信号の受信電力値が前記所定の基準電力値以下と判断する場合に、前記セル制御情報に含まれる前記識別情報によって特定される自局が形成する前記セルに前記セル選択基準信号報知手段が報知する前記セル選択基準信号の電力を所定量増加させる
    ことを特徴とする請求項7に記載の移動通信システム。
  9. 前記移動局が備える前記セル制御情報送信手段は、前記第1の基地局または第2の基地局の一方の基地局が送信した前記セル選択基準信号の受信電力値が前記所定の基準電力値より大きく、前記一方の基地局に対する前記上り回線送信電力値が、前記第1の基地局または第2の基地局の他方の基地局に対する前記上り回線送信電力値より大きい場合に、前記一方の基地局が送信した前記セル選択基準信号に含まれる前記識別情報によって特定される当該一方の基地局が形成する前記セルのサイズを縮小する旨を要求するセル変更情報を、前記一方の基地局が送信した前記セル選択基準信号に含まれる前記識別情報に対応付けた前記セル制御情報を前記一方の基地局に送信し、前記一方の基地局が送信した前記セル選択基準信号の受信電力値が前記所定の基準電力値より小さく、前記一方の基地局に対する前記上り回線送信電力値が、前記他方の基地局に対する前記上り回線送信電力値以下の場合に、前記一方の基地局が送信した前記セル選択基準信号に含まれる前記識別情報によって特定される当該一方の基地局が形成する前記セルのサイズを拡大する旨を要求するセル変更情報を、前記一方の基地局が送信した前記セル選択基準信号に含まれる前記識別情報に対応付けた前記セル制御情報を前記一方の基地局に送信し、
    前記複数の基地局それぞれが備える前記セル制御手段は、自局が前記第1または第2の基地局の一方に該当する場合に、前記移動局の前記セル制御情報送信手段によって送信される前記セル制御情報を取得すると共に、当該セル制御情報に含まれる前記セル変更情報がセルのサイズを縮小する旨を示す場合に、前記セル制御情報に含まれる前記識別情報によって特定される自局が形成する前記セルに前記セル選択基準信号報知手段が報知する前記セル選択基準信号の電力を所定量減少させ、一方、前記セル制御情報に含まれる前記セル変更情報がセルのサイズを拡大する旨を示す場合に、前記セル制御情報に含まれる前記識別情報によって特定される自局が形成する前記セルに前記セル選択基準信号報知手段が報知する前記セル選択基準信号の電力を、所定量増加させることを特徴とする請求項1又は2に記載の移動通信システム。
  10. 複数の基地局を備える移動通信システムにおける前記基地局であって、
    当該基地局及び当該基地局の形成するセルを識別する識別情報を含むセル選択基準信号を報知するセル選択基準信号報知手段と、
    ハンドオーバ時の前後に移動局によって接続される第1の前記基地局と第2の前記基地局の一方に自局が該当する場合に、前記移動局によって前記第1の基地局へ送信される、前記第1の基地局が報知した当該移動局におけるセル選択基準信号の受信電力値と、前記移動局から第1及び第2の基地局それぞれへの第1及び第2の上り回線送信電力値と、前記第1のセル選択基準信号に含まれる第1の前記識別情報とに少なくとも基づく第1のセル制御情報と、前記移動局によって前記第2の基地局へ送信される、前記第2の基地局が報知した当該移動局におけるセル選択基準信号の受信電力値と、前記第1及び第2の上り回線送信電力値と、前記第2のセル選択基準信号に含まれる第2の前記識別情報とに少なくとも基づく第2のセル制御情報と、のうち一方の前記セル制御情報を取得し、当該一方のセル制御情報に基づいて、前記第1及び第2の上り回線送信電力値が略同一となり、自局が報知する前記セル選択基準信号の前記移動局における受信電力値が所定の基準電力値と略同一となるように、当該一方のセル制御情報に含まれる前記識別情報によって特定される自局が形成する前記セルに前記セル選択基準信号報知手段が報知する前記セル選択基準信号の電力を制御するセル制御手段と
    を備えることを特徴とする基地局。
  11. 前記基地局は、複数のセルを形成し、
    前記基地局が備える前記セル選択基準信号報知手段は、当該基地局が形成する各セルに、当該基地局を識別する基地局識別子と当該セルを識別するセル識別子とを有する前記識別情報を含む前記セル選択基準信号を報知することを特徴とする請求項10に記載の基地局。
  12. 前記セル制御手段は、自局が前記第1または第2の基地局の一方に該当する場合に、前記移動局によって前記第1の基地局へ送信される、少なくとも前記第1のセル選択基準信号の受信電力値と、前記第1及び第2の上り回線送信電力値と、前記第1の識別情報とを含む前記第1のセル制御情報と、前記移動局によって前記第2の基地局へ送信される、少なくとも前記第2のセル選択基準信号の受信電力値と、前記第1及び第2の上り回線送信電力値と、前記第2の識別情報とを含む前記第2のセル制御情報と、のうち一方の前記セル制御情報を取得することを特徴とする請求項10又は11に記載の基地局。
  13. 前記セル制御手段は、自局が前記第1または第2の基地局の一方に該当する場合に、前記移動局によって送信される前記セル制御情報に基づいて、
    前記第1及び第2の上り回線送信電力値のうち自局に対する前記上り回線送信電力値が、前記第1及び第2の上り回線送信電力値のうち他方の基地局に対する前記上り回線送信電力値より大きく、自局が送信した前記移動局における前記セル選択基準信号の受信電力値が前記所定の基準電力値より大きい場合、当該セル制御情報に含まれる前記識別情報によって特定される自局が形成する前記セルに前記セル選択基準信号報知手段が報知する前記セル選択基準信号の電力を所定量減少させ、
    前記第1及び第2の上り回線送信電力値のうち自局に対する前記上り回線送信電力値が、前記第1及び第2の上り回線送信電力値のうち他方の基地局に対する前記上り回線送信電力値より小さく、自局が送信した前記移動局における前記セル選択基準信号の受信電力値が前記所定の基準電力値以下の場合、当該セル制御情報に含まれる前記識別情報によって特定される自局が形成する前記セルに前記セル選択基準信号報知手段が報知する前記セル選択基準信号の電力を所定量増加させる
    ことを特徴とする請求項12に記載の基地局。
  14. 前記セル制御手段は、前記移動局によって前記第1の基地局へ送信される、少なくとも前記所定の基準電力値と前記第1のセル選択基準信号の受信電力値との差である第1の受信電力値差と、前記第1及び第2の上り回線送信電力値の差と、前記第1の識別情報とを含む前記第1のセル制御情報と、前記移動局によって前記第2の基地局へ送信される、少なくとも前記所定の基準電力値と前記第2のセル選択基準信号の受信電力値との差である第2の受信電力値差と、前記第1及び第2の上り回線送信電力値の差と、前記第2の識別情報とを含む前記第2のセル制御情報と、のうち一方の前記セル制御情報を取得することを特徴とする請求項10又は11に記載の基地局。
  15. 前記セル制御手段は、自局が前記第1または第2の基地局の一方に該当する場合に、前記移動局の前記セル制御情報送信手段によって送信される前記セル制御情報を取得し、
    前記セル制御情報に含まれる前記第1及び第2の上り回線送信電力値差に基づいて、自局に対する前記上り回線送信電力値が、前記第1及び第2の上り回線送信電力値のうち他方の基地局に対する前記上り回線送信電力値より大きく、前記セル制御情報に含まれる前記受信電力値差に基づいて、自局が送信した前記移動局における前記セル選択基準信号の受信電力値が前記所定の基準電力値より大きいと判断する場合に、前記セル制御情報に含まれる前記識別情報によって特定される自局が形成する前記セルに前記セル選択基準信号報知手段が報知する前記セル選択基準信号の電力を所定量減少させ、
    前記セル制御情報に含まれる前記第1及び第2の上り回線送信電力値差に基づいて、自局に対する前記上り回線送信電力値が、前記第1及び第2の上り回線送信電力値のうち他方の基地局に対する上り回線送信電力値より小さく、前記セル制御情報に含まれる前記受信電力値差に基づいて、自局が送信した前記移動局における前記セル選択基準信号の受信電力値が前記所定の基準電力値以下と判断する場合に、前記セル制御情報に含まれる前記識別情報によって特定される自局が形成する前記セルに前記セル選択基準信号報知手段が報知する前記セル選択基準信号の電力を所定量増加させる
    ことを特徴とする請求項14に記載の基地局。
  16. 前記セル制御手段は、前記移動局によって前記第1の基地局へ送信される、少なくとも前記所定の基準電力値と前記第1のセル選択基準信号の受信電力値との比である第1の受信電力値比と、前記第1及び第2の上り回線送信電力値の比と、前記第1の識別情報とを含む前記第1のセル制御情報と、前記移動局によって前記第2の基地局へ送信される、少なくとも前記所定の基準電力値と前記第2のセル選択基準信号の受信電力値との比である第2の受信電力値比と、前記第1及び第2の上り回線送信電力値の比と、前記第2の識別情報とを含む前記第2のセル制御情報と、のうち一方の前記セル制御情報を取得することを特徴とする請求項10又は11に記載の基地局。
  17. 前記セル制御手段は、自局が前記第1または第2の基地局の一方に該当する場合に、前記移動局の前記セル制御情報送信手段によって送信される前記セル制御情報を取得し、
    前記セル制御情報に含まれる前記第1及び第2の上り回線送信電力値比に基づいて、自局に対する前記上り回線送信電力値が、前記第1及び第2の上り回線送信電力値のうち他方の基地局に対する前記上り回線送信電力値より大きく、前記セル制御情報に含まれる前記受信電力値比に基づいて、自局が送信した前記移動局における前記セル選択基準信号の受信電力値が前記所定の基準電力値より大きいと判断する場合に、前記セル制御情報に含まれる前記識別情報によって特定される自局が形成する前記セルに前記セル選択基準信号報知手段が報知する前記セル選択基準信号の電力を所定量減少させ、
    前記セル制御情報に含まれる前記第1及び第2の上り回線送信電力値比に基づいて、自局に対する前記上り回線送信電力値が、前記第1及び第2の上り回線送信電力値のうち他方の基地局に対する上り回線送信電力値より小さく、前記セル制御情報に含まれる前記受信電力値比に基づいて、自局が送信した前記移動局における前記セル選択基準信号の受信電力値が前記所定の基準電力値以下と判断する場合に、前記セル制御情報に含まれる前記識別情報によって特定される自局が形成する前記セルに前記セル選択基準信号報知手段が報知する前記セル選択基準信号の電力を所定量増加させる
    ことを特徴とする請求項16に記載の基地局。
  18. 前記セル制御手段は、自局が前記第1または第2の基地局の一方に該当する場合に、自局が送信した前記移動局における前記セル選択基準信号の受信電力値が前記所定の基準電力値より大きく、自局に対する前記移動局からの前記上り回線送信電力値が、前記第1の基地局または第2の基地局の他方の基地局に対する前記上り回線送信電力値より大きい場合に、前記移動局によって送信される、自局が送信した前記セル選択基準信号に含まれる前記識別情報によって特定される自局が形成する前記セルのサイズを縮小する旨を要求するセル変更情報と、当該セル変更情報に対応付けられた自局が送信した前記セル選択基準信号に含まれる前記識別情報とを含む前記セル制御情報を取得し、自局が送信した前記移動局における前記セル選択基準信号の受信電力値が前記所定の基準電力値より小さく、自局に対する前記移動局からの前記上り回線送信電力値が、前記第1の基地局または第2の基地局の他方の基地局に対する前記上り回線送信電力値以下の場合に、前記移動局によって送信される、自局が送信した前記セル選択基準信号に含まれる前記識別情報によって特定される自局が形成する前記セルのサイズを拡大する旨を要求するセル変更情報と、当該セル変更情報に対応付けられた自局が送信した前記セル選択基準信号に含まれる前記識別情報とを含む前記セル制御情報を取得し、
    前記セル制御情報に含まれる前記セル変更情報がセルのサイズを縮小する旨を示す場合に、前記セル制御情報に含まれる前記識別情報によって特定される自局が形成する前記セルに前記セル選択基準信号報知手段が報知する前記セル選択基準信号の電力を所定量減少させ、一方、前記セル制御情報に含まれる前記セル変更情報がセルのサイズを拡大する旨を示す場合に、前記セル制御情報に含まれる前記識別情報によって特定される自局が形成する前記セルに前記セル選択基準信号報知手段が報知する前記セル選択基準信号の電力を所定量増加させることを特徴とする請求項10又は11に記載の基地局。
  19. 移動局と、複数の基地局とを備える移動通信システムにおける前記移動局であって、
    それぞれの前記基地局によって報知される当該基地局及び当該基地局の形成するセルを識別する識別情報を含むセル選択基準信号のうち、当該移動局が接続する基地局を第1の前記基地局から第2の前記基地局へ切り替えるハンドオーバ時に、当該第1の基地局による第1の前記セル選択基準信号と、当該第2の基地局による第2の前記セル選択基準信号とを受信するセル選択基準信号受信手段と、前記セル選択基準信号受信手段によって受信される前記第1及び第2のセル選択基準信号の受信電力値をそれぞれ計測するセル選択基準信号受信電力計測手段と、
    当該移動局から前記第1及び第2の基地局それぞれへの上り回線の送信電力である第1の上り回線送信電力値と第2の上り回線送信電力値を取得する上り回線送信電力取得手段と、
    少なくとも前記第1のセル選択基準信号の受信電力値と、前記第1及び第2の上り回線送信電力値と、前記第1のセル選択基準信号に含まれる第1の前記識別情報とに基づく第1のセル制御情報を前記第1の基地局に送信すると共に、少なくとも前記第2のセル選択基準信号の受信電力値と、前記第1及び第2の上り回線送信電力値と、前記第2のセル選択基準信号に含まれる第2の前記識別情報とに基づく第2のセル制御情報を前記第2の基地局へ送信するセル制御情報送信手段と
    を備えることを特徴とする移動局。
  20. 前記セル制御情報送信手段は、少なくとも前記第1のセル選択基準信号の受信電力値と、前記第1及び第2の上り回線送信電力値と、前記第1の識別情報とを含む前記第1のセル制御情報を前記第1の基地局に送信すると共に、少なくとも前記第2のセル選択基準信号の受信電力値と、前記第1及び第2の上り回線送信電力値と、前記第2の識別情報とを含む前記第2のセル制御情報を前記第2の基地局に送信することを特徴とする請求項19に記載の移動局。
  21. 前記セル制御情報送信手段は、少なくとも前記所定の基準電力値と前記第1のセル選択基準信号の受信電力値との差である第1の受信電力値差と、前記第1及び第2の上り回線送信電力値の差と、前記第1の識別情報とを含む前記第1のセル制御情報を前記第1の基地局へ送信すると共に、前記所定の基準電力値と前記第2のセル選択基準信号の受信電力値との差である第2の受信電力値差と、前記第1及び第2の上り回線送信電力値の差と、前記第2の識別情報とを含む前記第2のセル制御情報を前記第2の基地局へ送信することを特徴とする請求項19に記載の移動局。
  22. 前記セル制御情報送信手段は、少なくとも前記所定の基準電力値と前記第1のセル選択基準信号の受信電力値との比である第1の受信電力値比と、前記第1及び第2の上り回線送信電力値の比と、前記第1の識別情報とを含む前記第1のセル制御情報を前記第1の基地局へ送信すると共に、前記所定の基準電力値と前記第2のセル選択基準信号の受信電力値との差である第2の受信電力値比と、前記第1及び第2の上り回線送信電力値の比と、前記第2の識別情報とを含む前記第2のセル制御情報を前記第2の基地局へ送信することを特徴とする請求項19に記載の移動局。
  23. 前記セル制御情報送信手段は、前記第1の基地局または第2の基地局の一方の基地局が送信した前記セル選択基準信号の受信電力値が前記所定の基準電力値より大きく、前記一方の基地局に対する前記上り回線送信電力値が、前記第1の基地局または第2の基地局の他方の基地局に対する前記上り回線送信電力値より大きい場合に、前記一方の基地局が送信した前記セル選択基準信号に含まれる前記識別情報によって特定される当該一方の基地局が形成する前記セルのサイズを縮小する旨を要求するセル変更情報を、前記一方の基地局が送信した前記セル選択基準信号に含まれる前記識別情報に対応付けた前記セル制御情報を前記一方の基地局に送信し、前記一方の基地局が送信した前記セル選択基準信号の受信電力値が前記所定の基準電力値より小さく、前記一方の基地局に対する前記上り回線送信電力値が、前記他方の基地局に対する前記上り回線送信電力値以下の場合に、前記一方の基地局が送信した前記セル選択基準信号に含まれる前記識別情報によって特定される当該一方の基地局が形成する前記セルのサイズを拡大する旨を要求するセル変更情報を、前記一方の基地局が送信した前記セル選択基準信号に含まれる前記識別情報に対応付けた前記セル制御情報を前記一方の基地局に送信することを特徴とする請求項19に記載の移動局。
  24. 複数の基地局それぞれが形成するセルを制御するセル制御方法であって、
    前記各基地局が備えるセル選択基準信号報知手段が、当該基地局及び当該基地局の形成するセルを識別する識別情報を含むセル選択基準信号を報知するセル選択基準信号報知ステップと、
    移動局が備えるセル選択基準信号受信手段が、それぞれの基地局によって報知される当該基地局及び当該基地局の形成するセルを識別する識別情報を含むセル選択基準信号のうち、当該移動局が接続する基地局を第1の前記基地局から第2の前記基地局へ切り替えるハンドオーバ時に、当該第1の基地局による第1の前記セル選択基準信号と、当該第2の基地局による第2の前記セル選択基準信号とを受信するセル選択基準信号受信ステップと、
    前記移動局が備えるセル選択基準信号受信電力計測手段が、前記セル選択基準信号受信手段によって受信される前記第1及び第2のセル選択基準信号の受信電力値をそれぞれ計測するセル選択基準信号受信電力計測ステップと、
    前記移動局が備える上り回線送信電力取得手段が、セル当該移動局から前記第1及び第2の基地局それぞれへの上り回線の送信電力である第1の上り回線送信電力値と第2の上り回線送信電力値を取得する上り回線送信電力取得ステップと、
    前記移動局が備えるセル制御情報送信手段が、少なくとも前記第1のセル選択基準信号の受信電力値と、前記第1及び第2の上り回線送信電力値と、前記第1のセル選択基準信号に含まれる第1の前記識別情報とに基づく第1のセル制御情報を前記第1の基地局に送信すると共に、少なくとも前記第2のセル選択基準信号の受信電力値と、前記第1及び第2の上り回線送信電力値と、前記第2のセル選択基準信号に含まれる第2の前記識別情報とに基づく第2のセル制御情報を前記第2の基地局へ送信するセル制御情報送信ステップと、
    前記基地局が備えるセル制御手段が、前記移動局の前記セル制御情報送信手段によって自局へ送信される前記セル制御情報を取得すると共に、当該セル制御情報に基づいて、前記第1及び第2の上り回線送信電力値が略同一となり、自局が報知する前記セル選択基準信号の前記移動局における受信電力値が所定の基準電力値と略同一となるように、当該セル制御情報に含まれる前記識別情報によって特定される自局が形成する前記セルに前記セル選択基準信号報知手段が報知する前記セル選択基準信号の電力を制御するセル制御ステップと
    を備えることを特徴とするセル制御方法。
  25. 前記基地局は、複数のセルを形成し、
    前記セル選択基準信号報知ステップにおいて、前記基地局が備える前記セル選択基準信号報知手段は、当該基地局が形成する各セルに、当該基地局を識別する基地局識別子と当該セルを識別するセル識別子とを有する前記識別情報を含む前記セル選択基準信号を報知することを特徴とする請求項24に記載のセル制御方法。
  26. 前記セル制御情報送信ステップにおいて、前記移動局が備える前記セル制御情報送信手段は、少なくとも前記第1のセル選択基準信号の受信電力値と、前記第1及び第2の上り回線送信電力値と、前記第1の識別情報とを含む前記第1のセル制御情報を前記第1の基地局に送信すると共に、少なくとも前記第2のセル選択基準信号の受信電力値と、前記第1及び第2の上り回線送信電力値と、前記第2の識別情報とを含む前記第2のセル制御情報を前記第2の基地局に送信することを特徴とする請求項24又は25に記載のセル制御方法。
  27. 前記セル制御ステップにおいて、前記基地局が備える前記セル制御手段は、自局が前記第1または第2の基地局の一方に該当する場合に、前記移動局の前記セル制御情報送信手段によって送信される前記セル制御情報に基づいて、
    前記第1及び第2の上り回線送信電力値のうち自局に対する前記上り回線送信電力値が、前記第1及び第2の上り回線送信電力値のうち他方の基地局に対する前記上り回線送信電力値より大きく、自局が送信した前記移動局における前記セル選択基準信号の受信電力値が前記所定の基準電力値より大きい場合、当該セル制御情報に含まれる前記識別情報によって特定される自局が形成する前記セルに前記セル選択基準信号報知手段が報知する前記セル選択基準信号の電力を所定量減少させ、
    前記第1及び第2の上り回線送信電力値のうち自局に対する前記上り回線送信電力値が、前記第1及び第2の上り回線送信電力値のうち他方の基地局に対する前記上り回線送信電力値より小さく、自局が送信した前記移動局における前記セル選択基準信号の受信電力値が前記所定の基準電力値以下の場合、当該セル制御情報に含まれる前記識別情報によって特定される自局が形成する前記セルに前記セル選択基準信号報知手段が報知する前記セル選択基準信号の電力を所定量増加させる
    ことを特徴とする請求項26に記載のセル制御方法。
  28. 前記セル制御情報送信ステップにおいて、前記移動局が備える前記セル制御情報送信手段は、少なくとも前記所定の基準電力値と前記第1のセル選択基準信号の受信電力値との差である第1の受信電力値差と、前記第1及び第2の上り回線送信電力値の差と、前記第1の識別情報とを含む前記第1のセル制御情報を前記第1の基地局へ送信すると共に、前記所定の基準電力値と前記第2のセル選択基準信号の受信電力値との差である第2の受信電力値差と、前記第1及び第2の上り回線送信電力値の差と、前記第2の識別情報とを含む前記第2のセル制御情報を前記第2の基地局へ送信し、
    前記セル制御ステップにおいて、前記基地局が備える前記セル制御手段は、自局が前記第1または第2の基地局の一方に該当する場合に、前記移動局の前記セル制御情報送信手段によって送信される前記セル制御情報に基づいて、前記第1及び第2の上り回線送信電力値の差が第1の所定範囲に含まれ、自局が報知した前記移動局における前記セル選択基準信号の受信電力値と前記所定の基準電力値との差からなる前記受信電力値差が、第2の所定範囲に含まれるよう、前記セル制御情報に含まれる前記識別情報によって特定される自局が形成する前記セルに前記セル選択基準信号報知手段が報知する前記セル選択基準信号の電力を制御する
    ことを特徴とする請求項24又は25に記載のセル制御方法。
  29. 前記セル制御ステップにおいて、前記基地局が備える前記セル制御手段は、自局が前記第1または第2の基地局の一方に該当する場合に、前記移動局の前記セル制御情報送信手段によって送信される前記セル制御情報を取得し、
    前記セル制御情報に含まれる前記第1及び第2の上り回線送信電力値差に基づいて、自局に対する前記上り回線送信電力値が、前記第1及び第2の上り回線送信電力値のうち他方の基地局に対する前記上り回線送信電力値より大きく、前記セル制御情報に含まれる前記受信電力値差に基づいて、自局が送信した前記移動局における前記セル選択基準信号の受信電力値が前記所定の基準電力値より大きいと判断する場合に、前記セル制御情報に含まれる前記識別情報によって特定される自局が形成する前記セルに前記セル選択基準信号報知手段が報知する前記セル選択基準信号の電力を所定量減少させ、
    前記セル制御情報に含まれる前記第1及び第2の上り回線送信電力値差に基づいて、自局に対する前記上り回線送信電力値が、前記第1及び第2の上り回線送信電力値のうち他方の基地局に対する上り回線送信電力値より小さく、前記セル制御情報に含まれる前記受信電力値差に基づいて、自局が送信した前記移動局における前記セル選択基準信号の受信電力値が前記所定の基準電力値以下と判断する場合に、前記セル制御情報に含まれる前記識別情報によって特定される自局が形成する前記セルに前記セル選択基準信号報知手段が報知する前記セル選択基準信号の電力を所定量増加させる
    ことを特徴とする請求項28に記載のセル制御方法。
  30. 前記セル制御情報送信ステップにおいて、前記移動局が備える前記セル制御情報送信手段は、少なくとも前記所定の基準電力値と前記第1のセル選択基準信号の受信電力値との比である第1の受信電力値比と、前記第1及び第2の上り回線送信電力値の比と、前記第1の識別情報とを含む前記第1のセル制御情報を前記第1の基地局へ送信すると共に、前記所定の基準電力値と前記第2のセル選択基準信号の受信電力値との差である第2の受信電力値比と、前記第1及び第2の上り回線送信電力値の比と、前記第2の識別情報とを含む前記第2のセル制御情報を前記第2の基地局へ送信し、
    前記セル制御ステップにおいて、前記基地局が備える前記セル制御手段は、自局が前記第1または第2の基地局の一方に該当する場合に、前記移動局の前記セル制御情報送信手段によって送信される前記セル制御情報に基づいて、前記第1及び第2の上り回線送信電力値の差が第1の所定範囲に含まれ、自局が報知した前記移動局における前記セル選択基準信号の受信電力値と前記所定の基準電力値との比からなる前記受信電力値差が、第2の所定範囲に含まれるよう、前記セル制御情報に含まれる前記識別情報によって特定される自局が形成する前記セルに前記セル選択基準信号報知手段が報知する前記セル選択基準信号の電力を制御する
    ことを特徴とする請求項24及び25に記載のセル制御方法。
  31. 前記セル制御ステップにおいて、前記基地局が備える前記セル制御手段は、自局が前記第1または第2の基地局の一方に該当する場合に、前記移動局の前記セル制御情報送信手段によって送信される前記セル制御情報を取得し、
    前記セル制御情報に含まれる前記第1及び第2の上り回線送信電力値比に基づいて、自局に対する前記上り回線送信電力値が、前記第1及び第2の上り回線送信電力値のうち他方の基地局に対する前記上り回線送信電力値より大きく、前記セル制御情報に含まれる前記受信電力値比に基づいて、自局が送信した前記移動局における前記セル選択基準信号の受信電力値が前記所定の基準電力値より大きいと判断する場合に、前記セル制御情報に含まれる前記識別情報によって特定される自局が形成する前記セルに前記セル選択基準信号報知手段が報知する前記セル選択基準信号の電力を所定量減少させ、
    前記セル制御情報に含まれる前記第1及び第2の上り回線送信電力値比に基づいて、自局に対する前記上り回線送信電力値が、前記第1及び第2の上り回線送信電力値のうち他方の基地局に対する上り回線送信電力値より小さく、前記セル制御情報に含まれる前記受信電力値比に基づいて、自局が送信した前記移動局における前記セル選択基準信号の受信電力値が前記所定の基準電力値より以下と判断する場合に、前記セル制御情報に含まれる前記識別情報によって特定される自局が形成する前記セルに前記セル選択基準信号報知手段が報知する前記セル選択基準信号の電力を所定量増加させる
    ことを特徴とする請求項30に記載のセル制御方法。
  32. 前記セル制御情報送信ステップにおいて、前記移動局が備える前記セル制御情報送信手段は、前記第1の基地局または第2の基地局の一方の基地局が送信した前記セル選択基準信号の受信電力値が前記所定の基準電力値より大きく、前記一方の基地局に対する前記上り回線送信電力値が、前記第1の基地局または第2の基地局の他方の基地局に対する前記上り回線送信電力値より大きい場合に、前記一方の基地局が送信した前記セル選択基準信号に含まれる前記識別情報によって特定される当該一方の基地局が形成する前記セルのサイズを縮小する旨を要求するセル変更情報を、前記一方の基地局が送信した前記セル選択基準信号に含まれる前記識別情報に対応付けた前記セル制御情報を前記一方の基地局に送信し、前記一方の基地局が送信した前記セル選択基準信号の受信電力値が前記所定の基準電力値より小さく、前記一方の基地局に対する前記上り回線送信電力値が、前記他方の基地局に対する前記上り回線送信電力値以下の場合に、前記一方の基地局が送信した前記セル選択基準信号に含まれる前記識別情報によって特定される当該一方の基地局が形成する前記セルのサイズを拡大する旨を要求するセル変更情報を、前記一方の基地局が送信した前記セル選択基準信号に含まれる前記識別情報に対応付けた前記セル制御情報を前記一方の基地局に送信し、
    前記セル制御ステップにおいて、前記複数の基地局それぞれが備える前記セル制御手段は、自局が前記第1または第2の基地局の一方に該当する場合に、前記移動局の前記セル制御情報送信手段によって送信される前記セル制御情報を取得すると共に、当該セル制御情報に含まれる前記セル変更情報がセルのサイズを縮小する旨を示す場合に、前記セル制御情報に含まれる前記識別情報によって特定される自局が形成する前記セルに前記セル選択基準信号報知手段が報知する前記セル選択基準信号の電力を所定量減少させ、一方、前記セル制御情報に含まれる前記セル変更情報がセルのサイズを拡大する旨を示す場合に、前記セル制御情報に含まれる前記識別情報によって特定される自局が形成する前記セルに前記セル選択基準信号報知手段が報知する前記セル選択基準信号の電力を、所定量増加させることを特徴とする請求項24又は25に記載のセル制御方法。
JP2002291316A 2002-10-03 2002-10-03 移動通信システム、基地局、移動局、及びセル制御方法 Expired - Fee Related JP4150239B2 (ja)

Priority Applications (5)

Application Number Priority Date Filing Date Title
JP2002291316A JP4150239B2 (ja) 2002-10-03 2002-10-03 移動通信システム、基地局、移動局、及びセル制御方法
DE2003601533 DE60301533T2 (de) 2002-10-03 2003-10-02 Verringerung der Interferenz in einem CDMA-Kommunikationssystem durch Anpassungdes Leistungspegels der Pilotsignale der Basissation
EP03022514A EP1406418B1 (en) 2002-10-03 2003-10-02 Reducing interference in a CDMA communication system by adapting the power level of base station pilot signals
US10/677,431 US7239619B2 (en) 2002-10-03 2003-10-03 Mobile communication system, base station, mobile station, and cell control method
CNB2003101007550A CN100444647C (zh) 2002-10-03 2003-10-08 移动通信系统、基站、移动站及网络控制方法

Applications Claiming Priority (1)

Application Number Priority Date Filing Date Title
JP2002291316A JP4150239B2 (ja) 2002-10-03 2002-10-03 移動通信システム、基地局、移動局、及びセル制御方法

Publications (2)

Publication Number Publication Date
JP2004128966A JP2004128966A (ja) 2004-04-22
JP4150239B2 true JP4150239B2 (ja) 2008-09-17

Family

ID=31987185

Family Applications (1)

Application Number Title Priority Date Filing Date
JP2002291316A Expired - Fee Related JP4150239B2 (ja) 2002-10-03 2002-10-03 移動通信システム、基地局、移動局、及びセル制御方法

Country Status (5)

Country Link
US (1) US7239619B2 (ja)
EP (1) EP1406418B1 (ja)
JP (1) JP4150239B2 (ja)
CN (1) CN100444647C (ja)
DE (1) DE60301533T2 (ja)

Families Citing this family (55)

* Cited by examiner, † Cited by third party
Publication number Priority date Publication date Assignee Title
JP4299082B2 (ja) * 2002-10-18 2009-07-22 株式会社エヌ・ティ・ティ・ドコモ 移動局、移動通信システム、及びセル選択方法
GB0409630D0 (en) * 2004-04-30 2004-06-02 Electrobit Uk Ltd Improved method of locating a cellular terminal
US7643832B2 (en) * 2004-07-12 2010-01-05 Motorola, Inc. Method and apparatus for reference signal selection in a cellular system
EP3179775B1 (en) * 2004-07-30 2019-01-30 Commscope Technologies LLC Method and system of setting transmitter power levels
US7496113B2 (en) 2004-08-16 2009-02-24 Zte (Usa) Inc. Fast cell search and accurate synchronization in wireless communications
TWI287936B (en) * 2004-08-18 2007-10-01 Benq Corp Wireless communication system and a handover method used in a wireless communication system
US7577456B2 (en) * 2005-02-28 2009-08-18 Telefonaktiebolaget Lm Ericsson (Publ) Using uplink relative path gain related measurements to support uplink resource management
US8023955B2 (en) 2005-08-22 2011-09-20 Sony Corporation Uplink resource allocation to control intercell interference in a wireless communication system
JP4789557B2 (ja) * 2005-08-24 2011-10-12 株式会社エヌ・ティ・ティ・ドコモ ユーザデータの送信方法及び無線回線制御局
JP4315940B2 (ja) * 2005-09-29 2009-08-19 京セラ株式会社 移動体通信システム、基地局装置、移動局装置、送信電力制御方法、及びプログラム
US8547948B2 (en) 2005-10-06 2013-10-01 Lockheed Martin Corporation Antenna management system
KR100964577B1 (ko) * 2006-06-02 2010-06-21 삼성전자주식회사 통신 시스템에서 전력 제어 방법 및 시스템
JP4727528B2 (ja) * 2006-07-28 2011-07-20 京セラ株式会社 無線通信方法及び基地局制御装置
US20090323637A1 (en) * 2006-07-28 2009-12-31 Kyocera Corporation Radio Communication Method, Base Station Controller and Radio Communication Terminal
JP4732265B2 (ja) * 2006-07-28 2011-07-27 京セラ株式会社 無線通信方法及び無線通信端末
ATE453251T1 (de) * 2006-08-10 2010-01-15 Alcatel Lucent Verfahren und vorrichtung zur steuerung der sendeleistung der aufwärtsstrecke basierend auf interferenz zwischen nachbarzellen
KR100765892B1 (ko) * 2006-08-30 2007-10-10 주식회사 팬택 이동통신 시스템의 셀간 간섭을 제어하는 방법
KR100753369B1 (ko) 2006-08-30 2007-08-30 주식회사 팬택 이동통신 시스템의 셀간 간섭을 저감하는 방법
CN101682881B (zh) 2007-04-11 2013-12-11 艾利森电话股份有限公司 用于相邻小区测量的关于参考信号结构的信息
WO2008141305A1 (en) * 2007-05-11 2008-11-20 The Trustees Of Columbia University In The City Of New York Systems and methods for implementing reliable neighborcast protocol
US8169992B2 (en) 2007-08-08 2012-05-01 Telefonaktiebolaget Lm Ericsson (Publ) Uplink scrambling during random access
US20090185518A1 (en) * 2008-01-17 2009-07-23 Qualcomm Incorporated System and method to enable base station power setting based on neighboring beacons within a network
WO2009128456A1 (ja) * 2008-04-18 2009-10-22 京セラ株式会社 移動局装置および送信電力制御方法
EP2362987B1 (en) * 2008-11-03 2012-09-26 Telefonaktiebolaget L M Ericsson (PUBL) Methods and arrangements for performing cell measurements in a cellular communication system having multiple antenna ports
US8705470B2 (en) * 2009-02-04 2014-04-22 Ntt Docomo, Inc. Radio base station and communication control method
CN102165802B (zh) * 2009-06-30 2013-06-05 华为技术有限公司 电信方法和设备
US20110021197A1 (en) * 2009-07-24 2011-01-27 Qualcomm Incorporated Apparatus and method for facilitating transfer to a secondary cell
JP4918580B2 (ja) * 2009-08-27 2012-04-18 株式会社エヌ・ティ・ティ・ドコモ 無線基地局、移動局、移動通信方法及び測定方法
US8437300B2 (en) * 2009-10-12 2013-05-07 Samsung Electronics Co., Ltd Method and system of multi-layer beamforming
US8855566B2 (en) * 2009-10-19 2014-10-07 Samsung Electronics Co., Ltd. Apparatus for managing radio resources of base station and method for managing the same
US9401784B2 (en) 2009-10-21 2016-07-26 Qualcomm Incorporated Time and frequency acquisition and tracking for OFDMA wireless systems
US10111111B2 (en) 2009-11-19 2018-10-23 Qualcomm Incorporated Per-cell timing and/or frequency acquisition and their use on channel estimation in wireless networks
BR112012032818A2 (pt) * 2010-06-24 2016-11-08 Telefonakiebolaget L M Ericsson Publ métodos e nós em uma rede de comunicação sem fio
JP2012019601A (ja) * 2010-07-07 2012-01-26 Sony Corp 電力システム、受電装置、及び送電制御方法
GB201018211D0 (en) * 2010-10-28 2010-12-15 Vodafone Ip Licensing Ltd Smart cell activation
FR2967854A1 (fr) * 2010-11-19 2012-05-25 France Telecom Procede de communication dans un reseau cooperatif
CN102036295B (zh) * 2010-12-02 2014-04-16 大唐移动通信设备有限公司 一种确定上下行配置的方法、系统和设备
KR20120070385A (ko) * 2010-12-21 2012-06-29 삼성전자주식회사 에너지 효율을 위한 이동 통신망 제어 장치 및 방법
US9456422B2 (en) * 2011-04-21 2016-09-27 Qualcomm Incorporated Method and apparatus for calibrating transmit power of a FEMTO node
US9451515B2 (en) * 2011-05-06 2016-09-20 Telefonaktiebolaget Lm Ericsson (Publ) Methods and apparatus for neighbor cell range extension
US8600392B1 (en) * 2011-06-06 2013-12-03 Sprint Spectrum L.P. Method and system for channel assignment into soft handoff (casho)
KR101867314B1 (ko) * 2011-11-15 2018-06-15 주식회사 골드피크이노베이션즈 다중 요소 반송파 시스템에서 상향링크 전송전력의 제어장치 및 방법
WO2013111896A1 (en) 2012-01-24 2013-08-01 Nec Corporation Radio communication system
KR101961919B1 (ko) * 2012-06-09 2019-03-27 삼성전자주식회사 무선 통신 시스템에서 신호 송수신 방법 및 장치
US9525534B2 (en) * 2012-06-18 2016-12-20 Lg Electronics Inc. Method and device for transmitting and receiving flooding signal in wireless communication system
KR101984972B1 (ko) * 2012-06-22 2019-09-03 삼성전자주식회사 무선 통신 시스템에서 신호 송수신 방법 및 장치
US8838119B2 (en) 2012-06-26 2014-09-16 Futurewei Technologies, Inc. Method and system for dynamic cell configuration
EP2688330B1 (en) * 2012-07-17 2014-06-11 Alcatel Lucent Method for interference reduction in a radio communication system, processing unit, and wireless access network node thereof
US9743416B2 (en) * 2012-09-20 2017-08-22 Telefonaktiebolaget Lm Ericsson (Publ) Method and network node for improving resource utilization of a radio cell
CN105191390B (zh) * 2013-01-18 2019-01-25 安华高科技股份有限公司 多连接系统中的测量
KR102089437B1 (ko) * 2013-03-07 2020-04-16 삼성전자 주식회사 무선 통신 시스템에서 간섭 제어 방법 및 장치
WO2016053164A1 (en) * 2014-09-29 2016-04-07 Telefonaktiebolaget L M Ericsson (Publ) Network node, communication device and methods therein for handling dynamic subframe configurations
CN109076466B (zh) * 2016-04-28 2021-08-17 索尼集团公司 导频信号的发送功率
JP6652026B2 (ja) * 2016-09-29 2020-02-19 株式会社ダイフク 管理システム
US20240298275A1 (en) * 2023-03-01 2024-09-05 Cisco Technology, Inc. Transmit power control design for make-before-break roaming deployments

Family Cites Families (8)

* Cited by examiner, † Cited by third party
Publication number Priority date Publication date Assignee Title
SE9200915D0 (sv) * 1992-03-24 1992-03-24 Ericsson Telefon Ab L M Methods in a cellular mobile radio communincation system
JP2803716B2 (ja) * 1996-03-11 1998-09-24 日本電気株式会社 Cdmaセルラーシステムにおける無線回線制御装置
US6708041B1 (en) * 1997-12-15 2004-03-16 Telefonaktiebolaget Lm (Publ) Base station transmit power control in a CDMA cellular telephone system
EP0983643A1 (en) * 1998-02-19 2000-03-08 Qualcomm Incorporated Synchronization of forward link base station power levels during handoff between base station sectors in a mobile radio communication system
JP3750390B2 (ja) * 1999-01-08 2006-03-01 日本電気株式会社 移動体通信における呼制御方法及びそのシステム
EP1058474A1 (en) * 1999-06-03 2000-12-06 Alcatel Alsthom Compagnie Generale D'electricite Cellular network with optimised mobile terminals/base stations links and method for determining the same
US6553016B1 (en) * 1999-12-20 2003-04-22 Telfonaktiebolaget Lm Ericsson (Publ) Downlink power control at soft handover
JP2002198900A (ja) * 2000-12-27 2002-07-12 Fujitsu Ltd 下り送信電力制御方法、移動通信システム、基地局、移動局、交換局側装置

Also Published As

Publication number Publication date
DE60301533T2 (de) 2006-01-19
US7239619B2 (en) 2007-07-03
US20040131029A1 (en) 2004-07-08
CN100444647C (zh) 2008-12-17
EP1406418A1 (en) 2004-04-07
JP2004128966A (ja) 2004-04-22
DE60301533D1 (de) 2005-10-13
CN1497993A (zh) 2004-05-19
EP1406418B1 (en) 2005-09-07

Similar Documents

Publication Publication Date Title
JP4150239B2 (ja) 移動通信システム、基地局、移動局、及びセル制御方法
CN109302720B (zh) 一种选择波束的方法及设备
JP3750390B2 (ja) 移動体通信における呼制御方法及びそのシステム
US10454551B2 (en) Communication method and apparatus for configuring measurement parameters using beamforming
JP4445863B2 (ja) ビーム形成アンテナを用いた無線通信システムにおいてモバイルユニットのハンドオーバを行うモバイル通信システムおよび方法
JP3773060B2 (ja) 多重ケーシングを使用する際のオーバーラップセルの生成
KR100951030B1 (ko) 적응성 안테나를 사용하는 통신 핸드오프 방법 및 장치
KR101451860B1 (ko) 다른 주파수 대역을 사용하는 시스템 간 단말의 핸드오버를 위한 장치 및 방법
US6728540B1 (en) Assisted handover in a wireless communication system
US5586170A (en) Cellular devices, systems and methods using intercell macro-diversity and dynamic channel allocation
EP2312889A1 (en) Small base station and method for controlling operation thereof
JP2012085288A (ja) 省エネルギーモードにある第1の基地局を別の動作モードに切り替えるのに必要な条件を確定する方法
US9730126B2 (en) Base station and handover control method
KR100827169B1 (ko) 스마트 안테나가 장착된 통신 시스템에서 핸드오프 시스템 및 방법
CN107994936A (zh) 下行波束处理方法及装置
US8942148B2 (en) Method and apparatus for switching a frequency assignment in a wireless communication system
JP2002112306A (ja) Cdma方式無線通信システム
JPH0563635A (ja) 無線基地局出力制御によるトラヒツク分散方式
JPH10276463A (ja) 移動無線通信システム
JP2006157528A (ja) 移動体通信システム、基地局装置、移動局装置及び移動体通信システムの制御方法
JP3639168B2 (ja) 通信制御方法、移動通信システム、基地局及び移動局
JP3661866B2 (ja) オーバーレイエリアでのハンドオーバ制御を行う移動通信システム
KR100592904B1 (ko) 동적 클러스터 기반의 핸드오버를 제공하는 이동통신시스템, 및 그 방법
JP2007523552A (ja) 多数のネットワーク側送信アンテナを介する通信方法
JP2012120094A (ja) 基地局装置

Legal Events

Date Code Title Description
A621 Written request for application examination

Free format text: JAPANESE INTERMEDIATE CODE: A621

Effective date: 20050411

TRDD Decision of grant or rejection written
A01 Written decision to grant a patent or to grant a registration (utility model)

Free format text: JAPANESE INTERMEDIATE CODE: A01

Effective date: 20080624

A01 Written decision to grant a patent or to grant a registration (utility model)

Free format text: JAPANESE INTERMEDIATE CODE: A01

A61 First payment of annual fees (during grant procedure)

Free format text: JAPANESE INTERMEDIATE CODE: A61

Effective date: 20080627

FPAY Renewal fee payment (event date is renewal date of database)

Free format text: PAYMENT UNTIL: 20110704

Year of fee payment: 3

R150 Certificate of patent or registration of utility model

Free format text: JAPANESE INTERMEDIATE CODE: R150

FPAY Renewal fee payment (event date is renewal date of database)

Free format text: PAYMENT UNTIL: 20110704

Year of fee payment: 3

FPAY Renewal fee payment (event date is renewal date of database)

Free format text: PAYMENT UNTIL: 20120704

Year of fee payment: 4

FPAY Renewal fee payment (event date is renewal date of database)

Free format text: PAYMENT UNTIL: 20120704

Year of fee payment: 4

FPAY Renewal fee payment (event date is renewal date of database)

Free format text: PAYMENT UNTIL: 20130704

Year of fee payment: 5

R250 Receipt of annual fees

Free format text: JAPANESE INTERMEDIATE CODE: R250

LAPS Cancellation because of no payment of annual fees