JP4123232B2 - 個人用電動理美容器具 - Google Patents

個人用電動理美容器具 Download PDF

Info

Publication number
JP4123232B2
JP4123232B2 JP2004532717A JP2004532717A JP4123232B2 JP 4123232 B2 JP4123232 B2 JP 4123232B2 JP 2004532717 A JP2004532717 A JP 2004532717A JP 2004532717 A JP2004532717 A JP 2004532717A JP 4123232 B2 JP4123232 B2 JP 4123232B2
Authority
JP
Japan
Prior art keywords
stator
slider
hairdressing
beauty
reciprocator
Prior art date
Legal status (The legal status is an assumption and is not a legal conclusion. Google has not performed a legal analysis and makes no representation as to the accuracy of the status listed.)
Expired - Fee Related
Application number
JP2004532717A
Other languages
English (en)
Other versions
JPWO2004020161A1 (ja
Inventor
良 本橋
実 黒澤
敏 中山
誠 藤原
Current Assignee (The listed assignees may be inaccurate. Google has not performed a legal analysis and makes no representation or warranty as to the accuracy of the list.)
Panasonic Electric Works Co Ltd
Original Assignee
Matsushita Electric Works Ltd
Priority date (The priority date is an assumption and is not a legal conclusion. Google has not performed a legal analysis and makes no representation as to the accuracy of the date listed.)
Filing date
Publication date
Application filed by Matsushita Electric Works Ltd filed Critical Matsushita Electric Works Ltd
Publication of JPWO2004020161A1 publication Critical patent/JPWO2004020161A1/ja
Application granted granted Critical
Publication of JP4123232B2 publication Critical patent/JP4123232B2/ja
Anticipated expiration legal-status Critical
Expired - Fee Related legal-status Critical Current

Links

Images

Classifications

    • AHUMAN NECESSITIES
    • A61MEDICAL OR VETERINARY SCIENCE; HYGIENE
    • A61CDENTISTRY; APPARATUS OR METHODS FOR ORAL OR DENTAL HYGIENE
    • A61C17/00Devices for cleaning, polishing, rinsing or drying teeth, teeth cavities or prostheses; Saliva removers; Dental appliances for receiving spittle
    • A61C17/16Power-driven cleaning or polishing devices
    • A61C17/22Power-driven cleaning or polishing devices with brushes, cushions, cups, or the like
    • A61C17/32Power-driven cleaning or polishing devices with brushes, cushions, cups, or the like reciprocating or oscillating
    • A61C17/34Power-driven cleaning or polishing devices with brushes, cushions, cups, or the like reciprocating or oscillating driven by electric motor
    • A61C17/3409Power-driven cleaning or polishing devices with brushes, cushions, cups, or the like reciprocating or oscillating driven by electric motor characterized by the movement of the brush body
    • A61C17/3481Vibrating brush body, e.g. by using eccentric weights
    • AHUMAN NECESSITIES
    • A61MEDICAL OR VETERINARY SCIENCE; HYGIENE
    • A61CDENTISTRY; APPARATUS OR METHODS FOR ORAL OR DENTAL HYGIENE
    • A61C17/00Devices for cleaning, polishing, rinsing or drying teeth, teeth cavities or prostheses; Saliva removers; Dental appliances for receiving spittle
    • A61C17/16Power-driven cleaning or polishing devices
    • A61C17/22Power-driven cleaning or polishing devices with brushes, cushions, cups, or the like
    • A61C17/32Power-driven cleaning or polishing devices with brushes, cushions, cups, or the like reciprocating or oscillating
    • A61C17/34Power-driven cleaning or polishing devices with brushes, cushions, cups, or the like reciprocating or oscillating driven by electric motor
    • A61C17/3409Power-driven cleaning or polishing devices with brushes, cushions, cups, or the like reciprocating or oscillating driven by electric motor characterized by the movement of the brush body
    • A61C17/3445Translation along the axis of the toothbrush handle
    • BPERFORMING OPERATIONS; TRANSPORTING
    • B26HAND CUTTING TOOLS; CUTTING; SEVERING
    • B26BHAND-HELD CUTTING TOOLS NOT OTHERWISE PROVIDED FOR
    • B26B19/00Clippers or shavers operating with a plurality of cutting edges, e.g. hair clippers, dry shavers
    • B26B19/28Drive layout for hair clippers or dry shavers, e.g. providing for electromotive drive
    • B26B19/282Motors without a rotating central drive shaft, e.g. linear motors
    • HELECTRICITY
    • H02GENERATION; CONVERSION OR DISTRIBUTION OF ELECTRIC POWER
    • H02NELECTRIC MACHINES NOT OTHERWISE PROVIDED FOR
    • H02N11/00Generators or motors not provided for elsewhere; Alleged perpetua mobilia obtained by electric or magnetic means
    • H02N11/006Motors
    • HELECTRICITY
    • H02GENERATION; CONVERSION OR DISTRIBUTION OF ELECTRIC POWER
    • H02NELECTRIC MACHINES NOT OTHERWISE PROVIDED FOR
    • H02N2/00Electric machines in general using piezoelectric effect, electrostriction or magnetostriction
    • H02N2/02Electric machines in general using piezoelectric effect, electrostriction or magnetostriction producing linear motion, e.g. actuators; Linear positioners ; Linear motors
    • H02N2/08Electric machines in general using piezoelectric effect, electrostriction or magnetostriction producing linear motion, e.g. actuators; Linear positioners ; Linear motors using travelling waves, i.e. Rayleigh surface waves
    • AHUMAN NECESSITIES
    • A45HAND OR TRAVELLING ARTICLES
    • A45DHAIRDRESSING OR SHAVING EQUIPMENT; EQUIPMENT FOR COSMETICS OR COSMETIC TREATMENTS, e.g. FOR MANICURING OR PEDICURING
    • A45D26/00Hair-singeing apparatus; Apparatus for removing superfluous hair, e.g. tweezers
    • A45D26/0023Hair-singeing apparatus; Apparatus for removing superfluous hair, e.g. tweezers with rotating clamping elements

Landscapes

  • Health & Medical Sciences (AREA)
  • Life Sciences & Earth Sciences (AREA)
  • Public Health (AREA)
  • Dentistry (AREA)
  • Epidemiology (AREA)
  • Animal Behavior & Ethology (AREA)
  • General Health & Medical Sciences (AREA)
  • Veterinary Medicine (AREA)
  • Mechanical Engineering (AREA)
  • Engineering & Computer Science (AREA)
  • Forests & Forestry (AREA)
  • Dry Shavers And Clippers (AREA)
  • Brushes (AREA)

Description

本発明は、個人用電動理美容器具、更に詳しくは、電気かみそり、電気バリカン、電動歯ブラシ等の、内蔵するモータによって往復駆動されることで所望の理美容処理を行う理美容要素を備えた個人用電動理美容器具に関するものである。
一般に、電気かみそり、電動バリカン、電動歯ブラシは、内蔵するモータの回転運動を往復運動に変換する運動変換装置が組み込まれ、電気かみそりの内刃、電動バリカンの可動刃、電動歯ブラシにおける歯ブラシのような理美容要素をこの運動変換装置に結合して往復運動させることで、所望の理美容処理を行っている。このような運動変換装置は、回転運動から往復運動への運動変換の効率が低いことから、ため、近年は、効率の点から電磁駆動のリニアアクチュエータを用いた理美容器具が提供されている。このリニアアクチュエータでは、コイルを備えた固定子と、磁性体の可動子とで構成され、固定子に対して可動子を電磁力で往復駆動して所望の理美容処理を行うものである。しかしながら、電磁駆動方式のリニアアクチュエータは、可動子を往復駆動させるための磁場を形成するためのコイルが大型になり、リニアアクチュエータ全体が大型で重量が大きくなってしまい、理美容器具を小型化・軽量化する上での障害となっていた。
本発明は上記の点に鑑みてなされたものであり、その目的とするところは、小型で軽量とすることができる個人用電動理美容器具を提供することである。本発明に係る理美容器具は、電気かみそりや電気バリカンや電動歯ブラシであり、使用者の手で把持されるハウジングと、このハウジングに保持される理美容要素と、この理美容要素を往復動させる往復子と、この往復子を作動させるモータとを備える。電気かみそりの場合は、外刃に摺動する内刃が理美容要素であり、電気バリカンの場合は、固定刃に摺動する可動刃が理美容要素であり、電動歯ブラシの場合は歯ブラシが理美容要素を構成する。上記のモータは表面弾性波リニアモータであり、固定子と固定子の表面で可動自在で上記往復子に結合されたスライダとで構成される。固定子とスライダとの一方にはトランスデューサ電極が形成され、この電極に交流電圧印加することにより、スライダを固定子の表面で往復駆動させる。このように表面弾性波リニアモータを使用することで、効率が良くて小型且つ軽量の理美容装置を提供することができる。
上のモータでは、スライダを固定子へ所定の接触圧で接触させるための弾性体が設けられ、両者の間に適切な摩擦力が与えられてスライダが固定子に対して効率よく往復駆動される。
好ましい実施形態においては、モータは固定子を固定支持するためのフレームを備え、このフレームに形成したリニアガイドへスライド自在にシャトルが支持され、このシャトルに往復子及び上記スライダが保持され、シャトルとスライダとを弾性体で結合して、スライダを固定子の表面へ付勢する。
この弾性体としてはバネを使用することができ、電気かみそりの場合は、内刃を外刃に対して付勢するバネを利用してスライダを固定子に対して付勢することが好適である。この場合、上記往復子に装着されるバネが内刃とスライダとの間で圧縮されて、内刃とスライダとをそれぞれ外刃や固定子とに付勢することができる。
また、固定子がシャトルのスライド方向と直交する方向に沿って移動自在となるように基台に支持され、基台と固定子との間に配した弾性体により固定子の表面がスライダに対して付勢接触させることも可能である。この場合は、弾性体はスライドと共に移動されることがないことから、フレーム内への組み付けが容易となる。
上述した発明の利点やその他の利点は、以下に図面を参照した実施形態の説明から明白となる。
図1は本発明の1実施形態に係る電気かみそりを示す一部切り欠き正面図。
図2は上記の電気かみそりの側断面図。
図3は上記の電気かみそりに使用される表面弾性波リニアモータの斜視図。
図4は往復子が固定された上記の表面弾性波リニアモータを示す正面図。
図5は往復子が固定された上記の表面弾性波リニアモータを示す側面図。
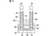
図6は上記のリニアモータの変更態様を示す側面図。
図7は電気かみそりに適用される他の表面弾性波リニアモータの正面図。
図8は上記の表面弾性波リニアモータの側面図。
図9は本発明の第2の実施形態に係る電動歯ブラシを示す一部切り欠き正面図。
図10は上記電動歯ブラシの側断面図。
図11は上記の電動歯ブラシに使用する表面弾性波リニアモータを示す斜視図。
図12は別の表面弾性波リニアモータを使用した電動歯ブラシを示す一部切り欠き正面図。
図1〜4は、本発明の個人用電動理美容器具を電気かみそりに適用した第1の実施形態を示すもので、内部に収めた表面弾性波(SAW)リニアモータ50によって、かみそりヘッド20の内刃22、すなわち、理美容要素を往復駆動してかみそりを行う。この電気かみそりは、リニアモータ50と共に充電池15を収容するハウジング10と、ハウジング10上端に着脱自在の刃ホルダー30とを備える。刃ホルダー30は、一対の外刃21を備え、ハウジング上端に突出する往復子40に保持された内刃22とでかみそりヘッド20を形成する。外刃21は刃ホルダー30に対して押し下げ自在に結合され、内刃22を外刃21に押しつけるバネの力に抗して、外刃21と内刃22とが押し下げられることが可能である。刃ホルダー30には、更に、両外刃21の間で、長髭用カッターユニットが装着される。このカッターユニットは、外刃31と内刃32とで構成され、内刃32は往復子40に結合され、内刃22と同時に往復駆動される。
表面弾性波(SAW)リニアモータ50は、図3に示すように、ハウジング10内の上端に固定されるフレーム52に保持された固定子61と、フレーム52に移動自在に支持されたスライダ62とを備える。フレーム52は絶縁性合成樹脂で成形されて、基台53及びこの基台と平行なリニアガイド55とを有し、リニアガイド55へシャトル56がスライド自在に保持される。このシャトル56にコイルバネ57を介して保持台58が支持され、保持台58にスライダ62が固定され、コイルバネ57のバネ力によりスライダ62を所定の接触圧にて固定子61の表面に押しつける。このコイルバネ57は短尺で撓みが少ないが、十分なバネ力でスライダ62を固定子61に押しつける。固定子61は、LiNbO(ニオブ酸リチウム)で形成された60×15×1mm程度の矩形の薄基板からなる弾性体であり、長手方向の両端部にそれぞれ、櫛形のトランスデューサ電極65が蒸着によって形成される。スライダ62はシリコンで形成された4×4×0.3mm程度の正方形の薄板であり、コイルバネ57にて固定子61の表面へ押しつけられる。また、シャトル56には、図4、5に示すように、往復子40が固定され、往復子40に取り付けられる内刃22、32がスライダ62と共にリニアガイド55の長手方向に沿って往復駆動される。
ハウジング10内に収めた基板12には、固定子61上に形成したトランスデューサ電極65へ高周波の交流電圧を印加するための制御回路が形成される。各電極65に高周波電圧が印加されることで、表面弾性波(レイリー波)が固定子61の表面で長手方向の一方向に沿って伝搬し、固定子61に押しつけられているスライダ62を逆方向に移動させる。すなわち、両電極65に対して、固定子61の表面に同方向の表面弾性波(レイリー波)が進行するように、高周波電圧を印加することで、スライダ62を往復駆動してシャトル56、往復子40を介して内刃22、32を往復駆動させる。リニアガイド55の長手方向の両端にはシャトル56に当接するストップ66が形成され、シャトル56の振幅、すなわち、往復子40の振幅を決定している。
高周波電圧としては、トランスデューサ電極65の共振周波数に等しい周波数、例えば、10MHzで3V〜70Vが印加されるものであり、スライダ62は固定子61に対して約30N程度の接触圧で押しつけられる。
上の実施形態では、固定子61にトランスデューサ電極65を形成した例を示したが、本発明は必ずしもこれのみに限定されるものではなく、スライダ62を弾性体としてLiNbO(ニオブ酸リチウム)で形成して、ここにトランスデューサ電極を形成し、固定子61をシリコンで形成するようにしてもよい。
図6は上の実施形態の一変更態様を示すもので、内刃22を外刃21に対して付勢するバネ64を利用して、スライダ62を固定子61へ押しつける。シャトル56と一体に形成される往復子40はシャトル56の上下に突出する筒体であり、内部にそれぞれ圧縮コイルバネ64が収められ、この圧縮コイルバネにより内刃22を上方へバネ付勢すると共に、スライダ62を固定子61へバネ付勢し、スライダ62と固定子61との間に適当な接触圧力を発生させる。内刃22は、圧縮コイルバネ64から上方へのバネ力を受ける形で、往復子40の上端へ上下移動自在に結合される。スライダ62は保持台58の下面に固定され、保持台58は上面に突出する2つの突起59を往復子40の下端内に嵌め込んでシャトル56に結合され、圧縮コイルバネ64のバネ力を受けて下方へ付勢されて、スライダ62と固定子61との間に接触圧を発生させる。この構成によれば、髭剃り時に、肌に強く外刃21を押しつけた際に、内刃22が外刃21と共に押し下げられ、これに伴ってコイルバネ64が更に圧縮されることで、スライダ62と固定子61との接触圧が高くなる。この場合、スライダ62と固定子61との接触圧と、スライダ62の駆動力との関係は、通常使用時の肌への外刃の押しつけ力の範囲において、この押しつけ力に伴うスライダ62と固定子61との間の接触圧が大きくなると、スライダの駆動力が大きくなるように設定しておくことで、円滑な髭剃りが行える。
図7、図8は他の変更態様を示すもので、スライダ62と固定子61との間に接触圧を発生させるために、バネ64により固定子61をスライダ62に向けてバネ付勢させている。固定子61は、フレーム52の基台53に対して移動自在のフロート54に固定され、基台53とフロート54との間に配したバネ64にて固定子61とスライダ62との間の接触圧を得ている。スライダ62はシャトル56の下面に固定され、スライダ62の往復動が直接シャトル56に伝達され、往復子40を介して内刃を往復動させる。
図9〜図11は、本発明の個人用電動理美容器具を電動歯ブラシに適用して、理美容要素である歯ブラシ120を往復駆動させる第2実施形態を示す。電動歯ブラシは細長筒形状のハウジング100と、ハウジング100から突出する往復子140へ着脱自在の歯ブラシ120とで構成され、ハウジング100内に、上の実施例と同様の表面弾性波リニアモータ50が、充電池15や、高周波電圧をモータに印加する制御回路を構成する基板112と共に内蔵される。モータ50は、リニアガイド55をハウジング100の軸方向に一致させてハウジング内に収められ、往復子140の一端をリニアガイド55と平行となるようにシャトル56に固定している。モータ50はフレーム52の基台53でハウジング100に固定され、図11に示すように、スライダ62がバネ57により固定子61に向けて付勢される。
図12は上の電動歯ブラシの変更態様を示すもので、図7及び図8を参照して説明したように固定子61をバネ64にてスライダ62に付勢するモータ50が使用され、スライダ62を直接支持するシャトル56に往復子40が支持される。
図示の実施形態では、本発明の理美容器具を電気かみそりや電動歯ブラシに適用した例を示したが、本発明はこれのみに限定されるものではなく、理美容要素が往復動を行うことで所望の理美容処理を達成する理美容器具に適用できるものである。例えば、固定刃と可動刃とを備えた電気バリカンでは、理美容要素である可動刃を保持する往復子を駆動させるために、上記の表面弾性波リニアモータが使用される。
また、図示の実施形態では、スライダ62と固定子61との間に接触圧を与えるための弾性体としてコイルバネを使用した例を示しているが、本発明は必ずしもこれのみに限定されるものではなく、その他のバネや弾性材料を使用することが可能である。

Claims (3)

  1. 使用者の手で把持されるハウジングと
    上記ハウジングに保持された理美容要素と、
    上記ハウジングに支持され上記理美容要素を往復動させて理美容処理を行うための往復子と、
    上記ハウジング内に収容されて上記の往復子を作動させるモータとを備え、
    上記モータが表面弾性波リニアモータであり、このリニアモータは固定子と、固定子の表面で可動自在で上記往復子に結合されたスライダとで構成され、固定子とスライダとの一方に設けたトランスデューサ電極が交流電圧を受けてスライダを固定子の表面で往復駆動させ
    上記理美容器具は電気かみそりであり、上記理美容要素はかみそりの外刃に摺動する内刃であり、
    上記モータは上記固定子を固定支持するためのフレームを備え、このフレームに形成したリニアガイドへスライド自在にシャトルが支持され、このシャトルに上記往復子及び上記スライダが保持され、
    上記往復子に装着される弾性体が内刃とスライダとの間で圧縮されて、内刃とスライダとをそれぞれ外刃や固定子とに向けて付勢したことを特徴とする個人用電動理美容器具。
  2. 請求の範囲に記載の個人用電動理美容器具において、
    上記固定子にトランスデューサ電極が設けられた。
  3. 請求の範囲に記載の個人用電動理美容器具において、
    上記スライダにトランスデューサ電極が設けられた。
JP2004532717A 2002-08-27 2003-08-26 個人用電動理美容器具 Expired - Fee Related JP4123232B2 (ja)

Applications Claiming Priority (3)

Application Number Priority Date Filing Date Title
JP2002247818 2002-08-27
JP2002247818 2002-08-27
PCT/JP2003/010802 WO2004020161A1 (ja) 2002-08-27 2003-08-26 個人用電動理美容器具

Publications (2)

Publication Number Publication Date
JPWO2004020161A1 JPWO2004020161A1 (ja) 2005-12-15
JP4123232B2 true JP4123232B2 (ja) 2008-07-23

Family

ID=31972486

Family Applications (1)

Application Number Title Priority Date Filing Date
JP2004532717A Expired - Fee Related JP4123232B2 (ja) 2002-08-27 2003-08-26 個人用電動理美容器具

Country Status (3)

Country Link
JP (1) JP4123232B2 (ja)
AU (1) AU2003261732A1 (ja)
WO (1) WO2004020161A1 (ja)

Cited By (3)

* Cited by examiner, † Cited by third party
Publication number Priority date Publication date Assignee Title
US9755491B2 (en) 2012-01-30 2017-09-05 Mitsumi Electric Co., Ltd. Actuator and electrical appliance having fixed member with a coil and movable members having magnets
KR20180036720A (ko) 2015-08-04 2018-04-09 미쓰미덴기가부시기가이샤 액추에이터 및 전동 이미용 기구
US10855154B2 (en) 2016-03-31 2020-12-01 Mitsumi Electric Co., Ltd. Actuator and electric beautifying device

Families Citing this family (1)

* Cited by examiner, † Cited by third party
Publication number Priority date Publication date Assignee Title
EP4145697A1 (en) 2021-09-01 2023-03-08 Braun GmbH Motor unit and personal care device comprising a motor unit

Family Cites Families (4)

* Cited by examiner, † Cited by third party
Publication number Priority date Publication date Assignee Title
JPH0523445A (ja) * 1991-07-25 1993-02-02 Matsushita Electric Works Ltd 往復式電気かみそり
JP3795123B2 (ja) * 1996-02-26 2006-07-12 独立行政法人科学技術振興機構 弾性表面波モータ
JPH09252843A (ja) * 1996-03-26 1997-09-30 Matsushita Electric Works Ltd 電動歯ブラシ
JP3741875B2 (ja) * 1998-09-28 2006-02-01 独立行政法人科学技術振興機構 自走式弾性表面波モータ

Cited By (4)

* Cited by examiner, † Cited by third party
Publication number Priority date Publication date Assignee Title
US9755491B2 (en) 2012-01-30 2017-09-05 Mitsumi Electric Co., Ltd. Actuator and electrical appliance having fixed member with a coil and movable members having magnets
KR20180036720A (ko) 2015-08-04 2018-04-09 미쓰미덴기가부시기가이샤 액추에이터 및 전동 이미용 기구
US10715022B2 (en) 2015-08-04 2020-07-14 Mitsumi Electric Co., Ltd. Actuator and electric beauty device
US10855154B2 (en) 2016-03-31 2020-12-01 Mitsumi Electric Co., Ltd. Actuator and electric beautifying device

Also Published As

Publication number Publication date
WO2004020161A1 (ja) 2004-03-11
JPWO2004020161A1 (ja) 2005-12-15
AU2003261732A1 (en) 2004-03-19

Similar Documents

Publication Publication Date Title
JP5174808B2 (ja) 切断装置及び毛髪切断器具
CN105471217B (zh) 线性致动器、电动刷、电动切削机以及电动充气泵
US5794342A (en) Oscillating blade razor
CN101801618B (zh) 个人护理设备
US20070283565A1 (en) Multi type head moving shaver
JP4576919B2 (ja) 往復式電気かみそり
US3756105A (en) Ultrasonic electric shaver
KR200470946Y1 (ko) 피부 관리 기기
JPS63220898A (ja) 振動形電気かみそり
CA2582878A1 (en) Razors
CN108356857B (zh) 电动剃毛装置
JP4123232B2 (ja) 個人用電動理美容器具
JP2024035158A (ja) 電動除毛装置、キット、及びアタッチメント
US20050188540A1 (en) Vibrating razor head
JP2011200602A (ja) 電気かみそり
US3750279A (en) Dry shaver construction
US3431644A (en) Electrically operated safety razor
EP4637006A1 (en) Vibratory linear actuator and electric toothbrush
JP2003181165A (ja) 振動カミソリ
JP2001340669A (ja) 振動式かみそり
JP3100753B2 (ja) 切断装置
KR20180047458A (ko) 경락 및 진동 겸용 마사지 기구
JPH09313758A (ja) 往復式電気かみそり
RU37335U1 (ru) Электробритва
KR200473832Y1 (ko) 초음파진동증폭기를 가지는 면도기

Legal Events

Date Code Title Description
TRDD Decision of grant or rejection written
A01 Written decision to grant a patent or to grant a registration (utility model)

Free format text: JAPANESE INTERMEDIATE CODE: A01

Effective date: 20080408

A01 Written decision to grant a patent or to grant a registration (utility model)

Free format text: JAPANESE INTERMEDIATE CODE: A01

A61 First payment of annual fees (during grant procedure)

Free format text: JAPANESE INTERMEDIATE CODE: A61

Effective date: 20080421

FPAY Renewal fee payment (event date is renewal date of database)

Free format text: PAYMENT UNTIL: 20110516

Year of fee payment: 3

S533 Written request for registration of change of name

Free format text: JAPANESE INTERMEDIATE CODE: R313533

FPAY Renewal fee payment (event date is renewal date of database)

Free format text: PAYMENT UNTIL: 20110516

Year of fee payment: 3

R350 Written notification of registration of transfer

Free format text: JAPANESE INTERMEDIATE CODE: R350

FPAY Renewal fee payment (event date is renewal date of database)

Free format text: PAYMENT UNTIL: 20120516

Year of fee payment: 4

FPAY Renewal fee payment (event date is renewal date of database)

Free format text: PAYMENT UNTIL: 20120516

Year of fee payment: 4

FPAY Renewal fee payment (event date is renewal date of database)

Free format text: PAYMENT UNTIL: 20130516

Year of fee payment: 5

FPAY Renewal fee payment (event date is renewal date of database)

Free format text: PAYMENT UNTIL: 20130516

Year of fee payment: 5

FPAY Renewal fee payment (event date is renewal date of database)

Free format text: PAYMENT UNTIL: 20140516

Year of fee payment: 6

LAPS Cancellation because of no payment of annual fees