JP4098024B2 - レーザスポット溶接方法 - Google Patents

レーザスポット溶接方法 Download PDF

Info

Publication number
JP4098024B2
JP4098024B2 JP2002223866A JP2002223866A JP4098024B2 JP 4098024 B2 JP4098024 B2 JP 4098024B2 JP 2002223866 A JP2002223866 A JP 2002223866A JP 2002223866 A JP2002223866 A JP 2002223866A JP 4098024 B2 JP4098024 B2 JP 4098024B2
Authority
JP
Japan
Prior art keywords
laser beam
laser
light
irradiation
processing point
Prior art date
Legal status (The legal status is an assumption and is not a legal conclusion. Google has not performed a legal analysis and makes no representation as to the accuracy of the status listed.)
Expired - Fee Related
Application number
JP2002223866A
Other languages
English (en)
Other versions
JP2004058140A (ja
Inventor
洋介 川人
俊治 岡田
Current Assignee (The listed assignees may be inaccurate. Google has not performed a legal analysis and makes no representation or warranty as to the accuracy of the list.)
Panasonic Corp
Panasonic Holdings Corp
Original Assignee
Panasonic Corp
Matsushita Electric Industrial Co Ltd
Priority date (The priority date is an assumption and is not a legal conclusion. Google has not performed a legal analysis and makes no representation as to the accuracy of the date listed.)
Filing date
Publication date
Application filed by Panasonic Corp, Matsushita Electric Industrial Co Ltd filed Critical Panasonic Corp
Priority to JP2002223866A priority Critical patent/JP4098024B2/ja
Publication of JP2004058140A publication Critical patent/JP2004058140A/ja
Application granted granted Critical
Publication of JP4098024B2 publication Critical patent/JP4098024B2/ja
Anticipated expiration legal-status Critical
Expired - Fee Related legal-status Critical Current

Links

Images

Landscapes

  • Laser Beam Processing (AREA)

Description

【0001】
【発明の属する利用分野】
本発明は難加工材料に好適に適用できるレーザスポット溶接方法に関する。
【0002】
【従来の技術】
高反射率材料である純銅や純アルミのレーザ接合技術は、近い将来に非常に重要な技術のひとつになると考えられる。純銅と純銅の接合の応用分野として電子部品間の半田に代わる半田フリー技術として期待できる。これはリサイクルの観点からも、半田を取り除く工程が不要になるので、コスト・環境に対しても有利な技術といえる。一方、アルミの接合も、リサイクルおよび軽量化の観点から、様々な分野に利用さている。具体的には、従来から自動車のシャーシや車載部品への応用が進められており、近年、電子機器分野(代表例として、携帯電話の電池の外装材等)へも応用が開始されている。
【0003】
一般にレーザ溶接に用いられるレーザは、炭酸ガスレーザ(波長:10.6μm)や基本波YAGレーザ(波長:1.064μm)で、これらの波長はいずれも近赤外線領域にある。純銅、純アルミ等の高反射率材料に対するこれらの波長帯の光の反射率は99%以上であり、これらのレーザ光はほとんど吸収されない。換言すれば、炭素鋼、ニッケル等のレーザ溶接が一般的に適用される材料に比べて高反射率材料のレーザ光の吸収率は一桁以上も低い。さらにこれら高反射率材料の熱伝導率は、炭素鋼、ステンレス鋼等のレーザ溶接が一般的に適用される材料の熱伝導率の2倍以上も高い。このことは、高反射率材料では加工部に高い加工エネルギーを投入し、溶融させることが難しいことを示している。
【0004】
加工エネルギーを投入し、溶融させることが困難であるという課題に対しては、レーザ発振形態の異なる2種類のレーザ光を加工点に同時に照射し、第1のレーザ光よりもエネルギー密度が高く、照射時間が短い第2のレーザ光で穴加工を行うと同時に、第1のレーザ光をこの穴内で多重散乱させることにより穴内に閉じ込めることで、レーザ加工効率を向上させるレーザ溶接方法が用いられている。この溶接方法によれば、投入できるエネルギー量を改善することが可能である。
【0005】
しかし、一旦これらの材料が加熱され溶融が開始すると、吸収率が増加するため、一気に加工が進んでしまうという別の考慮すべき面も存在する。これらの理由から、純銅、純アルミに対するレーザ加工では、非常に安定した加工品質を維持するのが難しい。特に、マイクロ領域(約φ2mm以下)の溶接加工では、これらの課題が顕著化してしまう。
【0006】
【発明が解決しようとする課題】
純銅、純アルミ等の高反射率材料のレーザ溶接方法における課題として2点挙げられる。
【0007】
1つ目の課題は、レーザ光の波長に対して高反射率の材料(難加工材料)に対して、発振形態の異なる2種類のレーザ光を加工点で空間的、時間的に一致するように照射するレーザ溶接方法では、投入するエネルギー量が大きいという点である。例えば純銅に溶融深さ2百μm程度の溶融部を形成するためには数J程度のエネルギーを投入する必要がある。これに対して、炭素鋼、ステンレス等に深さ2百μmの溶融部を形成するために必要な投入エネルギーは数十mJ〜数百mJである。このように、高反射率材料に対するレーザ溶接方法は、投入エネルギーに対する加工効率が悪い。このような加工性悪さを改善するには、単純にレーザ光照射時間を大きくしたり、エネルギー密度を上げたりするだけでは十分でない。その理由としては、次のような問題があるからである。レーザ光照射時間を増加させた場合、加工部周辺への熱影響や加工領域の酸化が生じる。また、エネルギー密度を上げた場合、僅かな加工表面状態の違いによって加工点での溶融の開始時間が変化すると、加工ばらつきが大きくなり、加工品質を一定に保つことが難しい。さらに、投入エネルギーが大きすぎると、溶融材料が吹き飛んでしまい、加工後に穴が埋まらず接合されない加工不良であるアンダーフィルドスポットウェルドの発生確率が増大するので、やみくもにエネルギー密度を増大させることはできない。
【0008】
2つ目の課題は、純銅や純アルミ等の高反射率材料は、溶融させるには高いピークパワーが必要であるが、一旦溶融すると反射率が急激に低下し吸収率が増加するため、高いピークパワーのままであると一気に加工が進んでしまうという点である。この課題に対しては、上述した異なる2種類のレーザを用いた従来の加工方法では解決できず、加工品質を一定に保つことが難しく、新たな工夫が必要である。
【0009】
以上のように、高反射率材料に対してマイクロスポットレーザ溶接を実施するには、投入エネルギーに対する加工効率の向上と、レーザのピークパワーが高い状態で溶融のための吸収率が増加することに起因する課題とを解決する必要がある。特にマイクロ領域の加工ではこれらの課題が顕在化し、加工を不安定にさせる大きな要因となっている。
【0010】
本発明は、上記の従来の課題を解決し、投入エネルギーに対する加工効率が向上し、レーザのピークパワーが高い状態で溶融のための吸収率が増加することに起因する加工品質の不安定が解消できるレーザスポット溶接方法を提供することを目的とする。
【0011】
【課題を解決するための手段】
本発明は上記の目的を達成するために以下のように構成される。
【0012】
本発明のレーザスポット溶接方法は、第1及び第2のレーザ光のスポットを被加工物の加工点に一致させるレーザスポット溶接方法であって、前記第1のレーザ光を照射中に、前記第1のレーザ光よりもエネルギー密度が高く照射時間が短いパルス状の第2のレーザ光を前記加工点に照射し、次いで、前記第1のレーザ光を単独で前記加工点に照射することにより、前記被加工物に穴を形成し、前記穴内で前記第1のレーザ光を多重散乱させて前記被加工物材料を溶融せしめる
第1のレーザスポット溶接方法では、前記第2のレーザ光の照射期間終了後で前記加工点からの正反射光の強度が増加し始めた時に、前記第1のレーザ光のエネルギー密度を最大とする。
第2のレーザスポット溶接方法では、前記加工点からの正反射光を計測し、正反射光の強度変化に基づいて前記被加工物材料が溶融したことを検知し、前記第1のレーザ光のエネルギー密度と照射時間とを制御する。
第3のレーザスポット溶接方法では、前記第2のレーザ光の照射期間終了後に、前記第1のレーザ光を単独で照射中に前記加工点からの近赤外線を計測し、前記近赤外線の変化に基づいて前記第1のレーザ光の照射を停止する。
【0016】
【発明の実施の形態】
本発明のレーザスポット溶接方法では、第1のレーザ光と、これよりもエネルギー密度が高く照射時間が短いパルス状の第2のレーザ光とを同時に加工点に照射し、被加工物に穴を形成し、穴内で第1のレーザ光を多重散乱させる。これにより、高反射率材料に対する加工効率の向上を図る。一方、高反射率材料料に関するレーザのピークパワーが高い状態で溶融のための吸収率が増加することに起因する問題に関しては、第2のレーザ光を照射した後、第1のレーザ光を単独で照射することで解決を図る。
【0017】
本発明者らは、高反射率材料の溶接加工における上述した問題は、溶接プロセスのどの段階でエネルギーをどの程度投入するかに強く起因していると考えた。つまり、溶融部が形成される前又は形成途中にどれだけのエネルギーを投入するか、また、溶融部が形成された後にどれだけのエネルギーを投入するかに起因していると考えた。溶融部の形成前及び形成途中の段階では、反射率が低いため、第1のレーザ光に加えてエネルギー密度が高い第2のレーザ光を照射する。しかしながら、溶融部が形成されると、反射率および熱伝導率が急激に減少するため加工性が向上する。その時点で第1及び第2のレーザ光を照射し続けると、投入エネルギーが過剰となるので、アンダーフィルドスポットウェルドのように溶融材料が吹き飛んでしまう欠陥が発生する。従って、溶融部が形成された後は、第1のレーザ光を単独で照射することにより、投入エネルギーを減少させ、加工の進行を抑える。これにより、高反射率材料の溶接加工においても、深い溶け込みが得られ、アンダーフィルドスポットウェルドのような加工不良の発生を防止して、加工品質を安定させることが可能になる。
【0018】
本発明のレーザスポット溶接方法において、前記パルス状の第2のレーザ光の照射期間内に投入される前記第1のレーザ光によるエネルギー量より、前記第2のレーザ光の照射期間終了後に投入される前記第1のレーザ光によるエネルギー量が大きいことが好ましい。上述した通り、溶融後は、高反射率材料の反射率は急激に低下するので、被加工物内に蓄熱するのが容易になる。従って、溶融部の形成途中にエネルギーを投入するよりも、溶融部形成後にエネルギーを投入する方が、投入エネルギーに対する加工効率は向上する。よって、かかる好ましい構成により、少ない投入エネルギーで効率よく高反射率材料の溶接加工を行うことができる。
【0019】
発明の第1のレーザスポット溶接方法では、前記第2のレーザ光の照射期間終了後に前記第1のレーザ光を単独で照射中に、前記加工点からの正反射光の強度が増加し始めた時に、前記第1のレーザ光のエネルギー密度を最大とする。これにより、投入エネルギーに対する加工効率はより一層向上する。
ここで、レーザ光のエネルギー密度dE(単位:W/m2)とは、レーザ光の投入エネルギーをE(単位:J)、照射時間をT(単位:s)、照射面積をS(単位:m2)としたとき、dE=(E/T)/Sで表される。ここで、E/Tはレーザピークパワーと呼ばれる。
【0020】
また、本発明の第2のレーザスポット溶接方法では、前記加工点からの反射光を計測し、反射光の強度変化に基づいて前記被加工物材料が溶融したことを検知し、前記第1のレーザ光のエネルギー密度と照射時間とを制御する。一般に、加工点からの反射光強度は、加工開始後キーホールが形成(即ち、溶融部が形成)されるまでの間は逓減し、その後、逓増する傾向がある。従って、反射光の変化から被加工物材料が溶融したことを検知し、第1のレーザ光のエネルギー密度と照射時間とを制御することにより、投入エネルギーに対する加工効率を向上させることができる。
【0021】
また、本発明の第3のレーザスポット溶接方法では、前記第2のレーザ光の照射期間終了後に、前記第1のレーザ光を単独で照射中に前記加工点からの近赤外線を計測し、前記近赤外線の変化に基づいて前記第1のレーザ光の照射を停止する。本発明者らは加工表面の酸化の進行と加工点からの近赤外線の強度との間には関連性があることを見いだした。従って、かかる構成により、加工部の酸化を抑制することができる。
【0024】
以下、本発明を実施の形態を用いて説明する。
【0025】
(実施の形態1)
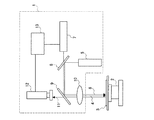
図1は、本発明の実施の形態1にかかるレーザスポット溶接装置1の概略構成図である。図1中、2は被加工物(例えば純銅)3の板を載置し、その位置を制御するXYZステージである。5は波長532nmのレーザ光(第2のレーザ光)4を発生するAOQスイッチ第2高調波YAGレーザ発振器、7は波長1064nmのレーザ光(第1のレーザ光)6を発生する基本波YAGパルスレーザ発振器である。8は、波長532nmのレーザ光4を反射し、波長1064nmのレーザ光6を透過させる誘電体コートが施されたミラー、9は、波長532nmのレーザ光4と波長1064nmのレーザ光6とを95%反射し、これら以外の波長の光を透過させる誘電体コートが施されたミラーである。10は集光レンズ、12は正反射光11のうち波長1064nmの光を計測するフォトセンサ、13はレーザ発振器7を制御する制御装置である。
【0026】
[実施例1]
図1の装置を用いて30mm×40mm×100μm厚の純銅からなる被加工物3に溶融部を形成した。
【0027】
レーザ発振器5から出射した波長532nmの第2高調波YAGレーザ光4とレーザ発振器7から出射した波長1064nmの基本波YAGレーザ光6とをミラー8に入射させ、レーザ光4を反射させ、レーザ光6を透過させて、2つのレーザ光4,6の光軸を揃えた。レーザ光4,6をミラー9で反射させ、集光レンズ10で集光して、純銅3の加工点で各レーザ光のスポットを空間的に一致するように照射した。レーザ光4のスポット径は30μm、レーザ光6のスポット径は150μmとした。
【0028】
図2(A),図2(B)は、それぞれレーザ光6及びレーザ光4の波形図である。図2(A),図2(B)の横軸は時間、縦軸はエネルギー密度をそれぞれ示す。図2(A),図2(B)に示すように時刻t0〜時刻t10の間の10ms間に基本波YAGレーザ光6を投入エネルギー7.5Jで照射した。レーザ光6のエネルギー密度は4.24×107(kW/m2)で一定とした。基本波YAGレーザ光6の照射開始と同時に、エネルギー密度1.45×1010(kW/m2)の第2高調波YAGレーザ光4をパルス幅78nsで1kHz繰り返しで4回、投入エネルギー0.8mJで照射した。
【0029】
レーザ光4を照射することにより純銅3の表面に直径30μm程度の穴が形成され、レーザ光4の照射後、レーザ光6が該穴内で多重散乱して溶融部が形成された。得られた溶融部径は177μmであり、アンダーフィルドスポットウェルドのような加工不良が発生することなく、深い溶け込みが得られた。
【0030】
比較例として、基本波YAGレーザ光6の照射条件を投入エネルギー7.5Jで4msとする以外は上記と同様にした。その結果、溶融部径は80μm程度であった。従って、本実施例1により、効率よく良好な溶け込み形状を得ることができた。
【0031】
[実施例2]
本実施例2が実施例1と相違するのは、波長1064nmの基本波YAGレーザ光6の照射条件を以下のように変更した点のみである。
【0032】
図3(A),図3(B)は、それぞれレーザ光6及びレーザ光4の波形図である。図3(A),図3(B)の横軸は時間、縦軸はエネルギー密度をそれぞれ示す。図3(A),図3(B)に示すように時刻t0〜時刻t10の間の10ms間に基本波YAGレーザ光6を投入エネルギー7.5Jで照射した。基本波YAGレーザ光6の照射開始と同時に、エネルギー密度1.45×1010(kW/m2)の第2高調波YAGレーザ光4をパルス幅78nsで1kHz繰り返しで4回、投入エネルギー0.8mJで照射した。レーザ光6は、レーザ光4が照射される時刻t0〜時刻t2の期間(3ms)内に全投入エネルギー7.5Jのうちの1.7割に相当する1.3Jを、レーザ光4の照射期間終了後の時刻t2〜時刻t10の期間(7ms)内に残りの8.1割に相当する6.1Jを投入した。レーザ光6のエネルギー密度は、時刻t0〜時刻t2の間は2.50×107(kW/m2)で一定とし、時刻t2〜時刻t10の間は4.99×107(kW/m2)で一定とした。
【0033】
レーザ光4を照射することにより純銅3の表面に直径30μm程度の穴が形成され、レーザ光4の照射後、レーザ光6が該穴内で多重散乱して溶融部が形成された。得られた溶融部径は281μmであり、実施例1より効率よく溶融部を形成することができた。また、溶融部は厚さ100μmの純銅3の裏面(レーザ光の入射側とは反対側の面)まで達し、裏面での溶融部径は186μmであった。また、実施例1と同様にアンダーフィルドスポットウェルドのような加工不良が発生することなく、深い溶け込みが得られた。
【0034】
[実施例3]
本実施例3が実施例1と相違するのは、純銅3の加工点からの正反射光を測定し、正反射光の強度変化に基づいて純銅3が溶融したことを検知し、基本波YAGレーザ光6のエネルギー密度と照射時間を制御した点、及び、波長1064nmの基本波YAGレーザ光6の照射条件を以下のように変更した点のみである。
【0035】
図1に示す装置を用い、純銅3の加工点での正反射光11を集光レンズ10を通過させ、更にその一部をミラー9を透過させてフォトセンサ12に入射させた。フォトセンサ12は、正反射光11のうち波長1064nmの光の強度に応じた信号を出力し、制御装置13は、この信号強度に応じてレーザ発振器7を制御して、これから出射される波長1064nmのレーザ光6のエネルギー密度と照射時間が調整されるように設定されている。
【0036】
図4(A),図4(B)は、それぞれレーザ光6及びレーザ光4の波形図である。図4(A),図4(B)の横軸は時間、縦軸はエネルギー密度をそれぞれ示す。図4(A),図4(B)に示すように時刻t0〜時刻t10の間の10ms間に基本波YAGレーザ光6を投入エネルギー7.5Jで照射した。基本波YAGレーザ光6の照射開始と同時に、エネルギー密度1.45×1010(kW/m2)の第2高調波YAGレーザ光4をパルス幅78nsで1kHz繰り返しで4回、投入エネルギー0.8mJで照射した。
【0037】
図5にフォトセンサ12で検出された波長1064nmの反射光強度を示す。図5において、横軸は時間、縦軸は正反射光11の強度である。正反射光11の強度は、時刻t0でレーザ光4,6の照射を開始した後徐々に減衰し、レーザ光4の照射が終了した後の時刻t4〜時刻t5の約2ms間一定の値になってから、時刻t5で再び増加し始めた。この正反射光11の変化をフォトセンサー12で検知し、正反射光11が増加し始めた時刻t5(レーザ光の照射開始から7ms経過した時)に、レーザ光6のエネルギー密度を増加させた。即ち、図4(A)に示すように、時刻t5にレーザ光6のエネルギー密度を13.1×107(kW/m2)に上昇させ、時刻t5から1msの間に、レーザ光6の全投入エネルギー7.5Jの3.1割に相当する2.32Jを投入した。この期間以外のレーザ光6のエネルギー密度は3.26×107(kW/m2)で一定とした。
【0038】
得られた溶融部径は、レーザ光の入射側の面で272μm、レーザ光の出射側の面で188μmであった。実施例2に比べて、溶融部径の表裏の差が小さくなり(即ち、溶融部のテーパ角度が小さくなり)、溶融部形状が改善された。また、実施例1と同様にアンダーフィルドスポットウェルドのような加工不良が発生することなく、深い溶け込みが得られた。
【0039】
(実施の形態2)
図6は、本発明の実施の形態2にかかるレーザスポット溶接装置14の概略構成図である。図6中、2は被加工物(例えば純銅)3の板を載置し、その位置を制御するXYZステージである。5は波長532nmのレーザ光(第2のレーザ光)4を発生するAOQスイッチ第2高調波YAGレーザ発振器、7は波長1064nmのレーザ光(第1のレーザ光)6を発生する基本波YAGパルスレーザ発振器である。8は、波長532nmのレーザ光4を反射し、波長1064nmのレーザ光6を透過させる誘電体コートが施されたミラー、15は、波長532nmのレーザ光4と波長1064nmのレーザ光6とを反射し、波長1.25μm以上の近赤外光を透過させる誘電体コートが施されたミラーである。10は集光レンズ、17は加工点から出射し、集光レンズ10及びミラー15を透過した波長1.55μmの近赤外光16を計測するInGaAsのフォトセンサ、18はレーザ発振器7を制御する制御装置である。
【0040】
[実施例4]
図6の装置を用いて30mm×40mm×200μm厚の純銅からなる被加工物3に溶融部を形成した。
【0041】
レーザ発振器5から出射した波長532nmの第2高調波YAGレーザ光4とレーザ発振器7から出射した波長1064nmの基本波YAGレーザ光6とをミラー8に入射させ、レーザ光4を反射させ、レーザ光6を透過させて、2つのレーザ光4,6の光軸を揃えた。レーザ光4,6をミラー15で反射させ、集光レンズ10で集光して、純銅3の加工点で各レーザ光のスポットを空間的に一致するように照射した。レーザ光4のスポット径は30μm、レーザ光6のスポット径は150μmとした。
【0042】
図7(A),図7(B)は、それぞれレーザ光6及びレーザ光4の波形図である。図7(A),図7(B)の横軸は時間、縦軸はエネルギー密度をそれぞれ示す。図7(A),図7(B)に示すように時刻t0〜時刻t10の間の20ms間に基本波YAGレーザ光6を投入エネルギー20Jで照射した。レーザ光6のエネルギー密度は5.66×107(kW/m2)で一定とした。基本波YAGレーザ光6の照射開始と同時に、エネルギー密度1.45×1010(kW/m2)の第2高調波YAGレーザ光4をパルス幅78nsで1kHz繰り返しで7回、投入エネルギー0.8mJで照射した。加工点から出射した波長1.55μmの近赤外光16を集光レンズ10、ミラー15を順に透過させてフォトセンサ17に入射させた。
【0043】
フォトセンサ17により計測された近赤外光16の強度を図8に示す。図8において、横軸は時間、縦軸は近赤外光16の正規化された強度である。図8に示すように、近赤外光16はレーザ光4,6の照射を開始した時刻t0から12ms経過した時刻t6まで増加し、その後、約2msの間減少し、時刻t7から再び増加に転じた。
【0044】
図9(A)、図9(B)、図9(C)、図9(D)は、レーザ光6の照射時間を順に10ms、12ms、14ms、20msとした以外は図7(A),図7(B)と同じ条件でレーザ光4,6を照射したときの純銅3のレーザ光照射側の面の加工部を写した写真である。これらから、図9(C)の14ms程度で加工を終了したとき、加工形状、表面の溶融状態、および加工部周辺部の酸化状態が良好であることが分かる。レーザ光の照射開始から14msは、図8より近赤外光16の強度が減少傾向から再び増加に転じる時刻t7に相当する。
【0045】
そこで、次に、上記と同様の条件でレーザ光4,6を照射しながら、フォトセンサ17で近赤外光16を計測し、制御装置18を用いて近赤外光16の強度が減少傾向から再び増加に転じる時刻t7を検出し、レーザ発振器7を停止するように制御したところ(レーザ光6の投入エネルギーは14J)、形状、溶融状態、および酸化状態が良好な加工部を得ることができた。
【0046】
上記の実施例1〜4では、単層の純銅にレーザ光を照射して溶融部を形成する例を示した。実際の溶接加工では金属板が2枚以上積層される。この場合も上記の実施例で得られたのと定性的に同じ結果が得られることを確認した。
【0047】
【発明の効果】
以上のように、本発明により、高反射率材料の溶接加工においても、深い溶け込みが得られ、アンダーフィルドスポットウェルドのような加工不良の発生を防止して、加工品質を安定させることが可能になる。
【図面の簡単な説明】
【図1】 本発明の実施の形態1にかかるレーザスポット溶接装置の概略構成を示した図
【図2】 図2(A),図2(B)は、それぞれ本発明の実施例1における基本波YAGレーザ光及び第2高調波YAGレーザ光の波形図
【図3】 図3(A),図3(B)は、それぞれ本発明の実施例2における基本波YAGレーザ光及び第2高調波YAGレーザ光の波形図
【図4】 図4(A),図4(B)は、それぞれ本発明の実施例3における基本波YAGレーザ光及び第2高調波YAGレーザ光の波形図
【図5】 本発明の実施例3において、加工部からの波長1064nmの反射強度の変化を示した図
【図6】 本発明の実施の形態2にかかるレーザスポット溶接装置の概略構成を示した図
【図7】 図7(A),図7(B)は、それぞれ本発明の実施例4における基本波YAGレーザ光及び第2高調波YAGレーザ光の波形図
【図8】 本発明の実施例4において、加工部からの近赤外光の強度の変化を示した図
【図9】 図9(A)、図9(B)、図9(C)、図9(D)は、本発明の実施例3において、基本波レーザ光の照射時間を10ms、12ms、14ms、20msとしたときの純銅のレーザ光照射側の面の加工部を写した写真
【符号の説明】
1 レーザスポット溶接装置
2 XYZステージ
3 被加工物
4 高調波YAGレーザ光(第2のレーザ光)
5 AOQスイッチ第2高調波YAGレーザ発振器
6 基本波YAGレーザ光(第1のレーザ光)
7 基本波YAGパルスレーザ発振器
8 ミラー
9 ミラー
10 集光レンズ
11 正反射光
12 フォトセンサ
13 レーザ制御装置
14 レーザスポット溶接装置
15 ミラー
16 近赤外光
17 フォトセンサ
18 レーザ制御装置

Claims (3)

  1. 第1及び第2のレーザ光のスポットを被加工物の加工点に一致させるレーザスポット溶接方法であって、
    前記第1のレーザ光を照射中に、前記第1のレーザ光よりもエネルギー密度が高く照射時間が短いパルス状の第2のレーザ光を前記加工点に照射し、次いで、前記第1のレーザ光を単独で前記加工点に照射することにより、前記被加工物に穴を形成し、前記穴内で前記第1のレーザ光を多重散乱させて前記被加工物材料を溶融せしめ、
    前記第2のレーザ光の照射期間終了後で前記加工点からの正反射光の強度が増加し始めた時に、前記第1のレーザ光のエネルギー密度を最大とすることを特徴とするレーザスポット溶接方法。
  2. 第1及び第2のレーザ光のスポットを被加工物の加工点に一致させるレーザスポット溶接方法であって、
    前記第1のレーザ光を照射中に、前記第1のレーザ光よりもエネルギー密度が高く照射時間が短いパルス状の第2のレーザ光を前記加工点に照射し、次いで、前記第1のレーザ光を単独で前記加工点に照射することにより、前記被加工物に穴を形成し、前記穴内で前記第1のレーザ光を多重散乱させて前記被加工物材料を溶融せしめ、
    前記加工点からの反射光を計測し、反射光の強度変化に基づいて前記被加工物材料が溶融したことを検知し、前記第1のレーザ光のエネルギー密度と照射時間とを制御することを特徴とするレーザスポット溶接方法。
  3. 第1及び第2のレーザ光のスポットを被加工物の加工点に一致させるレーザスポット溶接方法であって、
    前記第1のレーザ光を照射中に、前記第1のレーザ光よりもエネルギー密度が高く照射時間が短いパルス状の第2のレーザ光を前記加工点に照射し、次いで、前記第1のレーザ光を単独で前記加工点に照射することにより、前記被加工物に穴を形成し、前記穴内で前記第1のレーザ光を多重散乱させて前記被加工物材料を溶融せしめ、
    前記第2のレーザ光の照射期間終了後に、前記第1のレーザ光を単独で照射中に前記加工点からの近赤外線を計測し、前記近赤外線の変化に基づいて前記第1のレーザ光の照射を停止することを特徴とするレーザスポット溶接方法。
JP2002223866A 2002-07-31 2002-07-31 レーザスポット溶接方法 Expired - Fee Related JP4098024B2 (ja)

Priority Applications (1)

Application Number Priority Date Filing Date Title
JP2002223866A JP4098024B2 (ja) 2002-07-31 2002-07-31 レーザスポット溶接方法

Applications Claiming Priority (1)

Application Number Priority Date Filing Date Title
JP2002223866A JP4098024B2 (ja) 2002-07-31 2002-07-31 レーザスポット溶接方法

Publications (2)

Publication Number Publication Date
JP2004058140A JP2004058140A (ja) 2004-02-26
JP4098024B2 true JP4098024B2 (ja) 2008-06-11

Family

ID=31943513

Family Applications (1)

Application Number Title Priority Date Filing Date
JP2002223866A Expired - Fee Related JP4098024B2 (ja) 2002-07-31 2002-07-31 レーザスポット溶接方法

Country Status (1)

Country Link
JP (1) JP4098024B2 (ja)

Families Citing this family (7)

* Cited by examiner, † Cited by third party
Publication number Priority date Publication date Assignee Title
JP4352143B2 (ja) * 2004-03-04 2009-10-28 財団法人大阪産業振興機構 レーザスポット溶接における穴欠陥の防止または修復方法および装置
JP2005347415A (ja) * 2004-06-01 2005-12-15 Miyachi Technos Corp 電気部品実装方法
JP6385997B2 (ja) * 2016-09-16 2018-09-05 本田技研工業株式会社 レーザ溶接方法及びレーザ溶接装置
JP2021030286A (ja) * 2019-08-28 2021-03-01 株式会社豊田中央研究所 レーザ加工方法およびレーザ加工装置
WO2021095699A1 (ja) * 2019-11-13 2021-05-20 ヌヴォトンテクノロジージャパン株式会社 レーザ加工装置
JP7398650B2 (ja) * 2020-01-28 2023-12-15 パナソニックIpマネジメント株式会社 レーザー加工装置、及びレーザー加工装置の出力制御装置
JP7608083B2 (ja) * 2020-07-17 2025-01-06 古河電気工業株式会社 加工情報サーバ、加工情報提供方法、プログラム、およびレーザ加工システム

Also Published As

Publication number Publication date
JP2004058140A (ja) 2004-02-26

Similar Documents

Publication Publication Date Title
CN110709203B (zh) 使用蓝色激光焊接铜的方法和系统
CN209754269U (zh) 包括金属部件的制品
CN115697619B (zh) 激光焊接堆叠箔
CN102049614B (zh) 接合方法及接合装置
JP2002316282A (ja) レーザ加工方法及び装置
CN106312314A (zh) 双激光束焊接系统及方法
WO2003024658A1 (en) Work welding method
CN112355474A (zh) 采用微焊件图案的激光焊接方法
US11203085B2 (en) Method and apparatus for laser welding
RU2547987C1 (ru) Способ лазерной сварки
JP2002028795A (ja) レーザ溶接方法及び装置
JP4352143B2 (ja) レーザスポット溶接における穴欠陥の防止または修復方法および装置
CN109093252B (zh) 焊接层压金属箔的方法
JP4098024B2 (ja) レーザスポット溶接方法
US7479616B2 (en) Compound laser beam welding
CN113814564A (zh) 激光焊接方法以及装置
JPH02235589A (ja) レーザ加工方法
JPH10225782A (ja) レーザとアークによる複合溶接方法
JP2004058141A (ja) レーザによる重ね合わせスポット溶接方法及び溶接装置
JP2880061B2 (ja) レーザ加工
JP4687243B2 (ja) レーザ溶接方法及びレーザ溶接装置
KR101428973B1 (ko) 레이저 용접방법
JP2017131918A (ja) レーザ溶接方法
JP3436861B2 (ja) 鋼板のレーザ切断方法及び装置
JP3223271B2 (ja) レーザハイブリッド加熱方法

Legal Events

Date Code Title Description
A621 Written request for application examination

Free format text: JAPANESE INTERMEDIATE CODE: A621

Effective date: 20050729

A977 Report on retrieval

Free format text: JAPANESE INTERMEDIATE CODE: A971007

Effective date: 20061116

A131 Notification of reasons for refusal

Free format text: JAPANESE INTERMEDIATE CODE: A131

Effective date: 20061121

A521 Written amendment

Free format text: JAPANESE INTERMEDIATE CODE: A523

Effective date: 20061219

A131 Notification of reasons for refusal

Free format text: JAPANESE INTERMEDIATE CODE: A131

Effective date: 20070920

A521 Written amendment

Free format text: JAPANESE INTERMEDIATE CODE: A523

Effective date: 20071015

TRDD Decision of grant or rejection written
A01 Written decision to grant a patent or to grant a registration (utility model)

Free format text: JAPANESE INTERMEDIATE CODE: A01

Effective date: 20080214

A61 First payment of annual fees (during grant procedure)

Free format text: JAPANESE INTERMEDIATE CODE: A61

Effective date: 20080312

R150 Certificate of patent or registration of utility model

Free format text: JAPANESE INTERMEDIATE CODE: R150

FPAY Renewal fee payment (event date is renewal date of database)

Free format text: PAYMENT UNTIL: 20110321

Year of fee payment: 3

FPAY Renewal fee payment (event date is renewal date of database)

Free format text: PAYMENT UNTIL: 20110321

Year of fee payment: 3

LAPS Cancellation because of no payment of annual fees