JP4086591B2 - 燃料タンクのサブタンク - Google Patents
燃料タンクのサブタンク Download PDFInfo
- Publication number
- JP4086591B2 JP4086591B2 JP2002251430A JP2002251430A JP4086591B2 JP 4086591 B2 JP4086591 B2 JP 4086591B2 JP 2002251430 A JP2002251430 A JP 2002251430A JP 2002251430 A JP2002251430 A JP 2002251430A JP 4086591 B2 JP4086591 B2 JP 4086591B2
- Authority
- JP
- Japan
- Prior art keywords
- tank
- rib
- fuel
- sub
- fuel tank
- Prior art date
- Legal status (The legal status is an assumption and is not a legal conclusion. Google has not performed a legal analysis and makes no representation as to the accuracy of the status listed.)
- Expired - Fee Related
Links
- 239000002828 fuel tank Substances 0.000 title claims description 117
- 230000002265 prevention Effects 0.000 claims description 69
- 230000002093 peripheral effect Effects 0.000 claims description 17
- 239000011347 resin Substances 0.000 claims description 14
- 229920005989 resin Polymers 0.000 claims description 14
- 230000003014 reinforcing effect Effects 0.000 claims description 12
- 239000000446 fuel Substances 0.000 description 42
- XLYOFNOQVPJJNP-UHFFFAOYSA-N water Substances O XLYOFNOQVPJJNP-UHFFFAOYSA-N 0.000 description 7
- 239000007788 liquid Substances 0.000 description 6
- 239000000463 material Substances 0.000 description 6
- 238000001746 injection moulding Methods 0.000 description 5
- 238000004519 manufacturing process Methods 0.000 description 5
- 238000000071 blow moulding Methods 0.000 description 4
- 230000000694 effects Effects 0.000 description 4
- 230000002452 interceptive effect Effects 0.000 description 4
- 238000000034 method Methods 0.000 description 4
- 238000000465 moulding Methods 0.000 description 4
- 239000012141 concentrate Substances 0.000 description 2
- 238000005520 cutting process Methods 0.000 description 2
- 230000010354 integration Effects 0.000 description 2
- 239000002184 metal Substances 0.000 description 2
- 238000003466 welding Methods 0.000 description 2
- 230000007423 decrease Effects 0.000 description 1
- 238000003780 insertion Methods 0.000 description 1
- 230000037431 insertion Effects 0.000 description 1
- 230000001105 regulatory effect Effects 0.000 description 1
- 230000000717 retained effect Effects 0.000 description 1
- 239000003566 sealing material Substances 0.000 description 1
Images
Landscapes
- Cooling, Air Intake And Gas Exhaust, And Fuel Tank Arrangements In Propulsion Units (AREA)
Description
【発明の属する技術分野】
本発明は、樹脂製の燃料タンク内部に配設される燃料タンクのサブタンクに関し、詳しくは車体の傾き時におけるサブタンク内部の燃料のこぼれが防止され、燃料タンクの組み付けに干渉せず、燃料タンクに過大な外力が加わった際も燃料タンクの過大な変形が防止される燃料タンクのサブタンクに関する。
【0002】
【従来の技術】
従来より、自動車の燃料タンクは金属や樹脂等の種々の材料で形成されている。このうち樹脂材料で形成された燃料タンクは、その内部に強度の向上を目的とした種々の形状の補強リブが設けられている。また、これら補強リブを種々の形状に形成することで、種々の機能を付加することが為されている。このような機能が付加された補強リブとしては、例えば特開平11−254978号公報に開示されるような樹脂製フューエルサブタンクがある。
【0003】
特開平11−254978号公報に開示される樹脂製フューエルサブタンク(以下、サブタンクとする)は、燃料タンク内に配設される略筒状の形状を有するものであって、このサブタンク内にはエンジンに燃料を供給するための燃料ポンプが配設される。このサブタンク内には、燃料タンク内の燃料残余量が少なくなったときに車体が傾いた場合でも燃料が保持されるため、同じくサブタンク内に配設される燃料ポンプにタンク内の燃料を確実に供給することが可能となる。
【0004】
このような燃料タンクのサブタンクは、車両が傾いた場合にその内部に良好に燃料を保持するための種々の形状が考案されている。例えば、USP4526286には、燃料タンクの上側タンク壁および下側タンク壁の対向する一部分をタンク内部に突出させ、この各々の突出部を溶着等の方法で接触点にて接触させて内部空間を形成し、この内部空間よりサブタンクを構成することが開示されている。このサブタンクによると、各々の突出部がサブタンクと燃料タンクを遮断する液漏れ防止壁となるため、車体傾斜時や急制動時等においても燃料がサブタンク内より漏れだすことが抑制される。
【0005】
ここで、樹脂製の燃料タンクは通常ブロー成形によって一体的に形成されるものである。しかし、燃料タンクをブロー成形で一体的に形成する場合、その内部形状は自ずと制限されるものであり、例えば種々の形状の補強リブを所望の位置に形成することは極めて困難であった。また、ブロー成形で得られた成型品は比較的厚肉のものであるため、車両の燃費向上の観点からも薄肉に形成された軽量の燃料タンクが望まれている。このため、例えば射出成形やプレス成形等の方法でアッパタンクとロアタンクと別々に形成し、このアッパタンクとロアタンクとを気密に一体化し燃料タンクを形成することで、種々の内部構造を良好に形成しうる薄肉の燃料タンクが考案されている。
【0006】
しかし、射出成形等でアッパタンクとロアタンクとを別々に形成する場合、上述したUSP4526286に記載されるような形状の液漏れ防止壁をアッパタンクとロアタンクとにそれぞれ分割して設けると、対向する液漏れ防止壁同士がアッパタンクとロアタンクとの組付けの際に互いに干渉して良好な一体化ができない場合があり、成形に非常に高い精度を要する場合がある。また、液漏れ防止壁同士が互いに干渉する場合、一体化する際に各々の液漏れ防止壁が破損する場合や、液漏れ防止壁と当接する燃料タンク本体に応力が集中する場合がある。
【0007】
【発明が解決しようとする課題】
本発明は上記事情を考慮してなされたもので、樹脂製の燃料タンクのサブタンクを提供することを目的とする。
【0008】
【課題を解決するための手段】
前記課題を解決する本発明の燃料タンクのサブタンクは、アッパタンクとロアタンクとが気密に一体化されてなる樹脂製の燃料タンクの内部に配設され、該アッパタンクまたはロアタンクに一体形成された補強リブの少なくとも一部から構成される燃料タンクのサブタンクであって、該サブタンクは、前記ロアタンクの底面から上方に突出する略筒状のタンクリブと、該タンクリブと対向する前記アッパタンクの表面から下方に突出するこぼれ防止壁とからなり、該こぼれ防止壁は、該タンクリブの形状と対応した形状をなし、該タンクリブに対して内周−外周方向に離間することで該タンクリブとの干渉を避けて配置され、該タンクリブの少なくとも一部に内周側あるいは外周側でオーバーラップすることを特徴とする。
【0009】
この構成によると、タンクリブとこぼれ防止壁とは周方向に離間しつつ配置されることからタンクリブとこぼれ防止壁とが干渉することがなく、アッパタンクとロアタンクとの良好な一体化が可能となるとともに、干渉によるタンクリブ,こぼれ防止壁および燃料タンク本体への応力集中が回避される。
【0010】
さらに、こぼれ防止壁がタンクリブの少なくとも一部にオーバーラップしていることから、タンクリブとこぼれ防止壁とが当接していないにも関わらずタンクリブとこぼれ防止壁とは軸方向に隙間を有さない構成となるので、傾斜時あるいは急制動時等においてもタンクリブとこぼれ防止壁との間隙から燃料が漏出することが抑制される。
【0011】
また、上記こぼれ防止壁は上記タンクリブの少なくとも一部に周方向の内周側でオーバーラップすることが好ましい。
【0012】
【発明の実施の形態】
本発明にかかる燃料タンクのサブタンクは、アッパタンクとロアタンクとが気密に一体化されてなる樹脂製の燃料タンクの内部に配設され、該アッパタンクまたはロアタンクに一体形成された補強リブの少なくとも一部から構成される燃料タンクのサブタンクである。
【0013】
上述したように、樹脂製の燃料タンクは通常ブロー成形で一体的に形成されるものであるが、本発明の燃料タンクは、射出成形などによって形成されたアッパタンクとロアタンクを一体化することで燃料タンクを形成するものである。燃料タンクをこのような構成のものとすることで、種々の形状の補強リブを燃料タンク内部に容易に形成することが可能となる。
【0014】
燃料タンクはその内部に燃料を保持するものであり、燃料は揮発しやすいものであることから、アッパタンクとロアタンクとは気密に一体化される必要がある。アッパタンクとロアタンクとを気密に一体化するためには、例えば、アッパタンクとロアタンクとの接合部位にフランジを設けてこの接合部位を広幅のものとした上で既知の手段によって一体化する方法が用いられる。この既知の一体化手段としては、例えば、溶着,接着,ボルトによる螺合等が挙げられる。アッパタンクとロアタンクとをボルトによる螺合により一体化する場合、気密性を確保するためにアッパタンクとロアタンクとの間隙にOリング等のシール材をさらに配置することが必要である。
【0015】
本発明の燃料タンクのサブタンクにおいて、アッパタンクまたはロアタンクには補強リブが一体形成されている。この補強リブの少なくとも一部が燃料タンクのサブタンクを構成する。本発明において燃料タンクは樹脂製のものであるため、金属製の燃料タンクと比較して剛性が低いものとなっている。したがって、燃料タンクの剛性を向上させるために燃料タンク内には補強リブが設けられることとなる。この補強リブは、燃料タンクのうち外力が加わる部位や応力が集中する部位等に設けることができ、アッパタンクに設けることもできるしロアタンクに設けることもできる。
【0016】
本発明の燃料タンクにおいて、サブタンクは、ロアタンクの底面から上方に突出する略筒状のタンクリブを有する。
【0017】
サブタンクは、上述したように、燃料タンク内の燃料残余量が少なくなったときに車体が傾いた場合でも燃料を良好に保持し、同じくサブタンク内に配設されるフューエルポンプにタンク内の燃料を確実に供給するものである。このサブタンクは燃料タンク内部に形成され、燃料タンクとサブタンクの内部とは通油路により一部連通している構造となっている。この通油路より燃料タンク内の燃料がサブタンク内に流入し、サブタンク内に燃料が保持されるが、サブタンクの壁面によって燃料タンクとサブタンクとは隔離される。このため、傾斜時に燃料タンク内の燃料に水位差が生じ、燃料タンク内の燃料の水位が一部非常に低いものとなった場合でもサブタンク内に保持される燃料の水位は本来の燃料タンク内の水位と近似したものとなる。したがって、傾斜時においてもサブタンク内に配設された燃料ポンプへの燃料の供給は良好におこなわれることとなる。
【0018】
このようなサブタンクの形状は、略角柱状,略円柱状,略渦巻き柱状などの種々の略筒状の形状を取ることができるが、いずれの場合にもサブタンクは少なくともその底部にてロアタンクと一体化された構造を有することとなり、このロアタンクと一体化された部分がタンクリブとなる。また本発明の燃料タンクのサブタンクにおいて、サブタンクはタンクリブと後述するこぼれ防止壁とによって構成される。したがって、サブタンクのロアタンク側部分であるタンクリブは、ロアタンクの底面から上方に突出し、上方の端側が開口して開口端部を形成する。
【0019】
本発明の燃料タンクのサブタンクにおいて、アッパタンクにはこぼれ防止壁が設けられる。こぼれ防止壁は、アッパタンクのうちタンクリブと対向する表面から下方に突出しタンクリブと周方向に離間しつつ該タンクリブの少なくとも一部にオ−バーラップする形状を有している。
【0020】
本発明の燃料タンクのサブタンクは、タンクリブがこぼれ防止壁によってオーバーラップされていることから、タンクリブの開口端部はこぼれ防止壁によって囲まれた状態となるため、サブタンクと燃料タンクとはより確実に隔離されることとなり、傾斜時にもこの開口端部より燃料がサブタンク外部に漏出することが抑制される。
【0021】
また、こぼれ防止壁は必ずしもタンクリブの全周にオーバーラップしているものである必要はない。例えば、サブタンクが燃料タンクの端部に設けられ、サブタンクと燃料タンクの壁面とが近接しているような状態の場合は、燃料タンクの壁面がこぼれ防止壁と類似の効果を発揮する場合もある。この場合は、タンクリブのうちこの部分を除く部分のみをこぼれ防止壁でオーバーラップすることも可能である。
【0022】
こぼれ防止壁の形状は、タンクリブの形状と対応した形状に形成することができる。例えばサブタンクの形状が略円柱状である場合には、サブタンクのうちロアタンクと一体化された部分であるタンクリブの形状も略円柱形となる。この場合こぼれ防止壁の形状は、タンクリブと周方向に離間しつつタンクリブをオーバーラップするために、略円柱形状のタンクリブを内周側あるいは外周側でオーバーラップする形状、すなわち、タンクリブよりやや大きいあるいはやや小さい径をもつタンクリブの形状と略類似の略円柱状に形成されるものとなる。
【0023】
また、例えばサブタンクの形状が略渦巻き柱状である場合には、タンクリブの形状もまた略渦巻き柱状となり、こぼれ防止壁の形状はこのタンクリブよりもやや大きいあるいはやや小さい径をもつタンクリブと略類似の渦巻き柱状に形成されるものとなる。こぼれ防止壁がタンクリブと周方向に離間して配置されることで、こぼれ防止壁とタンクリブとの干渉が回避され、燃料タンクの製造時の破損が抑制される。また、こぼれ防止壁とタンクリブとは当接するものではないので、成形に要する精度も比較的低いものですむ。さらに、アッパタンクとロアタンクとを一体化する際の位置決めをこのこぼれ防止壁とタンクリブとによっておこなうことができるため、燃料タンクの製造工程が容易なものとなる。
【0024】
ここで、こぼれ防止壁の高さは高いほどタンクリブをオーバーラップする部分が大きくなり、より良好なこぼれ防止効果を発揮する。そして、タンクリブの高さは高いほどより良好なこぼれ防止効果を発揮する。その一方で、例えば燃料タンクに高さ方向の外力が加わった場合、タンクリブの高さやこぼれ防止壁の高さが大きいほど、燃料タンクの高さ方向の変形がタンクリブやこぼれ防止壁によって干渉される。この場合、燃料タンクに加わる高さ方向の外力が過大なものとなると、この干渉によって燃料タンクの特定部位に応力が集中する場合があるため、燃料タンクの破損が生じるおそれがある。したがって、このタンクリブの高さおよびこぼれ防止壁の高さは、燃料タンクに加わる外力を想定し、適宜設定されるものとなる。
【0025】
本発明の燃料タンクのサブタンクにおいて、こぼれ防止壁はタンクリブの少なくとも一部に周方向の内周側でオーバーラップすることが好ましい。こぼれ防止壁がタンクリブの周方向の内周側でオーバーラップする場合、サブタンク内の燃料水位がタンクリブの高さよりも高い場合にも、タンクリブとこぼれ防止壁との間隙からの燃料の漏出がより確実に抑制される。
【0026】
さらに、こぼれ防止壁はタンクリブの周方向の外周側のみあるいは周方向の内周側のみに配置されるものに限らず、外周側と内周側との両方に配置することも可能である。この場合、タンクリブは内周側と外周側との2箇所でこぼれ防止壁によってオーバーラップされることとなり、燃料のサブタンクからの漏出はより抑制されることとなる。
【0027】
また、タンクリブの開口端部の所定位置に破断開始部を設けることもできる。破断開始部は、タンクリブの開口端部に少なくとも一つ設けられる部位であり、タンクリブの他の部分より破断しやすい形状に形成されるものである。この破断開始部は、例えば、開口端部の所定位置よりロアタンク底面方向にタンクリブの一部を切欠して形成することもできるし、開口端部の所定位置よりロアタンク底面方向に一部薄肉な部位を設けることで形成することもできるし、これに限らず既知の種々の方法を用いることもできる。
【0028】
上述したように、タンクリブの高さを大きくした方が燃料のサブタンク内部からの漏出をより抑制することができるが、一方、燃料タンクの高さ方向に外力が加わる場合には、タンクリブによって燃料タンクの変形が阻害される場合がある。タンクリブの開口端部の所定位置に破断開始部を設けることで、燃料タンクに大きな外力が作用して、燃料タンク自体が変形する際にはタンクリブの破断開始部が同時に破断する。したがって、タンクリブが燃料タンクの変形に干渉することが回避され、特定部位への応力の集中が抑制される。
【0029】
ここで開口端部の所定位置とは、タンクリブの破断が生じやすい所定位置を指す。例えばタンクリブの形状が略角柱状である場合にはこの角部を所定位置とすることが好ましく、タンクリブの形状が略円柱状である場合には等間隔あるいはランダムに選ばれた複数箇所を所定位置とすることが好ましい。いずれの場合もこの所定位置はタンクリブの破断が良好におこなわれるためには多く設けられることが好ましく、タンクリブの成型をおこない易くするとともに通常の使用状態においてサブタンクの形状を良好に保つためには少なく設けられることが好ましい。さらに、サブタンク内部からの燃料の漏出を抑制するためには、所定位置は少なく設けられることが好ましい。さらにこの場合、破断開始部を切欠して形成する場合には破断開始部はこぼれ防止壁によってオーバーラップされている部分に設けられる必要があり、短小形状に設けられることが好ましい。したがって、この所定位置は燃料タンクを形成する材料の剛性やサブタンクや燃料タンクの形状あるいはこぼれ防止壁の形状によって適宜設定され得るものである。
【0030】
また、破断開始部と対向するアッパタンクの表面には破断ガイド部を設けることができる。この破断ガイド部は燃料タンクに高さ方向の外力が加わった場合に、タンクリブを破断開始部より破断するための構造である。この破断ガイド部は破断開始部の形状と対応した形状に形成され、かつ、破断開始部より破断したタンクリブをアッパタンクと干渉しない位置に誘導可能な形状に形成されている。このため、外力が大きなものとなりタンクリブがアッパタンクに押圧される場合には破断開始部が破断ガイド部に押圧されて破断が開始する。さらに外力が過大なものとなる場合にはこの破断開始部より開始した破断が進行し、破断ガイド部によってアッパタンクと干渉しないように誘導されつつサブタンクの破断がおこなわれることとなる。
【0031】
この構成によって、燃料タンクが比較的弾性の高い樹脂材料で形成され、燃料タンク自体が容易に変形可能な構造であり、タンクリブの高さが高く形成されている場合にも、燃料タンクの高さ方向の変形をこのタンクリブが阻害することが防止される。したがって、燃料タンクの変形は良好なものとなる。
【0032】
ここで、破断部同士の干渉を防止するため、この破断ガイド部による誘導はサブタンク外方に向けておこなわれることが好ましい。また、このようなサブタンク外方に向けた破断の誘導をおこなうためには、破断ガイド部は変形時にサブタンク内部に挿入されることが望ましい。
【0033】
【実施例】
以下、本発明の実施例を添付図面を基にして説明する。
【0034】
(実施例1)
本実施例1の燃料タンクのタブタンクは、サブタンクを略角柱形状のものとし、こぼれ防止壁がタンクリブの周方向の内周側にオーバーラップする例である。本実施例1のサブタンクを有する燃料タンクの模式断面図を図1に示す。
【0035】
本実施例1のサブタンク1は、燃料タンク2の内部に配設される。燃料タンク2はアッパタンク3とロアタンク4とよりなる。アッパタンク3は樹脂を材料とし射出成形によって中空の箱状に形成された部材であり、アッパタンク3の開口部5の外周縁部には平板状のアッパフランジ部6が設けられている。ロアタンク4はアッパタンク3と同じ材料でアッパタンク3と同様の射出成形によって形成された部材であり、ロアタンク4の開口部7の外周縁部にはアッパフランジ部6と対応した平板状のロアフランジ部8が形成されている。アッパタンク3とロアタンク4とは別々に形成された後にこのアッパフランジ部6とロアフランジ部8とが溶着されて一体化されている。
【0036】
ロアタンク4の底面9にはタンクリブ10が形成されている。このタンクリブ10は、ロアタンク4の底面9より上方に延びた略角柱状の形状を有するものであり、上方の端側が開口して開口端部11を形成している。このタンクリブ10の内部の空隙には図示しない燃料ポンプが収納されている。また、タンクリブ10は図示しない通油路によって燃料タンク2と一部連通し、燃料タンク2内の燃料は、この通油路を経由してタンクリブ10の内部に流入する。
【0037】
アッパタンク3のうち、タンクリブ10と対向する位置にはアッパタンク3表面から下方に突出する形状のこぼれ防止壁12が形成されている。このこぼれ防止壁12は、タンクリブ10と周方向に離間しつつ配置され、タンクリブ10の全周にわたって周方向の内周側でオーバーラップしている。このタンクリブ10とこぼれ防止壁12とによって本発明の実施例1の燃料タンク2のサブタンク1が構成されている。
【0038】
本実施例1の燃料タンク2のサブタンク1において、タンクリブ10はその全周にわたってこぼれ防止壁12によってオーバーラップされている。したがって、車両の傾斜時や急制動時などサブタンク1内の燃料の水位がタンクリブ10を超えるような場合においても、サブタンク1内からの燃料の漏出はこぼれ防止壁12によって抑制されることとなる。
【0039】
そして、タンクリブ10とこぼれ防止壁12とは離間しつつ配置されていることから、タンクリブ10とこぼれ防止壁12とが製造時に互いに干渉することが回避される。
【0040】
(実施例2)
本実施例2の燃料タンクのタブタンクは、サブタンクが燃料タンクの端側に形成されサブタンクと燃料タンクの壁面が近接していること、こぼれ防止壁がこの近接している部分を除く部分に形成されていること以外は実施例1と同様に形成されたものである。本実施例2のサブタンクを有する燃料タンクの模式断面図を図2に示す。
【0041】
本実施例2のサブタンク13を有する燃料タンク14は、実施例1と同じ形状のアッパフランジ部15とロアフランジ部16とを有し、このアッパフランジ部15とロアフランジ部16とが実施例1と同様に溶着されることで、アッパタンク17およびロアタンク18が一体化されている。
【0042】
本実施例2において、タンクリブ19はロアタンク18の端側に燃料タンク14の壁面20と近接して実施例1と同じ形状に形成されている。また、こぼれ防止壁21は、アッパタンク17のうちタンクリブ19と対向する位置に形成されている。このこぼれ防止壁21は、タンクリブ19と周方向に離間しつつ配置され、タンクリブ19のうちロアタンク18と近接している部分以外の部分に周方向の内周側でオーバーラップしている。
【0043】
本実施例2の燃料タンク14のサブタンク13において、タンクリブ19と燃料タンク14の壁面20とは近接して形成されている。したがって、車両の傾斜時や急制動時において、サブタンク13内の燃料の水位がタンクリブ19を超えるような場合においても、サブタンク13のうち燃料タンク14の壁面20と近接している側の部分からの燃料の流出はこの燃料タンク14の壁面20によって抑制される。また、サブタンク13のうち燃料タンク14の壁面20と近接していない部分はこぼれ防止壁21によってオーバーラップされていることから、このオーバーラップされている部分のサブタンク13内からの燃料の流出はこぼれ防止壁21によって抑制されることとなる。
【0044】
(実施例3)
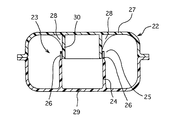
本実施例3の燃料タンクのタブタンクは、タンクリブの開口端部に破断開始部が設けられていること、破断開始部と対向するアッパタンクの表面に破断ガイド部を設けられていること以外は実施例1と同様に形成されたものである。本実施例3のサブタンクを有する燃料タンクの模式断面図を図3に示し、外力が作用した場合の本実施例3のサブタンクを有する燃料タンクの模式断面図を図4に示す。
【0045】
本実施例3の燃料タンク22のサブタンク23において、タンクリブ24の略角柱状の角部のうち開口端部側25は各々薄肉に形成されて破断開始部26を構成している。また、アッパタンク27のうち、タンクリブ24の破断開始部26と対向する表面には破断ガイド部28が形成されている。破断ガイド部28は、破断開始部26方向に突出しロアタンク29側よりもアッパタンク27側が湾曲しつつ開いた形状の略4角錐形が底面と平行な平面で切断された形状を有する。また、この破断ガイド部28はこぼれ防止壁30の周方向の外周側に配置されている。
【0046】
本実施例3の燃料タンク22のサブタンク23において、ロアタンク29の底部31よりアッパタンク27方向に外力が作用すると、ロアタンク29がアッパタンク27方向に押圧されて変形する。このとき、ロアタンク29内のタンクリブ24はアッパタンク27方向に押圧される。したがってアッパタンク27に形成されている破断ガイド部28はこのタンクリブ24内部に挿入され、タンクリブ24の破断開始部26が破断ガイド部28に当接する。破断ガイド部28のうちアッパタンク27側はロアタンク29側よりも開いた形状になっているため、外力が過大になり破断ガイド部28のサブタンク23内への挿入が進行すると、図4に示すようにタンクリブ24の開口端部側25は強制的に開かれることとなり、破断開始部26よりタンクリブ24の破断が生じる。一方、破断ガイド部28のガイド面32もまたロアタンク29側よりもアッパタンク27側が開いた、湾曲した形状となっているため、タンクリブ24の側面はこのガイド面32の湾曲した形状に即した形状に規制されて、アッパタンク27と干渉しない位置に誘導される。このように破断とガイドとが同時におこなわれることでタンクリブ24はアッパタンク27と干渉しないように誘導されつつ破断することとなる。したがって、燃料タンク22に過大な外力が作用し燃料タンク22が変形した場合にも、タンクリブ24がアッパタンク27およびロアタンク29の変形に干渉することが防止され、かつ、サブタンク23がアッパタンク27の外殻に干渉することが回避されてアッパタンク27およびロアタンク29に過大な外力が作用することが防止される。
【0047】
さらに、本実施例3の燃料タンク22のサブタンク23は実施例1と同様にタンクリブ24がこぼれ防止壁30によってオーバーラップされていることから、サブタンク23内部からの燃料の漏出は抑制される。さらに、タンクリブ24とこぼれ防止壁30とは離間しつつ配置されていることから、タンクリブ24とこぼれ防止壁30とが互いに干渉することが回避される。
【0048】
【発明の効果】
以上述べてきたように、本発明の燃料タンクのサブタンクによると、タンクリブがこぼれ防止壁によってオーバーラップされていることから、車両の傾斜時や急制動時などのサブタンク内の燃料の水位がタンクリブの高さを超えるような場合においても、サブタンク内からの燃料の漏出が抑制される。
【0049】
また、ロアタンクに形成されたタンクリブとアッパタンクに形成されたこぼれ防止壁とは周方向に離間しつつ配置されていることから、アッパタンクとロアタンクとを組付して一体化する場合においても、タンクリブとアッパタンクとの当接が回避され、製造時の燃料タンクの破損が抑制される。さらに、タンクリブとこぼれ防止壁とは当接するものではないことから、このタンクリブおよびこぼれ防止壁の成形は非常に高い精度を要するものではない。したがって、燃料タンクの成形を容易におこなうことが可能となり、製造に要する工数やコストを低減させることが可能となる。
【図面の簡単な説明】
【図1】本発明の実施例1のサブタンクを有する燃料タンクの模式断面図である。
【図2】本発明の実施例2のサブタンクを有する燃料タンクの模式断面図である。
【図3】本発明の実施例3のサブタンクを有する燃料タンクの模式断面図である。
【図4】外力が作用した場合の本発明の実施例3のサブタンクを有する燃料タンクの模式断面図である。
【符号の説明】
1:サブタンク 2:燃料タンク 3:アッパタンク 4:ロアタンク 6:アッパフランジ部 8:ロアフランジ部 10:タンクリブ 11:開口端部 12:こぼれ防止壁
13:サブタンク 14:燃料タンク 15:アッパフランジ部 16:ロアフランジ部 17:アッパタンク 18:ロアタンク 19:タンクリブ 21:こぼれ防止壁
22:燃料タンク 23:サブタンク 24:タンクリブ 25:開口端部 26:破断開始部 27:アッパタンク 28:破断ガイド部 29:ロアタンク30:こぼれ防止壁
Claims (2)
- アッパタンクとロアタンクとが気密に一体化されてなる樹脂製の燃料タンクの内部に配設され、該アッパタンクまたはロアタンクに一体形成された補強リブの少なくとも一部から構成される燃料タンクのサブタンクであって、
該サブタンクは、前記ロアタンクの底面から上方に突出する略筒状のタンクリブと、該タンクリブと対向する前記アッパタンクの表面から下方に突出するこぼれ防止壁とからなり、
該こぼれ防止壁は、該タンクリブの形状と対応した形状をなし、該タンクリブに対して内周−外周方向に離間することで該タンクリブとの干渉を避けて配置され、該タンクリブの少なくとも一部に内周側あるいは外周側でオーバーラップすることを特徴とする燃料タンクのサブタンク。 - 前記こぼれ防止壁は前記タンクリブの少なくとも一部に周方向の内周側でオーバーラップする請求項1に記載の燃料タンクのサブタンク。
Priority Applications (1)
| Application Number | Priority Date | Filing Date | Title |
|---|---|---|---|
| JP2002251430A JP4086591B2 (ja) | 2002-08-29 | 2002-08-29 | 燃料タンクのサブタンク |
Applications Claiming Priority (1)
| Application Number | Priority Date | Filing Date | Title |
|---|---|---|---|
| JP2002251430A JP4086591B2 (ja) | 2002-08-29 | 2002-08-29 | 燃料タンクのサブタンク |
Publications (2)
| Publication Number | Publication Date |
|---|---|
| JP2004090700A JP2004090700A (ja) | 2004-03-25 |
| JP4086591B2 true JP4086591B2 (ja) | 2008-05-14 |
Family
ID=32058014
Family Applications (1)
| Application Number | Title | Priority Date | Filing Date |
|---|---|---|---|
| JP2002251430A Expired - Fee Related JP4086591B2 (ja) | 2002-08-29 | 2002-08-29 | 燃料タンクのサブタンク |
Country Status (1)
| Country | Link |
|---|---|
| JP (1) | JP4086591B2 (ja) |
Families Citing this family (5)
| Publication number | Priority date | Publication date | Assignee | Title |
|---|---|---|---|---|
| JP4192835B2 (ja) * | 2004-04-28 | 2008-12-10 | 株式会社デンソー | 熱交換器のヘッダタンク |
| JP4575335B2 (ja) * | 2006-06-30 | 2010-11-04 | 本田技研工業株式会社 | 燃料タンク |
| CN103339365A (zh) * | 2011-03-24 | 2013-10-02 | 三菱电机株式会社 | 燃料供给装置 |
| KR101973951B1 (ko) * | 2011-05-25 | 2019-04-30 | 플라스틱 옴니엄 어드벤스드 이노베이션 앤드 리서치 | 내크립성이 향상된 연료탱크 및 그 제조 방법 |
| EP2543532A1 (en) * | 2011-07-07 | 2013-01-09 | Inergy Automotive Systems Research (Société Anonyme) | Fuel tank with improved creep resistance and method for manufacturing it |
-
2002
- 2002-08-29 JP JP2002251430A patent/JP4086591B2/ja not_active Expired - Fee Related
Also Published As
| Publication number | Publication date |
|---|---|
| JP2004090700A (ja) | 2004-03-25 |
Similar Documents
| Publication | Publication Date | Title |
|---|---|---|
| US7014214B2 (en) | Resinous connector | |
| US6843384B2 (en) | Fuel tank | |
| KR102451978B1 (ko) | 자동차용 연료탱크 강성 보강 장치 | |
| US10919379B2 (en) | Fuel tank | |
| KR20050103189A (ko) | 기능 소자용 지지부를 포함하는 연료 탱크 및 자동차 연료탱크의 기능 소자용 지지부 | |
| JP2008132953A (ja) | 燃料ドアのハウジング装置 | |
| US20190049068A1 (en) | High-pressure container and shell reinforcing layer wrapping method | |
| JP4086591B2 (ja) | 燃料タンクのサブタンク | |
| US6367650B1 (en) | Fuel tank cover assembly for fuel tank | |
| US20030002997A1 (en) | Fuel supply apparatus | |
| JP4021284B2 (ja) | 燃料タンク | |
| JP2018039470A (ja) | 燃料タンク | |
| JP5125929B2 (ja) | 燃料遮断弁 | |
| JP2005199769A (ja) | 被覆部材 | |
| JP4884156B2 (ja) | 燃料タンクの給油口構造 | |
| JP3376885B2 (ja) | 自動車用燃料タンクのフィラーチューブ固定構造 | |
| US10953742B2 (en) | Fuel tank | |
| JP2004359076A (ja) | 自動車用燃料タンク | |
| JP7737122B2 (ja) | リザーブタンク | |
| JP2002210310A (ja) | オイルストレーナ | |
| KR100764497B1 (ko) | 자동차 연료펌프 모듈의 상부 플레이트 | |
| JP6740195B2 (ja) | 燃料吸入口部材 | |
| JP2717301B2 (ja) | 自動車の燃料タンク | |
| JP5009836B2 (ja) | 固定冶具、及びこれを備えたシーリング・ポンプアップ装置 | |
| JP7537976B2 (ja) | 燃料ポンプの支持構造 |
Legal Events
| Date | Code | Title | Description |
|---|---|---|---|
| A621 | Written request for application examination |
Free format text: JAPANESE INTERMEDIATE CODE: A621 Effective date: 20050127 |
|
| A711 | Notification of change in applicant |
Free format text: JAPANESE INTERMEDIATE CODE: A711 Effective date: 20050127 |
|
| A521 | Written amendment |
Free format text: JAPANESE INTERMEDIATE CODE: A821 Effective date: 20050128 |
|
| A977 | Report on retrieval |
Free format text: JAPANESE INTERMEDIATE CODE: A971007 Effective date: 20070411 |
|
| A131 | Notification of reasons for refusal |
Free format text: JAPANESE INTERMEDIATE CODE: A131 Effective date: 20070413 |
|
| A521 | Written amendment |
Free format text: JAPANESE INTERMEDIATE CODE: A523 Effective date: 20070612 |
|
| A131 | Notification of reasons for refusal |
Free format text: JAPANESE INTERMEDIATE CODE: A131 Effective date: 20070904 |
|
| A521 | Written amendment |
Free format text: JAPANESE INTERMEDIATE CODE: A523 Effective date: 20071102 |
|
| TRDD | Decision of grant or rejection written | ||
| A01 | Written decision to grant a patent or to grant a registration (utility model) |
Free format text: JAPANESE INTERMEDIATE CODE: A01 Effective date: 20080124 |
|
| A61 | First payment of annual fees (during grant procedure) |
Free format text: JAPANESE INTERMEDIATE CODE: A61 Effective date: 20080219 |
|
| FPAY | Renewal fee payment (event date is renewal date of database) |
Free format text: PAYMENT UNTIL: 20110228 Year of fee payment: 3 |
|
| R150 | Certificate of patent or registration of utility model |
Free format text: JAPANESE INTERMEDIATE CODE: R150 |
|
| S111 | Request for change of ownership or part of ownership |
Free format text: JAPANESE INTERMEDIATE CODE: R313111 |
|
| FPAY | Renewal fee payment (event date is renewal date of database) |
Free format text: PAYMENT UNTIL: 20110228 Year of fee payment: 3 |
|
| R350 | Written notification of registration of transfer |
Free format text: JAPANESE INTERMEDIATE CODE: R350 |
|
| FPAY | Renewal fee payment (event date is renewal date of database) |
Free format text: PAYMENT UNTIL: 20120229 Year of fee payment: 4 |
|
| FPAY | Renewal fee payment (event date is renewal date of database) |
Free format text: PAYMENT UNTIL: 20130228 Year of fee payment: 5 |
|
| FPAY | Renewal fee payment (event date is renewal date of database) |
Free format text: PAYMENT UNTIL: 20130228 Year of fee payment: 5 |
|
| FPAY | Renewal fee payment (event date is renewal date of database) |
Free format text: PAYMENT UNTIL: 20140228 Year of fee payment: 6 |
|
| R250 | Receipt of annual fees |
Free format text: JAPANESE INTERMEDIATE CODE: R250 |
|
| LAPS | Cancellation because of no payment of annual fees |