JP4044530B2 - 画像処理装置、画像処理方法、画像形成装置、画像処理プログラムおよび記録媒体 - Google Patents

画像処理装置、画像処理方法、画像形成装置、画像処理プログラムおよび記録媒体 Download PDF

Info

Publication number
JP4044530B2
JP4044530B2 JP2004060972A JP2004060972A JP4044530B2 JP 4044530 B2 JP4044530 B2 JP 4044530B2 JP 2004060972 A JP2004060972 A JP 2004060972A JP 2004060972 A JP2004060972 A JP 2004060972A JP 4044530 B2 JP4044530 B2 JP 4044530B2
Authority
JP
Japan
Prior art keywords
pixel
image data
halftone
pixel value
image
Prior art date
Legal status (The legal status is an assumption and is not a legal conclusion. Google has not performed a legal analysis and makes no representation as to the accuracy of the status listed.)
Expired - Fee Related
Application number
JP2004060972A
Other languages
English (en)
Other versions
JP2005252701A (ja
Inventor
義則 村上
Current Assignee (The listed assignees may be inaccurate. Google has not performed a legal analysis and makes no representation or warranty as to the accuracy of the list.)
Sharp Corp
Original Assignee
Sharp Corp
Priority date (The priority date is an assumption and is not a legal conclusion. Google has not performed a legal analysis and makes no representation as to the accuracy of the date listed.)
Filing date
Publication date
Application filed by Sharp Corp filed Critical Sharp Corp
Priority to JP2004060972A priority Critical patent/JP4044530B2/ja
Publication of JP2005252701A publication Critical patent/JP2005252701A/ja
Application granted granted Critical
Publication of JP4044530B2 publication Critical patent/JP4044530B2/ja
Anticipated expiration legal-status Critical
Expired - Fee Related legal-status Critical Current

Links

Images

Landscapes

  • Image Processing (AREA)
  • Facsimile Image Signal Circuits (AREA)
  • Color, Gradation (AREA)

Description

本発明は、複写機またはプリンタなどにおいて、画像を再現するため画像処理装置、画像形成装置、画像処理方法、画像処理プログラム、画像処理プログラムを記録した記録媒体に関する。
特許文献1記載の画像処理装置は、2値化処理された2値画像データ(中間調画像データ)を多値画像データに復元し、復元した多値画像データを画像処理する。記憶手段に記憶されている2値画像データを読出し手段で読出し、読出した2値画像データを復元手段で濃淡多値画像データに復元する。処理手段が濃淡多値画像データに対して画像処理を行うと、格納手段は処理された濃淡多値画像データを2値化し、記憶手段に格納する。また、各手段が上記の動作を繰り返し行うことが可能に構成されている。
また、元画像に対する拡大または縮尺倍率および表示方向などを変更したり、複数の画像データが1つの画像データとなるように編集する画像処理装置は、スキャナなどの画像入力装置によって読み込まれ、多値化処理された中間調画像データとして記憶されている画像データを、多値化処理前の画像データに復元し、復元した画像データに対して再度多値化または2値化処理を行う。
中間調画像データは、多値化処理時に多値化処理前の画像データが有していた情報の一部が失われているため、中間調画像データから多値化処理前の画像データを完全に復元することはできない。上記の画像処理装置は、完全に復元されていない画像データに対して再度多値化処理を行うため、画像出力装置で出力される画質の劣化が生じてしまう。
また、画像出力装置ごとに出力特性は異なるので、画像を出力する画像出力装置次第ではさらに画質の劣化が生じることになる。同じ画像出力装置で画像を出力する場合であっても、出力時の温度、湿度などの外的要因および各部位の変形、変性などの経時変化によってさらに画像の劣化が生じることになる。
これらの問題を回避するためには、復元した画像データを、可能な限り多値化または2値化処理前の画像データに近づける、すなわち再現性を向上させる必要がある。
特許文献2記載の中間調画像推定方法は、多値化である多値ディザ処理前の画像を復元するための推定方法である。多値ディザ処理された画像に対して、複数種の走査開口を設定し、走査開口内の多値ディザ画像と、走査開口内の平均画素レベルから作成した中間調画像に対して走査開口内の多値ディザマトリクスにより求めた多値画像とを、走査開口ごとに比較する。この比較によって、画素ごとに唯一の走査開口を選択し、選択した走査開口内の多値画素レベルに基づいて中間調画像を推定する。
中間調処理(多値化処理)前の画像における低空間周波数領域(画素レベル変化が少ない領域)においては、大きな走査開口を用いて高い階調表現を行い、高空間周波数領域(画素レベル変化が多い領域)においては小さな走査開口を用いて高い解像力の画像を再現することができる。
特公平7−99543号公報 特公平5−47019号公報
特許文献2の実施例では、最も小さい走査開口として2行2列の大きさの開口を用いているが、元の画像の高空間周波数領域(画素レベル変化が多い領域)を推定した結果、画素レベルの変化が小さくなっていてエッジがぼけた感じになっていたり、エッジがずれてしまっている。したがって、エッジを十分に復元するには、さらに小さな走査開口が必要となるが、走査開口をさらに小さくすると、処理に要する時間が大幅に増加する。また、復元された画像データに対して、同じ多値ディザ処理を行うと、元の多値ディザ処理画像とは一致しない画像データが生じてしまう。
本発明の目的は、処理済の画像データを処理前の画像データに復元する際の再現性を向上させた画像処理装置、画像形成装置、画像処理方法、画像処理プログラム、画像処理プログラムを記録した記録媒体を提供することである。
本発明は、複数の画素から成る画像を表す画像データが入力され、入力された画像データに対して所定の処理を行う画像処理装置であって、
予め定める画素群に含まれる画素の画素値を、所定の変換条件に基づいて可逆的または不可逆的に変換することで、画像データを所定の階調の中間調画像データに変換して出力する中間調出力階調処理部と、
中間調画像データと、変換条件とを関連付けて記憶する画像記憶部と、
変換条件を用いて、中間調画像データを構成する第1画素値から、変換前の第2画素値を決定し、決定した第2画素値に基づいて復元画像データを出力する逆中間調処理部とを備え、
逆中間調処理部は、中間調出力階調処理部で不可逆的に変換された第1画素値から、変換前の第2画素値を決定するとき、当該第1画素値を有する画素と同じ画素群に含まれる他の画素の第2画素値であって、中間調出力階調処理部で可逆的に変換された第1画素値から決定された変換前の第2画素値に基づいて、当該第2画素値を決定することを特徴とする画像処理装置である。
また本発明は、複数の画素から成る画像を表す画像データが入力され、入力された画像データに対して所定の処理を行う画像処理装置であって、
変換テーブルに基づく多値ディザ処理によって、画像データを所定の階調の中間調画像データに変換して出力する中間調出力階調処理部と、
中間調画像データと、変換テーブルとを関連付けて記憶する画像記憶部と、
変換テーブルを用いて、中間調画像データを構成する第1画素値から、変換前の第2画素値を決定し、決定した第2画素値に基づいて復元画像データを作成する逆中間調処理部とを備え、
逆中間調処理部は、中間調出力階調処理部で不可逆的に変換された第1画素値から、変換前の第2画素値を決定するとき、同じディザマトリクス内で多値ディザ処理される他の画素の第2画素値であって、中間調出力階調処理部で可逆的に変換された第1画素値から決定された変換前の第2画素値に基づいて、当該第2画素値を決定することを特徴とする画像処理装置である。
また本発明は、逆中間調処理部は、中間調出力階調処理部で不可逆的に変換された第1画素値から、変換前の第2画素値を決定するとき、同じディザマトリクス内で多値ディザ処理される他の画素の第2画素値であって、中間調出力階調処理部で可逆的に変換された第1画素値から決定された変換前の第2画素値を、当該第2画素値として決定することを特徴とする。
また本発明は、逆中間調処理部は、中間調出力階調処理部で不可逆的に変換された第1画素値から、変換前の第2画素値を決定するとき、
第1画素値が最小値である場合は、同じディザマトリクス内で多値ディザ処理され、ドットの成長順序が先の画素の第2画素値であって、中間調出力階調処理部で可逆的に変換された第1画素値から決定された変換前の第2画素値を、当該第2画素値として決定し、
第1画素値が最大値である場合は、同じディザマトリクス内で多値ディザ処理され、ドットの成長順序が後の画素の第2画素値であって、中間調出力階調処理部で可逆的に変換された第1画素値から決定された変換前の第2画素値を、当該第2画素値として決定することを特徴とする。
また本発明は、複数の画素から成る画像を表す画像データが入力され、入力された画像データに対して所定の処理を行う画像処理装置であって、
変換テーブルに基づく多値ディザ処理によって、画像データを所定の階調の中間調画像データに変換して出力する中間調出力階調処理部と、
中間調画像データと、変換テーブルとを関連付けて記憶する画像記憶部と、
変換テーブルを用いて、中間調画像データを構成する第1画素値から、変換前の第2画素値を決定し、決定した第2画素値に基づいて復元画像データを作成する逆中間調処理部とを備え、
逆中間調処理部は、ディザマトリクス内のすべての画素の第1画素値が不可逆的に変換されていた場合は、ドットの成長順序に対する多値ディザ画像の値の最小値と最大値のいずれであるかとの対応関係に応じて、当該第2画素値を決定することを特徴とする画像処理装置である。
また本発明は、復元画像データに対して、少なくとも画像データの縮尺倍率を変更する縮尺倍率変更処理、画像データの方向を変更する回転処理、複数の画像データを1つの画像データとして結合する結合処理のいずれかを含む編集処理を行う画像編集部を備えることを特徴とする。
また本発明は、画素ごとに、文字領域、網点領域、写真領域および背景領域のいずれに属する画素であるかを判断する像域分離処理部を備え、
中間調出力階調処理部は、画素が属する領域に応じて多値ディザ処理を切り換え、
逆中間調処理部は、画素が属する領域に応じたディザマトリクスに基づいて復元画像データを作成することを特徴とする。
また本発明は、上記の画像処理装置と、
前記画像処理装置によって中間調出力階調処理が施された画像データを出力する画像出力装置とを備えることを特徴とする画像形成装置である。
また本発明は、複数の画素から成る画像を表す画像データが入力され、入力された画像データに対して所定の処理を行う画像処理方法であって、
予め定める画素群に含まれる画素の画素値を、所定の変換条件に基づいて可逆的または不可逆的に変換することで、画像データを所定の階調の中間調画像データに変換して出力する中間調出力階調処理工程と、
変換条件を用いて、中間調画像データを構成する第1画素値から、変換前の第2画素値を決定し、決定した第2画素値に基づいて復元画像データを出力する逆中間調処理工程とを有し、
逆中間調処理工程は、中間調出力階調処理工程で不可逆的に変換された第1画素値から、変換前の第2画素値を決定するとき、当該第1画素値を有する画素と同じ画素群に含まれる他の画素の第2画素値であって、中間調出力階調処理工程で可逆的に変換された第1画素値から決定された変換前の第2画素値に基づいて、当該第2画素値を決定することを特徴とする画像処理方法である。
また本発明は、上記の画像処理方法をコンピュータに実行させるための画像処理プログラムである。
また本発明は、上記の画像処理方法をコンピュータに実行させるための画像処理プログラムを記録したコンピュータ読み取り可能な記録媒体である。
本発明によれば、中間調出力階調処理部が、予め定める画素群に含まれる画素の画素値を、所定の変換条件に基づいて可逆的または不可逆的に変換して、中間調画像データを出力する。画像記憶部は、出力された中間調画像データと、変換条件とを関連付けて記憶する。逆中間調処理部は、記憶されている変換条件を用いて、中間調画像データを構成する第1画素値から、変換前の第2画素値を決定し、決定した第2画素値に基づいて復元画像データを出力する。
変換前の第2画素値を決定しようとする際に、第1画素値が、中間調出力階調処理部で不可逆的に変換された値であれば、第2画素値を一意に決定することができない。このような場合に、当該第1画素値を有する画素と同じ画素群に含まれる他の画素の第2画素値であって、中間調出力階調処理部で可逆的に変換された第1画素値から決定された変換前の第2画素値、すなわち第1画素から一意に決定された第2画素に基づいて当該第2画素値を決定する。
同じ画素群に含まれる画素の画素値は近い値を取り得る確率が高いので、一意に決定することができない場合であっても、第2画素値を変換前の画素値に近い値に決定することができる。したがって、復元画像データの再現性を向上させることができる。
また本発明によれば、中間調出力階調処理部が、変換テーブルに基づく多値ディザ処理によって中間調画像データを出力すると、画像記憶部は、中間調画像データと、変換テーブルとを関連付けて記憶する。逆中間調処理部は、記憶されている変換テーブルを用いて、中間調画像データを構成する第1画素値から、変換前の第2画素値を決定し、決定した第2画素値に基づいて復元画像データを出力する。
変換前の第2画素値を決定しようとする際に、第1画素値が、中間調出力階調処理部で不可逆的に変換された値であれば、第2画素値を一意に決定することができない。このような場合に、同じディザマトリクス内で多値ディザ処理される他の画素の第2画素値であって、中間調出力階調処理部で可逆的に変換された第1画素値から決定された変換前の第2画素値、すなわち第1画素から一意に決定された第2画素に基づいて当該第2画素値を決定する。
同じ画素群に含まれる画素の画素値は近い値を取り得る確率が高いので、一意に決定することができない場合であっても、第2画素値を多値ディザ処理前の画素値に近い値に決定することができる。したがって、復元画像データの再現性を向上させることができる。
また本発明によれば、逆中間調処理部は、中間調出力階調処理部で不可逆的に変換された第1画素値から、変換前の第2画素値を決定するとき、同じディザマトリクス内で多値ディザ処理される他の画素の第2画素値であって、中間調出力階調処理部で可逆的に変換された第1画素値から決定された変換前の第2画素値を、当該第2画素値として決定する。
これにより、容易に当該第2画素値を決定することができ、逆中間調処理部による処理時間を短縮することができる。
また本発明によれば、逆中間調処理部は、中間調出力階調処理部で不可逆的に変換された第1画素値から、変換前の第2画素値を決定するときに以下のような条件で決定する。
第1画素値が最小値である場合は、同じディザマトリクス内で多値ディザ処理され、ドットの成長順序が先の画素の第2画素値であって、中間調出力階調処理部で可逆的に変換された第1画素値から決定された変換前の第2画素値を、当該第2画素値として決定する。第1画素値が最大値である場合は、同じディザマトリクス内で多値ディザ処理され、ドットの成長順序が後の画素の第2画素値であって、中間調出力階調処理部で可逆的に変換された第1画素値から決定された変換前の第2画素値を、当該第2画素値として決定する。ドットの成長順序とは、多値ディザ処理において、入力値に応じてディザマトリクス内でどのようにドットを配置していくかを決定する順序のことである。
これにより、さらに第2画素値を多値ディザ処理前の画素値に近い値に決定することができる。したがって、復元画像データの再現性をさらに向上させることができる。
また本発明によれば、中間調出力階調処理部が、変換テーブルに基づく多値ディザ処理によって、中間調画像データを出力すると、画像記憶部は、中間調画像データと、変換テーブルとを関連付けて記憶する。逆中間調処理部は、記憶されている変換テーブルを用いて、中間調画像データを構成する第1画素値から、変換前の第2画素値を決定し、決定した第2画素値に基づいて復元画像データを出力する。
変換前の第2画素値を決定しようとする際に、全ての第1画素値が、中間調出力階調処理部で不可逆的に変換された値であれば、第2画素値を一意に決定することができない。このような場合に、ドットの成長順序に対する多値ディザ画像の値の最小値と最大値のいずれであるかとの対応関係に応じて、当該第2画素値を決定する。
これにより、全ての第1画素値が、中間調出力階調処理部で不可逆的に変換された値であっても、当該第2画素値を多値ディザ処理前の画素値に近い値に決定することができる。したがって、復元画像データの再現性を向上させることができる。
また本発明によれば、復元画像データに対して、少なくとも画像データの縮尺倍率を変更する縮尺倍率変更処理、画像データの方向を変更する回転処理、複数の画像データを1つの画像データとして結合する結合処理のいずれかを含む編集処理を行う画像編集部を備える。
復元画像データの再現性が向上することができるので、編集処理を行った画像データを出力する際の画質の劣化を防止することができる。
また本発明によれば、像域分離処理部が画素ごとに、文字領域、網点領域、写真領域および背景領域のいずれに属する画素であるかを判断し、中間調出力階調処理部は、画素が属する領域に応じて多値ディザ処理を切り換える。
逆中間調処理部は、画素が属する領域に応じたディザマトリクスに基づいて復元画像データを作成するので、画素ごとの多値ディザ処理が切り換わっても復元画像データの再現性を向上させることができる。
また本発明によれば、上記の画像処理装置と、前記画像処理装置によって中間調出力階調処理が施された画像データを出力する画像出力装置とを備える。
これにより、復元画像データの再現性が向上し、高画質の画像形成を行うことができる。
また本発明によれば、中間調出力階調処理工程では、予め定める画素群に含まれる画素の画素値を、所定の変換条件に基づいて可逆的または不可逆的に変換して、中間調画像データを作成する。逆中間調処理工程では、変換条件を用いて、中間調画像データを構成する第1画素値から、変換前の第2画素値を決定し、決定した第2画素値に基づいて復元画像データを作成する。
変換前の第2画素値を決定しようとする際に、第1画素値が、中間調出力階調処理工程で不可逆的に変換された値であれば、第2画素値を一意に決定することができない。このような場合に、当該第1画素値を有する画素と同じ画素群に含まれる他の画素の第2画素値であって、中間調出力階調処理工程で可逆的に変換された第1画素値から決定された変換前の第2画素値、すなわち第1画素から一意に決定された第2画素に基づいて当該第2画素値を決定する。
同じ画素群に含まれる画素の画素値は近い値を取り得る確率が高いので、一意に決定することができない場合であっても、第2画素値を変換前の画素値に近い値に決定することができる。したがって、復元画像データの再現性を向上させることができる。
また本発明によれば、上記の画像処理方法をコンピュータに実行させるための画像処理プログラムとして供給する。
これにより、上記の画像処理方法を汎用的に使用することが可能となる。
また本発明によれば、上記の画像処理方法をコンピュータに実行させるための画像処理プログラムを記録したコンピュータ読み取り可能な記録媒体として供給する。
これにより、上記の画像処理方法を容易にコンピュータで実行させることが可能となる。
本発明の実施の形態について図面を参照して詳述する。
図1は、本発明の実施の一形態である画像形成装置11の構成を示すブロック図である。画像形成装置11は、デジタル複写機および複合機などで実現され、画像入力装置12、画像処理装置13、画像出力装置14および操作パネル15を含んで構成される。
画像入力装置12は、光源およびCCD(Charge Coupled Device)を備えたスキャナ部により構成され、原稿からの反射光像を、画像データであるRGB(R:赤・G:緑・B:青)アナログ信号としてCCDにより画素ごとに読み取り、画像処理装置13に対して出力する。
画像処理装置13は、アナログ/デジタル(以後「A/D」と略称する)変換部21、シェーディング補正部22、入力階調補正部23、色補正部24、像域分離処理部25、墨生成下色除去部26、空間フィルタ処理部27、中間調出力階調処理部28、画像記憶部29、逆中間調処理部30および画像編集部31を含んで構成される。
画像入力装置12から入力されたRGBアナログ信号は、画像処理装置13内の各部で処理を施され、CMYK(C:シアン・M:マゼンタ・Y:イエロー・K:ブラック)デジタル信号として、画素ごとにプリンタなどで実現される画像出力装置14に出力される。
操作パネル15は、原稿の複写開始を指示する複写キー、各部の処理に必要なパラメータなどを入力する数字キーなど複数のキーと、画像形成装置11の動作状態、操作メニューなどを表示する表示部とを含む。ユーザが操作パネル15を操作することで、操作されたキーに応じて動作開始指示信号、パラメータ設定指示信号などの各種指示を示す指示信号、パラメータの具体値を示すデータ信号などを画像入力装置12、画像処理装置13および画像出力装置14に対して出力され、画像形成装置11に対する動作指示、パラメータの設定などを行うことができる。
画像入力装置12にて読み取られたRGBアナログ信号は、A/D変換部21により、RGBデジタル信号に変換された後、シェーディング補正部22により、画像入力装置12の照明系、結像系、撮像系で生じる各種の歪みを取り除く処理が施される。
入力階調補正部23は、シェーディング補正処理が施されたRGBデジタル信号に、入力階調補正処理を施す。入力階調補正処理は、反射率に基づくRGBデジタル信号を、画像処理装置13が扱いやすい濃度に基づくRGBデジタル信号に変換する処理である。入力階調補正部23は、さらにカラーバランス処理を施すような構成としてもよい。
色補正部24は、RGBの濃度をCMYの濃度に変換し、かつ画像出力装置14における色再現の忠実化実現のために、CMYデジタル信号に色補正処理を施す。色補正処理は、具体的には、不要吸収成分をそれぞれ含むシアン、マゼンタ、イエローの各トナーおよびインクの分光特性に基づいた色濁りを、CMYデジタル信号から取り除く処理である。
像域分離処理部25は、色補正部24から出力されたCMYデジタル信号に基づき、画素ごとに、文字領域、網点領域、写真領域および背景領域のいずれに属する画素であるかを判断する。像域分離処理部25における分離結果は、領域識別信号Segとして、空間フィルタ処理部27、中間調出力階調処理部28および画像記憶部29に出力される。領域識別信号Segは、たとえば2ビットで構成され、判定の結果、注目画素が文字領域に属している場合は「00」、網点領域に属している場合は「01」、写真領域に属している場合は「10」、背景領域に属している場合は「11」が出力される。
墨生成下色除去部26は、色補正部24から出力されたCMYデジタル信号に基づいて、ブラック(K)の濃度を示すKデジタル信号を生成する墨生成処理を行い、CMYデジタル信号に対して下色除去処理を施す。下色除去処理は、CMYデジタルから墨生成処理で生成されたブラックの濃度信号を差し引いて新たなCMYデジタル信号を得る処理である。これらの処理の結果、新たなCMYデジタル信号およびKデジタル信号から、画像データであるCMYKデジタル信号を作成する。
空間フィルタ処理部27は、墨生成下色除去部26で得られた画像データに対して、デジタルフィルタを用いた空間フィルタ処理を施す。これによって画像の空間周波数特性を補正し、画像出力装置14が出力する画像に生じるぼやけ、または粒状性劣化を防止する。
中間調出力階調処理部28は、空間フィルタ処理後の画像データに対して、階調補正処理および中間調生成処理を施す。中間調生成処理は、複数の画素を用いて階調を再現する処理であり、2値および多値ディザ法、誤差拡散法などを用いることができる。また中間調出力階調処理部28は、画像データの濃度値を、画像出力装置14の特性値である網点面積率に変換する処理を行うような構成としてもよい。本実施形態では、多値ディザ処理により階調補正処理および中間調生成処理を行うものとする。なお、多値ディザ処理は、テーブル変換によって行う。
中間調出力階調処理部28によって処理された画像データは、画像出力装置14に出力され、記録媒体上に画像として印刷などを行う。
画像記憶部29は、中間調出力階調処理後の画像データを記憶させておく際に、データ容量を削減し、より多くの画像データを記憶させておくことができるように圧縮した画像データを記憶する。圧縮方式としては、たとえば、JBIG(Joint Bi-level Image
Compression Group)方式を用いることができる。すなわち、画像記憶部29は、画像データの圧縮処理と伸張処理を行う機能を備えている。また、画素ごとに、領域識別信号Segに基づいて、像域分離処理部25における識別結果を記憶する。さらに、画像データごとに、その画像データに施した多値ディザ処理の変換テーブルTbを関連付けて記憶する。
逆中間調処理部30は、画像記憶部29に記憶されている画像データを、同じく画像記憶部29に記憶されている多値ディザ処理の変換テーブルTbに基づいて逆変換し、中間調出力階調処理前の画像データを復元する。この逆中間調処理部30の処理の詳細については後述する。
画像編集部31は、逆中間調処理部30で復元された画像データを用いて、画像データの編集を行う。編集の内容としては、縮尺倍率変更処理、回転処理、複数の画像データを1つの画像データに結合する結合処理などが可能である。編集された画像データは、中間調出力階調処理部28に出力され、再度階調補正処理および中間調生成処理が施される。もちろん、編集を行わずに、復元された画像データをそのまま中間調出力階調処理部28に出力しても構わない。編集を行うか否かの選択および編集内容の指示は、ユーザが操作パネル15を操作することで行うことができる。
以上の各部位の動作は、図示しないCPU(Central Processing Unit)により制御される。
本実施の形態の画像処理装置13は、中間調出力階調処理前の画像データを復元する逆中間調処理部30に特徴がある。なお、画像データは、CMYKの各色の濃度値から構成されるが、逆中間調処理は、色にかかわらず同様の処理を行うので、以下の説明では、1つの色の濃度値に対する処理だけを説明し、他の色に対する処理については説明を省略する。
逆中間調処理部30は、中間調出力階調処理部28が多値ディザ処理を行う際に参照する変換テーブルに基づいて逆中間調処理を行うので、まず、中間調出力階調処理部28が行う多値ディザ処理について説明する。
(多値ディザ処理)
ディザ処理は、中間調画像を表すための中間調出力階調処理部28が行う階調補正処理の1つである。ディザ処理には、主に2種類の処理があり、画素ごとの画素値(濃度値)に基づく閾値処理を行って、所定の領域内の画素数を中間調の階調に対応させて変化させる2値ディザ処理と、画素ごとに変換テーブルを参照して出力値(濃度値)を決定し、所定の領域内の出力総和値を中間調の階調に対応させて変化させる多値ディザ処理とがある。所定の領域を画像出力時の1ドットとし、画像データが有する各画素の階調を、1ドット内の複数の画素を用いて表現する、あるいは、複数の閾値を用いて画像データを多値で表すことで中間調画像データを形成する。
前述のように本実施の形態では、中間調出力階調処理部28は多値ディザ処理を行う。
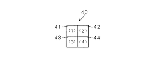
多値ディザ処理では、所定の領域を示すディザマトリクスを設定し、画像データを構成する各画素に対して、ディザマトリクスの各要素を1対1に対応させて出力値の決定を行う。ディザマトリクスの形状は、画像出力装置の特性などによって最適な形状が選択される。ディザマトリクスの一例としては、図2および図3に示すディザマトリクス40,50などが挙げられる。ディザマトリクス40は、4画素を1ドットとして処理するための2×2ディザマトリクスであり、ディザマトリクス50は、10画素を1ドットとして処理するためのディザマトリクスである。図に示すディザマトリクスの各要素に付されている数値は、ディザマトリクス内で出力値の配置を決定する順序、いわゆるドット成長順序を示している。たとえば、図2のディザマトリクス40では、まず要素41に対応する画素についての出力値を決定し、次に要素42に対応する画素についての出力値を決定し、次に要素43に対応する画素についての出力値を決定し、最後に要素44に対応する画素についての出力値を決定する。
以下では、図2に示した要素数が4の2×2ディザマトリクス40を用いた多値ディザ処理を例として説明する。
図4は、ディザマトリクス40における階調補正曲線51を示すグラフである。横軸は、画像データを構成する各画素の画素値(入力値)を示し、縦軸は1つのディザマトリクスで階調補正したときの各画素の画素値の総和(出力総和値)を示している。階調補正曲線51は、画像出力装置14の出力特性に応じて決定する。本実施形態では、各色の濃度値はそれぞれ8ビット、すなわち256階調で表されているとする。使用するディザマトリクス40の要素数が4であるので、4画素の出力総和値が1020となるように階調補正を行う。各要素における出力値の決定は、階調補正曲線51を縦軸方向に4分割した変換テーブルを参照して行う。図5は、ディザマトリクス40の各要素に対する変換テーブルを示す図である。図5(a)は要素41に対する変換テーブルを示し、図5(b)は要素42に対する変換テーブルを示し、図5(c)は要素43に対する変換テーブルを示し、図5(d)は要素44に対する変換テーブルを示している。この変換テーブルを参照することで、各要素に対応する画素の入力値に対して、1つの出力値(第1画素値)が決定される。
たとえば、図5(a)に示すように、入力値が0以上80以下の場合は、曲線52に基づいて出力値を決定し、入力値が81以上255以下の場合は、出力値は255に決定する。図5(b)に示すように、入力値が0以上79以下の場合は、出力値は0に決定し、入力値が80以上209以下の場合は、曲線53に基づいて出力値を決定し、入力値が210以上255以下の場合は、出力値は255に決定する。図5(c)に示すように、入力値が0以上207以下の場合は、出力値は0に決定し、入力値が208以上241以下の場合は、曲線54に基づいて出力値を決定し、入力値が242以上255以下の場合は、出力値は255に決定する。図5(d)に示すように、入力値が0以上239以下の場合は、出力値は0に決定し、入力値が240以上255以下の場合は、曲線55に基づいて出力値を決定する。
図6および図7は、多値ディザ処理および逆中間調処理の具体例を示す図である。図6(a)、図7(a)は、画像データの各画素の濃度値を示し、図6(b)、図7(b)は、多値ディザ処理された中間調画像データの各画素の濃度値を示し、図6(c)、図7(c)は、逆中間調処理の第1段階終了時における復元画像データの各画素の濃度値を示し、図6(d)、図7(a)は、逆中間調処理の第2段階終了時における復元画像データの各画素の濃度値を示している。なお、詳細については後述するが、逆中間調処理の第1段階とは、変換テーブルに基づいて、出力値から入力値が一意に決定可能な画素について入力値を決定する段階であり、逆中間調処理の第2段階とは、変換テーブルに基づいて、出力値から入力値が一意に決定不可能な画素について入力値を推定する段階である。
多値ディザ処理について、具体的に説明すると、図6(a)に示した画像データにおいては、最初に画素群60に対して多値ディザ処理を行う。画素群60は、ディザマトリクス40の要素数および形状に対応しており、画素61がディザマトリクスの要素41に対応し、画素62がディザマトリクスの要素42に対応し、画素63がディザマトリクスの要素43に対応し、画素64がディザマトリクスの要素44に対応する。したがって、画素61に対しては、図5(a)に示した変換テーブルを参照して出力値を決定し、画素62に対しては、図5(b)に示した変換テーブルを参照して出力値を決定し、画素63に対しては、図5(c)に示した変換テーブルを参照して出力値を決定し、画素64に対しては、図5(d)に示した変換テーブルを参照して出力値を決定する。
画素61の濃度値が100であるので、入力値を100としたとき、図5(a)に示した変換テーブルから出力値は255と決定する。画素62の濃度値が116であるので、入力値を116としたとき、図5(b)に示した変換テーブルの曲線53から出力値は36と決定する。画素63の濃度値が97であるので、入力値を97としたとき、図5(c)に示した変換テーブルから出力値は0と決定する。画素64の濃度値が113であるので、入力値を113としたとき、図5(d)に示した変換テーブルから出力値は0と決定する。
以上より、図6(b)に示すように、中間調画像の画素61aの濃度値は255となり、画素62aの濃度値は36となり、画素63aの濃度値は0となり、画素64aの濃度値は0となる。
上記では、説明をわかりやすくするために画素群60を用いて説明を行ったが、実際に画像データを処理する場合は、主走査方向(スキャナの走査方向に垂直な方向)の画像データが順次入力されるので、各画素に対応する変換テーブルを参照し、画像データ全体に対する多値ディザ処理を行う。
図7(a)に示した画像データにおいては、最初に画素群70に対して多値ディザ処理を行う。画素群70は、ディザマトリクス40の要素数および形状に対応しており、画素71がディザマトリクスの要素41に対応し、画素72がディザマトリクスの要素42に対応し、画素73がディザマトリクスの要素43に対応し、画素74がディザマトリクスの要素44に対応する。したがって、画素71に対しては、図5(a)に示した変換テーブルを参照して出力値を決定し、画素72に対しては、図5(b)に示した変換テーブルを参照して出力値を決定し、画素73に対しては、図5(c)に示した変換テーブルを参照して出力値を決定し、画素74に対しては、図5(d)に示した変換テーブルを参照して出力値を決定する。
画素71の濃度値が10であるので、入力値を10としたとき、図5(a)に示した変換テーブルの曲線52から出力値は108と決定する。画素72の濃度値が20であるので、入力値を20としたとき、図5(b)に示した変換テーブルの曲線53から出力値は0と決定する。画素73の濃度値が20であるので、入力値を20としたとき、図5(c)に示した変換テーブルから出力値は0と決定する。画素74の濃度値が245であるので、入力値を245としたとき、図5(d)に示した変換テーブルから出力値は58と決定する。
以上より、図7(b)に示すように、中間調画像の画素71aの濃度値は108となり、画素72aの濃度値は0となり、画素73aの濃度値は0となり、画素74aの濃度値は58となる。
多値ディザ処理後の画像データは、中間調出力階調処理部28から画像出力装置14に出力され、画像出力装置14が用紙などの記録媒体に画像として出力される。また、多値ディザ処理後の画像データは画像記憶部29に記憶される。このとき、多値ディザ処理で参照した変換テーブルも、画像データに関連付けて記憶される。
中間調出力階調処理部28から直接画像出力装置14に出力された画像データに基づいて出力された画像とほぼ同じ画像を画像出力装置14から出力する場合、逆中間調処理部30は画像記憶部29に記憶されている画像データから、中間調出力階調処理前の画像データを復元すればよい。
(逆中間調処理)
逆中間調処理は、逆中間調処理部30が、画像記憶部29に記憶されている、多値ディザ処理された画像データから中間調出力階調処理前の画像データを復元する処理である。
図8は、逆中間調処理部30による逆中間調処理を示すフローチャートである。
ステップS1では、操作パネル15がユーザによって操作され、たとえば、画像編集部31による編集を行う指示が逆中間調処理部30に入力され、編集の対象となる画像データの選択および編集内容の設定が行われると、ステップS2では、逆中間調処理部30が画像記憶部29から、選択された画像データに関連付けられた変換テーブルを読み出す。ステップS3では、選択された画像データのうちディザマトリクスの行数と同じ数のラインを、逆中間調処理部30が備える中間調画像データ用のラインメモリに読み込む。たとえば、ディザマトリクス40の行数は2行であるので、2ライン分を読み込み、ディザマトリクス50の行数は3行であるので、3ライン分を読み込むこととなる。
ステップS4では、ディザマトリクスに対応する全ての画素が読み出された画素群に対して逆中間調処理を行う。ステップS4における詳細な逆中間調処理については後述する。ステップS5では、画像データの読み込みが全て終了しているか否かを判断し、全て終了していればステップS8に進み、終了していなければステップS6に進む。ステップS6では、すでに逆中間調処理が終了したラインを画像編集部31に出力し、ステップS7で次のラインを読み込んでステップS4に戻る。
ステップS8では、ラインメモリに残っている未処理のラインに対して逆中間調処理を行い、ステップS9では、ステップS8で処理したラインを画像編集部31に出力して処理を終了する。
画像編集部31は、逆中間調処理部から入力された画像データに対して、操作パネル15から入力された編集の設定内容に応じて、縮尺倍率変更処理、回転処理、複数の画像データを1つの画像データに結合する結合処理などを行い、処理後の画像データを中間調出力階調処理部28へ出力する。
以下では逆中間調処理について詳細に説明する。図9は、図8のステップS4における逆中間調処理の詳細を示すフローチャートである。
まずステップS10では、処理対象画素を、ラインメモリに記憶されている最初の画素に設定する。ステップS11では、処理対象画素が、ディザマトリクスに対応する全ての画素が読み出された画素群の画素であるかどうかを判断する。全ての画素が読み出された画素群の画素であればステップS12に進み、全ての画素が読み出された画素群の画素でなければステップS13に進む。ステップS12では、処理対象画素の濃度値を出力値とし、変換テーブルに基づいて入力値(第2画素値)を決定する。ここで、処理対象画素の濃度値が、変換テーブルの曲線に含まれる場合は、出力値から入力値を一意に決定可能である。たとえば、図6(b)の画素62aが処理対象画素であった場合、出力値が36であるので、図5(b)の変換テーブルの曲線53に含まれ、入力値が116と一意に決定する。これに対し、処理対象画素の濃度値が、変換テーブルの曲線に含まれない場合は、出力値から入力値を一意に決定することができない。たとえば、図6(b)の画素61aが処理対象画素であった場合、出力値が255であるので、図5(b)の変換テーブルの曲線53に含まれない。したがって、入力値が取り得る値は209〜255のいずれかとなり一意に決定することができない。なお、ドットの成長順序が最初の画素、たとえば図2および図3で示したディザマトリクス40,50において、数値の1が付されている要素に対応する画素の出力値が0の場合、およびドットの成長順序が最後の画素、たとえば図2で示したディザマトリクス40において数値の4が付されている要素に対応する画素と図3で示したディザマトリクス50において数値の10が付されている要素に対応する画素の出力値が255の場合は、入力値が一意に決定可能である。
一意に入力値が決定された画素については、決定された入力値を復元画像データの画素の濃度値とし、一意に入力値が決定されなかった画素については、濃度値を不明とする。復元画像データの濃度値は、逆中間調処理部30が備える復元画像データ用のラインメモリに記憶する。なお、図6(c)および図7(c)において、濃度値が不明である画素については数値を示さず空白としている。
ステップS13では、処理対象画素がラインメモリに記憶されている最後の画素であるかどうかを判断する。最後の画素であれば、ステップS15に進み、最後の画素でなければ、ステップS14に進む。ステップS14では、処理対象画素をラインの隣接する画素に設定する。ステップS15では、処理対象画素をラインメモリに記憶されている最初の画素に設定する。
ステップS16では、処理対象画素が、ディザマトリクス対応する全ての画素が読み出された画素群の最初の画素であるかどうかを判断する。最初の画素であればステップS17に進み、最初の画素でなければステップS22に進む。ステップS17では、処理対象画素が含まれる画素群に、ステップS12において一意に入力値が決定された画素、すなわち復元画像データの濃度値が決定している画素が1画素以上含まれるかどうかを判断する。1画素以上含まれていればステップS18で第1推定処理を行い、含まれていなければステップS19で第2推定処理を行う。第1および第2推定処理の詳細については後述する。
ステップS20では処理対象画素がラインメモリに記憶されている最後の画素であるかどうかを判断する。最後の画素であればステップS21に進み、最後の画素でなければステップS22に進む。ステップS21では、処理対象画素が含まれるラインが、中間調画像データの最後のラインであるかどうかを判断する。最後のラインであれば処理を終了し、最後のラインでなければステップS23に進む。ステップS23では、中間調画像データの次のラインの読み込みを行う。
第1推定処理について説明する。図10は、図9のステップS18における第1推定処理を示すフローチャートである。
まずステップS31では、ディザマトリクスに対応する画素群のうち、ドットの成長順序が1の画素を対象画素に設定する。ステップS32では、対象画素の復元画像データの濃度値が既に決定しているかどうかを判断する。決定していればステップS33に進み、決定していなければステップS34に進む。ステップS33では、ドットの成長順序が次の画素を対象画素に設定する。
ステップS34では、中間調画像データの濃度値(出力値)が255であるかどうかを判断する。255であればステップS35に進み、255でなければステップS36に進む。ステップS35では、対象画素が含まれる画素群のうち、ドットの成長順序が、対象画素よりも後であって、濃度値が一意に決定している画素の濃度値を対象画素の濃度値とする。ステップS36では、対象画素が含まれる画素群のうち、ドットの成長順序が、対象画素よりも先であって、濃度値が一意に決定している画素の濃度値を対象画素の濃度値として推定する。ステップS35およびS36における推定の根拠は、隣接または近傍に位置する画素は、近い値を取り得る確率が高いことである。
ステップS37では、対象画素が、ドットの成長順序が最後の画素であるかどうかを判断する。最後の画素であれば処理を終了し、最後の画素でなければステップS33に進む。
第1推定処理について、図6および図7を参照して具体的に説明する。図6(c)に示した復元画像データにおいて、対象画素を画素61bとすると、画素61bの濃度値は不明であり、図6(b)に示した中間調画像データでは濃度値が255であるので、ステップS35で示したように、ドットの成長順序が、対象画素よりも後であって、濃度値が一意に決定している画素、すなわち画素62bの濃度値116を、画素61bの濃度値とする。また、図6(c)に示した復元画像データにおいて、対象画素を画素63bとすると、画素63bの濃度値は不明であり、図6(b)に示した中間調画像データでは出力値が0であるので、ステップS36で示したように、ドットの成長順序が、対象画素よりも先であって、濃度値が一意に決定している画素、すなわち画素62bの濃度値116を、画素63bの濃度値とする。対象画素が64bである場合は、対象画素が63bである場合と同様である。以上のような第1推定処理により、復元画像データは図6(d)に示すように、画素61c〜64cの濃度値が116となる。
また、図7(c)に示した復元画像データにおいて、対象画素を画素72bとすると、画素72bの濃度値は不明であり、図7(b)に示した中間調画像データでは濃度値が0であるので、ステップS36で示したように、ドットの成長順序が、対象画素よりも先であって、濃度値が一意に決定している画素、すなわち画素71bの濃度値10を、画素72bの濃度値とする。また、図7(c)に示した復元画像データにおいて、対象画素を画素73bとすると、画素73bの濃度値は不明であり、図7(b)に示した中間調画像データでは出力値が0であるので、対象画素が72bの場合と同様に、画素71bの濃度値10を、画素73bの濃度値とする。以上のような第1推定処理により、復元画像データは図7(d)に示すように、画素71c〜73cの濃度値が10となり、画素74cの濃度値が245となる。
第2推定処理について説明する。ドットの成長順序i(i=1,2,…,ms)(msはディザマトリクスの要素数)に対する多値ディザ処理後の中間調画像データの濃度値(出力値)をy[i]、復元画像データの濃度値(入力値)をx[i]とする。いずれの画素についても出力値から入力値が一意に決定されていない場合は、y[1]=255、y[ms]=0である。ドットの成長順序の小さい方から順にy[i]=255の連続部分を抽出する。すなわち、y[i]=0かつy[i−1]=255となる変化点を探索する。x[i]は変換テーブルに基づいて、取り得る値の最大値と推定し、x[i−1]は変換テーブルに基づいて、取り得る値の最小値と推定する。y[i]=255が連続する部分の最初の画素まで遡って、x[i−2]、x[i−3]、…を、x[i−1]と同じ値として推定する。
次にy[i]=0の連続部分を抽出する。すなわち、y[i]=255かつy[i−1]=0となる変化点を探索する。y[i]=0の連続部分については、x[i]=x[i−1]と推定する。これらの処理を、成長順序が小さい方から大きい方へ、すべてのx[i]が推定されるまで続ける。
図11は、図9のステップS19における第2推定処理を示すフローチャートである。
まずステップS41では、初期設定としてi=2、n=1、flow=Aと設定する。ここでflowとは、y[i]=255またはy[i]=0のいずれの連続部分を抽出しているかを示す変数である。flow=Aのときは、y[i]=255の連続部を抽出しており、flow=Bのときは、y[i]=0の連続部を抽出していることを示す。
ステップS2では、flow=Aであるかどうかを判断する。flow=AであればステップS43に進み、flow=AでなければステップS46に進む。ステップS43では、y[i]=0であるかどうかを判断する。y[i]=0であればステップS44に進み、y[i]=0でなければステップS45に進む。ステップS44では、x[i]は変換テーブルに基づいて、取り得る値の最大値と推定し、x[i−1]は変換テーブルに基づいて、取り得る値の最小値と推定し、y[i]=255がどこまで続くかを調べはじめた画素まで遡って、x[i−2]、x[i−3]、…を、x[i−1]と同じ値にする。またflow=Bとする。ステップS45では、i=msであるかどうかを判断する。i=msであれば処理を終了し、i=msでなければ、ステップS49でiに1を加えてステップS42に戻る。
ステップS46では、y[i]=0であるかどうかを判断する。y[i]=0であればステップS47に進み、y[i]=0でなければステップS48に進む。ステップS47ではx[i]=x[i−1]と推定し、ステップS48ではflow=A、n=iとする。
また、ディザマトリクス40を用いる場合の第2推定処理は、図12に示すフローチャートのようになる。
ステップS51では、y[2]=0であるかどうかを判断する。y[2]=0であればステップS52に進み、y[2]=0でなければステップS55に進む。ステップS52では、y[3]=0であるかどうかを判断する。y[3]=0であればステップS53に進み、y[3]=0でなければステップS54に進む。ステップS53では、x[1]は変換テーブルに基づいて取り得る値の最小値、x[2]は変換テーブルに基づいて取り得る値の最大値、x[3]=x[2]、x[4]=x[3]と推定する。ステップS54では、x[1]は変換テーブルに基づいて取り得る値の最小値、x[2]は変換テーブルに基づいて取り得る値の最大値、x[3]は変換テーブルに基づいて取り得る値の最小値、x[4]は変換テーブルに基づいて取り得る値の最大値と推定する。
ステップS55では、y[3]=0であるかどうかを判断する。y[3]=0であればステップS56に進み、y[3]=0でなければステップS57に進む。ステップS56では、x[2]は変換テーブルに基づいて取り得る値の最小値、x[3]は変換テーブルに基づいて取り得る値の最大値、x[1]=x[2]、x[4]=x[3]と推定する。ステップS57では、x[3]は変換テーブルに基づいて取り得る値の最小値、x[4]は変換テーブルに基づいて取り得る値の最大値、x[2]=x[3]、x[1]=x[2]と推定する。
図13は、図12で示したフローチャートによる第2推定処理の具体例を示す図である。図13(a)は、画像データの各画素の濃度値を示し、図13(b)は、多値ディザ処理された中間調画像データの各画素の濃度値を示し、図13(c)は、逆中間調処理された復元画像データの各画素の濃度値を示している。図13(a)に示した画像データにおいては、最初に画素群80に対して多値ディザ処理を行う。画素群80は、ディザマトリクス40の要素数および形状に対応しており、画素81がディザマトリクスの要素41に対応し、画素82がディザマトリクスの要素42に対応し、画素83がディザマトリクスの要素43に対応し、画素84がディザマトリクスの要素44に対応する。したがって、画素81に対しては、図5(a)に示した変換テーブルを参照して出力値を決定し、画素82に対しては、図5(b)に示した変換テーブルを参照して出力値を決定し、画素83に対しては、図5(c)に示した変換テーブルを参照して出力値を決定し、画素84に対しては、図5(d)に示した変換テーブルを参照して出力値を決定する。
画素81の濃度値が218であるので、図5(a)に示した変換テーブルから出力値は255と決定する。画素82の濃度値が212であるので、図5(b)に示した変換テーブルから出力値は255と決定する。画素83の濃度値が200であるので、図5(c)に示した変換テーブルから出力値は0と決定する。画素84の濃度値が103であるので、図5(d)に示した変換テーブルから出力値は0と決定する。
以上より、図13(b)に示すように、中間調画像データの画素81aおよび画素82aの濃度値は255となり、画素83aおよび画素84aの濃度値は0となる。
図13(b)に示す中間調画像データに逆中間調処理を行う場合、いずれの画素についても、復元画像データの濃度値は一意に決定することができない。図12で示したフローチャートによる第2推定処理を行うと、y[2]=0ではなく、y[3]=0であるので、ステップS56に示したように、x[2]は変換テーブルに基づいて取り得る値の最小値、x[3]は変換テーブルに基づいて取り得る値の最大値、x[1]=x[2]、x[4]=x[3]と推定する。
したがって、図5(b)の変換テーブルから、x[2]の取り得る値の最小値は209、図5(c)の変換テーブルから、x[3]の取り得る値の最大値は208と推定する。さらに、x[1]=x[2]であるから、x[1]は209、x[4]=x[3]であるからx[4]は208と推定する。
第2推定処理により、復元画像データは、図13(c)に示すように、画素81bおよび画素82bの濃度値は209、画素83bおよび画素84bの濃度値は208となる。
以上のような逆中間調処理により画像データを復元することにより、多値ディザ処理前の画像データに対する再現性を向上させることができる。したがって、縮尺倍率変更処理、回転処理、複数の画像データを1つの画像データに結合する結合処理など編集処理を行っても、画像出力装置14から出力される画像の劣化を防止することができる。
さらに、中間調画像データから復元画像データを生成して、再度多値ディザ処理を行って画像出力装置14で出力する際には、当該中間調画像データ作成時に比べて、画像出力装置14の出力特性が温度、湿度などさまざまな要因によって変化していることがある。その場合は変化に応じた階調補正曲線を、ユーザまたは中間調出力階調処理部28が設定する。本発明では、復元画像データの再現性が向上するので、適切な階調補正曲線が設定されれば、画像出力装置14の出力特性が変化しても、出力される画像の劣化を防止することができる。また、画像出力装置を種々変更したとしても、画像出力装置に応じて適切な階調補正曲線が設定されれば、出力される画像の劣化を防止することができる。
中間調出力階調処理部28は、像域分離処理部25から出力される領域識別信号Segに応じて、処理対象の画素ごとにディザマトリクスなどを切り換えて、多値ディザ処理を行うような構成としてもよい。ディザマトリクスを切り換える場合は、変換テーブルもそれに応じて切り換わるので、画像記憶部29は、複数種類の変換テーブルを記憶する。
たとえば、処理対象の画素が文字領域に属している場合と、文字領域以外に属している場合とでディザマトリクスなどを切り換えるとすると、逆中間調処理部30は、逆中間調処理において、画像記憶部29に記憶されている処理対象画素の識別結果を参照し、処理対象画素が文字領域に属しているときは、文字領域処理用の変換テーブルを選択し、処理対象画素が文字領域以外の領域に属しているときは、文字領域以外の領域処理用の変換テーブルを選択して復元画像データの濃度値を決定する。
なお、入力画像データを構成する各画素を、文字領域・網点領域・写真領域に分離する方法としては、たとえば「画像電子学会研究会予稿90-06-04」に記載されている方法を用いることができる。以下に詳細を説明する。像域分離処理部25は、注目画素を中心としたM×N(M、Nは自然数)画素のブロック内で以下のような判定を行い、判定結果に基づいて領域識別信号を出力する。
ブロック内の中央の9画素に対して画素信号レベルの平均値(Dave)を求め、その平均値を用いてブロック内の各画素を2値化する。また、最大画素信号レベル(Dmax)、最小画素信号レベル(Dmin)も同時に求める。
網点領域は、小領域における画素信号レベルの変動が大きいこと、背景に比べて画素信号レベルが高いことを利用し、網点領域に属するか否かを判定する。具体的には、2値化された画像データに対して主走査、副走査方向でそれぞれ画素値が0から1へ変化する変化点数および画素値が1から0へ変化する変化点数を求めて、それぞれKH、KVとし、閾値TH、TVと比較する。KH、KVがともに閾値TH、TVを上回る場合、注目画素は網点領域に属すると判定する。また、これらの条件を満たさない場合、注目画素は非網点領域に属すると判定する。また、背景領域に属するという誤判定を防止するために、Dmax、Dmin、Daveを閾値B1、B2と比較する。
Dmax−Dave> B1かつDave−Dmin> B2かつKH> TH かつKV>TV … 網点領域
上記以外 … 非網点領域
文字領域は、最大画素信号レベルと最小画素信号レベルの差が大きく、画素信号レベルも高いことを利用し、非網点領域に属すると判定された注目画素が文字領域に属するか否かを判定する。網点領域の判定時に求めていた最大、最小画素信号レベル(Dmax、Dmin)とそれらの差分(Dsub)を閾値PA、PB、PCと比較し、いずれか1つが閾値を上回る場合、注目画素は文字領域に属すると判定する。また、すべてが閾値以下である場合、注目画素は写真領域に属すると判定する。
Dmax>PAまたはDmin< PBまたはDsub> PC … 文字領域
上記以外 … 写真領域
また、本発明は、コンピュータに実行させるための画像処理プログラムを記録したコンピュータ読み取り可能な記録媒体にも適用可能である。画像処理プログラムは、上記の画像処理装置と同様の動作をコンピュータに実行させるプログラムである。これにより、画像処理プログラムを記録した記録媒体を持ち運び自在に提供することができる。
なお、記録媒体としては、マイクロコンピュータで処理が行われるためのメモリ、たとえばROM(Read Only Memory)のようなものであっても良いし、また、外部記憶装置としてプログラム読み取り装置が設けられ、そこに記録媒体を挿入することで読み取り可能なものであっても良い。
いずれの場合においても、記録されている画像処理プログラムはマイクロプロセッサがアクセスして実行させる構成であっても良いし、あるいは、画像処理プログラムを読み出し、読み出したプログラムをプログラム記憶エリアにダウンロードすることで画像処理プログラムを実行させる構成であってもよい。このダウンロード用のプログラムは予めコンピュータに備えられているものとする。
さらに記録媒体は、コンピュータと分離可能に構成される記録媒体であり、磁気テープやカセットテープなどのテープ系、フレキシブルディスクまたはハードディスクなどの磁気ディスク、CD−ROM(Compact Disk - Read Only Memory)/MO(Magneto
Optical)ディスク/MD(Mini Disc)/DVD(Digital Versatile Disk)などの光ディスクのディスク系、IC(Integrated Circuit)カード(メモリカードを含む)/光カードなどのカード系、あるいはマスクROM、EPROM(Erasable Programmable
Read Only Memory)、EEPROM(Electrically Erasable Programmable Read Only
Memory)、フラッシュROMなどによる半導体メモリを含めた固定的にプログラムを担持する媒体であっても良い。
また、コンピュータを、電気通信回線を通じてインターネットを含む通信ネットワークに接続可能なシステム構成とすることで、画像処理プログラムを所定のサーバなどからダウンロードするような流動的にプログラムを保持する媒体であっても良い。なお、このように通信ネットワークから画像処理プログラムをダウンロードする場合には、そのダウンロード用のプログラムは予めコンピュータに格納しておくか、あるいは別の記録媒体からインストールされるものであっても良い。また、ダウンロード用のプログラムはユーザーインターフェースを介してユーザの指示によりダウンロードを実行するものであっても良いし、定期的に決められたURL(Uniform Resource Locator)のサイトから画像処理プログラムをダウンロードするものであっても良い。
また、本発明である画像処理プログラムは、プリンタドライバーの一部として適用することも可能である。プリンタドライバーは、コンピュータの周辺機器であるプリンタの動作制御を行うためのソフトウェアである。
図14は、コンピュータ100におけるプリンタ200との接続部分の構成を示すブロック図である。コンピュータ100は、少なくともプリンタドライバー101、通信ポートドライバー102、通信ポート103を有し、画像出力装置であるプリンタ200と接続する。コンピュータ100は、図に示した以外に一般的なコンピュータの構成要素を備えている。
プリンタドライバー101は、色補正部111、中間調出力階調処理部112、プリンタ言語翻訳部113、画像記憶部114、逆中間調処理部115および画像編集部116を含んで構成される。プリンタドライバー101はソフトウェアで実現されるので、各処理部は、個別の処理プログラムまたは複数の処理を行う処理プログラムなどで実現される。色補正部111、中間調出力階調処理部112、画像記憶部114、逆中間調処理部115および画像編集部116の動作は、図1に示した画像形成装置11の各処理部と同様であるので説明は省略する。
コンピュータ100において各種のアプリケーションプログラムを実行することにより生成された画像データは、まずプリンタドライバー101の色補正部111で処理される。また、コンピュータ100の図示しない像域分離処理部において、画像データに対して像域分離処理が行われ、領域識別信号Segが中間調出力階調処理部に入力される。色補正部111では、画像処理装置13に備えられた色補正部24と同様の処理を画像データに行う。色補正部111で処理された画像データは、次に中間調出力階調処理部112で、分離結果に基づいて階調補正処理、中間調生成処理が施される。中間調出力階調処理部112において処理が施された中間調画像データを、画像記憶部114に記憶せずに出力する場合は、プリンタ200から出力できるように、プリンタ言語翻訳部113で、プリンタ言語に変換される。プリンタ言語翻訳部113から出力された中間調画像データは、通信ポートドライバー102および通信ポート103を介して、プリンタ200に出力される。プリンタ200では、入力された画像データを用紙などの記録媒体に出力する。
中間調出力階調処理部112において処理が施された中間調画像データを、画像記憶部114に記憶しておく場合は、ユーザからの指示(本実施形態の場合は、たとえば、ユーザが液晶ディスプレイ装置などの画像表示装置を見ながら、キーボード、マウスを用いて入力される指示)に基づいて、逆中間調処理部115および画像編集部116で処理が施され、再度中間調処理が施されてプリンタ言語翻訳部113に出力される。プリンタ言語翻訳部113から出力された中間調画像データは、通信ポートドライバー102および通信ポート103を介して、プリンタ200に出力される。プリンタ200では、入力された画像データを用紙などの記録媒体に出力する。なお、プリンタドライバー101は、コンピュータ100ではなく、プリンタ200に備えるように構成してもよい。
なお、本発明の画像処理プログラムをアプリケーションソフトウェアまたはアプリケーションソフトウェアの一部としてコンピュータで実行するようにしてもよい。
本発明の実施の一形態である画像形成装置11の構成を示すブロック図である。 多値ディザ処理で用いられるディザマトリクス40を示す図である。 多値ディザ処理で用いられるディザマトリクス50を示す図である。 ディザマトリクス40における階調補正曲線51を示すグラフである。 ディザマトリクス40の各要素に対する変換テーブルを示す図である。 多値ディザ処理および逆中間調処理の具体例を示す図である。 多値ディザ処理および逆中間調処理の具体例を示す図である。 逆中間調処理部30による逆中間調処理を示すフローチャートである。 図8のステップS4における逆中間調処理の詳細を示すフローチャートである。 図9のステップS18における第1推定処理を示すフローチャートである。 図9のステップS19における第2推定処理を示すフローチャートである。 ディザマトリクス40を用いる場合の第2推定処理を示すフローチャートである。 図12で示したフローチャートによる第2推定処理の具体例を示す図である。 コンピュータ100におけるプリンタ200との接続部分の構成を示すブロック図である。
符号の説明
11 画像形成装置
12 画像入力装置
13 画像処理装置
14 画像出力装置
15 操作パネル
21 アナログ/デジタル変換部
22 シェーディング補正部
23 入力階調補正部
24 色補正部
25 像域分離処理部
26 墨生成下色除去部
27 空間フィルタ処理部
28 中間調出力階調処理部
29 画像記憶部
30 逆中間調処理部
31 画像編集部
40,50 ディザマトリクス
41,42,43,44 要素
51 階調補正曲線
52,53,54,55 曲線
60,70,80 画素群
61,62,63,64,71,72,73,74,81,82,83,84 画像データの画素
61a,62a,63a,64a,71a,72a,73a,74a,81a,82a,83a,84a 中間調画像データの画素
61b,62b,63b,64b,71b,72b,73b,74b 復元画像データの画素
61c,62c,63c,64c,71c,72c,73c,74c,81b,82b,83b,84b 復元画像データの画素

Claims (11)

  1. 複数の画素から成る画像を表す画像データが入力され、入力された画像データに対して所定の処理を行う画像処理装置であって、
    予め定める画素群に含まれる画素の画素値を、所定の変換条件に基づいて可逆的または不可逆的に変換することで、画像データを所定の階調の中間調画像データに変換して出力する中間調出力階調処理部と、
    中間調画像データと、変換条件とを関連付けて記憶する画像記憶部と、
    変換条件を用いて、中間調画像データを構成する第1画素値から、変換前の第2画素値を決定し、決定した第2画素値に基づいて復元画像データを出力する逆中間調処理部とを備え、
    逆中間調処理部は、中間調出力階調処理部で不可逆的に変換された第1画素値から、変換前の第2画素値を決定するとき、当該第1画素値を有する画素と同じ画素群に含まれる他の画素の第2画素値であって、中間調出力階調処理部で可逆的に変換された第1画素値から決定された変換前の第2画素値に基づいて、当該第2画素値を決定することを特徴とする画像処理装置。
  2. 複数の画素から成る画像を表す画像データが入力され、入力された画像データに対して所定の処理を行う画像処理装置であって、
    変換テーブルに基づく多値ディザ処理によって、画像データを所定の階調の中間調画像データに変換して出力する中間調出力階調処理部と、
    中間調画像データと、変換テーブルとを関連付けて記憶する画像記憶部と、
    変換テーブルを用いて、中間調画像データを構成する第1画素値から、変換前の第2画素値を決定し、決定した第2画素値に基づいて復元画像データを作成する逆中間調処理部とを備え、
    逆中間調処理部は、中間調出力階調処理部で不可逆的に変換された第1画素値から、変換前の第2画素値を決定するとき、同じディザマトリクス内で多値ディザ処理される他の画素の第2画素値であって、中間調出力階調処理部で可逆的に変換された第1画素値から決定された変換前の第2画素値に基づいて、当該第2画素値を決定することを特徴とする画像処理装置。
  3. 逆中間調処理部は、中間調出力階調処理部で不可逆的に変換された第1画素値から、変換前の第2画素値を決定するとき、同じディザマトリクス内で多値ディザ処理される他の画素の第2画素値であって、中間調出力階調処理部で可逆的に変換された第1画素値から決定された変換前の第2画素値を、当該第2画素値として決定することを特徴とする請求項2記載の画像処理装置。
  4. 逆中間調処理部は、中間調出力階調処理部で不可逆的に変換された第1画素値から、変換前の第2画素値を決定するとき、
    第1画素値が最小値である場合は、同じディザマトリクス内で多値ディザ処理され、ドットの成長順序が先の画素の第2画素値であって、中間調出力階調処理部で可逆的に変換された第1画素値から決定された変換前の第2画素値を、当該第2画素値として決定し、
    第1画素値が最大値である場合は、同じディザマトリクス内で多値ディザ処理され、ドットの成長順序が後の画素の第2画素値であって、中間調出力階調処理部で可逆的に変換された第1画素値から決定された変換前の第2画素値を、当該第2画素値として決定することを特徴とする請求項3記載の画像処理装置。
  5. 複数の画素から成る画像を表す画像データが入力され、入力された画像データに対して所定の処理を行う画像処理装置であって、
    変換テーブルに基づく多値ディザ処理によって、画像データを所定の階調の中間調画像データに変換して出力する中間調出力階調処理部と、
    中間調画像データと、変換テーブルとを関連付けて記憶する画像記憶部と、
    変換テーブルを用いて、中間調画像データを構成する第1画素値から、変換前の第2画素値を決定し、決定した第2画素値に基づいて復元画像データを作成する逆中間調処理部とを備え、
    逆中間調処理部は、ディザマトリクス内のすべての画素の第1画素値が不可逆的に変換されていた場合は、ドットの成長順序に対する多値ディザ画像の値の最小値と最大値のいずれであるかとの対応関係に応じて、当該第2画素値を決定することを特徴とする画像処理装置。
  6. 復元画像データに対して、少なくとも画像データの縮尺倍率を変更する縮尺倍率変更処理、画像データの方向を変更する回転処理、複数の画像データを1つの画像データとして結合する結合処理のいずれかを含む編集処理を行う画像編集部を備えることを特徴とする1〜5のいずれか1つに記載の画像処理装置。
  7. 画素ごとに、文字領域、網点領域、写真領域および背景領域のいずれに属する画素であるかを判断する像域分離処理部を備え、
    中間調出力階調処理部は、画素が属する領域に応じて多値ディザ処理を切り換え、
    逆中間調処理部は、画素が属する領域に応じたディザマトリクスに基づいて復元画像データを作成することを特徴とする請求項1〜6のいずれか1つに記載の画像処理装置。
  8. 請求項1〜7のいずれかに記載の画像処理装置と、
    前記画像処理装置によって中間調出力階調処理が施された画像データを出力する画像出力装置とを備えることを特徴とする画像形成装置。
  9. 複数の画素から成る画像を表す画像データが入力され、入力された画像データに対して所定の処理を行う画像処理方法であって、
    予め定める画素群に含まれる画素の画素値を、所定の変換条件に基づいて可逆的または不可逆的に変換することで、画像データを所定の階調の中間調画像データに変換して出力する中間調出力階調処理工程と、
    変換条件を用いて、中間調画像データを構成する第1画素値から、変換前の第2画素値を決定し、決定した第2画素値に基づいて復元画像データを出力する逆中間調処理工程とを有し、
    逆中間調処理工程は、中間調出力階調処理工程で不可逆的に変換された第1画素値から、変換前の第2画素値を決定するとき、当該第1画素値を有する画素と同じ画素群に含まれる他の画素の第2画素値であって、中間調出力階調処理工程で可逆的に変換された第1画素値から決定された変換前の第2画素値に基づいて、当該第2画素値を決定することを特徴とする画像処理方法。
  10. 請求項9記載の画像処理方法をコンピュータに実行させるための画像処理プログラム。
  11. 請求項9記載の画像処理方法をコンピュータに実行させるための画像処理プログラムを記録したコンピュータ読み取り可能な記録媒体。
JP2004060972A 2004-03-04 2004-03-04 画像処理装置、画像処理方法、画像形成装置、画像処理プログラムおよび記録媒体 Expired - Fee Related JP4044530B2 (ja)

Priority Applications (1)

Application Number Priority Date Filing Date Title
JP2004060972A JP4044530B2 (ja) 2004-03-04 2004-03-04 画像処理装置、画像処理方法、画像形成装置、画像処理プログラムおよび記録媒体

Applications Claiming Priority (1)

Application Number Priority Date Filing Date Title
JP2004060972A JP4044530B2 (ja) 2004-03-04 2004-03-04 画像処理装置、画像処理方法、画像形成装置、画像処理プログラムおよび記録媒体

Publications (2)

Publication Number Publication Date
JP2005252701A JP2005252701A (ja) 2005-09-15
JP4044530B2 true JP4044530B2 (ja) 2008-02-06

Family

ID=35032768

Family Applications (1)

Application Number Title Priority Date Filing Date
JP2004060972A Expired - Fee Related JP4044530B2 (ja) 2004-03-04 2004-03-04 画像処理装置、画像処理方法、画像形成装置、画像処理プログラムおよび記録媒体

Country Status (1)

Country Link
JP (1) JP4044530B2 (ja)

Families Citing this family (6)

* Cited by examiner, † Cited by third party
Publication number Priority date Publication date Assignee Title
JP2008092541A (ja) * 2006-09-06 2008-04-17 Sharp Corp 画像処理方法、画像処理装置、画像形成装置、コンピュータプログラム及び記録媒体
JP4931156B2 (ja) * 2008-05-22 2012-05-16 株式会社リコー 画像処理装置、画像処理方法及びプログラム
JP5264412B2 (ja) 2008-10-28 2013-08-14 キヤノン株式会社 画像処理装置および画像処理方法
JP5136399B2 (ja) * 2008-12-26 2013-02-06 株式会社ニコン 画像処理装置及び画像処理プログラム
JP5136400B2 (ja) * 2008-12-26 2013-02-06 株式会社ニコン 画像処理装置及び画像処理プログラム
JP2016127479A (ja) * 2015-01-06 2016-07-11 キヤノン株式会社 画像処理装置、画像形成装置、画像処理方法及びプログラム

Also Published As

Publication number Publication date
JP2005252701A (ja) 2005-09-15

Similar Documents

Publication Publication Date Title
US8477324B2 (en) Image processor and image processing method that uses s-shaped gamma curve
JP4568748B2 (ja) 画像処理方法、画像処理装置、画像形成装置、コンピュータプログラム及び記録媒体
JP4173154B2 (ja) 画像処理方法、画像処理装置、画像形成装置、コンピュータプログラム及び記録媒体
JP4067532B2 (ja) 色変換装置、画像形成装置、色変換方法、コンピュータプログラム及び記録媒体
JP2008072352A (ja) 画像処理方法、画像処理装置、原稿読取装置、画像形成装置及びコンピュータプログラム
JP4331159B2 (ja) 画像処理装置、画像形成装置、画像処理方法、画像処理プログラムおよびその記録媒体
JP4044530B2 (ja) 画像処理装置、画像処理方法、画像形成装置、画像処理プログラムおよび記録媒体
JP4402090B2 (ja) 画像形成装置、画像形成方法、プログラムおよび記録媒体
JP2010278933A (ja) 画像処理装置、画像形成装置、画像処理方法、プログラムおよび記録媒体
JP2008306400A (ja) 画像処理方法、画像処理装置、画像形成装置、コンピュータプログラム及び記録媒体
JP4034061B2 (ja) 画像処理方法、画像処理装置、画像形成装置、画像処理プログラムおよびコンピュータ読み取り可能な記録媒体
JP2008092541A (ja) 画像処理方法、画像処理装置、画像形成装置、コンピュータプログラム及び記録媒体
JPH04238462A (ja) 画像処理装置
JP2005072635A (ja) 画像処理装置、画像形成装置、画像読取装置、画像処理方法、画像処理プログラム、及び画像処理プログラムを記録したコンピュータ読み取り可能な記録媒体
JP4545167B2 (ja) 画像処理方法、画像処理装置、画像形成装置、コンピュータプログラム及び記録媒体
JP4029997B2 (ja) 色変換装置、色変換方法、プログラム及び記録媒体
JP4169054B2 (ja) 画像処理装置、画像処理方法及びプログラム
CN100452827C (zh) 图像处理方法、图像处理设备和图像形成设备
JP2004248103A (ja) 画像処理装置、画像読取装置、画像形成装置、画像処理方法、画像処理プログラム、およびこれを記録したコンピュータ読み取り可能な記録媒体
JP4118823B2 (ja) 画像処理装置、画像形成装置、画像処理方法、画像処理プログラム、および記録媒体
JP4101741B2 (ja) 画像処理装置、画像形成装置、画像処理方法、画像処理プログラム、および記録媒体
JP4499685B2 (ja) 画像処理装置およびそれを備える画像形成装置、画像処理方法、画像処理プログラムならびに記録媒体
JP4176656B2 (ja) 画像処理装置、画像処理方法、画像形成装置、画像処理プログラムおよび該プログラムを記録した記録媒体
JP4266002B2 (ja) 画像処理装置、画像形成装置、画像処理方法、画像処理プログラム、および記録媒体
JP2002010079A (ja) カラー画像処理装置

Legal Events

Date Code Title Description
A621 Written request for application examination

Free format text: JAPANESE INTERMEDIATE CODE: A621

Effective date: 20060125

A977 Report on retrieval

Free format text: JAPANESE INTERMEDIATE CODE: A971007

Effective date: 20070808

A131 Notification of reasons for refusal

Free format text: JAPANESE INTERMEDIATE CODE: A131

Effective date: 20070821

A521 Written amendment

Free format text: JAPANESE INTERMEDIATE CODE: A523

Effective date: 20071017

TRDD Decision of grant or rejection written
A01 Written decision to grant a patent or to grant a registration (utility model)

Free format text: JAPANESE INTERMEDIATE CODE: A01

Effective date: 20071113

A61 First payment of annual fees (during grant procedure)

Free format text: JAPANESE INTERMEDIATE CODE: A61

Effective date: 20071115

R150 Certificate of patent or registration of utility model

Ref document number: 4044530

Country of ref document: JP

Free format text: JAPANESE INTERMEDIATE CODE: R150

Free format text: JAPANESE INTERMEDIATE CODE: R150

FPAY Renewal fee payment (event date is renewal date of database)

Free format text: PAYMENT UNTIL: 20101122

Year of fee payment: 3

FPAY Renewal fee payment (event date is renewal date of database)

Free format text: PAYMENT UNTIL: 20111122

Year of fee payment: 4

FPAY Renewal fee payment (event date is renewal date of database)

Free format text: PAYMENT UNTIL: 20111122

Year of fee payment: 4

FPAY Renewal fee payment (event date is renewal date of database)

Free format text: PAYMENT UNTIL: 20121122

Year of fee payment: 5

FPAY Renewal fee payment (event date is renewal date of database)

Free format text: PAYMENT UNTIL: 20121122

Year of fee payment: 5

FPAY Renewal fee payment (event date is renewal date of database)

Free format text: PAYMENT UNTIL: 20131122

Year of fee payment: 6

LAPS Cancellation because of no payment of annual fees