JP4042003B2 - サンドウィッチ型厚膜サーミスタ - Google Patents
サンドウィッチ型厚膜サーミスタ Download PDFInfo
- Publication number
- JP4042003B2 JP4042003B2 JP30011997A JP30011997A JP4042003B2 JP 4042003 B2 JP4042003 B2 JP 4042003B2 JP 30011997 A JP30011997 A JP 30011997A JP 30011997 A JP30011997 A JP 30011997A JP 4042003 B2 JP4042003 B2 JP 4042003B2
- Authority
- JP
- Japan
- Prior art keywords
- thick film
- powder
- thermistor
- film thermistor
- conductive material
- Prior art date
- Legal status (The legal status is an assumption and is not a legal conclusion. Google has not performed a legal analysis and makes no representation as to the accuracy of the status listed.)
- Expired - Lifetime
Links
- 239000000843 powder Substances 0.000 claims description 55
- 239000004020 conductor Substances 0.000 claims description 28
- 239000011521 glass Substances 0.000 claims description 21
- 229910044991 metal oxide Inorganic materials 0.000 claims description 19
- 150000004706 metal oxides Chemical class 0.000 claims description 19
- 229910001316 Ag alloy Inorganic materials 0.000 claims description 10
- 229910001252 Pd alloy Inorganic materials 0.000 claims description 10
- 229910052802 copper Inorganic materials 0.000 claims description 8
- 239000000758 substrate Substances 0.000 claims description 8
- 229910052742 iron Inorganic materials 0.000 claims description 5
- 229910052748 manganese Inorganic materials 0.000 claims description 4
- 229910052759 nickel Inorganic materials 0.000 claims description 3
- 229910052725 zinc Inorganic materials 0.000 claims description 2
- KDLHZDBZIXYQEI-UHFFFAOYSA-N palladium Substances [Pd] KDLHZDBZIXYQEI-UHFFFAOYSA-N 0.000 description 36
- 239000000203 mixture Substances 0.000 description 13
- 239000002245 particle Substances 0.000 description 8
- 238000010304 firing Methods 0.000 description 6
- BQCADISMDOOEFD-UHFFFAOYSA-N Silver Chemical compound [Ag] BQCADISMDOOEFD-UHFFFAOYSA-N 0.000 description 4
- 230000000694 effects Effects 0.000 description 4
- 239000001856 Ethyl cellulose Substances 0.000 description 3
- ZZSNKZQZMQGXPY-UHFFFAOYSA-N Ethyl cellulose Chemical compound CCOCC1OC(OC)C(OCC)C(OCC)C1OC1C(O)C(O)C(OC)C(CO)O1 ZZSNKZQZMQGXPY-UHFFFAOYSA-N 0.000 description 3
- 229920001249 ethyl cellulose Polymers 0.000 description 3
- 235000019325 ethyl cellulose Nutrition 0.000 description 3
- 229910020599 Co 3 O 4 Inorganic materials 0.000 description 2
- 229910010413 TiO 2 Inorganic materials 0.000 description 2
- 230000000052 comparative effect Effects 0.000 description 2
- 150000001875 compounds Chemical class 0.000 description 2
- 238000000034 method Methods 0.000 description 2
- 229910052763 palladium Inorganic materials 0.000 description 2
- OAYXUHPQHDHDDZ-UHFFFAOYSA-N 2-(2-butoxyethoxy)ethanol Chemical compound CCCCOCCOCCO OAYXUHPQHDHDDZ-UHFFFAOYSA-N 0.000 description 1
- BVKZGUZCCUSVTD-UHFFFAOYSA-L Carbonate Chemical compound [O-]C([O-])=O BVKZGUZCCUSVTD-UHFFFAOYSA-L 0.000 description 1
- CERQOIWHTDAKMF-UHFFFAOYSA-M Methacrylate Chemical compound CC(=C)C([O-])=O CERQOIWHTDAKMF-UHFFFAOYSA-M 0.000 description 1
- -1 Mn 3 O 4 Chemical class 0.000 description 1
- MUBZPKHOEPUJKR-UHFFFAOYSA-N Oxalic acid Chemical class OC(=O)C(O)=O MUBZPKHOEPUJKR-UHFFFAOYSA-N 0.000 description 1
- 229910045601 alloy Inorganic materials 0.000 description 1
- 239000000956 alloy Substances 0.000 description 1
- WUOACPNHFRMFPN-UHFFFAOYSA-N alpha-terpineol Chemical compound CC1=CCC(C(C)(C)O)CC1 WUOACPNHFRMFPN-UHFFFAOYSA-N 0.000 description 1
- 230000015572 biosynthetic process Effects 0.000 description 1
- 239000005388 borosilicate glass Substances 0.000 description 1
- 150000004649 carbonic acid derivatives Chemical class 0.000 description 1
- 239000000919 ceramic Substances 0.000 description 1
- 238000000975 co-precipitation Methods 0.000 description 1
- 239000011248 coating agent Substances 0.000 description 1
- 238000000576 coating method Methods 0.000 description 1
- SQIFACVGCPWBQZ-UHFFFAOYSA-N delta-terpineol Natural products CC(C)(O)C1CCC(=C)CC1 SQIFACVGCPWBQZ-UHFFFAOYSA-N 0.000 description 1
- 239000006185 dispersion Substances 0.000 description 1
- 238000001035 drying Methods 0.000 description 1
- 238000001704 evaporation Methods 0.000 description 1
- 230000008020 evaporation Effects 0.000 description 1
- 238000002474 experimental method Methods 0.000 description 1
- XLYOFNOQVPJJNP-UHFFFAOYSA-M hydroxide Chemical compound [OH-] XLYOFNOQVPJJNP-UHFFFAOYSA-M 0.000 description 1
- 230000008018 melting Effects 0.000 description 1
- 238000002844 melting Methods 0.000 description 1
- 230000003647 oxidation Effects 0.000 description 1
- 238000007254 oxidation reaction Methods 0.000 description 1
- 229910052707 ruthenium Inorganic materials 0.000 description 1
- 229910052709 silver Inorganic materials 0.000 description 1
- 239000004332 silver Substances 0.000 description 1
- 238000005245 sintering Methods 0.000 description 1
- 239000007787 solid Substances 0.000 description 1
- 239000012798 spherical particle Substances 0.000 description 1
- 229940116411 terpineol Drugs 0.000 description 1
- 239000002699 waste material Substances 0.000 description 1
Images
Landscapes
- Thermistors And Varistors (AREA)
Description
【発明の属する技術分野】
本発明は、電極間に挾んで基板上に形成される厚膜サーミスタ、いわゆるサンドウィッチ型厚膜サーミスタに関する。
【0002】
【従来の技術】
厚膜サーミスタの組成物として、従来よりMn,Co,Fe,Niなどの金属酸化物と、導電材料としてのRuO2と、更にガラス粉末を混合したものが知られている。サンドウィッチ型厚膜サーミスタは、この組成物を第1の電極と、第2の電極との間に挾んで絶縁基板上に形成されたものである。
【0003】
サンドウィッチ型厚膜サーミスタによれば、同一平面上の電極間にサーミスタ組成物を単に印刷をした厚膜サーミスタ(対向電極型サーミスタ)に比して低抵抗のものが得られるものの、上記組成物を用いたものの抵抗値は、せいぜい1KΩ/1mm2・20μmが限度であった。もっとも、第1導電性物質としてのRuO2を更に加えるか、あるいはCo,Fe,Niなどの金属酸化物に直接Cu又はCu酸化物を加えることによってそれ以下の抵抗値を得ることは可能である。しかしながら、金属酸化物に直接Cu又はCu酸化物を添加したサーミスタ組成物は、熱安定性に欠け、また、その添加量が増加すると、抵抗値,B定数が共に急激に低下するという問題が生ずる。
【0004】
この問題を解決するための先行例の一つに特開平6−61016号があり、この先行例においては、Mn,Co,Fe,Niのそれぞれの酸化物のうちから選ばれたサーミスタ特性を有する少なくとも2種類の金属酸化物と、第1の導電性物質としてのRuO2と、第2の導電性物質としてのCuとRu、又はCuとRuの酸化物、水酸化物、炭酸塩のいずれかの組み合わせのうち少なくとも2種類を混合し、加熱焼成した化合物と、ガラスとよりなる厚膜サーミスタ組成物を提案し、この厚膜サーミスタ組成物によれば、熱安定性に欠けることがなく、低抵抗でB定数が高く、熱に対する抵抗変化率の厚膜サーミスタ組成物及び厚膜サーミスタを得ることができる、という効果が強調されている。
【0005】
【発明が解決しようとする課題】
しかしながら、発明者らの実験によれば、上記成分の組合せによっては、必ずしも上記先行例に強調される所期の効果が得られなかった。ところで、発明者らは、セラミック基板上に面積抵抗値が1KΩ/□以下の厚膜抵抗体を形成するに際し、焼成された抵抗体の抵抗値、抵抗温度係数のばらつきが少なく、しかも再焼成における抵抗値変化が小さい厚膜抵抗体形成用組成物を提供することを目的として研究をした結果、固形分としてRuO2粉末、ガラス粉末、Ag:Pdの重量比が95:5〜30:70となるように、パラジウムで被覆された銀粉、又はAg/Pd合金のフレーク状粉末を含み、ガラス粉末に対するRuO2の重量比が0.15〜1.5であり、RuO2 +ガラス粉末に対するパラジウム被覆銀粉又はAg/Pd合金のフレーク状粉末の重量比を0.03〜20に設定して所期の目的を達成できることを見出した(特開平6−61004号、特開平6−61005号参照)。
【0006】
しかしながら、この試みは、抵抗体について、抵抗体焼成後の面積抵抗値、TCRのばらつき、ガラスコート焼成後の抵抗値変化を測定して好ましい成分の範囲を特定したまでのものであり、厚膜サーミスタ組成物についての適用性については全くの未知であった。また、当時は、パラジウム被覆銀粉、又はAg/Pd合金のフレーク状粉末、RuO2粉末、ガラス粉末以外に、従来から抵抗温度係数の調整に添加されているMnO2,Nb2O3,Sb2O3,TiO2,CuOなどを添加することが有効であると考えていた。
【0007】
ところが、低抵抗でB定数が高く、熱に対する抵抗値変化率の少ない厚膜サーミスタ組成物を得るための研究を進めた結果、その性能の改善を妨げる要因が明かになった。
【0008】
本発明の目的は、サーミスタ膜形成後の抵抗値が小さく、高B定数であり、熱による抵抗変化率が小さいサンドウィッチ型厚膜サーミスタを提供することにある。
【0009】
【課題を解決するための手段】
上記目的を達成するため、本発明による厚膜サーミスタ組成物においては、基板上の第1の電極と、第2の電極との間に厚膜サーミスタ層が形成されたサンドウィッチ型厚膜サーミスタにおいて、
前記厚膜サーミスタ層は、金属酸化物と、第1導電性物質と、第2導電性物質と、ガラス粉末とを含むペーストを焼成したものであり、
前記金属酸化物は、Mn,Co,Ni,Fe,Zn、Cuなどのうちから選ばれた少なくとも2種類の元素を含んだサーミスタ特性を有する複合酸化物であり、
前記第1導電性物質は、RuO2であり、
前記第2導電性物質は、Ag/Pd粉末である。
【0010】
また、すくなくとも第1導電性物質と、第2導電性物質とは、Cuを含まないものである。
【0011】
また、前記第2導電性物質であるAg/Pd粉末は、Ag/Pd合金粉、Ag/Pd共沈粉又はPd被覆Ag粉である
【0012】
また、Ag/Pdの重量比は、95:5〜30:70であり、ガラス粉末に対するRuO2の重量比が0.01〜0.15であり、金属酸化物の重量比は、ガラス粉末とRuO2とに対して0.2〜1.4であり、Ag/Pd粉末は、ガラス粉末と、RuO2と、金属酸化物粉末とに対して重量比で0.01〜1.0を含むものである。
【発明の実施の形態】
以下に本発明による実施の形態を説明する。
【0013】
【発明の実施の形態】
以下に本発明による実施の形態を説明する。
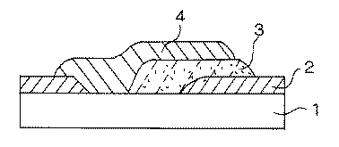
本発明は、サーミスタ特性を有する金属酸化物と、第1の導電性物質と、第2の導電性物質と、ガラス粉末とを含むペーストであり、このペーストは、図1に示すように基板1上の第1電極2と、第2電極3間に厚膜サーミスタ層4として形成され、高温で焼成することによりサンドイッチ型の厚膜サーミスタに加工される。
【0014】
本発明において、サーミスタ特性を有する金属酸化物は、従来より知られた金属酸化物、例えば、Mn3O4,Co3O4,NiO,Fe2O3,ZnO,CuO,CaO,TiO2その他酸化物、炭酸化合物、シュウ酸化合物などの中から少なくとも2種類以上のものが選ばれる。
【0015】
第1の導電性物質は、RuO2である。RuO2には、通常の厚膜抵抗体や厚膜サーミスタに用いられている粒径1μm以下、好ましくは0.2μm以下の粉末を用いる。
【0016】
第2の導電性物質は、Ag/Pd合金粉、Ag共沈粉、Pd被覆のAg粉である。Ag/Pd合金粉末の重量比は、95:5〜30:70である。なお、粒径は、いずれも5μm以下が望ましい。
【0017】
Ag/Pd合金粉は、Ag/Pd合金粉末であり、Ag/Pdの粉末は、平均粒径が1〜10μm好ましくは1〜3μmのものがよい。Ag/Pd合金の粉末は均一な合金であるため、焼成時に局部的なAgの溶融、蒸発は生じない。また、印刷、乾燥後の導電粉同志の接触が安定しているため、焼成された抵抗体の抵抗値、抵抗温度係数のばらつきが小さく、熱に対する抵抗値の変化が小さい。
【0018】
Ag/Pd共沈粉は、共沈法によって、Ag/Pdを析出させたものである。この共沈粉は、湿式法によって作られるものであるため、粒径が細かく、焼結温度が低くても安定した焼結性を示す。そのため、焼成後の膜内粒子が均一で高温安定性を有している。
【0019】
Pd被覆Ag粉は、粒子形状がほぼ球形で、平均粒径が0.1〜2μmの銀粒子の表面が、Ag:Pdの重量比で95:5〜30:70となるようにPdで被覆されている。
本発明において、第1及び第2の導電性物質にはCu又はその他の化合物を含まない。
【0020】
ガラス粉には、通常の厚膜サーミスタなどに用いられるホウケイ酸鉛系、アルミノホウケイ酸鉛系等でよく、粒径は10μm以下、好ましくは5μm以下である。
【0021】
金属酸化物と第1の導電性物質にビビクルを加えてサーミスタペーストとし、これに第2の導電性物質ペーストを加えたものを図1、2に示すように、基板1上の第1電極2と、第2電極3との間に印刷して厚膜サーミスタ層4を形成し、これを高温で焼成することにより、サンドイッチ型の厚膜サーミスタに加工する。なお、ビビクルには、エチルセルロース、メタクリレート等をタービネオール、ブチルカルビトールなどに溶解したものが使用できる。
【0022】
本発明において、Ag:Pdの重量比を95:5〜30:70とするのは、95:5よりPdが少ないと、NTC特性が小さくなるためであり、30:70よりPdが多いとコストが高くなるためである。ガラス粉末に対するRuO2の重量比を0.01〜0.15にするのは、RuO2粉末の量が、0.15よりも多いとNTC特性が小さくなるためである。
【0023】
金属酸化物の重量比をガラス粉末とRuO2に対して0.2〜1.4にするのは、0.2以下だとサーミスタ特性が得られなくなり、1.4以上だとサーミスタ膜が不安定になり、ショートなどの不具合を起こすためである。ガラスとRuO2と金属酸化物とに対するAg/Pdの重量比を0.01〜1.0とするのは、0.01よりも少なくすると、膜中に対するAg/Pdの分散が十分でなく、不安定になり、1.0よりも多いと導電バスがAg/Pdだけを通り、ショートモードになるためである。
【0024】
【実施例】
以下に本発明の実施例を示す。
【0025】
Mn3O4、Co3O4,を0.4:0.6のモル比で混合し、加熱焼成したものを粉砕機にかけて微粉末とした。この粉末33wt%に,ホウケイ酸鉛ガラス33wt%と,RuO24%と,有機ビビクルエチルセルロースのタービネオール溶液30wt%とを混合し、三本ロールミルで混練してサーミスタペーストを調整した。
【0026】
又、Ag/Pd:70:30の粉末を用いて、Ag/Pd粉末70wt%,エチルセルロースを含んだターピネオール溶液30wt%を混合し、これも三本のロールミルで混練し、Ag/Pdペーストを調整した。以上のように調整されたサーミスタペーストとAg/Pdペーストとを混合し、本発明の組成物である厚膜サーミスタペーストを得た。得られた厚膜サーミスタペーストを図1、2に示すように、基板1上の第1電極2と、第2電極3との間に印刷した。
【0027】
第1電極2と第2電極3との対向面積は1.0mm2、ペーストの厚さは、焼成後、20μmとなるような厚みに塗布した。厚膜サーミスタペーストを印刷後、850℃で5分間焼成し、サンドイッチ型の厚膜サーミスタを得た。
【0028】
得られた厚膜サーミスタ試料1〜6について、の抵抗値、B定数、125℃,1000時間での抵抗変化率を表1に示す。
【0029】
【表1】
【0030】
表1において、試料1は、サーミスタペーストのみでAg/Pdペーストを加えない比較例、試料2は、Ag/Pdペーストに代えてCuOペーストを加えた比較例である。なおCuOペーストは、CuO70wt%に対し、ビヒクルを30wt%添加したものである。試料3〜6は、いずれもサーミスタペーストとAg/Pdペーストとを加えた本発明の実施例である。Ag/Pdペーストの添加量が増えるにしたがって、R25,B25定数は共に低下する傾向にあるが、Ag/Pdペーストの添加量が10〜30wt%の範囲ではB25定数は3500〜3600の範囲で安定し、また、125℃,1000時間での抵抗変化率は、2.6〜3.2の範囲内で安定していることがわかる。
【0031】
これに対し、Ag/Pdペーストを添加しない試料1ではR25の値が極端に大きくなり、CuOペーストを添加した試料2では、R25の値は小さくなるものの、25℃,1000時間での抵抗変化率が極端に低下した。試料2では、CuOペーストを僅か5wt%添加したにすぎないものであるにもかかわらず、25℃,1000時間での抵抗値が、13.8%に達しているのが特徴的である。
【0032】
表2は、表1の試料1〜6について、125℃,100時間での抵抗変化率を測定した例である。
【0033】
【表2】
【0034】
表2に明らかなとおり、試料2は、125℃,100時間において、すでに他の試料に比べて極端に高い抵抗変化率を示している。なお、表2において、試料7は、Ag/Pdペーストに代えてCuOペーストを加え、しかもその添加量を10wt%とした例である。試料2のデータと比較してCuOペーストの添加量が増すにしたがって、抵抗変化率が大幅に増大することが分かる。ちなみに試料7のR25は79Ω,B25/50は2940Kであった。
【0035】
その理由は、必ずしも明かではないが、おそらく、CuOの酸化が進行したことによるものではないかと思われる。
【0036】
【発明の効果】
以上のように、本発明によれば、金属酸化物と、第1導電性物質と、第2導電性物質と、ガラス粉末とを含み、特に第2導電性物質にAg/Pd粉末を選定して、今までに得られなかった領域の低抵抗で、B定数が3000K以上の高い値を保ち、熱安定性に優れた厚膜サーミスタを提供できる効果を有する。
【図面の簡単な説明】
【図1】本発明の厚膜サーミスタ組成物を用いて形成された厚膜サーミスタの平面図である。
【図2】同上A−A線縦断面図である。
【符号の説明】
1 基板
2 第1電極
3 第2電極
4 厚膜サーミスタ層
Claims (4)
- 基板上の第1の電極と、第2の電極との間に厚膜サーミスタ層が形成されたサンドウィッチ型厚膜サーミスタにおいて、
前記厚膜サーミスタ層は、金属酸化物と、第1導電性物質と、第2導電性物質と、ガラス粉末とを含むペーストを焼成したものであり、
前記金属酸化物は、Mn,Co,Ni,Fe,Zn、Cuなどのうちから選ばれた少なくとも2種類の元素を含んだサーミスタ特性を有する複合酸化物であり、
前記第1導電性物質は、RuO2であり、
前記第2導電性物質は、Ag/Pd粉末であることを特徴とするサンドウィッチ型厚膜サーミスタ。 - 前記第1導電性物質と、前記第2導電性物質とは、Cuを含まないことを特徴とする請求項1に記載のサンドウィッチ型厚膜サーミスタ。
- 前記第2導電性物質であるAg/Pd粉末は、Ag/Pd合金粉、Ag/Pd共沈粉又はPd被覆Ag粉であることを特徴とする請求項1または2に記載のサンドウィッチ型厚膜サーミスタ。
- 前記Ag/Pdの重量比は95:5〜30:70であり、前記ガラス粉末に対する前記RuO2の重量比は、0.01〜0.15であり、前記金属酸化物の重量比は、前記ガラス粉末と前記RuO2とに対して0.2〜1.4であり、前記Ag/Pd粉末は、前記ガラス粉末と、前記RuO2と、前記金属酸化物粉末とに対して重量比で0.01〜1.0を含むものであることを特徴とする請求項1、2又は3に記載のサンドウィッチ型厚膜サーミスタ。
Priority Applications (1)
| Application Number | Priority Date | Filing Date | Title |
|---|---|---|---|
| JP30011997A JP4042003B2 (ja) | 1997-10-31 | 1997-10-31 | サンドウィッチ型厚膜サーミスタ |
Applications Claiming Priority (1)
| Application Number | Priority Date | Filing Date | Title |
|---|---|---|---|
| JP30011997A JP4042003B2 (ja) | 1997-10-31 | 1997-10-31 | サンドウィッチ型厚膜サーミスタ |
Publications (2)
| Publication Number | Publication Date |
|---|---|
| JPH11135303A JPH11135303A (ja) | 1999-05-21 |
| JP4042003B2 true JP4042003B2 (ja) | 2008-02-06 |
Family
ID=17880960
Family Applications (1)
| Application Number | Title | Priority Date | Filing Date |
|---|---|---|---|
| JP30011997A Expired - Lifetime JP4042003B2 (ja) | 1997-10-31 | 1997-10-31 | サンドウィッチ型厚膜サーミスタ |
Country Status (1)
| Country | Link |
|---|---|
| JP (1) | JP4042003B2 (ja) |
Families Citing this family (6)
| Publication number | Priority date | Publication date | Assignee | Title |
|---|---|---|---|---|
| JP2001217102A (ja) * | 2000-02-04 | 2001-08-10 | Murata Mfg Co Ltd | 負特性サーミスタペースト、負特性サーミスタ膜および負特性サーミスタ部品 |
| CN1993778B (zh) | 2004-06-08 | 2011-01-26 | 泰科电子雷伊化学株式会社 | 聚合物ptc元件 |
| JP6455913B2 (ja) * | 2013-05-07 | 2019-01-23 | 国立研究開発法人産業技術総合研究所 | 抵抗体材料、抵抗体膜及びその製造方法 |
| CN104157383B (zh) * | 2014-06-27 | 2017-11-14 | 句容市博远电子有限公司 | 一种添加分子银的热敏电阻 |
| JP2016178437A (ja) * | 2015-03-19 | 2016-10-06 | 株式会社立山科学デバイステクノロジー | 水晶発振器及びその製造方法 |
| CN114853448B (zh) * | 2022-06-08 | 2023-05-16 | 中国振华集团云科电子有限公司 | 一种低温共烧用负温度系数热敏陶瓷材料制备方法 |
-
1997
- 1997-10-31 JP JP30011997A patent/JP4042003B2/ja not_active Expired - Lifetime
Also Published As
| Publication number | Publication date |
|---|---|
| JPH11135303A (ja) | 1999-05-21 |
Similar Documents
| Publication | Publication Date | Title |
|---|---|---|
| EP0115798B1 (en) | Stain-resistant ruthenium oxide-based resistors | |
| JPH08253342A (ja) | カドミウムおよび鉛を含有しない厚膜ペースト組成物 | |
| WO2018150890A1 (ja) | 抵抗体用組成物及びこれを含んだ抵抗体ペーストとそれを用いた厚膜抵抗体 | |
| JP4042003B2 (ja) | サンドウィッチ型厚膜サーミスタ | |
| JPS6359999B2 (ja) | ||
| JP3346023B2 (ja) | 電極用導電性塗料およびその製造法 | |
| US11136257B2 (en) | Thick-film resistive element paste and use of thick-film resistive element paste in resistor | |
| JP7622736B2 (ja) | 厚膜抵抗ペースト、厚膜抵抗体、及び電子部品 | |
| JP7135696B2 (ja) | 厚膜抵抗体用組成物、厚膜抵抗体用ペースト、および厚膜抵抗体 | |
| CN100472673C (zh) | 积层型片状变阻器 | |
| JP6848327B2 (ja) | 正温度係数抵抗体用組成物、正温度係数抵抗体用ペースト、正温度係数抵抗体ならびに正温度係数抵抗体の製造方法 | |
| US5562972A (en) | Conductive paste and semiconductor ceramic components using the same | |
| JP3255985B2 (ja) | 厚膜正特性サーミスタ組成物、その製造方法および厚膜正特性サーミスタ | |
| JP2013214591A (ja) | サーミスタ形成用厚膜組成物、ペースト組成物、およびそれを用いたサーミスタ | |
| JP3580391B2 (ja) | 導電性チップ型セラミック素子の製造方法 | |
| JP4692028B2 (ja) | Ru−Mn−O微粉末、その製造方法、及びそれを用いた厚膜抵抗体組成物 | |
| JPH0142612B2 (ja) | ||
| EP0722175B1 (en) | Resistance paste and resistor comprising the material | |
| JPH07249507A (ja) | 抵抗体用組成物及びそれを用いた半固定抵抗器 | |
| JP7622738B2 (ja) | 厚膜抵抗ペースト、厚膜抵抗体、及び電子部品 | |
| JP2937073B2 (ja) | 抵抗材料組成物、抵抗ペースト及び抵抗体 | |
| JP7273266B2 (ja) | 厚膜抵抗体用組成物、厚膜抵抗体用ペースト、および厚膜抵抗体 | |
| JP2025086716A (ja) | Ntcサーミスタ組成物およびサーミスタ素子 | |
| JP7390103B2 (ja) | 抵抗体用組成物、抵抗ペースト、厚膜抵抗体 | |
| JP2020061467A (ja) | 厚膜抵抗体用組成物、厚膜抵抗体用ペースト、および厚膜抵抗体 |
Legal Events
| Date | Code | Title | Description |
|---|---|---|---|
| A621 | Written request for application examination |
Free format text: JAPANESE INTERMEDIATE CODE: A621 Effective date: 20041014 |
|
| A131 | Notification of reasons for refusal |
Free format text: JAPANESE INTERMEDIATE CODE: A131 Effective date: 20060926 |
|
| A521 | Written amendment |
Free format text: JAPANESE INTERMEDIATE CODE: A523 Effective date: 20061116 |
|
| TRDD | Decision of grant or rejection written | ||
| A01 | Written decision to grant a patent or to grant a registration (utility model) |
Free format text: JAPANESE INTERMEDIATE CODE: A01 Effective date: 20071005 |
|
| A61 | First payment of annual fees (during grant procedure) |
Free format text: JAPANESE INTERMEDIATE CODE: A61 Effective date: 20071031 |
|
| R150 | Certificate of patent or registration of utility model |
Free format text: JAPANESE INTERMEDIATE CODE: R150 |
|
| FPAY | Renewal fee payment (event date is renewal date of database) |
Free format text: PAYMENT UNTIL: 20101122 Year of fee payment: 3 |
|
| FPAY | Renewal fee payment (event date is renewal date of database) |
Free format text: PAYMENT UNTIL: 20101122 Year of fee payment: 3 |
|
| FPAY | Renewal fee payment (event date is renewal date of database) |
Free format text: PAYMENT UNTIL: 20111122 Year of fee payment: 4 |
|
| FPAY | Renewal fee payment (event date is renewal date of database) |
Free format text: PAYMENT UNTIL: 20111122 Year of fee payment: 4 |
|
| FPAY | Renewal fee payment (event date is renewal date of database) |
Free format text: PAYMENT UNTIL: 20121122 Year of fee payment: 5 |
|
| FPAY | Renewal fee payment (event date is renewal date of database) |
Free format text: PAYMENT UNTIL: 20131122 Year of fee payment: 6 |
|
| R250 | Receipt of annual fees |
Free format text: JAPANESE INTERMEDIATE CODE: R250 |
|
| R250 | Receipt of annual fees |
Free format text: JAPANESE INTERMEDIATE CODE: R250 |
|
| R250 | Receipt of annual fees |
Free format text: JAPANESE INTERMEDIATE CODE: R250 |
|
| R250 | Receipt of annual fees |
Free format text: JAPANESE INTERMEDIATE CODE: R250 |
|
| EXPY | Cancellation because of completion of term |
