JP4032406B2 - 管継手 - Google Patents
管継手 Download PDFInfo
- Publication number
- JP4032406B2 JP4032406B2 JP2000194496A JP2000194496A JP4032406B2 JP 4032406 B2 JP4032406 B2 JP 4032406B2 JP 2000194496 A JP2000194496 A JP 2000194496A JP 2000194496 A JP2000194496 A JP 2000194496A JP 4032406 B2 JP4032406 B2 JP 4032406B2
- Authority
- JP
- Japan
- Prior art keywords
- fitting
- joints
- joint
- outer peripheral
- convex portions
- Prior art date
- Legal status (The legal status is an assumption and is not a legal conclusion. Google has not performed a legal analysis and makes no representation as to the accuracy of the status listed.)
- Expired - Fee Related
Links
- 230000002093 peripheral effect Effects 0.000 claims description 39
- 230000008878 coupling Effects 0.000 claims description 31
- 238000010168 coupling process Methods 0.000 claims description 31
- 238000005859 coupling reaction Methods 0.000 claims description 31
- 230000013011 mating Effects 0.000 claims description 13
- 230000007423 decrease Effects 0.000 claims description 3
- 230000037431 insertion Effects 0.000 description 11
- 238000003780 insertion Methods 0.000 description 11
- 239000002184 metal Substances 0.000 description 11
- 230000000052 comparative effect Effects 0.000 description 7
- 238000005191 phase separation Methods 0.000 description 5
- 230000000694 effects Effects 0.000 description 3
- 239000000463 material Substances 0.000 description 2
- 238000000926 separation method Methods 0.000 description 2
- 229920003002 synthetic resin Polymers 0.000 description 2
- 239000000057 synthetic resin Substances 0.000 description 2
- 210000000078 claw Anatomy 0.000 description 1
- 239000012530 fluid Substances 0.000 description 1
- 238000004519 manufacturing process Methods 0.000 description 1
- 238000010008 shearing Methods 0.000 description 1
- XLYOFNOQVPJJNP-UHFFFAOYSA-N water Substances O XLYOFNOQVPJJNP-UHFFFAOYSA-N 0.000 description 1
Images
Landscapes
- Quick-Acting Or Multi-Walled Pipe Joints (AREA)
Description
【発明の属する技術分野】
本発明は管継手に関し、特に2本の管を相対回転不能に接続する管継手に関する。
【0002】
【従来の技術】
従来、水、油、エア、ガス等を通す2本の管の端部同士を接続する為の1対の継手を備えた管継手として、1対の継手にフランジを夫々設け、1対のフランジを当接させてこれらフランジに弾性接続金具を装着することにより、1対の継手(2本の管)を接続するものがある。1対の継手のフランジをボルト等を用いて締結するものもあるが、これら両継手の接続と接続解除を容易に行うことができないため不便な場合が多い。
【0003】
特許第2897908号公報の継手では、前記弾性接続金具が、1対の円弧板バネ片とこれら円弧板バネ片の基端部を連結する連結部とを一体形成してほぼリング状に構成され、各円弧板バネ片にはその全長に亙って1対のフランジと略同幅のスリットが形成されている。この接続金具を弾性変形させて1対の円弧板バネ片の先端部間の間隔を拡大しフランジに着脱することができる。接続金具がフランジに装着されるとほぼ元の形状に復帰し、1対の継手のフランジの一部が1対の円弧板バネ片のスリットに係合して分離不能に接続される。
【0004】
即ち、1対の継手が分離しようとすると、その力がフランジを介して接続金具で受け止められて、1対の継手の接続状態が維持される。但し、接続金具のうちスリットの長さ方向両端付近にはかなり大きな引張り力が局部的に作用する。尚、この継手では、接続金具が1対のフランジに装着された状態から容易に外れるのを防止するために、フランジに係合する1対の係止爪が1対の円弧板バネ片の先端部に設けられている。
【0005】
特開平6−174166号公報の管継手では、第1継手が筒状部を有し、その筒状部に1対のスリットが周方向に形成されている。第2継手は第1継手の筒状部に挿入される挿入部を有し、その挿入部にフランジが設けられている。そして、第1継手の筒状部に第2継手の挿入部が挿入された状態で、第1,第2継手を分離不能に接続する接続金具が別途設けられている。
【0006】
この接続金具は、1対の円弧脚とこれら円弧脚を連結する頭部とを一体形成して構成され弾性を有する。第1継手の筒状部に第2継手の挿入部を挿入し、筒状部の奥端面にフランジを当接させた状態で、接続金具を弾性変形させて継手に装着して1対の円弧脚を筒状部の1対のスリットからその内部に挿入させる。すると、1対の円弧脚と筒状部の奥端面の間にフランジが挟持された状態となり、第1,第2継手が分離不能に接続される。
【0007】
【発明が解決しようとする課題】
特許第2897908号公報の管継手では、1対の継手のフランジを当接させこれらフランジに接続金具を装着して、1対の継手を相離隔方向へ分離しないように接続する構造であり、1対の継手を相対回転不能に接続するようになっていない。つまり、1対の継手が接続された状態で相対回転する虞があり、そうなると、継手に連結される管がフレキシブル管の場合、その管に捩じれが生じて流体漏れ等の原因になりかねない。
【0008】
更に、この管継手では、1対のスリットを有する接続金具の構造が複雑になること、1対の継手が分離しようとした場合、その力がフランジを介して接続金具で受け止められるが、接続金具のうちスリットの長さ方向両端付近部にかなり大きな引張り力が局部的に作用するため、接続金具が破損する虞があること、等の問題がある。接続金具の破損防止の為にその幅を大きくして強度を高めると、接続金具が大型化し製作コスト的に不利になる。
【0009】
また、1対の継手を周方向に自由な位置関係で接続できるものの、これが却って2本の管の接続状態を悪くするという問題がある。つまり、1対の継手を周方向に位置決めして所定の位置関係で設計通りに接続することが難しいため、継手に連結される管がフレキシブル管の場合、その管を捩じれた状態で接続したり、1対の継手に連結される管が非可撓性の管の場合、これら管に不要な力が加わって管同士が無理に接続された状態になる虞がある。
【0010】
尚、特開平6−174166号公報の継手でも、1対の継手を相対回転不能に接続するようになっていないし、1対の継手を周方向に位置決めして所定の位置関係で接続することが難しいため、上記同様の課題が生じる。
【0011】
本発明の目的は、管継手において、1対の継手(2本の管)を相対回転不能に接続すること、1対の継手を周方向に位置決めして所定の位置関係で接続するのを容易にすること、連結金具を小型かつ簡単に構成すると共にその連結金具による1対の継手を分離不能に強固に接続すること、等である。
【0012】
【課題を解決するための手段】
請求項1の管継手は、2本の管の端部同士をそれらの軸心を一致させた状態に接続する為の第1,第2継手を備えた管継手において、前記第1継手の先端部に複数の嵌合凸部と複数の嵌合凹部とを周方向に交互に形成し、前記第2継手の先端近傍部に、前記第1継手の複数の嵌合凹部に前記軸心と平行方向への相対移動を介して夫々嵌合可能な複数の嵌合凸部と、前記第1継手の複数の嵌合凸部が前記軸心と平行方向への相対移動を介して夫々嵌合可能な複数の嵌合凹部とを周方向に交互に形成し、前記第1,第2継手の複数の嵌合凸部を相手側継手の複数の嵌合凹部に夫々嵌合させた状態で、両継手の複数の嵌合凸部の外周係止部に、ほぼリング状の弾性連結金具を装着して両継手を接続するように構成し、前記両継手の複数の嵌合凸部の外周係止部は環状の外周凹溝からなり、前記第1,第2継手の何れか一方の嵌合凸部の外周側先端部に先端側程小径 化するテーパ面を形成したことを特徴とするものである。
【0013】
この管継手では、第1継手の先端部に複数の嵌合凸部と複数の嵌合凹部とが周方向に交互に形成され、第2継手の先端近傍部に第1継手の複数の嵌合凹部に軸心と平行方向への相対移動を介して夫々嵌合可能な複数の嵌合凸部と、第1継手の複数の嵌合凸部が軸心と平行方向への相対移動を介して夫々嵌合可能な複数の嵌合凹部とが周方向に交互に形成されている。従って、第1,第2継手の複数の嵌合凸部を相手側継手の複数の嵌合凹部と夫々嵌合可能な位置で位置決めし、第1,第2継手を軸心と平行方向へ相対移動させて第1,第2継手を夫々嵌合させると、両継手の複数の嵌合凸部が環状になり、これら嵌合凸部の外周係止部に、ほぼリング状の弾性連結金具を装着して両継手を接続することができる。
【0014】
従って、第1,第2継手(2本の管)を相対回転不能に接続できるため、継手に連結される管がフレキシブル管の場合、第1,第2継手を接続した状態でその管に捩じれが生じるのを防止することができる。更に、第1,第2継手を周方向に所定の位置関係で接続し易くなるため、継手に連結される管がフレキシブル管の場合、その管を捩じれた状態で接続したり、第1,第2継手に連結される管が非可撓性の管の場合、2本の管に不要な力が加わってこれら管同士が無理に接続された状態になる虞がなくなり、2本の管を設計通りに良好に接続することが可能になる。
また、前記両継手の複数の嵌合凸部の外周係止部は、環状の外周凹溝からなるので、外周凹溝に装着される弾性連結金具を小型かつ簡単に構成でき、弾性連結金具を外周凹溝に簡単・確実に装着することができ、この弾性連結金具により第1,第2継手を相離隔方向へ分離不能に強固に接続できる。
さらに、第1,第2継手の何れか一方の嵌合凸部の外周側先端部に先端側程小径化するテーパ面を形成したので、他方の継手の外周係止部に弾性連結金具を装着した状態で、第1,第2継手の複数の嵌合凸部を相手側継手の複数の嵌合凹部に夫々嵌合させることにより、弾性連結金具がテーパ面にガイドされて一方の継手の外周係止部に装着でき、第1継手と第2継手の接続作業と、外周凹溝への弾性連結金具の装着作業を同時に行うことができ、作業の能率向上が図れる。
【0015】
請求項2の管継手は、請求項1の発明において、前記第1,第2継手を接続した状態において両継手の複数の嵌合凸部が環状フランジをなすように構成されたことを特徴とするものである。各継手の嵌合凸部を径方向に厚く形成することができるためその強度を高め、第1,第2継手を相対回転不能に確実に接続することができる。外周係止部と弾性連結金具を大径化できるため、外周係止部と弾性連結金具との係合部分を大きくとることができ、第1,第2継手を相離隔方向へ分離不能に確実に接続でき、外周係止部への弾性連結金具の着脱も容易になる。
【0016】
請求項3の管継手は、請求項2の発明において、前記第1,第2継手の複数の嵌合凸部は、前記環状フランジを周方向に均等に複数分割した形状であることを特徴とするものである。1つの継手の嵌合凸部(嵌合凹部)の数に相当する複数の周方向位置で1対の継手を容易に位置決めして接続することができる。
【0017】
請求項4の管継手は、請求項2の発明において、前記第1,第2継手の複数の嵌合凸部は、前記環状フランジを周方向に不均等に複数分割した形状であることを特徴とするものである。1対の継手を1つの周方向位置で容易に位置決めして接続することができる。
【0018】
【0019】
【0020】
【発明の実施の形態】
以下、本発明の実施の形態について図面を参照しながら説明する。
最初に、2本の管の端部同士をそれらの軸心を一致させた状態に接続する為の第1,第2継手を備えた管継手の比較例であって、本発明の実施例の管継手に近似した比較例について説明する。
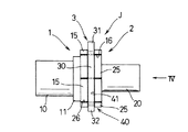
図1〜図4に示すように、管継手Jは、管1aが連結される第1継手1と、管2aが連結される第2継手2と、第1,第2継手1,2を接続した状態で分離不能に連結する弾性連結金具3を備えている。
【0021】
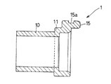
図1〜図6に示すように、第1継手1は、管連結筒部10、継手接続筒部11、3つの嵌合凸部15、3つの嵌合凹部16を有し、管連結筒部10と継手接続筒部11と嵌合凸部15は金属又は合成樹脂材料で一体形成されている。継手接続筒部11は管連結筒部10よりも大径で短く、管連結筒部10の先端部側に形成されている。そして、継手接続筒部11の先端部側(第1継手1の先端部)に、3つの嵌合凸部15と3つの嵌合凹部16が形成されている。
【0022】
3つの嵌合凸部15と3つの嵌合凹部16は、第1継手1の軸心を中心として周方向に60度間隔で交互に形成されている。3つの嵌合凸部15は夫々円弧状をなし、第1,第2継手1,2を接続した状態において形成される環状フランジ40の1/2部分を構成する。また、3つの嵌合凸部15の外周部には、第1継手1の軸心を中心とする円弧状の凹溝15aが夫々形成され、これら凹溝15aは前記環状フランジ40に形成される外周凹溝41の1/2部分を構成する。
【0023】
一方、図1〜図4、図7、図8に示すように、第2継手2は、管連結筒部20、継手接続筒部21、3つの嵌合凸部25、3つの嵌合凹部26を有し、管連結筒部20と継手接続筒部21と嵌合凸部25は金属又は合成樹脂材料で一体形成されている。管連結筒部20の先端側に継手接続筒部21が形成され、この継手接続筒部21は、鍔部21aと第1,第2挿入部21b,21cを有する。
【0024】
第1挿入部21bは鍔部21aよりも小径で鍔部21aの先端側に形成され、第2挿入部21cは第1挿入部21bよりも小径で第1挿入部21bの先端側に形成され、第2挿入部21cにOリング29が外装されている。そして、継手接続筒部21の鍔部21aの外周部側に、3つの嵌合凸部25と3つの嵌合凹部26が形成されている。
【0025】
3つの嵌合凸部25と3つの嵌合凹部26は、第2継手2の軸心を中心として周方向に60度間隔で交互に形成されている。3つの嵌合凸部25は夫々円弧状をなし、第1,第2継手1,2を接続した状態において形成される環状フランジ40の1/2部分を構成する。また、3つの嵌合凸部25の外周部には、第2継手2の軸心を中心とする円弧状の凹溝25aが夫々形成され、これら凹溝25aは前記環状フランジ40に形成される外周凹溝41の1/2部分を構成する。
【0026】
さて、図2〜図4、図9に示すように、第1,第2継手1,2の3つの嵌合凸部15,25を軸心と平行方向へ相対移動させて相手側継手2,1の3つの嵌合凹部26,16に夫々嵌合させると、両継手1,2の6つの嵌合凸部15,25が環状フランジ40をなし、6つの嵌合凸部15,25の凹溝15a,25aが環状に繋がって外周係止部としての外周凹溝41を形成する。第1,第2継手1,2の6つの嵌合凸部15,25は、環状フランジ40を周方向に均等に6分割した形状である。
【0027】
また、第1,第2継手1,2の複数の嵌合凸部15,25を軸心と平行方向へ相対移動させて相手側継手2,1の複数の嵌合凹部26,16に夫々嵌合させると、図9に示すように、第1継手1の継手接続筒部11の先端部が、第2継手2の鍔部21aの先端面に当接し、第2継手2の第1,第2挿入部21b,21cの先端部分が、第1継手1の継手接続筒部11と管連結筒部10の先端部分に夫々挿入されて、第1,第2継手1,2の内部がOリング29によりシールされた状態で連通する。
【0028】
図1〜図4に示すように、弾性連結金具3は、1対の円弧板バネ片30と、これら円弧板バネ片30の上端部を連結する連結部31と、1対の円弧板バネ片30の下端部に夫々設けられた1対のガイド片32を一体形成してほぼリング状に構成され、1対の円弧板バネ片30を外周凹溝41に係合させて装着される。ここで、外周凹溝41の幅は円弧板バネ片30の幅よりも少し大きく、外周凹溝41の深さは円弧板バネ片30の厚さよりも大きい。
【0029】
弾性連結金具3が外周凹溝41に係合した状態から容易に離脱しないように、1対の円弧板バネ片30が通常時には外周凹溝41の径以下になる形状に構成されている。この弾性接続金具3を弾性変形させて1対の円弧板バネ片30の先端部間の間隔を拡大して外周凹溝41に着脱することができる。弾性接続金具3が装着されると略元形状に復帰して外周凹溝41に確実に係合する。尚、弾性接続金具3を外周凹溝41から取外す際、連結部31を把持して容易に行える。
【0030】
上記、比較例に係る管継手Jの作用・効果について説明する。
第1継手1の先端部に3つの嵌合凸部15と3つの嵌合凹部16とを周方向に60度間隔で交互に形成し、第2継手2に3つの嵌合凸部25と3つの嵌合凹部26とを周方向に60度間隔で交互に形成したので、第1,第2継手1,2の3つの嵌合凸部15,25を軸心と平行方向へ相対移動させて相手側継手2,1の3つの嵌合凹部26,16に夫々嵌合させることができる。すると、両継手1,2の6つの嵌合凸部15,25により環状フランジ40が形成され、6つの嵌合凸部15,25に形成された凹溝15a,25aにより、環状フランジ40に外周凹溝41が形成され、その外周凹溝41に弾性連結金具3を装着して両継手1,2を接続することができる。
【0031】
第1,第2継手1,2の3つの嵌合凸部15,25を軸心と平行方向へ相対移動させて相手側継手2,1の3つの嵌合凹部26,16に夫々嵌合させることにより、第1,第2継手1,2(2本の管1a,2a)を相対回転不能に接続できるため、継手1,2に連結される管1a,2aがフレキシブル管の場合、第1,第2継手1,2を接続した状態でそのフレキシブル管1a,2aに捩じれが生じるのを防止することができる。
【0032】
第1,第2継手1,2の3つの嵌合凸部15,25は、環状フランジ40を周方向に均等に6分割した形状であるので、1つの継手1,2の嵌合凸部15,25(嵌合凹部16,26)の数に相当する3つの周方向位置で1対の継手1,2を容易に位置決めして接続できる。依って、継手1,2に連結される管1a,2aがフレキシブル管の場合、そのフレキシブル管1a,2aを捩じれた状態で接続したり、第1,第2継手1,2に連結される管1a,2aが非可撓性の管の場合、2本の管1a,2aに不要な力が加わりこれら管同士が無理に接続された状態になる虞がなくなり、2本の管1a,2aを設計通りに良好に接続できる。
【0033】
第1,第2継手1,2を接続した状態において両継手1,2の6つの嵌合凸部15,25が環状フランジ40をなすように構成したので、各継手1,2の嵌合凸部15,25を径方向に厚く形成することができその強度を高め、第1,第2継手1,2を相対回転不能に確実に接続することができる。外周凹溝41と弾性連結金具3を大径化できるため、外周凹溝41と弾性連結金具3との係合部分を大きくとることができ、第1,第2継手1,2を相離隔方向へ分離不能に確実に接続することができ、外周凹溝41への弾性連結金具3の着脱も容易になる。
【0034】
両継手1,2の6つの嵌合凸部15,25の外周係止部は、環状の外周凹溝41からなるので、その外周凹溝41に装着される弾性連結金具3を小型かつ簡単に構成でき、弾性連結金具3を外周凹溝41に簡単・確実に装着することができる。そして、1対の継手1,2が分離しようとすると、その力が6つの外周凸部15,25を介して弾性連結金具3に、周方向に均等に作用して幅方向の剪断力として受けることができるため、小型かつ簡単な構成の弾性連結金具3により、第1,第2継手1,2を分離不能に強固に接続することができる。
【0035】
次に、前記比較例に係る管継手Jの第1,第2継手1,2の嵌合凸部15,25にテーパ面50を形成した、本願特有の管継手JAの実施形態について説明する。但し、管継手JAは第1,第2継手1,2の嵌合凸部15,25にテーパ面50を形成した点以外は、前記比較例の管継手Jと基本的に同様の構成であり、共通するものには同一符号を付して説明を省略する。
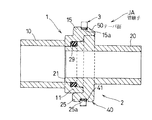
図10に示すように、この管継手JAは、第1継手1の3つの嵌合凸部15の外周側先端部に先端側程小径化するテーパ面50を形成したものである。尚、このテーパ面50の先端を、外周凹溝41の底部よりも第1,第2継手1,2の軸心側に位置させるように構成する。
【0036】
この管継手JAにおいては、第2継手2の3つの嵌合凸部25の凹溝25a(外周係止部)に弾性連結金具3を装着した状態で、第1,第2継手1,2の3つの嵌合凸部15,25を軸心と平行方向へ相対移動させて相手側継手2,1の3つの嵌合凹部26,16に夫々嵌合させることにより、弾性連結金具3がテーパ面50にガイドされて第1継手1の3つの嵌合凸部15の凹溝15a即ち外周凹溝41に装着され、第1継手と第2継手の接続作業と、外周凹溝への弾性連結金具3の装着作業を同時に行うことができ、作業の能率向上が図れる。
【0037】
尚、前記テーパ面50の代わりに、第2継手の嵌合凸部の外周側先端部に先端側程小径化するテーパ面を形成してもよく、この場合、第1継手1の凹溝15aに弾性連結金具3を装着した状態で、第1,第2継手1,2の3つの嵌合凸部15,25を軸心と平行方向へ相対移動させて相手側継手2,1の3つの嵌合凹部26,16に夫々嵌合させることにより、弾性連結金具3が第1継手1の凹溝15a即ち外周凹溝41に装着される。また、第1,第2継手1,2の両方の嵌合凸部15,25の外周側先端部に先端側程小径化するテーパ面を夫々形成してもよい。
その他、管継手JAは、前記比較例の管継手Jと同様の作用・効果を奏するので、説明を省略する。
【0038】
【0039】
【0040】
【0041】
【0042】
【0043】
【0044】
【0045】
【0046】
尚、前記管継手J,JAにおいて次のように変更してもよい。
1〕第1継手の先端部に2又は4以上の嵌合凸部及び嵌合凹部を周方向に交互に形成すると共に、第2継手に2又は4以上の嵌合凸部及び嵌合凹部とを周方向に交互に形成してもよい。
【0047】
2〕前記第1,第2継手の複数の嵌合凸部について、前記環状フランジを周方向に不均等に複数分割した形状にしてもよい。これにより、両継手を1つの周方向位置で容易に位置決めして接続できるようになる。
3〕第1,第2継手を接続した状態において両継手の複数の嵌合凸部により形成される環状フランジや環状凸部の形状を、円形状ではなく多角形状になるように構成してもよい。4〕継手を管と一体的に形成してもよい。尚、本発明の趣旨を逸脱しない範囲で、前記実施形態や別実施形態に種々の変更を付加した形態で実施することも可能である。
【0048】
【発明の効果】
請求項1の管継手によれば、第1継手の先端部に複数の嵌合凸部と複数の嵌合凹部とを周方向に交互に形成し、第2継手の先端近傍部に、第1継手の複数の嵌合凹部に前記軸心と平行方向への相対移動を介して夫々嵌合可能な複数の嵌合凸部と、第1継手の複数の嵌合凸部が前記軸心と平行方向への相対移動を介して夫々嵌合可能な複数の嵌合凹部とを周方向に交互に形成したので、第1,第2継手の複数の嵌合凸部を相手側継手の複数の嵌合凹部に夫々嵌合させると、第1,第2継手(2本の管)を相対回転不能に接続でき、更に、第1,第2継手を周方向に位置決めして所定の位置関係で設計通りに接続し易くなる。第1,第2継手の複数の嵌合凸部を相手側継手の複数の嵌合凹部に夫々嵌合させると、両継手の複数の嵌合凸部が環状になるため、これら嵌合凸部に外周係止部を確実に形成し、その外周係止部に弾性連結金具を装着して第1,第2継手を分離不能に確実に連結できる。
また、両継手の複数の嵌合凸部の外周係止部は、環状の外周凹溝からなるので、外周凹溝からなる外周係止部に装着される弾性連結金具を小型かつ簡単に構成でき、弾性連結金具を外周凹溝に簡単・確実に装着することができ、この弾性連結金具により第1,第2継手を相離隔方向へ分離不能に強固に接続することができる。
さらに、第1,第2継手の何れか一方の嵌合凸部の外周側先端部に先端側程小径化するテーパ面を形成したので、他方の継手の外周係止部に弾性連結金具を装着した状態で、第1,第2継手の複数の嵌合凸部を相手側継手の複数の嵌合凹部に夫々嵌合させることにより、弾性連結金具がテーパ面にガイドされて一方の継手の外周係止部に装着され、弾性連結金具の装着作業を同時に行えるため便利である。
【0049】
請求項2の管継手によれば、第1,第2継手を接続した状態において両継手の複数の嵌合凸部が環状フランジをなすので、各継手の嵌合凸部を径方向に厚く形成することができるためその強度を高め、第1,第2継手を相対回転不能に確実に接続することができる。外周係止部と弾性連結金具を大径化できるため、外周係止部と弾性連結金具との係合部分を大きくとることができ、第1,第2継手を分離不能に確実に接続でき、外周係止部への弾性連結金具の着脱も容易になる。
【0050】
請求項3の管継手によれば、第1,第2継手の複数の嵌合凸部は、前記環状フランジを周方向に均等に複数分割した形状であるので、1つの継手の嵌合凸部(嵌合凹部)の数に相当する複数の周方向位置で1対の継手を容易に位置決めして接続することができる。
【0051】
請求項4の管継手によれば、第1,第2継手の複数の嵌合凸部は、前記環状フランジを周方向に不均等に複数分割した形状であるので、1対の継手を1つの周方向位置で容易に位置決めして接続することができる。
【0052】
【0053】
【図面の簡単な説明】
【図1】本発明の実施例に近似した比較例に係る管継手(分離状態)の斜視図である。
【図2】上記管継手(嵌合状態)の斜視図である。
【図3】上記管継手(接続状態)の側面図である。
【図4】図3のIV矢視図である。
【図5】第1継手の縦断面図である。
【図6】第1継手の正面図である。
【図7】第2継手の縦断面図である。
【図8】第2継手の正面図である。
【図9】管継手J(接続状態)の縦断面図である。
【図10】本発明の実施例に係る管継手JA(接続状態)の縦断面図である。
【符号の説明】
JA 管継手
1 第1継手
2 第2継手
1a,2a 管
3 弾性連結金具
15,25 嵌合凸部
16,26 嵌合凹部
40 環状フランジ
41 外周凹溝
50 テーパ面
Claims (4)
- 2本の管の端部同士をそれらの軸心を一致させた状態に接続する為の第1,第2継手を備えた管継手において、
前記第1継手の先端部に複数の嵌合凸部と複数の嵌合凹部とを周方向に交互に形成し、 前記第2継手の先端近傍部に、前記第1継手の複数の嵌合凹部に前記軸心と平行方向への相対移動を介して夫々嵌合可能な複数の嵌合凸部と、前記第1継手の複数の嵌合凸部が前記軸心と平行方向への相対移動を介して夫々嵌合可能な複数の嵌合凹部とを周方向に交互に形成し、
前記第1,第2継手の複数の嵌合凸部を相手側継手の複数の嵌合凹部に夫々嵌合させた状態で、両継手の複数の嵌合凸部の外周係止部に、ほぼリング状の弾性連結金具を装着して両継手を接続するように構成し、
前記両継手の複数の嵌合凸部の外周係止部は、環状の外周凹溝からなり、
前記第1,第2継手の何れか一方の嵌合凸部の外周側先端部に先端側程小径化するテーパ面を形成し、
たことを特徴とする管継手。 - 前記第1,第2継手を接続した状態において両継手の複数の嵌合凸部が環状フランジをなすように構成されたことを特徴とする請求項1に記載の管継手。
- 前記第1,第2継手の複数の嵌合凸部は、前記環状フランジを周方向に均等に複数分割した形状であることを特徴とする請求項2に記載の管継手。
- 前記第1,第2継手の複数の嵌合凸部は、前記環状フランジを周方向に不均等に複数分割した形状であることを特徴とする請求項2に記載の管継手。
Priority Applications (1)
| Application Number | Priority Date | Filing Date | Title |
|---|---|---|---|
| JP2000194496A JP4032406B2 (ja) | 2000-06-28 | 2000-06-28 | 管継手 |
Applications Claiming Priority (1)
| Application Number | Priority Date | Filing Date | Title |
|---|---|---|---|
| JP2000194496A JP4032406B2 (ja) | 2000-06-28 | 2000-06-28 | 管継手 |
Publications (2)
| Publication Number | Publication Date |
|---|---|
| JP2002013683A JP2002013683A (ja) | 2002-01-18 |
| JP4032406B2 true JP4032406B2 (ja) | 2008-01-16 |
Family
ID=18693316
Family Applications (1)
| Application Number | Title | Priority Date | Filing Date |
|---|---|---|---|
| JP2000194496A Expired - Fee Related JP4032406B2 (ja) | 2000-06-28 | 2000-06-28 | 管継手 |
Country Status (1)
| Country | Link |
|---|---|
| JP (1) | JP4032406B2 (ja) |
Families Citing this family (5)
| Publication number | Priority date | Publication date | Assignee | Title |
|---|---|---|---|---|
| JP4766479B2 (ja) * | 2005-06-17 | 2011-09-07 | 株式会社フロム工業 | ディスポーザーの取付装置 |
| JP5108609B2 (ja) * | 2008-04-28 | 2012-12-26 | 日立アプライアンス株式会社 | 給湯機 |
| JP2018009559A (ja) * | 2016-06-30 | 2018-01-18 | 株式会社鷺宮製作所 | 排水ポンプ |
| CN110206954B (zh) * | 2019-05-07 | 2025-07-22 | 厦门建霖健康家居股份有限公司 | 一种易拆装的出水装置 |
| JP2021096004A (ja) * | 2019-12-13 | 2021-06-24 | 三菱電機株式会社 | 貯湯式給湯機 |
-
2000
- 2000-06-28 JP JP2000194496A patent/JP4032406B2/ja not_active Expired - Fee Related
Also Published As
| Publication number | Publication date |
|---|---|
| JP2002013683A (ja) | 2002-01-18 |
Similar Documents
| Publication | Publication Date | Title |
|---|---|---|
| CN1322263C (zh) | 可转动的快速连接器 | |
| JP5826490B2 (ja) | 流体継手および流体継手用リテーナ | |
| KR930006022B1 (ko) | 작은 직경의 금속파이프와 가요성 호스를 연결하기 위한 컨넥터 | |
| US6186561B1 (en) | Retainer for piping connector | |
| US6439617B1 (en) | Coupler for a pipe or hose section | |
| US7249788B2 (en) | Connector assembly for male and female members | |
| KR102189767B1 (ko) | 유체 라인용 플러그인 커넥터 | |
| JP2005519251A (ja) | 二つの半部からなる連結器 | |
| US6757950B2 (en) | Rotatable quick connector stuffer pin | |
| JP2002532666A5 (ja) | ||
| JP2002525542A (ja) | ホース用のクリップ結合具 | |
| GB2265682A (en) | Push-fit connectors for small diameter pipes | |
| JPH03288093A (ja) | コネクタ | |
| US5697652A (en) | Pipe joint assembly | |
| JP2004218832A (ja) | 配管用継手 | |
| EP1681477B1 (en) | Combination of a snap ring with a shaft and a holding member | |
| JP4032406B2 (ja) | 管継手 | |
| GB2209812A (en) | Intermediate brake hose coupler | |
| EP1714068B1 (en) | Connector with release mechanism | |
| JP2005172131A (ja) | 配管接続部構造 | |
| JP3669222B2 (ja) | クイックコネクター | |
| JP2006300127A (ja) | 止め具 | |
| JP2004308668A (ja) | 配管用継手 | |
| JP3808870B2 (ja) | 管体接続構造 | |
| JP2007064367A (ja) | パイプ結合構造 |
Legal Events
| Date | Code | Title | Description |
|---|---|---|---|
| A621 | Written request for application examination |
Free format text: JAPANESE INTERMEDIATE CODE: A621 Effective date: 20040521 |
|
| A977 | Report on retrieval |
Free format text: JAPANESE INTERMEDIATE CODE: A971007 Effective date: 20070119 |
|
| A131 | Notification of reasons for refusal |
Free format text: JAPANESE INTERMEDIATE CODE: A131 Effective date: 20070123 |
|
| A521 | Written amendment |
Free format text: JAPANESE INTERMEDIATE CODE: A523 Effective date: 20070301 |
|
| TRDD | Decision of grant or rejection written | ||
| A01 | Written decision to grant a patent or to grant a registration (utility model) |
Free format text: JAPANESE INTERMEDIATE CODE: A01 Effective date: 20071001 |
|
| A61 | First payment of annual fees (during grant procedure) |
Free format text: JAPANESE INTERMEDIATE CODE: A61 Effective date: 20071014 |
|
| FPAY | Renewal fee payment (event date is renewal date of database) |
Free format text: PAYMENT UNTIL: 20101102 Year of fee payment: 3 |
|
| R150 | Certificate of patent or registration of utility model |
Free format text: JAPANESE INTERMEDIATE CODE: R150 |
|
| LAPS | Cancellation because of no payment of annual fees |